Краткое наименование страны по МК (ИСО 3166) 004-97 | Код страны по МК (ИСО 3166) 004-97 | Сокращенное наименование национального органа по стандартизации |
Армения | AM | Минэкономики Республики Армения |
Беларусь | BY | Госстандарт Республики Беларусь |
Казахстан | KZ | Госстандарт Республики Казахстан |
Киргизия | KG | Кыргызстандарт |
Россия | RU | Росстандарт |
Таджикистан | TJ | Таджикстандарт |
Наименование показателя | Метод определения показателя (способ измерения) |
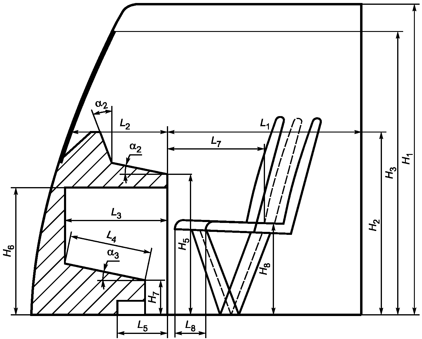
Высота свободного пространства от пола на рабочих местах машиниста и помощника машиниста, мм | По вертикали от пола до поверхности ограждения на потолке кабины на рабочих местах машиниста и помощника у пульта управления (см. H1, рисунок А.1 приложения А) |
По горизонтальной плоскости по оси симметрии ниши пульта машиниста от заднего края пульта до задней стенки ограждения кабины (см. L1, рисунок А.1 приложения А) | |
По горизонтальной плоскости, проходящей через верхний край пульта, по оси симметрии ниши от лобового окна до пересечения с вертикальной плоскостью, проходящей через задний край пульта (см. L2, рисунок А.1 приложения А) | |
Расстояние от задней стенки кабины до лобового окна <*>, мм | По горизонтальной плоскости от задней стенки кабины до лобового окна по продольной оси кресла машиниста на высоте заднего края пульта (на рисунке А.1 приложения А искомое расстояние L1 + L2) |
Высота верхней кромки лобового окна от пола, мм | По вертикали от пола до пересечения с горизонтальной плоскостью, проходящей через верхнюю кромку ветрового стекла (см. H3, рисунок А.1 приложения А) |
Высота нижней кромки лобового окна (относительно высоты верхнего края пульта) <**>, мм | По вертикали между горизонтальной плоскостью, проходящей через верхний край пульта, и нижней кромкой ветрового стекла |
Высота верхнего края пульта от пола, мм | По вертикали от пола до пересечения с горизонтальной плоскостью, проходящей через верхний край пульта (см. H2, рисунок А.1 приложения А) |
Высота от пола моторной панели пульта, мм | По вертикальной плоскости от пола до пересечения с верхней плоскостью моторной панели пульта по оси симметрии ниши (см. H5, рисунок А.1 приложения А) |
Угол наклона информационной панели пульта от вертикальной плоскости, градус | Угол между плоскостью, проходящей через поверхность информационной панели пульта, и вертикальной плоскостью, проходящей через пересечение информационной и моторной панелей (см. |
Угол наклона моторной панели пульта от горизонтальной плоскости, градус | Угол между плоскостью моторной панели, проходящей через передний край, и горизонтальной плоскостью, проходящей через задний край моторной панели (см. |
Параметры ниши пульта: | |
высота от пола, мм | По вертикальной плоскости от пола до пересечения с нижним задним краем пульта по оси симметрии ниши (см. H6, рисунок А.1 приложения А) |
глубина, мм | По горизонтальной плоскости от пересечения с вертикальной плоскостью передней стенки ниши до пересечения с вертикальной плоскостью, проходящей через задний край пульта (см. L3, рисунок А.1 приложения А) |
ширина в зоне размещения стоп ног, мм | По плоскости пола между боковыми стенками ниши (см. B1, рисунок А.2 приложения А) |
Параметры подножки ниши пульта: | |
высота заднего края подножки (ниши пульта) от пола, мм | По вертикальной плоскости от пола до пересечения с горизонтальной плоскостью, проходящей через задний край подножки (см. H7, рисунок А.1 приложения А) |
угол наклона площадки для стоп ног от горизонтали, градус | Угол между горизонтальной плоскостью, проходящей через нижний край площадки для стоп ног и плоскостью, проходящей через поверхность этой площадки (см. |
глубина площадки для стоп ног, мм | По оси симметрии плоскости площадки для стоп ног от переднего до заднего края (см. L4, рисунок А.1 приложения А) |
ширина площадки для стоп ног, мм | По средней линии опорной поверхности площадки для стоп ног между боковыми сторонами (см. B2, рисунок А.2 приложения А) |
глубина свободного пространства на полу для стоп ног от проекции заднего края пульта в нише, мм | По плоскости пола от пересечения с вертикальной плоскостью, проходящей через задний край пульта, по оси симметрии ниши (см. L5, рисунок А.1 приложения А) |
Параметры установки кресла в кабине: | |
высота сидения кресла на механизме крепления в крайнем нижнем положении от пола, мм | По вертикальной плоскости симметрии кресла от пола до пересечения с горизонтальной плоскостью, проходящей через передний край поверхности сиденья кресла в его крайнем нижнем положении (см. H8, рисунок А.1 приложения А) |
Расстояние продольного смещения кресла на механизме крепления от крайне переднего до крайне заднего положения, мм | По плоскости пола между вертикальными плоскостями, проходящими через край сиденья кресла в его крайнем переднем и крайнем заднем положении, (см. L8, рисунок А.1 приложения А) |
Расстояние между проекциями на полу заднего края пульта и линии соединения сиденья и спинки кресла в среднем положении сиденья, мм | По горизонтали, лежащей в вертикальной плоскости симметрии кресла между вертикальной плоскостью, проходящей через линию соединения сиденья и спинки кресла в его среднем положении, и вертикальной плоскостью, проходящей через задний край пульта (см. L7, рисунок А.1 приложения А) |
В испытаниях участвуют два человека, рост которых соответствует антропометрическим признакам 5 и 95 перцентилей по ГОСТ 12.2.049. Участники испытаний поочередно занимают рабочую позу, сидя за пультом с опорой на спинку кресла. Спинка кресла в вертикальном положении. Кресло находится в крайнем переднем положении. Производят измерения расстояния от наиболее глубокой точки переносицы участника испытаний до геометрического центра каждого СОИ. | |
В испытаниях участвуют два человека, рост которых соответствует антропометрическим признакам 5 и 95 перцентилей по ГОСТ 12.2.049. Испытания проводят по три раза с каждым участником, предварительно прошедшим пять тренировочных экстренных покиданий кресла. Участники испытаний поочередно занимают рабочую позу, сидя за пультом. Кресло находится в крайнем переднем положении. Испытатель подает команду о начале испытаний, одновременно включая секундомер. Участник должен покинуть кресло, встать рядом с креслом. Испытатель фиксирует время от начала подачи команды о начале испытаний до момента, когда участник встанет на пол рядом с креслом. За результат каждого участника принимают среднее арифметическое значение трех измерений. | |
Наименование показателя | Метод определения показателя (способ измерения) |
Высота салона от пола, мм | По вертикальной плоскости, проходящей по центру прохода, от пола до поверхности ограждения на потолке, в трех местах: середине салона и в противоположных концах салона у торцевых дверей (см. H1, рисунок А.3 приложения А) |
Размеры сечения межвагонного перехода (в свету): | |
ширина проема, мм | По горизонтальной плоскости на расстоянии 1500 мм от плоскости пола между вертикальными плоскостями, проходящими через наиболее выступающие поверхности боковых ограждений перехода (см. B2, рисунок А.1 приложения А) |
высота проема, мм | По вертикальной плоскости от плоскости пола перехода в его геометрическом центре до поверхности ограждения на потолке (см. H2, рисунок А.3 приложения А) |
Параметры установки кресел: | |
а) шаг между спинками кресел, расположенных напротив друг друга, мм | По горизонтальной плоскости между вертикальными плоскостями, проходящими: а) через верхний задний край спинок пассажирских кресел (диванов), расположенных напротив друг друга (см. L1, рисунок А.4 приложения А) |
б) или расстояние между передними краями сидений кресел, расположенных напротив друг друга, мм | б) или через передний край сидений, расположенных напротив друг друга |
шаг между спинками кресел, при многорядной посадке (друг за другом), мм | По горизонтальной плоскости между вертикальными плоскостями, проходящими через верхний задний край спинок пассажирских кресел (диванов), расположенных друг за другом (см. L2, рисунок А.4 приложения А) |
Параметры дверей: | |
наружные входные, мм: | |
ширина проема | Ширина дверного проема в свету (см. L3, рисунок А.4 приложения А) |
высота проема | Высота дверного проема в свету (см. H1, рисунок А.4 приложения А) |
торцевые между тамбурами, мм: | |
ширина | Ширина дверного проема в свету (см. B2, рисунок А.3 приложения А) |
высота | Высота дверного проема в свету (см. H2, рисунок А.3 приложения А) |
внутренние проходные, мм: | |
ширина в свету, мм | Ширина дверного проема в свету (см. B4, рисунок А.3 приложения А) |
высота в свету, мм | Высота дверного проема в свету (см. H5, рисунок А.3 приложения А) |
Параметры багажных полок, мм: | |
высота от пола | По вертикальной плоскости от пола до пересечения с горизонтальной плоскостью, проходящей через нижний край полки (см. H9, рисунок А.3 приложения А) |
ширина | По оси симметрии опорной поверхности багажной полки от переднего к испытателю края до боковой стенки (см. B5, рисунок А.3 приложения А) |
Параметры опорных устройств для стоящих пассажиров, устройств открывания дверей: | |
параметры поручней на спинках крайних к проходу кресел: | |
высота расположения от уровня пола салона, мм | По вертикали от пола салона до горизонтальной плоскости, проходящей через верхнюю поверхность поручня |
выход поручня за габаритный размер спинки кресла по ширине кресла, мм | Визуальный осмотр |
форма ручки на двери из тамбура в салон и на других дверях | Визуальный осмотр |
параметры расположения рукоятки двери или кнопки управления дверями над уровнем пола салона, мм: | |
высота от пола | По вертикали от пола вагона до оси (центра) рукоятки (кнопки) |
Наименование показателя | Метод определения показателя (способ измерения) |
Параметры лестниц для пассажиров, мм: | |
шаг ступенек для пассажиров | По вертикали между горизонтальными плоскостями, проходящими через опорные поверхности двух расположенных друг за другом ступенек |
ширина ступенек для пассажиров | По средней линии опорной поверхности ступеньки между боковыми краями |
глубина ступенек для пассажиров | По оси симметрии опорной поверхности ступеньки от передней (внешней) до задней кромки |
диаметр поручня у входных дверей для пассажиров | Прямое измерение |
зазор между поручнем и кузовом | По горизонтальной плоскости между кузовом вагона и внутренней к вагону поверхностью поручня в начале рабочего участка поручня (в нижней части поручня, предназначенного для опоры руками) |
начало рабочего участка поручня | По вертикали от горизонтальной плоскости, проходящей через головку рельса, до начала рабочего участка поручня (до нижней части поручня, предназначенного для опоры руками) |
Высота размещения над уровнем головки рельса расположенной на наружной стороне вагона дополнительной кнопки управления входными дверями (для вагонов, предназначенных для посадки пассажиров с низких платформ и имеющих входные двери с индивидуальными органами управления), мм | По вертикали от уровня головки рельса до оси кнопки |
Наименование показателя | Метод определения показателя (способ измерения) |
Параметры прохода, мм: | |
ширина прохода для проезда инвалидных колясок | По плоскости пола между вертикальными плоскостями, проходящими по наиболее выступающим в проход элементам пассажирских кресел (диванов) (см. B3, рисунок А.3 приложения А) |
ширина дверного проема проходных дверей | Ширина дверного проема в свету |
ширина дверей специальных санузлов | Ширина дверного проема в свету |
Параметры поручней санузлов в вагонах с местами для инвалидов, мм: | |
а) консольно прикрепленные поворотные поручни круглого сечения: | |
длина | Вдоль поручня по длине опорной поверхности |
высота расположения | По вертикали от поверхности пола до верхней опорной поверхности |
расстояние между поручнями | По линии, перпендикулярной вертикальным плоскостям, проходящим через поручни (через линии по длине боковых опорных поверхностей поручней, ближайших друг к другу) |
б) горизонтальные поручни: | |
длина | Вдоль поручня по длине опорной поверхности |
высота расположения | По вертикали от поверхности пола до верхней опорной поверхности |
Высота расположения рабочих участков опорных устройств на местах размещения инвалидов (поручней, ручек, стоек), мм | По вертикали от уровня поверхности пола до верхней опорной поверхности рабочего участка поручня, стойки, оси ручки |
Высота или перепад высот порогов в дверных проемах для входа и выхода пассажиров-инвалидов, мм | По вертикали от уровня поверхности пола до верхней поверхности порога (между разновысокими уровнями в дверных проемах) |
Высота расположения устройства вызова или связи с поездной бригадой вблизи наружных входных дверей в вагон, оборудованных трапом (подъемником), в тамбуре и снаружи вагона, мм | По вертикали от уровня поверхности пола тамбура или уровня поверхности посадочной станционной платформы до устройства вызова или связи (ось, центр) |
Параметры подъемника, мм: | |
высота боковых барьеров площадки подъемника | По вертикали от уровня пола площадки подъемника до горизонтальной плоскости, проходящей через верх барьеров |
высота расположения поручней над полом площадки подъемника, мм: | |
высота нижней части поручней над полом площадки, высота верхней части поручней над полом площадки | По вертикали от уровня пола площадки подъемника до нижней и верхней частей поручней |
высота порогов на пути следования коляски при перемещении между салоном и станционной платформой с помощью трапа (подъемника) | По вертикали между уровнями разновысоких опорных поверхностей |
горизонтальный зазор между передним краем поверхности площадки подъемника и порогом входных дверей в вагон | По линии, перпендикулярной вертикальным плоскостям, проходящим через передний край поверхности площадки подъемника и край порога входных дверей, обращенный к подъемнику |
Наименование показателя | Метод определения показателя (способ измерения) |
Параметры площадок СПС и их ограждений, мм: | |
ширина площадки | Расстояние между боковыми сторонами по опорной поверхности площадки |
высота барьера (поручня) ограждения площадки | По вертикали от опорной поверхности площадки до пересечения с горизонтальной плоскостью, проходящей через верхний край барьера (поручня) |
высота промежуточного ограждения площадки | По вертикальной плоскости от опорной поверхности площадки до пересечения с горизонтальной плоскостью, проходящей через верхний край промежуточного ограждения |
Параметры лестниц СПС, мм: | |
ширина | По средней линии опорной поверхности ступеньки между боковыми краями |
расстояние между ступенями: | По вертикали между горизонтальными плоскостями, проходящими через опорные поверхности двух расположенных друг за другом ступеней |
наклонных | |
вертикальных | |
глубина свободного пространства от внешней кромки подножки до кузова | По горизонтали между поверхностью кузова и внешней кромкой подножки |
Параметры закрытых переходных площадок, мм: | |
ширина | По горизонтальной плоскости на расстоянии 1500 мм от плоскости пола между вертикальными плоскостями, проходящими через наиболее выступающие поверхности боковых стен |
высота | По вертикали от уровня пола до поверхности ограждения на потолке |
Размеры боковых и торцевых площадок (для локомотивов с кузовом капотного типа): | |
ширина, мм | По поверхности площадки от ограждения до кузова |
высота от поверхности площадок поручней, барьеров, устанавливаемых на наружной стороне площадок, мм | По вертикали от поверхности площадок до горизонтальной плоскости, проходящей через верхний край поручней, барьеров, устанавливаемых на наружной стороне площадок |
высота промежуточного ограждения, поручней, барьеров от поверхности площадок, мм | По вертикали от поверхности площадок до горизонтальной плоскости, проходящей через верхний край промежуточного ограждения |
высота наружных ограничительных планок, установленных по наружному периметру площадки и выступающих над уровнем пола площадки, мм | По вертикали от поверхности площадок до горизонтальной плоскости, проходящей через верхний край ограничительных планок |
Параметры лестниц для подъема на крышу локомотива (при наличии), мм: | |
ширина ступеньки | По средней линии опорной поверхности ступеньки между боковыми краями |
шаг ступеньки | По вертикали между горизонтальными плоскостями, проходящими через опорные поверхности двух расположенных друг за другом ступенек |
Размеры люка для подъема и выхода на крышу (при наличии), мм | По двум сторонам люка в свету |
Ширина настила (трапа) на крыше (при наличии) для осмотра крышевого оборудования, мм | По поверхности настила между вертикальными плоскостями, проходящими через боковые края |
Параметры подножек, мм: | |
расстояние до поверхности опорной площадки нижней подножки от головки рельса | По вертикали между горизонтальными плоскостями, проходящими через головку рельса и опорную площадку нижней подножки |
ширина подножки | По средней линии опорной поверхности подножки между боковыми краями |
глубина опорной поверхности подножки | По оси симметрии опорной поверхности подножки от передней (внешней) до задней кромки |
глубина свободного пространства от внешней кромки подножки до кузова | По горизонтали между кузовом СПС и внешней кромкой подножки |
шаг подножек | По вертикали между горизонтальными плоскостями, проходящими через опорные поверхности двух расположенных друг за другом подножек |
Параметры поручней, мм: | |
диаметр | Прямое измерение |
зазор между поручнем и кузовом | По горизонтальной плоскости между кузовом и внутренней к нему поверхностью поручня в начале рабочего участка поручня (в нижней части поручня, предназначенного для опоры руками) |
начало рабочего участка поручня от головки рельса | По вертикали от горизонтальной плоскости, проходящей через головку рельса, до начала рабочего участка поручня (до нижней части поручня, предназначенного для опоры руками) |
Параметры входных дверей, в кабину машиниста, включая наружные двери и двери служебного тамбура, мм: | |
высота проема | Высота дверного проема в свету |
ширина проема | Ширина дверного проема в свету |
форма ручек входных дверей | Визуальный осмотр |
Ширина свободного прохода в служебном тамбуре (ширина поперечного прохода (тамбурной зоны), примыкающего к кабине машиниста), мм | По горизонтальной плоскости на расстоянии 1500 мм от плоскости пола между вертикальными плоскостями, проходящими через наиболее выступающие поверхности боковых стен (оборудования) служебного тамбура (тамбурной зоны) |
Параметры проходов в машинном отделении и коридоров, мм: | |
ширина | По горизонтальной плоскости на расстоянии 1500 мм от плоскости пола между вертикальными плоскостями, проходящими через наиболее выступающие поверхности боковых стен |
высота | По вертикали от уровня пола до поверхности ограждения на потолке |
Превышение длины желобков, расположенных над боковыми окнами и входными дверями, по отношению к ширине дверей или окон с каждой стороны, мм | По длине желобка от его конца до бокового окна (входной двери) |
Наименование показателя | Метод определения показателя (способ измерения) |
Размеры кабины на рабочем месте машиниста, мм: | |
высота от пола до потолка | По вертикали от пола до поверхности ограждения на потолке кабины на рабочем месте машиниста у пульта управления (см. H1, рисунок А.1 приложения А) |
ширина кабины | По горизонтали в плоскости задней стенки кабины между боковыми стенками кабины на высоте 1500 мм от пола |
глубина кабины | По продольной оси симметрии пола между лобовой и задней стенками кабины |
высота от пола верхней кромки обзорного окна, мм | По вертикали от пола до пересечения с горизонтальной плоскостью, проходящей через верхнюю кромку обзорного окна (см. H3, рисунок А.1 приложения А) |
Геометрические параметры кресел машиниста и помощника машиниста при управлении технологическим процессом: | |
Размеры и конфигурация сиденья: | |
длина (глубина), мм | По продольной оси симметрии опорной поверхности сиденья от переднего края до линии пересечения со спинкой |
ширина, мм | По опорной поверхности сиденья по линии, перпендикулярной оси симметрии сиденья и проходящей через его геометрический центр |
регулировка сиденья по высоте | По вертикали от пола до пересечения с горизонтальной плоскостью, проходящей через передний край опорной поверхности сиденья кресла в его крайнем верхнем положении - высота Hс1. По вертикали от пола до пересечения с плоскостью, проходящей через передний край опорной поверхности сиденья кресла в его крайнем нижнем положении - высота Hс2. Искомая величина определяется как разница высот: ![]() |
продольное смещение сиденья кресла от крайнего переднего до крайнего заднего положения, мм | Отмечают на полу линию пересечения с вертикальной плоскостью, проходящей через передний край сиденья кресла в его среднем положении. Сдвигают попеременно максимально вперед и максимально назад сиденье кресла и отмечают на полу линии пересечения с вертикальной плоскостью, проходящей через передний край сиденья кресла. Измеряют расстояния между отмеченными на полу линиями |
наклон сиденья к горизонтали | Угол между плоскостью, проходящей через опорную поверхность сиденья и горизонтальной плоскостью |
Размеры спинки кресла: | |
ширина, мм | По опорной поверхности спинки (в горизонтальной плоскости на высоте 270 мм от пересечения с поверхностью сиденья) между вертикальными плоскостями, проходящими через правый и левый край спинки |
высота, мм | По продольной оси симметрии опорной поверхности спинки от пересечения с поверхностью сиденья до верхнего края спинки |
отклонение спинки относительно сиденья, градус | Угол между вертикальной плоскостью, проходящей через линию пересечения опорных поверхностей сиденья и спинки, и плоскостью, проходящей через опорную поверхность отклоненной максимально спинки кресла |
Параметры подлокотников кресла, мм: | |
длина опорной поверхности при наличии встроенного и без встроенного пульта управления | По продольной оси симметрии опорной поверхности подлокотника |
ширина | По опорной поверхности подлокотника от правого до левого края (в плоскости, перпендикулярной оси симметрии опорной поверхности подлокотника и расположенной на середине его длины) |
Параметры установки кресла, мм: | |
высота поверхности сиденья от поверхности опоры для ног | По вертикали от плоскости опоры для ног до горизонтальной плоскости, проходящей через передний край сиденья |
глубина свободного пространства при отсутствии впереди стоящего пульта | По плоскости пола от лобовой стенки до пересечения с вертикальной плоскостью, проходящей через передний край сиденья кресла в крайнем его переднем положении |
Параметры пульта управления технологическим процессом: | |
высота от пола моторной панели пульта, мм | По вертикальной плоскости от пола до пересечения с верхней плоскостью моторной панели пульта по оси симметрии ниши (см. H5, рисунок А.1 приложения А) |
Параметры ниши пульта, мм: | |
высота от пола | По вертикальной плоскости от пола до пересечения с нижним задним краем пульта по оси симметрии ниши (см. H6, рисунок А.1 приложения А) |
глубина | По горизонтали от вертикальной плоскости, проходящей через переднюю стенку ниши до вертикальной плоскости, проходящей через задний край пульта (см. L3, рисунок А.1 приложения А) |
ширина ниши в зоне размещения стоп ног | По плоскости пола между боковыми стенками ниши |
глубина свободного пространства на полу для стоп ног от проекции заднего края пульта в нише, мм | По плоскости пола от пересечения с вертикальной плоскостью, проходящей через задний край пульта, по оси симметрии ниши |
Параметры подножки: | |
глубина опорной площадки подножки, мм | По продольной оси симметрии плоскости площадки для стоп ног между передним и задним краем |
ширина опорной площадки подножки, мм | По средней линии опорной поверхности площадки для стоп ног между боковыми сторонами |
Геометрические параметры рабочего места оператора персональной электронно-вычислительной машины (ПЭВМ): | |
параметры рабочего стола, мм: | |
ширина | По средней линии поверхности столешницы между боковыми кромками |
глубина | По продольной оси симметрии поверхности столешницы от переднего до заднего края |
параметры ниши стола, мм: | |
высота от пола | По вертикальной плоскости от пола до пересечения с нижним краем стола, обращенном к оператору, по оси симметрии ниши |
ширина | По плоскости пола между боковыми стенками ниши |
глубина | По горизонтали от вертикальной плоскости задней стенки ниши до вертикальной плоскости, проходящей через край стола, обращенный к оператору |
Наименование показателя | Метод определения показателя (способ измерения) |
Зона размещения маршрутных документов (графика движения, листа предупреждений) в центре моторной панели по оси симметрии ниши, мм | От оси симметрии ниши в обе стороны по краю углубления (зоны) размещения расписания (см. B1, рисунок А.5 приложения А) |
Зона размещения рычага контроллера вертикального исполнения слева от оси симметрии ниши, мм | От оси симметрии ниши под прямым углом к ней до продольной оси симметрии рычага контроллера (см. B2, рисунок А.5 приложения А) |
Зона размещения органов управления тормозами, с рычагом управления: | |
вертикального исполнения справа от оси симметрии ниши, мм | От оси симметрии ниши под прямым углом к ней до продольной оси симметрии поездного крана (см. B3, рисунок А.5 приложения А) |
горизонтального исполнения (геометрический центр) справа от оси симметрии, мм | От оси симметрии ниши под прямым углом к ней до геометрического центра поездного крана (см. B5, рисунок А.5 приложения А) |
Зона размещения на информационной панели СОИ для контроля параметров скорости, сигналов безопасности, аварийной сигнализации от оси симметрии ниши (слева и справа), мм | От оси симметрии ниши под прямым углом к ней в обе стороны до продольной оси симметрии каждого СОИ (см. B4, рисунок А.5 приложения А) |
Зоны размещения на информационной панели СОИ для контроля параметров тяги, торможения и диагностики от оси симметрии ниши, мм | От оси симметрии ниши под прямым углом к ней в обе стороны до продольной оси симметрии каждого СОИ (см. B7, рисунок А.5 приложения А) |
Зона размещения СОИ и ОУ вспомогательными переключениями от оси симметрии ниши, мм | От оси симметрии ниши под прямым углом к ней в обе стороны до продольной оси симметрии каждого СОИ (см. B6, рисунок А.5 приложения А) |
Примечание - При компоновке ОУ и СОИ относительно оси симметрии кресла (на маневровых тепловозах капотного типа), измерение показателей производят от этой оси | |




