Главная // Актуальные документы // ГОСТ (Государственный стандарт)СПРАВКА
Источник публикации
М.: Стандартинформ, 2016
Примечание к документу
Документ
введен в действие с 1 октября 2016 года.
Название документа
"ГОСТ 33463.3-2015. Межгосударственный стандарт. Системы жизнеобеспечения на железнодорожном подвижном составе. Часть 3. Методы испытаний по определению санитарно-химических показателей"
(введен в действие Приказом Росстандарта от 18.02.2016 N 56-ст)
"ГОСТ 33463.3-2015. Межгосударственный стандарт. Системы жизнеобеспечения на железнодорожном подвижном составе. Часть 3. Методы испытаний по определению санитарно-химических показателей"
(введен в действие Приказом Росстандарта от 18.02.2016 N 56-ст)
по техническому регулированию
и метрологии
от 18 февраля 2016 г. N 56-ст
МЕЖГОСУДАРСТВЕННЫЙ СТАНДАРТ
СИСТЕМЫ ЖИЗНЕОБЕСПЕЧЕНИЯ НА ЖЕЛЕЗНОДОРОЖНОМ
ПОДВИЖНОМ СОСТАВЕ
ЧАСТЬ 3
МЕТОДЫ ИСПЫТАНИЙ ПО ОПРЕДЕЛЕНИЮ
САНИТАРНО-ХИМИЧЕСКИХ ПОКАЗАТЕЛЕЙ
Life-support systems for railway rolling stock.
Part 3. Test methods for determination
of the sanitary-chemical indicators
ГОСТ 33463.3-2015
Дата введения
1 октября 2016 года
Цели, основные принципы и основной порядок проведения работ по межгосударственной стандартизации установлены
ГОСТ 1.0-92 "Межгосударственная система стандартизации. Основные положения" и
ГОСТ 1.2-2009 "Межгосударственная система стандартизации. Стандарты межгосударственные, правила и рекомендации по межгосударственной стандартизации. Правила разработки, принятия, применения, обновления и отмены".
1 РАЗРАБОТАН Федеральным государственным унитарным предприятием "Всероссийский научно-исследовательский институт железнодорожной гигиены Федеральной службы по надзору в сфере защиты прав потребителей и благополучия человека" (ФГУП ВНИИЖГ Роспотребнадзора)
2 ВНЕСЕН Межгосударственным техническим комитетом по стандартизации МТК 524 "Железнодорожный транспорт"
3 ПРИНЯТ Межгосударственным советом по стандартизации, метрологии и сертификации (протокол от 10 декабря 2015 г. N 48)
За принятие проголосовали:
Краткое наименование страны по МК (ИСО 3166) 004-97 | Код страны по МК (ИСО 3166) 004-97 | Сокращенное наименование национального органа по стандартизации |
Армения | AM | Минэкономики Республики Армения |
Беларусь | BY | Госстандарт Республики Беларусь |
Казахстан | KZ | Госстандарт Республики Казахстан |
Киргизия | KG | Кыргызстандарт |
Россия | RU | Росстандарт |
Таджикистан | TJ | Таджикстандарт |
4
Приказом Федерального агентства по техническому регулированию и метрологии от 18 февраля 2016 г. N 56-ст межгосударственный стандарт ГОСТ 33463.3-2015 введен в действие в качестве национального стандарта Российской Федерации с 1 октября 2016 года.
6 ВВЕДЕН ВПЕРВЫЕ
Информация об изменениях к настоящему стандарту публикуется в ежегодном информационном указателе "Национальные стандарты" а текст изменений и поправок - в ежемесячном информационном указателе "Национальные стандарты". В случае пересмотра (замены) или отмены настоящего стандарта соответствующее уведомление будет опубликовано в ежемесячном информационном указателе "Национальные стандарты". Соответствующая информация, уведомление и тексты размещаются также в информационной системе общего пользования - на официальном сайте Федерального агентства по техническому регулированию и метрологии в сети Интернет (www.gost.ru)
Настоящий стандарт распространяется на локомотивы, моторвагонный подвижной состав, специальный железнодорожный подвижной состав и устанавливает методы испытаний по определению уровня загрязнения воздушной среды помещений указанного подвижного состава продуктами неполного сгорания топлива, продуктами деструкции полимерных материалов в нормальных условиях, а также методы испытаний полимерных материалов и изделий, используемых в конструкции и отделке этих помещений.
Примечание - Настоящий стандарт может быть применен для определения санитарно-химических показателей в служебных и вспомогательных помещениях изотермических вагонов.
В настоящем стандарте использованы нормативные ссылки на следующие межгосударственные стандарты:
ГОСТ 12.0.004-90 Система стандартов безопасности труда. Организация обучения безопасности труда. Общие положения
ГОСТ 12.2.007.0-75 Система стандартов безопасности труда. Изделия электротехнические. Общие требования безопасности
ГОСТ 7502-98 Рулетки измерительные металлические. Технические условия
ГОСТ 16504-81 Система государственных испытаний продукции. Испытания и контроль качества продукции. Основные термины и определения
Примечание - При пользовании настоящим стандартом целесообразно проверить действие ссылочных стандартов в информационной системе общего пользования - на официальном сайте Федерального агентства по техническому регулированию и метрологии в сети Интернет или по ежегодному информационному указателю "Национальные стандарты", который опубликован по состоянию на 1 января текущего года, и по выпускам ежемесячного информационного указателя "Национальные стандарты" за текущий год. Если ссылочный стандарт заменен (изменен), то при пользовании настоящим стандартом следует руководствоваться заменяющим (измененным) стандартом. Если ссылочный стандарт отменен без замены, то положение, в котором дана ссылка на него, применяется в части, не затрагивающей эту ссылку
В настоящем стандарте применены термины по
ГОСТ 16504, а также следующие термины с соответствующими определениями:
3.1 продукты неполного сгорания топлива: Вещества, являющиеся результатом незавершенной реакции горения при недостаточном количестве кислорода или при плохом перемешивании топлива с воздухом, когда в продуктах сгорания появляются несгоревшие углеводороды, окись углерода, окислы азота, альдегиды и т.д.
3.2
полимерный материал: Материал, состоящий из полимеров и добавок. Примечание - Добавки (наполнители, пластификаторы, стабилизаторы, красители и т.п.) вводят в полимеры для придания им требуемых свойств и облегчения переработки. [ГОСТ 9.710-84, статья 1] |
3.3 продукт деструкции (полимерного материала): Химическое соединение, полученное в результате разрушения полимерного материала, в том числе любое соединение, образовавшееся при последующих химических реакциях.
3.4 насыщенность (полимерным материалом): м2/м3, м3/м3, кг/м3: Отношение единицы поверхности, объема или массы полимерного материала к единице объема помещения.
3.5 предельно допустимая концентрация (ПДК): Утвержденный в законодательном порядке санитарно-гигиенический норматив.
Примечание - ПДК химических элементов и их соединений в воздушной среде - концентрация, которая при повседневном влиянии в течение длительного времени на организм человека не вызывает патологических изменений или заболеваний, устанавливаемых современными методами исследований в любые сроки жизни настоящего и последующего поколений.
3.6 проба воздуха: Объем воздуха (л, м3), отобранный при испытаниях и используемый для анализа при проведении качественной и количественной оценки химического состава воздуха.
3.7 точка отбора пробы: Отраженное в документах место в контролируемой зоне, где производится отбор пробы для дальнейших санитарно-химических исследований.
Примечание - Точка отбора пробы выбирается, исходя из потенциального влияния на человека.
3.8 топливо: Смеси углеводородов, используемые в работе двигателей внутреннего сгорания, в том числе в дизельных двигателях и газотурбинных установках.
4. Метод испытаний по определению показателя "уровень загрязнения воздушной среды продуктами неполного сгорания топлива"
4.1.1 Настоящий метод предназначен для определения содержания вредных химических веществ (продуктов неполного сгорания топлива) в воздушной среде помещений железнодорожного подвижного состава, работающего с использованием двигателей внутреннего сгорания (дизель-поезда, дизель-электропоезда, рельсовые автобусы, автомотрисы, тепловозы, специальный железнодорожный подвижной состав и пр.).
Примечание - Основными компонентами продуктов неполного сгорания топлива являются окислы азота (в пересчете на NO2), оксид углерода (CO). Могут также определяться предельные углеводороды алифатического ряда (C1 - C10), акролеин, диоксид серы (SO2), сажа.
4.1.2 Уровень загрязнения воздушной среды продуктами неполного сгорания топлива определяют путем количественного анализа химического состава проб воздуха, отобранных внутри помещений железнодорожного подвижного состава при его движении по железнодорожному пути и (или) при выполнении технологического процесса.
4.1.3 Для определения концентрации продуктов неполного сгорания топлива используют методики количественного химического анализа (МКХА) в пробах воздуха, методики выполнения измерений концентрации вредных химических веществ с непосредственным отсчетом показаний, аттестованные в порядке, установленном национальными органами исполнительной власти.
4.2. Образец для испытаний
4.2.1 На испытания предъявляется один образец железнодорожного подвижного состава, упомянутого в
4.1.1 (далее - объект испытаний).
4.3. Условия проведения испытаний
4.3.1 Испытания должны проводиться в реальных условиях эксплуатации подвижного состава, либо в условиях, приближенных к реальным, при которых обеспечивается полная нагрузка на двигатель и работа двигателя на установившихся режимах.
4.3.1.1 Испытания локомотивов, моторвагонного и специального самоходного железнодорожного подвижного состава проводят в транспортном режиме (при движении по железнодорожному пути со скоростью, составляющей 2/3 от конструкционной скорости с пределом отклонений +/- 5 км/ч, и мощностью силовой установки, равной 2/3 паспортной производительности +/- 10%).
4.3.1.2 Испытания специального самоходного и несамоходного железнодорожного подвижного состава проводят в технологическом режиме, определяемом их назначением (областью применения).
4.3.2 Устройства подачи наружного воздуха, отверстия для забора воздуха извне и выпуска отводимого воздуха в помещениях, в которых проводятся испытания, должны функционировать в штатном режиме в зависимости от температуры наружного воздуха.
4.3.3 Все двери и окна в помещениях, в которых проводятся испытания, должны быть закрыты.
4.3.4 Условия отбора проб воздуха <*> (в том числе продолжительность отбора и расход), а также условия хранения и транспортировки отобранных при испытаниях проб должны соответствовать методикам, упомянутым в
4.1.3.
--------------------------------
<*> Для целей оценки по максимально разовой ПДК (ПДКмр) - концентрации, которая не оказывает вредного влияния на организм человека при кратковременном воздействии.
4.4.1 Применяемые средства измерения (СИ) должны соответствовать требованиям национального законодательства об обеспечении единства измерений <**>.
--------------------------------
<**> В Российской Федерации действуют Федеральный
закон "Об обеспечении единства измерений N 102-ФЗ от 26 июня 2008 года и правила по метрологии
ПР 50.2.006-94 Государственная система обеспечения единства измерений. Порядок проведения поверки средств измерений.
4.4.2 Измерение температуры воздуха проводят термоизмерительной аппаратурой с пределами погрешности +/- 0,5 °C.
4.4.3 Измерение относительной влажности воздуха проводят СИ влажности (гигрометр, термогигрометр и другие СИ) с погрешностью не более 10%.
4.4.4 Линейные размеры измеряют рулеткой по
ГОСТ 7502 класса точности 3.
4.4.5 Для регистрации времени измерений и продолжительности отбора проб воздуха используют приборы (секундомер, часы-секундомер, хронограф) с погрешностью +/- 1 с, а также средства измерений температуры, относительной влажности с функцией фиксации времени.
4.4.6 Отбор проб воздуха производят аспираторами с ротаметрами с пределами погрешности +/- 5%.
4.4.7 Перечень СИ, применяемых при химическом анализе проб воздуха, определяется методиками, указанными в
4.1.3.
4.5. Подготовка к испытаниям
| | ИС МЕГАНОРМ: примечание. В официальном тексте документа, видимо, допущена опечатка: пункт 4.2.3 отсутствует. | |
4.5.1 Перед началом испытаний по технической документации на объект испытаний (см. 4.2.3) определяют:
- значение скорости движения железнодорожного подвижного состава для проведения испытаний в транспортном режиме (см.
4.3.1.1);
- технические характеристики двигателя внутреннего сгорания;
- характеристики и режимы работы устройства подачи наружного воздуха;
- места расположения отверстий для выпуска отработавших газов и забора наружного воздуха;
- объем помещений объекта испытаний;
- этапы технологического процесса для проведения испытаний в технологическом режиме (см.
4.3.1.2).
4.5.2 В зависимости от количества, назначения и объемов помещений объекта испытаний (далее - помещения) определяют точки отбора проб воздуха.
В кабине машиниста, служебных, бытовых и иных помещениях объемом менее 15 м3 отбор осуществляется в одной точке, расположенной в центре помещения.
В салонах, служебных и иных помещениях объемом более 15 м3 - отбор проб следует осуществлять не менее чем в двух точках, расположенных по диагонали помещения: в первом и последнем рядах кресел салона (в одном - справа, в другом - слева).
4.5.3 Для подготовки к испытаниям специального подвижного состава в технологическом режиме определяют этапы (стадии) технологического процесса, при проведении которых необходимо осуществлять отбор проб воздуха.
Отбор проб необходимо проводить во время технологических операций, при которых возможно выделение в воздушную среду наибольшего количества вредных веществ.
При технологическом процессе с длительными стадиями (превышающими продолжительность отбора проб воздуха) отбор проб необходимо проводить в начале, в середине и в конце стадии технологического процесса, разбив общую продолжительность отбора пробы на три равных промежутка времени.
Если стадия технологического процесса настолько коротка, что нельзя отобрать в одну пробу необходимое для анализа количество вещества, то отбор следует проводить методом накопления (отбор необходимо прервать и продолжить при повторении операции несколько раз, пока суммарное время дискретного отбора не будет равно продолжительности отбора одной пробы).
4.6. Порядок проведения испытаний
4.6.1 Перед началом испытаний проводят измерение температуры наружного воздуха в точке, расположенной на расстоянии не менее 5 м от объекта испытаний на уровне (1,5 +/- 0,1) м от поверхности земли.
Примечание - Измерение проводят для определения и последующего контроля режима работы устройства подачи наружного воздуха.
4.6.2 Перед началом движения объекта испытаний и (или) перед началом выполнения технологического процесса окна и двери в помещении закрывают и проводят отбор фоновых (контрольных) проб воздуха при неработающем оборудовании объекта испытаний. При отборе фоновых проб воздуха фиксируют наличие посторонних источников загрязнения.
4.6.3 В транспортном режиме отбор проб воздуха начинают через 20 мин после достижения условий, указанных в
4.3.1.1.
4.6.4 В технологическом режиме отбор проб начинают на этапе, определенном по
4.5.3.
4.6.5 При отборе проб воздуха устройства для забора воздуха (поглотительные приборы) располагают в точках отбора по
4.5.2 на расстоянии (1,5 +/- 0,1) м от уровня пола.
На каждое определяемое вещество в каждой точке одновременно отбирают не менее четырех проб воздуха.
4.6.6 Во время отбора проб воздуха контролируют соблюдение требований к условиям испытаний по
4.3. Для этого через равные промежутки времени продолжительностью не более 10 мин определяют:
- расход воздуха (объемную скорость), л/мин;
- скорость движения объекта, км/ч (по штатным измерительным приборам);
- нагрузку двигателя, кВт (по штатным измерительным приборам).
Проводят измерение (однократно):
- температуры воздуха в центре помещения на уровне (1,5 +/- 0,1) м от пола, °C;
- относительной влажности воздуха в центре помещения на уровне (1,5 +/- 0,1) м от пола, %.
4.6.7 Во время проведения испытаний за период от начала отбора фоновых проб воздуха до окончания отбора проб воздуха в помещении фиксируют:
- моменты открывания окон и дверей (время, продолжительность);
- моменты выключения (включения) системы вентиляции (время, продолжительность).
4.6.8 Допускается производить отбор проб методом накопления, с прерыванием отбора при изменении скорости движения объекта испытаний более чем на 10 км/ч, после открывания окон, дверей, остановки технологического процесса, по производственной необходимости.
Отбор возобновляют через 10 мин после восстановления условий испытаний.
Отбор проб методом накопления производится также при условиях технологического процесса, установленных в
4.5.3.
4.6.9 Первичные данные и условия отбора регистрируют в форме рабочего протокола.
Рабочий протокол испытаний должен включать:
а) наименование, адрес организации, проводящей испытания;
б) место и дату проведения испытаний;
в) полное наименование единицы объекта испытаний, заводской номер, акт о готовности к испытаниям;
г) наименование настоящего стандарта (со ссылками на используемые пункты и разделы) и перечень методик проведения измерений по
4.1.3;
д) перечень применяемых средств измерений, сведения о поверке;
е) лист отбора, с указанием точек отбора проб воздуха, определяемых вредных химических веществ в каждой точке, номеров проб, условий отбора (скорость и продолжительность отбора), а также условий, при которых производился отбор проб (время отбора, режим работы объекта испытаний, скорость движения объекта испытаний, температура воздуха, относительная влажность и пр.).
4.6.10 Обработку результатов испытаний проводят в соответствии с
разделом 7 настоящего стандарта.
5. Метод испытаний по определению показателя "уровень загрязнения воздушной среды помещений продуктами деструкции полимерных материалов в нормальных условиях"
5.1.1 Настоящий метод предназначен для определения содержания (концентрации) вредных химических веществ, выделяющихся из конструкционных и отделочных полимерных материалов в воздушную среду помещений железнодорожного подвижного состава, упомянутого в
разделе 1, в нормальных условиях (при температуре от 20 °C до 40 °C), С, мг/м
3.
5.1.2 Концентрацию вредных химических веществ определяют путем качественного и количественного анализа химического состава проб воздуха, отобранных в помещениях железнодорожного подвижного состава после воздействия на внутреннюю среду помещений температуры в диапазоне от 28 °C до 38 °C не менее 10 часов при полном отсутствии воздухообмена.
5.1.3 Перечень вредных химических веществ, на которые необходимо отобрать пробы воздуха, определяют на основе экспертной оценки состава примененных в конструкции и отделке помещений железнодорожного подвижного состава полимерных материалов.
5.1.4 Для определения содержания вредных химических веществ в пробах воздуха используют методики выполнения химического анализа (МКХА), аттестованные в порядке, установленном национальными органами исполнительной власти.
5.2. Образец для испытаний
5.2.1 На испытания предъявляется один образец железнодорожного подвижного состава, упомянутого в
разделе 1.
На испытания вместе с образцом для испытаний должны быть представлены документы на полимерные материалы, применяемые в конструкции и отделке помещений объекта испытаний (гигиенические заключения, паспорта (сертификаты) безопасности, пожарные сертификаты).
5.3. Условия проведения испытаний
5.3.1 Подвижной состав (объект испытаний) неподвижно устанавливают в закрытом помещении. Допускается установка подвижного состава на открытых участках - вне помещений, при условии выполнения требований по 5.3.2.
5.3.2 Температура наружного воздуха <*> должна быть не менее 5 °C и не более 35 °C. Скорость движения воздуха в период испытаний - не более 7 м/с. Влажность воздуха - не более 70%.
--------------------------------
<*> Температура воздуха за пределами нагреваемого помещения, для которого определяется уровень загрязнения воздушной среды, является наружной температурой.
В месте установки объекта испытаний должны отсутствовать источники возможного загрязнения воздушной среды - не должны проводиться окрасочные, сварочные и иные работы, сопровождающиеся выбросом вредных химических веществ в окружающую среду.
5.3.3 Внутренние поверхности помещений объекта испытаний и установленное оборудование должны быть освобождены от защитных покрытий (чехлы, бумага, картон, полиэтиленовая пленка и пр.), тщательно убраны с применением пылесоса и подвергнуты влажной уборке без применения синтетических моющих средств (допускается применение мыльно-содового раствора) и растворителей.
Внутри помещений не должно быть посторонних источников загрязнения воздушной среды (мастики, краски, лаки, растворители и т.п.).
Помещения должны быть проветрены естественным путем при открытых окнах и дверях (не менее 20 мин).
5.3.4 Прогрев помещений (кабина, салон, служебные и бытовые помещения) должен осуществляться автономными электронагревательными устройствами. Электронагреватели и вентиляторы или электронагревательные устройства с функцией вентиляции (тепловентиляторы) размещаются таким образом, чтобы поток теплого воздуха не был напрямую направлен на внутренние поверхности и оборудование прогреваемого помещения, а распределение температур по объему помещения было максимально равномерным. Должна поддерживаться постоянная мощность систем нагрева.
5.3.5 Все двери и окна в помещениях, в которых проводятся испытания, должны быть закрыты, оборудование системы обеспечения микроклимата выключено.
5.3.6 Условия отбора проб воздуха <*> (в том числе продолжительность отбора и расход), а также условия хранения и транспортировки отобранных при испытаниях проб должны соответствовать МКХА.
--------------------------------
<*> Для целей оценки по ПДКмр.
5.4. Средства измерений, испытательное оборудование
5.4.1 Требования к средствам измерений по
4.4.1 -
4.4.7.
5.4.2 Скорость движения воздуха измеряют термоанемометром (анемометром) с погрешностью не более 0,5 м/с.
5.4.3 Вспомогательное оборудование (электронагреватели, вентиляторы, тепловентиляторы) подвергают периодической проверке технического состояния, в соответствии с указаниями, содержащимися в инструкциях по эксплуатации этого оборудования или в паспортах на них.
5.5. Подготовка к испытаниям
5.5.1 Перед началом испытаний проводят экспертную оценку примененных полимерных материалов по
5.1.3 в соответствии
приложением А.
| | ИС МЕГАНОРМ: примечание. В официальном тексте документа, видимо, допущена опечатка: пункт 5.2.3 отсутствует. | |
5.5.2 Перед началом испытаний по технической документации на объект испытаний (см. 5.2.3) определяют объем испытываемых помещений.
5.5.3 В зависимости от количества, назначения и объемов помещений объекта испытаний определяют точки отбора проб воздуха.
В кабине машиниста, служебных, бытовых и иных помещениях объемом менее 15 м3 отбор осуществляется в одной точке, расположенной в центре помещения.
В салонах, служебных и иных помещениях объемом более 15 м3 отбор проб следует осуществлять не менее чем в двух точках, равномерно расположенных по средней линии помещения.
5.5.4 Устанавливают объект испытаний в соответствии с
5.3.1.
5.5.5 Осуществляют подготовку помещений к проведению испытаний по
5.3.3.
5.5.6 Проводят отбор контрольных (фоновых) проб воздуха рядом с испытываемым объектом в одной точке на расстоянии (1,0 +/- 0,1) м от боковой стороны объекта на высоте (1,5 +/- 0,1) м от уровня пола (или поверхности земли, см.
5.3.1).
5.5.7 В помещении закрывают все двери и окна.
5.5.8 Внутри помещения объекта испытаний и снаружи устанавливают средства измерения температуры воздуха и относительной влажности.
Измерение температуры, относительной влажности осуществляют:
- снаружи испытываемого помещения в одной точке на расстоянии (1,0 +/- 0,1) м от боковой стороны объекта на высоте (1,5 +/- 0,1) м от уровня пола (или поверхности земли, см.
5.3.1);
- в центре помещения объекта испытаний.
5.5.9 В помещении объекта испытаний устанавливают и включают электронагреватели по
5.3.4.
5.6. Порядок проведения испытаний
5.6.1 В начале прогрева контролируют показания температуры воздуха в прогреваемом помещении. С момента, когда температура нагреваемого воздуха достигнет температуры 28 °C, начинают отсчет времени экспозиции, и продолжают прогрев помещения, поддерживая температуру воздуха в диапазоне от 28 °C до 38 °C в течение промежутка времени не менее 10 ч. Фиксируют время начала экспозиции.
Примечания:
1 В случае снижения температуры воздуха ниже указанного диапазона время экспозиции увеличивается на время периода снижения температуры. При этом температура не должна снижаться до значения менее 20 °C.
2 Не допускается осуществлять прогрев помещения до температуры, равной 40 °C и выше.
5.6.2 В период экспозиции (10 ч) ведут измерения и регистрируют (через равные промежутки времени продолжительностью не более 30 мин) значения температуры воздуха в помещении объекта испытаний.
5.6.3 Во время прогрева помещения фиксируют моменты открывания окон и дверей (время, продолжительность).
5.6.4 По завершении периода экспозиции отключают нагревательные приборы и начинают отбор проб воздуха. При отборе не допускается открывать окна и двери помещения, оборудование системы обеспечения микроклимата должно быть выключено.
5.6.5 Отбор проб воздуха осуществляют в точках по
5.5.3.
Устройства для отбора воздуха (поглотительные приборы) располагают на уровне (1,5 +/- 0,1) м от уровня пола.
На каждое определяемое вещество в каждой точке одновременно отбирают не менее четырех проб воздуха.
5.6.6 Во время отбора проб воздуха контролируют соблюдение требований к условиям испытаний по
5.3.
Для этого через равные промежутки времени продолжительностью не более 10 мин определяют и фиксируют:
- температуру воздуха в центре помещения на уровне (1,5 +/- 0,1) м от пола, °C;
- относительную влажность в центре помещения на уровне (1,5 +/- 0,1) м от пола, %;
- расход воздуха (объемная скорость), л/мин;
- продолжительность (время) отбора проб воздуха.
При отборе контрольных (фоновых) проб воздуха фиксируют наличие посторонних источников загрязнения.
5.6.7 Первичные данные и условия отбора регистрируют в рабочем протоколе.
Рабочий протокол испытаний должен включать сведения по
4.6.9а) -
4.6.9е), а также лист отбора, с указанием точек отбора проб воздуха, определяемых вредных химических веществ в каждой точке, номеров проб, условий отбора (время отбора, скорость и продолжительность отбора), а также сведения об условиях и продолжительности прогрева помещения (температура воздуха внутренняя и наружная, время экспозиции), иные условия, при которых производился отбор (см.
5.6.6).
5.6.8 Обработку результатов испытаний проводят в соответствии с
разделом 7 настоящего стандарта.
6. Метод испытаний по определению показателя "уровень загрязнения воздушной среды помещений продуктами деструкции полимерных материалов" в моделированных условиях
6.1.1 Настоящий метод предназначен для определения в моделированных условиях содержания (концентрации) вредных химических веществ, выделяющихся в воздушную среду из полимерных материалов <*>, используемых в конструкции и отделке помещений железнодорожного подвижного состава.
--------------------------------
<*> При деструкции в нормальных условиях (при температуре от 20 °C до 40 °C).
6.1.2 Концентрацию вредных химических веществ определяют путем химического анализа проб воздуха, отобранных из испытательной камеры, в которой создается воздушная среда с качественными и количественными характеристиками химического загрязнения, свойственными реальным условиям эксплуатации полимерных материалов.
6.1.3 Для определения содержания вредных химических веществ в пробах воздуха используют методики выполнения химического анализа (МКХА), аттестованные в порядке, установленном национальными органами исполнительной власти.
6.2. Предъявление образцов для испытаний
6.2.1 Объектом испытаний являются образцы полимерных материалов и изделия из полимерных материалов (далее - образцы), предназначенные для применения или используемые в конструкции и отделке помещений железнодорожного подвижного состава.
6.2.2 Выполнение установленных требований к отбору подтверждается актом отбора образцов (см.
приложение Б).
6.2.3 Образцы должны быть изготовлены из одной партии материала.
6.2.4 Образцы должны предъявляться на испытания в количестве не менее двух.
6.2.5 Количество материала в образце (площадь, объем, метраж) определяется по согласованию с аккредитованным испытательным центром с учетом требований
6.5.2.1.
6.2.6 Образцы должны быть упакованы в материалы, исключающие возможность их химического загрязнения (бумага, картон, пищевая пленка, стеклянная тара и пр.).
6.3. Условия проведения испытаний
6.3.1 Испытаниям подвергают один образец, представленный на испытания в соответствии с
6.2.
Второй образец сохраняют в качестве контрольной пробы в соответствии с порядком, установленным в аккредитованном испытательном центре.
6.3.2 Испытаниям подлежит образец, изготовленный не ранее чем за месяц до начала исследований.
6.3.3 Испытания проводят в испытательной камере, установленной в закрытом помещении. Во время проведения испытаний запрещается проводить какие-либо работы, приводящие к постороннему загрязнению воздушной среды этого помещения.
6.3.4 Во время проведения испытаний в помещении, в котором установлена камера, должна поддерживаться температура воздуха в диапазоне от 20 °C до 28 °C, относительная влажность воздуха - не более 70%.
6.3.5 Условия отбора проб воздуха <*> (в том числе продолжительность отбора и расход), должны соответствовать МКХА.
--------------------------------
<*> Для целей оценки по ПДКмр.
6.4. Средства измерений, испытательное оборудование
6.4.1 Требования к средствам измерений по
4.4.1 -
4.4.7.
6.4.2 Испытательная камера должна соответствовать национальным требованиям к испытательному оборудованию, используемому для проведения обязательной оценки соответствия <**>.
--------------------------------
<**> В Российской Федерации действует
ГОСТ Р 8.568-97 "Государственная система обеспечения единства измерений. Аттестация испытательного оборудования. Основные положения".
Испытательная камера должна быть герметична, объем камеры должен составлять не менее 1,0 м3.
Облицовка внутренних поверхностей испытательной камеры должна быть выполнена из химически нейтральных материалов с низкой сорбционной способностью (нержавеющая сталь, сталь с эмалевым покрытием, химически стойкое стекло).
Испытательная камера должна быть снабжена тепловой изоляцией и электрическим нагревателем, позволяющим поддерживать внутри камеры требуемый температурный режим.
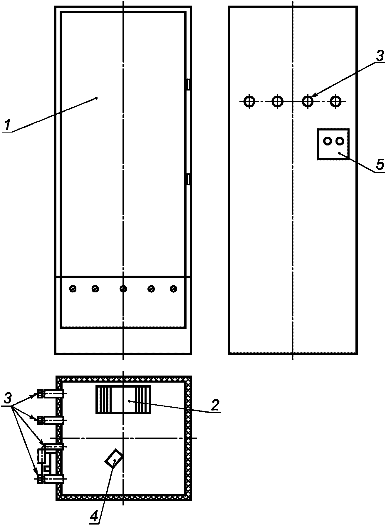
Испытательная камера должна быть оборудована штуцерами, в количестве не менее четырех, для осуществления отбора воздуха.
Оборудование испытательной камеры представлено на
рисунке В.1 приложения В.
6.5. Подготовка к испытаниям
6.5.1 Испытательная камера должна быть подготовлена к испытаниям следующим образом:
- внутренние поверхности камеры должны быть промыты 0,8% раствором питьевой соды (NaHCO3);
- внутренние поверхности камеры должны быть вытерты насухо;
- внутренние поверхности камеры должны быть продуты теплым воздухом (температура - не менее 20 °C и не более 40 °C, относительная влажность воздуха не более 70%) в течение не менее 15 мин;
- для проверки чистоты камеры проводится контрольный отбор и анализ проб воздуха из камеры;
- проверяется исправность нагревательных приборов, аспирационных устройств и датчиков температуры воздуха.
6.5.2 Подготовка образца к испытаниям
6.5.2.1 Определяется необходимый размер (площадь, объем) или масса образца, которые зависят от насыщенности и объема камеры и рассчитывается по формуле
S = V·H, (1)
где S - размер (м2, м3) или масса (кг) образца;
V - объем камеры (V = 1 м3);
H - насыщенность в натурных условиях, (м2/м3, м3/м3 или кг/м3).
6.5.2.2 Образец тщательно очищают (протирают влажной тканью и высушивают).
При исследовании клеев, красок, лаков и шпаклевок последние наносят на стекло необходимого размера в количестве, которое принято при расчете насыщенности.
6.6. Порядок проведения испытаний
6.6.1 Образец помещается в камеру путем подвешивания или раскладывания его в зависимости от физико-механических характеристик материала и его назначения. Контакт образца со стенами камеры запрещается.
6.6.2 Камеру закрывают, начинают нагрев автономными нагревательными приборами от внешнего источника электропитания (220 В). Температуру воздуха контролируют термометром, датчики которого помещены в камеру. По достижении температуры внутри камеры (35 +/- 3) °C, включают датчик - регулятор поддержания температуры и начинают отсчет времени экспозиции.
Общее время экспозиции при температуре (35 +/- 3) °C должно составлять не менее 12 часов.
6.6.3 Во время экспозиции регистрируют температуру воздуха и относительную влажность внутри и снаружи камеры через равные промежутки времени продолжительностью не менее 1 ч.
6.6.4 Через 12 часов экспозиции начинают отбор проб воздуха из камеры через специальные отверстия (штуцеры) для подключения шлангов для отбора проб воздуха.
На каждое определяемое вещество одновременно отбирают не менее четырех проб воздуха.
6.6.5 Параллельно отбирают фоновые пробы воздуха в помещении вне камеры.
6.6.6 Во время отбора проб воздуха контролируют следующие параметры:
- температуру воздуха в камере и в центре помещения на уровне (1,5 +/- 0,1) м от пола, °C;
- относительную влажность воздуха в помещении, %;
- расход воздуха (объемная скорость), л/мин.
6.6.7 Обработку результатов испытаний проводят в соответствии с разделом 7 настоящего стандарта.
7. Обработка результатов испытаний
| | ИС МЕГАНОРМ: примечание. Нумерация пунктов дана в соответствии с официальным текстом документа. | |
7.7.1 Определяют среднюю концентрацию вредного вещества в каждой точке отбора в воздушной среде помещения (камеры):

, мг/м
3, (2)
где Ci - концентрация вещества в пробе, мг/м3;
n - количество проб;
i - номер пробы.
7.7.2 За результат измерений в каждой точке отбора (помещение, камера, фон) принимают сумму средней концентрации (по каждому веществу) и предела случайной погрешности измерений

при уровне доверительной вероятности 0,95:

, мг/м
3. (3)
7.7.3 Полученное в результате расчета по формуле (3) значение для каждого вещества в каждой точке отбора (помещение, камера) сравнивают с нормативным значением. Если это значение превышает норматив для соответствующего вещества, оценку производят с учетом фоновой концентрации этого вещества. Если фоновая концентрация превышает ПДК, результаты испытаний считаются недействительными. Если фоновая концентрация равна или ниже ПДК, то результаты измерений уменьшают на величину фоновой концентрации.
7.7.4 Полученные результаты всех измерений сохраняют в виде таблицы, приведенной в
приложении Г.
8. Оформление результатов испытаний
8.1 Результаты испытаний оформляют в форме протокола.
8.2 Протокол испытаний должен содержать следующую информацию:
- основание для проведения испытаний (номер договора, дата заключения договора, сведения о заявителе);
- наименование объекта испытаний, его заводской (бортовой) номер, акт о готовности к испытаниям (номер, дата);
- наименование вида испытаний (показателя, по которому проводятся испытания);
- условия проведения испытаний (режимы работы объекта, требования к испытываемым помещениям, сведения о работе систем и оборудования объекта испытаний);
- наименование настоящего стандарта (со ссылками на используемые пункты и разделы) и перечень методик по
4.1.3,
5.1.4 или
6.1.3 (наименование, номер, дата утверждения);
- перечень средств измерений и испытательного оборудования (наименование средства измерения, наименование контролируемого показателя, основные характеристики средств измерений);
- оценочные показатели (наименование показателя, характеристики, единицы измерения, нормативные документы, на соответствие которым проводятся испытания, метод определения показателя);
- результаты испытаний с указанием фактических значений показателей, полученных при проведении испытаний, и нормативных значений (по форме
приложения Г);
- наименование организации, проводящей испытания;
- дату составления протокола.
9. Требования безопасности при проведении испытаний
9.1 К проведению испытаний допускают работников, прошедших обучение, инструктажи и проверку знаний требований охраны труда по
ГОСТ 12.0.004. Во время проведения испытаний работники должны соблюдать требования охраны труда и правила внутреннего трудового распорядка, установленные в организации, на территории которой проводятся испытания.
9.2 По электробезопасности применяемое электрооборудование должно относиться к 1 классу защиты от поражения электрическим током по
ГОСТ 12.2.007.0.
9.3 При установке оборудования и проведении измерений обеспечивают освещенность не менее 200 лк.
(обязательное)
ПРОВЕДЕНИЯ ЭКСПЕРТИЗЫ ПОЛИМЕРНЫХ МАТЕРИАЛОВ (ИЗДЕЛИЙ)
НА СООТВЕТСТВИЕ ТРЕБОВАНИЯМ САНИТАРНО-ХИМИЧЕСКОЙ
И ТОКСИКОЛОГИЧЕСКОЙ БЕЗОПАСНОСТИ
А.1 На экспертизу представляют перечень полимерных материалов, примененных в конструкции и отделке помещения железнодорожного подвижного состава, по форме, представленной в таблице А.1.
Таблица А.1
Перечень основных полимерных материалов, примененных
в конструкции и отделке помещений
N п/п | Наименование применяемого материала | Наименование объекта применения | Изготовитель материала (наименование, адрес) | Насыщенность, м2/м3 | Примечание | Наличие документа, подтверждающего соответствие/срок его действия |
Помещение | Помещение | требованиям санитарно-эпидемиологической безопасности | требованиям пожарной безопасности |
| | | | | | | | |
А.2 На каждый полимерный материал (из указанных в перечне) проверяют наличие документов, удостоверяющих соответствие материала требованиям санитарных правил и гигиенических нормативов.
А.3 На каждый полимерный материал (из указанных в перечне) проверяют наличие документов, удостоверяющих соответствие материала требованиям пожарной безопасности.
А.4 Устанавливают достаточность указанных в документах сведений о возможности применения материала.
А.5 Материал не разрешают к применению в конструкции или отделке помещения железнодорожного подвижного состава при отсутствии гигиенического заключения и (или) пожарного сертификата.
А.6 На основании проведенной экспертизы определяют перечень возможных летучих продуктов деструкции полимерных конструкционных и отделочных материалов для проведения испытаний по показателю "уровень загрязнения воздушной среды помещений продуктами деструкции полимерных материалов".
(рекомендуемое)
СВЕДЕНИЯ, ПРИВОДИМЫЕ В АКТЕ ОТБОРА ОБРАЗЦА
ПОЛИМЕРНОГО МАТЕРИАЛА (ИЗДЕЛИЯ)
Акт отбора образца полимерного материала (изделия) должен включать следующие сведения:
- дата отбора;
- наименование материала (торговое, техническое);
- наименование и адрес изготовителя (заказчика);
- наименование предприятия и адрес места отбора образцов (место отбора);
- наименование нормативного документа на материал (ГОСТ, ТУ и пр.);
- вид упаковки;
- номер партии, размер партии, дата изготовления, количество образцов, количество материала в образце (масса/объем/площадь);
- область применения материала (конкретное назначение и условия его эксплуатации);
- дополнительные сведения (насыщенность помещения материалом, копии сертификатов на материал (если имеются) и пр.);
- должность, инициалы, фамилия лица, уполномоченного на отбор образцов.
(справочное)
ОБОРУДОВАНИЕ ИСПЫТАТЕЛЬНОЙ КАМЕРЫ
1 - термошкаф; 2 - нагревательный элемент; 3 - штуцера
отбора проб; 4 - термодатчик; 5 - блок управления
Рисунок В.1
(справочное)
ФОРМА ТАБЛИЦЫ РЕЗУЛЬТАТОВ ИЗМЕРЕНИЙ В ПРОТОКОЛАХ ИСПЫТАНИЙ
ПО ОПРЕДЕЛЕНИЮ УРОВНЯ ЗАГРЯЗНЕНИЯ ВОЗДУШНОЙ СРЕДЫ
Таблица Г.1
Определяемые вредные вещества | ПДК, мг/м3, по НД | Средние концентрации С, мг/м3 |
фон | значение | соответствие |
| | | | |