Главная // Актуальные документы // ГОСТ (Государственный стандарт)СПРАВКА
Источник публикации
М.: Стандартинформ, 2017
Примечание к документу
Документ
введен в действие с 01.04.2018.
Название документа
"ГОСТ ISO 5721-1-2016. Межгосударственный стандарт. Тракторы сельскохозяйственные. Требования, методы испытаний и критерии приемки поля обзора тракториста. Часть 1. Переднее поле обзора"
(введен в действие Приказом Росстандарта от 26.05.2017 N 438-ст)
"ГОСТ ISO 5721-1-2016. Межгосударственный стандарт. Тракторы сельскохозяйственные. Требования, методы испытаний и критерии приемки поля обзора тракториста. Часть 1. Переднее поле обзора"
(введен в действие Приказом Росстандарта от 26.05.2017 N 438-ст)
по техническому регулированию
и метрологии
от 26 мая 2017 г. N 438-ст
МЕЖГОСУДАРСТВЕННЫЙ СТАНДАРТ
ТРАКТОРЫ СЕЛЬСКОХОЗЯЙСТВЕННЫЕ
ТРЕБОВАНИЯ, МЕТОДЫ ИСПЫТАНИЙ И КРИТЕРИИ ПРИЕМКИ
ПОЛЯ ОБЗОРА ТРАКТОРИСТА
ЧАСТЬ 1
ПЕРЕДНЕЕ ПОЛЕ ОБЗОРА
Agricultural tractors. Requirements, test procedures
and acceptance criteria for the operator's field
of vision. Part 1. Field of vision to the front
(ISO 5721-1:2013, IDT)
ГОСТ ISO 5721-1-2016
Дата введения
1 апреля 2018 года
Цели, основные принципы и основной порядок проведения работ по межгосударственной стандартизации установлены в
ГОСТ 1.0-2015 "Межгосударственная система стандартизации. Основные положения" и
ГОСТ 1.2-2015 "Межгосударственная система стандартизации. Стандарты межгосударственные, правила и рекомендации по межгосударственной стандартизации. Правила разработки, принятия, обновления и отмены"
1 ПОДГОТОВЛЕН ФГУП "Всероссийский научно-исследовательский институт стандартизации и сертификации в машиностроении" (ВНИИНМАШ) на основе собственного перевода на русский язык англоязычной версии стандарта, указанного в
пункте 5
2 ВНЕСЕН Межгосударственным техническим комитетом по стандартизации МТК 284 "Тракторы и машины сельскохозяйственные"
3 ПРИНЯТ Межгосударственным советом по стандартизации, метрологии и сертификации (протокол от 22 ноября 2017 г. N 93-П)
За принятие проголосовали:
Краткое наименование страны по МК (ИСО 3166) 004-97 | Код страны по МК (ИСО 3166) 004-97 | Сокращенное наименование национального органа по стандартизации |
Беларусь | BY | Госстандарт Республики Беларусь |
Киргизия | KG | Кыргызстандарт |
Россия | RU | Росстандарт |
Таджикистан | TJ | Таджикстандарт |
4
Приказом Федерального агентства по техническому регулированию и метрологии от 26 мая 2017 г. N 438-ст межгосударственный стандарт ГОСТ ISO 5721-1-2016 введен в действие в качестве национального стандарта Российской Федерации с 1 апреля 2018 г.
5 Настоящий стандарт идентичен международному стандарту ISO 5721-1:2013 "Тракторы сельскохозяйственные. Требования, методы испытаний и критерии приемки поля обзора тракториста. Часть 1. Переднее поле обзора" ("Agricultural tractors - Requirements, test procedures and acceptance criteria for the operator's field of vision - Part 1: Field of vision to the front", IDT).
Международный стандарт разработан подкомитетом N 4 "Тракторы" международного технического комитета ISO TC 23 "Тракторы и машины для сельского и лесного хозяйства".
Официальные экземпляры международного стандарта, на основе которого подготовлен настоящий стандарт, и международных стандартов, на которые даны ссылки, имеются в Федеральном агентстве по техническому регулированию и метрологии.
При применении настоящего стандарта рекомендуется использовать вместо ссылочных международных стандартов соответствующие им межгосударственные стандарты, сведения о которых приведены в дополнительном
приложении ДА
6 ВВЕДЕН ВПЕРВЫЕ
Информация об изменениях к настоящему стандарту публикуется в ежегодном информационном указателе "Национальные стандарты" (по состоянию на 1 января текущего года), а текст изменений и поправок - в ежемесячном информационном указателе "Национальные стандарты". В случае пересмотра (замены) или отмены настоящего стандарта соответствующее уведомление будет опубликовано в ежемесячном информационном указателе "Национальные стандарты". Соответствующая информация, уведомление и тексты размещаются также в информационной системе общего пользования - на официальном сайте Федерального агентства по техническому регулированию и метрологии в сети Интернет (www.gost.ru)
Стандарт ISO 5721-1 совместно с ISO 5721-2 отменяет и заменяет ISO 5721:1989.
ISO 5721 состоит из следующих частей, под общим названием "Тракторы сельскохозяйственные. Требования, методы испытаний и критерии приемки поля обзора тракториста":
- Часть 1: Переднее поле обзора;
- Часть 2: Боковое и заднее поля обзора.
Настоящий стандарт устанавливает требования, методы испытаний и критерии приемки переднего поля обзора операторов сельскохозяйственных тракторов.
Для применения настоящего стандарта необходим следующий ссылочный стандарт. Для датированной ссылки применяют только указанное издание ссылочного стандарта.
ISO 5353:1995, Earth-moving machinery, and tractors and machinery for agriculture and forestry - Seat index point (Машины землеройные, тракторы и машины для сельского и лесного хозяйства. Контрольная точка сиденья)
В настоящем стандарте применены следующие термины с соответствующими определениями.
3.1 поле обзора (field of vision): Совокупность элементов окружающей трактор обстановки, видимость которой обеспечена для оператора, находящегося на рабочем месте.
3.1.1 прямое поле обзора (direct field of vision): Совокупность элементов окружающей трактор обстановки, видимость которой для оператора, находящегося на рабочем месте, обеспечена без использования дополнительных технических средств.
3.1.2 непрямое поле обзора (indirect field of vision): Совокупность элементов окружающей трактор обстановки, видимость которой для оператора, находящегося на рабочем месте, обеспечена при помощи зеркал заднего вида или иных технических средств, например, систем видеонаблюдения.
3.2 полукруг обзора вперед (semi-circle of vision to the front): Полукруг радиусом 12 м с центром в базовой точке, расположенный в горизонтальной плоскости опорной поверхности, таким образом, что дуга, видимая в направлении движения, располагается впереди трактора, а диаметр, ограничивающий полукруг, составляет прямой угол с продольной осью трактора.
3.3 угол обзора вперед (angle of vision upwards): Угол обзора, ограниченный вниз горизонтальной плоскостью, проходящей через точки расположения глаз оператора, и вверх - плоскостями, содержащими линии видимости, проходящие от точек расположения глаз оператора к точкам, скрытым элементами конструкции трактора, кроме элементов конструкции, создающих зоны затенения.
3.4
зона затенения (masking effects): Хорды секторов полукруга обзора, которые невидимы по причине наличия конструктивных элементов, например стоек крыши, воздухозаборников, выхлопных труб, рам, ветровых стекол, предохранительных рам.
3.5
сектор обзора вперед (sector of vision to the front): (наверху) Часть поля обзора, ограниченная горизонтальной плоскостью, проходящей через точку расположения глаз оператора.
3.6 сектор обзора вперед (sector of vision to the front): (в плоскости опорной поверхности) Часть поля обзора, ограниченная зоной, расположенной с внешней стороны полукруга обзора, являющейся продолжением сектора полукруга обзора, хорда которого длиной 9,5 м перпендикулярна плоскости, параллельной средней продольной плоскости трактора и проходящей через середину сиденья оператора, и делится этой плоскостью пополам.
3.7 поверхность ветрового стекла, очищаемая стеклоочистителями (swept area of the windscreen wipers): Площадь наружной поверхности ветрового стекла, которая очищается стеклоочистителями.
3.8 базовая точка (reference point): Точка, расположенная на уровне опорной поверхности вертикально вниз от точки расположения глаз оператора.
4 Общие требования к испытаниям
Используемые при проведении испытаний средства измерения должны иметь погрешность, не превышающую 2% измеряемого значения.
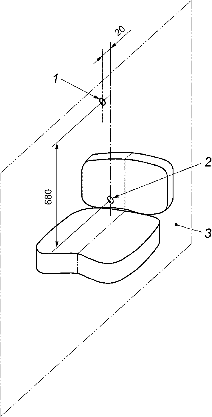
4.2 Точка расположения глаз оператора
Точка расположения глаз оператора должна быть на 680 мм выше и на 20 мм впереди контрольной точки сиденья (SIP), определенной в соответствии с ISO 5353.
5 Требования, методы испытаний и критерии приемки
5.1.1 Общие требования
Конструкция и оборудование трактора должны обеспечивать соответствующее поле обзора оператора при движении по дорогам общего пользования и при выполнении полевых работ. Поле обзора считается соответствующим, если оператору обеспечена как минимум частичная видимость каждого переднего колеса или крыла при движении по прямой и при ширине колеи, соответствующей общей ширине трактора с одиночными колесами не более 2,55 м.
Зоны затенения не должны превышать 700 мм.
Зоны затенения, создаваемые соседними элементами конструкции, имеющими ширину более 80 мм, должны быть расположены таким образом, чтобы между центрами двух зон затенения было расстояние не менее 2200 мм, измеряемое по хорде полукруга обзора.
Необходимо, чтобы по всему полукругу обзора было не более 6 зон затенения, и не более двух - внутри сектора обзора
(пункт 3.5).
При определении зон затенения в секторе обзора вперед зоны затенения от стоек ветрового стекла и любого другого элемента могут считаться одной зоной затенения, при условии, что расстояние между наиболее удаленными друг от друга точками этой зоны затенения не превышает 700 мм.
Допускается наличие зон затенения размером более 700 мм, но не более 1500 мм, если конструктивные элементы, которые их создают, не могут быть ни другой формы, ни расположены по-другому. Вне сектора обзора с каждой стороны может быть либо две таких затененных зоны, одна из которых не превышает 700 мм, а вторая - 1500 мм, либо две таких затененных зоны, каждая из которых не превышает 1200 мм
5.1.3 Непросматриваемые зоны
Непросматриваемые зоны за зеркалами заднего вида не учитываются, если конструкция зеркал не позволяет расположить их иначе.
5.1.4 Стеклоочистители
Если на тракторе имеется ветровое стекло, то оно должно быть оборудовано одним или несколькими стеклоочистителями с механическим приводом. Поверхность, которую они очищают, должна обеспечивать обзор вперед, соответствующий хорде полукруга длиной не менее 8 м, расположенной внутри сектора обзора.
Частота работы стеклоочистителей должна составлять не менее 20 циклов в минуту.
5.1.5 Аналогичные требования
Выполнение требований ISO 5006
[1] обеспечивает выполнение требований настоящего стандарта.
5.2.1 Проверка поля обзора
Трактор должен быть расположен на горизонтальной поверхности согласно
рисунку 2. На горизонтальной подставке, установленной на уровне точки расположения глаз оператора, располагают два точечных источника света, например по 150 Вт 12 В, установленных симметрично по отношению к базовой точке на расстоянии 65 мм друг от друга. Необходимо, чтобы подставка могла поворачиваться вокруг вертикальной оси, проходящей через базовую точку. При измерении зон затенения подставку необходимо повернуть таким образом, чтобы линия, соединяющая точечные источники света, была перпендикулярна линии, соединяющей элемент, препятствующий обзору, и точку расположения глаз оператора.
Происходящее в результате одновременного или поочередного включения двух источников света перекрывание затененных участков, отбрасываемых на полукруг обзора конструктивным элементом, препятствующим обзору, измеряют в соответствии с
3.4 (рисунок 3).
5.2.2 Математическое определение зон затенения при бинокулярном обзоре
Вместо испытания по
5.2.1 можно произвести математический расчет зон затенения (
рисунок 3, размер
x). При бинокулярном обзоре и расстоянии между глазами, равном 65 мм, размер зоны затенения
x, мм, рассчитывается по формуле

,
где a - расстояние между конструктивным элементом, препятствующим обзору, и точкой расположения глаз оператора, измеренное вдоль луча зрения, соединяющего точку расположения глаз оператора, центр элемента и периметр полукруга обзора, мм,
b - ширина конструктивного элемента, препятствующего обзору, измеренная в горизонтальной плоскости перпендикулярно к лучу зрения, мм.
5.2.3 Дополнительные испытания
Трактор должен быть расположен на горизонтальной поверхности согласно
рисунку 2. На горизонтальной подставке, проходящей на уровне базовой точки, располагают два точечных источника света, например по 150 Вт 12 В, установленных симметрично по отношению к базовой точке, на расстоянии 65 мм друг от друга. Необходимо, чтобы эта подставка могла поворачиваться вокруг вертикальной оси, проходящей через базовую точку. При измерении зон затенения подставку необходимо повернуть таким образом, чтобы линия, соединяющая точечные источники света, была перпендикулярна линии, соединяющей элемент конструкции, препятствующий обзору, и базовую точку.
Из первоначального положения источники света смещают вбок, сначала в одну сторону, затем в другую, в соответствии со значениями, установленными в
таблице 1, до тех пор, пока на полукруге обзора затененный участок от каждого элемента конструкции, мешающего обзору (или, при необходимости, от нескольких элементов в соответствии с
5.1.2) не станет наименьшим (
рисунок 3, размер
x). Определенные таким образом участки принимают за зоны затенения.
Таблица 1
Смещение источников света
Максимальная расчетная скорость трактора, км/ч | Максимальное боковое смещение источников света в каждую сторону, мм |
<= 25 | 170 |
<= 50 | 100 |
> 50 | 50 |
5.2.4 Аналогичные испытания
Методы испытаний по
5.2.1 -
5.2.3 могут быть заменены другими, при условии доказательства их аналогичности.
Примечание - Аналогичные испытания приведены, например, в ISO 5006
[1].
5.3.1 Общее
При проведении испытаний по
5.2 должны быть выполнены требования
5.1.
5.3.2 Специальные критерии
Если трактор не соответствует требованиям
5.1.2 из-за особенностей конструкции, следует провести дополнительные испытания по
5.2.3. При этом должны быть выполнены остальные требования
5.1.
Также расстояние между центрами зон затенения, измеренное по хорде полукруга обзора, должно быть не более 2500 мм.
Поле обзора также считается соответствующим установленным требованиям, если требования к зонам затенения по
5.1.2 выполняются в пределах сектора обзора вперед, но не выполняются вне его:
- на тракторах с максимальной расчетной скоростью <= 25 км/ч зоны затенения не должны превышать 5500 мм и расстояние между зонами затенения должно быть >= 1300 мм; или
- на тракторах с максимальной расчетной скоростью > 25 км/ч зоны затенения не должны превышать 4500 мм и расстояние между зонами затенения должно быть >= 1300 мм; или
- расстояние между вертикальными поперечными плоскостями, проходящими через крайнюю переднюю точку шасси трактора или решетку радиатора и через центр рулевого колеса, или при отсутствии рулевого колеса через базовую точку > 3500 мм.
В каждом из вышеперечисленных случаев должны быть приняты соответствующие меры по уменьшению ограничений поля обзора вперед при выездах из дворов, проездах перекрестков и т.п. Вся необходимая информация должна быть приведена в руководстве по эксплуатации трактора.
Соответствующими мерами являются использование указаний о безопасности проезда от находящегося рядом помощника или использование непрямого поля обзора.
1 - центральная точка вращающейся опоры (FPCP);
2 - контрольная точка сиденья (SIP); 3 - плоскость,
параллельная продольной плоскости трактора
Рисунок 1 - Определение точки расположения глаз
a) Полукруг обзора вперед по
5.1
b) Полукруг обзора вперед по
5.3
1 - сектор обзора вперед; 2 - базовая точка; 3 - зоны
затенения; размер a не более 5500 мм для тракторов
с максимальной расчетной скоростью <= 25 км/ч,
не более 4500 мм для тракторов с максимальной
расчетной скоростью > 25 км/ч
Рисунок 2 - Полукруг обзора вперед
1 - конструктивный элемент, препятствующий обзору;
2 - глаза; a - расстояние между конструктивным элементом,
препятствующим обзору, и точкой расположения глаз оператора;
b - ширина конструктивного элемента, препятствующего обзору;
x - зона затенения
Рисунок 3 - Математический расчет зон затенения
(справочное)
СВЕДЕНИЯ О СООТВЕТСТВИИ ССЫЛОЧНОГО МЕЖДУНАРОДНОГО СТАНДАРТА
МЕЖГОСУДАРСТВЕННОМУ СТАНДАРТУ
Таблица ДА.1
Обозначение ссылочного международного стандарта | Степень соответствия | Обозначение и наименование соответствующего межгосударственного стандарта |
ISO 5353:1995 | IDT | ГОСТ ИСО 5353-2003 "Машины землеройные, тракторы и машины для сельскохозяйственных работ и лесоводства. Контрольная точка сиденья" <*> |
Примечание - В настоящей таблице использовано следующее условное обозначение степени соответствия стандарта: - IDT - идентичный стандарт. |
--------------------------------
<*> На территории Российской Федерации действует
ГОСТ Р ИСО 5353-2012 "Машины землеройные, тракторы и машины для сельского и лесного хозяйства. Контрольная точка сиденья".
| ISO 5006:2006 | Earth-moving machinery - Operator's field of view - Test method and performance criteria (Машины землеройные. Обзорность с рабочего места оператора. Метод испытания и критерии эффективности) |
УДК 629.114.2:631.3:006.354 | | | IDT |
Ключевые слова: тракторы сельскохозяйственные, переднее поле обзора |