Главная // Актуальные документы // ГОСТ (Государственный стандарт)СПРАВКА
Источник публикации
М.: Стандартинформ, 2017
Примечание к документу
Документ
введен в действие с 01.07.2018.
Название документа
"ГОСТ ISO 21182-2016. Межгосударственный стандарт. Ленты конвейерные легкие. Определение коэффициента трения"
(введен в действие Приказом Росстандарта от 28.04.2017 N 339-ст)
"ГОСТ ISO 21182-2016. Межгосударственный стандарт. Ленты конвейерные легкие. Определение коэффициента трения"
(введен в действие Приказом Росстандарта от 28.04.2017 N 339-ст)
агентства по техническому
регулированию и метрологии
от 28 апреля 2017 г. N 339-ст
МЕЖГОСУДАРСТВЕННЫЙ СТАНДАРТ
ЛЕНТЫ КОНВЕЙЕРНЫЕ ЛЕГКИЕ
ОПРЕДЕЛЕНИЕ КОЭФФИЦИЕНТА ТРЕНИЯ
Light conveyor belts.
Determination of the coefficient of friction
(ISO 21182:2013, IDT)
ГОСТ ISO 21182-2016
Дата введения
1 июля 2018 года
Цели, основные принципы и основной порядок проведения работ по межгосударственной стандартизации установлены в
ГОСТ 1.0-2015 "Межгосударственная система стандартизации. Основные положения" и
ГОСТ 1.2-2015 "Межгосударственная система стандартизации. Стандарты межгосударственные, правила и рекомендации по межгосударственной стандартизации. Правила разработки, принятия, обновления и отмены"
1 ПОДГОТОВЛЕН Федеральным государственным унитарным предприятием "Всероссийский научно-исследовательский институт стандартизации материалов и технологий" (ФГУП "ВНИИ СМТ"), Техническим комитетом по стандартизации ТК 160 "Продукция нефтехимического комплекса" на основе собственного перевода на русский язык англоязычной версии стандарта, указанного в
пункте 5
2 ВНЕСЕН Федеральным агентством по техническому регулированию и метрологии
3 ПРИНЯТ Межгосударственным советом по стандартизации, метрологии и сертификации (протокол от 25 октября 2016 г. N 92-П)
За принятие проголосовали:
Краткое наименование страны по МК (ИСО 3166) 004-97 | Код страны по МК (ИСО 3166) 004-97 | Сокращенное наименование национального органа по стандартизации |
Армения | AM | Минэкономики Республики Армения |
Беларусь | BY | Госстандарт Республики Беларусь |
Грузия | GE | Грузстандарт |
Киргизия | KG | Кыргызстандарт |
Россия | RU | Росстандарт |
Таджикистан | TJ | Таджикстандарт |
Узбекистан | UZ | Узстандарт |
4
Приказом Федерального агентства по техническому регулированию и метрологии от 28 апреля 2017 г. N 339-ст межгосударственный стандарт ГОСТ ISO 21182-2016 введен в действие в качестве национального стандарта Российской Федерации с 1 июля 2018 г.
5 Настоящий стандарт идентичен международному стандарту ISO 21182:2013 "Легкие конвейерные ленты. Определение коэффициента трения" ("Light conveyor belts - Determination of the coefficient of friction", IDT).
Международный стандарт разработан подкомитетом SC 3 "Конвейерные ленты" технического комитета по стандартизации ISO/TC 41 "Шкивы и ремни (в том числе клиновые)" Международной организации по стандартизации ISO.
При применении настоящего стандарта рекомендуется использовать вместо ссылочных международных стандартов соответствующие им межгосударственные стандарты, сведения о которых приведены в дополнительном
приложении ДА
6 ВВЕДЕН ВПЕРВЫЕ
Информация об изменениях к настоящему стандарту публикуется в ежегодном информационном указателе "Национальные стандарты", а текст изменений и поправок - в ежемесячном информационном указателе "Национальные стандарты". В случае пересмотра (замены) или отмены настоящего стандарта соответствующее уведомление будет опубликовано в ежемесячном информационном указателе "Национальные стандарты". Соответствующая информация, уведомление и тексты размещаются также в информационной системе общего пользования - на официальном сайте Федерального агентства по техническому регулированию и метрологии в сети Интернет (www.gost.ru)
Коэффициент трения легких конвейерных лент является одним из двух аспектов выбора стандартного материала. Одним из аспектов является трение нижней обкладки ленты, которое на практике не является критическим из-за небольшого значения коэффициента трения. Независимо от материала используемого стола (стального или деревянного), в большинстве случаев коэффициент трения находится в диапазоне от 0,2 до 0,3.
В отличие от этого, коэффициент трения верхней обкладки находится в более широком диапазоне в зависимости от назначения ленты. Для достижения необходимых требований модифицируют сам материал и/или профиль его поверхности, при этом процедура испытания одинаковая в каждом конкретном случае. Таким образом, выбранная стальная пластина представляет собой компромисс. Ее основными свойствами являются воспроизводимость качества обработки поверхности и некритичные фрикционные свойства в отношении любого вида обкладки ленты.
Настоящий стандарт позволяет сравнивать все виды конвейерных лент для получения достоверных результатов в качестве справочных данных. Это может быть полезно для покупателей в качестве консультации при выборе ленты для конкретного применения.
Испытания в соответствии с настоящим стандартом ограничены динамическим коэффициентом трения

до 1,0 и статическим коэффициентом трения

до 1,5. Более высокие значения могут показать сочетание трения, склеивания, деформации и других эффектов, возникающих, в частности, когда структура поверхности грубая и поэтому не подходит для этого испытания.
Метод с использованием стандартной испытательной металлической пластины предназначен специально для сравнения коэффициентов трения разных легких конвейерных лент. Полученные на практике значения всегда зависят от пары трения.
Для определения этих эффектов при необходимости можно выбрать другую пару трения вместо металлической пластины. Регистрируют это в протоколе испытаний.
Настоящий стандарт устанавливает метод определения динамического и статического коэффициентов трения легких конвейерных лент по ISO 21183-1.
В настоящем стандарте использованы нормативные ссылки на следующие стандарты:
ISO 3574, Cold-reduced carbon steel sheet of commercial and drawing qualities (Листы из холоднокатаной углеродистой стали товарного качества и для вытяжки)
ISO 4287, Geometrical product specifications (GPS) - Surface texture: Profile method - Terms, definitions and surface texture parameters [Геометрические характеристики изделий (GPS). Структура поверхности. Профильный метод. Термины, определения и параметры структуры поверхности]
ISO 7500-1, Metallic materials - Verification of static uniaxial testing machines - Part 1: Tension/compression testing machines - Verification and calibration of the force-measuring system (Металлические материалы. Верификация машин для статических испытаний в условиях одноосного нагружения. Часть 1. Машины для испытания на растяжение/сжатие. Верификация и калибровка силоизмерительных систем)
ISO 18573, Conveyor belts - Test atmospheres and conditioning periods (Конвейерные ленты. Испытательные атмосферы и периоды кондиционирования)
ISO 21183-1, Light conveyor belts - Part 1: Principal characteristics and applications (Ленты легкие конвейерные. Часть 1. Основные характеристики и применения)
В настоящем стандарте применены следующие термины с соответствующими определениями:
3.1
динамический коэффициент трения 
(dynamic coefficient of friction): Коэффициент, вычисляемый по формуле

, (1)
где FD - динамическая сила трения, трение скольжения;
FN - нормальная сила.
3.2
статический коэффициент трения 
(static coefficient of friction): Коэффициент, вычисляемый по формуле

, (2)
где FS - статическая сила трения, трение покоя (сила страгивания);
FN - нормальная сила.
4.1 Динамический коэффициент трения
Прикрепляют к столу образец, вырубленный из полной толщины конвейерной ленты в продольном или поперечном направлении. Прикладывают к испытательной металлической пластине заданную нормальную силу и протягивают по испытуемому образцу с установленной скоростью. Вычисляют значение

, используя динамическую силу трения
FD и нормальную силу
FN.
4.2 Статический коэффициент трения
Прикладывают к испытательной металлической пластине нормальную силу по
4.1 и тяговое усилие с помощью тянущего механизма, движущегося с заданной скоростью. Вычисляют значение

, используя статическую силу трения
FS и нормальную силу
FN.
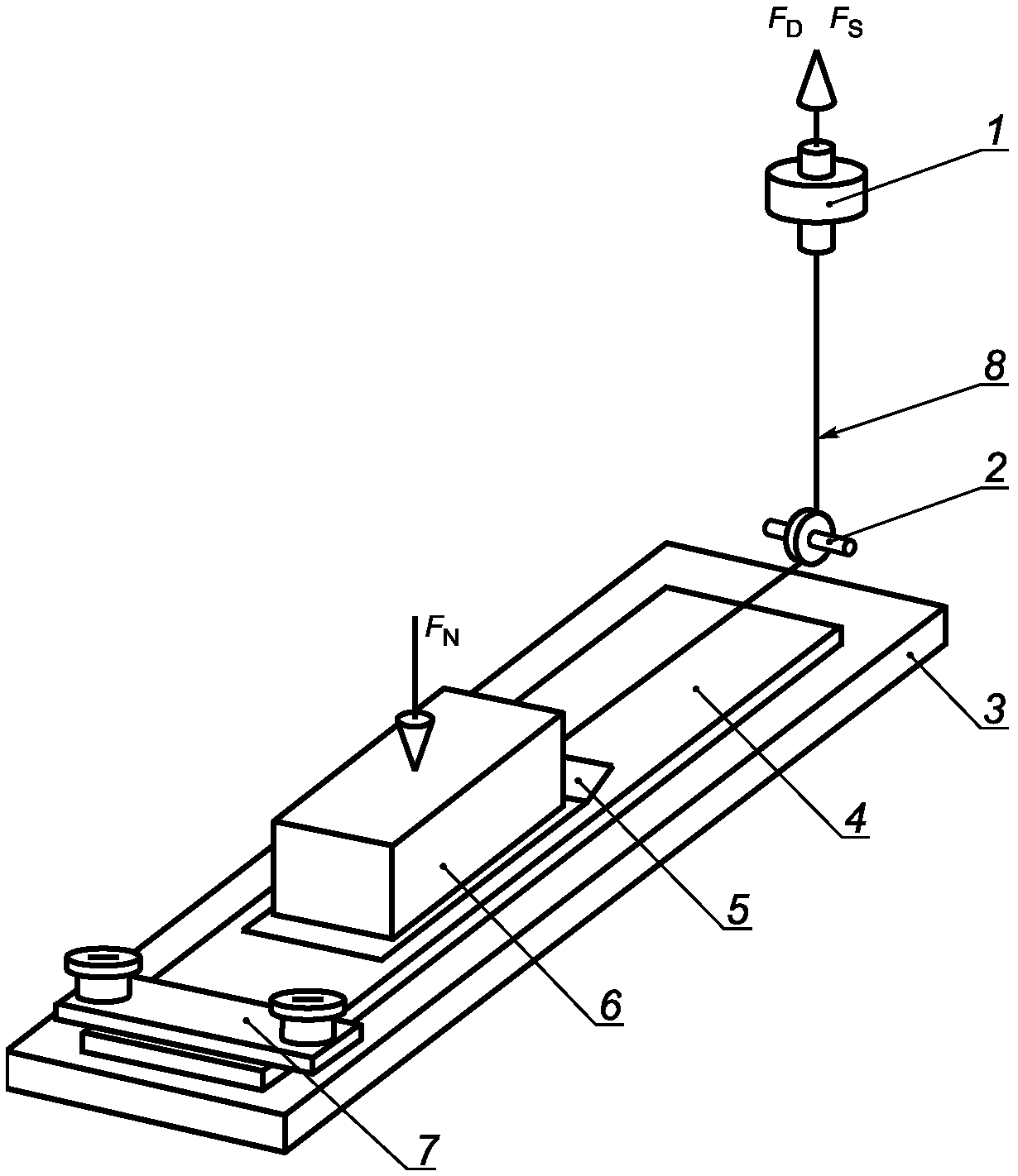
5 Аппаратура (см. рисунок 1)
1 - динамометрический датчик; 2 - ролик для изменения
направления приложения силы; 3 - испытательный стол;
4 - испытуемый образец; 5 - испытательная металлическая
пластина; 6 - груз; 7 - зажим; 8 - тяговый тросик
Рисунок 1 - Аппарат для определения коэффициента трения
5.1 Испытательный стол, к которому прикрепляют испытуемый образец.
5.2 Испытательная металлическая пластина (см. рисунок 2) толщиной 0,8 мм, шириной (76,0 +/- 0,5) мм, длиной 132 мм и испытуемой областью (76,0 +/- 0,5) x (131,5 +/- 0,5) мм = (100 +/- 1) см
2.
Рисунок 2 - Испытательная металлическая пластина
Используют испытательную пластину из стали типа CR1 по ISO 3574 твердостью HRB от 60 до 70 с фрезерованной поверхностью шероховатостью Ra от 0,9 до 1,3 мкм по ISO 4287.
Заменяют пластину после не более 50 применений, но не позднее одного дня использования, так как поверхность испытательной металлической пластины может изменяться из-за истирания образца.
Пластину перед использованием следует хранить в оригинальной упаковке в сухом месте, так как она изготовлена не из нержавеющей стали. Переносят пластину только за края, не касаясь поверхности, используя чистые хлопчатобумажные перчатки.
5.3 Груз для прикладывания нормальной силы (50 +/- 1) Н к испытательной металлической пластине. Используют груз из стали плотностью 7,85 г/см
3. Груз должен иметь следующие размеры:
- длина (120,0 +/- 0,2) мм;
- ширина (75,0 +/- 0,2) мм;
- высота (71,0 +/- 0,2) мм.
5.4 Устройство для измерения силы трения
5.4.1 Динамометрический датчик с диапазоном до 100 Н.
Система измерения силы должна соответствовать ISO 7500-1, класс машины 3 или выше (например, класс машины 2).
5.4.2 Регистрирующий прибор для записи сигнала динамометрического датчика.
5.5 Тянущее устройство, например разрывная машина, для получения равномерного относительного движения между испытуемым образцом и испытательной металлической пластиной.
5.6 Ролик для изменения направления приложения силы диаметром от 40 до 50 мм с подшипниками для обеспечения плавного вращения.
5.7 Тяговый тросик, параллельный поверхности скольжения, имеющий низкую эластичность, например стальной тросик диаметром приблизительно 1 мм.
6.1 Материал испытуемого образца
Испытывают новый, неиспользованный образец не ранее чем через 5 дней после изготовления. Образец должен быть чистым и без существенных повреждений.
6.2 Количество и размеры образцов
| | ИС МЕГАНОРМ: примечание. В официальном тексте документа, видимо, допущена опечатка: имеются в виду рисунки 3a) и 3b), а не рисунки 1a) и 1b). | |
Вырубают три образца из полной толщины конвейерной ленты в продольном направлении [см. рисунок 1a)] и/или в поперечном направлении [см. рисунок 1b)].
b - ширина ленты
Рисунок 3 - Определение участка
вырубания испытуемого образца
При испытании обеих поверхностей ленты вырубают соответственно дополнительные образцы.
Образцы должны быть длиной 600 мм и шириной 100 мм.
Каждый образец используют только один раз.
6.3 Кондиционирование
Испытуемые образцы перед испытанием кондиционируют не менее 24 ч по ISO 18573 в атмосфере B.
Температура и относительная влажность воздуха в помещении для испытаний должны соответствовать ISO 18573 (атмосфера B).
Устанавливают испытательный стол
(5.1) в горизонтальное положение.
Закрепляют испытуемый образец в зажиме стола.
Проверяют испытательную металлическую пластину
(5.2) на отсутствие ржавчины.
Подсоединяют тяговый тросик
(5.7) к пластине и помещают на нее груз
(5.3).
При измерении динамического коэффициента трения

устанавливают скорость тянущего устройства (1000 +/- 20) мм/мин, если максимальная скорость устройства не более 1000 мм/мин, скорость можно снизить, но не менее (500 +/- 20) мм/мин. Расстояние перемещения должно быть 300 мм.
При измерении статического коэффициента трения

устанавливают скорость тянущего устройства (100 +/- 10) мм/мин. Прекращают испытание, как только испытательная пластина начинает двигаться.
8 Вычисления и оформление результатов
8.1 Динамический коэффициент трения 
Значение

определяют как медиану предпочтительно по стандарту
[1].
Вычисляют динамический коэффициент трения

, используя значения, зарегистрированные на последних 200 мм расстояния перемещения, по формуле

, (3)
где FD - медианное значение динамической силы трения;
FN - нормальная сила.
8.2 Статический коэффициент трения 
Вычисляют статический коэффициент трения

, представляемый первым пиком на графике, по формуле

, (4)
где FS - статическая сила трения, трение покоя (сила страгивания);
FN - нормальная сила.
8.3 Примеры записанного графика
(графика зависимости силы от перемещения)
Если записанный график имеет пик, как показано на рисунке 4, можно определить силу
FS и вычислить значение

.
X - перемещение тянущего устройства; Y - сила;
a - начало движения испытательной пластины
Рисунок 4 - Типичный пример записанного графика FS,
имеющего пик
Если график имеет вид, аналогичный приведенному на рисунке 5, определяют значение

, отмечая силу
FS, в точке P, в которой кривая отклоняется от первоначальной прямой линии.
X - перемещение тянущего устройства; Y - сила;
a - начало движения испытательной пластины
Рисунок 5 - Типичный пример записанного графика FS,
не имеющего пиков
Протокол испытаний должен содержать:
a) значение каждого измерения, округленное до второго десятичного знака;
b) среднеарифметическое значение, округленное до второго десятичного знака;
c) идентификацию испытуемого материала конвейерной ленты и дату изготовления ленты;
d) обозначение настоящего стандарта (и подробную информацию о любых отклонениях);
e) температуру окружающей среды и относительную влажность при проведении испытаний;
f) время кондиционирования;
g) обозначение испытательной металлической пластины и ее изготовителя;
h) материал, используемый вместо испытательной металлической пластины, при необходимости;
i) скорость тянущего устройства при определении значения

, если она отличается от 1000 мм/мин;
j) измеренные значения для нижних и верхних обкладок ленты;
k) дату проведения испытаний.
(справочное)
СВЕДЕНИЯ О СООТВЕТСТВИИ ССЫЛОЧНЫХ МЕЖДУНАРОДНЫХ
СТАНДАРТОВ МЕЖГОСУДАРСТВЕННЫМ СТАНДАРТАМ
Таблица ДА.1
Обозначение ссылочного международного стандарта | Степень соответствия | Обозначение и наименование соответствующего межгосударственного стандарта |
ISO 3574 | - | |
ISO 4287 | - | |
ISO 7500-1 | - | |
ISO 18573 | IDT | ГОСТ ISO 18573-2015 "Ленты конвейерные. Условия проведения испытания и кондиционирования" |
ISO 21183-1 | IDT | ГОСТ 21183-1-2016 "Ленты конвейерные легкие. Часть 1. Основные характеристики и области применения" |
<*> Соответствующий межгосударственный стандарт отсутствует. До его принятия рекомендуется использовать перевод на русский язык данного международного стандарта. Примечание - В настоящей таблице использовано следующее условное обозначение степени соответствия стандартов: - IDT - идентичные стандарты. |
| ISO 6133 Rubber and plastics - Analysis of multi-peak traces obtained in determinations of tear strength and adhesion strength (Резина и пластики. Анализ многопиковых кривых, полученных при определении сопротивления раздиру и адгезионной прочности) |
УДК 678-419:531.46:006.354 | | IDT |
Ключевые слова: легкие конвейерные ленты, коэффициент трения |