Главная // Актуальные документы // ГОСТ (Государственный стандарт)СПРАВКА
Источник публикации
М.: Стандартинформ, 2017
Примечание к документу
Документ
введен в действие с 1 декабря 2017 года.
Название документа
"ГОСТ ISO 16000-4-2016. Межгосударственный стандарт. Воздух замкнутых помещений. Часть 4. Определение формальдегида. Метод диффузионного отбора проб"
(введен в действие Приказом Росстандарта от 09.02.2017 N 38-ст)
"ГОСТ ISO 16000-4-2016. Межгосударственный стандарт. Воздух замкнутых помещений. Часть 4. Определение формальдегида. Метод диффузионного отбора проб"
(введен в действие Приказом Росстандарта от 09.02.2017 N 38-ст)
по техническому регулированию
и метрологии
от 9 февраля 2017 г. N 38-ст
МЕЖГОСУДАРСТВЕННЫЙ СТАНДАРТ
ВОЗДУХ ЗАМКНУТЫХ ПОМЕЩЕНИЙ
ЧАСТЬ 4
ОПРЕДЕЛЕНИЕ ФОРМАЛЬДЕГИДА. МЕТОД ДИФФУЗИОННОГО ОТБОРА ПРОБ
Indoor air. Part 4. Determination of formaldehyde. Diffusive
sampling method
(ISO 16000-4:2011, IDT)
ГОСТ ISO 16000-4-2016
Группа Т58
Дата введения
1 декабря 2017 года
Цели, основные принципы и основной порядок проведения работ по межгосударственной стандартизации установлены в
ГОСТ 1.0-2015 "Межгосударственная система стандартизации. Основные положения" и
ГОСТ 1.2-2015 "Межгосударственная система стандартизации. Стандарты межгосударственные, правила и рекомендации по межгосударственной стандартизации. Правила разработки, принятия, обновления и отмены"
1 ПОДГОТОВЛЕН Открытым акционерным обществом "Научно-исследовательский центр контроля и диагностики технических систем" (АО "НИЦ КД") на основе собственного перевода на русский язык англоязычной версии международного стандарта, указанного в
пункте 5
2 ВНЕСЕН Федеральным агентством по техническому регулированию и метрологии
3 ПРИНЯТ Межгосударственным советом по стандартизации, метрологии и сертификации (протокол от 22 ноября 2016 г. N 93-П)
За принятие проголосовали:
Краткое наименование страны по МК (ИСО 3166) 004-97 | Код страны по МК (ИСО 3166) 004-97 | Сокращенное наименование национального органа по стандартизации |
Армения | AM | Минэкономики Республики Армения |
Грузия | GE | Грузстандарт |
Киргизия | KG | Кыргызстандарт |
Россия | RU | Росстандарт |
Таджикистан | TJ | Таджикстандарт |
4
Приказом Федерального агентства по техническому регулированию и метрологии от 9 февраля 2017 г. N 38-ст межгосударственный стандарт ГОСТ ISO 16000-4-2016 введен в действие в качестве национального стандарта Российской Федерации с 1 декабря 2017 г.
5 Настоящий стандарт идентичен международному стандарту ISO 16000-4:2011 "Воздух замкнутых помещений. Часть 4. Определение формальдегида. Метод диффузионного отбора проб" ("Indoor air - Part 4: Determination of formaldehyde - Diffusive sampling method", IDT)
6 Международный стандарт разработан подкомитетом ISO/TC 146/SC 6 "Воздух замкнутых помещений" технического комитета по стандартизации ISO/TC 146 "Качество воздуха" Международной организации по стандартизации (ISO).
Официальные экземпляры международного стандарта, на основе которого подготовлен настоящий межгосударственный стандарт, и международных стандартов, на которые даны ссылки, имеются в Федеральном агентстве по техническому регулированию и метрологии.
Сведения о соответствии ссылочных международных стандартов межгосударственным стандартам приведены в дополнительном
приложении ДА
7 ВВЕДЕН ВПЕРВЫЕ
Информация об изменениях к настоящему стандарту публикуется в ежегодном информационном указателе "Национальные стандарты", а текст изменений и поправок - в ежемесячном информационном указателе "Национальные стандарты". В случае пересмотра (замены) или отмены настоящего стандарта соответствующее уведомление будет опубликовано в ежемесячном информационном указателе "Национальные стандарты". Соответствующая информация, уведомления и тексты также размещаются в информационной системе общего пользования - на официальном сайте Федерального агентства по техническому регулированию и метрологии в сети Интернет
Вследствие высокой потенциальной токсичности формальдегида, представляет интерес его определение, как загрязняющего вещества, в воздухе замкнутых помещений.
Формальдегид является простейшим карбонильным соединением, с одним атомом углерода, одним атомом кислорода и двумя атомами водорода. В мономолекулярном состоянии он представляет собой бесцветный, едкий, активный газ. Его используют в производстве карбамидоформальдегидных смол, клеев и изоляционных пен. Основными источниками формальдегида в воздухе замкнутых помещений являются выбросы от древесно-стружечной плиты (стружки) и от материалов утепления стен.
Настоящий стандарт предназначен для использования при определении характеристик воздуха замкнутых помещений после проведения отбора проб по методике для формальдегида, установленной в стандарте ISO 16000-2. В ISO 16000-1 приведены общие требования, относящиеся к измерению загрязняющих веществ в воздухе замкнутых помещений, а также важные условия, которые необходимо соблюдать до и во время отбора проб отдельных загрязняющих веществ или групп загрязняющих веществ.
Методика активного измерения формальдегида (эталонный метод) установлена в ISO 16000-3.
В других частях ISO 16000 приведены требования к определению (отбору проб и анализу) и методика отбора проб конкретных загрязняющих веществ или групп загрязняющих веществ.
Подробные методики измерения летучих органических веществ также приведены в ISO 16017 -
[6],
[7] и ISO 12219
[1] -
[5].
ПРЕДУПРЕЖДЕНИЕ - Лица, применяющие настоящий стандарт, должны быть ознакомлены со стандартной лабораторной практикой. В настоящем стандарте не приведены все требования безопасности, которые следует соблюдать при его применении. Пользователь настоящего стандарта несет ответственность за разработку соответствующих мер безопасности и охраны здоровья с учетом требований законодательных актов.
Настоящий стандарт устанавливает метод определения формальдегида в воздухе замкнутых помещений с использованием диффузионного пробоотборного устройства с десорбцией растворителя и применением метода высокоэффективной жидкостной хроматографии (ВЭЖХ).
Данный метод применяют для измерений формальдегида <1> в воздухе замкнутых помещений в диапазоне содержания от 0,001 до 1,0 мг/м3 при продолжительности отбора проб от 24 до 72 ч. При продолжительности отбора проб 24 ч подходящим диапазоном содержания является диапазон от 0,003 до 1,0 мг/м3, а для 72 ч - диапазон от 0,001 до 0,33 мг/м3.
--------------------------------
<1> В настоящем стандарте вместо названий по номенклатуре ИЮПАК (например, метаналь) использованы общепринятые названия соединения (например, формальдегид).
Примечание - Для краткосрочного отбора проб (менее 24 ч) могут быть применены утвержденные пробоотборные устройства относительно чувствительности и точности измерения.
Метод используют для проведения измерений в воздухе помещений с обычной относительной влажностью и для осуществления контроля при низких скоростях движения воздуха, таких как 0,02 м/с. Возможные мешающие влияния, включая те, которые обусловлены присутствием других карбонильных соединений, должны быть устранены на стадии хроматографического анализа. Метод отбора проб дает усредненный по времени результат.
Примечание - Существует несколько диффузионных пробоотборных устройств различных конструкций и форм, имеющихся в продаже. Принцип их действия основан на реакции 2,4-динитрофенилгидразина с формальдегидом. В настоящем стандарте не приведено их более подробное описание ввиду того, что ISO не отдает предпочтение какой-либо одной модели.
В настоящем стандарте использованы ссылки на следующие стандарты:
ISO 16000-2, Indoor air - Part 2: Sampling strategy for formaldehyde (Воздух замкнутых помещений. Часть 2. Методология отбора проб формальдегида)
ISO 16000-3:2001, Indoor air - Part 3: Determination of formaldehyde and other carbonyl compounds - Active sampling method (Воздух замкнутых помещений. Часть 3. Определение формальдегида и других карбонильных соединений. Метод активного отбора проб)
ISO/IEC 17025, General requirements for the competence of testing and calibration laboratories (Общие требования к компетентности испытательных и калибровочных лабораторий)
EN 13528-2, Ambient air quality - Diffusive samplers for the determination of concentrations of gases and vapours - Requirements and test methods - Part 2: Specific requirements and test methods (Качество атмосферного воздуха. Диффузионные пробоотборные устройства для определения концентраций газов и паров. Требования и методы испытаний. Часть 2. Особые требования и методы испытаний)
Диффузионное пробоотборное устройство оставляют на воздухе на установленный период времени. Скорость отбора проб зависит от коэффициента диффузии формальдегида и пропорциональна площади поперечного сечения входного отверстия пробоотборного устройства и обратно пропорциональна длине диффузионной зоны пробоотборного устройства. Эту скорость называют скоростью диффузии пробоотборного устройства и определяют путем предварительной калибровки в стандартной атмосфере. Пары формальдегида в результате диффузии поступают в пробоотборное устройство и улавливаются на полоске фильтровальной бумаги с нанесенным силикагелем, пропитанным 2,4-динитрофенилгидразином (ДНФГ) и фосфорной кислотой. Образуется стабильный гидразон, который может быть извлечен ацетонитрилом, и полученный раствор проанализирован методом ВЭЖХ на жидкостном хроматографе с ультрафиолетовым (УФ) детектором. Диффузионное пробоотборное устройство также может быть использовано для индивидуального отбора проб, при этом его прикрепляют к одежде проверяемого.
При проведении анализа используют только те химические реактивы, класс чистоты которых идентифицирован.
4.1 2,4-динитрофенилгидразин перекристаллизованный перед использованием, по крайней мере, дважды с помощью ацетонитрила, для УФ-спектроскопии (см.
4.2).
4.2 Ацетонитрил для хроматографии или УФ-спектроскопии (каждая порция растворителя должна быть проверена перед использованием).
4.3 Концентрированная соляная кислота, раствор с массовой долей от 36,5% до 38,0%,

.
4.4 Азот высокой степени чистоты (от надежного поставщика).
4.5 Вода для хроматографии.
4.6 Формальдегид, раствор с массовой долей 37%.
4.8 Метанол для хроматографии.
4.9 Фосфорная кислота, раствор с массовой долей 85%.
4.10 Глицерин, раствор с объемной долей 20%.
4.11 Динитрофенилгидразон формальдегида (ДНФГ-формальдегид).
ПРЕДУПРЕЖДЕНИЕ - 2,4-динитрофенилгидразин взрывоопасен в сухом состоянии. С ним следует работать с особой осторожностью. Также он обладает токсичностью [LD50 (для крыс) = 654 мг/кг], в некоторых опытах была показана его мутагенность, он раздражает слизистые оболочки глаз и кожу.
Взвешивают 2 г 2,4-динитрофенилгидразина
(4.1) и помещают в колбу вместимостью 500 мл. Добавляют при помешивании 10 мл концентрированной соляной кислоты (HCl)
(4.3). Растворяют образовавшийся желтый осадок в 200 мл этанола
(4.7). Фильтруют раствор для удаления нерастворенного гидрохлорида гидразона (ДНФГ·HCl). К отфильтрованному раствору добавляют 0,8 мл раствора формальдегида. Образовавшийся желтоватый осадок ДНФГ-формальдегида собирают фильтрованием и промывают 5 мл холодного этанола. Осадок дважды перекристаллизовывают из горячего этанола и дают ему высохнуть на воздухе. Проверяют чистоту производного ДНФГ-формальдегида путем определения точки плавления (166 °C) или анализа методом ВЭЖХ (массовая доля основного компонента не менее 99%). Если уровень примесей является неприемлемым, то проводят перекристаллизацию производного из этанола. Повторяют проверку чистоты и, при необходимости, перекристаллизацию до тех пор, пока не будет достигнут приемлемый уровень чистоты (например, массовая доля основного компонента 99%). Производное ДНФГ-формальдегида хранят охлажденным (4 °C) в защищенном от света месте. Оно должно быть стабильным в течение, по крайней мере, 6 мес.
Примечание - Хранение в атмосфере азота или аргона продлевает жизненный цикл производного. ДНФГ-производные формальдегида, используемые в качестве эталонов, серийно выпускаются в виде чистых кристаллов и индивидуальных или смешанных матричных растворов в ацетонитриле.
4.12 Калибровочные растворы ДНФГ-формальдегида. Точно взвешивают 10 мг производного ДНФГ-формальдегида
(4.11), помещают в мерную колбу вместимостью 100 мл и заполняют ацетонитрилом
(4.2) до метки. Встряхивают колбу до полного растворения кристаллов. Подготавливают минимум пять калибровочных растворов с концентрацией от 1 до 140 мкг/мл (эквивалентные растворам формальдегида с концентрацией от 0,14 до 20 мкг/мл) путем разбавления аликвотных частей раствора ДНФГ-формальдегида ацетонитрилом.
Хранят все стандартные растворы в герметично закрытых сосудах в холодильнике или в защищенном от света месте. Перед использованием дают температуре растворов прийти в равновесие с комнатной. По истечении четырех недель растворы должны быть заменены.
4.13 Раствор ДНФГ для пропитки. В колбу помещают 900 мг смеси ДНФГ·HCl, которая была дважды перекристаллизована из HCl (
c = 4 моль/л). Добавляют 1,7 мл концентрированной фосфорной кислоты
(4.9), 5 мл глицерина в этаноле
(4.10) и 180 мл ацетонитрила
(4.2).
4.14 Пропитанный фильтр с силикагелем. Непропитанный фильтр представляет собой фильтровальную бумагу с нанесенным силикагелем, выпускаемую в рулонах, от которых может быть отрезан фильтр необходимого размера. Размер пропитки фильтра с силикагелем зависит от конструкции диффузионного пробоотборного устройства. Например, для пробоотборного устройства с фильтром размером 20 мм x 45 мм, на фильтр по капле при помощи пипетки наносят 0,5 мл раствора ДНФГ для пропитки
(4.13). Пропитанные раствором ДНФГ фильтры сушат на стеклянной поверхности в сушильном шкафу при температуре 85 °C в течение 15 мин. Для фильтров другого размера объем раствора для пропитки подбирают соответственно. Пропитанный фильтр помещают в диффузионное пробоотборное устройство
(5.1). Дополнительный пропитанный фильтр, вставленный в металлическую сетку, используют для поглощения формальдегида, присутствующего в воздухе контейнера, используемого для хранения диффузионного пробоотборного устройства (см.
раздел 6). Установлено, что пропитанные фильтры с силикагелем сохраняют свою стабильность, по крайней мере, в течение 6 месяцев при хранении при температуре 4 °C и в отсутствии света.
Чистые фильтры, пропитанные ДНФГ, подготовленные и хранящиеся в соответствии с требованиями настоящего стандарта, должны содержать менее 0,7 мкг ДНФГ-формальдегида каждый (эквивалентно 0,1 мкг формальдегида) при размере фильтра 20 x 20 мм.
Примечание - Настоящий стандарт содержит указания для пользователя по подготовке фильтра, пропитанного ДНФГ, для использования в пробоотборном устройстве, но серийно выпускаемые пробоотборные устройства, содержащие готовый фильтр, могут иметь преимущества в виде более однородного распределения и потенциально более низких уровнях холостых показаний. Конструкция серийно выпускаемых пробоотборных устройств приведена в
приложении А и литературе, указанной в
библиографии.
Кроме обычного лабораторного оборудования, используют следующие приборы.
5.1 Диффузионное пробоотборное устройство
Серийно выпускаемые или собранные в лабораторных условиях устройства могут быть использованы при условии, что они соответствуют техническим требованиям (конструкция типичного диффузионного пробоотборного устройства приведена на
рисунке A.1). Скорость диффузии при отборе проб не должна зависеть от уровня содержания формальдегида в воздухе, в диапазоне его концентраций от 0,001 до 0,33 мг/м
3 для отбора проб в течение 72 ч и от 0,003 до 1,0 мг/м
3 для отбора проб в течение 24 ч. На скорость отбора проб не должны влиять относительная влажность воздуха ниже 80% и скорость движения окружающего воздуха порядка 0,02 м/с. Для установки пробоотборного устройства во время отбора проб может потребоваться подставка или фиксатор. Если пробоотборное устройство не используют, то его хранят в защитном воздухонепроницаемом контейнере вместе с защитным фильтром, пропитанным ДНФГ (вставленным в металлическую сетку). Контейнер хранят в холодильнике (см.
7.5).
Для данного пробоотборного устройства пропитанный фильтр помещают под пластиковый экран с несколькими отверстиями. Пробоотборное устройство открывают путем сдвигания крышки для того, чтобы отверстия пропускали воздух, а закрывают, возвращая крышку на место.
Серийно выпускаемое или собранное в лаборатории устройство может быть использовано в течение 24 ч, если оно соответствует требованиям к рабочим характеристикам.
Альтернативные конструкции пробоотборных устройств приведены в приложении A на
рисунках A.2 и
A.3. Диффузионное пробоотборное устройство должно иметь отверстие для контрольно-измерительного устройства и соответствующую длину его диффузионной зоны.
Примечание - Руководство по конструкции и методикам проведения испытаний диффузионных пробоотборных устройств приведено в ЕН 13528-2. При этом необходимо генерирование стандартных атмосфер для определения скорости диффузии пробоотборного устройства в различных условиях температуры, влажности, скорости движения воздуха, времени экспозиции и содержании газа, соответствующих намеченному использованию пробоотборного устройства. Примеры исследования характеристик диффузионных пробоотборных устройств для измерений содержания формальдегида приведены в литературе, указанной в
библиографии.
5.2 Жидкостной хроматограф для ВЭЖХ состоит из одного или двух насосов для растворителей, емкости(ей) с растворителем, смесителя для растворителей, колонки с обращенной фазой, термостата колонки, устройства управления насосом и системы обработки данных.
Колонка должна быть присоединена к УФ детектору, работающему при длине волны 360 нм.
Аппаратура и методика должны позволять обнаруживать ДНФГ-формальдегид с концентрацией 0,21 мкг/мл (эквивалентно 0,03 мкг/мл формальдегида).
Непосредственно перед отбором проб диффузионное пробоотборное устройство (см.
5.1) вынимают из защитного пакета или другого подходящего воздухонепроницаемого контейнера. При обследовании конкретного помещения пробоотборное устройство должно быть размещено в соответствии с требованиями ISO 16000-2, то есть на расстоянии, по крайней мере, 1 м от стен помещения и на высоте 1,5 м от пола. Избегают проведения отбора проб в зонах помещения, находящихся под сильным воздействием локальной вентиляции, таких как окна и двери, а также в зонах, находящихся вблизи известных источников формальдегида, например древесно-стружечной плиты без покрытия, если только исследование этих зон не представляет особого интереса. Для отбора проб в условиях, характерных для деятельности отдельного человека, пробоотборное устройство должно быть прикреплено к лацкану одежды или другой свободной части одежды человека в зоне дыхания. После того, как пробоотборное устройство будет установлено, начинают отбор проб, открыв крышку пробоотборного устройства. Регистрируют время и дату открывания пробоотборного устройства.
В конце установленного периода экспозиции пробоотборное устройство закрывают. Если пробоотборное устройство не используют, то его хранят в защитном воздухонепроницаемом контейнере вместе с защитным фильтром, пропитанным ДНФГ (идентичным фильтру, приведенному в
4.14), который для удобства в обращении может быть вставлен в металлическую сетку. Регистрируют время и дату закрывания пробоотборного устройства.
Подготавливают холостые пробы, используя пробоотборные устройства, идентичные тем, которые использовались при отборе проб, и обращаются с ними, как с пробоотборными устройствами с реальными пробами, но исключают попадание на них анализируемой среды. В качестве альтернативы в конструкции пробоотборного устройства может быть предусмотрена неподверженная воздействию анализируемого воздуха часть пропитанного фильтра, которая может быть использована при отборе холостой пробы. Холостые пробы и экспонированные пробоотборные устройства возвращают в лабораторию на анализ.
Примечание - При активном отборе проб окружающего воздуха при определенных атмосферных условиях было зафиксировано мешающее влияние озона из-за его реакции с ДНФГ или ДНФГ-формальдегидом. Это влияние не наблюдалось при использовании диффузионного пробоотборного устройства. Дополнительная информация об этом влиянии приведена в ISO 16000-3.
7.1 Десорбция и подготовка пробы
Десорбцию ДНФГ-формальдегида с пропитанного фильтра проводят в чистой атмосфере. Пропитанный фильтр вынимают из пробоотборного устройства пинцетом. Если в пробоотборном устройстве имеется интегрированный пропитанный фильтр для холостой пробы, то его отрезают от экспонированного участка фильтра. Например, если фильтр имеет размер 20 x 45 мм, то его разрезают на две части с отобранной пробой и холостой пробой, а затем каждую часть помещают в стеклянные ампулы объемом 4 мл. Для проведения десорбции пробы в каждую из ампул вводят с помощью пипетки 3 мл ацетонитрила и затем взбалтывают в течение 1 мин. Удаляют пропитанный фильтр из ампулы, а ампулу закрывают для последующего анализа методом ВЭЖХ. Перед проведением анализа может потребоваться фильтрование содержимого. Для фильтров другого размера методика десорбции может отличаться от приведенной выше, но при этом эффективность десорбции ДНФГ-формальдегида должна быть не менее 95%. Раствор ДНФГ-формальдегида хранят в холодильнике (при температуре 4 °C). Анализ раствора должен быть сделан в течение трех дней.
При анализе каждого калибровочного раствора
(4.12) вводят известный объем раствора (например, 10 мкл) в хроматограф
(5.2). Во избежание эффекта памяти хроматографа анализ начинают с раствора наименьшей концентрации. Используемая методика ввода пробы должна обеспечивать воспроизводимые высоты или площади хроматографических пиков. Строят градуировочный график зависимости отклика от концентрации аналита в мкг/мл. Нормальная частота калибровки составляет 1 мес. Достоверность между двумя калибровками может быть проверена путем проверки контрольных точек.
7.3 Анализ методом высокоэффективной жидкостной хроматографии
Собирают ВЭЖХ-систему и калибруют в соответствии с
7.2. Типичные рабочие параметры системы приведены ниже.
Достаточное разрешение ДНФГ-формальдегида и возможных мешающих веществ обеспечивает колонка с октадецилсиланом (длиной 100 мм и внутренним диаметром 5 мм, размером частиц 10 мкм) с подвижной фазой метанол/вода [смесь 70% к 30% (объемная доля)]. При анализе может быть применена либо градиентная программа, либо изократическое элюирование.
Альтернативой в соответствии с ISO 16000-3 является изократическая подвижная фаза, состоящая на 60% из ацетонитрила и на 40% из воды (объемная доля). Рабочие параметры должны быть следующими:
- колонка: C18 с обращенной фазой;
- подвижная фаза: 60% ацетонитрила + 40% воды;
- детектор: УФ, длина волны 360 нм;
- объемный расход: 1 мл/мин;
- время удерживания: приблизительно 7 мин для формальдегида, 13 мин для формальдегида на двух колонках C18;
- объем вводимой пробы: 25 мкл.
Перед каждым анализом проверяют базовую линию детектора для обеспечения стабильных условий.
При подготовке подвижной фазы для ВЭЖХ смешивают 600 мл ацетонитрила и 400 мл воды, либо устанавливают соответствующие параметры ВЭЖХ с градиентным элюированием. Полученную смесь фильтруют через мембранный фильтр из полиэфира с размером пор 0,22 мкм в устройстве фильтрования под вакуумом, выполненным полностью из стекла или фторопласта. Дегазируют отфильтрованную подвижную фазу с помощью продувки гелием от 10 до 15 мин (100 мл/мин) или нагреванием до 60 °C от 5 до 10 мин в лабораторной конической колбе, покрытой часовым стеклом. Для предотвращения дальнейшей дегазации подвижной фазы после детектора устанавливают постоянный ограничитель противодавления (350 кПа) или короткую трубку (от 15 до 30 см) из фторопласта внутренним диаметром 0,25 мм.
Помещают подвижную фазу в резервуар для элюента и настраивают насос на расход 1,0 мл/мин. Перед первым анализом насос должен работать от 20 до 30 мин. Детектор включают, по крайней мере, за 30 мин до проведения первого анализа. Регистрируют выходной сигнал детектора с помощью самопишущего прибора с ленточной диаграммой или аналогичным устройством вывода.
Для систем с ручным вводом проб, в чистый шприц набирают, по крайней мере, 100 мкл пробы. Заполняют петлю крана-дозатора подвижной фазой (кран в положении "отбор пробы"), добавляя пробу шприцем в дополнительный узел ввода пробы. Для начала работы переводят кран-дозатор в положение "ввод". Одновременно с вводом активируют систему обработки данных и отмечают точку ввода на диаграммной ленте электроизмерительного самопишущего прибора. Приблизительно через 1 мин переводят кран-дозатор в положение "отбор пробы" и ополаскивают или промывают шприц и дозирующую петлю смесью ацетонитрила и воды для подготовки к анализу следующей пробы.
Не допускается ввод элюента в петлю крана-дозатора, если кран находится в положении "ввод".
После элюирования производного ДНФГ-формальдегида прекращают регистрацию данных и вычисляют концентрацию компонента. Система может быть использована для дальнейшего анализа проб в соответствии с процедурой, описанной выше, после того, как будет достигнуто устойчивое положение базовой линии.
Примечание - После нескольких анализов загрязнение колонки (о чем свидетельствует, например, увеличение давления при каждом последующем вводе пробы при заданном потоке и составе растворителя) может быть устранено промыванием ее 100%-ным ацетонитрилом объемом, превосходящим объем колонки в несколько раз. Подобную защиту можно обеспечить, используя предварительные колонки.
Если значение концентрации аналита выходит за пределы линейного участка градуировочной характеристики системы, пробу разбавляют подвижной фазой, или вводят в хроматограф меньший объем пробы. Если время удерживания, полученное при предыдущих вводах пробы, не воспроизводится (предельно допустимое отклонение +/- 10%), то соотношение ацетонитрила и воды может быть увеличено или уменьшено для получения соответствующего времени удерживания. Если время удерживания слишком велико, то соотношение увеличивают, если оно слишком мало - соотношение уменьшают. Если необходима замена растворителя, то всегда проводят повторную калибровку перед введением пробы.
Для оптимизации условий проведения хроматографического анализа с конкретными аналитическими целями химикам-лаборантам рекомендуется проводить несколько экспериментов с имеющейся в их распоряжении ВЭЖХ системой. Также могут быть использованы ВЭЖХ системы с автоматическим вводом и началом сбора данных.
Полученную хроматограмму исследуют на предмет мешающего влияния озона в соответствии с ISO 16000-3, 4.2.
7.4 Определение содержания аналита в пробе
Растворы аналитических и холостых проб, полученные при проведении десорбции с пропитанных фильтров
(7.1), анализируют так же, как стандартные растворы
(7.2). Определяют максимальные отклики (высоты или площади хроматографических пиков) и находят по градуировочному графику массовые концентрации ДНФГ-формальдегида.
Примечание - Неэкспонированный чистый пропитанный фильтр, находившийся в месте отбора проб в течение всей продолжительности отбора проб, вероятно, будет содержать больше ДНФГ-формальдегида, чем свежеприготовленный пропитанный фильтр.
7.5 Хранение отобранных проб
Если приготовленный фильтр перед использованием хранят в холодильнике (при температуре минус 18 °C) в герметичном защитном контейнере, то срок хранения его составляет, по крайней мере, 6 мес. После экспонирования образовавшийся анализируемый ДНФГ-формальдегид должен быть устойчивым, по крайней мере, две недели, если перед проведением десорбции и анализа хранить его в холодильнике.
7.6 Определение эффективности десорбции
Для методик, отличающихся от приведенной в
7.1, эффективность десорбции должна быть определена поглощением пробоотборными устройствами известного количества ДНФГ-формальдегида. Это достигается выдерживанием пробоотборных устройств в атмосферах, где содержание формальдегида постоянно и известно. Для оценки эффективности десорбции из пробоотборных устройств должно быть проведено, по крайней мере, два испытания при экспонировании их вблизи нижней и верхней границ контролируемого диапазона значений массовой концентрации. Количество ДНФГ-формальдегида на пропитанном фильтре рассчитывают на основе ожидаемого времени экспонирования и скорости поглощения пробоотборным устройством, проверенным на соответствие требованиям ЕН 13528-2. Исследуют пробоотборные устройства и определяют количество десорбированного ДНФГ-формальдегида. Эффективность десорбции должна быть не менее 85%.
8. Вычисление результатов измерений
8.1 Содержание ДНФГ-формальдегида на фильтре
Массу ДНФГ-формальдегида, извлеченного из пропитанного фильтра с пробой или чистого фильтра, вычисляют умножением концентрации раствора, полученной по градуировочной кривой, на объем раствора, используемого для десорбции.
8.2 Содержание формальдегида в воздухе
Массовую концентрацию формальдегида в воздухе

, мкг/м
3, вычисляют по формуле

, (1)
где m - масса ДНФГ-формальдегида в экспонированном пробоотборном устройстве, мкг;
mblank - масса ДНФГ-формальдегида в чистом пробоотборном устройстве, мкг;
gV - скорость поглощения пробоотборным устройством, см3/мин;
t - время экспонирования, мин;
d - эффективность десорбции (см.
7.6), %;
0,143 - коэффициент, равный отношению M (формальдегида)/M (ДНФГ-формальдегида), где M - молекулярная масса.
Примечание - Использование миллиардных или миллионных долей не рекомендуется. Однако для удобства некоторых пользователей объемную долю формальдегида

в миллиардных долях (ppb) в воздухе также вычисляют по формуле

, (2)
где

- среднее барометрическое давление во время отбора проб, кПа (или по усмотрению стандартное давление 101,3 кПа);
T - средняя температура во время отбора проб, К (или по усмотрению стандартная температура 298 К);
M - молекулярная масса формальдегида (30,03 г/моль);
d - эффективность десорбции (см.
7.6), %.
9. Прецизионность и неопределенность метода
Внутрилабораторная прецизионность повторных измерений, выраженная как коэффициент вариации, должна составлять не более 10%.
Примечание - Были проведены испытания в реальных условиях, при которых шесть пробоотборных устройств были экспонированы в трех замкнутых помещениях, с концентрацией формальдегида от 0,027 до 1,1 мг/м
3, при этом прецизионность повторных измерений, выраженная через относительное стандартное отклонение, составила от 1% до 9%
[9]. При проведении повторных измерений в спальнях трех жилых домов с концентрацией формальдегида в воздухе от 0,007 до 0,01 мг/м
3 было получено относительное стандартное отклонение от 6,2% до 8,7%
[10],
[11]. Когда четыре пробоотборных устройства были размещены в двух местах каждой из пяти комнат с массовой концентрацией формальдегида в воздухе от 0,007 до 0,048 мг/м
3, относительное стандартное отклонение составило от 0,8% до 8,3%, за исключением одного места, где отклонение составило 10,9%
[4]. Сравнение результатов диффузионного отбора проб с результатами одновременно проводимого независимого активного отбора проб показало их совпадение
[8] -
[12].
10. Обеспечение качества/контроль качества
Пользователь должен соблюдать требования ISO/IEC 17025.
В ходе каждой серии анализов или при использовании новой серии пробоотборных устройств отбирают как холостые, так и повторные пробы. Число холостых и повторных проб должно составлять, по крайней мере, 10% общего числа проб и минимум одну при небольших сериях анализов.
Рекомендуется, чтобы:
a) при внутреннем контроле качества скорость диффузии проверялась регулярно, по крайней мере, один раз в течение большой серии анализов; для этого пробоотборные устройства экспонируют в лабораторных стандартных атмосферах либо сравнивают результаты лабораторных испытаний или испытаний на месте с результатами, полученными независимым методом (например, методом прокачки);
b) при внешнем контроле качества скорость диффузии проверялась регулярно, по крайней мере, один раз в течение большой серии анализов; для этого аккредитованные учреждения выполняют сравнение результатов, полученных ими в лаборатории или на месте (одно пробоотборное устройство, различные лаборатории).
Протокол измерений должен содержать, по крайней мере, следующую информацию:
a) полное описание пробы;
b) ссылку на настоящий стандарт;
c) описание места и продолжительности отбора пробы;
d) описание окружающих условий и занятий людей, находящихся в помещении во время отбора пробы;
e) результаты испытаний (с точностью до 1 мкг/м3);
f) описание любых особенностей, выявленных во время определения формальдегида;
g) описание любых действий, не установленных настоящим стандартом или установленных как необязательные.
(справочное)
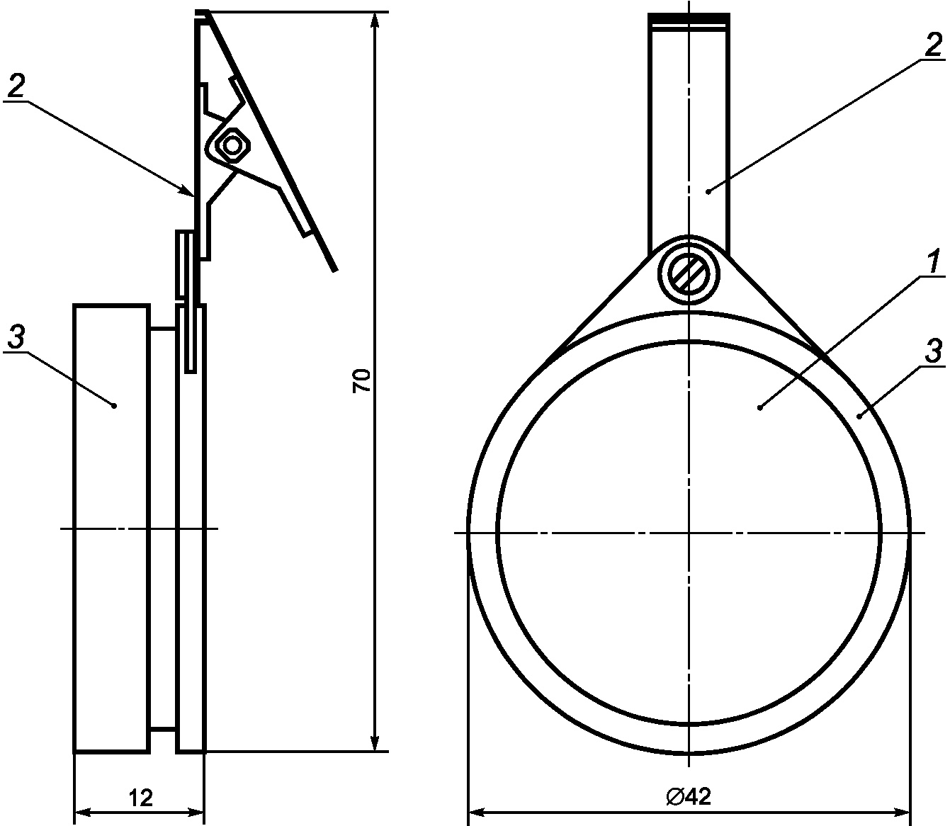
ТИПИЧНЫЕ КОНСТРУКЦИИ ДИФФУЗИОННЫХ ПРОБООТБОРНЫХ УСТРОЙСТВ
1 - скользящая крышка; 2 - диффузионный экран; 3 - фильтры,
пропитанные ДНФГ; 4 - корпус пробоотборного устройства
Рисунок A.1 - Типичная конструкция диффузионного
пробоотборного устройства для определения формальдегида
[9]
Размеры в миллиметрах
1 - фильтр; 2 - клипса; 3 - корпус (колпачок)
Рисунок A.2 - Пример пробоотборного устройства с клипсой
для определения формальдегида
1 - колпачок; 2 - предохранительная трубка; 3 - трубка
для элюирования; 4 - диффузионный фильтр; 5 - фритта;
6 - фильтры, пропитанные ДНФГ
Рисунок A.3 - Пример пробоотборного устройства в виде трубки
для определения формальдегида
(справочное)
СВЕДЕНИЯ О СООТВЕТСТВИИ ССЫЛОЧНЫХ МЕЖДУНАРОДНЫХ СТАНДАРТОВ
МЕЖГОСУДАРСТВЕННЫМ СТАНДАРТАМ
Таблица ДА.1
Обозначение ссылочного международного стандарта | Степень соответствия | Обозначение и наименование межгосударственного стандарта |
ISO 16000-2:2004 | - | |
ISO 16000-3:2011 | - | |
ISO/IEC 17025 | IDT | |
EN 13528-2 | - | |
<*> Соответствующий межгосударственный стандарт отсутствует. До его утверждения рекомендуется использовать перевод на русский язык данного международного стандарта. Примечание - В настоящей таблице использовано следующее условное обозначение степени соответствия стандарта: - IDT - идентичный стандарт. |
--------------------------------
<1> В Российской Федерации действует
ГОСТ Р ИСО 16000-2-2007 "Воздух замкнутых помещений. Часть 2. Отбор проб на содержание формальдегида. Основные положения".
<2> В Российской Федерации действует
ГОСТ Р ЕН 13528-2-2010 "Качество атмосферного воздуха. Диффузионные пробоотборники, используемые при определении содержания газов и паров. Требования и методы испытаний. Часть 2. Специальные требования и методы испытаний"
| ISO 12219-1 | Indoor air - Road vehicles - Part 1: Whole vehicle test chamber - Specification and method for the determination of volatile organic compounds in car interiors |
[2] | ISO 12219-2 | Indoor air of road vehicles - Part 2: Screening method for the determination of the emissions of volatile organic compounds from vehicle interior parts and materials - Bag method |
[3] | ISO 12219-3 | Indoor air of road vehicles - Part 3: Screening method for the determination of the emissions of volatile organic compounds from vehicle interior parts and materials - Micro-chamber method |
| | Indoor air of road vehicles - Part 4: Determination of the emissions of volatile organic compounds from car trim components - Small chamber method (Воздух внутреннего пространства автотранспортных средств. Часть 4. Метод определение выделений летучих органических соединений материалами внутренней отделки и деталей салона. Метод с применением небольшой камеры) |
| | Indoor air of road vehicles - Part 5: Screening method for the determination of emissions of volatile organic compounds (VOC) from car trim components - Static chamber method (Воздух внутреннего пространства автотранспортных средств. Часть 5. Скрининговый метод для определения выделения летучих органических соединений материалами внутренней отделки и деталей салона. Метод с применением стационарной камеры) |
| ISO 16017-1 | Indoor, ambient and workplace air - Sampling and analysis of volatile organic compounds by sorbent tube/thermal desorption/capillary gas chromatography - Part 1: Pumped sampling |
| ISO 16017-2 | Indoor, ambient and workplace air - Sampling and analysis of volatile organic compounds by sorbent tube/thermal desorption/capillary gas chromatography - Part 2: Diffusive sampling |
| MDHS 78:1994 | Formaldehyde in air - Laboratory method using a diffusive sampler, solvent desorption and high performance liquid chromatography. Available (viewed 2011-11-18) at: http://www.hse.gov.uk/pubns/mdhs/pdfs/mdhs78.pdf |
| Levin J.-O., Lindahl R. and Andersson K. High performance liquid chromatographic determination of formaldehyde in air in the ppb to ppm range using diffusive sampling and hydrazone formation. Environ. Technol. Lett., 1988, 9, pp. 1423 - 1430 |
| Berry R.W., Brown V.M., Coward S.K.D. Indoor air quality in homes; the Building Research Establishment Indoor Environment Study. Parts 1 and 2. Watford: Building Research Establishment, 1996. (Reports BR 299 and BR 300) |
| Brown V.M., Crump D.R., Gavin M.A., Gardiner D. Aldehydes in the non-industrial indoor environment. In: Brown R.H., editor. Clean air at work: New trends in assessment and measurement for the 1990s, Proceedings of an International Symposium, Luxembourg, 1991-09-09/13, pp. 365 - 367. Cambridge, UK: Royal Society of Chemistry, 1992. (Special Publication No. 108.) |
| Gavin M., Crump D.R., Brown V.M. Appropriate sampling strategies for the measurement of formaldehyde in indoor air. Environ. Technol., 1995, 16, pp. 579 - 586 |
--------------------------------