Главная // Актуальные документы // ГОСТ (Государственный стандарт)СПРАВКА
Источник публикации
М.: Стандартинформ, 2017
Примечание к документу
Документ
введен в действие с 1 апреля 2018 года.
Название документа
"ГОСТ ISO 12003-2-2016. Межгосударственный стандарт. Тракторы для сельского и лесного хозяйства. Устройства защиты при опрокидывании для колесных тракторов с узкой колеей. Часть 2. Устройства защиты при опрокидывании, установленные сзади. Технические требования и методы испытаний"
(введен в действие Приказом Росстандарта от 26.05.2017 N 440-ст)
"ГОСТ ISO 12003-2-2016. Межгосударственный стандарт. Тракторы для сельского и лесного хозяйства. Устройства защиты при опрокидывании для колесных тракторов с узкой колеей. Часть 2. Устройства защиты при опрокидывании, установленные сзади. Технические требования и методы испытаний"
(введен в действие Приказом Росстандарта от 26.05.2017 N 440-ст)
по техническому регулированию
и метрологии
от 26 мая 2017 г. N 440-ст
МЕЖГОСУДАРСТВЕННЫЙ СТАНДАРТ
ТРАКТОРЫ ДЛЯ СЕЛЬСКОГО И ЛЕСНОГО ХОЗЯЙСТВА
УСТРОЙСТВА ЗАЩИТЫ ПРИ ОПРОКИДЫВАНИИ
ДЛЯ КОЛЕСНЫХ ТРАКТОРОВ С УЗКОЙ КОЛЕЕЙ
ЧАСТЬ 2
УСТРОЙСТВА ЗАЩИТЫ ПРИ ОПРОКИДЫВАНИИ, УСТАНОВЛЕННЫЕ СЗАДИ.
ТЕХНИЧЕСКИЕ ТРЕБОВАНИЯ И МЕТОДЫ ИСПЫТАНИЙ
Agricultural and forestry tractors. Roll-over protective
structures on narrow-track wheeled tractors.
Part 2. Rear-mounted roll-over protective structures.
Technical requirements and test methods
(ISO 12003-2:2008, Agricultural and forestry
tractors - Roll-over protective structures on narrow-track
wheeled tractors - Part 2: Rear-mounted ROPS, IDT)
ГОСТ ISO 12003-2-2016
Дата введения
1 апреля 2018 года
Цели, основные принципы и основной порядок проведения работ по межгосударственной стандартизации установлены в
ГОСТ 1.0-2015 "Межгосударственная система стандартизации. Основные положения" и
ГОСТ 1.2-2015 "Межгосударственная система стандартизации. Стандарты межгосударственные, правила и рекомендации по межгосударственной стандартизации. Правила разработки, принятия, обновления и отмены"
1 ПОДГОТОВЛЕН Российской ассоциацией производителей сельхозтехники (Ассоциация "Росагромаш") на основе собственного перевода на русский язык англоязычной версии стандарта, указанного в
пункте 5
2 ВНЕСЕН Межгосударственным техническим комитетом по стандартизации МТК 284 "Тракторы и машины сельскохозяйственные"
3 ПРИНЯТ Межгосударственным советом по стандартизации, метрологии и сертификации (протокол от 25 октября 2016 г. N 92-П)
За принятие проголосовали:
Краткое наименование страны по МК (ИСО 3166) 004-97 | Код страны по МК (ИСО 3166) 004-97 | Сокращенное наименование национального органа по стандартизации |
Беларусь | BY | Госстандарт Республики Беларусь |
Киргизия | KG | Кыргызстандарт |
Россия | RU | Росстандарт |
Таджикистан | TJ | Таджикстандарт |
4
Приказом Федерального агентства по техническому регулированию и метрологии от 26 мая 2017 г. N 440-ст межгосударственный стандарт ГОСТ ISO 12003-2-2016 введен в действие в качестве национального стандарта Российской Федерации с 1 апреля 2018 г.
5 Настоящий стандарт идентичен международному стандарту ISO 12003-2:2008 "Тракторы для сельского и лесного хозяйства. Устройства защиты при опрокидывании для колесных тракторов с узкой колеей. Часть 2. Устройства защиты при опрокидывании, установленные сзади" ("Agricultural and forestry tractors - Roll-over protective structures on narrow-track wheeled tractors - Part 2: Rear-mounted ROPS", IDT).
Международный стандарт разработан подкомитетом N 4 "Тракторы" международного технического комитета ISO TC 23 "Тракторы и машины для сельского и лесного хозяйства".
Официальные экземпляры международного стандарта, на основе которого подготовлен настоящий стандарт, и международных стандартов, на которые даны ссылки, имеются в Федеральном агентстве по техническому регулированию и метрологии.
Наименование настоящего стандарта изменено относительно наименования указанного международного стандарта для приведения в соответствие с ГОСТ 1.5-2001
(подраздел 3.6).
При применении настоящего стандарта рекомендуется использовать вместо ссылочных международных стандартов соответствующие им межгосударственные стандарты, сведения о которых приведены в дополнительном
приложении ДА
6 ВВЕДЕН ВПЕРВЫЕ
Информация об изменениях к настоящему стандарту публикуется в ежегодном информационном указателе "Национальные стандарты" (по состоянию на 1 января текущего года), а текст изменений и поправок - в ежемесячном информационном указателе "Национальные стандарты". В случае пересмотра (замены) или отмены настоящего стандарта соответствующее уведомление будет опубликовано в ежемесячном информационном указателе "Национальные стандарты". Соответствующая информация, уведомление и тексты размещаются также в информационной системе общего пользования - на официальном сайте Федерального агентства по техническому регулированию и метрологии в сети Интернет (www.gost.ru)
Испытания устройств защиты при опрокидывании (ROPS) сельскохозяйственных и лесохозяйственных тракторов минимизируют риск травмирования оператора в результате опрокидывания трактора при нормальной эксплуатации (например, при полевых работах). Прочность устройств защиты при опрокидывании проверяется приложением нагрузок для имитации фактических нагрузок, действующих на кабину или каркас при опрокидывании трактора назад или набок без свободного падения. Испытания позволяют наблюдать за прочностью конструкции, креплением кронштейнов к трактору и другими деталями трактора, на которые могут влиять нагрузки, воздействующие на конструкцию.
Настоящая часть ISO 12003 направлена на обеспечение проведения испытаний прочности установленных сзади устройств защиты при опрокидывании с применением динамических и статических нагрузок, имитирующих реальные нагрузки, действующие на кабину или каркас при опрокидывании трактора назад или набок без свободного падения.
Настоящий стандарт устанавливает методы проведения статических и динамических испытаний устройств защиты при опрокидывании (ROPS), устанавливаемых сзади рабочего места оператора на колесных тракторах для сельского и лесного хозяйства с узкой колеей. Стандарт устанавливает требования к зоне ограничения деформации и критерии приемки для жестких или складывающихся установленных сзади рабочего места оператора двухстоечных защитных дуг, каркасов и встроенных в кабину ROPS. Требования настоящего стандарта распространяются на тракторы, имеющие следующие характеристики:
- дорожный просвет не более 600 мм до самых нижних точек корпуса переднего и заднего моста (не считая нижней точки корпусов дифференциалов);
- фиксированная или регулируемая минимальная ширина колеи одной из двух осей менее 1150 мм с самыми широкими шинами, и с габаритной шириной второй оси меньше ширины первой оси;
- масса без балласта более 600 кг, но менее 3000 кг, включая ROPS и рекомендованные производителем шины самого большого размера.
Для применения настоящего стандарта необходимы следующие ссылочные стандарты. Для датированных ссылок применяют только указанное издание ссылочного стандарта. Для недатированных ссылок применяют последнюю редакцию ссылочного стандарта.
ISO 630 Structural steels (All parts) (Сталь конструкционная)
ISO 898-1:1999 Mechanical properties of fasteners made of carbon steel and alloy steel - Part 1: Bolts, screws and studs (Механические свойства крепежных изделий из углеродистой и легированной стали. Часть 1. Болты, винты и шпильки)
ISO 898-2:1992 Mechanical properties of fasteners - Part 2: Nuts with specified proof load values - Coarse thread (Механические свойства крепежных изделий. Часть 2. Гайки с установленными значениями пробной нагрузки. Крупная резьба)
ISO 2408 Steel wire ropes for general purposes - Minimum requirements (Канаты стальные проволочные общего назначения. Минимальные требования)
ISO 5353 Earth-moving machinery, and tractors and machinery for agriculture and forestry - Seat index point (Машины землеройные, тракторы и машины для сельского и лесного хозяйства. Контрольная точка сиденья)
ASTM A370 Standard Test Methods and Definitions for Mechanical Testing of Steel Products (Методы испытаний и определения терминов для механических испытаний продукции из стали)
В настоящем стандарте применены следующие термины с соответствующими определениями.
3.1 устройство защиты при опрокидывании (ROPS) [roll-over protective structure (ROPS)]: Устройство, защищающее оператора колесных тракторов для сельского и лесного хозяйства и минимизирующее вероятность его травмирования при опрокидывании трактора во время полевых работ.
Примечание - ROPS характеризуется обеспечением пространства для зоны ограничения деформации либо внутри защитного устройства, либо внутри пространства, ограниченного прямыми линиями, проходящими через внешние углы (грани) защитного устройства любых частей трактора, которые могут вступать в контакт с землей при опрокидывании, и способны поддерживать трактор в опрокинутом положении.
3.2 устройство защиты при опрокидывании, установленное сзади (rear-mounted ROPS): Двухстоечная защитная дуга, установленная на тракторе сзади рабочего места оператора, каркас, или кабина.
Примечание - Для сравнения с ROPS, установленным спереди, см. ISO 12003-1.
3.3
масса трактора (tractor mass): Масса полностью заправленного трактора без балласта в рабочем состоянии с ROPS и навесным оборудованием, необходимым для нормальной эксплуатации.
Примечание - Масса без оператора, дополнительного балласта, запасного колеса, специального оборудования и инструментов.
3.4
расчетная масса (reference mass): Масса не меньше массы трактора, указанная изготовителем трактора для расчета сил и энергии удара при испытаниях.
3.5 испытание горизонтальным нагружением (horizontal loading test): Воздействие горизонтальной нагрузки сзади, спереди и сбоку на устройство защиты при опрокидывании.
3.6 разрушающие испытания (crushing test): Приложение вертикальной статической нагрузки через поперечную балку, к самым верхним элементам ROPS, установленного сзади.
3.7 плоскость начала отсчета (reference plane): Вертикальная плоскость (обычно продольная для тракторов), проходящая через контрольную точку сиденья и ось рулевого колеса.
Примечание - Как правило, плоскость начала отсчета совпадает с средней продольной плоскостью трактора.
3.8
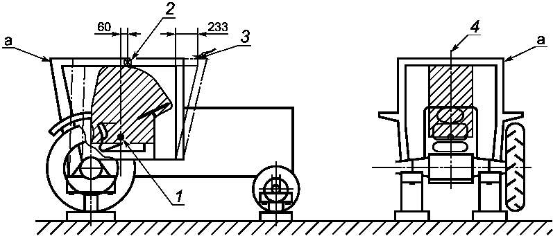
средняя продольная плоскость, продольная плоскость симметрии, нулевая Y плоскость (longitudinal median plane, longitudinal plane of symmetry, zero Y plane): Вертикальная плоскость, проходящая через ось Y, среднюю точку линии AB и перпендикулярная линии AB. Точки A и B являются точками пересечения линий

, соответствующих двум колесам, которые являются ведущими или ведомыми и располагаются соответственно на противоположных концах одной и той же реальной или воображаемой оси, с опорной поверхностью. Линия

является линией пересечения вертикальной плоскости, проходящей через ось колеса, со средней плоскостью колеса
(рисунок 1).
Примечание 1 - "Средняя плоскость колеса" означает плоскость, расположенную на равном расстоянии от внутренних краев обода. При сдвоенных колесах линия

является линией пересечения вертикальной плоскости, проходящей через ось колеса, со средней плоскостью сдвоенного колеса.
Примечание 2 - ISO 612:1978
[1], приложение 5.
Рисунок 1 - Средняя продольная плоскость
3.9 испытания ударом (impact test): Воздействие динамической нагрузки, производимой маятниковым блоком.
3.10 колесная база (wheelbase): Горизонтальное расстояние между двумя вертикальными плоскостями, проходящими через центры вращения колес, одна плоскость для передних колес, другая - для задних.
Таблица 1
Символы и обозначения
Символ | Описание | Единица измерения |
ah | Половина горизонтальной регулировки сиденья | мм |
av | Половина вертикальной регулировки сиденья | мм |
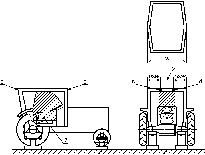
B | Общая минимальная ширина трактора | мм |
Bb | Максимальная внешняя ширина установленного сзади ROPS | мм |
D | Деформация установленного сзади ROPS в точке и на линии приложения нагрузки (статическое испытание) | мм |
Eil | Энергия, поглощаемая при продольном нагружении | Дж |
Eis | Энергия, поглощаемая при поперечном нагружении | Дж |
F | Статическая нагрузка | Н |
Fmax | Максимальная статическая нагрузка, возникающая во время испытания, исключая перегрузку | Н |
Fv | Вертикальная разрушающая сила | Н |
H | Высота падения маятника | мм |
I | Момент инерции относительно задней оси любой массы задних колес | кг·м2 |
L | Расстояние между осями трактора | мм |
m | | кг |
mt | | кг |
W | Габаритная ширина верхней части защитной конструкции | мм |
5 Оборудование для проведения испытаний
5.1 Оборудование для динамических и статических испытаний
5.1.1 Зона ограничения деформации
Для подтверждения сохранения объема зоны ограничения деформации может быть использован макет в соответствии с
рисунками 10 и
11.
5.1.2 Оборудование для разрушающих испытаний
При разрушающих испытаниях применяют оборудование по
5.1.2.1 и
5.1.2.2.
5.1.2.1 Применяют оборудование для приложения вертикальной нагрузки на защитное устройство
(рисунок 2), в том числе жесткую балку шириной 250 мм.
1 - универсальный шарнир;
2 - гидравлический цилиндр; 3 - опоры; 4 - жесткая балка;
a - направление усилия разрушения
Рисунок 2 - Пример разрушающих испытаний
5.1.2.2 Применяют оборудование для замера общей вертикальной нагрузки.
5.2 Оборудование для динамических испытаний
5.2.1 Устройство для нанесения удара по защитной конструкции
Для испытаний применяют маятниковый блок массой 2000 кг. Масса цепного подвеса, которая должна составлять не более 100 кг, не включена в массу маятникового блока. Размеры маятникового блока, который должен быть подвешен на двух цепях с высотой точки подвеса не менее 6 м над опорной поверхностью, приведены на
рисунке 3. Центр тяжести маятникового блока должен совпадать с его геометрическим центром.
1 - крепление сбрасывающего механизма; 2 - устройство
для регулирования высоты маятникового блока; 3 - поверхность
маятникового блока, предназначенная для ударного
воздействия; 4 - крюки для поддержания запасных цепей;
5 - цепи маятника; a - ось центра тяжести блока
Рисунок 3 - Устройство маятникового блока
5.2.2 Опоры маятника
Точки подвеса маятника должны быть жестко закреплены таким образом, чтобы их смещение в любом направлении не превышало 1% высоты падения.
5.2.3 Средства крепления трактора к опорной поверхности
Трактор должен быть закреплен стальными проволочными тросами с натяжными устройствами, к наземным рельсам, расположенным на расстоянии примерно 600 мм друг от друга по всей площади непосредственно под точками подвеса маятникового блока и протяженностью около 9 м вдоль оси маятника и примерно на расстоянии 1800 мм в каждую сторону относительно оси симметрии.
Точки крепления тросов должны быть расположены приблизительно в 2000 мм за задней осью и 1500 мм перед передней осью. Каждая ось должна быть закреплена двумя тросами, по одному с каждой стороны средней продольной плоскости трактора. Для крепления должен быть использован стальной трос диаметром от 12,5 до 15 мм, прочностью на разрыв от 100 до 1260 МПа, соответствующий требованиям ISO 2408. Подробная информация по средствам крепления приведена на
рисунках 4 -
6.
Для более удобного крепления тросов передние и задние колеса можно не располагать по одной линии.
1 - трос; 2 - брус из мягкой древесины сечением 150 x 150
мм, фиксирующий оба задних колеса после крепления тросами;
3 - траектория перемещения центра тяжести
маятникового блока, проходящая через точку удара
Рисунок 4 - Пример крепления тросов при ударе сзади
1 - трос; 2 - брус из мягкой древесины сечением 150 x 150
мм, фиксирующий оба задних колеса после крепления тросов;
3 - траектория перемещения центра тяжести
маятникового блока, проходящая через точку удара
Рисунок 5 - Пример крепления тросов при ударе спереди
1 - траектория перемещения центра тяжести маятникового
блока, проходящая через точку удара; 2 - крепления трактора
(5.2.3);
3 - брус из мягкой древесины сечением 150 x 150 мм;
4 - деревянный упор; a - заостренный торец упора;
b - скругленный торец упора для обеспечения
контакта с ободом колеса
Рисунок 6 - Пример крепления при ударе сбоку
5.2.4 Брус из мягкой древесины
Брус из мягкой древесины поперечного сечения 150 x 150 мм предназначен для ограничения смещения задних колес при ударе сзади или спереди и их смещения при ударе сбоку (
рисунки 4 -
6).
5.2.5 Деревянный упор
Деревянный упор ограничивает перемещение трактора при боковом ударе
(рисунок 6). Длина упора должна быть в 20 - 25 раз, а ширина в 2 - 3 раза больше толщины.
5.2.6 Крепления и упоры для тракторов с шарнирно-сочлененной рамой
Точка сочленения шарнирно-сочлененной рамы должна быть закреплена при проведении испытаний. При испытании боковым ударом у точки сочленения должен быть упор со стороны, противоположной направлению удара.
5.2.7 Давление в шинах и их прогиб
Шины трактора не должны быть загружены балластной жидкостью, давление должно соответствовать давлению при проведении полевых работ, указанному изготовителем трактора. В каждом отдельном случае крепления должны быть натянуты так, чтобы прогиб шин был равен 12% высоты боковины шины (расстояние между опорной поверхностью и самой нижней точкой обода) до натяжения.
5.2.8 Устройство для измерения упругой деформации
Устройство для измерения упругой деформации
(рисунок 7) устанавливается в горизонтальной плоскости, совпадающей с верхней поверхностью зоны ограничения деформации.
1 - пластическая деформация; 2 - упругая деформация;
3 - общая (пластическая + упругая) деформация;
4 - фрикционная муфта; 5 - горизонтальная балка,
соединенная с устройством защиты при опрокидывании;
6 - вертикальная опора, соединенная с шасси трактора
Рисунок 7 - Пример устройства
для измерения упругой деформации
5.3 Оборудование для статических испытаний
5.3.1 Материал, оборудование и средства крепления должны обеспечивать надежную фиксацию (и поддержку) трактора на опорной поверхности независимо от шин.
5.3.2 Оборудование для горизонтального нагружения ROPS (
рисунки 8 и
9) должно соответствовать требованиям
5.3.2.1 -
5.3.2.4.
1 - контрольная точка сиденья; 2 - контрольная точка
сиденья, средняя продольная плоскость
a - точка заднего нагружения;
b - точка переднего нагружения; c - точка второго
продольного нагружения, переднего или заднего;
d - точка продольного нагружения, переднего или заднего
Рисунок 8 - Переднее и заднее нагружение
1 - контрольная точка сиденья; 2 - точка бокового нагружения
(7.4.5);
3 - прогиб в результате воздействия заднего
нагружения; 4 - контрольная точка сиденья, средняя
продольная плоскость; a - нагружение
Рисунок 9 - Воздействие бокового нагружения
5.3.2.1 Должно быть обеспечено равномерное распределение нагружения перпендикулярно направлению нагружения вдоль балки, имеющей длину в пределах от 250 до 700 мм, кратную 50 мм.
5.3.2.2 Грани балки, касающейся ROPS, должны быть скругленными, с радиусом скругления не более 50 мм.
5.3.2.3 В конструкции нагружающего устройства должны присутствовать шарниры или аналогичные элементы для обеспечения отсутствия ограничения поворота или смещения устройства защиты при опрокидывании в любом направлении, кроме направления нагружения.
5.3.2.4 Если элемент ROPS, касающийся распределяющей нагрузку балки соответствующей длины, не образует прямой линии, перпендикулярной к направлению приложения нагрузки, то следует использовать дополнительные элементы, обеспечивающие распределение нагрузки по всей длине элемента ROPS.
5.3.3 Оборудование для измерения силы и деформации вдоль направления приложения силы и относительно шасси трактора. Для обеспечения точности измерений должна проводиться непрерывная запись параметров. Измерительное оборудование располагают так, чтобы записывать силу и деформацию вдоль направления нагружения.
6 Подготовка трактора к испытаниям
Проходящее испытания ROPS должно соответствовать конструкторской документации изготовителя и должно быть установлено в защитное положение на соответствующей модели трактора в соответствии с заявленными изготовителем методами крепления.
Примечание - Для проведения статических испытаний не требуется весь трактор, достаточно ROPS и части трактора, на которой установлена защитная конструкция, далее - "узел".
При проведении испытаний трактор (узел) должен быть укомплектован всеми серийными деталями, которые могут оказать воздействие на прочность устройства защиты при опрокидывании или могут потребоваться при проведении испытаний.
Для исключения влияния на прочность установленного сзади ROPS все съемные окна, панели, съемные, крепления, не являющиеся частью устройства защиты при опрокидывании, должны быть демонтированы.
В случае, если двери и окна во время работы трактора могут быть зафиксированы в открытом положении или сняты, при проведении испытаний следует зафиксировать их в открытом положении или снять, так, чтобы они не добавляли прочности установленному сзади ROPS. Следует отметить, создают ли они в этом положении опасность для оператора в случае опрокидывания трактора.
Во время проведения динамических испытаний, ширина колеи выбирается так, чтобы установленный сзади ROPS, в максимально возможной степени, не поддерживался колесами во время проведения испытания. При проведении статических испытаний колеса можно демонтировать.
7.1.1 Если во время проведения испытаний любая деталь фиксирующего трактор оборудования сломается или сместится, испытания должны быть проведены повторно.
7.1.2 Во время испытаний не допускается проведение ремонта или наладочных работ на тракторе и установленном сзади ROPS.
7.1.3 При проведении динамических испытаний коробка передач трактора должна быть в нейтральном положении, тормоза отключены.
7.1.4 Если трактор оснащен системой подвески для изменения положения корпуса относительно колес, то при испытаниях система должна быть заблокирована.
7.1.5 Сторона, выбранная для приложения первого удара сзади (при проведении динамических испытаний) или первого нагружения сзади (при проведении статических испытаний), должна быть наиболее неблагоприятной для установленного сзади ROPS. Удары или нагружения сзади и сбоку должны проводиться с разных сторон установленного сзади ROPS. Удар или нагружение спереди должны проводиться с той же стороны продольной срединной плоскости, с которой осуществлялся удар или нагружение сбоку.
7.2 Последовательность проведения испытаний
По усмотрению изготовителя установленного сзади ROPS могут быть проведены либо динамические либо статические испытания, эти два метода считаются эквивалентными. Разрушающие испытания являются общими для обоих методов испытаний.
Последовательность испытаний прочности установленного сзади ROPS следующая:
a) удар (при динамическом испытании) или продольное нагружение (при статическом испытании) сзади;
b) вертикальное разрушение (при динамическом и статическом испытаниях);
c) удар (при динамическом испытании) или продольное нагружение (при статическом испытании) спереди;
d) удар (при динамическом испытании) или горизонтальное нагружение (при статическом испытании) сбоку;
e) вертикальное разрушение (при динамических и статических испытаниях).
Для трактора с реверсивным постом управления, передние колеса трактора должны быть определены изготовителем. В случае, когда передняя/задняя часть трактора четко не определены, передними считаются колеса, на которые приходится менее 50% массы трактора.
7.3 Динамические испытания (удар) установленного сзади ROPS
7.3.1 Испытания ударом сзади
7.3.1.1 Трактор должен быть расположен относительно маятникового блока так, чтобы в момент удара по установленному сзади ROPS ударная поверхность маятникового блока и цепей или тросов образовывала с вертикальной плоскостью угол

равный
mt/100, но не более 20°, если в процессе деформации установленный сзади ROPS в точке удара не превысит этот угол. В этом случае, ударная поверхность блока должна быть отрегулирована с помощью дополнительных опор так, чтобы она была параллельна в точке удара в момент максимальной деформации установленного сзади ROPS, а крепежные цепи или тросы находились под указанным углом.
Высота подвески маятникового блока должна быть отрегулирована и приняты необходимые меры для предотвращения поворота блока вокруг точки удара.
Точкой удара выбирается часть установленного сзади ROPS, которая скорее всего первой соприкоснется с поверхностью земли при опрокидывании трактора назад, обычно - верхнее ребро. Центр тяжести маятникового блока должен быть расположен в одной шестой ширины верхней части установленного сзади ROPS внутрь от вертикальной плоскости, параллельной средней плоскости трактора, касающейся внешнего ребра верхней части установленного сзади ROPS.
Если установленное сзади ROPS изогнуто или выступает в выбранной точке, следует использовать дополнительные элементы для обеспечения удара, так, чтобы не увеличивать ими прочность установленного сзади ROPS.
7.3.1.2 Трактор закрепляют к опорной поверхности в соответствии с
5.2.3 и
рисунком 4 тросами, натянутыми в соответствии с
5.2.7. Задние тросы должны быть расположены так, чтобы точка схождения двух тросов располагалась в вертикальной плоскости, в которой перемещается центр тяжести маятника. После натяжения тросов под задние колеса спереди, плотно прижатым к шинам, устанавливают и закрепляют на опорной поверхности упорный брус.
7.3.1.3 При испытании тракторов с шарнирно-сочлененной рамой, точка сочленения должна дополнительно поддерживаться деревянным брусом сечением не менее 100 x 100 мм, надежно закрепленным на опорной поверхности.
7.3.1.4 Маятниковый блок отклоняют назад так, чтобы центр его тяжести был расположен на высоте H, рассчитанной по одной из следующих формул:
H = 2,165·10-8mt·L2
или
H = 5,73·10-2·I.
7.3.1.5 Для тракторов с реверсивным постом управления применяют наибольшее значение высоты, рассчитанное по вышеуказанным или по следующим формулам:
- при массе трактора менее 2000 кг:
H = 25 + 0,07mt;
- при массе трактора 2000 до 3000 кг:
H = 125 + 0,02mt.
7.3.1.6 Маятниковый блок отпускают для нанесения удара по установленному сзади ROPS.
7.3.2 Испытания ударом спереди
7.3.2.1 Трактор должен быть расположен относительно маятникового блока так, чтобы в момент удара по установленному сзади ROPS ударная поверхность маятникового блока и цепей или тросов образовывала с вертикальной плоскостью угол

равный
mt/100, но не более 20°, если в процессе деформации установленный сзади ROPS в точке удара не превысит этот угол. В этом случае, ударная поверхность блока должна быть отрегулирована с помощью дополнительных опор так, чтобы она была параллельна в точке удара в момент максимальной деформации установленного сзади ROPS, а крепежные цепи или тросы находились под указанным углом.
Высота подвески маятникового блока должна быть отрегулирована и приняты необходимые меры для предотвращения поворота блока вокруг точки удара.
Точкой удара выбирается часть установленного сзади ROPS, которая скорее всего первой соприкоснется с поверхностью земли при опрокидывании трактора назад, обычно - верхнее ребро. Центр тяжести маятникового блока должен быть расположен в одной шестой ширины верхней части установленного сзади ROPS внутрь от вертикальной плоскости, параллельной средней плоскости трактора, касающейся внешнего ребра верхней части установленного сзади ROPS.
Если установленное сзади ROPS изогнуто или выступает в выбранной точке, следует использовать дополнительные элементы для обеспечения удара, так, чтобы не увеличивать ими прочность установленного сзади ROPS.
7.3.2.2 Трактор закрепляют к опорной поверхности в соответствии с
5.2.3 и
рисунком 5 тросами, натянутыми в соответствии с
5.2.7. Задние тросы должны быть расположены так, чтобы точка схождения двух тросов располагалась в вертикальной плоскости, в которой перемещается центр тяжести маятника. После натяжения тросов под задние колеса спереди, плотно прижатым к шинам, устанавливают и закрепляют на опорной поверхности упорный брус.
7.3.2.3 При испытании тракторов с шарнирно-сочлененной рамой, точка сочленения должна дополнительно поддерживаться деревянным брусом сечением не менее 100 x 100 мм, надежно закрепленным на опорной поверхности.
7.3.2.4 Маятниковый блок отклоняют назад так, чтобы центр его тяжести был расположен на высоте H, рассчитанной по одной из следующих формул:
- при массе трактора менее 2000 кг:
H = 25 + 0,07mt;
- при массе трактора 2000 до 3000 кг:
H = 125 + 0,02mt.
7.3.2.5 Для тракторов с реверсивным постом управления и двухстоечной защитной дугой следует использовать вышеуказанные формулы.
Для тракторов с реверсивным постом управления и любым другим типом установленного сзади ROPS применяют наибольшее значение высоты, рассчитанное по вышеуказанным или по следующим формулам:
H = 2,165·10-8 mt·L2
или
H = 5,73·10-2mt·I.
7.3.2.6 Маятниковый блок отпускают для нанесения удара по установленному сзади ROPS.
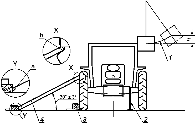
7.3.3 Испытания ударом сбоку
7.3.3.1 Трактор должен быть расположен относительно маятникового блока так, чтобы в момент удара по установленному сзади ROPS ударная поверхность маятникового блока и цепей или тросов образовывала с вертикальной плоскостью угол

равный
mt/100, но не более 20°, если в процессе деформации установленный сзади ROPS в точке удара не превысит этот угол. В этом случае, ударная поверхность блока должна быть отрегулирована с помощью дополнительных опор так, чтобы она была параллельна в точке удара в момент максимальной деформации установленного сзади ROPS, а крепежные цепи или тросы находились под указанным углом.
Высота подвески маятникового блока должна быть отрегулирована и приняты необходимые меры для предотвращения поворота блока вокруг точки удара.
Точкой удара выбирается часть установленного сзади ROPS, которая скорее всего первой соприкоснется с поверхностью земли при опрокидывании трактора вбок. Обычно - верхнее ребро. За исключением случаев, когда очевидно, что другая часть ребра соприкоснется с поверхностью земли первой, точка удара должна находиться в плоскости, расположенной под прямым углом к средней плоскости трактора в 60 мм перед SIP.
7.3.3.2 Трактор закрепляют к опорной поверхности в соответствии с
5.2.3 и
рисунком 6 тросами, натянутыми так, чтобы обеспечить указанный в
5.2.7 прогиб шин со стороны нанесения удара. Упорный брус должен быть установлен плотно прижатым к шинам со стороны, противоположной стороне нанесению удара и надежно закреплен на опорной поверхности (может быть необходимо использовать два бруса или клина, если внешние стороны передних и задних шин не находятся в одной вертикальной плоскости).
Необходимо установить деревянный упор в соответствии с
рисунком 6 между верхом обода заднего колеса и опорной поверхностью так, чтобы угол упора относительно опорной поверхности после установки составлял 30° +/- 3°. Длина упора должна быть в 20 - 25 раз больше его толщины, а ширина - в 2 - 3 раза больше толщины. Концы упора должны быть установленной формы.
7.3.3.3 При испытании тракторов с шарнирно-сочлененной рамой, точка сочленения должна дополнительно поддерживаться деревянным брусом сечением не менее 100 x 100 мм, а также поддерживаться сбоку упором, аналогичным описанному в
7.3.1 для тракторов с шарнирно-сочлененной рамой на уровне заднего колеса. Точка сочленения должна быть надежно зафиксирована относительно опорной поверхности.
7.3.3.4 Маятниковый блок отклоняют так, чтобы центр его тяжести был расположен на высоте H, рассчитанной по одной из следующих формул:
- при массе трактора менее 2000 кг:
H = 25 + 0,20mt;
- при массе трактора 2000 до 3000 кг:
H = 125 + 0,15mt.
7.3.3.5 Для тракторов с реверсивным постом управления и двухстоечной защитной дугой применяют наибольшее значение высоты, рассчитанное по вышеуказанным или по следующим формулам:
- при массе трактора менее 2000 кг:

;
- при массе трактора 2000 до 3000 кг:

.
Для тракторов с реверсивным постом управления и любым другим типом установленного сзади ROPS применяют следующие формулы:
- при массе трактора менее 2000 кг:
H = 25 + 0,20 mt;
- при массе трактора 2000 до 3000 кг:
H = 125 + 0,15mt.
Точка удара должна находиться в вертикальной плоскости, проходящей через среднюю точку между двумя SIP.
7.3.3.6 Маятниковый блок отпускают для нанесения удара по установленному сзади ROPS.
7.4 Статические испытания установленного сзади ROPS
7.4.1 Подготовка к испытаниям
7.4.1.1 Узел должен быть надежно закреплен на опорной поверхности таким образом, чтобы деформация соединяющих элементов была незначительна относительно нагружаемого ROPS. При нагружении у узла не должно быть иной опоры, кроме начальных креплений.
7.4.1.2 Регулируемую ширину колеи задних колес следует выбрать такой, чтобы во время испытаний колеса не касались ROPS.
7.4.1.3 Узел должен быть закреплен или модифицирован так, чтобы вся поглощаемая во время испытаний энергия поглощалась ROPS и его креплениями к трактору.
7.4.2 Общие требования при проведении испытаний горизонтальным нагружением
7.4.2.1 Нагрузки, приложенные к защитной конструкции, должны распределяться посредством нагружающей балки в соответствии с
5.3.2, расположенной перпендикулярно к направлению приложения нагрузки; нагружающая балка может быть оснащена средствами для предотвращения ее бокового смещения. Скорость увеличения нагрузки должна быть такой, чтобы скорость деформации не превышала 5 мм/с. Для обеспечения точности измерений силы и деформации должна проводиться непрерывная запись параметров. После начала испытания нагрузка не может быть уменьшена до завершения испытания; однако разрешается прекращение увеличения нагрузки, при необходимости, например, для записи проведенных измерений.
7.4.2.2 Если элемент конструкции, к которому прилагается нагрузка, изогнут, применяют требования
5.3.2.4. Приложение нагрузки должно соответствовать требованиям
7.4.2.1 и
5.3.2.
7.4.2.3 Если в точке приложения нагрузки нет силовых элементов ROPS, при испытании может быть использована подходящая балка, не добавляющая ROPS прочности.
7.4.3 Нагружение сзади
Нагрузку прилагают горизонтально в вертикальной плоскости, параллельной средней плоскости трактора. Точкой приложения нагрузки выбирается часть установленного сзади ROPS, которая скорее всего первой соприкоснется с поверхностью земли при опрокидывании трактора назад, обычно - верхнее ребро. Вертикальная плоскость приложения нагрузки, должна быть расположена на расстоянии 1/3 внешней ширины верхней части ROPS от средней плоскости трактора. Если установленное сзади ROPS изогнуто или выступает в выбранной точке, следует использовать дополнительные элементы для обеспечения приложения нагрузки, так, чтобы не увеличивать ими прочность установленного сзади ROPS.
Трактор или узел должны крепиться к опорной поверхности в соответствии с
5.3.1.
Энергия, поглощаемая установленным сзади ROPS во время испытаний, должна быть не менее:
Eil = 2,165·10-7 mt·L2
или
Eil = 0,574·I.
Для тракторов с реверсивным постом управления применяют или одну из вышеуказанных формул или следующую формулу:
Eil = 500 + 0,5mt.
7.4.4 Нагружение спереди
Нагрузку прилагают горизонтально в вертикальной плоскости, параллельной средней плоскости трактора. Точкой приложения нагрузки выбирается часть установленного сзади ROPS, которая скорее всего первой соприкоснется с поверхностью земли при опрокидывании трактора вбок при движении вперед, обычно - верхний угол. Вертикальная плоскость приложения нагрузки, должна быть расположена на расстоянии 1/3 внешней ширины верхней части ROPS от средней плоскости трактора. Если установленное сзади ROPS изогнуто или выступает в выбранной точке, следует использовать дополнительные элементы для обеспечения приложения нагрузки, так, чтобы не увеличивать ими прочность установленного сзади ROPS.
Трактор или узел должен крепиться к опорной поверхности в соответствии с
5.3.1.
Энергия, поглощаемая установленным сзади ROPS во время испытаний, должна быть не менее:
Eil = 500 + 0,5mt.
Для тракторов с реверсивным постом управления и двухстоечной защитной дугой применяют вышеуказанную формулу.
Для тракторов с реверсивным постом управления и любым другим типом установленного сзади ROPS применяют наибольшее значение, рассчитанное по вышеуказанной формуле или одной из следующих формул:
Eil = 2,165·10-7 mt·L2
или
Eil = 0,574·I.
Нагрузку прилагают горизонтально в вертикальной плоскости, расположенной под прямым углом к средней плоскости трактора в 60 мм перед SIP (
раздел 8 и
рисунок 9) при установке продольной регулировки сиденья в среднее положение. Точкой приложения нагрузки выбирается часть установленного сзади ROPS, которая скорее всего первой соприкоснется с поверхностью земли при опрокидывании трактора вбок, обычно - верхнее ребро.
Трактор или узел должны крепиться к опорной поверхности в соответствии с
5.3.1.
Энергия, поглощаемая установленным сзади ROPS во время испытаний, должна быть не менее:
Eis = 1,75mt.
Для тракторов с реверсивным постом управления и двухстоечной защитной дугой применяют наибольшее значение, рассчитанное по вышеуказанной или следующей формуле:

.
Для тракторов с реверсивным постом управления и любым другим типом установленного сзади ROPS применяют первую из вышеуказанных формул.
Нагрузку прилагают в вертикальной плоскости, проходящей через среднюю точку между двумя SIP.
7.5 Разрушающие испытания при нагружении сверху
Нагружающую балку располагают поперек самого верхнего элемента установленного сзади ROPS так, чтобы результирующая сила действовала в средней плоскости трактора.
Прикладывают вертикальную нагрузку Fv = 20 mt.
Нагрузку продолжают прикладывать в течение не менее 5 с после прекращения визуально заметной деформации установленного сзади ROPS. Второе нагружение сверху может быть в той же точке, что и первое.
Если задняя или передняя часть крыши ROPS не выдерживает полную нагрузку, следует прикладывать нагрузку до совпадения деформированной крыши с плоскостью, проходящей через верхнюю часть ROPS и заднюю или переднюю часть трактора, способную поддерживать массу трактора при опрокидывании. Затем прекращают прикладывать нагрузку и располагают трактор или нагружающее устройство таким образом, чтобы нагружающая балка находилась над той точкой ROPS, которая будет поддерживать трактор спереди или сзади при полном его опрокидывании, и прикладывают полную нагрузку.
7.6 Наблюдения во время испытаний
7.6.1 Трещины и разломы
После каждого испытания следует проводить визуальный осмотр всех структурных элементов, соединений и креплений на наличие трещин и разломов. Небольшие разломы незначительных элементов и любые повреждения, образовавшиеся в результате воздействия ребра маятника, могут не приниматься во внимание.
7.6.2 Зона ограничения деформации
Во время каждого испытания следует проверять, не оказалась ли любая из частей установленного сзади ROPS в зоне ограничения деформации
(раздел 9).
Дополнительно следует проверять, что ни одна из частей зоны ограничения деформации не выходит за пределы установленного сзади ROPS, что может быть в случае, когда одна из частей зоны ограничения деформации коснется плоской поверхности земли при опрокидывании трактора в направлении удара. Для этого передние и задние шины, а также колея должны быть наименьшего установленного производителем размера.
7.6.3 Остаточная деформация
После окончательных разрушающих испытаний следует записать остаточную деформацию установленного сзади ROPS. Для этого перед началом испытаний необходимо зафиксировать начальное положение основных деталей установленного сзади ROPS.
8 Контрольная точка сиденья (SIP)
Контрольную точку сиденья (SIP) определяют в соответствии с ISO 5353.
Подрессоренные сиденья должны быть настроены в соответствии с инструкциями изготовителя, при их наличии. В других случаях сиденье устанавливают в среднее положение регулировки. После установки сиденья на трактор SIP считается фиксированной точкой относительно трактора и не перемещается при регулировках сиденья в горизонтальной и вертикальной плоскостях.
9 Зона ограничения деформации
9.1 Зона ограничения деформации показана на
рисунках 10 и
11. Зона ограничения деформации определяется относительно плоскости начала отсчета и SIP. Плоскость начала отсчета - вертикальная плоскость, как правило, проходящая вдоль трактора через SIP и центр рулевого колеса. Обычно плоскость начала отсчета совпадает с продольной срединной плоскостью трактора. При нагружениях плоскость начала отсчета перемещается с сиденьем водителя и рулевым колесом, но остается перпендикулярной трактору или полу ROPS. Зона ограничения деформации определяется в соответствии с
9.2 и
9.3.
1 - SIP; 2 - плоскость начала отсчета
Размер, мм | Примечания | Размер, мм | Примечания |
A1A0 B1B0 | 100 | Минимум | K1K0 K2K0 | 250 | Минимум, или равно радиусу рулевого колеса плюс 40 мм в зависимости от того что больше |
A1A2 B1B2 C1C2 | 500 | | L1L2 | 500 |
M1M2 N1N2 Q1Q2 | 400 |
D1D2 E1E2 | 500 | Минимум, или равно радиусу рулевого колеса плюс 40 мм в зависимости от того что больше |
K0E0 | 300 |
F1F2 | 500 | | G0N0 G0H0 C0D0 E0N0 | - | В зависимости от трактора |
G1G2 | 400 |
H1H2 I1I2 | 500 |
Примечание - Другие размеры приведены на рисунке 11. |
Рисунок 10 - Размеры зоны ограничения деформации
1 - SIP; 2 - вертикальная расчетная плоскость
Рисунок 11 - Зона ограничения деформации
9.2 Зона ограничения деформации для тракторов с нереверсивным сиденьем оператора определена в приведенных ниже
перечислениях от a) до
m) и ограничена перечисленными поверхностями при нахождении трактора на горизонтальной поверхности, с сиденьем (если оно регулируемое), установленным в крайнее заднее верхнее положение <1>, и рулевой колонкой (если она регулируется), установленной в среднее положение при управлении в положении сидя:
--------------------------------
<1> Следует отметить, что SIP в соответствии с ISO 5353 определяют для сиденья, расположенного в среднем положении горизонтальной и вертикальной регулировки. SIP не перемещается с сиденьем и является фиксированной относительно трактора. Для определения зоны ограничения деформации, сиденье должно находиться в крайнем заднем верхнем положении.
a) горизонтальная поверхность (
A1 B1 B2 A2), (810 +
av) мм выше SIP, с линией
B1 B2 проходящей в (
ah - 10) мм позади SIP;
b) наклонная поверхность (
H1 H2 G2 G1), перпендикулярная к расчетной плоскости, проходящая через точку 150 мм позади линии
B1 B2 и крайнюю заднюю точку спинки сиденья;
c) цилиндрическая поверхность (
A1 A2 H2 H1), перпендикулярная к расчетной плоскости, с радиусом 120 мм, касательная к поверхностям, определенным в
a) и
b);
d) цилиндрическая поверхность (B
1 C1 C2 B2), перпендикулярная к расчетной плоскости, с радиусом 900 мм, выступающая вперед на 400 мм и касательная к поверхности, определенной в
a) вдоль линии
B1 B2;
e) наклонная поверхность (
C1 D1 D2 C2), перпендикулярная к расчетной плоскости, касающаяся поверхности, определенной в
d), и проходящая в 40 мм перед внешней передней точкой рулевого колеса. При высоком расположении рулевого колеса, поверхность продлевается вперед относительно линии
B1 B2 касательно к поверхности, определенной в
d);
f) вертикальная поверхность (D1 K1 E1 E2 K2 D2), перпендикулярная к расчетной плоскости, расположенная в 40 мм перед внешней передней точкой рулевого колеса;
g) горизонтальная поверхность (
E1 F1 P1 N1 N2 P2 F2 E2), проходящая через точку (90 -
av) мм ниже SIP;
h) поверхность (
G1 L1 M1 M2 N1 N2 L2 G2), при необходимости изогнутая, от нижнего края поверхности, определенной в
b), до горизонтальной поверхности, определенной в
g), перпендикулярная к расчетной плоскости, и контактирующая со спинкой кресла по всей длине;
i) две вертикальные поверхности (
K1 I1 F1 E1) и (
K2 I2 F2 E2), параллельные расчетной плоскости, расположенные в 250 мм по обе стороны от расчетной плоскости и ограниченные сверху расстоянием 300 мм над поверхностью, определенной в
g);
j) две наклонные параллельные поверхности (
A1 B1 C1 D1 K1 I1 L1 G1 H1) и (
A2 B2 C2 D2 K2 I2 L2 G2 H2), начинающиеся от верхнего края поверхностей, определенных в
i) и соединяющиеся с горизонтальной поверхностью, определенной в
a) не менее, чем в 100 мм от расчетной плоскости на стороне приложения нагрузки;
k) две вертикальные поверхности (
Q1 P1 N1 M1) и (
Q2 P2 N2 M2), параллельные расчетной плоскости, расположенные в 200 мм по обе стороны от расчетной плоскости и ограниченные сверху расстоянием 300 мм над поверхностью, определенной в
g);
l) две поверхности (I1 Q1 P1 F1) и (I2 Q2 P2 F2) в вертикальной плоскости, перпендикулярной расчетной плоскости и проходящей в (210 - ah) мм впереди SIP;
m) две поверхности (
I1 Q1 M1 L1) и (
I2 Q2 M2 L2) в горизонтальной плоскости, проходящей на 300 мм выше поверхности, определенной в
g).
9.3 Для тракторов с реверсивным постом управления (реверсивными сиденьем оператора и рулевым колесом) зону ограничения деформации определяют сложением зон ограничения деформации при двух положениях рулевого колеса и сиденья.
Погрешность измерений при проведении испытаний не должна превышать:
время: +/- 0,2 с;
расстояние: +/- 0,5%;
сила: +/- 1,0%;
масса: +/- 0,5%.
11.1.1 Для тракторов с шарнирно-сочлененной рамой зона ограничения деформации должна быть защищена при любом угле сочленения трактора при опрокидывании.
11.1.2 Ни одна из деталей трактора не должна оказаться в зоне ограничения деформации
(раздел 9). Ни одна из деталей трактора не должна коснуться сиденья оператора во время испытаний. Также зона ограничения деформации не должна выходить за пределы объема, защищаемого установленным сзади ROPS. В данном случае считается, что зона ограничения деформации оказалась за пределами защищаемого объема, если любая часть зоны ограничения деформации коснется плоской поверхности земли при опрокидывании трактора в направлении приложения нагрузки. Для оценки выполнения этого требования передние и задние шины, а также ширина колеи, должны быть минимального указанного производителем размера.
Примечание - Производитель трактора должен подтвердить, что снятые на время проведения испытаний ROPS другие детали трактора не представляют опасности для оператора в зоне ограничения деформации при опрокидывании.
11.1.3 Если установленное сзади ROPS заявлено изготовителем как имеющее сопротивление хрупкому разрушению при пониженных температурах, изготовитель должен предоставить данные, которые должны быть включены в протокол испытаний
(приложение A).
11.2 Требования после ударов
После ударов должны быть выполнены следующие условия:
a) В конструктивных элементах, крепежных узлах или частях трактора, влияющих на прочность установленного сзади ROPS, за исключением указанных в
c), не должно быть трещин.
b) В сварных швах, влияющих на прочность установленного сзади ROPS, или его крепежных узлах (это требование не распространяется на сварку листов обшивки) не должно быть трещин.
c) Допускается наличие энергопоглощающих разрывов на листовом металле установленного сзади ROPS, если они не значительно снижают сопротивление изгибу ROPS. Повреждения на деталях из листового металла, образовавшиеся под воздействием ребер маятникового блока не учитываются.
d) При ударе сбоку упругая деформация не должна превышать 250 мм в горизонтальной плоскости, совпадающей с верхней поверхностью зоны ограничения деформации.
11.3 Требования после статических горизонтальных нагружений
После испытаний горизонтальными нагружениями должны быть выполнены следующие условия:
a) В точках, в которых необходимая энергия проверяется при каждом горизонтальном испытании, усилие должно превышать 0,8 Fmax.
b) В случае образования после проведения испытания горизонтальным нагружением изломов, трещин и изгибания, для оценки достаточности остаточной прочности установленного сзади ROPS сопротивлению многократным опрокидываниям, следует провести испытания с перегрузкой. Испытания с перегрузкой проводят в соответствии со следующими требованиями (
рисунки 12 -
14):
1) испытания с перегрузкой должны быть выполнены, если усилие снизится более чем на 3% при последних 5% деформации, произошедшей при поглощении необходимой энергии
(рисунок 13);
2) испытания с перегрузкой являются продолжением горизонтального нагружения с последовательным увеличением поглощаемой энергии с шагом 5% исходной необходимой энергии до суммарного увеличения поглощаемой энергии на 20%
(рисунок 14);
3) испытания с перегрузкой считают успешно пройденными, если после поглощения 5%, 10% или 15% дополнительной энергии усилие уменьшается менее чем на 3% после каждого 5%-ного увеличения энергии и если его величина составляет более 0,8 Fmax;
4) испытания с перегрузкой считают успешно пройденными, если после поглощения 20% дополнительной энергии усилие превышает 0,8 Fmax;
5) при проведении испытаний с перегрузкой допускается проникновение деталей трактора в зону ограничения деформации или выход зоны ограничения деформации за пределы защищаемого установленным сзади ROPS объема. После снятия нагрузки установленное сзади ROPS не должно быть в зоне ограничения деформации и должно защищать ее.
X - деформация; Y - сила статического нагружения;
a - расположение Fa относительно 0,95D;
b - испытание с перегрузкой не требуется при Fa <= 1,03F
Рисунок 12 - График "сила статического нагружения -
деформация", испытание с перегрузкой не требуется
X - деформация; Y - сила статического нагружения;
a - расположение Fa относительно 0,95D;
b - испытание с перегрузкой не требуется при Fa > 1,03F;
c - удовлетворительные результаты испытания с перегрузкой
при Fb > 0,97F и Fb > 0,8Fmax
Рисунок 13 - График "сила статического нагружения -
деформация", требуется испытание с перегрузкой
X - деформация; Y - сила статического нагружения;
a - расположение Fa относительно 0,95D;
b - испытание с перегрузкой не требуется при Fa > 1,03F;
c - если Fb < 0,97F, то требуется дальнейшая перегрузка;
d - если Fc < 0,97Fb, то требуется дальнейшая перегрузка;
e - если Fd < 0,97Fc, то требуется дальнейшая перегрузка;
f - удовлетворительный результат испытаний
при Fe > 0,8 Fmax; g - сбой на любом этапе
при падении нагрузки ниже 0,8 Fmax
Рисунок 14 - График "сила статического нагружения -
деформация" продолжительного испытания с перегрузкой
11.4 Дополнительное разрушающее испытание
Если во время разрушающего испытания образуются изломы или разрывы, которые не могут рассматриваться как незначительные, то сразу после окончания испытания необходимо провести еще одно аналогичное испытание, но с приложением силы 1,2Fv.
12 Распространение результатов испытаний на другие модели тракторов
Если ROPS соответствует условиям приемки
(раздел 11) и разработано для использования на разных моделях тракторов, то необязательно проводить испытания в соответствии с
разделом 7 для каждой модели трактора, если трактор и ROPS удовлетворяют следующим условиям, и в протоколе испытаний есть ссылка на предыдущий протокол испытаний:
a) расчетная энергия трактора не должна превышать расчетную энергию трактора, на котором проводились испытания, более чем на 5%;
b) метод крепления и детали трактора, к которым крепится ROPS, должны быть идентичны или иметь эквивалентную прочность;
c) любые элементы трактора (например, крылья и капот), которые могут обеспечивать поддержку ROPS, должны быть идентичны или расцениваться как создающие аналогичное усиление;
d) расположение и размеры сиденья, а также положение установленного сзади ROPS должны обеспечивать нахождение зоны ограничения деформации внутри защищаемого ROPS объема, с учетом деформаций ROPS во время всех испытаний.
При необходимости маркировки на основном элементе конструкции установленного сзади ROPS должна быть прочно и несъемно закреплена легко читаемая табличка. Табличка должна быть защищена от повреждений и должна содержать, как минимум, следующие данные:
a) наименование и адрес изготовителя или разработчика ROPS;
b) номер (производственный или серийный) ROPS;
c) марку трактора, модель(и) или серийный(е) номер(а) для которого(ых) разработано ROPS;
d) ссылку на настоящий стандарт, подтверждающую соответствие стандарту.
Протокол испытаний должен содержать, как минимум, данные, приведенные в приложении B.
(обязательное)
ТРЕБОВАНИЯ ПО ОБЕСПЕЧЕНИЮ СОПРОТИВЛЕНИЯ КОНСТРУКЦИИ
УСТАНОВЛЕННОГО СЗАДИ ROPS ХРУПКОМУ РАЗРУШЕНИЮ
ПРИ ПОНИЖЕННОЙ ТЕМПЕРАТУРЕ
A.1 Требования и процедура испытаний направлены на обеспечение прочности и сопротивления хрупкому разрушению при низких температурах. Указанные минимальные требования к материалам должны соблюдаться при оценке пригодности ROPS к эксплуатации при низких температурах при работе в странах, в которых должны соблюдаться эти дополнительные требования. Сопротивление хрупкому разрушению при низких температурах также может быть подтверждено результатами динамических испытаний, приведенных в настоящем стандарте, при температуре минус 18 °C или ниже. При испытаниях этим методом, до начала динамических испытаний, защитные конструкции и монтажное оборудование должны быть охлаждены до температуры минус 18 °C или ниже.
В некоторых странах соблюдение требований этого приложения является обязательным. В
таблице A.1 приведена часть перечня этих стран.
Таблица A.1
Страны, в которых обязательно использование
метода, приведенного в приложении A
Страна | Код страны |
Канада | CA |
Соединенные Штаты Америки | US |
A.2 Болты, применяемые для крепления ROPS к раме трактора и соединяющие элементы ROPS между собой, должны иметь класс прочности 8.8, 9.8 или 10.9 (в соответствии с ИСО 898-1:1999), а гайки - класс прочности 8, 9 или 10 (в соответствии с ИСО 898-2:1992).
A.3 Сварочные электроды, используемые при изготовлении структурных элементов конструкции и испытательного склона, должны быть совместимыми с материалами ROPS в соответствии с
A.4.
A.4 Сталь для изготовления конструктивных элементов ROPS должна соответствовать требованиям минимальной ударной вязкости по методу Шарпи с V-образным надрезом, указанной в
таблице A.2.
Для конструктивных элементов ROPS, которые находятся в состоянии плоского напряжения, или скорость деформации которых настолько низка, что исключает вероятность хрупкого разрушения в случае опрокидывания трактора при низких температурах, подтверждение соответствия указанному требованию не требуется.
Примечание - Стальной прокат толщиной менее 2,5 мм с содержанием углерода менее 0,2% считается соответствующим этому требованию.
Конструктивные элементы ROPS из других материалов (кроме стали) должны иметь эквивалентную ударопрочность при низкой температуре. Образцы для испытаний должны быть "продольными" и вырезаны из прокатного профиля (трубчатого или коробчатого) до его гибки и сварки элементов ROPS. Образцы из трубчатых или коробчатых профилей должны быть вырезаны из середины наибольшей стороны и не содержать сварных швов.
A.5 Испытания по методу Шарпи с V-образным надрезом проводят в соответствии с требованиями ASTM A370 <1>, за исключением требований к размерам образцов, указанным в
таблице A.2.
--------------------------------
<1> Ссылка на ASTM A370 подлежит замене при выпуске соответствующего международного стандарта.
A.6 Альтернативой этому испытанию является использование раскисленных или полураскисленных сталей, с предоставлением технических характеристик.
Таблица A.2
Минимальная ударная вязкость по методу Шарпи
с V-образным надрезом для образцов материалов ROPS
при температуре образцов минус 20 °C и минус 30 °C
Размер образца, мм | Поглощаемая энергия, Дж при температуре |
минус 30 °C | |
| 11 | 27,5 |
10 x 9 | 10 | 25 |
10 x 8 | 9,5 | 24 |
| 9,5 | 24 |
10 x 7 | 9 | 22,5 |
10 x 6,7 | 8,5 | 21 |
10 x 6 | 8 | 20 |
| 7,5 | 19 |
10 x 4 | 7 | 17,5 |
10 x 3,3 | 6 | 15 |
10 x 3 | 6 | 15 |
| 5,5 | 14 |
<a> Указаны рекомендуемые размеры. Размер образца должен быть не меньше самого большого рекомендуемого размера, допускаемого материалом. <b> При минус 20 °C поглощаемая энергия в 2,5 раза больше, чем при минус 30 °C. Другие факторы, влияющие на ударную энергию: направление проката, устойчивость к деформации, текстура и сварка. Эти факторы должны учитываться при выборе и использовании стали. |
(обязательное)
ПРОТОКОЛ ИСПЫТАНИЙ УСТАНОВЛЕННОГО СЗАДИ ROPS
B.1 Общие данные
Согласно ИСО 1000
[2], в протоколе должна быть указана следующая информация, а также, при необходимости, может быть указана информация, требуемая в отдельных странах:
- наименование и адрес изготовителя ROPS:
- кем ROPS представлен для испытаний;
- место изготовления ROPS;
- модель ROPS;
- тип ROPS (кабина, каркас, задняя защитная дуга, кабина с встроенным каркасом и т.д);
- дата и место проведения испытаний.
B.2 Технические характеристики трактора
B.2.1 Идентификация трактора, на котором установлено ROPS
B.2.1.1 Общее описание:
марка трактора <1>;
--------------------------------
<1> Возможно отличие от наименования производителя тракторов.
модель (торговая марка);
тип: [с двумя или четырьмя ведущими колесами, с резиновыми или стальными гусеницами (при наличии), с четырьмя ведущими колесами и шарнирно-сочлененной рамой, с четырьмя сдвоенными ведущими колесами и шарнирно-сочлененной рамой (при наличии)].
B.2.1.2 Номера:
- первый серийный номер или прототип;
- серийный номер.
B.2.1.3 Прочие технические характеристики (если есть):
- наименование модели в других странах;
- тип трансмиссии и количество передач;
- исполнение по максимальной скорости: 30, 40 км/ч или другое;
- идентификация производителя или артикул.
B.2.2 Масса трактора
Приходящаяся на переднюю ось | кг |
Приходящаяся на заднюю ось | кг |
Общая | кг |
- расчетная масса для расчета поглощаемой энергии и разрушающей силы, кг.
B.2.3 Колесная база и момент инерции:
- колесная база трактора, мм;
- момент инерции для расчета энергии при ударе сзади, кг·м2.
B.2.4 Ширина колеи и размер шин
| Минимальная колея, мм | Шины |
Размер, мм | Диаметр, мм | Давление, кПа |
Спереди | | | | |
Сзади | | | | |
B.2.5 Сиденье оператора
Наличие на тракторе реверсивного поста управления (реверсивное сиденье и рулевое колесо), да/нет;
марка/тип/модель сиденья;
марка/тип/модель сменных сидений и расположение контрольных точек сидений (SIP):
(Описание сиденья 1 и SIP)
(Описание сиденья 2 и SIP)
(Описание сиденья ... и SIP)
B.3 Технические характеристики ROPS
B.3.1 Фотографии ROPS сбоку и сзади, показывающие элементы крепления, включая брызговики.
B.3.2 Компоновочный чертеж ROPS сбоку и сзади, с указанием расположения контрольной точки сиденья (SIP) и элементов крепления.
B.3.3 Краткое описание устройства защиты:
- тип конструкции;
- элементы крепления;
- элементы обшивки и обивки;
- средства доступа и выхода.
B.3.4 Поворотная или не поворотная/складная или не складная конструкция
B.3.5 Размеры
Во время измерений сиденье должно быть нагружено в соответствии с ISO 5353 для определения расположения SIP, и затем отрегулировано в соответствии с требованиями
раздела 9 для определения зоны ограничения деформации.
Если трактор оснащен различными сменными сиденьями или реверсивным постом управления (реверсивное сиденье и рулевое колесо), то размеры относительно SIP определяют для каждого случая (SIP 1, SIP 2 и т.д.):
- высота элементов крыши над SIP: мм;
- высота элементов крыши над полом трактора: мм;
- внутренняя ширина ROPS на уровне (810 + av) над SIP: мм;
- внутренняя ширина ROPS вертикально над SIP на уровне центра рулевого колеса: мм;
- расстояние от центра рулевого колеса до правой стороны ROPS: мм;
- расстояние от центра рулевого колеса до левой стороны ROPS: мм;
- минимальное расстояние от обода рулевого колеса до ROPS: мм;
- ширина дверных проемов:
- вверху: мм;
- посередине: мм;
- внизу: мм.
- высота дверного проема: мм;
- от пола трактора: мм;
- от верхней ступеньки системы доступа, мм;
- от нижней ступеньки системы доступа: мм.
- общая высота трактора с установленным ROPS: мм;
- общая ширина ROPS (следует указать, учитываются ли брызговики): мм;
- расстояние по горизонтали от SIP до задней стороны ROPS на высоте (810 + av) над SIP: мм;
- расположение (относительно задней оси) передней части трактора, способной поддерживать трактор при опрокидывании (при необходимости)
- расстояние по горизонтали: мм;
- расстояние по вертикали: мм.
B.3.6 Описание материалов, используемых для изготовления устройства защиты при опрокидывании и технические требования к используемой стали
Технические требования к стали должны соответствовать ИСО 630.
- основная структура (элементы - материалы - размеры):
- тип стали (кипящая, спокойная, полуспокойная);
- стандарт, по которому изготовлена сталь, и ссылка на него.
- крепления (элементы - материал - размеры):
- тип стали (кипящая, раскисленная, полураскисленная);
- стандарт, по которому изготовлена сталь, и ссылка на него.
- сборочные и крепежные болты (элементы, размеры);
- крыша (элементы, материал, размеры);
- облицовка (элементы, материал, размеры);
- остекление (тип, класс, размеры).
B.3.7 Описание изменений, внесенных в конструкцию готовых деталей изготовителем трактора.
B.4 Результаты испытаний
B.4.1 Испытания на удар и на сжатие
B.4.1.1 Условия испытаний
Испытания ударом проведены:
- сзади (слева/справа);
- спереди (справа/слева);
- сбоку (справа/слева).
Расчетная масса для расчета прилагаемой энергии и сил: кг.
Прилагаемая энергия и силы:
- сзади: кДж;
- спереди: кДж;
- сбоку: кДж;
- разрушающая сила: кН;
- при дополнительном испытании с перегрузкой: кН.
B.4.1.2 Остаточная деформация после испытаний
Остаточная деформация ROPS после завершения испытаний:
- сзади (вперед/назад): мм;
- слева: мм;
- справа: мм.
- спереди (вперед/назад):
- слева: мм;
- справа: мм.
- сбоку (влево/вправо):
- спереди: мм;
- сзади: мм.
- сверху (вверх/вниз):
- сзади:
- слева: мм;
- справа: мм.
- спереди:
- слева: мм;
- справа: мм.
Разница между полной деформацией и остаточной деформацией (упругая деформация) при ударе сбоку: мм.
Заключение: условия приемки, относящиеся к зоне ограничения деформации, выполнены. Конструкция ROPS соответствует требованиям данной части ISO 12003.
B.4.2 Статическое нагружение и разрушающие испытания
B.4.2.1 Условия проведения испытаний
Нагружение приложено:
- сзади слева/справа;
- спереди справа/слева;
- сбоку справа/слева.
Масса, используемая для расчета энергии нагружения и разрушающей силы: кг.
Применяемые энергия и силы:
- сзади: кДж;
- спереди: кДж;
- сбоку: кДж;
- разрушающая сила: кН.
B.4.2.2 Измерение остаточных деформаций после проведения испытания
Остаточные деформации на крайних точках защитной структуры, измеренные после проведения испытаний.
Сзади (вперед/назад):
- слева: мм;
- справа: мм;
Спереди (вперед/назад):
- слева: мм;
- справа: мм.
Сбоку (слева/справа):
- спереди: мм;
- сзади: мм;
Сверху (вверх/вниз):
- сзади:
- слева: мм;
- справа: мм.
- спереди:
- слева: мм;
- справа: мм.
Разница между полной мгновенной и остаточной деформацией: при боковом ударе (динамические испытания): мм.
Заключение: условия приемки, относящиеся к зоне ограничения деформации, выполнены. Конструкция ROPS соответствует требованиям настоящего стандарта.
B.4.2.3 Графики (только статические испытания)
Должны быть приложены копии графиков нагрузка/деформация, полученные во время испытаний.
При испытаниях горизонтальным нагружением с перегрузкой должна быть указана причина проведения испытаний с перегрузкой и приложены копии графиков нагрузка/деформация при перегрузке.
B.4.3 Стойкость при низкой температуре (сопротивление хрупкому разрушению)
Метод определения сопротивления хрупкому разрушению при низкой температуре:
Технические требования к стали должны соответствовать ИСО 630.
Технические характеристики стали: (ссылка на соответствующий стандарт).
Таблица B.1
Тракторы, предназначенные для установки ROPS
Производитель, модель, тип | Количество ведущих колес | Масса | Отклоняется | Колесная база | Мин. колея | Ссылочный номер испытания |
Передняя | Задняя | Общая |
2/4 WD | кг | кг | кг | Да/нет | мм | мм |
| | | | | | | | |
| | | | | | | | |
| | | | | | | | |
B.5 Сертификат незначительных модификаций:
- номер протокола испытаний на соответствие требованиям ISO 12003-2;
- копия или оригинал протокола испытаний;
- дата и место проведения испытаний;
- дата утверждения;
- ссылочный номер модификации: MOD
Предыдущее утверждение модификации (MOD.........) действительно/не действительно.
B.5.1 Технические характеристики ROPS:
- кабина или каркас;
- изготовитель;
- кем представлен для испытаний;
- марка;
- модель;
- тип;
- серийный номер, начиная с которого применяется модификация.
B.5.2 Наименование тракторов, на которые устанавливается ROPS
Марка и модель | Число ведущих колес | Ссылка-номер |
| | |
| | |
| | |
B.5.3 Модификации
После составления протокола испытаний были осуществлены следующие модификации:
..............................
..............................
..............................
B.5.4 Заключение
Было рассмотрено влияние модификаций на прочность защитной конструкции.
Установлено, что модификации не влияют на результаты ранее проведенных испытаний.
Протокол ранее проведенных испытаний считается применяемым к модифицированным тракторам.
Данное заключение подписывается лицом, проводившим испытания, и прикладывается как приложение к протоколу ранее проведенных испытаний.
Подпись:
Дата: Место проведения испытаний.
(справочное)
СВЕДЕНИЯ О СООТВЕТСТВИИ ССЫЛОЧНЫХ МЕЖДУНАРОДНЫХ СТАНДАРТОВ
МЕЖГОСУДАРСТВЕННЫМ СТАНДАРТАМ
Таблица ДА.1
Обозначение ссылочного международного стандарта | Степень соответствия | Обозначение и наименование соответствующего межгосударственного стандарта |
ISO 630 (все части) | - | |
ISO 898-1:1999 | - | ГОСТ ISO 898-1-2014 "Механические свойства крепежных изделий из углеродистых и легированных сталей. Часть 1. Болты, винты и шпильки установленных классов прочности с крупным и мелким шагом резьбы" |
ISO 898-2:1992 | - | ГОСТ ISO 898-2-2015 "Механические свойства крепежных изделий из углеродистых и легированных сталей. Часть 2. Гайки установленных классов прочности с крупным и мелким шагом резьбы" |
ISO 2408 | - | ГОСТ ISO 2408-2015 "Канаты стальные проволочные общего назначения. Минимальные требования" |
ISO 5353:1995 | IDT | ГОСТ ИСО 5353-2003 "Машины землеройные, тракторы и машины для сельскохозяйственных работ и лесоводства. Контрольная точка сиденья" <1> |
ASTM A370 | - | |
<*> Соответствующий межгосударственный стандарт отсутствует. До его утверждения рекомендуется использовать перевод на русский язык данного международного стандарта. Перевод данного международного стандарта находится в Федеральном информационном фонде технических регламентов и стандартов. Примечание - В настоящей таблице использовано следующее условное обозначение степени соответствия стандартов: - IDT - идентичные стандарты. |
--------------------------------
<1> На территории Российской Федерации действует
ГОСТ Р ИСО 5353-2012 "Машины землеройные, тракторы и машины для сельского и лесного хозяйства. Контрольная точка сиденья".
| ISO 612:1978 | Транспорт дорожный. Размеры автомобилей и тягачей с прицепами. Термины и определения |
| ISO 1000 | Единицы СИ и рекомендации по применению кратных дольных от них и некоторых других единиц + Amd. 1 1998 |
[3] | OECD стандарт, Код 7 | Стандарт OECD для официального испытания устройств, установленных сзади для защиты при опрокидывании узкоколейных сельскохозяйственных и лесохозяйственных тракторов |