Главная // Актуальные документы // ГОСТ (Государственный стандарт)СПРАВКА
Источник публикации
М.: Стандартинформ, 2017
Примечание к документу
Документ включен в
Перечень международных и региональных (межгосударственных) стандартов, а в случае их отсутствия - национальных (государственных) стандартов, в результате применения которых на добровольной основе обеспечивается соблюдение требований технического
регламента Таможенного союза "О безопасности колесных транспортных средств" (ТР ТС 018/2011), и в
Перечень международных и региональных (межгосударственных) стандартов, а в случае их отсутствия - национальных (государственных) стандартов, содержащих правила и методы исследований (испытаний) и измерений, в том числе правила отбора образцов, необходимые для применения и исполнения требований технического
регламента Таможенного союза "О безопасности колесных транспортных средств" (ТР ТС 018/2011) и осуществления оценки соответствия объектов технического регулирования (
Решение Коллегии Евразийской экономической комиссии от 25.12.2018 N 219).
Текст данного документа приведен с учетом
поправки, опубликованной в "ИУС", N 2, 2020.
Документ
введен в действие с 1 февраля 2018 года.
Название документа
"ГОСТ 33989-2016. Межгосударственный стандарт. Мототранспортные средства трех- и четырехколесные. Устройства освещения и световой сигнализации. Технические требования и методы испытаний"
(введен в действие Приказом Росстандарта от 20.06.2017 N 565-ст)
"ГОСТ 33989-2016. Межгосударственный стандарт. Мототранспортные средства трех- и четырехколесные. Устройства освещения и световой сигнализации. Технические требования и методы испытаний"
(введен в действие Приказом Росстандарта от 20.06.2017 N 565-ст)
агентства по техническому
регулированию и метрологии
от 20 июня 2017 г. N 565-ст
МЕЖГОСУДАРСТВЕННЫЙ СТАНДАРТ
МОТОТРАНСПОРТНЫЕ СРЕДСТВА ТРЕХ- И ЧЕТЫРЕХКОЛЕСНЫЕ
УСТРОЙСТВА ОСВЕЩЕНИЯ И СВЕТОВОЙ СИГНАЛИЗАЦИИ.
ТЕХНИЧЕСКИЕ ТРЕБОВАНИЯ И МЕТОДЫ ИСПЫТАНИЙ
Three and four-wheeled vehicles.
Lighting and light-signalling devices.
Technical requirements and test methods
ГОСТ 33989-2016
Дата введения
1 февраля 2018 года
Цели, основные принципы и основной порядок проведения работ по межгосударственной стандартизации установлены в
ГОСТ 1.0-2015 "Межгосударственная система стандартизации. Основные положения" и
ГОСТ 1.2-2015 "Межгосударственная система стандартизации. Стандарты межгосударственные, правила и рекомендации по межгосударственной стандартизации. Правила разработки, принятия, обновления и отмены"
1 РАЗРАБОТАН Федеральным государственным унитарным предприятием "Центральный ордена Трудового Красного Знамени научно-исследовательский автомобильный и автомоторный институт "НАМИ" (ФГУП "НАМИ"), Автономной некоммерческой организацией "ЦЕНТР-инженеринг"
2 ВНЕСЕН Межгосударственным техническим комитетом по стандартизации МТК 56 "Дорожный транспорт"
3 ПРИНЯТ Межгосударственным советом по стандартизации, метрологии и сертификации (протокол от 25 октября 2016 г. N 92-П)
За принятие проголосовали:
Краткое наименование страны по МК (ИСО 3166) 004-97 | Код страны по МК (ИСО 3166) 004-97 | Сокращенное наименование национального органа по стандартизации |
Беларусь | BY | Госстандарт Республики Беларусь |
Грузия | GE | Грузстандарт |
Казахстан | KZ | Госстандарт Республики Казахстан |
Киргизия | KG | Кыргызстандарт |
Россия | RU | Росстандарт |
Таджикистан | TJ | Таджикстандарт |
Узбекистан | UZ | Узстандарт |
Украина | UA | Минэкономразвития Украины |
4
Приказом Федерального агентства по техническому регулированию и метрологии от 20 июня 2017 г. N 565-ст межгосударственный стандарт ГОСТ 33989-2016 введен в действие в качестве национального стандарта Российской Федерации с 1 февраля 2018 г.
5 ВВЕДЕН ВПЕРВЫЕ
Информация об изменениях к настоящему стандарту публикуется в ежегодном информационном указателе "Национальные стандарты", а текст изменений и поправок - в ежемесячном информационном указателе "Национальные стандарты". В случае пересмотра (замены) или отмены настоящего стандарта соответствующее уведомление будет опубликовано в ежемесячном информационном указателе "Национальные стандарты". Соответствующая информация, уведомление и тексты размещаются также в информационной системе общего пользования - на официальном сайте Федерального агентства по техническому регулированию и метрологии в сети Интернет (www.gost.ru)
Настоящий стандарт распространяется на трех- и четырехколесные транспортные средства (далее - ТС) категорий L
2, L
4, L
5, L
6, L
7 в соответствии со Сводной резолюцией
[1].
Настоящий стандарт устанавливает общие технические требования к количеству, цвету, расположению, углам геометрической видимости устройств освещения и световой сигнализации, устанавливаемых на трех- и четырехколесных ТС, а также методы их испытаний.
В настоящем стандарте использованы нормативные ссылки на следующий межгосударственный стандарт:
ГОСТ 33557-2015 Автомобильные транспортные средства. Документальное оформление результатов испытаний на соответствие требованиям технических регламентов
Примечание - При пользовании настоящим стандартом целесообразно проверить действие ссылочных стандартов в информационной системе общего пользования - на официальном сайте Федерального агентства по техническому регулированию и метрологии в сети Интернет или по ежегодному информационному указателю "Национальные стандарты", который опубликован по состоянию на 1 января текущего года, и по выпускам ежемесячного информационного указателя "Национальные стандарты" за текущий год. Если ссылочный стандарт заменен (изменен), то при пользовании настоящим стандартом следует руководствоваться заменяющим (измененным) стандартом. Если ссылочный стандарт отменен без замены, то положение, в котором дана ссылка на него, применяется в части, не затрагивающей эту ссылку.
В настоящем стандарте применены следующие термины с соответствующими определениями:
3.1 тип ТС в отношении установки устройств освещения и световой сигнализации: ТС, не имеющие между собой различий в отношении существенных аспектов: размеров и внешней формы ТС, числа и размещения устройств.
Примечание - ТС другого типа не считают те, которые отличаются в отношении требований, упомянутых выше, но не настолько, чтобы это могло повлечь изменение вида, числа, размещения и геометрической видимости огней и наклона луча ближнего света, предусмотренных для ТС данного типа, а также ТС, на которых установлены или отсутствуют факультативные огни.
3.2 поперечная плоскость: Вертикальная плоскость, перпендикулярная среднему продольному сечению ТС.
3.3 порожнее (снаряженное) ТС: ТС без водителя, экипажа, пассажиров и груза, но с полным запасом топлива, запасным колесом и штатным комплектом инструментов.
3.4 груженое ТС: ТС, нагруженное до технически допустимой максимальной массы, указанной изготовителем, который устанавливает также распределение этой массы по осям.
3.5 компоненты ТС: Составные части конструкции ТС, поставляемые на сборочное производство ТС и (или) в качестве сменных (запасных) частей для ТС, находящихся в эксплуатации.
3.6 устройство: Компонент или сочетание компонентов, используемых для выполнения одной или нескольких функций.
3.7 огонь: Устройство, предназначенное для освещения дороги или подачи светового сигнала другим участникам дорожного движения.
Примечание - Фонари заднего номерного знака и светоотражающие устройства также считают огнями.
3.8 источник света: Один или более элементов для генерирования видимого излучения, которые могут использоваться в сборе с одной или более прозрачными оболочками и цоколем для механического крепежа деталей и электрического соединения.
3.9 эквивалентные огни: Огни, выполняющие одну и ту же функцию и разрешенные в стране, в которой зарегистрировано ТС; эти огни по своим характеристикам должны удовлетворять требованиям настоящего стандарта.
3.10 независимые огни: Устройства, имеющие разные освещающие поверхности, разные источники света и разные корпуса.
3.11 сгруппированные огни: Устройства, имеющие отдельные освещающие поверхности, источники света, но общий корпус.
Примечание - В случае устройств освещения заднего номерного знака следует применять термин "светоизлучающая поверхность".
3.12 комбинированные огни: Устройства, имеющие отдельные освещающие поверхности, но общий источник света и корпус.
Примечание - В случае устройств освещения заднего номерного знака следует применять термин "светоизлучающая поверхность".
3.13 совмещенные огни: Устройства с разными или единым источниками света, работающие в различных режимах (например, оптическом, механическом или электрическом), имеющие полностью или частично общие освещающие поверхности и общий корпус.
3.14 фара дальнего света: Огонь, предназначенный для освещения дороги на большом расстоянии спереди ТС.
3.15 фара ближнего света: Огонь, предназначенный для освещения дороги спереди ТС таким образом, чтобы не ослеплять и не причинять неудобства водителям встречных ТС и другим участникам дорожного движения.
3.16 указатель поворота: Огонь, предназначенный для сигнализации другим участникам дорожного движения о намерении водителя изменить направления движения вправо или влево.
3.17 сигнал торможения: Огонь, предназначенный для сигнализации другим участникам дорожного движения, находящимся сзади ТС, о преднамеренном замедлении продольного движения ТС.
3.18 фонарь освещения заднего номерного знака: Устройство, которое служит для освещения места, предназначенного для заднего номерного знака, и которое может состоять из нескольких оптических элементов.
3.19 передний габаритный огонь: Огонь, используемый для сигнализации наличия ТС, если на него смотреть спереди.
3.20 задний габаритный огонь: Огонь, используемый для сигнализации наличия ТС, если на него смотреть сзади.
3.21 светоотражающее устройство: Устройство, предназначенное для сигнализации наличия ТС посредством отражения света, излучаемого источником, не связанным с этим ТС, для наблюдателя, находящегося вблизи этого источника света.
Примечание - Для целей настоящего стандарта светоотражающими устройствами не считают: светоотражающие номерные знаки, светоотражающие указатели, упоминаемые в Европейском
соглашении [2], прочие светоотражающие таблички и знаки, которые должны использоваться в целях соответствия с национальными требованиями в отношении определенных категорий ТС или определенных видов операций.
3.22 аварийный сигнал: Одновременное включение всех указателей поворота в целях сигнализации об особой опасности, которую представляет в данный момент ТС для других пользователей дороги.
3.23 передняя противотуманная фара: Огонь, предназначенный для улучшения освещенности дороги в условиях тумана, снегопада, ливня или пылевой бури.
3.24 задний противотуманный огонь: Огонь, предназначенный для улучшения видимости ТС сзади в густом тумане.
3.25 задняя фара: Огонь, предназначенный для освещения дороги сзади ТС и подачи предупреждающего сигнала другим пользователям дороги при движении или приведении ТС в состояние движения задним ходом.
3.26 дневной ходовой огонь: Огонь, ориентированный по направлению движения вперед и используемый для обеспечения лучшей видимости ТС при передвижении в дневное время.
3.27
светоизлучающая поверхность устройства освещения, устройства световой сигнализации или светоотражающего устройства: Вся внешняя поверхность светопропускающего материала или ее часть, указываемая изготовителем устройства на чертеже, прилагаемом к заявке на испытания (приложение А,
рисунок А.1).
3.28 освещающая поверхность светотехнического устройства: Ортогональная проекция полной апертуры отражателя или (в случае фар с эллипсоидным отражателем) "рассеивателя" на поперечную плоскость.
Примечания
1 Если устройство освещения не имеет отражателя, то применяется определение по
3.29. Если светоиспускающая поверхность огня перекрывает только часть полной апертуры отражателя, учитывается проекция только этой части.
2 Для фары ближнего света освещающая поверхность ограничивается видимой проекцией светотеневой границы на рассеивателе. Если расположение отражателя и рассеивателя регулируется относительно друг друга, то используется среднее положение регулировки.
3.29
освещающая поверхность устройства световой сигнализации, не являющегося светоотражающим устройством: Ортогональная проекция огня на плоскость, перпендикулярную к его исходной оси и соприкасающуюся с внешней светоизлучающей поверхностью огня, причем эта поверхность ограничивается краями экранов, пересекающих эту плоскость, каждый из которых позволяет сохранять внутри этой поверхности только 98% общей силы света в направлении исходной оси.
Примечание - Для определения нижней, верхней и боковых границ освещающей поверхности используются лишь экраны с горизонтальными и вертикальными краями.
3.30 освещающая поверхность светоотражающего устройства: Ортогональная проекция светоотражающего устройства на плоскость, перпендикулярную к его исходной оси, ограничиваемая плоскостями, соприкасающимися с крайними частями оптической системы светоотражающего устройства и параллельными этой оси.
Примечание - Для целей определения нижнего, верхнего и боковых краев устройства используют лишь горизонтальные и вертикальные плоскости.
3.31 видимая поверхность, в определенном направлении наблюдения: Ортогональная проекция либо:
- границы освещающей поверхности, проецируемой на внешнюю поверхность рассеивателя (a-b);
- границы светоизлучающей поверхности (c-d) в плоскости, перпендикулярной направлению наблюдения и касательной в крайней внешней точке рассеивателя
(приложение А).
3.32
исходная ось: Характерная ось огня, определяемая предприятием - изготовителем огня, проходящая через фокусный центр фары с координатами
H = 0°,
V = 0° и служащая исходной осью отсчета для углов геометрической видимости
(рисунок А.1) при фотометрических измерениях и установке на ТС.
3.33 исходный центр: Точка пересечения исходной оси с наружным контуром светоизлучающей поверхности огня; эта точка указывается изготовителем устройства.
3.34
углы геометрической видимости: Углы, определяющие зону минимального телесного угла, в которой должна быть видна видимая поверхность огня.
Примечания
1 Эта зона определяется сегментами сферы, центр которой совпадает с исходным центром огня, а экватор параллелен уровню опорной поверхности. Эти сегменты определяются в отношении к исходной оси. Горизонтальные углы

соответствуют долготе, а вертикальные углы

- широте. С внутренней стороны углов геометрической видимости не должно быть препятствий для распространения света из какой-либо части видимой поверхности огня, наблюдаемого из бесконечно удаленной точки.
2 Если измерения проводят на более близком расстоянии от огня, то направление наблюдения должно быть смещено параллельно, чтобы добиться такой же точности.
3 С внутренней стороны углов не учитывают препятствия, которые уже существовали на дату проведения испытания огня по типу конструкции.
4 Если при установленном огне какая-либо часть его видимой поверхности закрыта другими частями ТС, то необходимо представить доказательства, что часть огня, незакрытая препятствиями, по-прежнему соответствует фотометрическим параметрам, предусмотренным для испытания данного устройства
(приложение А). Однако в случаях, когда вертикальный угол геометрической видимости ниже горизонтальной линии может быть уменьшен до 5° (огонь, расположенный ниже 750 мм над уровнем опорной поверхности), поле фотометрических измерений установленного оптического элемента может быть уменьшено до 5° ниже горизонтальной линии.
3.35
край габаритной ширины с каждой стороны ТС: Плоскость, параллельная средней продольной плоскости ТС, касающаяся его бокового края, без учета выступа или выступов, образуемых:
- шинами вблизи от точки их соприкосновения с землей и подсоединений указателей давления в шинах;
- приспособлениями противоскольжения, которые могут быть установлены на колесах;
- зеркалами заднего вида;
- боковыми указателями поворота, контурными огнями, передними и задними габаритными огнями, светоотражающими устройствами;
- пломбами, накладываемыми таможенными органами на ТС, и приспособлениями для крепления и защиты этих пломб.
3.36
габаритная ширина: Расстояние между обеими вертикальными плоскостями, определенными в
3.35.
3.37 одиночный огонь: Устройство или часть устройства, выполняющие одну функцию освещения или световой сигнализации, один или более источников света и одну видимую поверхность в направлении исходной оси, которая либо может быть непрерывной поверхностью, либо может состоять из двух или более различных частей; или любой блок из двух независимых огней, как идентичных, так и неидентичных, которые выполняют одинаковую функцию и установлены таким образом, что проекция их видимых поверхностей в направлении исходной оси занимает не менее 60% наименьшего прямоугольника, описанного вокруг проекции вышеупомянутых видимых поверхностей в направлении исходной оси.
3.38 расстояние между двумя огнями, направленными в одну сторону: Минимальное расстояние между двумя поверхностями, видимыми в направлении исходной оси.
3.39 контрольный сигнал: Световой или звуковой сигнал, указывающий, что устройство приведено в действие и правильно или неправильно функционирует.
3.40 факультативный огонь: Огонь, установка которого производится по усмотрению изготовителя ТС.
3.41 опорная поверхность: Плоская и горизонтальная поверхность, на которой расположено ТС.
4 Общие технические требования
4.1 Устройства освещения и световой сигнализации должны быть установлены таким образом, чтобы при условиях нормальной эксплуатации и вибрации, которой они могут подвергаться, сохранять характеристики, предписанные настоящим стандартом, и чтобы ТС удовлетворяло требованиям настоящего стандарта. В частности, должна быть исключена возможность случайного нарушения регулировки этих устройств.
4.2 Огни для освещения должны быть установлены таким образом, чтобы можно было легко регулировать направления световых лучей.
4.3 Исходные оси всех установленных на ТС устройств световой сигнализации должны быть параллельны опорной плоскости ТС. Кроме того, для боковых светоотражающих устройств эти оси должны быть перпендикулярны к средней продольной плоскости ТС, а для всех других устройств сигнализации - параллельны ей.
В каждом направлении разрешается допуск, равный +/- 3°. Кроме того, должны соблюдаться конкретные технические условия на установку, если таковые предусмотрены изготовителем ТС.
4.4 При отсутствии особых указаний высоту, расположение и ориентировку огней проверяют на снаряженном ТС, расположенном на опорной поверхности; причем средняя продольная плоскость ТС должна быть расположена вертикально, а рулевое управление должно находиться в положении для движения вперед. Давление в шинах должно соответствовать предписанному изготовителем.
4.5 При отсутствии особых указаний огни одной и той же пары, имеющие одинаковое назначение, должны:
- устанавливаться на ТС симметрично по отношению к средней продольной плоскости (за исключением ТС категории L4);
- удовлетворять одним и тем же колориметрическим требованиям;
- иметь одинаковые номинальные фотометрические характеристики.
4.6 При отсутствии особых указаний разные по назначению огни могут быть независимыми или сгруппированными, комбинированными или совмещенными в одном и том же устройстве при условии, то каждый из огней отвечает применяемым к нему требованиям.
Совмещение сигналов торможения и указателей поворота не допускается.
4.7 Максимальная высота над уровнем опорной поверхности измеряется от самой высокой точки, а минимальная высота - от самой низкой точки видимой поверхности в направлении исходной оси. Для фар ближнего света минимальная высота над опорной поверхностью измеряется от самой низкой точки рабочей части оптической системы (например, отражатель, рассеиватель, защитный рассеиватель) независимо от ее использования.
Если (максимальная и минимальная) высота над опорной поверхностью полностью соответствует предписаниям настоящего стандарта, то точное положение краев любой поверхности определять не требуется.
При указании расстояний между огнями их положение по ширине определяется от внутренних краев видимой поверхности в направлении исходной оси.
Если положение огней по ширине полностью соответствует предписаниям данного стандарта, то точное положение краев поверхностей определять не требуется.
4.8 При отсутствии особых указаний никакой огонь не должен быть мигающим, за исключением огней указателей поворота и аварийного сигнала.
4.9 Ни один красный огонь не должен быть виден спереди, и ни один белый огонь - сзади, кроме фонаря заднего хода. Соблюдение этого условия проверяют в соответствии с
приложениями Б и
В.
4.9.1 В отношении красного огня спереди требуется, чтобы он не был непосредственно видимым для наблюдателя, перемещающегося в зоне 1 (
рисунки Б.1 и
В.1) поперечной плоскости, расположенной впереди ТС на расстоянии 25 м от его крайней передней точки.
4.9.2 В отношении белого огня сзади нужно, чтобы он не был непосредственно видимым для наблюдателя, перемещающегося в зоне 2 (
рисунки Б.2 и
В.2) поперечной плоскости, расположенной сзади ТС на расстоянии 25 м от его крайней задней точки.
4.9.3 В соответствующих плоскостях зоны 1 и 2, просматриваемые наблюдателем, ограничиваются:
- по высоте - двумя горизонтальными плоскостями соответственно на высоте 1,0 м и 2,2 м от опорной поверхности;
- по ширине - двумя вертикальными плоскостями, проведенными в направлении вперед и назад и расходящимися от среднего продольного сечения ТС под углами 15°. Эти плоскости должны проходить соответственно через вертикальные линии пересечения плоскостей, параллельных средней продольной плоскости ТС и ограничивающих его габаритную ширину, с поперечными плоскостями, ограничивающими габаритную длину ТС.
4.10 Функциональная электрическая схема должна быть такой, чтобы передний и задний габаритные огни, и фонарь освещения заднего номерного знака могли включаться и выключаться одновременно.
4.11 При отсутствии особых указаний функциональная электрическая схема должна быть такой, чтобы огни дальнего и ближнего света и передняя противотуманная фара могли включаться только в том случае, если включены также огни, указанные в
4.10. Однако это условие не является обязательным для огней дальнего или ближнего света, если их световые сигналы предназначены для многократного и кратковременного включения и выключения дальнего или ближнего света, или для кратковременного попеременного включения ближнего и дальнего света.
4.12 Световой контрольный сигнал должен быть хорошо виден водителю, находящемуся в нормальном положении для управления ТС.
4.13 В случае установки дневного ходового огня он должен включаться автоматически при включении двигателя.
4.14 Огни, фары, указатели поворота, светоотражающие устройства должны иметь цвета, приведенные в таблице 1.
Таблица 1
Применяемые устройства освещения и световой сигнализации | Цвет огня |
Фары дальнего и ближнего света, фонарь освещения заднего номерного знака и передние габаритные огонь, дневной ходовой огонь | Белый |
Указатель поворота, аварийный сигнал | Автожелтый |
Боковое светоотражающее устройство нетреугольной формы | Автожелтый или красный сзади |
Сигнал торможения, задний габаритный огонь, заднее светоотражающее устройство нетреугольной формы, задний противотуманный огонь | Красный |
Передняя противотуманная фара | Белый или селективный желтый |
4.15 ТС категорий L2, L4, L5, L6, L7 должны быть оборудованы устройствами освещения и световой сигнализации, приведенными в таблице 2.
Наименование устройства | Категория транспортного средства |
L2, L6 | L4 | L5, L7 |
Фара дальнего света | x* | x | x |
Фара ближнего света | x | x | x |
Указатель поворота (с закрытым кузовом) | x | x | x |
Указатель поворота (с открытым кузовом) | x* | x | x |
Аварийный сигнал | x* | x | x |
Сигнал торможения | x | x | x |
Передний габаритный фонарь | x* | x | x |
Задний габаритный фонарь | x | x | x |
Заднее светоотражающее устройство не треугольной формы | x | x | x |
Боковое светоотражающие устройство | x | x | x |
Фонарь освещения номерного знака | x | x | x |
Передняя противотуманная фара | x* | x* | x* |
Задний противотуманный огонь | x* | x* | x* |
Фонарь заднего хода | x* | x* | x |
Дневной ходовой огонь | x* | x* | x* |
x - установка обязательна; x* - установка факультативна. |
4.16 Каждое устройство освещения и световой сигнализации, указанное в
таблице 2, должно устанавливаться в соответствии с положением
раздела 5.
4.17 Установка любых других устройств освещения и световой сигнализации, за исключением указанных в
таблице 2, запрещена.
5 Отдельные технические требования
5.1.1 Количество: одна или две официально утвержденного типа в соответствии с Правилами
[4] -
[14].
Если габаритная ширина ТС категорий L2, L5, L6, L7 превышает 1300 мм, требуется установить две фары дальнего света.
5.1.2 Схема монтажа: специальных требований не установлено.
5.1.3 Расположение
5.1.3.1 По ширине:
- независимый огонь дальнего света может устанавливаться над или под другой передней фарой либо сбоку от нее. Если фары находятся одна над другой, то исходная ось фары дальнего света должна располагаться в средней продольной плоскости ТС. Если фары находятся сбоку друг от друга, то их исходные оси должны быть симметричны относительно средней продольной плоскости ТС;
- если установлена одна фара дальнего света, составляющая одно целое с другой передней фарой, то она должна устанавливаться так, чтобы ее исходная ось находилась в средней продольной плоскости ТС. Если ТС оснащено независимой фарой ближнего света наряду с фарой дальнего света, то их исходные оси должны быть симметричны по отношению к средней продольной плоскости ТС;
- две фары дальнего света, обе или одна из которых совмещены с другим передним огнем, должны устанавливаться так, чтобы их исходные оси были симметричны по отношению к средней продольной плоскости ТС.
5.1.3.2 По длине: спереди ТС.
Это требование считают выполненным, если испускаемый свет, отражаемый зеркалами заднего вида и/или другими поверхностями ТС, не мешает водителю прямо или косвенно.
5.1.3.3 В случае использования независимых фар дальнего света расстояние между краем поверхности освещения и краем фары ближнего света не должно превышать 200 мм для каждой пары фар.
5.1.3.4 Расстояние между освещающими поверхностями двух фар дальнего света не должно превышать 200 мм.
5.1.4 Геометрическая видимость
В зонах, которые кажутся неосвещаемыми в направлении наблюдения, освещающая поверхность должна быть видимой в пределах расходящегося участка, ограниченного образующими, касающимися всего контура поверхности освещения и формирующими угол не менее 5° с исходной осью фары. Проекцию поверхности освещения на поперечную плоскость, касательную к передней части рассеивателя фары дальнего света, считают исходной точкой углов геометрической видимости.
5.1.5 Направление: вперед.
Направление фары может меняться в зависимости от угла поворота руля.
5.1.6 Допускается группировать с фарой ближнего света и передним габаритным огнем.
5.1.7 Не допускается комбинировать ни с каким другим огнем.
5.1.8 Допускается совмещать с фарой ближнего света и с передним габаритным огнем, а также с передней противотуманной фарой.
5.1.9 Функциональная электрическая схема
Фары дальнего света должны включаться одновременно. Фары дальнего света должны выключаться одновременно при переключении с дальнего света на ближний. При включении фар дальнего света допускается одновременное функционирование фар ближнего света.
5.1.10 Контрольный сигнал
Контрольный сигнал обязателен. Световой контрольный сигнал должен быть синего (голубого) цвета.
5.1.11 Прочие требования
Максимальная сила света фар дальнего света, которые могут включаться одновременно, не должна превышать 225000 кд, что соответствует маркировочному значению, равному 75. Максимальная сила света представляет собой суммарную величину отдельных контрольных значений, которые указаны на каждой фаре.
5.2.1 Количество: одна или две официально утвержденного типа в соответствии с
[4] -
[14].
Если габаритная ширина ТС категорий L2, L5 L6 и L7 более 1300 мм, устанавливают две фары ближнего света.
5.2.2 Схема монтажа: специальных требований не предусмотрено.
5.2.3 Расположение
5.2.3.1 По ширине:
- независимый огонь ближнего света может устанавливаться над или под другим передним огнем или сбоку от него. Если эти огни находятся один над другим, то исходная ось фары, дающая основной луч ближнего света, должна располагаться в средней продольной плоскости ТС. Если эти огни находятся сбоку друг от друга, то их исходные оси должны быть симметричны относительно средней продольной плоскости ТС;
- если установлена одна фара ближнего света, составляющая одно целое с другой передней фарой, то она должна устанавливаться так, чтобы ее исходная ось находилась в средней продольной плоскости ТС. Если ТС оснащено независимой фарой дальнего света наряду с фарой ближнего света, то их исходные оси должны быть симметричны по отношению к средней продольной плоскости ТС;
- две фары ближнего света, одна или обе из которых объединены с другой передней фарой, должны устанавливаться так, чтобы их исходные оси были симметричны по отношению к средней продольной плоскости ТС.
Если на ТС устанавливают две фары ближнего света, то:
- края поверхностей освещения, наиболее удаленные от средней продольной плоскости ТС, должны находиться на расстоянии не более 400 мм от края габаритной ширины ТС;
- внутренние края поверхностей освещения должны находиться на расстоянии не менее 500 мм друг от друга. Это расстояние может быть сокращено до 400 мм, если габаритная ширина ТС менее 1300 мм (требование не применяется к ТС категории L4).
5.2.3.2 По высоте - не менее 500 мм, не более 1200 мм над уровнем опорной поверхности.
5.2.3.3 По длине - спереди ТС. Это требование считают выполненным, если испускаемый свет, отражаемый зеркалами заднего вида и/или другими поверхностями ТС, не мешает водителю прямо или косвенно.
5.2.4 Геометрическая видимость
Определяется вертикальными

и горизонтальными

углами
(3.34):

вверх и

вниз;

влево и вправо, если установлена только одна фара ближнего света;

наружу и 10° внутрь, если установлены две фары ближнего света.
5.2.5 Направление: вперед.
Направление фары может меняться в зависимости от угла поворота руля.
5.2.6 Допускается группировать с фарой дальнего света и передним габаритным огнем.
5.2.7 Допускается совмещать с фарой дальнего света и с передним габаритным огнем.
5.2.8 Не допускается комбинировать ни с каким другим огнем.
5.2.9 Функциональная электрическая схема
Переключение фары с дальнего на ближний свет должно одновременно вызывать выключение фар(ы) дальнего света, в то время как ближний свет может оставаться включенным одновременно с дальним светом.
5.2.10 Контрольный сигнал
Факультативный. Световой контрольный сигнал должен быть немигающий зеленого цвета.
5.2.11 Прочие требования для категорий L4, L5 и L7
5.2.11.1 Вертикальный наклон ближнего света должен быть 0,5% - 2,5% вниз от горизонтали для условий нагрузки снаряженного ТС с водителем и технически допустимой максимальной массы, указанной изготовителем, распределенной в соответствии с техническими требованиями изготовителя в отношении нагрузки и регулировки системы подвески для этих условий нагрузки.
5.2.11.2 Исходный наклон, соответствующий условию нагрузки снаряженного ТС с водителем, должен быть от минус 1% до минус 1,5%. Это значение устанавливает изготовитель с точностью до 0,1% и указывает на каждом ТС рядом с фарами или табличкой изготовителя с помощью четкого и нестираемого условного обозначения в соответствии с
приложением Д.
5.2.11.3 ТС может быть оборудовано устройством, с помощью которого направление луча ближнего света может быть легко отрегулировано в зависимости от условий нагрузки, без применения инструментов.
5.2.12 Прочие требования для категории L4
В случае использования двух фар ближнего света расстояние между внутренними освещающими поверхностями должно быть не более 200 мм.
5.3.1 Количество: по два на каждой стороне.
5.3.2 Схема монтажа
Два передних указателя поворота (категории 1 согласно определению, содержащемуся в Правилах
[15], или категории 11 согласно определению, содержащемуся в Правилах
[16]).
Два задних указателя поворота (категории 2 согласно определению, содержащемуся в Правилах
[15], или категории 12 согласно определению, содержащемуся в Правилах
[16]).
5.3.3 Расположение
5.3.3.1 По ширине:
- для ТС категорий L
2, L
5, L
6, L
7: в соответствии с
4.5;
- для ТС категории L4: пара указателей с одной стороны - на мотоцикле, пара указателей с другой стороны - на боковом прицепе;
- края поверхности освещения, наиболее удаленные от средней продольной плоскости, должны находиться на расстоянии не более 400 мм от края габаритной ширины ТС;
- внутренние края поверхностей освещения должны находиться на расстоянии:
а) не менее 500 мм для категорий L2, L5, L6 и L7;
б) не менее 600 мм для категории L4.
Минимально допустимые значения силы света указателя поворота, в зависимости от расстояния до фар ближнего света, должны соответствовать значениям, приведенным в таблице 3.
Таблица 3
Минимальный показатель силы света, кд | Минимальное расстояние, мм |
90 | 75 |
175 | 40 |
250 | 20 |
400 | <= 20 |
5.3.3.2 По высоте - не менее 350 мм, не более 1500 мм над уровнем опорной поверхности.
5.3.4 Геометрическая видимость
Вертикальные углы

над и под горизонталью.
Горизонтальные передние и задние углы

наружу,

внутрь (для ТС категорий L
2, L
5, L
7) и

внутрь (для ТС категории L
4).
Вертикальный угол ниже горизонтальной линии может быть уменьшен до 5°, если указатели поворота расположены на высоте менее 750 мм над уровнем опорной поверхности.
5.3.5 Передние указатели поворота могут менять свое направление в зависимости от угла поворота руля. Передние указатели поворота не должны быть видимыми сзади, а задние - спереди в пределах зон, указанных в
приложениях Б и
В.
5.3.6 Допускается группировать с одним или более огнем.
5.3.7 Не допускается комбинировать ни с каким другим огнем.
5.3.8 Не допускается совмещать ни с каким другим огнем.
5.3.9 Функциональная электрическая схема
Указатели поворота должны включаться независимо от других огней. Указатели поворота, расположенные на одной стороне ТС, должны включаться и выключаться одним и тем же устройством.
5.3.10 Контрольный сигнал
Обязательный, может быть световым или звуковым. Световой сигнал должен быть мигающим зеленого цвета. Он должен быть видимым при всех обычных условиях эксплуатации. Должен выключаться или оставаться включенным без мигания, либо указывать на значительное изменение частоты в случае нарушения работы одного из указателей поворота. Звуковой сигнал должен быть хорошо слышимым, в остальном он должен быть аналогичным световому сигналу.
Указанные ниже характеристики измеряются только в том случае, когда на электросистему воздействует нагрузка, необходимая для работы двигателя и устройств освещения.
5.3.11.1 После того как орган (кнопка) управления светосигнальным устройством приведен(а) в действие, огонь должен загореться не более чем за 1 с, а первое выключение должно произойти спустя не более 1,5 с.
Частота мигания света должна быть (90 +/- 30) раз в минуту.
Мигание указателей поворота, расположенных на одной и той же стороне ТС, должно быть синхронным или попеременным.
5.3.11.2 В случае отказа в работе (за исключением короткого замыкания) одного из указателей поворота, другой должен продолжать мигать или оставаться зажженным, но при этом частота мигания может отличаться от установленного значения.
5.4.1 Требования аналогичны изложенным в
5.3.1 -
5.3.11.
5.4.2 Схема монтажа, подключения
Включение сигнала должно производиться отдельным органом управления, обеспечивающим синхронное мигание всех указателей поворота.
5.4.3 Контрольный сигнал
Обязателен. Световой контрольный сигнал должен испускать мигающий красный цвет.
Должна быть предусмотрена возможность включения аварийного сигнала, даже если устройство для включения или выключения двигателя находится в положении, не позволяющем двигателю работать.
5.5.1 Количество
5.5.1.1 Для ТС категорий L
2, L
5, L
6, L
7 - один или два официально утвержденного типа в соответствии с Правилами
[16], при этом, если габаритная ширина ТС более 1300 мм, требуются два сигнала торможения.
5.5.1.2 Для ТС категории L
4 - два или три официально утвержденного типа в соответствии с Правилами
[16] (один из которых всегда расположен на боковом прицепе).
5.5.2 Схема монтажа: специальных требований не предусмотрено.
5.5.3 Расположение: в задней части ТС.
5.5.3.1 По ширине
Для ТС категорий L2, L5, L6, L7, если установлен один сигнал торможения, то его исходная ось должна лежать в средней продольной плоскости ТС, а если имеются два сигнала торможения, то они должны быть симметричны относительно средней продольной плоскости ТС. Между двумя сигналами торможения должно быть расстояние не менее 600 мм. Расстояние может быть уменьшено до 400 мм, если габаритная ширина ТС менее 1300 мм.
Для ТС категории L4, края поверхности освещения двух крайних фонарей торможения, наиболее удаленных от средней продольной плоскости ТС, должны находиться на расстоянии не более 400 мм от края габаритной ширины ТС. Третий фонарь (в случае его установки) должен быть расположен симметрично фонарю, установленному на ТС относительно средней продольной плоскости ТС.
5.5.3.2 По высоте - не менее 250 мм, не более 1500 мм над уровнем опорной поверхности.
5.5.3.3 По длине - сзади ТС.
5.5.4 Геометрическая видимость
Вертикальный угол

вверх и вниз.
Горизонтальный угол

влево и вправо.
Вертикальный угол ниже горизонтали может быть уменьшен до 5°, если сигнал расположен на высоте менее 750 мм над уровнем опорной поверхности.
5.5.5 Направление: назад.
5.5.6 Допускается группировать с одним или более задним огнем.
5.5.7 Допускается совмещать с задним габаритным огнем.
5.5.8 Не допускается комбинировать ни с каким другим огнем.
5.5.9 Функциональная электрическая схема
Сигналы торможения должны загораться даже при применении одного из рабочих тормозов.
5.5.10 Контрольный сигнал: запрещен.
5.6 Передние габаритные огни
5.6.1 Количество
5.6.1.1 Для ТС категорий L
2, L
5, L
6, L
7 - один или два официально утвержденного типа в соответствии с Правилами
[16].
Если габаритная ширина трехколесного ТС более 1300 мм, требуются два габаритных огня.
5.6.1.2 Для ТС категории L
4 - два или три официально утвержденного типа в соответствии с Правилами
[16] (один из которых всегда расположен на боковом прицепе).
5.6.2 Схема монтажа: специальных требований не предусмотрено.
5.6.3 Расположение
5.6.3.1 По ширине
Для ТС категорий L2, L5, L6, L7:
- если установлен один независимый передний габаритный огонь, то он может устанавливаться над или под другим огнем, или сбоку от него. Если огни находятся один над другим, то исходная ось габаритного огня должна располагаться в средней продольной плоскости ТС. Если огни находятся сбоку друг от друга, то их исходные оси должны быть симметричны относительно средней продольной плоскости ТС;
- если установлен один передний габаритный огонь, составляющий одно целое с другим огнем, то он должен устанавливаться так, чтобы его исходная ось находилась в средней продольной плоскости ТС;
- два передних габаритных огня, один или оба из которых объединены с другим огнем, должны устанавливаться так, чтобы их исходные оси были симметричны по отношению к средней продольной плоскости ТС.
Если на ТС устанавливают два габаритных огня, то:
- края поверхностей освещения, наиболее удаленные от средней продольной плоскости ТС, должны находиться на расстоянии не более 400 мм от края габаритной ширины ТС;
- внутренние края освещающей поверхности должны находиться на расстоянии не менее 500 мм друг от друга.
Это расстояние может быть уменьшено до 400 мм если максимальная ширина ТС менее 1300 мм.
Для ТС категории L4:
- края поверхности освещения двух передних крайних габаритных огней, наиболее удаленных от средней продольной плоскости ТС, должны находиться на расстоянии не более 400 мм от края габаритной ширины ТС. Третий фонарь (в случае его установки) должен быть расположен симметрично фонарю, установленному на ТС, относительно средней продольной плоскости ТС.
5.6.3.2 По высоте - не менее 350 мм, не более 1200 мм над уровнем опорной поверхности.
5.6.3.3 По длине - впереди ТС.
5.6.4 Геометрическая видимость
Вертикальный угол

вверх и вниз. Вертикальный угол под горизонталью может быть уменьшен до 5°, если огонь находится на высоте менее 750 мм над уровнем опорной поверхности.
Горизонтальный угол

влево и вправо, если имеется один габаритный огонь;

наружу и 45° внутрь, если имеются два габаритных огня.
5.6.5 Направление: вперед.
Направление передних габаритных огней может меняться в зависимости от угла поворота руля.
5.6.6 Допускается группировать с передней фарой или любым передним огнем.
5.6.7 Допускается совмещать с передней фарой или любым передним огнем.
5.6.8 Функциональная электрическая схема
Специальных требований не установлено.
5.6.9 Контрольный сигнал
Обязательный. Световой контрольный сигнал должен быть немигающий зеленого цвета. Контрольный сигнал не требуется, если освещение приборного щитка может включаться и выключаться одновременно с габаритным огнем.
5.6.10 Прочие требования: не установлены.
5.7 Задние габаритные огни
5.7.1 Количество
5.7.1.1 Для ТС категорий L
2, L
5, L
6, L
7 - один или два официально утвержденного типа в соответствии с Правилами
[16].
При габаритной ширине трехколесных ТС более 1300 мм требуются два задних габаритных огня.
5.7.1.2 Для ТС категории L4 - два или три (один из которых всегда расположен на боковом прицепе).
5.7.2 Схема монтажа: специальных требований не установлено.
5.7.3 Расположение: сзади.
5.7.3.1 По ширине
Для ТС категорий L2, L5, L6, L7:
- исходная ось должна располагаться в средней продольной плоскости ТС, если имеется только один габаритный огонь. Если имеются два габаритных огня, то их исходные оси должны быть симметричны относительно средней продольной плоскости ТС. Расстояние между внутренними краями огней должно быть не менее 600 мм. Это расстояние может быть уменьшено до 400 мм, если габаритная ширина ТС менее 1300 мм.
Для ТС категории L4:
- края поверхности освещения крайних двух задних габаритных огней, наиболее удаленных от средней продольной плоскости ТС, должны находиться на расстоянии не более 400 мм от края габаритной ширины ТС. Третий фонарь (в случае его установки) должен быть расположен симметрично фонарю, установленному на ТС относительно средней продольной плоскости ТС.
5.7.3.2 По высоте - не менее 250 мм, не более 1500 мм над уровнем опорной поверхности.
5.7.3.3 По длине - сзади ТС.
5.7.4 Геометрическая видимость
Вертикальный угол

вверх и вниз. Вертикальный угол под горизонталью может быть уменьшен до 5°, если огонь находится на высоте менее 750 мм над уровнем опорной поверхности.
Горизонтальный угол

влево и вправо, если установлен один габаритный огонь;

наружу и 45° внутрь, если установлены два габаритных огня.
5.7.5 Направление: назад.
5.7.6 Допускается группировать с другим задним огнем.
5.7.7 Допускается совмещать с сигналом торможения или задним отражателем нетреугольной формы, или комбинировать.
5.7.8 Допускается комбинировать с огнем заднего номерного знака.
5.7.9 Функциональная электрическая схема
Специальных требований не предусмотрено.
5.7.10 Контрольный сигнал
Обязательный. Его работа должна обеспечиваться тем же сигнальным устройством, что применяется для передних габаритных огней.
5.7.11 Прочие требования: не установлены.
5.8 Задние светоотражатели нетреугольной формы
5.8.1 Количество: один или два, класс 1A официально утвержденного типа в соответствии с Правилами
[17].
Однако если габаритная ширина трехколесных ТС более 1000 мм, то требуются два задних отражателя.
5.8.2 Схема монтажа
Специальных требований не предусмотрено.
5.8.3 Расположение
5.8.3.1 По ширине - если имеется только один отражатель, то его исходная ось должна лежать в средней продольной плоскости ТС, а если имеются два отражателя, то для категорий L2, L5, L6, L7 они должны быть симметричны средней продольной плоскости ТС, для категории L4 - один на ТС, другой на боковом прицепе. Если ТС имеет два задних отражателя:
- точка поверхности освещения, наиболее удаленная от средней продольной плоскости ТС, должна находиться на расстоянии не более 400 мм от края габаритной ширины ТС;
- внутренние края отражателей должны находиться на расстоянии не менее 500 мм друг от друга. Это расстояние может быть уменьшено до 400 мм, если габаритная ширина ТС менее 1300 мм.
5.8.3.2 По высоте - не менее 250 мм, не более 900 мм над уровнем опорной поверхности.
5.8.3.3 По длине - сзади ТС.
5.8.4 Геометрическая видимость
Вертикальный угол

над и под горизонталью.
Вертикальный угол ниже горизонтали может быть уменьшен до 5°, если отражатель расположен на высоте менее 750 мм над уровнем опорной поверхности.
Горизонтальный угол

влево и вправо.
5.8.5 Направление: назад.
5.8.6 Допускается группировать с любым другим огнем.
5.8.7 Прочие требования
Освещающая поверхность светоотражательного устройства может иметь общие части с задним красным огнем.
5.9 Боковые светоотражатели нетреугольной формы
5.9.1 Количество: один или два на сторону, класс 1A официально утвержденного типа в соответствии с Правилами
[17].
5.9.2 Схема монтажа
Специальных требований не предусмотрено.
5.9.3 Расположение
5.9.3.1 По ширине - требований не предусмотрено.
5.9.3.2 По высоте - не менее 300 мм, не более 900 мм над уровнем опорной поверхности.
5.9.3.3 По длине - должно быть таким, чтобы при нормальных условиях эксплуатации устройство не могло загораживаться водителем или пассажиром.
5.9.4 Геометрическая видимость
Вертикальный угол

над и под горизонталью.
Вертикальный угол ниже горизонтали может быть уменьшен до 5°, если отражатель расположен на высоте менее 750 мм над уровнем опорной поверхности.
Горизонтальный угол

вперед и назад.
5.9.5 Направление
Исходная ось отражателей должна быть перпендикулярна к средней продольной плоскости ТС и размещаться наружу. Передние отражатели могут менять направление в зависимости от угла поворота руля.
5.9.6 Допускается группировать с другими боковыми сигнальными устройствами.
5.10 Фонарь освещения номерного знака
5.10.1 Количество: один официально утвержденного типа в соответствии с Правилами
[16]. Фонарь может состоять из нескольких оптических элементов, предназначенных для освещения места расположения номерного знака.
5.10.2 Схема монтажа
Специальных требований не предусмотрено.
5.10.3 Расположение
5.10.3.1 По ширине - требований не предусмотрено.
5.10.3.2 По высоте - требований не предусмотрено.
5.10.4 Геометрическая видимость
Требований не предусмотрено.
5.10.5 Направление
Должны обеспечивать освещение места установки номерного знака.
5.10.6 Допускается группировать с одним или более задним огнем.
5.10.7 Допускается комбинировать с задним габаритным огнем.
5.10.8 Не допускается совмещать с каким-либо другим огнем.
5.10.9 Функциональная электрическая схема
Специальных требований не предусмотрено.
5.10.10 Контрольный сигнал
Обязательный. Его работа должна обеспечиваться тем же сигнальным устройством, что применяется для габаритных огней.
5.10.11 Прочие требования
Не установлены.
5.11 Передняя противотуманная фара
5.11.1 Количество: одна или две официально утвержденного типа в соответствии с Правилами
[18].
5.11.2 Схема монтажа
Специальных требований не установлено.
5.11.3 Расположение: спереди ТС.
5.11.3.1 По ширине:
- если установлена одна передняя противотуманная фара, то она может устанавливаться над или под другой передней фарой, либо сбоку от нее. Если фары находятся одна над другой, то исходная ось противотуманной фары должна располагаться в средней продольной плоскости ТС. Если фары находятся сбоку друг от друга, то их исходные оси должны быть симметричны относительно средней продольной плоскости ТС;
- если установлена одна передняя противотуманная фара, составляющая одно целое с другой передней фарой, то она должна устанавливаться так, чтобы ее исходная ось находилась в средней продольной плоскости ТС;
- две противотуманные фары, одна или обе из которых объединены с другой передней фарой, должны устанавливаться так, чтобы их исходные оси были симметричны по отношению к средней продольной плоскости ТС;
- края поверхностей освещения, наиболее удаленные от средней продольной плоскости ТС, должны находиться на расстоянии не более 400 мм от края его габаритной ширины.
5.11.3.2 По высоте - не менее 250 мм над уровнем опорной поверхности. Освещающая поверхность передней противотуманной фары ни одной своей точкой не должна находиться выше самой высокой точки освещающей поверхности фары ближнего света.
5.11.3.3 По длине - спереди ТС. Это требование считают выполненным, если испускаемый свет, отражаемый зеркалами заднего вида и/или другими поверхностями ТС, не мешает водителю прямо или косвенно.
5.11.4 Геометрическая видимость
Вертикальный угол

вверх и вниз.
Горизонтальный угол

влево и вправо. Если фара расположена не по центру, то внутренний угол

.
5.11.5 Направление: вперед.
Направление огня может меняться в зависимости от угла поворота руля.
5.11.6 Допускается группировать с другими передними огнями.
5.11.7 Не допускается комбинировать ни с каким передним огнем.
5.11.8 Допускается совмещать с фарой дальнего света и передним габаритным огнем.
5.11.9 Электрическая схема
Должна быть предусмотрена возможность включения и выключения передней противотуманной фары независимо от фары дальнего или ближнего света.
5.11.10 Контрольный сигнал
Факультативный. Световой контрольный сигнал должен быть немигающий зеленого цвета.
5.11.11 Прочие требования
Не установлены.
5.12 Задний противотуманный огонь
5.12.1 Количество: один или два официально утвержденного типа в соответствии с Правилами
[19].
5.12.2 Схема монтажа
Специальных требований не предусмотрено.
5.12.3 Расположение: сзади.
5.12.3.1 По ширине - исходная ось должна располагаться в средней продольной плоскости ТС, если установлен только один противотуманный огонь; если установлены два противотуманных огня, то для категорий L2, L5, L6, L7 их исходные оси должны быть симметричны относительно средней продольной плоскости ТС; для категории L4 - один на ТС, второй на боковом прицепе. Расстояние между двумя огнями должно быть не менее 600 мм. Это расстояние может быть уменьшено до 400 мм, если габаритная ширина ТС менее 1300 мм.
5.12.3.2 По высоте - не менее 250 мм, не более 1000 мм над уровнем опорной поверхности.
5.12.3.3 По длине - сзади ТС.
Расстояние между освещающей поверхностью заднего противотуманного огня и освещающей поверхностью сигнала торможения должно быть не менее 100 мм.
5.12.4 Геометрическая видимость
Вертикальный угол

вверх и вниз.
Горизонтальный угол

влево и вправо.
5.12.5 Направление: назад.
5.12.6 Допускается группировать с другими задними огнями.
5.12.7 Не допускается комбинировать ни с одним другим огнем.
5.12.8 Допускается совмещать с задним габаритным огнем.
5.12.9 Электрическая схема
Огонь не должен включаться, пока не будет включена одна из фар дальнего или ближнего света, либо передняя противотуманная фара.
5.12.10 Контрольный сигнал
Обязательный. Световой контрольный сигнал должен быть немигающий желтого цвета.
5.12.11 Прочие требования не установлены.
5.13.1 Количество: одна или две официально утвержденного типа в соответствии с Правилами
[20].
5.13.2 Схема монтажа: специальных требований не предусмотрено.
5.13.3 Расположение: сзади.
5.13.3.1 По ширине - нет специальных требований.
5.13.3.2 По высоте - не менее 250 мм, не более 1200 мм над уровнем опорной поверхности.
5.13.3.3 По длине - сзади ТС.
5.13.4 Геометрическая видимость
Вертикальный угол

вверх и вниз.
Горизонтальный угол

влево и вправо, если установлена только одна фара,

наружу и 30° внутрь, если установлены две фары.
5.13.5 Направление: назад.
5.13.6 Допускается группировать с другой задней фарой.
5.13.7 Не допускается комбинировать ни с каким другим огнем.
5.13.8 Не допускается совмещение ни с каким другим огнем.
5.13.9 Электрическая схема
Фара не должна функционировать или оставаться включенной, если не включен механизм заднего хода и устройство для выключения двигателя не находится в положении, позволяющем двигателю работать.
5.13.10 Контрольный сигнал: факультативный.
5.14 Дневной ходовой огонь
5.14.1 Количество: один или два официально утвержденного типа в соответствии с Правилами
[21].
Если габаритная ширина трехколесного ТС превышает 1300 мм, то требуется устанавливать два дневных ходовых огня.
5.14.2 Расположение
Никаких особых требований не предусмотрено.
5.14.3 Размещение
5.14.3.1 По ширине:
- если установлен один независимый дневной ходовой огонь, то он может быть установлен сверху, снизу или сбоку от другого переднего огня. Если эти огни расположены один над другим, то установочный центр дневного ходового огня должен находиться в пределах средней продольной плоскости ТС; если эти огни расположены один рядом с другим, то край освещающей поверхности должен находиться на расстоянии не более 250 мм от средней продольной плоскости ТС;
- если установлен один дневной ходовой огонь, совмещенный с другим передним огнем (фарой дальнего света или подфарником), то он должен устанавливаться таким образом, чтобы край освещающей поверхности находился на расстоянии не более 250 мм от средней продольной плоскости ТС;
- два дневных ходовых огня, из которых либо один, либо оба совмещены с другим передним огнем, должны устанавливаться таким образом, чтобы их установочные центры были симметричны относительно средней продольной плоскости ТС;
- в случае двух дневных ходовых огней расстояние между освещающими поверхностями не должно превышать 420 мм.
Требование в отношении максимального расстояния удаления не применяют, когда дневные ходовые огни сгруппированы, скомбинированы или совмещены с другой фарой.
5.14.3.2 По высоте - не менее 250 мм и не более 1500 мм над уровнем опорной поверхности.
5.14.3.3 По длине - на передней части ТС. Это требование считают выполненным, если испускаемый свет, отражаемый зеркалами заднего вида и/или другими поверхностями ТС, не мешает водителю прямо или косвенно.
5.14.4 Геометрическая видимость
По горизонтали - 20° наружу и 10° внутрь.
По вертикали - 10° вверх и 10° вниз.
5.14.5 Направление: вперед.
Огонь (огни) может (могут) поворачиваться в направлении изменения положения управляемых колес.
5.14.6 Схема электрических соединений
5.14.6.1 Дневной ходовой огонь должен автоматически выключаться при включении фар кроме тех случаев, когда фары используются для подачи периодических световых сигналов предупреждения через короткие промежутки времени.
Задний габаритный огонь должен включаться при включении дневного ходового огня (дневных ходовых огней). Передний габаритный огонь (передние габаритные огни) и фонарь освещения заднего номерного знака могут включаться по отдельности или вместе при включении дневного ходового огня (дневных ходовых огней).
5.14.6.2 Если расстояние между указателем поворота и дневным ходовым огнем составляет не более 40 мм, то схема электрических соединений дневного ходового огня на соответствующей стороне ТС может допускать:
- его отключение;
- уменьшение силы его света на весь период (цикл ВКЛ./ВЫКЛ.) работы переднего указателя поворота.
5.14.6.3 Если указатель поворота совмещен с дневным ходовым огнем, то схема электрических соединений дневного ходового огня на соответствующей стороне ТС должна быть такой, чтобы дневной ходовой огонь выключался на весь период (цикл ВКЛ./ВЫКЛ.) работы указателя поворота.
5.14.7 Контрольный сигнал
Контрольный сигнал включения зеленого цвета является факультативным.
5.14.8 Прочие предписания
Для информирования водителя о включении дневного ходового огня может использоваться символ "ДХО", указанный в стандарте
[22].
6.1 Условия выполнения испытаний
6.1.1 Испытания по проверке соответствия требованиям
раздела 5 настоящего стандарта проводятся на горизонтальной поверхности с уклоном не более 3° от горизонтали, с применением измерительного инструмента, с учетом допущений согласно
4.7.
Допускается применение расчетного метода для определения нормируемых параметров на основе графических построений с использованием вспомогательных измерений в трехмерной системе координат.
6.1.2 Средства измерений, применяемые при испытаниях, должны быть исправны, удовлетворять предъявляемым к ним требованиям и иметь действующие сроки поверки.
6.1.3 Допустимые погрешности при выполнении испытаний (измерений):
- для линейных размеров - не более +/- 0,02 м;
- для угловых измерений - не более +/- 3°;
- для измерений времени - не более +/- 1 сек.
6.1.4 ТС для испытаний должны быть представлены с исправной системой световой сигнализации и освещения в снаряженном состоянии с балластом для достижения загрузки соответствующей допустимой максимальной массе, должны быть полнокомплектными и соответствовать требованиям конструкторской документации.
6.1.5 При проведении оценки соответствия в испытательную лабораторию вместе с испытуемым ТС представляют техническое описание, содержащее информацию в соответствии с
приложением Г. При проведении других видов испытаний считается достаточным представление информации в объеме, необходимом для оформления отчетного документа (протокола испытаний).
6.1.6 Протокол испытаний должен удовлетворять требованиям
ГОСТ 33557.
6.2.1 Максимальную высоту над уровнем опорной поверхности измеряют от самой высокой точки, а минимальную высоту - от самой низкой точки освещающей поверхности (рисунок 6.1). Для огней ближнего света минимальную высоту над уровнем опорной поверхности измеряют от нижней части линзы или отражателя, причем принимают во внимание большее значение.
a - верхняя точка освещающей поверхности;
b - нижняя точка освещающей поверхности
Рисунок 6.1
6.2.2 Расстояние между двумя огнями, направленными в одну сторону по ширине, измеряют между двумя вертикальными плоскостями параллельными средней продольной плоскости, касающимися наименее удаленных между собой краев освещающих поверхностей огней, видимых в направлении исходных осей
(рисунок 6.2).
6.2.3 Расстояние от края освещающей поверхности огня до края габаритной ширины ТС измеряют между вертикальной плоскостью, касающейся бокового края ТС, и наиболее удаленного от средней продольной плоскости края освещающей поверхности огня, видимого в направлении исходной оси (рисунок 6.2).
c - расстояние между двумя освещающими поверхностями;
d - расстояние от края освещающей поверхности
огня до края габаритной ширины ТС
6.2.4 Углы геометрической видимости, определяющие зону минимального телесного угла, в которой должна быть видна видимая поверхность огня. Эта зона определяется сегментами сферы, центр которой совпадает с исходным центром огня, а экватор параллелен уровню опорной поверхности. Эти сегменты определяются в отношении к исходной оси. Горизонтальные углы

соответствуют долготе, а вертикальные углы

- широте (рисунок 6.3).
Рисунок 6.3
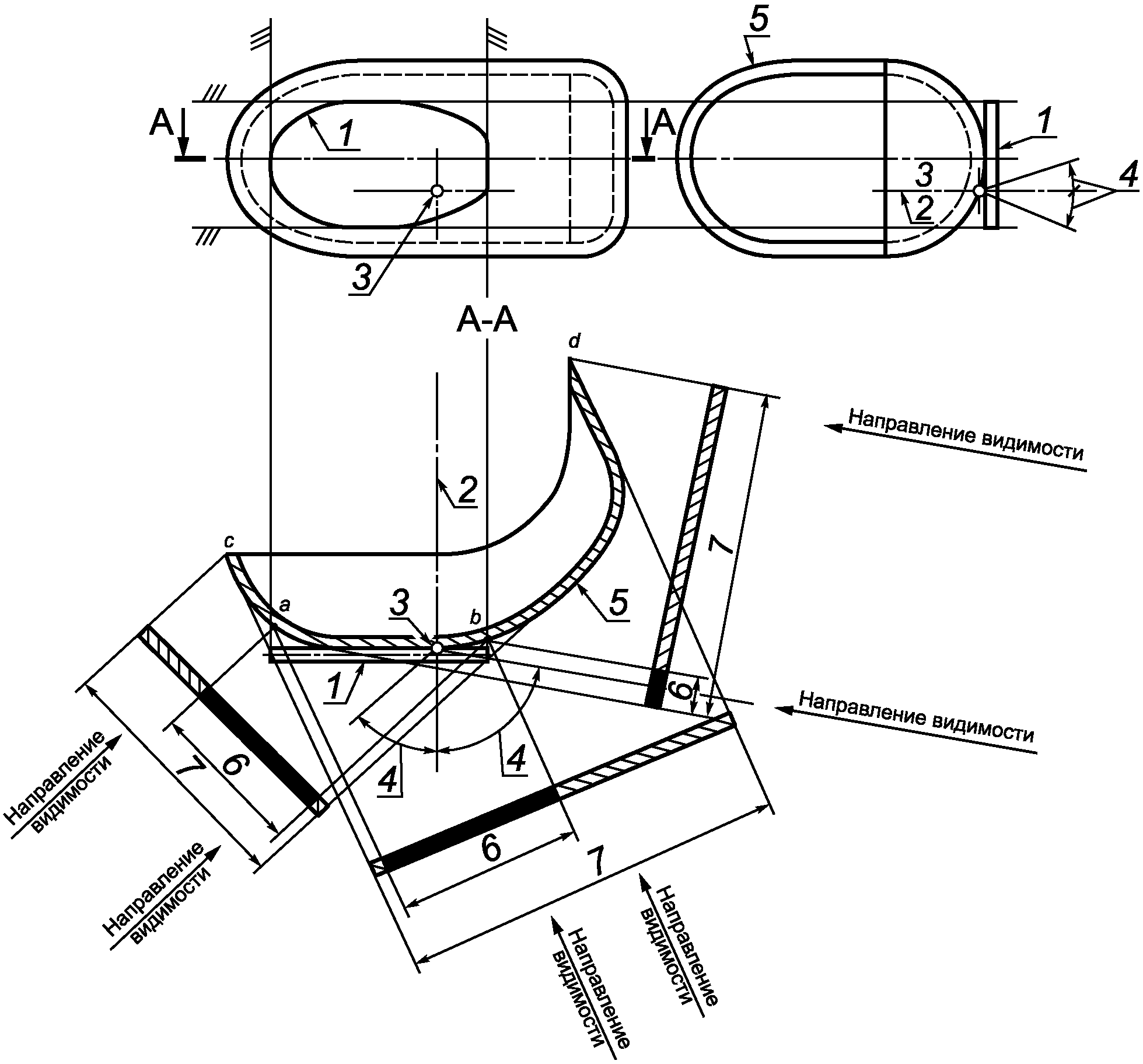
(обязательное)
ПОВЕРХНОСТЬ ФАРЫ. ИСХОДНАЯ ОСЬ И ЦЕНТР,
УГЛЫ ГЕОМЕТРИЧЕСКОЙ ВИДИМОСТИ
1 - освещающая поверхность; 2 - исходная ось; 3 - исходный
центр; 4 - угол геометрической видимости;
5 - светоизлучающая поверхность; 6 - видимая освещающая
поверхность; 7 - видимая светоизлучающая поверхность
Примечание - Видимая поверхность должна рассматриваться как касательная к светоизлучающей поверхности.
Освещающая поверхность в сравнении
со светоизлучающей поверхностью
1 - исходная ось; 2 - поверхность рассеивателя
(для удобства изображена плоской); 3 - проекция
Рисунок А.2
Края | Освещающая поверхность | Светоизлучающая поверхность |
Поверхность A | a и b | c и d |
Поверхность B | a и b | c и d |
(обязательное)
ВИДИМОСТЬ КРАСНОГО ОГНЯ В НАПРАВЛЕНИИ ВПЕРЕД
И ВИДИМОСТЬ БЕЛОГО ОГНЯ В НАПРАВЛЕНИИ НАЗАД
ДЛЯ ТРАНСПОРТНЫХ СРЕДСТВ КАТЕГОРИЙ L2 И L4
Рисунок Б.1 - Видимость красного огня в направлении вперед
Рисунок Б.2 - Видимость белого огня в направлении назад
(обязательное)
ВИДИМОСТЬ КРАСНОГО ОГНЯ В НАПРАВЛЕНИИ ВПЕРЕД
И ВИДИМОСТЬ БЕЛОГО ОГНЯ В НАПРАВЛЕНИИ НАЗАД
ДЛЯ ТРАНСПОРТНЫХ СРЕДСТВ КАТЕГОРИЙ L5, L6 И L7
Рисунок В.1 - Видимость красного огня в направлении вперед
Рисунок В.2 - Видимость белого огня в направлении назад
(рекомендуемое)
ТЕХНИЧЕСКОЕ ОПИСАНИЕ ТИПА ТРАНСПОРТНОГО СРЕДСТВА В ОТНОШЕНИИ
УСТРОЙСТВ ОСВЕЩЕНИЯ И СВЕТОВОЙ СИГНАЛИЗАЦИИ
1. ОБЩИЕ СВЕДЕНИЯ
Марка транспортного средства (шасси) ______________________
Тип транспортного средства (шасси) ______________________
Модификации ______________________
Коммерческое наименование ______________________
Категория ТС ______________________
Код VIN ______________________
Код ОКП/ТН ВЭД ______________________
Заявитель, представитель изготовителя и его адрес ______________________
Изготовитель и его адрес ______________________
Наименования и адреса сборочных заводов ______________________
2. ОБЩИЕ ХАРАКТЕРИСТИКИ ТРАНСПОРТНОГО СРЕДСТВА
Колесная формула/ведущие колеса ______________________
Габаритные размеры, мм:
- длина
- ширина
- высота
Масса снаряженного транспортного средства, кг ______________________
Полная масса транспортного средства, кг ______________________
Двигатель (марка, тип) ______________________
- количество и расположение цилиндров ______________________
- рабочий объем, см3 ______________________
- степень сжатия ______________________
Максимальная мощность, кВт (при об/мин) ______________________
Максимальный крутящий момент, Нм (при об/мин) ______________________
Топливо ______________________
Подвеска
- передняя ______________________
- задняя ______________________
Шины ______________________
3. ОПИСАНИЕ МАРКИРОВКИ ТРАНСПОРТНОГО СРЕДСТВА
3.1. Место расположения таблички изготовителя.
3.2. Место расположения идентификационного номера.
3.3. Структура и содержание идентификационного номера (номеров) ТС.
1 | 2 | 3 | 4 | 5 | 6 | 7 | 8 | 9 | 10 | 11 | 12 | 13 | 14 | 15 | 16 | 17 |
- | - | - | - | - | - | - | - | - | - | - | - | - | - | - | - | - |
позиции 1 - 3: WMI (международный идентификационный код изготовителя)
позиции 4 - 9: описательная часть идентификационного номера
позиция 10: код года выпуска или модельного года, либо использовать данную позицию по усмотрению изготовителя
позиция 11: код сборочного завода, либо использовать данную позицию по усмотрению изготовителя
| | ИС МЕГАНОРМ: примечание. В официальном тексте документа, видимо, допущена опечатка: имеются в виду позиции 12 - 17, а не позиции 12 - 7. | |
позиции 12 - 7: производственный номер ТС
Приложения:
1. Чертежи общих видов заявленного ТС с указанием его габаритных размеров и месторасположения устройств освещения и световой сигнализации.
2. Перечень устройств освещения и световой сигнализации.
3. Количество, расположение внешних световых приборов.
4. Углы геометрической видимости световых приборов.
5. Копии сообщений об официальном утверждении на установленные типы устройств.
(обязательное)
УКАЗАНИЕ ПЕРВОНАЧАЛЬНОГО РЕГУЛИРОВАНИЯ

| ECE/TRANS/WP.29/78/ | Сводная резолюция о конструкции транспортных средств (СР.3) Комитета по внутреннему транспорту ЕЭК ООН |
| | Европейское соглашение о международной дорожной перевозке опасных грузов |
| | |
| Правила ООН N 1 | Единообразные предписания, касающиеся официального утверждения автомобильных фар, дающих асимметричный луч ближнего и/или дальнего света и оснащенных лампами накаливания категории R2 и/или HS1 |
[5] | Правила ООН N 8 | Единообразные предписания, касающиеся официального утверждения автомобильных фар с асимметричными огнями ближнего света и/или огнями дальнего света, предназначенных для использования с галогенными лампами накаливания (лампы H1, H2, H3, HB3, HB4, H7, H8, H9, HIR1, HIR2 и/или H11) |
[6] | Правила ООН N 20 | Единообразные предписания, касающиеся официального утверждения автомобильных фар с асимметричными огнями ближнего и/или огнями дальнего света, предназначенных для использования с галогенными лампами накаливания (лампа H4) |
[7] | Правила ООН N 56 | Единообразные предписания, касающиеся официального утверждения фар для мопедов и приравниваемых к ним транспортных средств |
[8] | Правила ООН N 57 | Единообразные предписания, касающиеся официального утверждения фар для мотоциклов и приравниваемых к ним транспортных средств |
[9] | Правила ООН N 72 | Единообразные предписания, касающиеся официального утверждения фар для мотоциклов, дающих асимметричный луч ближнего света и луч дальнего света, оборудованных галогенными лампами (лампы HS1) |
[10] | Правила ООН N 76 | Единообразные предписания, касающиеся официального утверждения фар дальнего и ближнего света для мопедов |
[11] | Правила ООН N 82 | Единообразные предписания, касающиеся официального утверждения фар для мопедов, оборудованных галогенными лампами накаливания (типа HS2) |
[12] | Правила ООН N 98 | Единообразные предписания, касающиеся официального утверждения фар механических транспортных средств с газоразрядными источниками света |
[13] | Правила ООН N 112 | Единообразные предписания, касающиеся официального утверждения автомобильных фар, испускающих асимметричный луч ближнего или дальнего света либо оба луча и оснащенных лампами накаливания и/или модулями СИД |
| Правила ООН N 113 | Единообразные предписания, касающиеся официального утверждения автомобильных фар, испускающих симметричный луч ближнего или дальнего света либо оба луча и оснащенных лампами накаливания, газоразрядными источниками света или модулями СИД |
| Правила ООН N 6 | Единообразные предписания, касающиеся официального утверждения указателей поворота механических транспортных средств и их прицепов |
| Правила ООН N 50 | Единообразные предписания, касающиеся официального утверждения подфарников, задних габаритных огней, стоп-сигналов, указателей поворота и устройств освещения заднего номерного знака для транспортных средств категории L |
| Правила ООН N 3 | Единообразные предписания, касающиеся официального утверждения светоотражающих приспособлений для механических транспортных средств и их прицепов |
| Правила ООН N 19 | Единообразные предписания, касающиеся официального утверждения передних противотуманных фар для механических транспортных средств |
| Правила ООН N 38 | Единообразные предписания, касающиеся официального утверждения задних противотуманных огней механических транспортных средств и их прицепов |
| Правила ООН N 23 | Единообразные предписания, касающиеся официального утверждения задних фар механических транспортных средств и их прицепов |
| Правила ООН N 87 | Единообразные предписания, касающиеся официального утверждения дневных ходовых огней механических транспортных |
| ISO 2575:2010 | Транспорт дорожный. Символы для органов управления, индикаторов и сигнальных устройств |