Главная // Актуальные документы // ГОСТ (Государственный стандарт)СПРАВКА
Источник публикации
М.: Стандартинформ, 2017
Примечание к документу
Документ утрачивает силу с 01.11.2025 в связи с изданием
Приказа Росстандарта от 01.10.2024 N 1351-ст. Взамен вводится в действие ГОСТ 12.4.306-2024.
Документ включен в
Перечень международных и региональных (межгосударственных) стандартов, а в случае их отсутствия - национальных (государственных) стандартов, содержащих правила и методы исследований (испытаний) и измерений, в том числе правила отбора образцов, необходимые для применения и исполнения требований технического
регламента Таможенного союза "О безопасности средств индивидуальной защиты" (ТР ТС 019/2011) и осуществления оценки соответствия объектов технического регулирования (
Решение Коллегии Евразийской экономической комиссии от 03.03.2020 N 30).
Документ был включен в
Перечень документов в области стандартизации, содержащих правила и методы исследований (испытаний) и измерений, в том числе правила отбора образцов, необходимые для применения и исполнения требований технического
регламента Таможенного союза "О безопасности средств индивидуальной защиты" (ТР ТС 019/2011) и осуществления оценки соответствия объектов технического регулирования (
Решение Комиссии Таможенного союза от 09.12.2011 N 878).
Документ
введен в действие с 01.09.2017.
Название документа
"ГОСТ 12.4.306-2016. Межгосударственный стандарт. Система стандартов безопасности труда. Комплект экранирующий для защиты персонала от электромагнитных полей радиочастотного диапазона. Методы испытаний"
(введен в действие Приказом Росстандарта от 29.11.2016 N 1835-ст)
"ГОСТ 12.4.306-2016. Межгосударственный стандарт. Система стандартов безопасности труда. Комплект экранирующий для защиты персонала от электромагнитных полей радиочастотного диапазона. Методы испытаний"
(введен в действие Приказом Росстандарта от 29.11.2016 N 1835-ст)
по техническому регулированию
и метрологии
от 29 ноября 2016 г. N 1835-ст
МЕЖГОСУДАРСТВЕННЫЙ СТАНДАРТ
СИСТЕМА СТАНДАРТОВ БЕЗОПАСНОСТИ ТРУДА
КОМПЛЕКТ ЭКРАНИРУЮЩИЙ ДЛЯ ЗАЩИТЫ ПЕРСОНАЛА
ОТ ЭЛЕКТРОМАГНИТНЫХ ПОЛЕЙ РАДИОЧАСТОТНОГО ДИАПАЗОНА
МЕТОДЫ ИСПЫТАНИЙ
Occupational safety standards system. Shielding set
for personal protection from radiofrequency
electromagnetic field exposure. Test methods
ГОСТ 12.4.306-2016
Группа Т58
Дата введения
1 сентября 2017 года
Цели, основные принципы и основной порядок проведения работ по межгосударственной стандартизации установлены в
ГОСТ 1.0-2015 "Межгосударственная система стандартизации. Основные положения" и
ГОСТ 1.2-2015 "Межгосударственная система стандартизации. Стандарты межгосударственные, правила и рекомендации по межгосударственной стандартизации. Правила разработки, принятия, обновления и отмены"
1 ПОДГОТОВЛЕН Закрытым акционерным обществом "ПО ЭНЕРГОФОРМ" (ЗАО "ПО ЭНЕРГОФОРМ")
2 ВНЕСЕН Федеральным агентством по техническому регулированию и метрологии
3 ПРИНЯТ Межгосударственным советом по стандартизации, метрологии и сертификации (протокол от 27 июля 2016 г. N 89-П)
За принятие проголосовали:
Краткое наименование страны по МК (ИСО 3166) 004-97 | Код страны по МК (ИСО 3166) 004-97 | Сокращенное наименование национального органа по стандартизации |
Армения | AM | Минэкономики Республики Армения |
Беларусь | BY | Госстандарт Республики Беларусь |
Казахстан | KZ | Госстандарт Республики Казахстан |
Киргизия | KG | Кыргызстандарт |
Россия | RU | Росстандарт |
4
Приказом Федерального агентства по техническому регулированию и метрологии от 29 ноября 2016 г. N 1835-ст межгосударственный стандарт ГОСТ 12.4.306-2016 введен в действие в качестве национального стандарта Российской Федерации с 1 сентября 2017 г.
5 ВВЕДЕН ВПЕРВЫЕ
Информация об изменениях к настоящему стандарту публикуется в ежегодном информационном указателе "Национальные стандарты", а текст изменений и поправок - в ежемесячном информационном указателе "Национальные стандарты". В случае пересмотра (замены) или отмены настоящего стандарта соответствующее уведомление будет опубликовано в ежемесячном информационном указателе "Национальные стандарты". Соответствующая информация, уведомление и тексты размещаются также в информационной системе общего использования - на официальном сайте Федерального агентства по техническому регулированию и метрологии в сети Интернет (www.gost.ru)
Настоящий стандарт устанавливает методы контроля эффективности экранирования средств индивидуальной защиты (далее - СИЗ) - экранирующих комплектов, предназначенных для защиты работников от воздействия электромагнитных полей (ЭМП) радиочастотного диапазона и методы контроля эффективности экранирования материалов, используемых для изготовления экранирующих комплектов. Оценка коэффициента экранирования проводится в диапазоне частот от 30 кГц до 60 ГГц.
В настоящем стандарте использованы нормативные ссылки на следующие межгосударственные стандарты:
ГОСТ 12.4.305-2016 Система стандартов безопасности труда. Комплект экранирующий для защиты персонала от электромагнитных полей радиочастотного диапазона. Общие технические требования
ГОСТ 12.1.006-84 Система стандартов безопасности труда. Электромагнитные поля радиочастот. Допустимые уровни на рабочих местах и требования к проведению контроля
ГОСТ ISO 15025-2012 Система стандартов безопасности труда. Одежда специальная для защиты от тепла и пламени. Метод испытания на ограниченное распространение пламени
Примечание - При пользовании настоящим стандартом целесообразно проверить действие ссылочных стандартов в информационной системе общего пользования - на официальном сайте Федерального агентства по техническому регулированию и метрологии в сети Интернет или по ежегодному информационному указателю "Национальные стандарты", который опубликован по состоянию на 1 января текущего года, и по выпускам ежемесячного информационного указателя "Национальные стандарты" за текущий год. Если ссылочный стандарт заменен (изменен), то при пользовании настоящим стандартом следует руководствоваться заменяющим (измененным) стандартом. Если ссылочный стандарт отменен без замены, то положение, в котором дана ссылка на него, применяется в части, не затрагивающей эту ссылку.
В настоящем стандарте применены следующие термины с соответствующими определениями:
3.1 электромагнитное поле радиочастотного диапазона; ЭМП РЧ: Электромагнитное поле в настоящем стандарте рассматривается в диапазоне частот от 30 кГц до 60 ГГц.
3.2 коэффициент экранирования (поглощения или отражения): Степень снижения интенсивности электромагнитного поля, выражаемая в децибелах. Определяется по параметрам электромагнитного поля (напряженность электрического и магнитного поля, плотность потока энергии) или по удельной поглощенной мощности.
3.3 эффективность экранирования: Определяется по коэффициенту экранирования.
3.4 концевые участки элементов комплекта: Электропроводящий участок головного убора, рукавов и брюк комбинезона, манжет перчаток и голенищ обуви, которыми элементы комплекта касаются друг друга.
3.5 электрический контакт: Электрическая связь электропроводящих участков элементов комплекта.
3.6 удельная поглощенная мощность; УПМ, Вт/кг: производная по времени электромагнитной энергии, поглощаемой (рассеиваемой) элементом массы, содержащимся в одном элементе объема при данной плотности ткани. УПМ вычисляют по формуле

,
где

- удельная электрическая проводимость объекта, См/м;

- плотность объекта, кг/м
3;
|E| - среднеквадратичное значение напряженности электрической составляющей, В/м.
3.7
проводимость
, См/м: Отношение абсолютных величин плотности тока в среде и напряженности электрического поля:

,
где

- удельная электрическая проводимость объекта, См/м;

- вектор плотности тока, А/м
2;

- вектор напряженности электрического поля, В/м.
3.8
относительная диэлектрическая проницаемость
: Отношение комплексной диэлектрической проницаемости к проницаемости свободного пространства.
3.9 комплексная диэлектрическая проницаемость: Отношение абсолютных величин электрического смещения и напряженности электрического поля в рассматриваемой точке среды.
3.10
тангенс угла потерь
: Отношение мнимой и вещественной частей комплексной относительной диэлектрической проницаемости материала.
3.11 изотропный зонд измерительной системы (зонд): Измерительный зонд электрической или магнитной составляющей электромагнитного поля, позволяющий измерять уровни ЭМП в воздухе и в тканеэквивалентной жидкости (дозиметрический зонд).
3.12 изотропия зонда: Степень независимости реакции зонда, предназначенного для измерения электрического или магнитного поля, от поляризации и направления распространения падающей волны.
3.13 осевая изотропия зонда: Максимальное отклонение измеренного значения при вращении оболочки/корпуса измерительного зонда вокруг главной оси в момент воздействия на зонд опорной волны, распространяющейся вдоль главной оси зонда.
3.14 полусферическая изотропия зонда: Максимальное отклонение измеренного значения при вращении измерительного зонда вокруг своей главной оси в момент воздействия на зонд опорной волны, падающей от полупространства перед зондом и направленной к оси зонда под разными углами.
4 Общие требования к методам испытаний
Контроль эффективности экранирования материалов и средств индивидуальной защиты осуществляют при соблюдении следующих внешних условий:
- температура (22 +/- 2) °C,
- относительная влажность <= 80%,
- уровень фонового ЭМП <= 3 В/м (для диапазона 30 кГц - 300 МГц); 1 мкВт/см2 (для диапазона 300 МГц - 60 ГГц).
5 Методы контроля эффективности экранирующих материалов
Проведение испытаний экранирующих свойств материалов необходимо для обеспечения требований, предъявляемых к защитному комплекту, на этапе его проектирования. Критерием оценки эффективности защитного материала является коэффициент экранирования, выраженный в децибелах и определяемый по уровням ЭМП РЧ без защитного материала и с ним. Различают следующие методы испытания экранирующих материалов: метод оценки коэффициента экранирования в контрольной точке; сеточный метод оценки коэффициента экранирования и оценка коэффициента экранирования с помощью метода открытых волноводов. Методы оценки на плоскостной модели и с помощью открытых волноводов являются более точными и рекомендованы к оценке коэффициента экранирования, если требуемый частотный диапазон не выходит за пределы применимости этих методов.
5.1 Метод оценки коэффициента экранирования материала в контрольной точке для диапазона частот 30 кГц - 60 ГГц
5.1.1 Отбор образцов
Образцы отбирают в соответствии с требованиями нормативной документации (НД) на конкретный тип экранирующего материала. При испытании используют тестовый образец материала, применяемого при изготовлении индивидуального экранирующего комплекта для защиты человека от воздействия ЭМП РЧ диапазона. Размер испытуемого образца не менее 1 x 1 м. Для снижения краевых эффектов рекомендуют использовать испытуемый образец большего размера.
5.1.2 Визуальный контроль
Каждый испытуемый образец подвергают визуальной проверке целостности материала, наличия лицевой и внутренней стороны экранирующего материала.
5.1.3 Оборудование и материалы
5.1.3.1 Система генерации ЭМП
Система генерации ЭМП включает генератор и усилители сигналов, согласующие аттенюаторы, излучающую антенну и соединительные коаксиальные кабели. Все оборудование должно поддерживать работу в диапазонах низких (НЧ), средних (СЧ), высоких (ВЧ), очень высоких (ОВЧ), ультравысоких (УВЧ), сверхвысокочастотных (СВЧ) и крайне высокочастотных (КВЧ) длин волн. Тип антенны ЭМП, воздействию которого подвергают испытуемый образец, определяют, исходя из рабочего диапазона частот
(таблица 1).
Таблица 1
Типы источников в соответствии с частотным диапазоном
генерации ЭМП
Частотный диапазон | Тип источника ЭМП |
0,03 - 3 МГц | Рамочная антенна |
3 - 300 МГц | Биконическая антенна |
300 - 3000 МГц | Полуволновой диполь |
3 - 60 ГГц | Рупорная антенна |
В диапазонах частот 0,03 - 3,0 и 3 - 300 МГц рамочная и биконическая антенны должны обеспечивать приемлемую однородность поля в области размещения образца и напряженность ЭМП не менее 50 В/м для диапазона 30 кГц - 3 МГц; 30 В/м для диапазона 3 - 30 МГц; 10 В/м для диапазона 30 - 300 МГц.
Таблица 2
Ориентировочные размеры полуволновых диполей
Частота, МГц | Длина L, мм | Высота h, мм | Диаметр диполя d1, мм |
300 | 396,0 | 250,0 | 6,35 |
450 | 270,0 | 166,7 | 6,35 |
835 | 161,0 | 89,8 | 3,6 |
900 | 149,0 | 83,3 | 3,6 |
1450 | 89,1 | 51,7 | 3,6 |
1800 | 72,0 | 41,7 | 3,6 |
1900 | 68,0 | 39,5 | 3,6 |
1950 | 66,3 | 38,5 | 3,6 |
2000 | 64,5 | 37,5 | 3,6 |
2450 | 51,5 | 30,4 | 3,6 |
3000 | 41,5 | 25,0 | 3,6 |
L - длина диполя; h - высота; d1 - диаметр диполя;
d2 - диаметр коаксиального фидера
Рисунок 1 - Размеры полуволнового диполя
Таблица 3
Ориентировочные размеры рупорных антенн (см.
рисунок 2)
Частотный диапазон, ГГц | Минимальный размер A, мм | Приблизительный размер B, мм | Приблизительный размер C, мм |
2,6 - 3,95 | 400 | 235 | 175 |
3,95 - 5,85 | 264 | 157 | 116 |
5,85 - 8,2 | 200 | 116 | 86 |
8,2 - 12,4 | 126 | 76 | 58 |
Рисунок 2 - Ориентировочные размеры рупорной антенны
Рабочий диапазон частот генератора и усилителя сигналов должны соответствовать выбранному диапазону и обеспечивать установку соответствующей частоты из диапазона 30 кГц - 60 ГГц с погрешностью не более 2%.
Выходную мощность генератора подбирают таким образом, чтобы обеспечить требуемый уровень ЭМП в области расположения испытуемого образца, но не ниже 50 В/м для диапазона 30 кГц - 3 МГц; 30 В/м для диапазона 3 - 30 МГц; 10 В/м для диапазона 30 - 300 МГц; 25 мкВт/см2 для диапазона 0,3 - 60 ГГц.
5.1.3.2 Крепление образца
Рама для фиксации образца испытываемого материала должна быть изготовлена из материала с относительной диэлектрической проницаемостью менее 5 и тангенсом угла диэлектрических потерь менее 0,5. Внутренний размер рамы должен быть не менее 0,9 x 0,9 м, и иметь возможность фиксации образца материала в вертикальном положении.
5.1.3.3 Измерительное оборудование
Измерительное оборудование для проведения испытаний включает изотропные измерительные антенны напряженности электрического поля и/или напряженности магнитного поля, подключенные к измерителю электромагнитных полей, и имеет возможность сопряжения с персональным компьютером посредством оптоволоконного кабеля для передачи получаемых значений.
Характеристики изотропных измерительных антенн напряженности электрического поля должны удовлетворять следующим требованиям:
- частотный диапазон - в соответствии с исследуемой частотой из диапазона 30 кГц - 60 ГГц;
- минимальный предел измерения - не более 1 В/м;
- максимальный предел измерения - не менее 500 В/м;
Характеристики изотропных измерительных антенн напряженности магнитного поля должны удовлетворять следующим требованиям:
- частотный диапазон - в соответствии с исследуемой частотой из диапазона 30 кГц - 60 ГГц;
- минимальный предел измерения - не более 100 мА/м;
- максимальный предел измерения - не менее 1 А/м.
5.1.4 Подготовка и проведение испытаний
5.1.4.1 Схема испытательного стенда
Источник ЭМП (излучающая антенна) подключают коаксиальными кабелями через усилитель к генератору сигналов заданной частоты и устанавливают перед фиксатором испытуемого образца на расстоянии не более 0,3 м от центра фиксатора (см.
рисунки 3 -
6) с допустимым отклонением не более +/- 2 мм. Излучающая антенна должна быть жестко закреплена и исключать касание рамки фиксатора испытуемого образца и самого образца ткани.
Рисунок 3 - Схема испытательного стенда для оценки
экранирующих материалов с рамочной антенной для диапазона
частот 0,03 - 30 МГц
Рисунок 4 - Схема испытательного стенда для оценки
экранирующих материалов с биконической антенной
для диапазона частот 30 - 300 МГц
Рисунок 5 - Схема испытательного стенда для оценки
экранирующих материалов с полуволновой дипольной антенной
для диапазона частот 0,3 - 3 ГГц
Рисунок 6 - Схема испытательного стенда для оценки
экранирующих материалов с рупорной антенной для диапазона
частот 3 - 60 ГГц
5.1.4.2 Широкополосный измеритель ЭМП с изотропной измерительной антенной располагают с обратной стороны от фиксатора образца на расстоянии не менее 0,3 м от плоскости фиксатора до измерительной антенны. Антенну измерителя ЭМП устанавливают соосно основой диаграмме направленности излучающей антенны в центре рамы. Широкополосный измеритель ЭМП подключают к персональному компьютеру посредством оптоволоконного кабеля.
5.1.4.3 Перед началом измерений, обеспечивают стабильный режим работы излучающей системы. Контроль стабильности излучения может быть осуществлен посредством двунаправленного ответвителя мощности и двухканального измерителя мощности требуемого диапазона. Для обеспечения согласованности в тракте и защиты измерительных головок рекомендуют использовать аттенюаторы.
5.1.4.4 При использовании широкополосного измерителя ЭМП, перед началом измерений требуется обеспечить ввод корректирующего коэффициента в соответствии с рабочей частотой измерения и измерительной антенной. В случае применения селективной антенны измеритель ЭМП используют только для указанных частот.
5.1.4.5 Проводят измерение среднеквадратичного значения напряженности электрической и/или магнитной составляющей ЭМП, а также среднеквадратичного значения плотности потока энергии (ППЭ), исходя из требуемых частот (диапазонов) в течение 6 мин с частотой сохранения данных не реже 2 с. Данные сохраняют. Усреднение данных осуществляют по записанному интервалу измерений.
5.1.4.6 В ходе измерений запрещается сдвигать измеритель ЭМП или излучающую систему, а также вносить между ними посторонние предметы.
5.1.4.7 На раме фиксатора закрепляют испытуемый образец, в случае необходимости лицевой стороной к излучающей системе. Испытуемый образец должен быть расправлен (при необходимости разглаживаются все образовавшиеся складки). Испытуемый образец не должен касаться излучающих и измерительных антенн. Расстояния от поверхности образца до антенн (измерительной и излучающей) не должно превышать 0,3 м.
5.1.4.8 Измерения среднеквадратичных значений оцениваемых параметров ЭМП с образцом проводят в соответствии с
п. 5.1.4.5.
5.1.4.9 В ходе измерений по
5.1.4.5,
5.1.4.7 и
5.1.4.8 не допускается изменение мощности в излучающей системе, а также изменений положения излучающей и измерительной антенн.
5.1.4.10 До и после измерений по
5.1.4.5 и
5.1.4.8 проводят разовый замер интенсивности ЭМП в фиксированной точке (контрольной точке) и сравнивают показатели уровней напряженности электрического (магнитного) поля/ППЭ. Результаты измерения признают достоверными, если разница до и после измерений составит менее 0,2 дБ. В противном случае, результаты признают недостоверными, и проводят повторное измерение.
5.1.4.11 Для проведения испытаний на других частотах, выбирают другую рабочую частоту на генераторе сигналов, при необходимости меняют усилители и излучающие антенны, далее проводят испытания в соответствии с
5.1.4.2 -
5.1.4.10.
5.1.5 Обработка результатов
5.1.5.1 Для каждой частоты измерения не более 300 МГц вычисляют коэффициент экранирования
KEi по формуле

, (1)
где
Eсвi - среднеквадратичное значение напряженности электрической составляющей ЭМП, В/м, измеренное в соответствии с
5.1.4.5;
Eэкрi - среднеквадратичное значение напряженности электрической составляющей ЭМП с образцом, В/м, измеренное в соответствии с
5.1.4.8.
5.1.5.2 Для каждой частоты измерения не более 300 МГц вычисляют коэффициент экранирования по формуле

, (2)
где
Hсвi - среднеквадратичное значение напряженности магнитной составляющей ЭМП, А/м, измеренное в соответствии с
5.1.4.5;
Hэкрi - среднеквадратичное значение напряженности магнитной составляющей ЭМП с образцом, А/м, измеренное в соответствии с
5.1.4.8.
5.1.5.3 Для каждого измерения на определенной частоте вычисляют коэффициент экранирования для частот свыше 300 МГц по формуле:

, (3)
где KППЭi - коэффициент экранирования для i-й частоты;
Pсвi - среднеквадратичное значение ППЭ для i-й частоты, усредненное по результатам измерений без испытуемого образца;
Pэкрi - среднеквадратичное значение ППЭ для i-й частоты, усредненное по результатам измерений с испытуемым образцом.
5.1.5.4 Пересчитывают значения коэффициентов экранирования по
5.1.5.1 -
5.1.5.3 для каждой испытанной частоты.
5.2 Метод проведения испытаний по оценке коэффициента экранирования материала на плоскостной модели для диапазона 30 МГц - 6 ГГц
5.2.1 Отбор образцов
Образцы отбирают по НД на конкретный тип экранирующего материала. При испытании используют тестовый образец материала, применяемого при изготовлении индивидуального экранирующего комплекта для защиты человека от воздействия ЭМП РЧ диапазона размером 1 x 1 м.
5.2.2 Визуальный контроль
Каждый испытуемый образец подвергают визуальной проверке целостности, с лицевой и внутренней стороны экранирующего материала.
5.2.3 Оборудование и материалы
5.2.3.1 Система генерации ЭМП
Система генерации ЭМП включает генератор и усилители очень высоких, ультравысоких и сверхвысокочастотных (СВЧ) сигналов, согласующие аттенюаторы, излучающую антенну и соединительные коаксиальные кабели. Тип антенны ЭМП, излучению которого подвергают испытуемый образец, определяют исходя из рабочего диапазона частот
(таблица 4).
Таблица 4
Частотный диапазон | Тип источника ЭМП |
30 - 300 МГц | Биконическая антенна |
300 - 3000 МГц | Полуволновой диполь |
3 - 60 ГГц | Рупорная антенна |
Рабочий диапазон частот генератора и усилителя сигналов должен соответствовать выбранному диапазону и обеспечивать установку соответствующей частоты из диапазона 30 МГц - 60 ГГц с погрешностью не более 2%. Выходную мощность генератора подбирают таким образом, чтобы обеспечить требуемый уровень ЭМП в области расположения испытуемого образца.
5.2.3.2 Плоскостная модель
Плоскостная радиопрозрачная модель для испытания образца должна быть изготовлена из материала с относительной диэлектрической проницаемостью менее 5 и тангенсом угла диэлектрических потерь менее 0,5. Размеры модели должны соответствовать размерам образца и области сканирования.
5.2.3.3 Измерительное оборудование
Измерительное оборудование для проведения испытаний включает изотропные измерительные зонды напряженности электрического поля и/или напряженности магнитного поля, автоматизированную систему трехмерного позиционирования измерительного зонда, сопряженную с персональным компьютером.
Автоматизированная система трехмерного позиционирования зонда, должна обеспечивать сканирование рабочей зоны для оценки трехмерного распределения значений коэффициента экранирования. Механическая конструкция сканирующей системы не должна влиять на точность измерений параметров ЭМП. Положение сканирующей системы должно быть согласовано с положением манекена не менее чем по трем опорным точкам манекена, определяемым пользователем или изготовителем системы.
Точность установки наконечника зонда над областью измерений должна быть выше +/- 0,2 мм. Шаг измерения в системе позиционирования должен быть не более 1 мм.
Характеристики изотропного измерительного зонда напряженности электрического поля должны соответствовать следующим требованиям:
- частотный диапазон - в соответствии с исследуемой частотой из диапазона 30 МГц - 6 ГГц;
- минимальный предел измерения - не более 1 В/м;
- максимальный предел измерения - не менее 500 В/м;
- линейность - в пределах +/- 0,5 дБ;
- осевая изотропия - в пределах +/- 0,5 дБ;
- полусферическая изотропия - в пределах +/- 0,5 дБ.
Характеристики изотропного измерительного зонда напряженности магнитного поля должны соответствовать следующим требованиям:
- частотный диапазон - в соответствии с исследуемой частотой из диапазона 30 МГц - 6 ГГц;
- минимальный предел измерения - не более 100 мА/м;
- максимальный предел измерения - не менее 1 А/м;
- линейность - в пределах +/- 0,5 дБ;
- осевая изотропия - в пределах +/- 0,5 дБ;
- полусферическая изотропия - в пределах +/- 0,5 дБ.
Рекомендованный внешний размер (диаметр) оболочки/корпуса зонда в области измерительных элементов <= 8 мм (для минимизации искажения напряженности ЭМП).
5.2.4 Подготовка и проведение испытаний
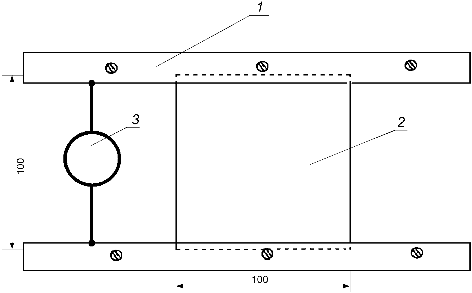
5.2.4.1 Схема испытательного образца
Источник ЭМП подключают коаксиальными кабелями через усилитель к генератору сигналов заданной частоты и устанавливают под плоскостью модели и центрируют так, чтобы его ось была параллельна самой длинной ее стороне (см.
рисунок 7). При этом расстояние между верхней поверхностью модели и полуволновым диполем должно составлять не менее 15 мм для частотного диапазона 3 - 1000 МГц и не менее 10 мм - для частот более 1 ГГц. Допустимое отклонение расстояния должно быть не более +/- 0,2 мм.
1 - автоматизированная система трехмерного позиционирования
измерительного зонда; 2 - измерительный зонд;
3 - плоский радиопрозрачный фантом; 4 - дипольная антенна;
5 - усилитель ЭМП
Рисунок 7 - Схема испытательного стенда для оценки
экранирующих материалов
Горизонтальную плоскость сканирования для устройства трехмерного позиционирования измерительного зонда задают с помощью персонального компьютера (ПК). Плоскость сканирования представляет собой пространственную сетку с заданным шагом и площадью, расположенную на высоте 5 мм над плоским фантомом.
Размеры области сканирования должны быть заданы таким образом, чтобы ее площадь перекрывала всю область основной диаграммы направленности антенны.
5.2.4.2 В устройстве трехмерного позиционирования фиксируют изотропный измерительный зонд для напряженности электрического (магнитного) поля. По заданной в
5.2.4.1 плоскости сканирования проводят измерения среднеквадратичного значения напряженности электрической (магнитной) составляющей ЭМП в каждом узле пространственной сетки.
5.2.4.3 Испытуемый образец размещают на поверхности плоского фантома, лицевой стороной к источнику ЭМП. При необходимости разглаживают все образовавшиеся складки.
5.2.4.4 Измерения среднеквадратичного значения напряженности электрической составляющей ЭМП проводят согласно
5.2.4.2.
5.2.4.5 До и после измерений по
5.2.4.2 и
5.2.4.4 проводят замер мощности в фиксированной точке (контрольной точке) и сравнивают показатели уровней напряженности электрического (магнитного) поля. Результаты измерения признают достоверными, если разница до и после измерений составит менее 0,2 дБ. В противном случае, результаты признают недостоверными и проводят повторное измерение.
5.2.5 Обработка результатов
5.2.5.1 В каждом узле пространственной сетки измерения вычисляют коэффициент экранирования
KEij по формуле

, (4)
где
Eсв ij - среднеквадратичное значение напряженности электрической составляющей ЭМП в узле сетки (
i,
j), В/м, измеренное в соответствии с
5.2.4.2;
Eэкрij - среднеквадратичное значение напряженности электрической составляющей ЭМП в узле сетки (
i,
j) с экранирующим материалом, В/м, измеренное в соответствии с
5.2.4.4.
5.2.5.2 В каждом узле пространственной сетки измерения вычисляют коэффициент экранирования
KHij по формуле

, (5)
где
Hсвij - среднеквадратичное значение напряженности магнитной составляющей ЭМП в узле сетки (
i,
j), А/м, измеренное в соответствии с
5.2.4.2;
Hэкрij - среднеквадратичное значение напряженности магнитной составляющей ЭМП в узле сетки (
i,
j) с экранирующим материалом, А/м, измеренное в соответствии с
5.2.4.4.
5.2.5.3 Значения коэффициентов экранирования (
5.2.5.1 и
5.2.5.2) усредняют по плоскости сканирования.
5.3 Метод контроля эффективности экранирования материала методом открытых волноводов в диапазоне 10 МГц - 60 ГГц
Метод открытых волноводов применим для диапазона 10 МГц - 60 ГГц является более точным по сравнению с точечным методом оценки, который должен применяться при использовании материалов в указанном диапазоне частот. Уточняющий метод не противоречит методу испытаний на плоскостной модели и позволяет оценить эффективность экранирования не только с позиций поглощения энергии ЭМП, но и эффективность отражения падающей энергии.
5.3.1 Отбор образцов
Для проведения испытаний изготавливают два типа образцов: опорный и испытуемый образец. Размеры образцов определяют частотным диапазоном и размерами коаксиального зонда.
5.3.2 Оборудование и материалы
5.3.2.1 Измерительное оборудование
Измерительная система (см.
рисунок 8) включает анализатор цепей, сопряженный с ПК, измерительный адаптер (держатель) из двух коаксиальных антенн, образцы материала и коаксиальные кабели.
1 - область размещения образцов материалов; 2 - коаксиальные
антенны измерительного адаптера; r1 - радиус внутреннего
проводника; r2 - внутренний радиус внешнего проводника
Рисунок 8 - Схема испытательного стенда для оценки
экранирующих материалов
Размеры коаксиальных антенн (см.
рисунок 8), используемых для проведения испытаний, определяют в соответствии с рабочей частотой и вычисляют по формуле

, (6)
где c - скорость света, м/с;
r1 - радиус внутреннего проводника коаксиальной антенны, м;
r2 - внутренний радиус внешнего проводника коаксиальной антенны, м.
Коаксиальные антенны, между которыми размещают образец, подключают к портам анализатора цепей, измеряющего S-параметры: коэффициент передачи S12 (S21) и коэффициент отражения S11 (S22).
Характеристики анализатора цепей должны удовлетворять следующим требованиям:
- частотный диапазон должен соответствовать исследуемой частоте;
- динамический диапазон не менее 100 дБ;
- функции анализа S-параметров.
5.3.2.2 Образцы материалов
Испытания проводят на обоих типах образцов (см.
рисунок 9), изготовленных из испытуемого материала и соответствующих размеров коаксиальной антенны (см.
рисунок 8). Опорный образец представляет собой диск радиусом
r1 и диск с внутренним радиусом
r2 и внешним радиусом
R. Испытуемый образец представляет собой диск радиусом
R.
r1 - радиус внутреннего проводника коаксиальной антенны,
r2 - внутренний радиус внешнего проводника коаксиальной
антенны; R - радиус фланца коаксиальной антенны
Рисунок 9 - Размеры образцов материала
5.3.3 Подготовка и проведение испытаний
5.3.3.1 Коаксиальные антенны с помощью коаксиальных кабелей подключают к измерительным разъемам векторного анализатора цепей (см.
рисунок 8). Коаксиальные антенны располагаются соосно, с зазором 2 - 5 мм и имеют одну степень свободы по направлению друг к другу.
Проводят калибровку портов и настройку режима работы анализатора цепей в соответствии с инструкцией к нему.
5.3.3.2 Между коаксиальными антеннами в зазор устанавливают калибровочный образец и антенны прижимают к образцу.
5.3.3.3 Проводят измерения параметров
S12 (
S21).
5.3.3.4 Калибровочный образец замещают испытуемым образцом, устанавливаемым между коаксиальными антеннами в зазор.
5.3.3.5 Измерения параметров
S12 (
S21) проводят три раза и усредняют.
5.3.4 Обработка результатов
5.3.4.1 Коэффициент экранирования опорного образца Kоп вычисляют по формуле

, (7)
где
S12 - коэффициент прохождения, измеренный в соответствии с
5.3.3.3.
5.3.4.2 Коэффициент экранирования испытуемого образца Kисп вычисляют по формуле

, (8)
где
S12 - коэффициент прохождения, измеренный в соответствии с
5.3.3.5.
5.3.4.3 Коэффициент экранирования материала Kэкр вычисляют по формуле
Kэкр = |Kисп - Kоп|. (9)
5.4 Метод определения величины электрического поверхностного сопротивления экранирующей ткани
5.4.1 Аппаратура и оборудование
Омметр с классом точности не более 4 и выходным напряжением - не более 10 В.
Испытательная рамка, состоящая из двух сдвоенных отшлифованных металлических пластин с винтовым разъемным соединением
Испытуемый образец - квадратный кусок электропроводящей ткани со стороной квадрата L, равной 10 м.
5.4.2 Подготовка образца к испытаниям
Испытуемый образец закрепляют в сдвоенных отшлифованных металлических пластинах параллельно основе на расстоянии 5 мм от края образца (в продольном направлении для трикотажной ткани). Пластины плотно стягивают винтами. При этом не допускается натяжение ткани, способствующее лучшему контакту нитей и волокон ткани между собой.
5.4.3 Проведение испытаний
Собирают электрическую схему (см.
рисунок 10). Проводят измерение поверхностного сопротивления образца ткани. Результаты измерений фиксируют в рабочем журнале.
1 - пластины; 2 - испытуемый образец; 3 - омметр
Рисунок 10 - Измерение электрического поверхностного
сопротивления электропроводящей ткани
Осуществляют перестановку пластин параллельно утку (в поперечном направлении для трикотажной ткани) и измерения повторяют.
5.4.4 Обработка результатов
Измеренное значение поверхностного сопротивления пересчитывают по формуле

, (10)
где Rизм - измеренное значение сопротивления образца ткани;
L1 - ширина образца ткани (10 см);
L2 - расстояние между медными пластинами (9 см).
При заявленных размерах образца:

. (11)
| | ИС МЕГАНОРМ: примечание. В официальном тексте документа, видимо, допущена опечатка: имеется в виду формула 10, а не 18. | |
Допускается проведение испытаний на образцах с размерами, отличными от заявленных, но не менее заявленных. Расчет значения поверхностного сопротивления осуществляют в этом случае по
формуле 18.
| | ИС МЕГАНОРМ: примечание. В официальном тексте документа, видимо, допущена опечатка: имеется в виду п. 4.1.3 ГОСТ 12.4.305-2016. | |
5.4.5 Экранирующая ткань соответствует требованиям настоящего стандарта, если значения поверхностного электрического сопротивления образца экранирующей ткани при всех измерениях не превысило указанного в
4.1.3.
5.5 Метод испытания ткани на огнестойкость
5.5.1 В зависимости от конструкции комплекта это может быть электропроводящая ткань, либо пакет тканей.
6 Методы испытания эффективности экранирующих комплектов средств индивидуальной защиты
6.1 Метод испытания экранирующих комплектов в свободном пространстве
6.1.1 Отбор образцов
Образцы отбирают в соответствии с нормативной документацией (НД) на конкретный тип экранирующего комплекта.
6.1.2 Визуальный контроль
6.1.2.1 Визуальному контролю подвергают каждый испытуемый экранирующий комплект.
6.1.2.2 Контроль включает проверку:
- комплектности;
- целостности электропроводящих материалов и швов;
- наличия и целостности соединений частей комплекта.
6.1.3 Оборудование и материалы
6.1.3.1 Испытательный манекен
Для проведения испытаний используют испытательный манекен из радиопрозрачного материала (не содержащего электропроводящие компоненты - уголь и/или металл). Манекен включает полый торс, руки, ноги и голову. На передней поверхности манекена расположено прямоугольное отверстие размером не менее 0,25 x 0,25 м, достаточное для размещения антенн и измерительных приборов внутри манекена в трех точках (голова, грудь и пах).
6.1.3.2 Испытуемый образец
Испытуемый образец представляет собой СИЗ человека от электромагнитных полей РЧ диапазона, характеристики которого удовлетворяют общим техническим требованиям в соответствии с
ГОСТ 12.4.305.
6.1.3.3 Источник ЭМП РЧ
Источник ЭМП РЧ для проведения испытаний используют антенны, работающие в диапазоне частот 0,3 МГц - 60 ГГц. Тип антенны определяют в соответствии с
5.1.3.1.
Источник ЭМП в месте расположения манекена должен обеспечивать:
- в диапазоне частот 0,3 - 300 МГц напряженность поля не менее 20 В/м;
- в диапазоне частот более 300 МГц плотность потока энергии (ППЭ) не менее 1 мВт/см2.
6.1.3.4 Измерительные приборы
Измерение уровней ЭМП осуществляют с применением широкополосного (или селективного) измерителя электромагнитного поля для выбранного диапазона частот, обеспечивающего сохранение данных или использующего оптоволоконный кабель для передачи измеряемых величин на ПК вне зоны облучения манекена.
Требования к измерительному прибору:
- измеритель не должен оказывать значительное влияние на ЭМП;
- измеритель должен иметь изотропный датчик, способный производить измерение среднеквадратичного значения (СКЗ) напряженностей электрической и магнитной составляющей ЭМП;
- диапазон измерений напряженности электрической составляющей ЭМП от 0,7 до 300 В/м для диапазона 0,3 - 300 МГц;
- диапазон измерений напряженности магнитной составляющей ЭМП от 0,17 до 16 А/м для диапазона 0,3 - 300 МГц;
- предел измерений ППЭ - до 1 Вт/см2 для частот более 300 МГц;
- линейность - в пределах +/- 0,5 дБ.
6.1.4 Подготовка и проведение испытаний
6.1.4.1 Измерения осуществляют на стенде (см.
рисунок 11).
Измерения проводят в трех точках: в области головы, груди и паха.
1 - манекен; 2 - точки измерений; 3 - антенна
Рисунок 11 - Измерительный стенд для испытаний
в свободном пространстве
6.1.4.2 Средство измерения устанавливают в полости манекена водной из трех точек измерения таким образом, чтобы исключить соприкосновение измерительной антенны прибора и манекена.
6.1.4.3 Манекен с установленным средством измерения размещают в зоне излучения антенны таким образом, чтобы полностью находиться в ЭМП. Расстояние от излучающей антенны до поверхности манекена должно составлять не менее 0,3 м.
6.1.4.4 Измерение уровней ЭМП РЧ (среднеквадратичное значение плотности потока энергии для частот более 300 МГц, среднеквадратичное значение напряженности электрической и магнитной составляющих ЭМП для частот менее 300 МГц) проводят в течение не менее 6 мин.
6.1.4.5 Для оставшихся точек измерения повторяют испытания в соответствии с
6.1.4.2 -
6.1.4.4.
6.1.4.6 Испытуемое СИЗ надевают на манекен. Испытания осуществляют в соответствии с
6.1.4.1 -
6.1.4.5.
6.1.5 Обработка результатов
Для каждого измерения на определенной частоте и для каждой точки измерения рассчитывают коэффициент экранирования для частот более 300 МГц по
формуле (12) и для частот менее 300 МГц по
формуле (13)

(12)
где Kэi - коэффициент экранирования для i-й частоты;
Pвнешнее i - среднеквадратичное значение плотности потока энергии для i-й частоты, усредненное по результатам измерений без защитного комплекта;
Pвнутреннее i - среднеквадратичное значение плотности потока энергии внутри образца для i-й частоты, усредненное по результатам измерений с защитным комплектом.

(13)
где Eвнешнее i - среднеквадратичное значение напряженности электрической составляющей ЭМИ для i-й частоты, усредненное по результатам измерений без защитного комплекта;
Eвнутреннее i - среднеквадратичное значение напряженности электрической составляющей ЭМИ, внутри образца для i-й частоты, усредненное по результатам измерений с защитным комплектом;
Hвнешнее i - среднеквадратичное значение напряженности магнитной составляющей ЭМИ для i-й частоты, усредненное по результатам измерений без защитного комплекта;
Hвнутреннее i - среднеквадратичное значение напряженности магнитной составляющей ЭМИ, внутри образца для i-й частоты, усредненное по результатам измерений с защитным комплектом.
Для оценки коэффициента экранирования по одной из составляющих ЭМП в диапазоне менее 300 МГц, можно использовать
формулу (14)

. (14)
6.2 Метод контроля эффективности экранирования средств индивидуальной защиты с использованием дозиметрических фантомов в диапазоне 0,3 - 3 ГГц
Контроль эффективности экранирования СИЗ с использованием дозиметрических фантомов осуществляют по параметру удельной поглощенной мощности.
6.2.1 Отбор образцов
Образцы отбирают по НД на конкретный тип экранирующего комплекта.
6.2.2 Визуальный контроль
| | ИС МЕГАНОРМ: примечание. В официальном тексте документа, видимо, допущена опечатка: имеется в виду п. 6.1.2, а не 6.2. | |
Визуальный контроль проводят в соответствии с
6.2.
6.2.3 Оборудование и материалы
6.2.3.1 Испытательный манекен
Для проведения испытаний используют фантом, заполненной тканеэквивалентной жидкостью соответствующий
[1], а также следующим требованиям:
- на фантом должны быть нанесены отметки для согласования расположения фантома, излучателя и измерительного устройства относительно друг друга (не менее трех отметок);
- оболочка фантома должна быть изготовлена из пластмассы с небольшими диэлектрическими потерями (

,

) или из материалов, замещающих биологическую ткань;
- оболочка фантома должна быть устойчива ко всем видам тканеэквивалентной жидкости (см.
таблицу 5);
- параметры тканеэквивалентной жидкости, используемой для измерений на соответствующей частоте, должны соответствовать
таблице 5.
Таблица 5
Параметры тканеэквивалентной жидкости
Частота, МГц | Относительная диэлектрическая проницаемость | Проводимость, См/м |
300 | 45,3 | 0,87 |
450 | 43,5 | 0,87 |
835 | 41,5 | 0,90 |
900 | 41,5 | 0,97 |
1450 | 40,5 | 1,20 |
1800 - 2000 | 40,0 | 1,40 |
2450 | 39,2 | 1,8 |
3000 | 38,5 | 2,40 |
6.2.3.2 Испытуемый образец СИЗ
Испытуемый образец - СИЗ человека от ЭМП РЧ, соответствующий технической документации (ТД) производителя.
6.2.3.3 Источник ЭМП РЧ
В качестве источника ЭМП РЧ для проведения испытаний используют диполи, работающие на определенной частоте в диапазоне 300 МГц - 3 ГГц.
6.2.3.4 Измерительные приборы
Для обеспечения оценки удельной поглощенной мощности (УПМ) используют комплексы, включающие в себя измерительные дозиметрические зонды, способные осуществлять измерение среднеквадратичных значений электрической составляющей ЭМП РЧ в фантоме, а также системы позиционирования зонда в пространстве.
Требования к измерительным приборам:
- погрешность позиционирования зонда в пространстве +/- 0,2 мм;
- рабочий диапазон частот измерительного зонда 300 МГц - 6 ГГц;
- динамический диапазон измерений СКЗ электрической составляющей ЭМП: от 10 до 500 В/м;
- линейность +/- 0,3 дБ.
6.2.4 Подготовка и проведение испытаний
6.2.4.1 Измерения осуществляют в двух областях фантома: в области головы и груди.
6.2.4.2 Источник ЭМП РЧ размещают под фантомом на фиксированном расстоянии от него. Расстояние от диполя до фантома для диапазона частот 300 - 1000 МГц составляет (15 +/- 0,2) мм; для диапазона частот 1 - 3 ГГц составляет (10 +/- 0,2) мм.
6.2.4.3 Внутри фантома задают объемную область сканирования для устройства трехмерного позиционирования измерительного зонда с помощью ПК. Область сканирования представляет собой пространственную сетку с заданным шагом. Размеры области сканирования должны быть заданы таким образом, чтобы ее площадь перекрывала всю область основной диаграммы направленности антенны.
6.2.4.4 Измерение среднеквадратичного значения электрической составляющей ЭМП РЧ в каждом узле решетки осуществляют с помощью системы позиционирования зондом.
6.2.4.5 СИЗ надевают на фантом. Испытания проводят в соответствии с
6.2.4.1 -
6.2.4.4.
6.2.5 Обработка результатов
6.2.5.1 Для каждого измерения (при отсутствии и наличии испытуемого образца СИЗ, с данными параметрами ЭМП РЧ для данной области измерения) в каждом узле решетки, заданной в соответствии с
6.2.4.3, вычисляют значение удельной поглощенной мощности (
УПМ) по формуле

, (15)
где

- удельная электрическая проводимость тканеэквивалентной жидкости, См/м;

- плотность тканеэквивалентной жидкости, кг/м
3;
|E|2 - среднеквадратичное значение напряженности электрической составляющей, В/м.
6.2.5.2 Для каждого случая (при отсутствии и наличии испытуемого образца СИЗ) значение
УПМ усредняют по объему, заданному в
6.2.4.3.
6.2.5.3 С помощью полученных в соответствии с
6.2.5.2 значений (при отсутствии и наличии испытуемого образца СИЗ) для данной частоты коэффициент экранирования
Kэi вычисляют по формуле

, (16)
где УПМвнешнее i - усредненная величина УПМ, полученная после испытаний без использования защитного комплекта;
УПМвнутреннее i - усредненная величина УПМ, полученная после испытаний с использованием защитного комплекта.
6.3 Метод определения коэффициента экранирования электромагнитного поля радиочастотного диапазона экранирующей тканью
6.3.1 Метод определения коэффициента экранирования электромагнитного поля радиочастотного диапазона разработана в соответствии с требованиями
ГОСТ 12.1.006.
6.3.2 Измерения уровней ЭМП РЧ диапазона осуществляют без применения образцов ткани и при размещении образцов между источником ЭМП и средством метрологического контроля.
6.3.3 Измерения проводят на расстоянии 10 см от источника ЭМП в частотных диапазонах от 30 кГц до 300 МГц и от 300 МГц до 60 ГГц.
6.3.4 В каждом из выше обозначенных диапазонов делают выборку в 5 частот по всему диапазону, и на каждой частоте делают не менее трех измерений, причем в диапазоне от 30 кГц до 300 МГц проводят измерения по среднеквадратичному значению напряженности электрического поля E, а в диапазоне от 300 МГц до 60 ГГц проводят измерения по среднеквадратичному значению плотности потока энергии внешнего электромагнитного поля P.
6.3.5 Источником ЭМП служит генератор, усилитель, дипольные антенны, кабельные сборки.
6.3.6 Для определения значений E и P используют измеритель уровней электромагнитных полей, внесенный в государственный реестр средств измерений с датчиком электрического поля.
6.3.7 Коэффициент экранирования образца при
i-ом измерении для частотного диапазона от 30 кГц до 300 МГц,
Kэ, дБ, вычисляют по формуле

, (17)
где Eфон - напряженность внешнего электрического поля,
Eобрi - напряженность электрического поля при использовании i-го образца.
6.3.8 Коэффициент экранирования при
i-ом измерении для частотного диапазона от 300 МГц до 60 ГГц,
Kэ, дБ, вычисляют по формуле

, (18)
где Pфон - значение плотности потока энергии внешнего электромагнитного поля,
Pобрi - значение плотности потока энергии электромагнитного поля при использовании i-го образца.
| | ИС МЕГАНОРМ: примечание. В официальном тексте документа, видимо, допущены опечатки: имеются в виду п.п. 6.3.7 и 6.3.8, а не 6.3.5 и 6.3.6 соответственно. | |
6.3.9 Экранирующая ткань соответствует требованиям настоящего стандарта по коэффициенту экранирования, если коэффициент экранирования для частотного диапазона от 30 кГц до 300 МГц, рассчитанный по
6.3.5, не менее указанного в ГОСТ 12.4.305
(пункт 4.1.2), и коэффициент экранирования для частотного диапазона от 300 МГц до 60 ГГц, рассчитанный по
6.3.6 не менее указанного в ГОСТ 12.4.305
(пункт 4.1.2).
| IEC 62209-1-2008 | Воздействие на человека радиочастотных полей от ручных и располагаемых на теле беспроводных устройств связи. Модели человека, измерительные приборы и процедуры. Часть 1. Порядок определения коэффициента удельного поглощения энергии для ручных устройств, используемых в непосредственной близости к уху (полоса частот от 300 МГц до 3 ГГц) |
УДК 62.758.37:006.354 | | Т58 |
Ключевые слова: средства индивидуальной защиты, электромагнитное поле радиочастотного диапазона, комплект защитный от электромагнитных полей, методы испытания, коэффициент экранирования |