Краткое наименование страны по МК (ИСО 3166) 004-97 | Код страны по МК (ИСО 3166) 004-97 | Сокращенное наименование национального органа по стандартизации |
Азербайджан | AZ | Азстандарт |
Армения | AM | Минэкономики Республики Армения |
Беларусь | BY | Госстандарт Республики Беларусь |
Грузия | GE | Грузстандарт |
Казахстан | KZ | Госстандарт Республики Казахстан |
Киргизия | KG | Кыргызстандарт |
Молдова | MD | Молдова-Стандарт |
Россия | RU | Росстандарт |
Таджикистан | TJ | Таджикстандарт |
Туркменистан | TM | Главгосслужба "Туркменстандартлары" |
Узбекистан | UZ | Узстандарт |
Украина | UA | Минэкономразвития Украины |

N | Английский | Французский | Русский |
1 | bed | banc | станина |
2 | column base | base du montant | основание стойки |
3 | spindle head | chariot ![]() | шпиндельная бабка |
4 | ram | корпус шпинделя | |
5 | column | montant du chariot ![]() | стойка |
6 | spindle | broche | шпиндель |
7 | fixed table | table fixe | неподвижный стол |
8 | table bed | banc de la table | основание стола |
9 | rotary table saddle | de la table | каретка поворотного стола |
10 | rotary table | table tournante | поворотный стол |
Примечание - В дополнение к терминам, представленным в настоящей таблице на трех официальных языках ISO, в таблице C.1 даны эквиваленты на итальянском; они представлены членом-комитетом Италии (UNI) и приведены только для информации. В качестве терминов ISO могут рассматриваться только термины на официальных языках ISO. | |||



N | Английский | Французский | Русский |
1 | boring spindle | broche | расточный шпиндель |
2 | milling spindle | broche | фрезерный шпиндель |
3 | facing head | plateau | планшайба |
4 | headstock with facing head | шпиндельная бабка с планшайбой | |
5 | ram | coulisseau | подвижный корпус шпинделя |
Примечание - В дополнение к терминам, представленным в настоящей таблице на трех официальных языках ISO, в таблице C.2 даны эквиваленты на итальянском; они представлены членом-комитетом Италии (UNI) и приведены только для информации. В качестве терминов ISO могут рассматриваться только термины на официальных языках ISO. | |||

Объект | G1 | |||||
Проверка прямолинейности перемещения стойки (ось X): | ||||||
Схема ![]() Обозначения: 1 - поверочный телескоп; 2 - цель телескопа; 3 - микроскоп; 4 - натянутая струна | ||||||
Допуск | длина измерения до: | Измеренные отклонения | ||||
5000 | 10000 | 15000 | 20000 | |||
для a) | 0,07 | 0,14 | 0,21 | 0,29 | ||
для b) | 0,06 | 0,11 | 0,16 | 0,21 | ||
При длине измерения более 20000 допуск должен быть оговорен между производителем/поставщиком и пользователем | ||||||
Измерительные инструменты Оптические методы, и только для b), микроскоп и натянутая струна | ||||||
Примечания и ссылки на ISO 230-1:2012 (8.2.2.1 и 8.2.2.3) a) Натянутая струна не рекомендуется из-за провисания струны. Поверочный телескоп может быть установлен на столе станка таким образом, чтобы оптический луч был параллелен движению стойки вдоль оси X, или при измерениях будет учитываться отсутствие параллельности. Если шпиндель может быть зафиксирован, заданная координата телескопа может быть смонтирована на нем. Если шпиндель не может быть заблокирован, заданная координата телескопа устанавливается на шпиндельной бабке. b) Когда используется натянутая струна, телескоп должен быть установлен на шпинделе или на шпиндельной бабке. Когда используется оптический метод, микроскоп должен быть установлен на шпинделе или на шпиндельной бабке. Когда используется оптический метод, телескоп устанавливается горизонтально. | ||||||
Объект | G2 | |||
Проверка углового отклонения перемещения стойки (ось X): | ||||
Схема ![]() Обозначения: 1 - эталонные уровни; 2 - измерительные уровни; 3 - зеркало; 4 - автоколлиматор | ||||
Допуск | Измеренные отклонения | |||
X <= 4000: | 0,04/1000 | |||
X > 4000: | 0,06/1000 | |||
Локальный допуск: 0,02/1000 для любой длины измерения из 500 | ||||
Измерительные инструменты a) Прецизионный уровень, лазерный интерферометр или другие оптические приборы измерения углового отклонения. b) Прецизионный уровень c) Лазерный интерферометр или другие оптические приборы измерения углового отклонения | ||||
Примечания и ссылки на ISO 230-1:2012 (3.4.16 и 8.4) Измерительный уровень или зеркало должны быть помещены на подвижный корпус шпинделя. a) ECX (шаг) в направлении оси X (с оптическим инструментом, установленным вертикально). b) EAX (колебания относительно вертикальной оси) в направлении оси Z. c) EBX (отклонение от заданного направления движения) с оптическим инструментом, установленным горизонтально. Когда используются уровни, эталонный уровень должен быть установлен на неподвижном столе, а корпус шпинделя в середине диапазона перемещения (ось Z). Несколько предварительных движений стойки должны быть проведены с эталонным уровнем в различных положениях неподвижного стола, чтобы проверить, не является ли перемещение оси X источником углового отклонения какой-либо части неподвижного стола и/или станины (Т-образного основания) поворотного стола. В этом последнем случае применяется метод дифференциальных измерений двух угловых перемещений, и это должно быть установлено. Измерения должны проводиться в обоих направлениях, на нескольких равноудаленных позициях на этапах, не превышающих 500 по ходу перемещения. Требуется указать место измерения | ||||
Объект | G3 | ||||
Проверка прямолинейности перемещения корпуса шпинделя (ось Z): | |||||
Схема ![]() | |||||
Допуск | длина измерения до: | Измеренные отклонения | |||
1000 | 1500 | 20000 | |||
0,02 | 0,03 | 0,04 | |||
Локальный допуск: 0,006/1000 для любой длины измерения из 300 | |||||
При длине измерения более 20000 допуск должен быть оговорен между производителем/поставщиком и пользователем | |||||
Измерительные инструменты Датчик линейного перемещения и эталонный образец прямолинейности с набором концевых мер или лазерными методами | |||||
Примечания и ссылки на ISO 230-1:2012 (8.2.2.1 и 8.2.2.3) Установить поверочную линейку на столе параллельно движению корпуса шпинделя (оси Z) для a) вертикально и для b) горизонтально или отсутствие параллельности будет приниматься в расчет при измерениях. Если шпиндель может быть зафиксирован, циферблатный индикатор может быть установлен на него. Если шпиндель не может быть зафиксирован, циферблатный индикатор должен быть установлен на торец корпуса шпинделя. Измерительный наконечник должен располагаться перпендикулярно базовой торцевой поверхности поверочной линейки. Измерения должны проводиться в обоих направлениях перемещения, на нескольких равноудаленных позициях, на этапах, не превышающих 300 по ходу перемещения. Требуется указать место измерения | |||||
Объект | G4 | ||||
Проверка углового отклонения перемещения корпуса шпинделя (ось Z): | |||||
Схема ![]() Обозначения: 1 - эталонные уровни; 2 - измерительные уровни; 3 - автоколлиматор; 4 - зеркало | |||||
Допуск | длина измерения до: | Измеренные отклонения | |||
1000 | 1500 | 20000 | |||
для a) | 0,06/1000 | 0,08/1000 | 0,10/1000 | ||
0,04/1000 | 0,05/1000 | 0,06/1000 | |||
При длине измерения более 20000 допуск должен быть оговорен между производителем/поставщиком и пользователем | |||||
Измерительные инструменты a) Прецизионный уровень, лазерный интерферометр или другие оптические приборы измерения углового отклонения. b) Прецизионный уровень. c) Лазерный интерферометр или другие оптические приборы измерения углового отклонения | |||||
Примечания и ссылки на ISO 230-1:2012 (3.4.16 и 8.4) Измерительный уровень должен быть помещен на корпус шпинделя, зеркало должно быть помещено на торец корпуса шпинделя: a) EAZ, в направлении оси Z (с оптическим инструментом, установленным вертикально). b) ECZ, в направлении оси X. c) EBZ, с оптическим инструментом, установленным горизонтально. Когда используются уровни, эталонный уровень должен быть установлен на неподвижном столе (или на поворотном столе), чтобы проверить, не является ли перемещение оси Z источником углового отклонения какой-либо части неподвижного компонента. Если обнаружены угловые перемещения, должны быть проведены различные измерения и это должно быть установлено. Измерения должны проводиться в обоих направлениях, минимум на пяти равноудаленных позициях, походу перемещения | |||||
Объект | G5 | ||||||
Проверка прямолинейности перемещения шпиндельной бабки (ось Y): | |||||||
Схема ![]() Обозначения: 1 - натянутая струна; 2 - микроскоп | |||||||
Допуск | длина измерения до: | Измеренные отклонения | |||||
2000 | 3000 | 4000 | 5000 | 6000 | |||
0,03 | 0,04 | 0,05 | 0,07 | 0,09 | |||
При длине измерения более 6000 допуск должен быть оговорен между производителем/поставщиком и пользователем | |||||||
Измерительные инструменты Микроскоп и натянутая струна или оптические методы | |||||||
Примечания и ссылки на ISO 230-1:2012 (8.3, 8.2.2.2 или 8.2.2.3) Пиноль задней бабки (ось Z) должна быть на середине перемещения. Натянутая струна должна быть натянута между неподвижным столом и другим неподвижным узлом независимым от стойки станка. Если шпиндель может быть заблокирован, микроскоп или заданная цель поверочного телескопа может быть смонтирована на нем. Если шпиндель не может быть заблокирован, микроскоп или заданная координата устанавливается на торце корпуса шпинделя. Требуется указать место измерения | |||||||
Объект | G6 | ||||||
Проверка угловых отклонений перемещения шпиндельной бабки (ось Y): | |||||||
Схема ![]() Обозначения: 1 - эталонный уровень; 2 - измерительный уровень; 3 - цилиндрический угольник; d - расстояние измерения | |||||||
Допуск | длина измерения до: | Измеренные отклонения: | |||||
2000 | 3000 | 4000 | 5000 | 6000 | |||
0,04 | 0,04 | 0,04 | 0,05 | 0,06 | |||
При длине измерения более 6000 допуск должен быть оговорен между производителем/поставщиком и пользователем | |||||||
Измерительные инструменты | |||||||
Примечания и ссылки на ISO 230-1:2012 (3.4.16 и 8.4) a) и b) Установить уровень на шпиндельной бабке в направлении оси Z для a) и в направлении оси X для b). Эталонный уровень должен быть расположен на столе, держащем заготовку, в том же направлении, что и измерительный уровень, чтобы проверить, что перемещение оси Y не вызывает угловое перемещение любого неподвижного узла. Некоторые предварительные перемещения оси Y должны быть выполнены с обоими уровнями, чтобы проверить, не вызывает ли перемещение оси Y угловое перемещение любой части неподвижного стола или основания поворотного стола. В этом последнем случае применяется метод дифференциальных измерений двух угловых перемещений, и это должно быть установлено. c) Измерьте EZY отклонение прямолинейности оси Y с помощью прибора, размещенного на специальном плече с горизонтальным смещением d от оси шпинделя: с 1) с помощью циферблатного индикатора напротив цилиндрического поверочного угольника стоящего на выровненной поверхности с 2) с помощью микроскопа, нацеленного на натянутую струну или с 3) с помощью нацеливания на широкий установочный лазер, который генерирует оптическую плоскость XY. Отметьте показания и соответствующие позиции измерения перемещения шпиндельной бабки (ось Y). Переверните специальный рычаг (несущий инструмент) на другую сторону шпинделя и переместите ось X на расстояние 2d, чтобы отметить показания относительно тех же эталонов. Возможное отклонение по крену перемещения оси X должно быть измерено и принято во внимание. Для c) 3 движение по оси X не требуется. Прибор нужно переустановить и сделать новые измерения на тех же высотах, что и прежние, а затем записать показания. Для каждого положения измерения рассчитать алгебраическую разницу между двумя показаниями, затем подсчитать разницу между максимумом и минимумом и разделить на расстояние 2d для получения углового отклонения. Измерения должны проводиться на нескольких равноудаленных позициях, в шаге, не превышающем 500 по ходу перемещения в направлениях вверх и вниз. Примечание - Если инструмент не компенсируется при помощи ПО, вращение по оси Y также может быть измерено двумя измерениями EXY со смещением по оси Z. | |||||||
Объект | G7 | ||
Проверка перпендикулярности между перемещением шпиндельной бабки (ось Y) и перемещением стойки (ось X), EC(0X)Y | |||
Схема ![]() | |||
Допуск | Измеренные отклонения | ||
0,04/1000 | |||
Измерительные инструменты Эталонный образец перпендикулярности, поверочная линейка, регулируемые вставки и датчик линейного перемещения | |||
Примечания и ссылки на ISO 230-1:2012 (10.3.2) Установите поверочную линейку на столе параллельно движению станины (ось X), используя регулируемые вставки, либо отсутствие параллельности будет учитываться при измерениях, а затем поместите на линейку угольник. Если шпиндель может быть заблокирован, циферблатный индикатор может быть смонтирован на нем. Если шпиндель не может быть заблокирован, циферблатный индикатор должен быть установлен на торце корпуса шпинделя. Наконечником циферблатного индикатора коснитесь угольника, измеряя направление X. Поместите ось Y для измерений рядом с одним концом угольника и обнулите циферблатный индикатор. Переместите ось Y для измерений рядом с другим концом угольника и запишите показания. Измеренное отклонение от перпендикулярности, EC,(0X)Y, является соотношением показаний и расстояния, пройденного вдоль оси Y | |||
Объект | G8 | ||
Проверка перпендикулярности между перемещением шпиндельной бабки (ось Y) и перемещением корпуса шпинделя (ось Z), EA(0Z)Y или EA(0Y)Z | |||
Схема ![]() | |||
Допуск | Измеренные отклонения | ||
0,06/1000 | |||
Измерительные инструменты Эталонный образец перпендикулярности, поверочная линейка, регулируемые вставки и датчик линейного перемещения | |||
Примечания и ссылки на ISO 230-1:2012 (10.3.2) Если шпиндель может быть заблокирован, циферблатный индикатор может быть смонтирован на нем. Если шпиндель не может быть заблокирован, циферблатный индикатор должен быть установлен на торце корпуса шпинделя. Наконечником циферблатного индикатора коснитесь угольника, измеряя направление Z. Поместите ось Y для измерений рядом с одним концом угольника и обнулите циферблатный индикатор. Переместите ось Y для измерений рядом с другим концом угольника и запишите показания. Измеренное отклонение от перпендикулярности, EA(0Z)Y, является соотношением показаний и расстояния, пройденного вдоль оси Y. Альтернативный вариант: Выровняйте поверочную линейку таким образом, чтобы вертикальный рычаг угольника находился на линейке параллельно движению шпиндельной бабки (ось Y). Наконечником циферблатного индикатора коснитесь поверочной линейки, измеряя направление Y. Верните назад ось Z и обнулите циферблатный индикатор. Переместите ось Z на нужное расстояние и считайте показания. Измеренное отклонение от перпендикулярности, EA(0Y)Z, является соотношением показания и расстояния, пройденного вдоль оси Z | |||
Объект | G9 | ||
Проверка перпендикулярности между перемещением корпуса шпинделя (ось Z) и перемещением стойки (ось X), EB(0X)Z | |||
Схема ![]() | |||
Допуск | Измеренные отклонения | ||
0,06/1000 | |||
Измерительные инструменты Эталонный образец перпендикулярности и датчик линейного перемещения. | |||
Примечания и ссылки на ISO 230-1:2012 (10.3.2) Установите угольник на станине и выровняйте одну сторону параллельно движению стойки (ось X) либо отсутствие параллельности будет учитываться при измерениях. Если шпиндель может быть заблокирован, циферблатный индикатор может быть смонтирован на нем. Если шпиндель не может быть заблокирован, циферблатный индикатор должен быть установлен на торце корпуса шпинделя. Наконечником циферблатного индикатора коснитесь угольника, измеряя направление оси X. Поместите ось Z для измерений рядом с одним концом угольника и обнулите циферблатный индикатор. Переместите ось Z для измерений рядом с другим концом угольника и запишите показания. Измеренное отклонение от перпендикулярности, EB(0X)Z, является соотношением показаний и расстояния, пройденного вдоль оси Y | |||
Объект | G10a | ||
Проверка ориентации осевого перемещения расточного шпинделя (ось W) в плоскости YZ: | |||
Схема ![]() | |||
Допуск | Измеренные отклонения | ||
Для удлинения шпинделя равного: | a) или альтернативно: | ||
2D: | + 0,015/2D (вверх): | ||
4D: | +/- 0,02/4D; | ||
6D: | - 0,06/6D (вниз). | ||
где D - диаметр расточного шпинделя Удлинение шпинделя ограничено величиной, равной шести диаметрам шпинделя и не должно превышать 900. Допуск ограничен для шпинделя диаметром до 150. При диаметре шпинделя более 150, допуск должен быть оговорен между производителем/поставщиком и пользователем | |||
Измерительные инструменты Эталонный образец прямолинейности или эталонный образец перпендикулярности, регулируемые вставки и датчик линейного перемещения | |||
Примечания и ссылки на ISO 230-1:2012 (12.3.2.3 и 10.3.2) a) Поместите поверочную линейку на стол вертикально в плоскости, содержащей шпиндельную ось, и отрегулируйте ее параллельно движению корпуса шпинделя (ось Z) либо отсутствие параллельности должно учитываться при измерении. Вращение шпинделя должно быть остановлено. Наконечником циферблатного индикатора коснитесь поверхности поверочной линейки и обнулите индикатор. Вытяните шпиндель на нужную длину и запишите показания циферблатного индикатора. Измеренное отклонение от параллельности, EA(0Z)W, является соотношением показаний индикатора и расстоянием, пройденным вдоль оси W. Альтернативный вариант: b) Выровняйте поверочную линейку таким образом, чтобы вертикальный рычаг угольника находился на линейке параллельно движению шпиндельной бабки (ось Y) и далее проводите проверку, как в пункте a). Измеренное отклонение от перпендикулярности, EA(0Y)W, является соотношением показаний индикатора к расстоянию, пройденному вдоль оси W | |||
Объект | G10b | ||
Проверка параллельности осевого перемещения расточного шпинделя (ось W) и перемещения стойки (ось Z), EB(0Z)W в плоскости ZX: a) параллельность между осевым перемещением шпинделя (ось W) и перемещением стойки (ось Z), EA(0Z)W или b) перпендикулярность между осевым перемещением шпинделя (ось W) и перемещением шпиндельной бабки (ось Y), EA(0Y)W | |||
Схема ![]() | |||
Допуск | Измеренные отклонения | ||
0,04/1000 | |||
Измерительные инструменты Эталонный образец прямолинейности и датчик линейного перемещения | |||
Примечания и ссылки на ISO 230-1:2012 (12.3.2.3 и 10.3.2) Поместите поверочную линейку горизонтально на стол в плоскости, содержащей шпиндельную ось, и отрегулируйте ее параллельно движению корпуса шпинделя (ось Z), отсутствие параллельности должно учитываться при измерении. Вращение шпинделя должно быть остановлено. Наконечником циферблатного индикатора коснитесь поверхности поверочной линейки и обнулите индикатор. Выдвинете шпиндель на нужную длину и запишите показания циферблатного индикатора. Измеренное отклонение от параллельности, EB(0Z)W, является соотношением показаний индикатора к расстоянию, пройденному вдоль оси W | |||
Объект | G11 | |||||
Проверка плоскостности поверхности неподвижного стола | ||||||
Схема ![]() | ||||||
Обозначения: d - измеряемое расстояние | ||||||
Допуск | длина самой длинной стороны стола до: | Измеренные отклонения | ||||
допуск плоскостности | 5000 | 10000 | 15000 | 20000 | ||
0,12 | 0,22 | 0,32 | 0,42 | |||
При длине измерения более 20000 допуск должен быть оговорен между производителем/поставщиком и пользователем | ||||||
Измерительные инструменты Прецизионный уровень или оптические методы. | ||||||
Примечания и ссылки на ISO 230-1:2012 (12.2.4 и 12.2.5) Измерения должны проводиться на нескольких равноудаленных позициях, с расстоянием измерения, не превышающим 1/10 самой длинной стороны стола | ||||||
Объект | G12 | |||||
Проверка параллельности между эталонным Т-образным пазом или любой другой эталонной поверхностью неподвижного стола и перемещением стойки (ось X) | ||||||
Схема ![]() | ||||||
Допуск | длина самой длинной стороны стола до: | Измеренные отклонения | ||||
допуск параллельности | 5000 | 10000 | 15000 | 20000 | ||
0,15 | 0,20 | 0,25 | 0,30 | |||
При длине измерения более 20000 допуск должен быть оговорен между производителем/поставщиком и пользователем | ||||||
Измерительные инструменты Датчик линейного перемещения и угольник | ||||||
Примечания и ссылки на ISO 230-1:2012 (12.3.2.5.2) Если шпиндель может быть заблокирован, циферблатный индикатор может быть смонтирован на нем. Если шпиндель не может быть заблокирован, циферблатный индикатор должен быть установлен на торце корпуса шпинделя. Измерения должны проводиться на нескольких равноудаленных позициях, с расстоянием измерения, не превышающим 1/10 самой длинной стороны стола. Перемещайте ось X от одной позиции измерения до следующей без контакта между наконечником и эталонной поверхностью. На каждой позиции измерения перемещайте вниз ось Y, чтобы циферблатный индикатор вошел в контакт с эталонной поверхностью, или вставьте угольник между наконечником и поверхностью стола. Погрешностью параллельности является разница между максимальным и минимальным значением | ||||||
Объект | G13 | |||||
Проверка параллельности между поверхностью неподвижного стола и перемещением стойки (ось X) | ||||||
Схема ![]() | ||||||
Допуск | длина самой длинной стороны стола до: | Измеренные отклонения | ||||
допуск параллельности | 5000 | 10000 | 15000 | 20000 | ||
0,10 | 0,20 | 0,30 | 0,40 | |||
При длине измерения более 20000 допуск должен быть оговорен между производителем/поставщиком и пользователем | ||||||
Измерительные инструменты Датчик линейного перемещения и угольник | ||||||
Примечания и ссылки на ISO 230-1:2012 (12.3.2.5.2) Если шпиндель может быть заблокирован, циферблатный индикатор может быть смонтирован на нем. Если шпиндель не может быть заблокирован, циферблатный индикатор должен быть установлен на торце корпуса шпинделя. Корпус шпинделя нужно поместить в среднее положение. Перед измерением, каждую точку контакта необходимо вручную шлифовать абразивом, чтобы свести к минимуму малые погрешности стола. Перемещайте ось X от одной позиции измерения до следующей без контакта между наконечником и поверхностью стола. На каждой позиции измерения вставляйте набор концевых мер между наконечником и поверхностью стола и считывайте показания. Погрешностью параллельности является разница между максимальным и минимальным значением | ||||||
Объект | G14 | ||
Проверка параллельности между поверхностью неподвижного стола и перемещением стойки (ось Z) | |||
Схема ![]() | |||
Допуск | Измеренные отклонения | ||
0,07/1000 | |||
Измерительные инструменты Эталонный образец прямолинейности и датчик линейного перемещения | |||
Примечания и ссылки на ISO 230-1:2012 (12.3.2.5.2) Если шпиндель может быть заблокирован, циферблатный индикатор может быть смонтирован на нем. Если шпиндель не может быть заблокирован, циферблатный индикатор должен быть установлен на торце корпуса шпинделя. Это испытание должно проводиться в нескольких положениях стойки (ось X) вдоль станины. Установите поверочную линейку на неподвижный стол в направлении оси Z, параллельно поверхности стола; перемещайте корпус шпинделя по всей измеряемой длине и запишите изменения показаний. Вместо поверочной линейки возможно прямое измерение поверхности стола с помощью циферблатного индикатора и набора концевых мер. Погрешностью параллельности является разница между максимальным и минимальным значением | |||
Объект | G15 | |||||
Проверка расточного шпинделя: | ||||||
Схема ![]() | ||||||
Допуск | Измеренные отклонения | |||||
D <= 125 | D <= 200 | D > 200 | ||||
1) | 0,01 | 0,015 | 0,02 | |||
2) | 0,02 | 0,03 | 0,04 | |||
для c) | 0,01 | 0,015 | 0,02 | |||
где D - диаметр расточного шпинделя | ||||||
Измерительные инструменты | ||||||
Значение и направление силы, F, должно быть определено производителем/поставщиком. Если используются подшипники с предварительным натягом, то нет необходимости применять силу. Примечание - Испытание AR1 является испытанием для оценки погрешности перемещения оси вращения шпинделя | ||||||
Объект | G16 | ||
Проверка параллельности между осью вращения расточного шпинделя и перемещением стойки (ось Z). | |||
Схема ![]() | |||
Допуск | Измеренные отклонения | ||
0,02/300 | |||
Измерительные инструменты Проверочная оправка и датчик линейного перемещения | |||
Примечания и ссылки на ISO 230-1:2012 (10.1.4) Измерение должно проводиться с помощью проверочной оправки, смонтированной на торце шпинделя. Шпиндель должен быть перемещен назад. Проводите измерение в средней позиции выхода шпинделя из вращения или оценивайте среднее значение измерений, сделанных на двух позициях вращения шпинделя на 180° | |||
Объект | G17 | ||
Проверка перпендикулярности оси расточного шпинделя по отношению к движению стойки (ось X), EB(0X)(C) | |||
Схема ![]() | |||
Допуск | Измеренные отклонения | ||
0,04/1000 | |||
(1000 расстояние между двумя измерительными точками) | |||
Измерительные инструменты Датчик линейного перемещения, специальный рычаг и эталонный образец перпендикулярности | |||
Примечания и ссылки на ISO 230-1:2012 (10.3.3) Стойка (ось Z) должна быть зафиксирована. Шпиндель должен быть перемещен назад. Установите поверочную линейку параллельно на неподвижном столе и выровняйте ее с движением стойки (ось X). Установите циферблатный индикатор на специальном рычаге, смонтированном на шпинделе. Наконечником циферблатного индикатора коснитесь поверхности поверочной линейки и обнулите индикатор. Поворачивайте расточный шпиндель, пока наконечник опять не коснется базовой торцевой поверхности поверочной линейки, и запишите показания циферблатного индикатора. Разница между двумя показаниями, деленная на расстояние между двумя точками измерения является погрешностью перпендикулярности EB(0X)(C). Специальный рычаг должен быть достаточно жестким, чтобы предотвратить любые погрешности показаний из-за противодействующих отклонений в двух положениях измерения. Требуется указать значения угла | |||
Объект | G18 | ||
Проверка перпендикулярности оси расточного шпинделя по отношению к движению шпиндельной головки (ось Y), EA(0Y)(C) | |||
Схема ![]() | |||
Допуск | Измеренные отклонения | ||
0,04/1000 с ![]() | |||
(1000 расстояние между двумя измерительными точками) | |||
Измерительные инструменты Датчик линейного перемещения, специальный рычаг эталонный образец перпендикулярности, поверочная плита и регулируемые вставки | |||
Примечания и ссылки на ISO 230-1:2012 (10.3.3) Установите поверочную плиту на столе и поместите на нее цилиндрический поверочный угольник. Выровняйте поверочную плиту с помощью регулируемых вставок, пока угольник не будет параллелен движению шпиндельной бабки (ось Y), либо отсутствие параллельности должно учитываться при измерениях. Шпиндель и корпус шпинделя должны быть перемещены назад. Установите наконечник циферблатный индикатор напротив угольника и обнулите индикатор. Поворачивайте расточный шпиндель, пока наконечник опять не коснется угольника, и запишите показания циферблатного индикатора. Разница между двумя показаниями, деленная на расстояние между двумя точками измерения является погрешностью перпендикулярности EA(0Y)(C). Специальный рычаг должен быть достаточно жестким, чтобы предотвратить любые погрешности показаний из-за противодействующих отклонений в двух положениях измерения. Требуется указать значения угла | |||
Объект | G19 | |||||
Проверка торца фрезерного шпинделя: | ||||||
Схема ![]() | ||||||
Допуск | Измеренные отклонения | |||||
D <= 125 | D <= 200 | D > 200 | ||||
1) | 0,01 | 0,015 | 0,02 | |||
2) | 0,01 | 0,015 | 0,02 | |||
для c) | 0,02 | 0,03 | 0,04 | |||
где D - диаметр шпинделя | ||||||
Измерительные инструменты Датчик линейного перемещения [с плоским наконечником для b)] | ||||||
Значение и направление силы, F, должно быть определено производителем/поставщиком. Если используются подшипники с предварительным натягом, то нет необходимости применять силу. Расстояние, A, циферблатного индикатора c) должно быть максимально большим от шпиндельной оси. Примечание - Испытание AR1 является испытанием для оценки погрешности перемещения оси вращения шпинделя. | ||||||
Объект | G20 | ||
a) Проверка биения между осью средней линии фрезерного шпинделя и внешней цилиндрической центровки инструмента или приспособлений стойки. b) Проверка перпендикулярности между опорной поверхностью инструмента или приспособлений стойки и осью вращения фрезерного шпинделя. Примечание - Эти проверки верны, только если у стойки круговая установочная поверхность. | |||
Схема ![]() | |||
Допуск | Измеренные отклонения | ||
a) 0,02 | |||
b) 0,02/1000 | |||
(500 расстояние между двумя измерительными точками) | |||
Измерительные инструменты Датчик линейного перемещения и проверочная оправка | |||
Примечания и ссылки на ISO 230-1:2012 a) 12.3.4 Радиальное биение составляет половину максимальной разницы показаний индикатора. b) 12.4.8 | |||
Объект | G21 | |
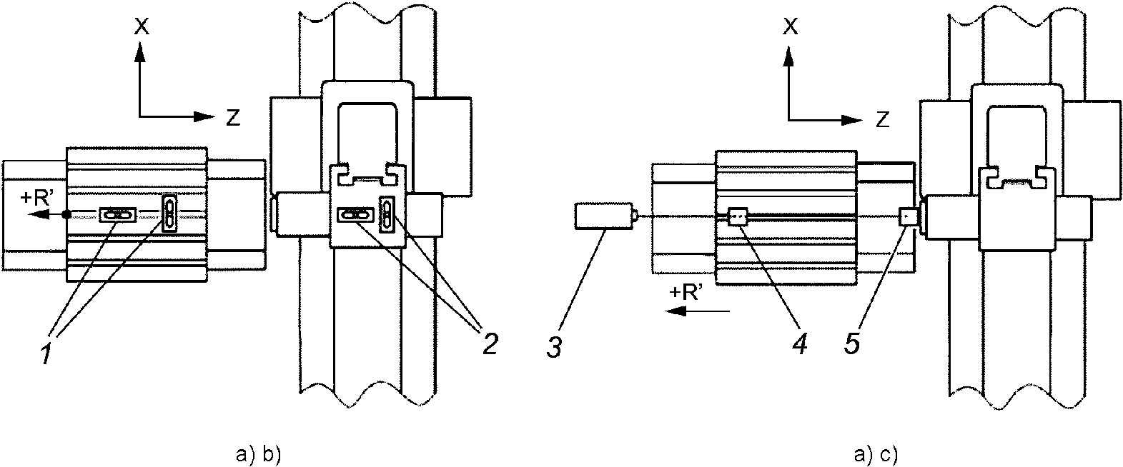
Проверка прямолинейности перемещения направляющих стола (ось R'): | ||
Схема ![]() | ||
Допуск | Измеренные отклонения | |
0,02 для измерения длины до 1000 добавить 0,01 к допуску при каждом увеличении длины на 1000 после 1000 Максимальный допуск 0,05 | ||
Измерительные инструменты Эталонный образец прямолинейности, датчик линейного перемещения и набор концевых мер или оптические методы или натянутая струна и микроскоп для b) | ||
Примечания и ссылки на ISO 230-1:2012 (8.2.2.1, 8.2.2.3 и 8.2.2.5) Установите поверочную линейку на стол, вертикально для b), параллельно перемещению оси R' направляющей стола, либо отсутствие параллельности должно будет учитываться при измерениях. Если шпиндель может быть заблокирован, циферблатный индикатор может быть смонтирован на нем. Если шпиндель не может быть заблокирован, циферблатный индикатор должен быть установлен на торце корпуса шпинделя. Наконечник должен быть параллелен базовой торцевой поверхности поверочной линейки. Переместите стол в поперечном направлении к оси R' и запишите показания | ||
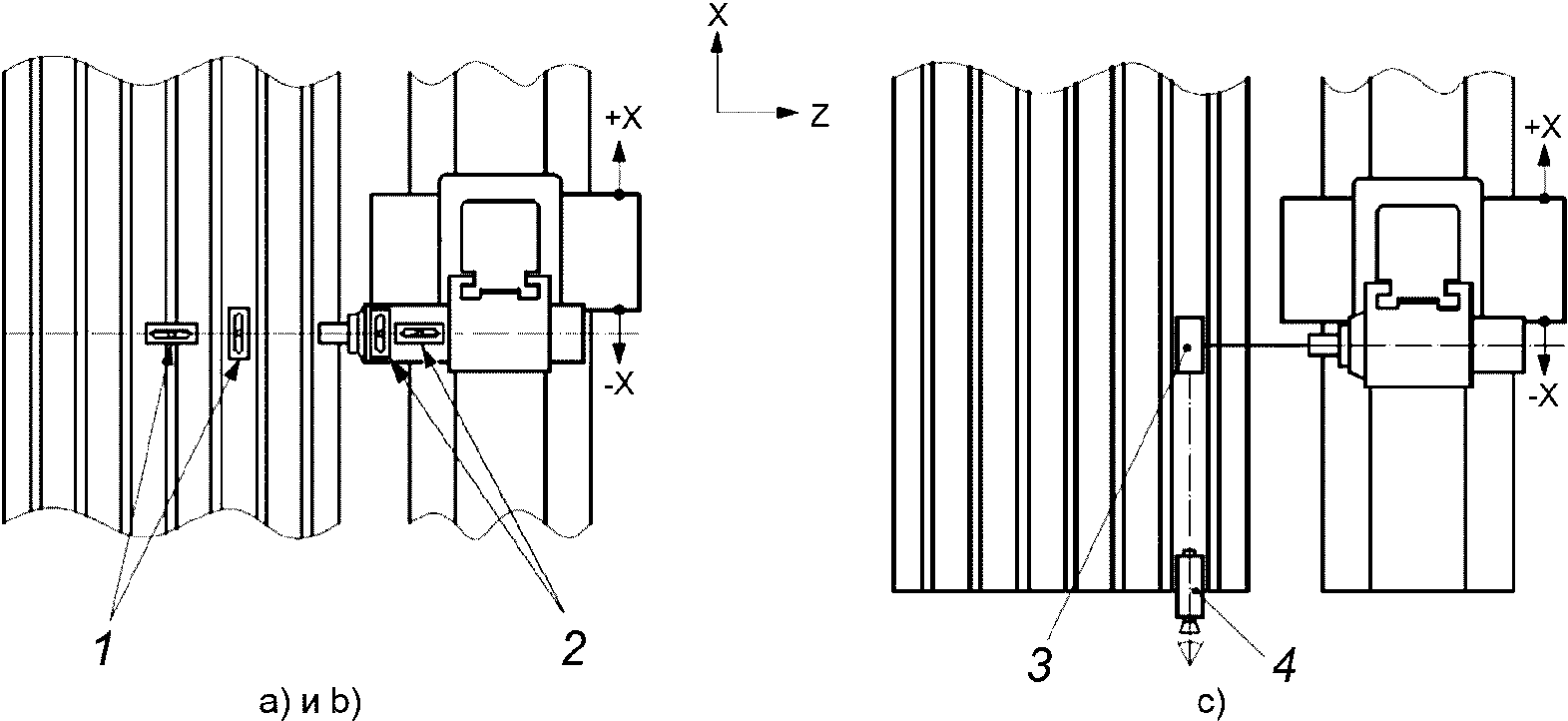
Объект | G22 | |||
Проверка угловых отклонений перемещения направляющей стола (ось R'): | ||||
Схема ![]() | ||||
Обозначения: 1 - измерительные уровни; 2 - эталонные уровни; 3 - лазерная головка; 4 - угловой интерферометр; 5 - ретроотражатель | ||||
Допуск | Измеренные отклонения | |||
R <= 4000: | 0,04/1000 | |||
R > 4000: | 0,06/1000 | |||
Локальный допуск 0,02/1000 для любой измеряемой длины до 300 | ||||
Измерительные инструменты a) Прецизионные уровни, лазерный интерферометр или другие оптические приборы измерения углового отклонения. b) Прецизионные уровни c) Лазерный интерферометр или другие оптические приборы измерения углового отклонения | ||||
Примечания и ссылки на ISO 230-1:2012 (3.4.16 и 8.4) Уровень или инструмент должен быть размещен на столе: a) EAR (шаг) в направлении оси Z (с оптическим инструментом, установленным вертикально); b) ECR (колебания относительно вертикальной оси) в направлении оси X; c) EBX (отклонение от заданного направления движения) в направлении оси Z (с оптическим инструментом, установленным горизонтально). Эталонный уровень должен быть размещен на корпусе шпинделя, а корпус должен находиться в середине диапазона перемещения. Когда перемещение оси R' вызывает угловое перемещение и шпиндельной бабки и стола, с обрабатываемой деталью, должны быть сделаны дифференциальные измерения двух угловых перемещений и это должно быть зафиксировано | ||||
Объект | G23 | ||
Проверка параллельности между перемещением направляющей стола (ось R') и перемещением стойки (ось Z): | |||
Схема ![]() | |||
Допуск | Измеренные отклонения | ||
0,03/500 | |||
Измерительные инструменты Эталонный образец прямолинейности, датчик линейного перемещения и регулируемые вставки | |||
Примечания и ссылки на ISO 230-1:2012 (10.1.2) Установите поверочную линейку на стол, вертикально для a), параллельно перемещению направляющей стола (ось R'), либо отсутствие параллельности должно будет учитываться при измерениях. Если шпиндель может быть заблокирован, циферблатный индикатор может быть смонтирован на нем. Если шпиндель не может быть заблокирован, циферблатный индикатор должен быть установлен на торце корпуса шпинделя. Установите наконечник циферблатного индикатора против угольника, измеряющего в направлении Y для a) и в направлении X для b). Отведите назад корпус шпинделя и обнулите индикатор. Переместите ось Z в нужное положение и запишите показания индикатора. Измеренное отклонение от параллельности, EA(0Z)R, для a) или EB(0Z)R, для b), является разницей между показаниями и дистанцией, пройденной вдоль оси Z Примечание - Эти испытания также могут проводиться при помощи одиночных измерений (синхронное движение Z оси и R'-оси). | |||
Объект | G24 | ||
Проверка перпендикулярности между перемещением шпиндельной бабки (ось Y) и перемещением направляющей стола (ось R'), EA(0Y)R | |||
Схема ![]() | |||
Допуск | Измеренные отклонения | ||
0,04/1000 | |||
Измерительные инструменты Эталонный образец перпендикулярности, поверочная линейка, датчик линейного перемещения и регулируемые вставки | |||
Примечания и ссылки на ISO 230-1:2012 (10.3.2) Установите поверочную линейку на столе, параллельно перемещению направляющей стола (ось R'), с использованием регулировочных вставок, либо отсутствие параллельности должно будет учитываться при измерениях. Установите угольник на поверочную линейку. Если шпиндель может быть заблокирован, циферблатный индикатор может быть смонтирован на нем. Если шпиндель не может быть заблокирован, циферблатный индикатор должен быть установлен на торце корпуса шпинделя. Установите наконечник циферблатного индикатора против угольника, измеряющего в направлении оси Z. Расположите ось Y как можно ближе к одному концу поверхности угольника для проведения измерений и обнулите индикатор. Переместите ось Y как можно ближе к другому концу поверхности угольника и запишите показания индикатора. Измеренное отклонение от перпендикулярности, EA(0Y)R, является разницей между показаниями и дистанцией, пройденной вдоль оси Y | |||
Объект | G25 | ||
Проверка перпендикулярности между и перемещением направляющей стола (ось R') и перемещением стойки (ось X), EB(0X)R | |||
Схема ![]() | |||
Допуск | Измеренные отклонения | ||
0,04/1000 | |||
Измерительные инструменты Эталонный образец перпендикулярности и датчик линейного перемещения | |||
Примечания и ссылки на ISO 230-1:2012 (10.3.2) Установите угольник на стол и выровняйте одну сторону параллельно перемещению стойки (ось X), либо отсутствие параллельности должно будет учитываться при измерениях. Установите угольник на поверочную линейку. Если шпиндель может быть заблокирован, циферблатный индикатор может быть смонтирован на нем. Если шпиндель не может быть заблокирован, циферблатный индикатор должен быть установлен на торце корпуса шпинделя. Установите наконечник циферблатного индикатора против угольника, измеряющего в направлении оси X. Расположите ось R' как можно ближе к одному концу поверхности угольника для проведения измерений и обнулите индикатор. Переместите ось R' как можно ближе к другому концу поверхности угольника и запишите показания индикатора. Измеренное отклонение от перпендикулярности, EB(0X)R, является разницей между показаниями и дистанцией, пройденной вдоль оси R' | |||
Объект | G26 | ||
Проверка отклонения от параллельности оси вращения стола B' и оси перемещения Y: | |||
Схема ![]() | |||
Допуск | Измеренные отклонения | ||
0,04/1000 | |||
Измерительные инструменты Цилиндрический поверочный угольник с широким основанием и датчик линейного перемещения | |||
Примечания и ссылки на ISO 230-1:2012 (3.6.4, 10.1.4, 10.1.4.3 или 10.1.4.4 как альтернатива) Если шпиндель может быть заблокирован, циферблатный индикатор может быть смонтирован на нем. Если шпиндель не может быть заблокирован, циферблатный индикатор должен быть установлен на шпиндельной бабке. a) ось Z при возможности должна быть заблокирована b) ось X при возможности должна быть заблокирована 1) Установите цилиндрический поверочный угольник с широким основанием на столе, и центрировать его по оси вращения. 2) Установить циферблатный индикатор так, чтобы его наконечник был ориентирован в направлении оси Z для a) и по оси X для b). 3) Коснуться наконечником цилиндрического поверочного угольника ближе к нижней части цилиндра и найти максимальное показание с помощью небольших перемещений по оси X для a) и по оси Z для b). Обнулить индикатор. 4) Переместите головку в направлении от стола по оси Y и снова коснуться цилиндра вблизи его верхней части. Отметить длину перемещения по оси Y. Найти максимальное показание с помощью небольших перемещений по оси X для a) и по оси Z для b) и записать новые показания. 6) Для двух измерений a) и b) среднее значение двух показаний на вершине цилиндра, разделенное на длину перемещения по оси Y, является искомым отклонением. Альтернативный метод Сферический образец устанавливается на шпиндельную головку станка, а датчик линейного перемещения - на стол. Сферический образец центрируется по средней осевой линии B' с помощью перемещений осей X и Z при вращении оси B'. Затем ось Y необходимо переместить в другое положение. Датчик линейного перемещения переустанавливается для снятия показаний со сферического образца в его новом положении. Погрешность центрирования необходимо записать как половину разницы показаний датчика перемещения на противоположных точках сферического образца. Данный альтернативный метод может применяться, когда можно коснуться полной горизонтальной окружности сферы (напр., экватора сферы). Ориентация отклонений параллельности между осью B' и осью Y должна быть указана в обоих измерениях | |||
Объект | G27 | ||
Проверка параллельности между медианой опорного Т-образного слота во вращательной позиции B0 и перемещением направляющей стола (ось R') | |||
Схема ![]() | |||
Допуск | Измеренные отклонения | ||
0,03/1000 | |||
Измерительные инструменты Датчик линейного перемещения и cross-square | |||
Примечания и ссылки на ISO 230-1:2012 (12.3.2.5.1) Если шпиндель может быть заблокирован, циферблатный индикатор может быть смонтирован на нем. Если шпиндель не может быть заблокирован, циферблатный индикатор должен быть установлен на торце корпуса шпинделя. Наконечник циферблатного индикатора может касаться базовой торцевой поверхности Т-образного паза непосредственно или при помощи cross-square. Переместите ось R' от одной позиции измерения к следующей без контакта между наконечником и контрольной поверхностью. На каждой позиции измерения перемещайте ось Y вниз, чтобы циферблатный индикатор вошел в контакт с контрольной поверхностью, или вставьте cross-square между наконечником и поверхностью стола. Разница между максимальным и минимальным значениями является отклонением от параллельности | |||
Объект | G28 | |||||
Проверка торцевого биения поверхности стола при его повороте | ||||||
Схема ![]() | ||||||
Обозначения: D - измеряемый диаметр; 1, 2, 3 и 4 - позиции измерения; A, B, C и D - углы стола | ||||||
Допуск | длина измерения диаметра D, до: | Измеренные отклонения | ||||
допуск | 2000 | 3000 | 4000 | 5000 | ||
0,04 | 0,05 | 0,08 | 0,10 | |||
При длине измерения более 5000 допуск должен быть оговорен между производителем/поставщиком и пользователем | ||||||
Измерительные инструменты Датчик линейного перемещения и набор концевых мер | ||||||
Примечания и ссылки на ISO 230-1:2012 (12.5) Когда циферблатный индикатор стоит в позиции 1, поместите набор концевых мер в направлении угла A стола и проведите измерения. Снимите набор концевых мер и поверните стол к B90, проведите измерения, вставив тот же набор концевых мер (в направлении угла B). Проведите ту же операцию в направлении углов C и D, размещая стол на B180 и B270. Повторите тот же процесс, размещая циферблатный индикатор последовательно в позиции 2, 3 и 4 или по крайней мере, в позицию 2. Для каждой из этих позиций записывайте разницу между максимальным и минимальным показаниями. Используйте наибольшую величину разницы в качестве значения осевого биения. Всякий раз перед измерениями, по возможности, фиксируйте стол | ||||||
Объект | G29 | ||
Проверка биения центрирующего отверстия стола при его повороте | |||
Схема ![]() | |||
Допуск | Измеренные отклонения | ||
0,015 | |||
Измерительные инструменты Датчик линейного перемещения (рычажного типа) | |||
Примечания и ссылки на ISO 230-1:2012 (12.5) Если шпиндель может быть заблокирован, циферблатный индикатор может быть смонтирован на нем. Если шпиндель не может быть заблокирован, циферблатный индикатор должен быть установлен на торце корпуса шпинделя. Установите наконечник циферблатного индикатора в одной плоскости с осью центрирующего отверстия как можно ближе к поверхности стола. Поверните стол и запишите разницу между максимальным и минимальным показаниями | |||
Объект | G30 | ||
Проверка точности угловых положений стола при 0°, 180°, 270°. | |||
Схема ![]() | |||
Допуск | Измеренные отклонения | ||
a) 0,06/1000 | |||
b) 0,05/1000 | |||
Измерительные инструменты Эталонный образец перпендикулярности и датчик линейного перемещения или оптические методы | |||
Примечания и ссылки на ISO 230-1:2012 (9.2) Установите угольник на столе, чтобы одна его кромка была параллельной перемещению стойки (ось X). Поверните стол четыре раза на 90° в одном направлении (90°, 180°, 270° и 360°) и на каждой позиции проверьте параллельность (угол наклона) между перемещением стола и соответствующей кромкой угольника. Поверните стол четыре раза на 90° в другом направлении (90°, 180°, 270° и 360°) и на каждой позиции проверьте параллельность (угол наклона). Максимальная разница этих восьми показаний представляет собой измеренную погрешность. Примечание - Заметка: Испытания по проверке точности и повторяемости позицирования поворотного стола при помощи ЧПУ (ось B'), Ebb описаны в P6 | |||
Объект | P1 | |||||
Проверка точности и повторяемости позиционирования перемещения стойки (ось X) с помощью ЧПУ, EXX | ||||||
Схема ![]() Обозначение 1 - лазерная головка 2 - интерферометр 3 - отражатель | ||||||
Допуск | Измеряемая длина | Измеренные отклонения | ||||
<= 500 | <= 1000 | <= 2000 | ||||
Двунаправленная точность позиционирования <a> | EXX, A | 0,014 | 0,020 | 0,022 | ||
Однонаправленная повторяемость позиционирования <a> | 0,007 | 0,009 | 0,011 | |||
Двунаправленная повторяемость позиционирования | EXX, R | 0,011 | 0,014 | 0,017 | ||
Средняя зона нечувствительности оси | EXX, Bmean | 0,005 | 0,006 | 0,008 | ||
Систематическое отклонение двунаправленного позиционирования <a> | EXX,E | 0,008 | 0,011 | 0,013 | ||
Среднее отклонение двунаправленного позиционирования оси <a> | EXX, M | 0,003 | 0,005 | 0,006 | ||
Оси превышающие 2000 | ||||||
Систематическое отклонение двунаправленного позиционирования <a> | EXX,E | 0,016 + 0,006 для каждой дополнительной 1000 | ||||
Среднее отклонение двунаправленного позиционирования оси <a> | EXX,M | 0,008 + 0,003 для каждой дополнительной 1000 | ||||
Измерительные инструменты Лазерное измерительное оборудование или мерная линейка | ||||||
Примечания и ссылки на ISO 230-2:2014 (3, 5.3.2 и 5.3.3) Мерная линейка и луч лазерного измерительного устройства должны быть установлены параллельно оси перемещения. Регулировка скорости подачи должна быть согласована между производителем/поставщиком и пользователем. Положение стартовой точки измерения должно быть четко установлено | ||||||
Объект | P2 | |||||
Проверка точности и повторяемости позиционирования перемещения шпиндельной бабки (ось Y) с помощью ЧПУ, EYY | ||||||
Схема ![]() Обозначение: 1 - лазерная головка; 2 - интерферометр; 3 - отражатель | ||||||
Допуск | Измеряемая длина | Измеренные отклонения | ||||
<= 500 | <= 1000 | <= 2000 | ||||
Двунаправленная точность позиционирования <a> | EYY, A | 0,014 | 0,020 | 0,022 | ||
Однонаправленная повторяемость позиционирования <a> | 0,007 | 0,009 | 0,011 | |||
Двунаправленная повторяемость позиционирования | EYY, R | 0,011 | 0,014 | 0,017 | ||
Средняя зона нечувствительности оси | EYY, Bmean | 0,005 | 0,006 | 0,008 | ||
Систематическое отклонение двунаправленного позиционирования <a> | EYY,E | 0,008 | 0,011 | 0,013 | ||
Среднее отклонение двунаправленного позиционирования оси <a> | EYY, M | 0,003 | 0,005 | 0,006 | ||
Оси превышающие 2000 | ||||||
Систематическое отклонение двунаправленного позиционирования <a> | EYY,E | 0,016 + 0,006 для каждой дополнительной 1000 | ||||
Среднее отклонение двунаправленного позиционирования оси <a> | EYY,M | 0,008 + 0,003 для каждой дополнительной 1000 | ||||
Измерительные инструменты Лазерное измерительное оборудование или мерная линейка | ||||||
Примечания и ссылки на ISO 230-2:2014 (3, 5.3.2 и 5.3.3) Мерная линейка и луч лазерного измерительного устройства должны быть установлены параллельно оси перемещения. Регулировка скорости подачи должна быть согласована между производителем/поставщиком и пользователем. Положение стартовой точки измерения должно быть четко установлено | ||||||
Объект | P3 | |||||
Проверка точности и повторяемости позиционирования перемещения корпуса шпинделя (ось Z) с помощью ЧПУ, EZZ | ||||||
Схема ![]() Обозначение: 1 - лазерная головка; 2 - интерферометр; 3 - отражатель | ||||||
Допуск | Измеряемая длина | Измеренные отклонения | ||||
<= 500 | <= 1000 | <= 2000 | ||||
Двунаправленная точность позиционирования <a> | EZZ, A | 0,014 | 0,014 | 0,020 | ||
Однонаправленная повторяемость позиционирования <a> | 0,007 | 0,007 | 0,009 | |||
Двунаправленная повторяемость позиционирования | EZZ, R | 0,011 | 0,011 | 0,014 | ||
Средняя зона нечувствительности оси | EZZ, Bmean | 0,005 | 0,005 | 0,006 | ||
Систематическое отклонение двунаправленного позиционирования <a> | EZZ,E | 0,007 | 0,007 | 0,011 | ||
Среднее отклонение двунаправленного позиционирования оси <a> | EZZ, M | 0,002 | 0,002 | 0,005 | ||
Измерительные инструменты Лазерное измерительное оборудование или мерная линейка | ||||||
Примечания и ссылки на ISO 230-2:2014 (3, 5.3.2 и 5.3.3) Мерная линейка и луч лазерного измерительного устройства должны быть установлены параллельно оси перемещения. Регулировка скорости подачи должна быть согласована между производителем/поставщиком и пользователем. Положение стартовой точки измерения должно быть четко установлено | ||||||
Объект | P4 | ||||
Проверка точности и повторяемости позиционирования движения перемещающегося расточного шпинделя (ось W) с помощью ЧПУ, EZW | |||||
Схема ![]() Обозначение 1 - лазерная головка 2 - интерферометр 3 - отражатель | |||||
Допуск | Измеряемая длина | Измеренные отклонения | |||
<= 500 | <= 1000 | ||||
Двунаправленная точность позиционирования <a> | EZW, A | 0,017 | 0,022 | ||
Однонаправленная повторяемость позиционирования <a> | 0,007 | 0,011 | |||
Двунаправленная повторяемость позиционирования | EZW, R | 0,014 | 0,017 | ||
Средняя зона нечувствительности оси | EZW, Bmean | 0,006 | 0,008 | ||
Систематическое отклонение двунаправленного позиционирования <a> | EZW,E | 0,010 | 0,012 | ||
Среднее отклонение двунаправленного позиционирования оси <a> | EZW, M | 0,004 | 0,005 | ||
Измерительные инструменты Лазерное измерительное оборудование или мерная линейка | |||||
Примечания и ссылки на ISO 230-2:2014 (3, 5.3.2 и 5.3.3) Мерная линейка и луч лазерного измерительного устройства должны быть установлены параллельно оси перемещения. Регулировка скорости подачи должна быть согласована между производителем/поставщиком и пользователем. Положение стартовой точки измерения должно быть четко установлено | |||||
Объект | P5 | |||||
Проверка точности и повторяемости позиционирования перемещения направляющей стола (ось R') с помощью ЧПУ, EZR | ||||||
Схема ![]() Обозначение 1 - лазерная головка 2 - интерферометр 3 - отражатель | ||||||
Допуск | Измеряемая длина | Измеренные отклонения | ||||
<= 500 | <= 1000 | <= 2000 | ||||
Двунаправленная точность позиционирования <a> | EZR, A | 0,014 | 0,020 | 0,022 | ||
Однонаправленная повторяемость позиционирования <a> | 0,007 | 0,009 | 0,011 | |||
Двунаправленная повторяемость позиционирования | EZR, R | 0,011 | 0,014 | 0,017 | ||
Средняя зона нечувствительности оси | EZR, Bmean | 0,005 | 0,006 | 0,008 | ||
Систематическое отклонение двунаправленного позиционирования <a> | EZR,E | 0,008 | 0,011 | 0,013 | ||
Среднее отклонение двунаправленного позиционирования оси <a> | EZR, M | 0,003 | 0,005 | 0,006 | ||
Измерительные инструменты Лазерное измерительное оборудование или мерная линейка | ||||||
Примечания и ссылки на ISO 230-2:2014 (3, 5.3.2 и 5.3.3) Мерная линейка и луч лазерного измерительного устройства должны быть установлены параллельно оси перемещения. Регулировка скорости подачи должна быть согласована между производителем/поставщиком и пользователем. Положение стартовой точки измерения должно быть четко установлено | ||||||
Объект | |||||
Проверка точности и повторяемости позиционирования поворотного стола (ось B') с помощью ЧПУ, EBB | |||||
Схема ![]() Обозначение 1 - автоколлиматор со стороны шпинделя 2 - многогранное зеркало | |||||
Допуск | Для 360° | Измеренные отклонения | |||
a) | b) | ||||
Двунаправленная точность позиционирования <a> | EZW, A | 7" | 11" | ||
Однонаправленная повторяемость позиционирования <a> | 4" | 6" | |||
Двунаправленная повторяемость позиционирования | EZW, R | 6" | 8" | ||
Средняя зона нечувствительности оси | EZW, Bmean | 4" | 6" | ||
Систематическое отклонение двунаправленного позиционирования <a> | EZW,E | 4" | 6" | ||
Среднее отклонение двунаправленного позиционирования оси <a> | EZW, M | 2" | 4" | ||
Измерительные инструменты Многогранник и автоколлиматор или лазерное измерительное оборудование | |||||
Примечания и ссылки на ISO 230-2:2014 (3, 5.3.2 и 5.3.3) Установить автоколлиматор на неподвижной части станка или независимо от станка и установить многогранник близко к центру стола по одной прямой с автоколлиматором на первой измерительной поворотной позиции. Целевые позиции выбираются в соответствии с ISO 230-2:2014, таблица 1. Скорость подачи при угловом позиционировании должна быть согласована между производителем/поставщиком и пользователем | |||||
Объект | |||||
Определение погрешности движения оси вращения инструментального шпинделя(ей) (C) Испытание проводится для фрезерных и расточных шпинделей. Примечание - Во время испытания расточный шпиндель отведен, по возможности. | |||||
Схема | |||||
![]() Обозначение: 1, 2, 3, 4 и 5 - бесконтактный датчик линейного перемещения | |||||
Допуск <1> | Измеренные отклонения | ||||
При долях от максимальной скорости | |||||
10% | 50% | 100% | |||
a) общее значение радиальной погрешности движения ERadial(C) b) общее значение осевой погрешности движения EZ(C) c) общее значение погрешности движения вследствие наклона ETilt(C) Примечание - Если минимальная скорость больше чем 10% от максимальной скорости, то шпиндель должен работать на минимальной скорости | |||||
Различные скорости вращения шпинделя могут быть выбраны на основе взаимной договоренности между производителем/поставщиком и пользователем. -------------------------------- <1> Если производитель/поставщик и пользователь решат по взаимному согласию включить это испытание в договорные процедуры приемки станка, то они также должны по взаимному согласию определить соответствующие допуски, которые должны применяться. Возможно, будущее издание этого стандарта будет содержать допуски для этого испытания при условии, что будут доступны четкие данные об измерениях характеристик шпинделя в промышленных условиях | |||||
Измерительные инструменты Контрольная оправка и бесконтактный датчик или две прецизионные сферы, расположенные с небольшим эксцентриситетом по отношению к средней линии шпинделя, и бесконтактные датчики. | |||||
Примечания и ссылки на ISO 230-7:2015 Это испытание является испытанием шпинделя с вращением в направлении повышенной чувствительности (5.4, ISO 230-7). После установки измерительного инструмента шпиндель должен быть разогрет на скорости 50° от максимальной в течение 10 мин, если иное не согласовано между производителем/поставщиком и потребителем. Общая погрешность движения описана в пункте 3.2.4 ISO 230-7, общая погрешность движения вследствие наклона - в пункте 3.5.1 ISO 230-7. a) общая радиальная погрешность движения ERadial(C) (с использованием датчиков 4 и 5) Измерение радиальной погрешности движения описано в пункте 5.4.2 ISO 230-7. Радиальная погрешность движения измеряется как можно ближе к переднему концу шпинделя (датчики 4 и 5 на схеме данного испытания). Для радиальной погрешности движения ERadial(C) должна быть представлена полярная диаграмма общей погрешности движения (3.3.1, ISO 230-7) с центром окружности наименьших квадратов (LSC) (3.4.3, ISO 230-7). b) общая осевая погрешность движения EZ(C) (с использованием датчика 3) Измерение осевой погрешности движения описано в пункте 5.4.4 ISO 230-7. Для осевой погрешности движения EZ(C) должна быть представлена полярная диаграмма общей погрешности движения (3.3.1, ISO 230-7) с центром полярной диаграммы (PC) (3.4.1, ISO 230-7). c) общая погрешность движения вследствие наклона ETilt(C) (с использованием датчиков 1, 2, 4, 5) Измерение погрешности движения вследствие наклона описано в пункте 5.4.3 ISO 230-7. Погрешность движения вследствие наклона также можно измерить с помощью двух бесконтактных датчиков (см. 5.4.3.1 и 5.4.3.2, ISO 230-7). Для погрешности движения вследствие наклона ETilt(C) должна быть представлена полярная диаграмма общей погрешности движения вследствие наклона (3.3.1, ISO 230-7) с центром полярной диаграммы (PC) (3.4.1, ISO 230-7). | |||||
Для этих испытаний должны быть указаны следующие параметры: - радиальные, осевые или торцевые положения, в которых производятся измерения; - название всех используемых образцов, позиций и приспособлений; - расположение измерительной установки; - положение всех ступеней линейного или вращательного позиционирования, которые связаны испытываемым устройством; - направляющий угол чувствительного направления, например, осевые, радиальные или промежуточные углы в зависимости от обстоятельств; - представление результата измерения, например: значение погрешности движения, диаграмма в полярных координатах, диаграмма последовательности, диаграмма спектрального состава; - скорость вращения шпинделя (ноль для статической ошибки движения); - длительность в секундах или число оборотов шпинделя; - необходимость процедуры прогрева или обкатки; - частотная характеристика измерительной аппаратуры, данные в герцах или циклах на оборот, в том числе обкатка характеристик каких-либо электронных фильтров. Что касается цифровой аппаратуры, дискрета отклонения и частота измерений; - структурный цикл, в том числе местоположение и ориентация датчиков относительно корпуса шпинделя, из которого сообщается ошибка движения, указанные объекты, относительно которых расположены оси шпинделя и опорный оси, и элементы соединения этих объектов; - время и дата измерения; - тип и статус калибровки всех измерительных приборов; - другие рабочие параметры, которые могут повлиять на измерение, такие как температура окружающей среды. Если измерения наклона не нужны (по согласованию между поставщиком и пользователем), то используются только три датчика (3, 4, и 5) и испытание оправки может быть заменено на испытание точности прецизионной сферы | |||||
Объект | AR2 | ||||
Определение погрешности движения оси вращения стола, несущего заготовку | |||||
Схема ![]() Обозначение: 1, 2, 3, 4 и 5 - бесконтактный датчик линейного перемещения | |||||
Допуск <1> | Измеренные отклонения | ||||
При долях от максимальной скорости | |||||
10% | 50% | 100% | |||
a) общее значение радиальной погрешности движения ERadial(C) | |||||
b) общее значение осевой погрешности движения EZ(C) | |||||
c) общее значение погрешности движения вследствие наклона ETilt(C) | |||||
Примечание - Если минимальная скорость больше чем 10% от максимальной скорости, то шпиндель должен работать на минимальной скорости. | |||||
Различные скорости вращения шпинделя могут быть выбраны на основе взаимной договоренности между производителем/поставщиком и пользователем -------------------------------- <1> Если производитель/поставщик и пользователь решат по взаимному согласию включить это испытание в договорные процедуры приемки станка, то они также должны по взаимному согласию определить соответствующие допуски, которые должны применяться. Возможно, будущее издание этого стандарта будет содержать допуски для этого испытания при условии, что будут доступны четкие данные об измерениях характеристик шпинделя в промышленных условиях | |||||
Измерительные инструменты Контрольная оправка и бесконтактный датчик или две прецизионные сферы, расположенные с небольшим эксцентриситетом по отношению к средней линии шпинделя, и бесконтактные датчики | |||||
Примечания и ссылки на ISO 230-7:2015 Это испытание с фиксацией в направлении повышенной чувствительности (5.5, ISO 230-7). Если стол может быть использован для токарных работ, после установки измерительного инструмента стол должен быть разогрет на скорости 50° от максимальной в течение 10 мин, если иное не согласовано между производителем/поставщиком и потребителем. Общая погрешность движения описана в пункте 3.2.4 ISO 230-7, общая погрешность движения вследствие наклона - в пункте 3.5.1 ISO 230-7. a) общая радиальная погрешность движения ERadialB (с использованием датчиков 4 и 5) Измерение радиальной погрешности движения описано в пункте 5.4.2 ISO 230-7. Радиальная погрешность движения измеряется как можно ближе к переднему концу шпинделя (датчики 4 и 5 на схеме данного испытания). Для радиальной погрешности движения ERadialB должна быть представлена полярная диаграмма общей погрешности движения (3.3.1, ISO 230-7) с центром окружности наименьших квадратов (LSC) (3.4.3, ISO 230-7). b) общая осевая погрешность движения EYB (с использованием датчика 3) Измерение осевой погрешности движения описано в пункте 5.4.4 ISO 230-7. Для осевой погрешности движения EYB должна быть представлена полярная диаграмма общей погрешности движения (3.3.1, ISO 230-7) с центром полярной диаграммы (PC) (3.4.1, ISO 230-7). c) общая погрешность движения вследствие наклона ETiltB (с использованием датчиков 1, 2, 4, 5) Измерение погрешность движения вследствие наклона описано в пункте 5.5.5 ISO 230-7. Погрешность движения вследствие наклона также можно измерить с помощью двух бесконтактных датчиков (см. 5.5.5.2 и 5.5.5.4, ISO 230-7). Для погрешности движения вследствие наклона ETiltB должна быть представлена полярная диаграмма общей погрешности движения вследствие наклона (3.3.1, ISO 230-7) с центром полярной диаграммы (PC) (3.4.1, ISO 230-7). | |||||
Для этих испытаний должны быть указаны следующие параметры: - радиальные, осевые или торцевые положения, в которых производятся измерения; - название всех используемых образцов, позиций и приспособлений; - расположение измерительной установки; - положение всех ступеней линейного или вращательного позиционирования, которые связаны испытываемым устройством; - направляющий угол чувствительного направления, например, осевые, радиальные или промежуточные углы в зависимости от обстоятельств; - представление результата измерения, например: значение погрешности движения, диаграмма в полярных координатах, диаграмма последовательности, диаграмма спектрального состава; - скорость вращения шпинделя (ноль для статической ошибки движения); - длительность в секундах или число оборотов шпинделя; - необходимость процедуры прогрева или обкатки; - частотная характеристика измерительной аппаратуры, данные в герцах или циклах на оборот, в том числе обкатка характеристик каких-либо электронных фильтров. Что касается цифровой аппаратуры, дискрета отклонения и частота измерений; - структурный цикл, в том числе местоположение и ориентация датчиков относительно корпуса шпинделя, из которого сообщается ошибка движения, указанные объекты, относительно которых расположены оси шпинделя и опорный оси, и элементы соединения этих объектов; - время и дата измерения; - тип и статус калибровки всех измерительных приборов; - другие рабочие параметры, которые могут повлиять на измерение, такие как температура окружающей среды. Если измерения наклона не нужны (по согласованию между поставщиком и пользователем), то используются только три датчика (3, 4, и 5) и испытание оправки может быть заменено на испытание точности прецизионной сферы | |||||
Объект | BBG1 |
Проверка перпендикулярности между осью вращения шпинделя и осью X. | |
Схема ![]() | |
Допуск 0,03/1 000 | |
Измеренные отклонения | |
Измерительные инструменты Датчик линейного смещения, специальный крепеж и угольник | |
Примечания и ссылки на ISO 230-1 (5.512.1 и 5.512.32) Ось Z необходимо зафиксировать, по мере возможности. Установите датчик линейного смещения на шпиндель при помощи специального крепежа, достаточно крепко, чтобы предотвратить возможные ошибки считывания данных из-за отклонений в двух позициях измерений. Приложите стилус датчика линейного смещения к угольнику. Обнулите датчик. Поверните шпиндель и сдвигайте его по оси X до тех пор, пока стилус снова не коснется угольника в той же точке. Запишите результат. Разница между двумя измерениями делится на расстояние по оси X, это и есть искомое отклонение. Требуется указать величину и знак отклонения | |
Объект | BG2 |
Проверка перпендикулярности между осью вращения шпинделя и осью Y. | |
Схема ![]() | |
Допуск 0,03/1000 | |
Измеренные отклонения | |
Измерительные инструменты Цилиндрический угольник, контрольная плита, набор вставок, датчик линейного смещения, специальный крепеж | |
Примечания и ссылки на ISO 230-1 (5.512.1 и 5.512.32) Ось Z необходимо зафиксировать, по мере возможности. Установите контрольную плиту на стол, поставьте на нее угольник. Установите плиту таким образом, чтобы угольник был параллелен оси Y при помощи набора вставок, или же учтите отсутствие параллельности при измерении. Установите датчик линейного смещения на шпиндель при помощи специального крепежа, достаточно крепко, чтобы предотвратить возможные ошибки считывания данных из-за отклонений в двух позициях измерений. Приложите стилус датчика линейного смещения к угольнику. Обнулите датчик. Поверните шпиндель до тех пор, пока стилус снова не коснется угольника. Запишите результат. Разница между двумя измерениями делится на расстояние по оси X, это и есть искомое отклонение. Требуется указать величину и знак отклонения | |
Объект | BBG3 | |
Проверка перпендикулярности между радиальным перемещением (ось U) и осью вращения шпинделя. | ||
Схема ![]() | ||
Допуск 0,025/300 | Измеренные отклонения | |
Измерительные инструменты Поверочная линейка, датчик линейного смещения и набор вставок. | ||
Примечания и ссылки на ISO 230-1 (5.422.5 и 5.422.2) Ось Z необходимо зафиксировать, по мере возможности. Установите поверочную линейку на столе. Закрепите датчик смещения на радиальной рамке и направьте стилус на поверочную линейку. Установите линейку перпендикулярно оси вращения шпинделя, поворачивая шпиндель более чем на 180° пока одинаковые значения не будут получены с обеих сторон без перемещения по оси U. Обнулите датчик линейного смещения. Сдвигайте радиальную рамку (ось U) по ходу движения и записывайте разницу между значениями на обеих сторонах движения. Эта разница, деленная на длину перемещения по оси U, и есть искомое отклонение | ||
Объект | BG4 | |||
Проверка точности и повторяемости позиционирования радиальной рамки (ось U) при помощи ЧПУ. | ||||
Схема ![]() Обозначение: 1 - лазерная головка; 2 - интерферометр; 3 - отражатель | ||||
Допуск | Измеренная длина | Измерительное отклонение | ||
<= 500 | ||||
Двунаправленная точность позиционирования по оси U <a> | E XU,A | 0,014 | ||
Повторяемость позиционирования по оси U <a> | или ![]() | 0,007 | ||
Двунаправленная повторяемость позиционирования по оси U <a> | EXU,R | 0,011 | ||
Возвращение к норме по оси U | E XU, Bmean | 0,005 | ||
Двунаправленная систематичная ошибка позиционирования по оси U <a> | EXU,E | 0,007 | ||
Средняя двухнаправленная ошибка позиционирования по оси U <a> | E XU,M | 0,003 | ||
Измерительные инструменты Лазерное измерительное оборудование или измерительная линейка | ||||
Примечания и ссылки на ISO 230-2 (4.3.2) Измерительная линейка или ось лазера измерительного оборудования должны быть направлены параллельно оси. Быстрая подача обычно используется для позиционирования, но конкретная скорость подачи может быть обговорена между поставщиком и пользователем. Требуется установить точку начала измерения | ||||
N на рисунке 1 | Английский | Итальянский |
1 | bed | banco |
2 | column base | base del montante |
3 | spindle head | testa |
4 | ram | slittone |
5 | column | montante |
6 | spindle | mandrino |
7 | fixed table | tavola fissa |
8 | table bed | banco della tavola |
9 | rotary table saddle | slitta della tavola |
10 | rotary table | tavola girevole |
Примечание - В дополнение к терминам, представленным на трех официальных языках ISO в таблице 1, в настоящей таблице даны эквиваленты на итальянском; они представлены членом-комитетом Италии (UNI) и приведены только для информации. В качестве терминов ISO могут рассматриваться только термины на официальных языках ISO. | ||
N на рисунке 2 | Английский | Итальянский |
1 | boring spindle | mandrino di alesatura |
2 | milling spindle | mandrino di fresatura |
3 | facing head | testa a sfacciare |
4 | headstock with facing head | slittone con testa a sfacciare |
5 | ram | slittone |
Примечание - В дополнение к терминам, представленным на трех официальных языках ISO в таблице 2, в настоящей таблице даны эквиваленты на итальянском; они представлены членом-комитетом Италии (UNI) и приведены только для информации. В качестве терминов ISO могут рассматриваться только термины на официальных языках ISO. | ||
Обозначение ссылочного международного стандарта, документа | Степень соответствия | Обозначение и наименование соответствующего межгосударственного стандарта |
ISO 230-1:2012 | - | <*> |
ISO 230-2:2014 | - | <*> |
ISO 230-7:2015 | - | <*> |
ISO/TR 230-11 | - | <*> |
<*> Соответствующий межгосударственный стандарт, документ отсутствует. | ||
841:2001 | Industrial automation systems and integration. Numerical control of machines. Coordinate system and motion nomenclature (Системы промышленной автоматизации и интеграция. Числовое программное управление станками. Системы координат и обозначение осей) | |
ISO 10791-7 | Test conditions for machining centres. Part 7: Accuracy of a finished test piece (Условия испытания обрабатывающих центров. Часть 7. Точность обработки испытательных образцов) |
УДК 621.9.02-434.5:006.354 | МКС 25.080.20 | ОКП 38 1000 |
Ключевые слова: фрезерно-расточные станки, шпиндельная головка, расточной шпиндель, проверка геометрической точности, методы проверок, средства измерений, схема измерений, отклонение, допуск, поверочная плита, поверочная линейка, оптические средства измерения, лазерный интерферометр | ||