Главная // Актуальные документы // ГОСТ (Государственный стандарт)СПРАВКА
Источник публикации
М.: Стандартинформ, 2018
Примечание к документу
Документ
введен в действие с 01.07.2019.
Взамен ГОСТ ISO 1126-2013.
Название документа
"ГОСТ ISO 1126-2018. Межгосударственный стандарт. Ингредиенты резиновой смеси. Углерод технический. Определение потерь при нагревании"
(введен в действие Приказом Росстандарта от 06.09.2018 N 571-ст)
"ГОСТ ISO 1126-2018. Межгосударственный стандарт. Ингредиенты резиновой смеси. Углерод технический. Определение потерь при нагревании"
(введен в действие Приказом Росстандарта от 06.09.2018 N 571-ст)
агентства по техническому
регулированию и метрологии
от 6 сентября 2018 г. N 571-ст
МЕЖГОСУДАРСТВЕННЫЙ СТАНДАРТ
ИНГРЕДИЕНТЫ РЕЗИНОВОЙ СМЕСИ
УГЛЕРОД ТЕХНИЧЕСКИЙ. ОПРЕДЕЛЕНИЕ ПОТЕРЬ ПРИ НАГРЕВАНИИ
Rubber compounding ingredients.
Carbon black. Determination of loss on heating
(ISO 1126:2015, IDT)
ГОСТ ISO 1126-2018
Дата введения
1 июля 2019 года
Цели, основные принципы и основной порядок проведения работ по межгосударственной стандартизации установлены в
ГОСТ 1.0-2015 "Межгосударственная система стандартизации. Основные положения" и
ГОСТ 1.2-2015 "Межгосударственная система стандартизации. Стандарты межгосударственные, правила и рекомендации по межгосударственной стандартизации. Правила разработки, принятия, обновления и отмены"
1 ПОДГОТОВЛЕН Техническим комитетом по стандартизации ТК 160 "Продукция нефтехимического комплекса", Федеральным государственным унитарным предприятием "Всероссийский научно-исследовательский институт стандартизации материалов и технологий" (ФГУП "ВНИИ СМТ") на основе собственного перевода на русский язык англоязычной версии стандарта, указанного в
пункте 5
2 ВНЕСЕН Федеральным агентством по техническому регулированию и метрологии
3 ПРИНЯТ Межгосударственным советом по стандартизации, метрологии и сертификации (протокол от 30 мая 2018 г. N 109-П)
За принятие проголосовали:
Краткое наименование страны по МК (ИСО 3166) 004-97 | Код страны по МК (ИСО 3166) 004-97 | Сокращенное наименование национального органа по стандартизации |
Азербайджан | AZ | Азстандарт |
Армения | AM | Минэкономики Республики Армения |
Беларусь | BY | Госстандарт Республики Беларусь |
Грузия | GE | Грузстандарт |
Казахстан | KZ | Госстандарт Республики Казахстан |
Киргизия | KG | Кыргызстандарт |
Молдова | MD | Институт стандартизации Молдовы |
Россия | RU | Росстандарт |
Таджикистан | TJ | Таджикстандарт |
Туркменистан | TM | Главгосслужба "Туркменстандартлары" |
Узбекистан | UZ | Узстандарт |
Украина | UA | Минэкономразвития Украины |
4
Приказом Федерального агентства по техническому регулированию и метрологии от 6 сентября 2018 г. N 571-ст межгосударственный стандарт ГОСТ ISO 1126-2018 введен в действие в качестве национального стандарта Российской Федерации с 1 июля 2019 г.
5 Настоящий стандарт идентичен международному стандарту ISO 1126:2015 "Ингредиенты резиновой смеси. Углерод технический. Определение потерь при нагревании" ("Rubber compounding ingredients - Carbon black - Determination of loss on heating", IDT).
Международный стандарт разработан подкомитетом SC 3 "Сырье (включая латекс) для резиновой промышленности" Технического комитета по стандартизации ISO/TC 45 "Каучук и резиновые изделия" Международной организации по стандартизации (ISO)
6 ВЗАМЕН ГОСТ ISO 1126-2013
Информация об изменениях к настоящему стандарту публикуется в ежегодном информационном указателе "Национальные стандарты", а текст изменений и поправок - в ежемесячном информационном указателе "Национальные стандарты". В случае пересмотра (замены) или отмены настоящего стандарта соответствующее уведомление будет опубликовано в ежемесячном информационном указателе "Национальные стандарты". Соответствующая информация, уведомление и тексты размещаются также в информационной системе общего пользования - на официальном сайте Федерального агентства по техническому регулированию и метрологии в сети Интернет (www.gost.ru)
Предупреждение - Пользователи настоящего стандарта должны обладать навыками практической работы в лаборатории. Настоящий стандарт не предусматривает рассмотрение всех проблем безопасности, связанных с его применением. Пользователь настоящего стандарта несет ответственность за соблюдение техники безопасности, охрану здоровья, а также за соблюдение требований национального законодательства.
Настоящий стандарт устанавливает методы определения потерь при нагревании технического углерода, предназначенного для использования в резиновой промышленности, которые обусловлены в основном потерей влаги, также могут быть незначительные потери других летучих веществ.
Методы не применяют для обработанного технического углерода, содержащего добавленные летучие вещества.
В настоящем стандарте предусмотрено три метода определения:
- метод 1 - с использованием сушильного шкафа с естественной конвекцией;
- метод 2 - с использованием анализатора влажности (весов со шкалой, градуированной в процентах влажности);
- метод 3 - с использованием облучения инфракрасным излучением (экспресс-метод).
Метод 1 является предпочтительным методом.
2 Метод 1 - с использованием сушильного шкафа с естественной конвекцией
2.1 Сущность метода
Пробу технического углерода нагревают в сосуде для взвешивания при температуре 125 °C в течение 1 ч, затем охлаждают в эксикаторе до температуры окружающей среды, взвешивают и вычисляют потерю массы при нагревании в процентах.
Допускается использовать аппаратуру, эквивалентную предусмотренной в настоящем стандарте, при условии получения сопоставимых результатов испытаний.
2.2 Аппаратура
2.2.1 Шкаф сушильный с естественной конвекцией, обеспечивающий поддержание температуры (125 +/- 1) °C и ее равномерное распределение в пределах +/- 5 °C или менее.
2.2.2 Сосуд низкий для взвешивания высотой 30 мм, диаметром 60 мм с пришлифованной стеклянной пробкой.
При испытании пробы большей массы используют любой открывающийся сосуд таких размеров, чтобы при кондиционировании толщина слоя технического углерода была не более 10 мм.
2.2.3 Весы аналитические, обеспечивающие взвешивание с точностью до +/- 0,1 мг.
2.3 Проведение испытания
2.3.1 Меры предосторожности
2.3.1.1 Пробу технического углерода помещают в плотно закрытый стеклянный сосуд или банку с притертой пробкой. Перед проведением испытания сосуд для взвешивания выдерживают закрытым для достижения температуры окружающей среды.
2.3.1.2 Для предотвращения потерь технического углерода из-за воздушных потоков сосуд для взвешивания должен быть закрытым во время помещения в эксикатор и извлечения из него.
2.3.2 Проведение испытания
2.3.2.1 Сушат сосуд для взвешивания
(2.2.2) вместе со снятой пришлифованной стеклянной пробкой в сушильном шкафу
(2.2.1) при температуре 125 °C в течение 30 мин. Затем помещают сосуд вместе со снятой пришлифованной стеклянной пробкой в эксикатор
(2.2.4), охлаждают до температуры окружающей среды и взвешивают с точностью до 0,1 мг.
2.3.2.2 Взвешивают в сосуде для взвешивания приблизительно 2 г технического углерода с точностью до 0,1 мг.
2.3.2.3 Помещают сосуд для взвешивания вместе со снятой пришлифованной стеклянной пробкой в сушильный шкаф
(2.2.1) при температуре 125 °C на 1 ч.
2.3.2.4 Закрывают сосуд для взвешивания с содержимым пришлифованной стеклянной пробкой и помещают в эксикатор. Снимают пробку и охлаждают до температуры окружающей среды. Снова закрывают сосуд для взвешивания и взвешивают с точностью до 0,1 мг.
2.4 Оформление результатов
Вычисляют потерю массы при нагревании H, %, с точностью до 0,1% по формуле

, (1)
где m1 - масса сосуда для взвешивания с пришлифованной стеклянной пробкой и пробой до нагревания, г;
m2 - масса сосуда для взвешивания с пришлифованной стеклянной пробкой и пробой после нагревания, г;
m0 - масса сосуда для взвешивания с пришлифованной стеклянной пробкой, г.
3 Метод 2 - с использованием анализатора влажности
3.1 Сущность метода
Пробу технического углерода нагревают при температуре не выше 125 °C, затем измеряют потерю массы, используя анализатор влажности.
Допускается использовать аппаратуру, эквивалентную предусмотренной в настоящем стандарте, при условии получения сопоставимых результатов испытаний.
3.2 Аппаратура
3.2.1 Анализатор влажности с чувствительностью 0,1 мг, оснащенный источником непрямого нагрева.
3.3 Проведение испытания
3.3.1 Готовят анализатор влажности к работе в соответствии с инструкцией изготовителя. Температура не должна превышать 125 °C.
3.3.2 Помещают приблизительно 2 г технического углерода в анализатор влажности и определяют массу с точностью до 0,1 мг.
3.3.3 Закрывают крышку и включают прибор.
3.3.4 Если потеря массы при указанных условиях сушки за 30 с менее 1 мг, пробу считают сухой и потерю массы регистрируют с точностью до 0,1%.
3.4 Оформление результатов
Если результат испытания не воспроизводится автоматически на дисплее прибора, потерю массы при нагревании H, %, вычисляют по формуле

, (2)
где A - масса пробы до нагревания, г;
B - масса пробы после нагревания, г.
4 Метод 3 - с использованием облучения инфракрасным излучением (экспресс-метод)
4.1 Сущность метода
Пробу технического углерода нагревают излучением инфракрасной лампы и измеряют потерю массы при нагревании, используя инфракрасный влагомер.
Допускается использовать аппаратуру, эквивалентную предусмотренной в настоящем стандарте, при условии получения сопоставимых результатов испытаний.
4.2 Аппаратура
4.2.1 Влагомер инфракрасный (ИК) с чувствительностью 1 мг.
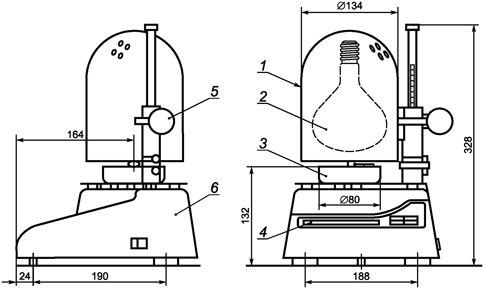
Используют влагомер с регулируемым расстоянием от инфракрасной лампы мощностью 185 Вт или влагомер с регулируемым напряжением, в котором используется инфракрасная лампа мощностью 250 Вт. Влагомер должен быть оснащен аналитическими весами. На
рисунке 1 показан пример ИК-влагомера.
Используемый влагомер независимо от типа должен иметь вместимость 5 г. Можно использовать влагомер другой мощности при условии, что он обеспечивает такую же точность, как и прибор вместимостью 5 г. При использовании нового прибора проверяют его калиброванную шкалу счетчика через определенный период времени или при необходимости.
1 - колпак инфракрасной лампы; 2 - инфракрасная лампа
(диаметр 100 мм, высота 137 мм); 3 - чашка для пробы;
4 - цифровой дисплей; 5 - держатель; 6 - влагомер
Рисунок 1 - Пример инфракрасного влагомера
4.3 Проведение испытания
4.3.1 Готовят ИК-влагомер к работе в соответствии с инструкциями изготовителя.
4.3.2 Взвешивают (5,00 +/- 0,01) г пробы и распределяют ее равномерно в чашке для пробы ИК-влагомера.
4.3.3 Включают прибор.
4.3.4 Расстояние между верхом чашки для пробы и центром поверхности инфракрасной лампы ИК-влагомера должно быть (75 +/- 2) мм. Подвергают пробу инфракрасному излучению.
4.3.5 Записывают значение, полученное через 2 мин после снижения скорости изменения показаний ИК-влагомера до 0,05% за 1 мин облучения или менее. Полученное значение в процентах принимают за потерю массы пробы при нагревании.
5 Сравнение методов 2 и 3
В таблице 1 приведено сравнение методов 2 и 3.
Таблица 1
Сравнение методов 2 и 3
Параметр | Метод 2 | Метод 3 |
Аппаратура | Анализатор влажности | ИК-влагомер |
Чувствительность, мг | 0,1 | 1,0 |
Метод измерения | Источник непрямого нагрева | Источник прямого нагрева: - с регулируемым расстоянием; - регулируемым напряжением |
Температура измерения, °C | Не выше 125 | - |
Приблизительная масса пробы, г | 2 | 5 |
Точка считывания показания | Если потеря массы при условиях сушки менее 1 мг в течение 30 с, навеску считают сухой и потерю массы регистрируют с точностью до 0,1% | Записывают значение, полученное через 2 мин после снижения скорости изменения показаний ИК-влагомера до 0,05% за 1 мин облучения или менее |
Вычисление результата | | Автоматическое считывание |
Протокол испытаний должен содержать:
a) обозначение настоящего стандарта;
b) использованный метод;
c) полную информацию, необходимую для полной идентификации пробы;
d) результаты испытаний, округленные до 0,1%;
e) любые отклонения, отмеченные при испытаниях;
f) любые процедуры, не предусмотренные настоящим стандартом или рассматриваемые как дополнительные;
g) дату проведения испытаний.
(справочное)
A.1 Общие положения
Сравнение методов 1 и 3 проведено на разных пробах в разных лабораториях. Показатели прецизионности приведены в
таблицах A.1 и
A.2.
A.2 Показатели прецизионности для метода 1 с использованием сушильного шкафа с естественной конвекцией (при температуре 125 °C в течение 1 ч)
Показатели прецизионности для метода 1 приведены в таблице A.1.
Таблица A.1
Показатели прецизионности определения
потери массы при нагревании, %, по методу 1
Проба | Среднее значение | Внутрилабораторная прецизионность | Межлабораторная прецизионность |
sr | r | (r) | sR | R | (R) |
A | 0,39 | 0,034 | 0,097 | 25,10 | 0,037 | 0,105 | 27,24 |
B | 0,78 | 0,052 | 0,146 | 18,73 | 0,052 | 0,148 | 19,02 |
C | 1,36 | 0,065 | 0,183 | 13,47 | 0,065 | 0,183 | 13,47 |
D | 2,40 | 0,091 | 0,258 | 10,76 | 0,105 | 0,296 | 12,33 |
E | 4,49 | 0,142 | 0,402 | 8,96 | 0,143 | 0,403 | 8,99 |
Объединенное значение | 1,88 | 0,085 | 0,242 | 12,85 | 0,087 | 0,252 | 13,37 |
Использованы следующие обозначения: sr - внутрилабораторное стандартное отклонение; r - повторяемость, единицы измерения; (r) - повторяемость, %; sR - межлабораторное стандартное отклонение; R - воспроизводимость, единицы измерения; (R) - воспроизводимость, %. |
A.3 Показатели прецизионности для метода 3 с использованием облучения инфракрасным излучением
Показатели прецизионности для метода 3 приведены в таблице A.2.
Таблица A.2
Показатели прецизионности определения
потери массы при нагревании, %, по методу 3
Проба | Среднее значение | Внутрилабораторная прецизионность | Межлабораторная прецизионность |
sr | r | (r) | sR | R | (R) |
A | 0,38 | 0,041 | 0,116 | 30,39 | 0,041 | 0,116 | 30,50 |
B | 0,77 | 0,053 | 0,151 | 19,67 | 0,053 | 0,151 | 19,67 |
C | 1,24 | 0,066 | 0,186 | 15,01 | 0,066 | 0,186 | 15,01 |
D | 2,22 | 0,079 | 0,222 | 9,94 | 0,079 | 0,222 | 9,94 |
E | 4,31 | 0,111 | 0,314 | 7,29 | 0,111 | 0,314 | 7,29 |
Объединенное значение | 1,78 | 0,074 | 0,209 | 11,71 | 0,074 | 0,209 | 11,71 |
Использованы следующие обозначения: sr - внутрилабораторное стандартное отклонение; r - повторяемость, единицы измерения; (r) - повторяемость, %; sR - межлабораторное стандартное отклонение; R - воспроизводимость, единицы измерения; (R) - воспроизводимость, %. |
УДК 678.046.2:543.573:006.354 | | IDT |
Ключевые слова: ингредиенты резиновой смеси, технический углерод, определение потерь при нагревании |