Главная // Актуальные документы // ГОСТ (Государственный стандарт)СПРАВКА
Источник публикации
М.: Стандартинформ, 2019
Примечание к документу
Документ
введен в действие с 01.07.2020.
Взамен ГОСТ ISO 8009-2013.
Название документа
"ГОСТ ISO 8009-2019. Межгосударственный стандарт. Механические противозачаточные средства. Диафрагмы многоразовые резиновые и силиконовые. Технические требования и методы испытаний"
(введен в действие Приказом Росстандарта от 14.11.2019 N 1148-ст)
"ГОСТ ISO 8009-2019. Межгосударственный стандарт. Механические противозачаточные средства. Диафрагмы многоразовые резиновые и силиконовые. Технические требования и методы испытаний"
(введен в действие Приказом Росстандарта от 14.11.2019 N 1148-ст)
по техническому регулированию
и метрологии
от 14 ноября 2019 г. N 1148-ст
МЕЖГОСУДАРСТВЕННЫЙ СТАНДАРТ
МЕХАНИЧЕСКИЕ ПРОТИВОЗАЧАТОЧНЫЕ СРЕДСТВА.
ДИАФРАГМЫ МНОГОРАЗОВЫЕ РЕЗИНОВЫЕ И СИЛИКОНОВЫЕ
ТЕХНИЧЕСКИЕ ТРЕБОВАНИЯ И МЕТОДЫ ИСПЫТАНИЙ
Mechanical contraceptives. Natural and silicone rubber
reusable diaphragms. Technical requirements
and methods of tests
(ISO 8009:2014, Mechanical contraceptives - Reusable
natural and silicone rubber contraceptive diaphragms
- Requirements and tests, IDT)
ГОСТ ISO 8009-2019
Дата введения
1 июля 2020 года
Цели, основные принципы и общие правила проведения работ по межгосударственной стандартизации установлены
ГОСТ 1.0 "Межгосударственная система стандартизации. Основные положения" и
ГОСТ 1.2 "Межгосударственная система стандартизации. Стандарты межгосударственные, правила и рекомендации по межгосударственной стандартизации. Правила разработки, принятия, обновления и отмены"
1 ПОДГОТОВЛЕН Федеральным государственным унитарным предприятием "Всероссийский научно-исследовательский институт стандартизации материалов и технологий" (ФГУП "ВНИИ СМТ"), Межгосударственным техническим комитетом по стандартизации МТК 542 "Продукция нефтехимического комплекса" на основе собственного перевода на русский язык англоязычной версии стандарта, указанного в
пункте 5
2 ВНЕСЕН Федеральным агентством по техническому регулированию и метрологии
3 ПРИНЯТ Межгосударственным советом по стандартизации, метрологии и сертификации (протокол 30 октября 2019 г. N 123-П)
За принятие проголосовали:
Краткое наименование страны по МК (ИСО 3166) 004-97 | Код страны по МК (ИСО 3166) 004-97 | Сокращенное наименование национального органа по стандартизации |
Беларусь | BY | Госстандарт Республики Беларусь |
Киргизия | KG | Кыргызстандарт |
Россия | RU | Росстандарт |
Таджикистан | TJ | Таджикстандарт |
Узбекистан | UZ | Узстандарт |
Украина | UA | Минэкономразвития Украины |
4
Приказом Федерального агентства по техническому регулированию и метрологии от 14 ноября 2019 г. N 1148-ст межгосударственный стандарт ГОСТ ISO 8009-2019 введен в действие в качестве национального стандарта Российской Федерации с 1 июля 2020 г.
5 Настоящий стандарт идентичен международному стандарту ISO 8009:2014 "Механические противозачаточные средства. Многоразовые противозачаточные диафрагмы из натурального или силиконового каучука. Общие технические требования и методы испытаний" (Mechanical contraceptives - Reusable natural and silicone rubber contraceptive diaphragms - Requirements and tests, IDT)
Международный стандарт разработан Техническим комитетом по стандартизации ISO/TC 157 "Несистемные противозачаточные средства и профилактика инфекций, передающихся половым путем (ИППП)" Международной организации по стандартизации (ISO).
Наименование настоящего стандарта изменено относительно наименования указанного международного стандарта для приведения в соответствие с ГОСТ 1.5-2001
(подраздел 3.6).
При применении настоящего стандарта рекомендуется использовать вместо ссылочных международных стандартов соответствующие им межгосударственные стандарты, сведения о котором приведены в дополнительном
приложении ДА
6 ВЗАМЕН ГОСТ ISO 8009-2013
Информация о введении в действие (прекращении действия) настоящего стандарта и изменений к нему на территории указанных выше государств публикуется в указателях национальных стандартов, издаваемых в этих государствах, а также в сети Интернет на сайтах соответствующих национальных органов по стандартизации.
В случае пересмотра, изменения или отмены настоящего стандарта соответствующая информация будет опубликована на официальном интернет-сайте Межгосударственного совета по стандартизации, метрологии и сертификации в каталоге "Межгосударственные стандарты"
Диафрагмы являются медицинскими изделиями, поэтому должны изготовляться на предприятиях с сертифицированной системой менеджмента качества, соответствующей требованиям стандартов серии ISO 9000 в сочетании с ISO 13485.
Уровни контроля и пределы приемлемого качества AQL, указанные в настоящем стандарте, используют для оценки качества. Предел приемлемого качества AQL указывает на максимальное допустимое количество дефектов в изделиях. Поскольку диафрагмы являются изделиями многоразового использования, изготовители должны стремиться к производству бездефектных изделий.
Изготовители могут разрабатывать и использовать дополнительные и альтернативные методы контроля качества изделий для их использования после выпуска продукции. Эти методы у разных изготовителей могут быть разными.
Настоящий стандарт устанавливает минимальные требования и методы испытаний диафрагм многоразового использования, изготовленных из резины на основе натурального или силиконового каучука. Диафрагмы используют в качестве противозачаточных средств.
Настоящий стандарт не распространяется на другие вагинальные противозачаточные средства, такие как цервикальные колпачки, вагинальные спирали и вагинальные презервативы.
В настоящем стандарте использованы нормативные ссылки на следующие международные стандарты [для датированных ссылок применяют только указанное издание ссылочного стандарта, для недатированных - последнее издание (включая все изменения к нему)]:
ISO 188, Rubber, vulcanized or thermoplastic - Accelerated ageing and heat resistance tests (Резина или термопластик. Испытания на ускоренное старение и теплостойкость)
ISO 463, Geometrical product specification (GPS) - Dimensional measuring equipment - Design and metrological characteristics of mechanical dial gauges [Геометрические характеристики изделий (GPS). Приборы для измерения размеров. Конструкция и метрологические характеристики механических приборов с круговой шкалой]
ISO 2859-1:1999, Sampling procedures for inspection by attributes - Part 1: Sampling schemes indexed by acceptance quality limit (AQL) for lot-by-lot inspection [Процедуры выборочного контроля по альтернативному признаку. Часть 1. Планы выборочного контроля с указанием предела приемлемого качества (AQL) для последовательного контроля партий]
ISO 10993-1, Biological evaluation of medical devices - Part 1: Evaluation and testing within a risk management process (Оценка биологического действия медицинских изделий. Часть 1. Оценка и испытания в процессе управления рисками)
ISO 10993-5, Biological evaluation of medical devices - Part 5: Tests for in vitro cytotoxity (Оценка биологического действия медицинских изделий. Часть 5. Испытания на цитотоксичность in vitro)
ISO 10993-10, Biological evaluation of medical devices - Part 10: Tests for irritation and delaed-type hypersensitivity (Оценка биологического действия медицинских изделий. Часть 10. Оценка сенсибилизирующего и раздражающего действия)
В настоящем стандарте применены термины по ISO 2859-1, а также следующий термин с соответствующим определением:
3.1 партия (lot, batch): Количество диафрагм одной конструкции, цвета, формы, размера и рецептуры, изготовленных в установленный интервал времени по одной технологии, с использованием сырья по единой спецификации, на одном оборудовании, одним персоналом.
Примечание - В настоящем стандарте размер партии не установлен, он может быть установлен для покупателя в контракте на поставку. В зависимости от технологии производства партия может быть сформирована из диафрагм разных размеров. В таких случаях отследить изготовленную диафрагму можно по номеру партии и размеру диафрагмы.
Отбор образцов и установление плана отбора выборочного контроля - по ISO 2859-1.
Примечание - Размер партии необходим для определения количества образцов для испытаний в соответствии с ISO 2859-1. Размер партии устанавливается изготовителем и рассматривается как часть технологического процесса и контроля качества при изготовлении.
Диафрагмы подразделяют на следующие типы:
a) тип 1 - спирально-пружинная диафрагма или диафрагма со спиральной пружиной;
b) тип 2 - плоско-пружинная диафрагма или плоско-листовая диафрагма, или плоская (диафрагма Менсинга);
c) тип 3 - диафрагма с дугообразной пружиной или диафрагма с дугообразным изгибом.
Диафрагму, кроме пружины, изготовляют из резины на основе натурального или силиконового каучука.
Для любого нового материала или после значительного изменения рецептуры смеси, или технологического процесса оценку биологического действия следует проводить по ISO 10993-1. Испытания на цитотоксичность проводят по ISO 10993-5, исследование на наличие раздражающих и сенсибилизирующих свойств - по ISO 10993-10. Указанные требования не распространяются на спермицидные смазки (материала). По возможности изготовители должны рекомендовать спермицидные смазки, оказывающие минимальное раздражающее и не оказывающие сенсибилизирующего действия. Испытания по оценке биологического действия проводят в аккредитованных лабораториях.
Регулирующие органы могут устанавливать дополнительные требования, а также требования о том, чтобы результаты были интерпретированы квалифицированным токсикологом. В протоколе (отчете) о токсикологической оценке указывают о безопасности изделия при нормальных условиях использования.
Примечание - Многие изделия из латекса, заявленные как безопасные, включая диафрагмы и медицинские перчатки, при испытании в соответствии с ISO 10993-5 могут проявлять положительную цитотоксическую реакцию, которая может указывать на потенциальную токсичность in vivo, при этом изделия не следует считать непригодными для использования при условии отсутствия раздражающего и сенсибилизирующего действия.
7.1 Общие требования
Диафрагма должна состоять из куполообразного колпачка и гибкого ободка, которые составляют единое целое.
7.2 Ободок
Гибкий ободок диафрагмы соединен с достаточно жесткой пружиной, сохраняющей круглую плоскую конфигурацию ободка.
7.3 Удерживающая пружина
Удерживающая пружина должна быть расположена внутри ободка и полностью загерметизирована.
7.4 Концы пружины
Концы пружины должны быть закреплены таким образом, чтобы они не нарушали целостность поверхности ободка.
7.5 Куполообразный колпачок и ободок
Куполообразный колпачок и гибкий ободок должны иметь определенную форму, поверхность должна быть гладкой и не липкой.
8.1 Диаметр
Предпочтительный размерный ряд номинальных диаметров включает 55, 60, 65, 70, 75, 80, 85, 90, 95 или 100 мм.
При испытаниях в соответствии с
приложением A значение двух измерений диаметра не должно отличаться от номинального значения более чем на 4%. За результат измерения диаметра диафрагмы принимают среднеарифметическое значение двух измерений, соответствующее номинальному диаметру с предельным отклонением +/- 2 мм.
Испытывают 13 диафрагм каждого диаметра. Все значения диаметров диафрагм должны укладываться в указанные пределы отклонений.
8.2 Толщина куполообразного колпачка
При испытаниях в соответствии с
приложением B толщина куполообразного колпачка диафрагмы в самом тонком месте должна быть не менее 0,20 мм.
9 Физико-механические свойства куполообразного колпачка
9.1 Прочность при растяжении
При испытании в соответствии с
приложением C медианное значение прочности при растяжении, полученное при испытании 13 диафрагм каждого размера, должно быть не менее значения, указанного в
таблице 1.
При испытании в соответствии с
приложением D медианное значение прочности при растяжении после теплового старения 13 диафрагм каждого размера, должно быть не менее значения, указанного в
таблице 1.
Таблица 1
Физико-механические свойства куполообразного колпачка
Наименование показателя | Диафрагмы из резины на основе натурального каучука | Диафрагмы из резины на основе силиконового каучука |
до теплового старения | после теплового старения | до теплового старения | после теплового старения |
Прочность при растяжении, МПа, не менее | 15 | 11 | 7 | 7 |
Относительное удлинение при разрыве, %, не менее | 650 | 500 | 350 | 350 |
9.2 Относительное удлинение при разрыве
При испытании в соответствии с
приложением C медианное значение относительного удлинения при разрыве 13 диафрагм каждого размера должно быть не менее значения, указанного в
таблице 1.
При испытании в соответствии с
приложением D медианное значение относительного удлинения при разрыве после теплового старения 13 диафрагм каждого размера должно быть не менее значения, указанного в
таблице 1.
10 Физико-механические свойства ободка и пружины (диафрагмы типов 1 и 2)
10.1 Сопротивление сжатию
При испытании 13 диафрагм в соответствии с
приложением E в интервале с 1-го по 1000-й цикл сжатия диаметр каждой диафрагмы между точками приложения нагрузки должен быть не менее 55% и не более 85% номинального диаметра.
Диаметр диафрагмы, измеренный после 1000-го цикла сжатия вдоль оси сжатия, должен быть не менее 90% значения, измеренного перед началом испытания.
После 1000-го цикла сжатия на резиновой пленке при визуальном осмотре не должно быть признаков разрушения.
Степень скручивания после 1000-го цикла сжатия, измеренная в соответствии с
приложением F, должна быть не более 20°.
Изготовители диафрагм, имеющие сертифицированную по ISO 9001 систему менеджмента качества или аналогичную, могут проводить испытания на многократное сжатие как типовое. В этом случае от каждой партии проводят одно испытание на сжатие и одно измерение сопротивлению сжатия.
10.2 Скручивание при сжатии
При испытаниях в соответствии с
приложением F степень скручивания диафрагмы должна быть не более 20°.
От каждой партии отбирают образцы в соответствии с ISO 2859-1:1999 при общем уровне контроля 1, код выборки К.
При испытаниях в соответствии с
приложением F предел приемлемого качества AQL составляет 1,0%.
11 Отсутствие дефектов, определяемых визуально
При испытании в соответствии с
приложением G на поверхности диафрагм не должно быть дефектов, определяемых визуально.
От каждой партии отбирают образцы в соответствии с ISO 2859-1:1999 при общем уровне контроля 1, код выборки К.
Предел приемлемого качества AQL составляет 0,4% для следующих основных видов дефектов, определяемых визуально:
a) отверстие в куполообразном колпачке;
b) деформированная пружина;
c) сломанная пружина;
d) деформированная форма;
e) нечеткая маркировка на диафрагме;
f) нечеткая маркировка упаковки.
При испытаниях в соответствии с
приложением G для незначительных дефектов предел приемлемого качества AQL составляет 1,0%.
Протокол испытаний должен содержать требования
приложения H.
13 Упаковка, маркировка и хранение
13.1 Упаковка
13.1.1 Индивидуальная упаковка
Каждую диафрагму упаковывают в индивидуальную упаковку, защищающую от загрязнения, воздействий солнечного света и механических повреждений во время транспортирования и хранения.
13.1.2 Потребительская упаковка
Установленное количество индивидуальных упаковок упаковывают в транспортную упаковку, защищающую изделия от повреждений при транспортировании и хранении.
Диафрагма должна быть упакована в индивидуальную упаковку многоразового использования, защищающую ее от повреждений в течение срока годности.
13.2 Маркировка
13.2.1 Маркировка диафрагмы
На каждую диафрагму наносят четкую маркировку, содержащую:
a) наименование изготовителя или его торговую марку;
b) номинальный диаметр в миллиметрах.
13.2.2 Маркировка индивидуальной упаковки
На индивидуальную упаковку наносят четкую маркировку, содержащую:
a) наименование и/или торговую марку изготовителя или продавца;
b) номер партии;
c) номинальный диаметр в миллиметрах;
d) рекомендуемую изготовителем дату реализации (месяц и год), т.е. дату, после которой диафрагма не должна поступать потребителю; она должна быть не более двух лет с даты изготовления, если другая не подтверждена результатами испытаний в режиме реального времени или ускоренными испытаниями;
e) наименование материала (каучука), из которого изготовлена диафрагма.
13.2.3 Инструкции
Каждая индивидуальная упаковка должна содержать инструкцию по применению и уходу за диафрагмой в соответствии с
приложением I.
13.3 Хранение
Резина со временем стареет. Диафрагмы упаковывают таким образом, чтобы они были защищены при хранении. Диафрагмы не должны храниться более указанного срока годности, особенно в условиях теплого климата. Диафрагмы следует хранить в сухом, прохладном месте в упаковке, защищающей от механических повреждений и воздействия света. При обнаружении признаков разрушения материала диафрагмы (например, липкости, хрупкости, образования микротрещин), ее утилизируют.
Диафрагма не должна подвергаться воздействию антисептических фенолов на основе масел и их производных, смазок на нефтяной основе, уайт-спирита, керосина и других родственных органических продуктов.
После испытаний диафрагмы рекомендуется утилизировать. Иногда диафрагмы сохраняют, чтобы продемонстрировать специфические проблемы. Такие диафрагмы маркируют или обеспечивают хранение, исключающее их непреднамеренное использование.
(обязательное)
A.1 Область применения
Настоящее приложение устанавливает метод измерения размеров диафрагм из резины на основе натурального или силиконового каучука.
A.2 Принцип
Размер определяют по наружному диаметру диафрагмы.
A.3 Аппаратура
A.3.1 Измерительное устройство со шкалой в миллиметрах.
A.4 Проведение испытаний
A.4.1 При измерении диафрагму не деформируют.
A.4.2 Осматривают диафрагму визуально. Если она выглядит некруглой, визуально устанавливают минимальный диаметр и проводят одно измерение по этой оси в соответствии с
A.4.3.
A.4.3 Помещают диафрагму на измерительное устройство
(A.3.1). Измеряют наружный диаметр гибкого ободка с точностью до 1 мм в двух точках перпендикулярно друг к другу. Вычисляют среднее значение с точностью до 1 мм.
A.5 Оформление результатов
Протокол испытаний оформляют в соответствии с
приложением H, также указывают значение размера, определенное для каждой диафрагмы, различие между значениями и вычисленное среднее значение наружного диаметра гибкого ободка в миллиметрах.
(обязательное)
ОПРЕДЕЛЕНИЕ ТОЛЩИНЫ КУПОЛООБРАЗНОГО КОЛПАЧКА
B.1 Область применения
Настоящее приложение устанавливает метод измерения толщины куполообразного колпачка диафрагмы из резины на основе натурального или силиконового каучука.
B.2 Принцип
Толщину куполообразного колпачка диафрагмы измеряют толщиномером.
B.3 Аппаратура
B.3.1 Толщиномер с ценой деления 0,01 мм в соответствии с ISO 463.
Толщиномер размещают на твердой плоской поверхности. Толщиномер должен быть оснащен плоской контактной площадкой диаметром от 3 до 7 мм, расположенной параллельно опорной плите и перпендикулярно плунжеру. Прилагаемое давление должно быть равно (22 +/- 5) кПа.
B.4 Проведение испытания
B.4.1 Помещают куполообразный колпачок диафрагмы на плоскую опорную плиту толщиномера
(B.3.1).
B.4.2 Измеряют толщину куполообразного колпачка до ближайших 0,01 мм в центре диафрагмы и не менее чем в четырех равноудаленными по окружности точках, расположенных на половине расстояния между центром и гибким ободком.
B.5 Обработка результатов
Оформляют протокол испытания в соответствии с
приложением H, а также указывают минимальную толщину куполообразного колпачка каждой испытанной диафрагмы в миллиметрах.
(обязательное)
ОПРЕДЕЛЕНИЕ УПРУГОПРОЧНОСТНЫХ СВОЙСТВ
C.1 Область применения
Настоящее приложение устанавливает метод определения упругопрочностных свойств куполообразного колпачка диафрагмы из резины на основе натурального или силиконового каучука.
C.2 Принцип
Образец для испытания заготавливают из куполообразного колпачка диафрагмы и растягивают его до разрушения. Измеряют усилие при растяжении и относительное удлинение при разрыве.
C.3 Оборудование
C.3.1 Штанцевый нож для заготовки образца в форме кольца внутренним диаметром (100,0 +/- 0,5) мм и шириной (2,00 +/- 0,02) мм.
C.3.3 Разрывная машина, обеспечивающая постоянную скорость перемещения траверсы, соответствующая следующим требованиям:
- измерение усилия от 0 до 50 Н;
- наличие двух роликов диаметром приблизительно 15 мм для крепления образца;
- скорость перемещения ролика - (8,5 +/- 0,8) мм/с или (500 +/- 50) мм/мин.
C.4 Подготовка образца для испытаний
Из куполообразного колпачка каждой диафрагмы вырубают образец в форме кольца, используя штанцевый нож
(C.3.1). Испытывают образцы, вырубленные с первого раза.
C.5 Проведение испытания
C.5.1 Измеряют толщину образца толщиномером до ближайшей 0,01 мм. Измерения проводят в трех точках как можно ближе к краю кольца и вычисляют медиану в соответствии с
C.6.1.
C.5.2 Надевают испытуемый образец на ролики разрывной машины и растягивают его до разрушения.
C.5.3 Записывают усилие в момент разрыва с точностью до 0,1 Н и расстояние между центрами роликов с точностью до 1 мм.
C.6 Обработка результатов
C.6.1 Прочность при растяжении

, МПа, для каждого образца вычисляют по формуле

, (C.1)
где F - разрушающее усилие, Н;
w - ширина образца, равная 2 мм;
t - толщина образца, мм.
Результат округляют до целого числа.
C.6.2 Относительное удлинение при разрыве E, %, для каждого образца вычисляют по формуле

, (C.2)
где l - расстояние между центрами роликов после разрыва, мм;
Croll - длина окружности ролика, мм;
Cint - внутренняя окружность образца, равная 100 мм.
Результат округляют до ближайших 10%.
C.7 Оформление результатов испытания
Протокол испытания оформляют в соответствии с
приложением H, и в нем также указывают значение прочности при растяжении и относительного удлинения при разрыве каждого образца.
(обязательное)
ОПРЕДЕЛЕНИЕ УПРУГОПРОЧНОСТНЫХ СВОЙСТВ
ПОСЛЕ УСКОРЕННОГО СТАРЕНИЯ В ТЕРМОСТАТЕ
D.1 Область применения
Настоящее приложение устанавливает определение изменения упругопрочностных свойств диафрагм из резины на основе натурального или силиконового каучука после ускоренного старения.
D.2 Принцип
Выдерживают образцы при повышенной температуре в течение установленного времени и определяют изменение прочности при растяжении и относительного удлинения при разрыве в соответствии с
приложением C.
D.3 Оборудование
D.3.1 Термостат - по ISO 188.
D.3.2 Штанцевый нож для заготовки образца в форме кольца внутренним диаметром (100,0 +/- 0,5) мм и шириной (2,00 +/- 0,02) мм.
D.3.4 Разрывная машина, обеспечивающая постоянную скорость перемещения траверсы, соответствующая следующим требованиям:
- измерение усилия от 0 до 50 Н;
- наличие двух роликов диаметром приблизительно 15 мм для крепления образца;
- скорость перемещения ролика - (8,5 +/- 0,8) мм/с или (500 +/- 50) мм/мин.
D.4 Подготовка образцов для испытания
D.4.1 Из куполообразного колпачка каждой испытуемой диафрагмы вырубают образец в форме кольца, используя нож
(D.3.2).
D.4.2 Испытывают образцы, вырубленные с первого раза.
D.5 Методика проведения испытания
D.5.1 Заготовленные образцы
(D.4) выдерживают в термостате
(D.3.1) при температуре (70 +/- 2) °C в течение (168 +/- 2) ч.
D.5.2 После старения выдерживают образцы при температуре окружающей среды не менее 16 ч, но не более 96 ч.
D.5.3 Визуально осматривают образцы на наличие липкости, хрупкости и других признаков старения.
D.5.4 Испытывают и вычисляют прочность при растяжении и относительное удлинение при разрыве в соответствии с
приложением C.
D.6 Обработка результатов
Протокол испытания оформляют в соответствии с
приложением H, и в нем также указывают следующую информацию:
a) описание любого ухудшения после ускоренного старения;
b) значения прочности при растяжении и относительного удлинения при разрыве каждого образца.
(обязательное)
ОПРЕДЕЛЕНИЕ СОПРОТИВЛЕНИЯ СЖАТИЮ
И ОСТАТОЧНОЙ ДЕФОРМАЦИИ ПРУЖИНЫ ДИАФРАГМЫ
E.1 Область применения
Настоящее приложение устанавливает метод определения степени сжатия и остаточной деформации диафрагмы из резины на основе натурального или силиконового каучука со спиральной или плоской пружиной.
Данный метод не используют для испытания диафрагм с дугообразными пружинами.
E.2 Принцип
E.2.1 Сначала сжимают пружину диафрагмы под действием массы.
E.2.2 После измерения сопротивления сжатию диафрагму многократно сжимают на 25% от ее номинального диаметра и отпускают.
E.2.3 После 1000-го цикла сжатия повторяют измерение сопротивления сжатию. Дополнительно измеряют остаточную деформацию и скручивание, вызванные циклической деформацией.
E.2.4 Изготовители диафрагм, имеющие сертифицированную по ISO 9001 систему менеджмента качества или аналогичную или закупающие пружины у поставщика с аналогичной сертифицированной системой менеджмента качества, могут не проводить испытания каждой партии продукции по
E.4.5 -
E.4.9 и вместо этого допускается проводить испытания на сопротивление сжатию как типовое.
E.3 Аппаратура
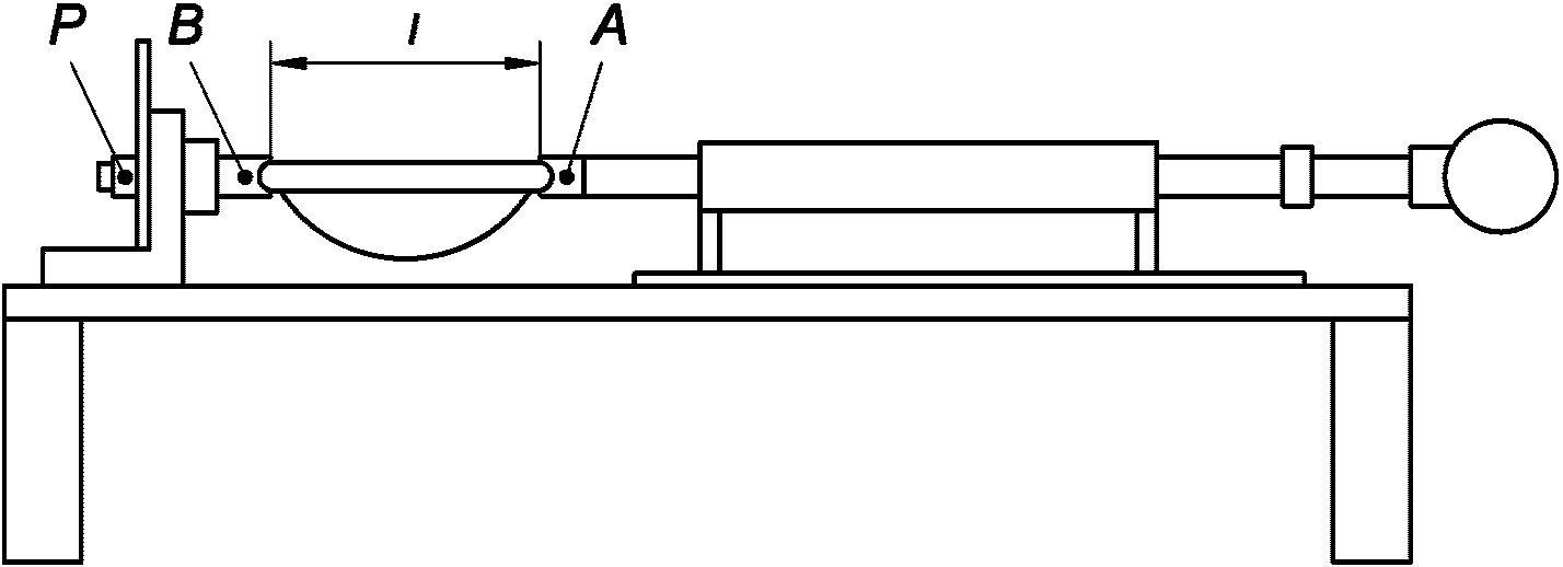
E.3.1 Прибор для испытания на сжатие, обеспечивающий воздействие на диафрагму стержнем массой 280 г под действием силы тяжести.
1 - стержень массой 280 г; 2 - диафрагма
Рисунок E.1 - Прибор для испытания на сжатие
E.3.2 Устройство, обеспечивающее цикличное сжатие диафрагм на (25 +/- 5)% от номинального диаметра.
E.3.3 Прибор для измерения степени скручивания в соответствии с
приложением F.
E.4 Методика проведения испытаний
E.4.1 Измеряют номинальный диаметр диафрагмы
D0 в соответствии с
приложением A.
E.4.2 Помещают диафрагму между двумя металлическими стержнями, как показано на
рисунке E1.
E.4.3 Медленно отпускают верхний стержень таким образом, чтобы диафрагма была сжата параллельно ее диаметру.
E.4.4 Измеряют расстояние в миллиметрах между точками приложения нагрузки к гибкому ободку после сжатия в течение 15 с. Если диаметр
D0 диафрагмы не соответствует требованиям настоящего стандарта, испытание прекращают и считают диафрагму не соответствующей требованиям настоящего стандарта.
E.4.5 Устанавливают диафрагму в устройство, обеспечивающее циклическое сжатие. Устройство позволяет одновременно испытывать одну или несколько диафрагм.
E.4.6 Сжимают диафрагму 1000 раз со скоростью 30 - 40 циклов/мин и удаляют из устройства.
E.4.7 Повторяют испытание на сопротивление сжатию по
E.4.1 -
E.4.4.
E.4.8 Измеряют диаметр диафрагмы вдоль оси сжатия, используя прибор, указанный в приложении A
(A.3.1).
E.4.10 Визуально осматривают резиновую пленку на наличие признаков разрушения.
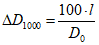
E.5 Обработка результатов
E.5.1 Перед испытанием на сжатие в 1000 циклов вычисляют изменение диаметра диафрагмы

, %, по формуле

, (E.1)
где l - расстояние между точками приложения нагрузки, мм;
D0 - номинальный диаметр, мм.
E.5.2 Вычисляют изменения диаметра диафрагмы

, %, после 1000 циклов сжатия по формуле

, (E.2)
где l - расстояние между точками приложения нагрузки после 1000 циклов сжатия, мм;
D0 - номинальный диаметр, мм.
E.5.3 Вычисляют изменение диаметра

, %, после сжатия по формуле

. (E.3)
E.6 Оформление результатов
E.6.1 Протокол испытания оформляют в соответствии с
приложением H, и в нем также указывают:
a) изменение диаметра

, %, во время первого сжатия относительно номинального диаметра для каждой испытанной диафрагмы;
b) изменение диаметра

, %, после 1000-го сжатия относительно номинального диаметра для каждой испытанной диафрагмы;
c) изменение диаметра диафрагмы после сжатия

, %;
d) любые признаки разрушения, отмеченные при визуальном осмотре.
(обязательное)
ОПРЕДЕЛЕНИЕ СТЕПЕНИ СКРУЧИВАНИЯ СПИРАЛЬНОЙ
И ПЛОСКОЙ ПРУЖИНЫ ДИАФРАГМЫ ПРИ СЖАТИИ
F.1 Область применения
Настоящее приложение устанавливает метод определения степени скручивания при сжатии спиральной пружины и плоской пружины диафрагм из резины на основе натурального или силиконового каучука. Данный метод не применяют для испытания диафрагм с дугообразной пружиной.
F.2 Принцип
Сжимают гибкий ободок диафрагмы по его диаметру, используя соответствующее оборудование (см.
F.3), и определяют отклонение гибкого ободка от горизонтальной плоскости.
F.3.1 Оборудование для испытаний на скручивание, приведенное на
рисунке F.1, состоит из двух металлических стержней, один может перемещаться вдоль своей оси, но не может вращаться, другой - неподвижен относительно своей оси, но может свободно вращаться.
A - неподвижный стержень; B - подвижный стержень;
P - указатель; l - расстояние между стержнями, мм
Рисунок F.1 - Оборудование для скручивания диафрагмы
F.4 Методика проведения испытаний
b) Регулирование интервала l
c) Показания углового вращения
A - неподвижный стержень; B - подвижный стержень; P - шкала
Рисунок F.2 - Установка и скручивание диафрагмы
F.4.2 Сжимают диафрагму, регулируя стержень A таким образом, чтобы расстояние
l между концами стержней соответствовало значениям, приведенным в
таблице F.1 [см.
рисунок F.2b)].
Таблица F.1
Расстояние между стержнями
для рекомендуемых диаметров диафрагм
В миллиметрах
Номинальный рекомендуемый диаметр диафрагмы | Расстояние между стержнями <a>, l |
55 | 21,5 |
60 | 22,5 |
65 | 23,5 |
70 | 24,5 |
75 | 25,5 |
80 | 26,5 |
85 | 27,5 |
90 | 28,5 |
95 | 29,5 |
100 | 30,5 |
<a> Расстояние для других диаметров определяют методом интерполяции или экстраполяции. |
F.4.3 Регистрируют угол поворота стержня
B по шкале
P [см.
рисунок F.2c)].
Степень скручивания диафрагмы должна быть не более 20°.
F.5 Обработка результатов
Протокол испытаний оформляют в соответствии с
приложением H, и в нем также указывают степень скручивания каждой диафрагмы и число диафрагм, у которых значение степени скручивания превысило 20°.
(обязательное)
ОПРЕДЕЛЕНИЕ ДЕФЕКТОВ, ОПРЕДЕЛЯЕМЫХ ВИЗУАЛЬНО
G.1 Область применения
Настоящее приложение устанавливает два альтернативных метода определения дефектов диафрагмы из резины на основе натурального или силиконового каучука, определяемых визуально: с использованием электрической лампы или сжатого воздуха. Методы по
G.3 и
G.4 равноценны, можно применять один из них.
G.2 Принцип
Визуально осматривают гибкий ободок и растянутый куполообразный колпачок диафрагмы.
G.3 Визуальный осмотр с использованием электрической лампы
G.3.1 Оборудование
G.3.1.1 Стеклянный цилиндр с источником света внутри.
Цилиндр не должен нагреваться источником света до такой степени, чтобы оказывать неблагоприятное воздействие на материал диафрагмы. Пример оборудования приведен на
рисунке G.1.
1 - кольцо для удержания диафрагмы; 2 - лампа
Рисунок G.1 - Пример оборудования для визуального осмотра
диафрагмы с использованием лампы
G.3.2 Методика проведения испытаний
Осматривают гибкий ободок, затем натягивают диафрагму на стеклянный цилиндр
(G.3.1.1) таким образом, чтобы она была растянута приблизительно в два раза по отношению к номинальным линейным размерам. Перемещают диафрагму и визуально оценивают наличие дефектов в куполообразном колпачке.
G.4 Визуальный осмотр с использованием сжатого воздуха
G.4.1 Оборудование
G.4.1.1 Устройство для фиксирования диафрагмы и удержания растянутого воздухом куполообразного колпачка приведено на
рисунке G.2.
1 - кольцо, фиксирующее диафрагму; 2 - растянутая диафрагма;
3 - невозвратный клапан; 4 - воздуховыпускной клапан;
5 - клапан; 6 - источник подачи воздуха под давлением
Рисунок G.2 - Пример оборудования для осмотра диафрагмы
при помощи сжатого воздуха
G.4.2 Методика проведения испытания
Осматривают ободок и, используя устройство (см.
рисунок G.2), надувают диафрагму воздухом в течение 1 мин таким образом, чтобы куполообразный колпачок увеличился в два раза по отношению к его номинальному размеру. Визуально осматривают надутую диафрагму на наличие дефектов.
G.5 Обработка результатов
G.5.1 Протокол испытания оформляют в соответствии с
приложением H, и в нем также указывают:
a) использованный метод испытаний;
b) число диафрагм с одним или более из нижеприведенных существенных видимых дефектов:
1) отверстие в куполообразном колпачке;
2) деформированная пружина;
3) сломанная пружина;
4) деформированная форма диафрагмы;
5) нечеткая маркировка.
c) число диафрагм с одним или более из нижеприведенных незначительных дефектов:
1) наличие пятен на куполообразном колпачке (включая края);
2) наличие посторонних включений;
3) липкость поверхности;
4) любые другие дефекты, которые могут повлиять на эксплуатационные характеристики диафрагмы.
(обязательное)
Протокол испытания должен содержать:
a) наименование и адрес испытательной лаборатории;
b) наименование и адрес заказчика, при необходимости;
c) идентификацию протокола испытания;
d) идентификацию образцов (количество образцов, номер и объем партии), а также информацию о том, кем был проведен отбор образцов;
e) происхождение образца и дату его поступления в испытательную лабораторию;
f) обозначение настоящего стандарта, соответствующие разделы и приложения;
g) описание отклонений от настоящего стандарта;
h) результаты испытаний в соответствии с приложениями;
i) погрешность измерений;
j) дату оформления протокола испытания, подпись и должность лица, ответственного за протокол испытания.
(обязательное)
ИНСТРУКЦИИ ПО УХОДУ И ИСПОЛЬЗОВАНИЮ МНОГОРАЗОВЫХ
РЕЗИНОВЫХ ПРОТИВОЗАЧАТОЧНЫХ ДИАФРАГМ
I.1 Общие требования
В настоящем приложении приведены инструкции по использованию и уходу за многоразовыми диафрагмами из резины на основе натурального или силиконового каучука, которые наносят на индивидуальную упаковку или вкладывают в индивидуальную упаковку диафрагмы.
I.2 Инструкции по использованию
Инструкции должны содержать:
a) рекомендации, как вставлять и удалять диафрагму, а также как проверить, что она находится в правильном положении;
b) рекомендации по использованию подходящей биологически безопасной спермицидной смазки, не оказывающей разрушающего воздействия на материал диафрагмы и указания о том, что следует использовать только спермицидные материалы, которые не оказывают негативного воздействия на материал диафрагмы;
c) информацию о том, что используемое смазочное вещество должно быть на основе водорастворимого материала или другого смазочного материала, не оказывающего негативного воздействия на резину;
d) предупреждение о том, что после рождения ребенка, а также при потере или наборе массы более 3 кг необходимо использовать диафрагму другого размера.
I.3 Инструкции по уходу
Инструкции по уходу должны содержать:
a) перед первым использованием диафрагму необходимо вымыть теплой водой с мылом и вытереть насухо мягкой салфеткой;
b) после использования диафрагму следует вымыть теплой водой с мылом, тщательно прополоскать и вытереть насухо мягкой салфеткой. При сушке диафрагму не следует нагревать. Не следует использовать синтетические моющие вещества и органические растворители. После каждого использования и обработки диафрагмы ее проверяют на наличие следующих дефектов:
1) наличие отверстий или пятен;
2) неполное покрытие пружины резиной;
3) признаки разрушения резины (изменение цвета, утонение и т.д.);
c) при соответствующем уходе диафрагма служит в течение указанного изготовителем срока эксплуатации. При обнаружении каких-либо дефектов диафрагму следует заменить;
d) на индивидуальной упаковке следует записать дату начала использования диафрагмы;
e) в связи с тем, что смазки на основе масла, в том числе вазелина, оказывают разрушающее воздействие на резину на основе натурального каучука, следует использовать только водорастворимые смазки или смазки на основе другого смазочного материала, не оказывающего разрушающего воздействия на резину;
f) диафрагмы, изготовленные из резины на основе натурального каучука, следует хранить защищенными от воздействия света;
g) если диафрагму не используют, ее следует хранить в индивидуальной упаковке.
(справочное)
СВЕДЕНИЯ О СООТВЕТСТВИИ ССЫЛОЧНЫХ МЕЖДУНАРОДНЫХ СТАНДАРТОВ
МЕЖГОСУДАРСТВЕННЫМ СТАНДАРТАМ
Таблица ДА.1
Обозначение ссылочного международного стандарта | Степень соответствия | Обозначение и наименование соответствующего межгосударственного стандарта |
ISO 188 | IDT | ГОСТ ISO 188-2013 "Резина и термоэластопласты. Испытания на ускоренное старение и теплостойкость" |
ISO 463 | - | |
ISO 2859-1:1999 | - | |
ISO 10993-1 | IDT | ГОСТ ISO 10993-1-2011 "Изделия медицинские. Оценка биологического действия медицинских изделий. Часть 1. Оценка и исследования" |
ISO 10993-5 | IDT | ГОСТ ISO 10993-5-2011 "Изделия медицинские. Оценка биологического действия медицинских изделий. Часть 5. Исследования на цитотоксичность: методы in vitro" |
ISO 10993-10 | IDT | ГОСТ ISO 10993-10-2011 "Изделия медицинские. Оценка биологического действия медицинских изделий. Часть 10. Исследования раздражающего и сенсибилизирующего действия" |
<*> Соответствующий межгосударственный стандарт отсутствует. До его принятия рекомендуется использовать перевод на русский язык данного международного стандарта. Примечание - В настоящей таблице использовано следующее условное обозначение степени соответствия стандартов: - IDT - идентичные стандарты. |
[1] | ISO 2230 | Rubber products - Guidelines for storage (Резиновые изделия. Руководство по хранению) |
[2] | ISO 9000 | Quality management systems - Fundamentals and vocabulary (Системы менеджмента качества. Основные положения и словарь) |
[3] | ISO 9001 | Quality management systems - Requirements (Системы менеджмента качества. Требования) |
[4] | ISO 9004 | Quality management systems - Guidelines for performance improvements (Системы менеджмента качества. Руководство по повышению производительности) |
[5] | ISO 13485 | Medical devices - Quality management systems - Requirements for regulatory purposes (Изделия медицинские. Система менеджмента качества. Требования для целей регулирования) |
[6] | ISO 13488 | Quality systems - Medical devices - Particular requirements for the application of ISO 9002 (Системы качества. Медицинские изделия. Рекомендации по применению ИСО 9002) |
[7] | ISO 14971 | Medical devices - Application of risk management to medical devices (Медицинские изделия. Применение менеджмента риска к медицинским изделиям) |
[8] | ISO Guide 7 | Guidelines for drafting of standards suitable for use for conformity assessment (Руководство по разработке стандартов для оценки соответствия) |
УДК 615.477.87:006.354 | | IDT |
Ключевые слова: механические противозачаточные средства, диафрагмы многоразовые резиновые и силиконовые, технические требования, методы испытаний |