Главная // Актуальные документы // ГОСТ (Государственный стандарт)СПРАВКА
Источник публикации
М.: ФГБУ "РСТ", 2021
Примечание к документу
Документ включен в
Перечень международных и региональных (межгосударственных) стандартов, а в случае их отсутствия - национальных (государственных) стандартов, содержащих правила и методы исследований (испытаний) и измерений, в том числе правила отбора образцов, необходимые для применения и исполнения требований технического
регламента Евразийского экономического союза "О безопасности мяса птицы и продукции его переработки" (ТР ЕАЭС 051/2021) и осуществления оценки соответствия объектов технического регулирования (
Решение Коллегии Евразийской экономической комиссии от 29.11.2022 N 188).
Документ включен в Перечень международных и региональных (межгосударственных) стандартов, а в случае их отсутствия - национальных (государственных) стандартов, содержащих правила и методы исследований (испытаний) и измерений, в том числе правила отбора образцов, необходимые для применения и исполнения требований технического регламента Таможенного союза "Технический
регламент на масложировую продукцию" (ТР ТС 024/2011) и осуществления оценки соответствия объектов технического регулирования (
Решение Коллегии Евразийской экономической комиссии от 29.03.2022 N 53).
Документ включен в
Перечень международных и региональных (межгосударственных) стандартов, а в случае их отсутствия - национальных (государственных) стандартов, содержащих правила и методы исследований (испытаний) и измерений, в том числе правила отбора образцов, необходимые для применения и исполнения требований технического
регламента Таможенного союза "О безопасности пищевой продукции" (ТР ТС 021/2011) и осуществления оценки соответствия объектов технического регулирования (
Решение Коллегии Евразийской экономической комиссии от 24.12.2019 N 236).
Документ включен в
Перечень международных и региональных (межгосударственных) стандартов, а в случае их отсутствия - национальных (государственных) стандартов, содержащих правила и методы исследований (испытаний) и измерений, в том числе правила отбора образцов, необходимые для применения и исполнения требований технического
регламента Таможенного союза "О безопасности мяса и мясной продукции" (ТР ТС 034/2013) и осуществления оценки соответствия объектов технического регулирования (
Решение Коллегии Евразийской экономической комиссии от 19.11.2019 N 198).
Документ
введен в действие с 01.02.2022.
Название документа
"ГОСТ ISO 5555-2016. Межгосударственный стандарт. Жиры и масла животные и растительные. Отбор проб"
(введен в действие Приказом Росстандарта от 24.08.2021 N 770-ст)
"ГОСТ ISO 5555-2016. Межгосударственный стандарт. Жиры и масла животные и растительные. Отбор проб"
(введен в действие Приказом Росстандарта от 24.08.2021 N 770-ст)
агентства по техническому
регулированию и метрологии
от 24 августа 2021 г. N 770-ст
МЕЖГОСУДАРСТВЕННЫЙ СТАНДАРТ
ЖИРЫ И МАСЛА ЖИВОТНЫЕ И РАСТИТЕЛЬНЫЕ
ОТБОР ПРОБ
Animal and vegetable fats and oils. Sampling
(ISO 5555:2001, IDT)
ГОСТ ISO 5555-2016
Дата введения
1 февраля 2022 года
Цели, основные принципы и общие правила проведения работ по межгосударственной стандартизации установлены
ГОСТ 1.0 "Межгосударственная система стандартизации. Основные положения" и
ГОСТ 1.2 "Межгосударственная система стандартизации. Стандарты межгосударственные, правила и рекомендации по межгосударственной стандартизации. Правила разработки, принятия, обновления и отмены"
1 ПОДГОТОВЛЕН Научно-производственным республиканским унитарным предприятием "Белорусский государственный институт стандартизации и сертификации" (БелГИСС) на основе собственного перевода на русский язык англоязычной версии стандарта, указанного в
пункте 5
2 ВНЕСЕН Государственным комитетом по стандартизации Республики Беларусь
3 ПРИНЯТ Межгосударственным советом по стандартизации, метрологии и сертификации по результатам голосования (протокол от 28 июня 2016 г. N 49)
За принятие проголосовали:
Краткое наименование страны по МК (ИСО 3166) 004-97 | Код страны по МК (ИСО 3166) 004-97 | Сокращенное наименование национального органа по стандартизации |
Армения | AM | ЗАО "Национальный орган по стандартизации и метрологии" Республики Армения |
Беларусь | BY | Госстандарт Республики Беларусь |
Казахстан | KZ | Госстандарт Республики Казахстан |
Киргизия | KG | Кыргызстандарт |
Молдова | MD | Институт стандартизации Молдова |
Россия | RU | Росстандарт |
Таджикистан | TJ | Таджикстандарт |
4
Приказом Федерального агентства по техническому регулированию и метрологии от 24 августа 2021 г. N 770-ст межгосударственный стандарт ГОСТ ISO 5555-2016 введен в действие в качестве национального стандарта Российской Федерации с 1 февраля 2022 г.
5 Настоящий стандарт идентичен международному стандарту ISO 5555:2001 "Жиры и масла животные и растительные. Отбор проб" ("Animal and vegetable fats and oils - Sampling"), включая изменение Amd. 2014.
Международный стандарт разработан подкомитетом SC 11 "Жиры и масла животные и растительные" Технического комитета по стандартизации ISO/TC 34 "Пищевые продукты" Международной организации по стандартизации (ISO).
В стандарт внесено следующее редакционное изменение:
6.6 дополнен
6.6.5.
| | ИС МЕГАНОРМ: примечание. Изменение к международному стандарту, выделенное двойной вертикальной линией на полях слева (четные страницы) или справа (нечетные страницы) от соответствующего текста, в электронной версии документа выделено двойной вертикальной линией слева от соответствующего текста. | |
Изменение к международному стандарту, принятое после его официальной публикации (издания), внесено в текст стандарта и выделено двойной вертикальной линией на полях слева (четные страницы) или справа (нечетные страницы) от соответствующего текста
6 ВВЕДЕН ВПЕРВЫЕ
7 Некоторые элементы настоящего стандарта могут являться объектами патентных прав
Информация о введении в действие (прекращении действия) настоящего стандарта и изменений к нему на территории указанных выше государств публикуется в указателях национальных стандартов, издаваемых в этих государствах, а также в сети Интернет на сайтах соответствующих национальных органов по стандартизации.
В случае пересмотра, изменения или отмены настоящего стандарта соответствующая информация будет опубликована на официальном интернет-сайте Межгосударственного совета по стандартизации, метрологии и сертификации в каталоге "Межгосударственные стандарты"
Настоящий стандарт устанавливает методы отбора проб необработанных и обработанных животных и растительных жиров и масел (далее - жир), жидких или твердых независимо от их происхождения. Настоящий стандарт также описывает оборудование, используемое в процессе отбора проб.
Примечание - Методы отбора проб молока и молочных продуктов, включая молочные жиры, установлены в ISO 707.
В настоящем стандарте применены следующие термины с соответствующими определениями:
2.1 груз: Любое количество жира, отгруженное и доставленное единовременно в соответствии с конкретным договором или сопроводительным документом.
Примечание - Груз может состоять из одной или нескольких партий.
2.2 партия: Определенное количество жира, обладающее однородными характеристиками.
2.3 точечная проба: Количество жира, отобранное единовременно из одного места партии.
2.4 объединенная проба: Проба, состоящая из точечных проб, отобранных из партии.
Примечание - Объединенная проба должна быть представительной для партии и учитывать требования, установленные в договоре.
2.5 лабораторная проба: Проба, предназначенная для лабораторного анализа.
2.6 условная масса на единицу объема (вес одного литра): Количество жира, взятое для расчета массы жира на единицу объема.
Отбор и подготовка проб должны обеспечивать представительность проб, отобранных из груза (в том числе состоящего из нескольких партий).
Методы отбора проб, описанные ниже, предназначены для специалистов, отбирающих пробы, и могут быть использованы при отборе проб из:
a) наземных, судовых, железнодорожных цистерн, контейнеров-цистерн;
b) бочек, баков, ящиков, банок, мешков, бутылей.
4 Требования к оборудованию
Выбор инструментов для отбора проб и возможность их использования для конкретной цели зависят от навыка специалиста, отбирающего пробы, в соответствии с установленными процедурами.
При выборе инструментов для отбора проб необходимо учитывать назначение пробы:
- предварительное испытание;
- проведение анализа;
- определение условной массы на единицу объема (вес одного литра).
Инструменты для отбора проб, вспомогательное оборудование и емкости для хранения пробы должны быть изготовлены из материалов, химически инертных по отношению к жиру и не относящихся к катализаторам химических реакций.
Нержавеющая сталь является оптимальным материалом для изготовления инструментов для отбора проб. Допускается использование алюминия в качестве материала для изготовления инструментов для отбора проб жира с низкой кислотностью, но не для изготовления емкостей для хранения пробы.
Могут использоваться только те пластмассы, которые отвечают требованиям, установленным в
первом абзаце настоящего подраздела, при необходимых температурных условиях. Рекомендуется использовать полиэтилентерефталат (ПЭТ), отвечающий требованиям к материалам, контактирующим с пищевой продукцией.
Запрещается использовать медь и сплавы меди, а также любые токсичные материалы.
Предупреждение - Если по определенной причине используются стеклянные инструменты, то следует избегать появления трещин. Строго запрещается помещать стеклянные инструменты внутри емкостей, содержащих жир.
4.3 Инструменты для отбора проб, типы и примеры
4.3.1 Общие положения
Существует много видов и типов инструментов для отбора проб. В настоящем стандарте описаны и приведены примеры лишь наиболее часто используемых инструментов для отбора проб.
Инструменты для отбора проб должны быть простыми, прочными и легко очищаться, обезжириваться и дезинфицироваться. Они могут использоваться для любых операций при отборе проб различных видов жира, приведенных в настоящем стандарте.
Все виды и типы инструментов для отбора проб должны позволять провести отбор представительной пробы с определенного уровня или зоны, сохраняя при этом целостность пробы до момента переноса в емкость для хранения пробы. К важным требованиям, предъявляемым к инструментам, относятся легкость очистки, оптимальный размер и прочность.
Кроме инструментов, описанных в настоящем стандарте, могут использоваться инструменты других конструкций, изготовленные по индивидуальным заказам.
Размеры инструментов могут различаться в зависимости от объема проб и доступности мест их отбора.
4.3.2 Инструменты для отбора проб
Для отбора проб используют инструменты следующих типов:
4.4 Вспомогательное оборудование
При необходимости для отбора проб могут быть использованы следующие вспомогательные инструменты и материалы:
b) линейка для определения незаполненного объема цистерны (см.
B.8, рисунок B.8);
c) этикетки, самоклеящиеся или прикрепляющиеся бирки, приспособление для пломбирования (см. также
раздел 7);
e) мерная лента и утяжеляющий предмет (см.
B.10).
4.5 Емкость для хранения пробы
Емкости для хранения пробы изготавливают из материалов, установленных в
4.2.
5.1 Все операции по отбору проб должны выполняться чистыми руками и в перчатках (могут быть использованы резиновые или хлопчатобумажные перчатки).
5.2 Перед использованием инструменты и емкость для хранения пробы должны быть очищены и высушены.
5.3 Отбор проб проводят таким образом, чтобы предохранить от случайного загрязнения дождем, пылью и т.д. жир, отобранные пробы, инструменты для отбора проб и емкости для хранения пробы.
5.4 Перед переносом пробы в емкость для хранения необходимо удалить остатки жира с внешней поверхности инструментов для отбора проб.
5.5 В случае нагревания жира с целью облегчения процесса отбора проб не допускается его перегревание. Температуру жира, хранящегося в цистерне, не допускается поднимать более чем на 5 °C в день.
Величина площади нагревательных спиралей должна соответствовать объему цистерны с жиром, и их температура должна быть как можно более низкой, чтобы избежать местного перегрева. Для нагревания необходимо использовать пар при максимальном давлении 150 кПа (1,5 бар) и температуре 128 °C или горячую воду (только в случае, если нагревательные спирали являются самодренирующимися). Необходимо исключить возможность загрязнения жира паром или водой.
Температура жира во время отбора проб не должна превышать пределы, приведенные в
приложении A.
5.6 После отбора проб в соответствии с
6.1 -
6.8 проводят подготовку лабораторных проб согласно
6.9.
6.1.1 Упаковка для транспортирования и хранения жира
Выбор метода отбора проб зависит от вида упаковки, в которой находится жир:
a) вертикальные цилиндрические наземные цистерны (см.
6.2);
b) судовые цистерны (см.
6.3);
c) железнодорожные или автомобильные цистерны (см.
6.4);
d) горизонтальные цилиндрические цистерны, включая контейнеры-цистерны (см.
6.4);
e) баки для взвешивания (см.
6.5) (условно отнесены к упаковке для целей настоящего стандарта);
f) трубопроводы во время перекачки жира (см.
6.6) (условно отнесены к упаковке для целей настоящего стандарта);
g) бочки, баки, ящики, банки, мешки и бутыли (см.
6.8).
Описанная процедура применима к процессу отбора проб для определения условной массы на единицу объема (вес одного литра) (см.
6.7).
В любой упаковке из указанной в
6.1.1 может находиться вода. Она может быть в свободном виде на дне упаковки (несвязанная вода), а также в виде эмульсионного слоя или воды в суспензии. Во время операций, которым подвергается жир в баках для взвешивания и трубопроводах, он, как правило, не остается неподвижным в течение времени, достаточного для отделения воды.
Измерение воды обычно проводят в вертикальных цистернах для хранения (см.
6.2), но те же принципы применяются к остальной перечисленной упаковке, за исключением трубопроводов.
Присутствие воды может быть обнаружено с помощью донного пробоотборника (см.
B.4), а свободная вода может быть измерена с помощью линейки для измерения уровня воды (см.
B.7), или водочувствительной пасты, или бумаги для обнаружения воды, а также электронными методами.
При использовании любого метода точное определение содержания воды затруднено в результате нечеткого отделения свободной воды, эмульсионного слоя и воды в суспензии в более низких слоях жира.
Рекомендуется определить, является ли вода пресной или морской.
6.2 Отбор проб из вертикальных цилиндрических наземных цистерн
6.2.1 Предварительные операции
6.2.1.1 Определение наличия осадка, эмульсионного слоя, свободной воды
Присутствие осадка, эмульсионного слоя или свободной воды на дне цистерны определяют с помощью донного пробоотборника и/или других способов обнаружения воды, указанных в
6.1.2.
Осторожное нагревание жира позволяет воде стабилизироваться во взвешенном состоянии и осаждаться (см.
5.5).
Желательно перед отбором проб слить свободную воду и измерить ее количество, если это не противоречит договорным обязательствам.
Перед началом отбора проб необходимо, чтобы жир был однородным и как можно более жидким.
Однородность жира в цистерне проверяют путем изучения точечных проб, отобранных из разных уровней с использованием утяжеленной простой фляги (см.
B.1), утяжеленного каркаса для емкости для отбора проб (см.
B.2) или клапанного цилиндрического пробоотборника (см.
B.3), а также проб, отобранных со дна с помощью донного пробоотборника (см.
B.4).
Однородность жира во многих случаях может быть достигнута путем его нагревания в соответствии с
5.5.
В случае если нагревания можно избежать или оно недопустимо из-за особенностей жира, жир можно гомогенизировать продуванием азотом.
Если известно, что жир неоднородный и азот не доступен, заинтересованные стороны могут согласиться на продувание жира сухим воздухом. Настоящая процедура не допустима в отношении жира из морских животных, так как может ухудшить его характеристики в результате окисления. Подробные сведения о проведенных операциях должны быть указаны в акте отбора проб.
6.2.2.1 Общие положения
Пробы из каждой цистерны отбирают отдельно.
Если содержимое цистерны неоднородное и не может быть гомогенизировано, используют, как правило, утяжеленную простую флягу (см.
B.1), утяжеленный каркас для емкости для отбора проб (см.
B.2), клапанный цилиндрический пробоотборник (см.
B.3), а также донный пробоотборник (см.
B.4).
Точечные пробы отбирают через каждые 300 мм по направлению от верха ко дну. В случае если будет достигнут уровень, где отобранная точечная проба отличается от предыдущей пробы по внешнему виду, необходимо отбирать больше точечных проб, например через каждые 100 мм. В конце отбирают нижнюю пробу со дна.
Точечные пробы отбирают соответствующим образом, чтобы получить:
a) пробу жира, однородного по внешнему виду;
b) пробу жира, неоднородного по внешнему виду.
Подготавливают объединенную пробу, пропорционально смешивая пробы
a) и
b) с учетом их количеств и соблюдая как можно точнее соотношение.
Количество объединенных проб, которое необходимо подготавливать, установлено в
таблице 1. Для каждой цистерны подготавливают не менее одной объединенной пробы.
Таблица 1
Количество объединенных проб, которое необходимо
подготавливать для каждой судовой или надземной цистерны
Масса содержимого цистерны, т | Количество объединенных проб для каждой цистерны |
<= 500 | 1 |
> 500 и <= 1000 | 2 |
> 1000 | 1 на каждые 500 т или часть из них |
Если содержимое цистерны является однородным, используют один из инструментов для отбора проб, указанных в
6.2.2.2, но в этом случае отбирают не менее трех точечных проб: верхнюю, среднюю и нижнюю.
Верхнюю точечную пробу отбирают на уровне 1/10 от общей глубины (от поверхности), среднюю точечную пробу отбирают на уровне 1/2 от общей глубины, а нижнюю точечную пробу - на уровне 9/10 от общей глубины.
Подготавливают объединенную пробу, смешивая в соотношениях по одной части из верхней и нижней точечных проб и три части из средней.
Количество объединенных проб, которое необходимо подготавливать, установлено в
таблице 1, для каждой цистерны подготавливают не менее одной объединенной пробы.
6.3 Отбор проб из судовых цистерн
Размер и расположение судовых цистерн делают отбор проб более длительным и трудным, чем из вертикальных цилиндрических наземных цистерн. Обычно отбор проб проводят во время перекачки жира, как описано в
6.6. В случае если пробы необходимо отобрать непосредственно из судовых цистерн, используют, насколько это возможно, процедуру, описанную в
6.2, включая предварительные операции, такие как нагревание.
Пробы из каждой цистерны отбирают отдельно. Подготавливают количество объединенных проб, указанное в
таблице 1. Учитывая форму цистерны, по возможности осуществляют смешивание точечных проб в соответствующих соотношениях при подготовке объединенной пробы.
Отбор проб из баржевых цистерн желательно проводить сразу после их наполнения.
6.4 Отбор проб из железнодорожных или автомобильных цистерн и горизонтальных цилиндрических цистерн, включая контейнеры-цистерны
Пробы следует отбирать сразу после заполнения цистерны, т.е. до отстаивания, которое может привести к фракционированию и расслоению жира.
Отбирают пробы с помощью утяжеленной простой фляги (см.
B.1), утяжеленного каркаса для емкости для отбора проб (см.
B.2), клапанного цилиндрического пробоотборника (см.
B.3), соблюдая процедуру, описанную в
6.2.2.
Если пробы не могут быть отобраны сразу же после заполнения цистерны, проводят предварительные испытания на присутствие свободной воды на уровне дна. Если свободная вода присутствует, то по соглашению сторон ее убирают, открывая донный кран. Измеряют количество вытекшей воды и сообщают об этом получателю и поставщику или их представителям.
Затем проводят гомогенизацию жира продуванием азотом (см.
6.2.1.2) и/или путем нагревания до тех пор, пока жир не станет полностью жидким, следя за тем, чтобы проводился отбор проб жира, не пострадавшего в результате проведенной операции.
Если в силу определенных обстоятельств необходимо отобрать пробу неподвижного жира из железнодорожных цистерн или горизонтальной цилиндрической цистерны, не осуществляя описанный выше процесс гомогенизации, следует обратить особое внимание на то, чтобы пробы были отобраны пропорционально по всей глубине жира.
Соотношение, в котором необходимо смешивать точечные пробы (при подготовке объединенной пробы), отобранные через каждые 300 мм глубины цистерны клапанным цилиндрическим пробоотборником, определяют с помощью
рисунка 1. Указанный способ установления необходимого соотношения при смешивании точечных проб достаточно простой (поперечное сечение цистерн любой формы или размеров, масштабная линейка, миллиметровая бумага).
a) Эллиптическое поперечное сечение горизонтальной цистерны
b) Цилиндрическое поперечное сечение горизонтальной цистерны
Рисунок 1 - Поперечное сечение типичных цистерн
Для отбора проб из наклонных цистерн используется метод для судовых цистерн, описанный в
6.3. Способ учета формы цистерны, описанный выше, не применим к наклонным цистернам или цистернам, имеющим нестандартную форму.
Объединенные пробы подготавливают из точечных проб в соотношениях, зависящих от поперечного сечения цистерн.
6.5 Отбор проб из баков для взвешивания
Отбор проб из баков для взвешивания должен осуществляться сразу после их заполнения, без отстаивания.
При отборе проб инструмент погружают до середины бака и заполняют его. В случае если не удалось сразу отобрать пробу и отстаивание могло бы привести к фракционированию и расслоению жира, необходимо встряхивать содержимое бака перед отбором проб или отбирать пробу через каждые 300 мм глубины.
Если бак закрыт, то пробу отбирают из горизонтального капельного крана согласно
6.6.2.
Объединенные пробы подготавливают из точечных проб в соотношениях, зависящих от поперечного сечения бака.
6.6 Отбор проб из трубопроводов во время перекачки жира
6.6.1 Общие положения
Настоящий метод следует использовать, только если жир в жидком состоянии и не содержит компонентов, которые могут заблокировать крышку или закупоривать капельный кран. Любая водосодержащая эмульсия, например масло форвакуумного насоса, должна быть откачана, отобрана, взвешена и сохранена отдельно.
При большом объеме партии пробы могут быть отобраны во время перекачки жира из цистерны. Для этого необходимо регулярно, через небольшие интервалы времени, отбирать точечные пробы из потока жира до момента полного освобождения цистерны. Настоящий метод является достаточно простым для применения в случае, если жир переливают из цистерны, снабженной прибором, измеряющим вес цистерны.
Отбор проб также можно проводить из второго или бокового потока (отведенный от главного потока), но этот способ отбора проб является неточным.
6.6.2 Вентиль или капельный кран
Вентиль или капельный кран должны соединяться с патрубком диаметром не менее 9,5 мм, который может быть вставлен в центр или в 1/3 диаметра основного трубопровода подачи жира против движения потока. Нельзя устанавливать вентили сбоку или на дне трубопровода. Вентиль или капельный кран должны быть введены, если возможно, в горизонтальную секцию трубопровода, как можно дальше от колена трубопровода и Т-образных соединений, и предпочтительно находиться на нагнетательной линии насоса на расстоянии 10 - 50 м от него. Не рекомендуется устанавливать пробно-спускной кран. Пробоотборная линия должна иметь диаметр не менее 9,5 мм, постепенно снижающийся к выходу. Вентиль или капельный кран должны быть спроектированы так, чтобы их можно было легко и быстро чистить в случае закупорки.
Для устранения закупорки и очистки основной линии подачи должны быть предусмотрены трубы с маленьким внутренним диаметром.
Необходимо предусмотреть нагревание и изоляцию для жира с высокой вязкостью или высокой температурой плавления.
6.6.3 Процедура
Для полного смешивания жира в трубопроводе регулируют скорость потока в главном трубопроводе, чтобы обеспечить достаточную турбулентность. Поддерживают постоянную скорость потока в трубопроводе.
Инструменты и емкость для хранения пробы должны находиться в кожухах, чтобы предотвратить случайное загрязнение.
Сразу после перекачки жира тщательно смешивают все пробы, отобранные из капельного крана, для получения объединенной пробы, из которой будут отобраны лабораторные пробы.
В процессе отбора проб необходимо постоянное присутствие специалиста по отбору проб в связи с возможной закупоркой капельного крана грязью или отдельными частицами, которые неизбежно попадают в поток.
6.6.4 Минимальный объем объединенной пробы
Минимальный объем объединенной пробы, подготовленной из жира, отобранного при перекачке из каждой цистерны, указан в
таблице 2.
Масса содержимого цистерны, т | Минимальный объем объединенной пробы, л |
<= 20 | 1 |
> 50 и <= 50 | 5 |
> 50 и <= 500 | 10 |
| 6.6.5 Отбор проб из флекситанков Флекситанк является средством транспортирования жидких жиров, представляющим собой гибкую емкость, изготовленную из полимерных материалов, помещенную в металлический или пластиковый контейнер. Как правило, флекситанк состоит из одноразового мешка, изготовленного из полимерных материалов, помещенного в универсальный контейнер общего назначения, соответствующий требованиям ISO 1496-1 <1> длиной 6,1 м (20 футов). Пустой мешок помещают в контейнер, а затем заполняют жидким жиром из наземных цистерн, при этом мешок удерживается внутри контейнера с помощью перегородки. Контейнер дополнительно может быть снабжен нагревательной подушкой. После заполнения флекситанка пробы невозможно отобрать, поэтому они должны быть отобраны во время перекачки жира в соответствии с 6.6. |
--------------------------------
<1> Контейнеры грузовые серии 1. Технические условия и испытания. Часть 1. Универсальные контейнеры общего назначения.
| При затруднении отбора представительных проб из потока жира в трубопроводе, при его перекачке, рекомендуется изготовить приспособление, представляющее собой трубу длиной 300 мм с соответствующими соединениями на каждом конце, снабженную подходящими капельным краном и дисковым поворотным затвором. Указанное приспособление должно быть соединено между краном флекситанка и трубопроводом, по которому перекачивается жир, до начала перекачки. Таким образом, в течение всего процесса перекачки жира могут быть отобраны точечные пробы. Точечные пробы объединяют и тщательно перемешивают для получения представительной объединенной пробы, из которой могут быть отобраны несколько лабораторных проб. Минимальный объем объединенной пробы должен составлять 5 л независимо от количества жира в флекситанке. 1 - капельный кран; 2 - дисковый поворотный затвор Рисунок 2 - Приспособление для отбора проб из флекситанка (Amd. 1:2014) |
6.7 Отбор проб из цистерн для определения условной массы на единицу объема (вес одного литра)
6.7.1 Общие положения
Масса жира в цистернах может быть рассчитана исходя из объема и условной массы на единицу объема (вес одного литра) жира в цистернах.
Для определения условной массы на единицу объема (вес одного литра) отбирают специальную пробу в соответствии с требованиями, установленными в
6.7.2 и
6.7.3.
6.7.2 Предварительная обработка жира, находящегося в твердом или полутвердом состоянии
Жир, находящийся в твердом или полутвердом состоянии, необходимо медленно нагревать перед отбором проб и измерением объема. Нагревание проводят таким образом, чтобы содержимое цистерны нагревалось равномерно, исключая местное перегревание (см. также
5.5).
Нагревание продолжают до тех пор, пока жир полностью не растает, избегая нагревания при слишком высокой температуре, так как это может отрицательно повлиять на качество жира. Температура во время отбора проб и измерения объема должна находиться в пределах, приведенных в
приложении A, если другие температурные пределы не оговорены в договоре заинтересованными сторонами.
После окончания нагревания содержимое цистерны должно отстаиваться до момента, когда жир будет более или менее освобожден от воздуха и количество пены на его поверхности сведено к минимуму.
После выполнения указанных требований можно приступить к отбору проб.
Отбирают три точечные пробы: верхнюю, среднюю и нижнюю - на расстоянии не менее чем 100 мм от дна (см.
6.2.2.3). Наливают их в емкость для смешивания точечных проб в соотношении одна часть верхней, три части средней и одна часть нижней и смешивают, чтобы получить объединенную пробу.
В случае если содержимое цистерны неоднородное по внешнему виду, точечные пробы отбирают через каждые 300 мм глубины в соответствии с
6.2.2.2.
Температуру жира измеряют на каждом из трех уровней. Определяют средние значения температуры содержимого цистерны во время отбора проб и измерения объема.
6.8 Отбор проб из мелких упаковочных единиц (бочки, баки, ящики, банки, мешки, бутыли)
Если груз состоит из большого количества бочек, баков, ящиков, банок (отдельных или упакованных в другую упаковку), мешков или бутылей, может быть затруднительно или совершенно невозможно отобрать пробы от каждой отдельной упаковочной единицы.
В данном случае методом случайного отбора должно быть отобрано достаточное количество упаковочных единиц из груза, чтобы обеспечить представительность пробы.
Невозможно установить строгое и однозначное правило для определения объема выборки из груза, так как он зависит от количества упаковочных единиц и однородности их содержимого, поэтому рекомендуется заинтересованным сторонам указывать в договоре объем выборки.
Рекомендуется в договоре оговаривать методы отбора упаковочных единиц в выборку, обеспечивающие получение представительной пробы, в частности для жира, изготовленного и упакованного для реализации в розничной торговле. Для примера можно рассматривать методы, описанные в ISO 2859 и ISO 3951.
Необходимо четко представить различие между следующими грузами (если иное не указано в договоре):
a) грузы, которые можно считать однородными;
c) грузы, о которых отсутствуют сведения;
d) грузы, в которых подразумевается наличие посторонних включений в одной упаковочной единице или более.
Каждый из указанных случаев рассматривают по отдельности.
Для
a) рассматривают весь груз как одну партию.
Для
b) визуально обследуют упаковочные единицы. Одинаковые упаковочные единицы, например по типу и виду упаковки, маркировке, рассматривают как одну партию, отмечая их массу жира в каждой партии. В случае если необходима подготовка одной объединенной пробы от всех партий, смешивают точечные пробы, отобранные из каждой партии, в том же соотношении, как в случае подготовки объединенной пробы от конкретной партии.
Для
c) проводят предварительное исследование и классифицируют груз как
a) или
b).
Для
d) проводят инспекцию, чтобы отделить подозрительные упаковочные единицы и работать с ними индивидуально.
В случае если партия считается однородной, отбор упаковочных единиц в выборку осуществляют методом случайного отбора. Рекомендации по количеству упаковочных единиц, входящих в выборку, приведены в
таблице 3.
Таблица 3
Рекомендуемое количество упаковочных единиц, входящих
в выборку
Масса нетто упаковочной единицы | Количество упаковочных единиц в грузе | Количество упаковочных единиц, входящих в выборку |
>= 20 кг, до 5 т максимум | От 1 до 5 | |
" 6 " 50 | 6 |
" 51 " 75 | 8 |
" 76 " 100 | 10 |
" 101 " 250 | 15 |
" 251 " 500 | 20 |
" 501 " 1000 | 25 |
>1000 | 30 |
>= 5 кг и <= 20 кг | От 1 до 20 | |
" 21 " 200 | 20 |
" 201 " 800 | 25 |
" 801 " 1600 | 35 |
" 1601 " 3200 | 45 |
" 3201 " 8000 | 60 |
" 8001 " 16 000 | 72 |
" 16 001 " 24 000 | 84 |
" 24 001 " 32 000 | 96 |
>32 000 | 108 |
<= 5 кг | От 1 до 20 | |
" 21 " 1500 | 20 |
" 1501 " 5000 | 25 |
" 5001 " 15 000 | 35 |
" 15 001 " 35 000 | 45 |
" 35 001 " 60 000 | 60 |
" 60 001 " 90 000 | 72 |
" 90 001 " 130 000 | 84 |
" 130 001 " 170 000 | 96 |
>170 000 | 108 |
<a> См. 6.8.1 по методам выборочного контроля по альтернативному признаку. |
6.8.2 Груз в бочках, баках и других мелких упаковочных единицах
6.8.2.1 Процедура для упаковочных единиц, содержащих жир в твердом или полутвердом состоянии
В случае присутствия воды делают отверстие в жире до самого дна упаковки и откачивают воду подходящими средствами.
Для твердого жира погружают пробоотборный щуп (см.
B.6) в открытую упаковку и исследуют ее содержимое на всю глубину во всех возможных направлениях. Вынимают щуп винтообразными движениями, таким образом отбирая точечную пробу жира. Тщательно смешивают точечные пробы, отобранные из каждой упаковки в емкости для смешивания точечных проб, и переносят объединенную пробу в емкость для хранения пробы.
Отбор мягкого или полутвердого жира из упаковки осуществляют аналогичным образом с использованием пробоотборного щупа (см.
B.6). Щуп погружают в жир и отбирают точечную пробу. Подготавливают объединенную пробу вышеописанным способом.
6.8.2.2 Процедуры для упаковочных единиц, содержащих жир в жидком состоянии
Содержимое упаковки, наполненной жидким жиром, тщательно размешивают, катая и переворачивая ее. При возможности содержимое упаковки размешивают вручную или механически с помощью лопатки или смесителя. Точечные пробы из упаковки отбирают с помощью соответствующего оборудования (см., например,
B.5). Пробу отбирают таким образом, чтобы она была отобрана из разных мест по всему содержимому. Для получения объединенной пробы тщательно смешивают равные объемы точечных проб.
6.8.2.3 Процедура для упаковочных единиц, содержащих твердый жир в кусках
Отбирают куски различных размеров из разных мест упаковки, разбивая их в мелкие куски при необходимости. Отобранного количества должно быть достаточно для формирования представительной пробы. Методом квартования уменьшают пробу до необходимого размера.
Все куски растирают до получения однородной массы. Размешивание жира производят с помощью большого шпателя (например, длиной 250 мм) так, чтобы любые частицы грязи и/или капельки влаги равномерно распределялись по всей массе. Уменьшают полученную пробу до необходимого размера квартованием, используя шпатель.
В случае если точечные пробы жира слишком твердые для ручного замешивания, оставляют их в теплом месте до их размягчения без непосредственного нагревания, так как это может привести к потере влаги в результате испарения.
Смешивание и дробление точечных проб для подготовки объединенной пробы можно проводить на столе для смешивания или лабораторном столе площадью не менее 750 мм2, покрытом стеклом, белой плиткой или нержавеющей сталью.
6.9 Подготовка лабораторных проб
В случае если необходимо проводить контроль жира на наличие загрязнения, пробы из каждой цистерны должны рассматриваться как лабораторные пробы. Во всех остальных случаях, если иное не установлено в договоре, готовят лабораторные пробы из объединенных проб (см.
6.2 -
6.8) следующим образом:
a) готовят среднюю взвешенную пробу из объединенных проб;
b) считают каждую объединенную пробу лабораторной пробой (по соглашению сторон лаборатория может приготовить среднюю взвешенную пробу из лабораторных проб).
Какая бы процедура по
a) или
b) ни использовалась, подготовленные объединенные пробы разделяют, чтобы получить не менее 4 лабораторных проб, каждая весом не менее 250 г, непрерывно помешивая для предотвращения отстаивания.
Примечание - Для определенных целей может потребоваться лабораторная проба весом 500 г.
7 Упаковка и маркировка лабораторных проб
Лабораторную пробу упаковывают в чистую, сухую стеклянную или пластмассовую емкость, которая отвечает требованиям
4.2. При заполнении емкости оставляют небольшое воздушное пространство под крышкой для расширения жира. Пространство не должно быть слишком большим, так как воздух оказывает вредное воздействие на большинство жиров.
Если не установлены дополнительные требования, емкость закрывают новыми корковыми пробками или металлическими или пластмассовыми навинчивающимися крышками с металлизированными (без примесей меди, цинка или железа) или пластмассовыми тампонами, отвечающими требованиям
4.2. Укупорочное средство должно быть запечатано таким образом, чтобы проба не была доступна без повреждения или фальсификации пломбы. Если нет возможности обеспечения безопасности запломбированного укупорочного средства емкости, то емкость должна быть помещена в пластмассовый пакет, который должен быть надежно запечатан. Не следует использовать сургуч для пломбирования емкости.
Внимание - Все пробы должны быть защищены от света и тепла.
Если лабораторная проба предназначена для особых испытаний, могут понадобиться некоторые дополнительные меры предосторожности при выборе метода упаковывания.
7.2 Информация о лабораторных пробах
Подробные сведения о процессе отбора проб, количестве упаковочных единиц, использованных для отбора проб, и т.д. следует записывать, а этикетка с подробными сведениями о пробе должна быть надежно прикреплена на каждую емкость для хранения пробы.
На этикетке должна быть указана вся информация, необходимая для идентификации пробы, включая:
a) идентификацию судна или другого транспортного средства;
b) место погрузки;
c) место разгрузки;
e) массу партии в килограммах или тоннах;
f) тип упаковки;
g) наименование продукта, его происхождение;
h) идентификационный знак;
i) номер накладной и дату или номер заказа и дату;
j) данные об операторе/организации по отбору проб;
k) метод и цель отбора проб;
l) дату проведения отбора проб;
m) место и точку отбора проб;
n) наименование организации, ответственной за выполнение условий контракта.
Информацию на этикетку наносят несмываемым маркером.
Если используют бумажные этикетки, то они должны быть соответствующего размера и качества. В случае если информация указана на бирке, она должна быть надежно прикреплена.
8 Рассылка лабораторных проб
Если маркированная емкость для хранения пробы не пломбирована надежно, ее следует поместить в плотно облегающий полиэтиленовый мешок и надежно запломбировать.
Если емкость стеклянная, она должна быть помещена в надежный внешний контейнер, защищена уплотнительным материалом из пенопласта и окружена абсорбентом, способным полностью впитать содержимое емкости.
Упаковка должна отвечать требованиям почтового ведомства или другой организации, связанной с рассылкой лабораторных проб внутри страны или за ее пределами.
Пробы должны быть отправлены (как можно скорее) в течение 48 ч, не учитывая выходные дни.
Пробы должны храниться в прохладном, затемненном месте, за исключением проб, предназначенных для определения условной массы на единицу объема (вес одного литра).
В акте отбора проб указывают информацию, перечисленную в
подразделе 7.2, о физическом состоянии отобранных проб жира. В акте описывают использованную процедуру отбора проб, если она отличается от процедур, описанных в настоящем стандарте, указывают подробную информацию обо всех обстоятельствах, которые могли повлиять на отбор проб.
(справочное)
В
таблице A.1 указаны пределы температур, которые рекомендуется поддерживать при отборе точечных проб.
Таблица A.1
Продукт | Температура, °C |
min | max |
Касторовое масло | 30 | 35 |
Жирные кислоты кокосового ореха | 45 | 48 |
Кокосовое масло | 40 | 45 |
Хлопковое масло | 20 | 25 |
Дистиллированные жирные кислоты | 45 | 48 |
Рыбий жир | 25 | 30 |
Масло из виноградных косточек | 15 | 20 |
Топленый животный жир | 50 | 55 |
Арахисовое масло | 20 | 25 |
Масло иллипе | 50 | 55 |
Свиной жир | 50 | 55 |
Льняное масло | 15 | 20 |
Кукурузное масло | 15 | 20 |
Ойтисиковое масло | 35 | 38 |
Олеомаргарин | 50 | 55 |
Олеостеарин | 60 | 65 |
Оливковое масло | 15 | 20 |
Пальмовое масло кислое | 67 | 72 |
Дистиллированные жирные кислоты пальмового масла | 67 | 72 |
Пальмоядровое масло | 40 | 45 |
Пальмоядровый олеин | 30 | 35 |
Пальмоядровый стеарин | 40 | 45 |
Пальмовое масло | 50 | 55 |
Пальмовый олеин | 32 | 35 |
Пальмовый стеарин | 60 | 70 |
Рапсовое масло с высокой концентрацией эруковой кислоты (тип HEAR) | 15 | 20 |
Рапсовое масло с низкой концентрацией эруковой кислоты (тип LEAR) | 15 | 20 |
Сафлоровое масло | 15 | 20 |
Кунжутное масло | 15 | 20 |
Масло ши | 50 | 55 |
Соевое масло кислое | 45 | 50 |
Соевое масло | 20 | 25 |
Подсолнечное масло | 15 | 20 |
Подсолнечное/соевое масло кислое | 49 | 55 |
Твердый животный жир | 55 | 65 |
Масло чайного дерева | 15 | 20 |
Тунговое масло | 20 | 25 |
Максимальные температуры, указанные в
таблице A.1, могут быть увеличены на 5 °C для облегчения работы с пробой, но только по соглашению сторон, с указанием температуры отбора в акте отбора проб.
Примечание - Температуры могут быть изменены в зависимости от местных климатических условий; например, в жарком климате температура окружающей среды может оказаться выше температуры, приведенной в
таблице A.1.
Обычно жир в цистернах должен храниться при температуре от 5 °C до 15 °C выше его точки прозрачности. Нагревание жира до выше указанной температуры может привести к изменению его характеристики, например в результате окисления.
Также следует избегать перегревания отобранных проб.
Если хранить жир при слишком низкой температуре, могут образоваться кристаллы, что приведет к его неоднородности.
(справочное)
ПРИМЕРЫ ИНСТРУМЕНТОВ ДЛЯ ОТБОРА ПРОБ И ДОПОЛНИТЕЛЬНОГО
ОБОРУДОВАНИЯ
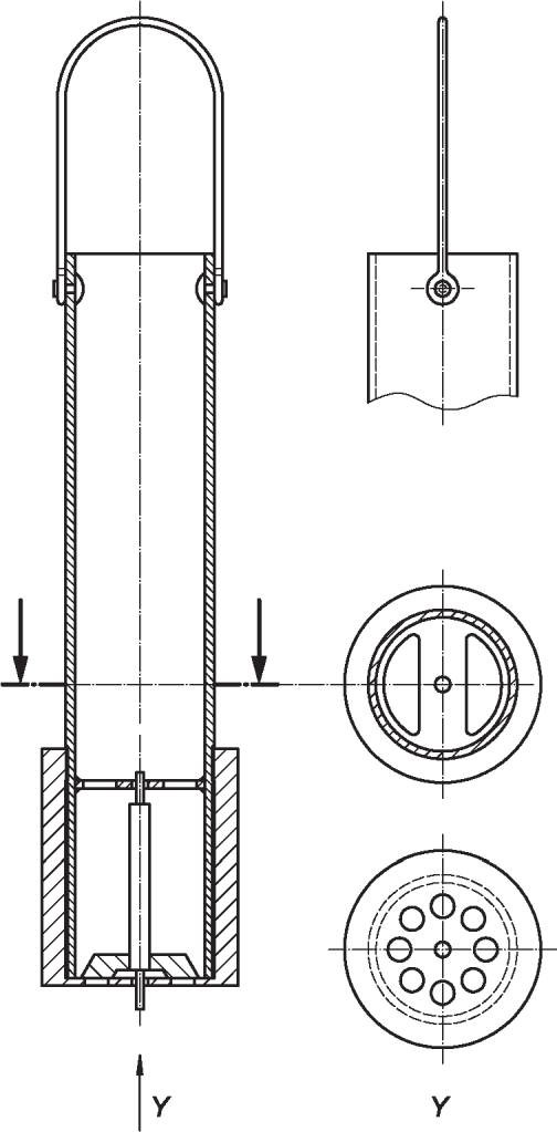
B.1 Утяжеленная простая фляга для отбора проб
Утяжеленная простая фляга (см.
рисунок B.1) предназначена для отбора проб на различной глубине в цистернах любых размеров. Фляга состоит из цилиндрической емкости вместимостью около 500 мл, изготовленной из нержавеющей стали с коническим горлышком и утяжеленным днищем в отдельном отсеке.
Рисунок B.1 - Утяжеленная простая фляга для отбора проб
К плечам фляги прикреплена проволочная петля с кольцом наверху, через которое пропускают шнур, присоединенный к пробке, прикрепленной к горлышку фляги.
Пустую флягу, закрытую пробкой, опускают в жидкий жир до требуемой глубины. Дергают за шнур, чтобы извлечь пробку, и наполняют флягу жиром.
B.2 Утяжеленный каркас для емкости для отбора проб
Утяжеленный каркас для емкости для отбора проб (см.
рисунок B.2) предназначен для размещения внутри его стандартной пластмассовой емкости вместимостью не менее 500 мл, отвечающей требованиям
7.1, и подходит для отбора проб на различной глубине в цистернах любых размеров. Он состоит из утяжеленного днища, к которому присоединены три вертикальные полоски со стяжным хомутом в верхней части. Две полоски находятся под углом, и к ним прикреплена проволочная петля с кольцом наверху.
Рисунок B.2 - Утяжеленный каркас для емкости для отбора проб
К полоскам также прикреплен проволочный обруч, обеспечивающий удержание емкости в каркасе с помощью третьей полоски.
Отбор проб осуществляется так же, как и при работе с утяжеленной флягой (см.
B.1).
B.3 Клапанный цилиндрический пробоотборник
Клапанный цилиндрический пробоотборник (см.
рисунок B.3) состоит из верхней открытой части и нижней части с легким грузопоршневым клапаном, посаженным на основание, прикрепляющее верхнюю и нижнюю части пробоотборника. Донный клапан остается открытым в результате давления жира на клапан во время погружения инструмента в жидкость, обеспечивая равномерное поступление потока жира в цилиндр. Когда прекращается погружение, клапан закрывается и достается отобранная проба жира.
Рисунок B.3 - Клапанный цилиндрический пробоотборник
Некоторые пробоотборники данного типа и назначения включают легкий тарельчатый клапан в верхней части, чтобы закрывать цилиндр при подъеме наполненного пробоотборника.
B.4.1 Пробоотборник с подпружиненным клапаном
Настоящий донный пробоотборник (см.
рисунок B.4, a)) изготовлен из нержавеющей стали. Он представляет собой цилиндрический корпус вместимостью около 500 мл, с завинченной винтами донной частью, включающей дисковый клапан, позволяющий жиру попасть в донную часть пробоотборника, и завинчивающейся верхней частью, которая включает дисковый клапан для выпуска воздуха из пробоотборника. К верхней части прикреплен обруч, который служит для подвешивания пробоотборника на веревке и для закрепления стяжного хомута и направляющей траверсы центрального золотника. Золотник выступает за дно пробоотборника и при достижении дна цистерны входит в цилиндр, нажимая на слабую пружину, и открывает сначала донный клапан, а через некоторый промежуток времени верхний клапан, что обусловлено небольшим зазором во втулке верхней части цилиндра. Короткая задержка между открытием впускного и выпускного клапанов необходима для обеспечения поступления жира через дно, что способствует возникновению увеличения давления внутри сосуда, с целью предотвращения попадания жира сверху, когда открывается верхний клапан.

a) с подпружиненным клапаном
b) с грузопоршневым клапаном
Рисунок B.4 - Донные пробоотборники
Возможность погружения пробоотборника может быть урегулирована с помощью колец из нержавеющей стали для увеличения его веса. Кольца соскальзывают вниз вдоль корпуса пробоотборника и закрепляются винтами на днище пробоотборника.
B.4.2 Пробоотборник с грузопоршневым клапаном
Пробоотборник (см.
рисунок B.4, b)) по своей конструкции и эксплуатации в основном похож на клапанный цилиндрический пробоотборник
(B.4.1), за исключением наличия грузопоршневого клапана и выхода воздуха через участок уменьшенного диаметра золотника в его верхней части.
B.5 Трубчатый пробоотборник
Трубчатый пробоотборник, приведенный на
рисунке B.5, a), представляет собой инструмент из нержавеющей стали, состоящий из двух концентрических труб, которые плотно прилегают друг к другу по всей длине, так чтобы одна труба могла вращаться внутри другой. Продольные отверстия прорезаны в каждой из труб. В одном положении труба открыта и впускает жир, а после поворота внутренней трубы преобразуется в закрытый контейнер.
Рисунок B.5 - Трубчатые пробоотборники
Внутренняя труба имеет диаметр от 20 - 40 мм и не разделена по длине. Две трубы имеют отверстия, которые совмещаются во время опорожнения таким образом, что жир, находящийся в инструменте, может вытекать через отверстия только тогда, когда закрыты продольные отверстия.
Трубчатый пробоотборник, приведенный на
рисунке B.5, b), может быть изготовлен из нержавеющей стали, или алюминия, или пластмассы, отвечающей требованиям
4.2. Его вставляют, закрыв отверстие верхней части пальцем (по желанию может быть открытым). После заполнения можно убрать палец, чтобы открыть верхнюю часть, если это необходимо. Затем закрывают его пальцем и вынимают.
Трубчатый пробоотборник можно использовать для отбора проб из упаковки на различных уровнях, закрывая верхнюю часть до тех пор, пока не будет достигнута необходимая глубина.
Пробоотборные щупы (см.
рисунок B.6) предназначаются для отбора проб жира в твердом состоянии. Они изготовлены из нержавеющей стали и имеют полукруглую форму или С-образное поперечное сечение. Щуп вводят в жир винтообразным движением и отбирают пробу жира.
Рисунок B.6 - Пробоотборные щупы
B.7 Линейка для измерения уровня воды
Линейка для измерения уровня воды (см.
рисунок B.7) - это измерительная линейка из нержавеющей стали длиной не менее 305 мм и поперечным сечением не менее 30 x 10 мм. Она градуирована от 0 до 300 мм с ценой деления 1 мм и оцифрованными обозначениями через каждые 10 мм. Имеет два подпружиненных скользящих зажима для удержания бумажной полосы для измерения уровня воды.
Рисунок B.7 - Линейка для измерения уровня воды
Паста для определения содержания воды, соответствующая
4.2, может наноситься непосредственно на лицевую сторону линейки.
Линейка для измерения уровня воды
(B.7) и линейка для определения незаполненной части объема цистерны
(B.8) могут быть скомбинированы зажимами в одну линейку, градуированную с одной стороны для определения содержания воды и с другой стороны для определения незаполненной части объема цистерны.
Рисунок B.8 - Линейка для определения незаполненной части
объема цистерны
B.8 Линейка для определения незаполненной части объема цистерны
Линейка для определения незаполненной части объема цистерны - это измерительная линейка из нержавеющей стали длиной не менее 305 мм и поперечным сечением не менее 30 x 10 мм. Она предназначена для использования только со стальной мерной лентой, которая комбинируется с их грузами, а нулевая отметка находится в средней точке линейки. От этой точки линейка маркируется по направлению вниз до нижней отметки от 0 до 150 мм с ценой деления 1 мм и оцифрованными обозначениями через каждые 10 мм. См. также
B.7.
Если используются стеклянные термометры, особое внимание следует обратить на ПРЕДУПРЕЖДЕНИЕ в
4.2. В качестве альтернативы стеклянного термометра рекомендуют использовать цифровой термометр с зондом из нержавеющей стали.
B.10 Мерная лента и утяжеляющий предмет
Мерные ленты должны быть изготовлены из нержавеющей стали вместе с утяжеляющим предметом и иметь вертлюжный крюк из нержавеющей стали для прикрепления линеек или предметов для придания веса.
Ленты могут быть намотаны на каркас и содержаться в соответствующей цистерне. Ленты должны иметь необходимую длину, быть градуированы и маркированы так, чтобы отвечать калибровке цистерн, в которых должен измеряться жир. Утяжеляющие предметы должны быть изготовлены из нержавеющей стали, комбинироваться с мерной лентой и быть градуированными тем же способом, что и лента, которая обеспечивает непрерывность измерений от нуля.
B.11 Дополнительная информация
Измерительные инструменты и дополнительное оборудование, приведенные в
B.8 и
B.9, должны соответствовать требованиям, установленным в
4.2, и иметь как можно более простую конструкцию. В большинстве случаев инструменты можно изготовить в любой мастерской из легко доступных материалов. В некоторых странах есть поставщики. Некоторые из поставщиков приводятся ниже
<1>:
a) поставщики инструментов для отбора проб:
SGS Depauw & Stokoe NV, Haven 407, Polderdijkweg 16, B-2030 Antwerp, Бельгия;
SGS Redwood (UK) Ltd., Rossmore Business Park, Ellesmere Port, South Wirral, L65 3EN, Великобритания;
Petrochem Supplies, 8 Northbury Road, Great Sutton, South Wirral, L66 2QY, Cheshire, Великобритания;
Wragg Bros (Metal Fabrications) Ltd., Robert Way, Wickford Industrial Estate, Wickford, SS11 8DQ, Essex, Великобритания;
Zone Devices Inc., 3449 Ocean View Boulevard, Glendale, CA 91208, США;
b) поставщики измерительного оборудования:
Petrochem Supplies, 8 Northbury Road, Great Sutton, South Wirral, L66 2QY, Cheshire, Великобритания;
SGS Depauw & Stokoe NV, Haven 407, Polderdijkweg 16, B-2030 Antwerp, Бельгия;
SGS Redwood (UK) Ltd., Rossmore Business Park, Ellesmere Port, South Wirral, L65 3EN, Великобритания;
Wragg Bros (Metal Fabrications) Ltd., Robert Way, Wickford Industrial Estate, Wickford, SS11 8DQ, Essex, Великобритания;
c) поставщики материалов для определения содержания воды:
Vecom BV, Mozartlaan 3, 3144 NA Maassluis, Голландия;
Paterson Group International, Stafford Park 1, Telford, Shropshire, TF3 3BT, Великобритания;
Petrochem Supplies, 8 Northbury Road, Great Sutton, South Wirral, L66 2QY, Cheshire, Великобритания.
--------------------------------
<1> Информация приведена для удобства пользователей настоящего стандарта и не является рекомендацией.
[1] | ISO 707:2008 | Milk and milk products - Guidance on sampling (Молоко и молочные продукты. Руководство по отбору проб) |
[2] | ISO 2859 (все части) | Sampling procedures for inspection by attributes (Методы выборочного контроля по альтернативному признаку) |
[3] | ISO 3534-1:2006 | Statistics - Vocabulary and symbols - Part 1: General statistical terms and terms used in probability (Статистика. Словарь и условные обозначения. Часть 1. Термины, относящиеся к вероятности, и общие статистические термины) |
[4] | ISO 3534-2:2006 | Statistics - Vocabulary and symbols - Part 2: Applied statistics (Статистика. Словарь и условные обозначения. Часть 2. Прикладная статистика) |
[5] | ISO 3951-1:2013 | Sampling procedures for inspection by variables - Part 1: Specification for single sampling plans indexed by acceptance quality limit (AQL) for lot-by-lot inspection for a single quality characteristic and a single AQL (Методы выборочного контроля по количественным признакам. Часть 1. Требования к планам одноступенчатого выборочного контроля, индексируемым по приемочному уровню качества (AQL), для последовательного контроля партий по одной характеристике качества - исходному AQL) |
[6] | ISO 3951-2:2006 | Sampling procedures for inspection by variables - Part 2: General specification for single sampling plans indexed by acceptance quality limit (AQL) for lot-by-lot inspection of independent quality characteristics (Методы выборочного контроля по количественным признакам. Часть 2. Общие технические требования к одноступенчатым планам выборочных исследований, определяемым приемочным пределом качества (AQL) для последовательного контроля партий с независимыми характеристиками качества) |
УДК 665.2/.3:543.05(083.74)(476):006.354 | | IDT |
Ключевые слова: жиры животные, жиры растительные, масла животные, масла растительные, отбор проб, требования |