Главная // Актуальные документы // ГОСТ (Государственный стандарт)СПРАВКА
Источник публикации
М.: Стандартинформ, 2020
Примечание к документу
Текст данного документа приведен с учетом
поправки, опубликованной в "ИУС", N 8, 2023.
Документ
введен в действие с 01.10.2021.
Название документа
"ГОСТ ISO 374-4-2020. Межгосударственный стандарт. Система стандартов безопасности труда. Средства индивидуальной защиты рук. Перчатки для защиты от химических веществ и микроорганизмов. Часть 4. Определение устойчивости к разрушению химическими веществами"
(введен в действие Приказом Росстандарта от 13.10.2020 N 800-ст)
"ГОСТ ISO 374-4-2020. Межгосударственный стандарт. Система стандартов безопасности труда. Средства индивидуальной защиты рук. Перчатки для защиты от химических веществ и микроорганизмов. Часть 4. Определение устойчивости к разрушению химическими веществами"
(введен в действие Приказом Росстандарта от 13.10.2020 N 800-ст)
по техническому регулированию
и метрологии
от 13 октября 2020 г. N 800-ст
МЕЖГОСУДАРСТВЕННЫЙ СТАНДАРТ
СИСТЕМА СТАНДАРТОВ БЕЗОПАСНОСТИ ТРУДА
СРЕДСТВА ИНДИВИДУАЛЬНОЙ ЗАЩИТЫ РУК
ПЕРЧАТКИ ДЛЯ ЗАЩИТЫ ОТ ХИМИЧЕСКИХ ВЕЩЕСТВ И МИКРООРГАНИЗМОВ
ЧАСТЬ 4
ОПРЕДЕЛЕНИЕ УСТОЙЧИВОСТИ К РАЗРУШЕНИЮ ХИМИЧЕСКИМИ ВЕЩЕСТВАМИ
Occupational safety standards system. Personal protective
means of hands. Protective gloves against dangerous
chemicals and micro-organisms. Part 4. Determination
of resistance to degradation by chemicals
(ISO 374-4:2019,
Protective gloves against dangerous chemicals and
micro-organisms - Part 4: Determination of resistance
to degradation by chemicals, IDT)
ГОСТ ISO 374-4-2020
Дата введения
1 октября 2021 года
Цели, основные принципы и общие правила проведения работ по межгосударственной стандартизации установлены
ГОСТ 1.0 "Межгосударственная система стандартизации. Основные положения" и
ГОСТ 1.2 "Межгосударственная система стандартизации. Стандарты межгосударственные, правила и рекомендации по межгосударственной стандартизации. Правила разработки, принятия, обновления и отмены"
1 ПОДГОТОВЛЕН Федеральным государственным бюджетным унитарным предприятием "Российский научно-технический центр информации по стандартизации, метрологии и оценке соответствия" (ФГУП "СТАНДАРТИНФОРМ") на основе официального перевода на русский язык англоязычной версии стандарта, указанного в
пункте 5, который выполнен ФГУП "СТАНДАРТИНФОРМ"
2 ВНЕСЕН Федеральным агентством по техническому регулированию и метрологии
3 ПРИНЯТ Межгосударственным советом по стандартизации, метрологии и сертификации (протокол от 27 июля 2020 г. N 57)
За принятие проголосовали:
Краткое наименование страны по МК (ИСО 3166) 004-97 | Код страны по МК (ИСО 3166) 004-97 | Сокращенное наименование национального органа по стандартизации |
Азербайджан | AZ | Азстандарт |
Армения | AM | Минэкономики Республики Армения |
Беларусь | BY | Госстандарт Республики Беларусь |
Киргизия | KG | Кыргызстандарт |
Россия | RU | Росстандарт |
Таджикистан | TJ | Таджикстандарт |
Узбекистан | UZ | Узстандарт |
4
Приказом Федерального агентства по техническому регулированию и метрологии от 13 октября 2020 г. N 800-ст межгосударственный стандарт ГОСТ ISO 374-4-2020 введен в действие в качестве национального стандарта Российской Федерации с 1 октября 2021 г.
5 Настоящий стандарт идентичен международному стандарту ISO 374-4:2019 "Перчатки для защиты от химических веществ и микроорганизмов. Часть 4. Определение устойчивости к разрушению химическими веществами" ("Protective gloves against dangerous chemicals and micro-organisms - Part 4: Determination of resistance to degradation by chemicals", IDT).
Международный стандарт подготовлен Техническим комитетом ISO/TC 94 "Персональная безопасность. Защитная одежда и оборудование", подкомитетом SC 13 "Защитная одежда" и CEN/TC 162 "Защитная одежда, включая защиту рук и спасательные жилеты".
Наименование настоящего стандарта изменено относительно наименования указанного международного стандарта для приведения в соответствие с ГОСТ 1.5
(подраздел 3.6) и для увязки с наименованиями, принятыми в существующем комплексе межгосударственных стандартов.
При применении настоящего стандарта рекомендуется использовать вместо ссылочных международных стандартов соответствующие им межгосударственные стандарты, сведения о которых приведены в дополнительном
приложении ДА
6 ВВЕДЕН ВПЕРВЫЕ
7 Некоторые элементы настоящего стандарта могут являться объектами патентных прав
Информация о введении в действие (прекращении действия) настоящего стандарта и изменений к нему на территории указанных выше государств публикуется в указателях национальных стандартов, издаваемых в этих государствах, а также в сети Интернет на сайтах соответствующих национальных органов по стандартизации.
В случае пересмотра, изменения или отмены настоящего стандарта соответствующая информация будет опубликована на официальном интернет-сайте Межгосударственного совета по стандартизации, метрологии и сертификации в каталоге "Межгосударственные стандарты"
Настоящий стандарт устанавливает метод определения устойчивости перчаток для защиты от химических веществ и микроорганизмов к разрушению опасными химическими веществами при постоянном контакте.
Примечание - В
приложении A приведена информация о результатах межлабораторных испытаний с использованием данного метода.
Другие методы, используемые для оценки химической устойчивости, такие как устойчивость к проникновению и устойчивость к прониканию, не являются достаточно информативными для определения изменений физических свойств перчатки при воздействии на нее химического вещества. Воздействию химического вещества необходимо подвергать внешнюю поверхность перчатки.
В настоящем стандарте использованы нормативные ссылки на следующие стандарты. Для датированных ссылок применяют только указанное издание ссылочного стандарта, для недатированных - последнее издание (включая все изменения):
ISO 374-1, Protective gloves against dangerous chemicals and micro-organisms - Part 1: Terminology and performance requirements for chemical risks (Перчатки для защиты от химических веществ и микроорганизмов. Часть 1. Терминология и требования к эксплуатационным характеристикам перчаток для защиты от химических веществ)
ISO 21420, Protective gloves - General requirements and test methods (Перчатки защитные. Общие требования и методы испытаний)
ISO 23388:2018, Protective gloves against mechanical risks (Перчатки для защиты от механических повреждений)
В настоящем стандарте применены термины и определения по ISO 374-1 и ISO 21420.
ISO и IEC ведут терминологические базы данных для использования в стандартизации по следующим адресам:
- ISO доступно по адресу: http://www.iso.org/obp;
- IEC доступно по адресу: http://www.electropedia.org.
4 Принцип проведения испытаний
Устойчивость материала защитной перчатки к разрушению жидким химическим веществом определяют путем измерения изменения стойкости к проколу материала перчатки после непрерывного контакта внешней поверхности с химическим веществом для испытания. Метод применим для перчаток из натурального или синтетического полимерного материала. Для перчаток с подкладкой результаты измерений могут быть недостоверны.
5 Методы испытаний, испытание на стойкость к проколу
Для проведения испытания отбирают три перчатки. Перчатки выдерживают при температуре (23 +/- 2) °C, относительной влажности (50 +/- 5)% в течение не менее 24 ч.
В случае неоднородной и/или составной конструкции из каждой области должен быть испытан один образец. Используя подходящий круглый вырубной штамп диаметром 20 мм, из каждой перчатки вырезают шесть испытуемых образцов, всего получают 18 испытуемых образцов. Для каждой перчатки три испытуемых образца подвергают воздействию химического вещества, а три испытуемых образца - не подвергают.
Испытуемые образцы должны быть однородными и представлять основные детали конструкции перчатки. При вырезании испытуемых образцов необходимо избегать областей с рельефным узором или других областей с неоднородной толщиной или составом.
Если перчатка состоит из нескольких несвязанных слоев, то испытанию подвергают только слой, который обеспечивает защиту от химических веществ.
Испытуемый образец испытывают в соответствии с
5.3. Дополнительный метод испытания приведен в качестве примера в
приложении B.
Для перчаток с подкладкой, при невозможности отделить подкладку от перчатки (и если подкладка имеет большую толщину), испытание практически неосуществимо, поскольку испытуемый образец будет скользить во время испытания из-за затруднений закупоривания стеклянной емкости. Для некоторых испытуемых образцов с подкладкой большой толщины использование прокладки для надлежащего закупоривания стеклянной емкости не обязательно. В этом случае герметичность обеспечивает подкладка.
Используют следующее оборудование:
a) вырубной штамп диаметром (20 +/- 1) мм;
b) вырубной штамп диаметром (12 +/- 1) мм (для вырезания отверстия в центре прокладки);
c) стеклянная емкость с горловиной под обжимной колпачок вместимостью 20 см3 [диаметр горловины (12,5 +/- 0,5) мм];
d) прокладка диаметром 20 мм [например, из хлорбутилкаучука без тефлонового (ПТФЭ) слоя];
e) алюминиевые обжимные колпачки диаметром 20 мм с отверстием в центре;
f) механические клещи для обжима;
g) механическое устройство для удаления колпачков;
h) держатель образцов с 18 отверстиями диаметром 20 мм;
i) мерный стакан вместимостью 150 см3;
j) пипетка вместимостью 2 см3;
k) динамометр с иглой для прокола по ISO 23388 (пункт 6.5) и датчиком для измерения нагрузки с точностью +/- 1%;
l) подставка для стеклянной емкости с испытуемым образцом.
5.3 Методика проведения испытания
5.3.1 Условия проведения испытания
Испытание проводят при температуре (23 +/- 2) °C (подготовка, добавление химического вещества, время воздействия химического вещества, испытание на стойкость к проколу).
5.3.2 Измерения, проводимые перед испытанием
Химическое вещество для испытания помещают в мерный стакан вместимостью 150 см3. С помощью пипетки берут примерно 2 см3 химического вещества для испытания и помещают в одну из стеклянных емкостей с горловиной под обжимной колпачок.
Закрепляют прокладку на алюминиевом обжимном колпачке с отверстием в центре. Вырубным штампом диаметром (12 +/- 1) мм в центре прокладки вырезают отверстие.
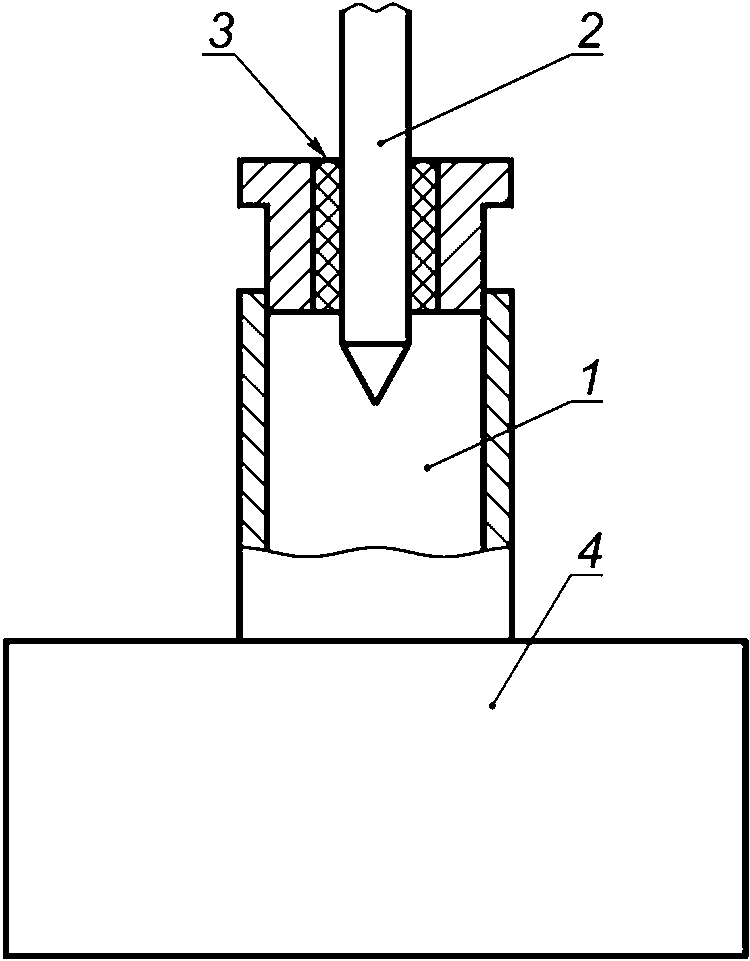
Испытуемый образец перчатки размещают на прокладке таким образом, чтобы внешняя поверхность была обращена внутрь стеклянной емкости. Алюминиевый колпачок с испытуемым образцом размещают сверху стеклянной емкости. Стеклянную емкость закупоривают механическими обжимными клещами и переворачивают таким образом, чтобы химическое вещество вступило в контакт с испытуемым образцом (см.
рисунок 1). Регистрируют время. Стеклянную емкость помещают в перфорированный держатель образцов.
Примечание - Перфорированный держатель образцов имеет двойное назначение:
a) позволяет воздуху циркулировать под слоем испытуемого образца, и
b) обеспечивает устойчивость стеклянной емкости в случае увеличения объема испытуемого образца.
1 - химическое вещество для испытания; 2 - внешняя
поверхность испытуемого образца перчатки, контактирующая
с химическим веществом для испытания, представляющая собой
круглую область диаметром (12,5 +/- 0,5) мм
Рисунок 1 - Положение стеклянной емкости во время контакта
испытуемого образца с химическим веществом для испытания
Повторяют приведенную выше процедуру для каждого из оставшихся восьми испытуемых образцов. Порядок действий организуют таким образом, чтобы воздействия на последующие испытуемые образцы начинались с трехминутными интервалами. Через (60 +/- 5) мин осматривают каждую стеклянную емкость, чтобы убедиться, что испытуемый образец покрыт химическим веществом для испытания. Если химическое вещество не покрывает испытуемый образец, испытуемый образец удаляют и повторяют испытание, используя большее количество химического вещества для испытания.
Таким же образом размещают девять не подвергающихся воздействию испытуемых образцов на оставшихся стеклянных емкостях, в емкости химическое вещество не наливают.
5.3.3 Испытание на стойкость к проколу
Устанавливают иглу для прокола на тензодатчик динамометра. Устанавливают скорость каретки на 100 мм/мин и привинчивают подставку для стеклянной емкости с испытуемым образцом к столу.
Помещают стеклянную емкость в подставку. Прокалывают испытуемый образец и записывают полученное значение пикового усилия (см.
рисунок 2).
1 - стеклянная емкость с горловиной под обжимной колпачок
вместимостью 20 см3; 2 - игла для прокола; 3 - испытуемый
образец; 4 - подставка для стеклянной емкости с испытуемым
образцом (применяется с зажимом динамометра)
Рисунок 2 - Положение стеклянной емкости во время
проведения испытания на стойкость к проколу
Испытания повторяют для каждого из испытуемых образцов; испытание каждого испытуемого образца проводят через час после начала воздействия на него.
Испытуемые образцы должны быть проверены на наличие каких-либо изменений физических свойств во время и после испытания (после высыхания). Любые изменения, такие как набухание, усадка, хрупкость, затвердение, размягчение, образование хлопьев, разложение, изменение цвета/миграция красителя, расслаивание, должны быть зарегистрированы и описаны в протоколе испытаний для информации.
5.3.4 Обработка результатов
Степень разрушения каждого из трех испытуемых образцов перчаток под воздействием конкретного химического вещества или смеси химических веществ вычисляют по формуле

, (1)
где DRx - степень разрушения испытуемого образца перчатки x под воздействием химического вещества, %;
OPx - средняя сила прокола на трех не подвергающихся воздействию испытуемых образцах перчатки x; единицы должны быть такими же, как RPx;
RPx - средняя сила прокола на трех подвергающихся воздействию испытуемых образцах перчатки x; единицы должны быть такими же, как OPx.
Степень разрушения образца под воздействием конкретного химического вещества вычисляют по формуле

, (2)
где DR - степень разрушения образца перчатки под воздействием химического вещества, %;
DR1 - степень разрушения первого испытуемого образца перчатки под воздействием химического вещества, %;
DR2 - степень разрушения второго испытуемого образца под воздействием химического вещества, %;
DR3 - степень разрушения третьего испытуемого образца под воздействием химического вещества, %.
Определяют стандартное отклонение (SD) степени разрушения для трех перчаток.
Для каждого образца материала защитных перчаток протокол испытаний должен содержать следующую информацию:
a) информацию производителя о подвергающихся испытанию перчатках, включая материал, тип и номер партии;
b) название химического вещества для испытания, степень его чистоты и, если оно находится в смеси, его концентрацию и другие компоненты;
c) обозначение настоящего стандарта;
d) дату проведения испытаний;
e) значения
DR1,
DR2,
DR3,
DR (см.
5.3.4) и процентное изменение стойкости к проколу материала перчатки. Также указывают значение
SD;
f) была ли удалена из испытуемого образца подкладка, если имелась;
g) любые изменения внешнего вида испытуемых образцов после оказанного на них химического воздействия. Примерами регистрируемых наблюдений являются: набухание, усадка, хрупкость, затвердение, размягчение, образование хлопьев, разложение, изменение цвета/миграция красителя, расслаивание;
h) информацию обо всех отклонениях от требований настоящего стандарта.
(справочное)
МЕЖЛАБОРАТОРНЫЕ ИСПЫТАНИЯ В СООТВЕТСТВИИ С НАСТОЯЩИМ МЕТОДОМ
Приведенные ниже данные о разрушении были получены при проведении межлабораторных испытаний несколькими лабораториями в соответствии с методом испытаний, описанным в
разделе 5.
Таблица A.1
Результаты корреляционного испытания перчаток
из натурального каучука (толщиной 0,6 мм),
выраженные в процентах
Лаборатория | Этилацетат | Гептан |
Среднее значение | Стандартное отклонение | Среднее значение | Стандартное отклонение |
1 | 43 | 6,8 | 66 | 4,0 |
2 | 37 | 10 | 61 | 7,0 |
3 | 36 | 5,9 | 47 | 1,6 |
4 | 39 | 4,5 | 49 | 2,8 |
5 | 40 | 5,3 | 56 | 6,1 |
6 | 32 | 2,8 | 51 | 8,1 |
7 | - | - | 56 | 2,4 |
Среднее значение | 37,8 | 5,9 | 55,1 | 4,6 |
Таблица A.2
Результаты корреляционного испытания перчаток
из других материалов, выраженные в процентах
Лаборатория | Ацетон | Серная кислота |
Среднее значение для перчатки из нитрила | Среднее значение для перчатки из ПВХ | Среднее значение для перчатки из полихлоропрена | Среднее значение для перчатки из нитрила | Среднее значение для перчатки из ПВХ | Среднее значение для перчатки из полихлоропрена |
1 | 85 | 90 | 65 | 49 | -36 | 3 |
2 | 89 | 86 | 63 | 57 | -55 | 6 |
3 | 88 | 98 | 60 | 46 | -50 | -6 |
4 | 86 | 89 | 60 | 57 | -41 | 5 |
5 | 92 | 87 | - | 40 | -31 | - |
6 | - | - | - | 62 | - | 13 |
(справочное)
ИСПЫТАНИЕ НА ИЗМЕНЕНИЕ МАССЫ
B.1 Общие положения
Данный метод предназначен только для оценки материалов и не учитывает фактическое использование средств индивидуальной защиты (СИЗ). В настоящем приложении описан дополнительный метод испытаний для определения устойчивости материалов к разрушению опасными химическими веществами при постоянном контакте посредством проведения испытания на изменение массы.
B.2 Отбор образцов
Перчатку кондиционируют при температуре (23 +/- 2) °C в течение не менее 24 ч. Испытуемые образцы отбирают из трех перчаток. Перчатку раскладывают на плоской поверхности и отмеряют от кончика пальца (60 +/- 2) мм. В качестве испытуемого образца от каждой перчатки отрезают измеренную ранее часть одного и того же пальца.
B.3 Оборудование для испытаний
B.3.1 Аналитические весы для определения массы с погрешностью до 0,001 г.
B.3.2 Стаканы, например, стеклянный стакан вместимостью 50 см3 или другая емкость (глубиной не менее 5,1 см).
B.3.3 Секундомер или другие устройства для измерения времени.
B.3.4 Пробирка с грузом или другое устройство для удержания испытуемого образца в вертикальном положении в мерном стакане.
B.3.5 Закрывающаяся емкость для взвешивания испытуемых образцов.
B.4 Методика проведения испытания
B.4.1 Измерения
Начальную массу каждого испытуемого образца измеряют с точностью до 0,001 г.
B.4.2 Условия проведения испытаний
Испытание проводят при температуре (23 +/- 2) °C (подготовка, добавление химического вещества, время воздействия химического вещества).
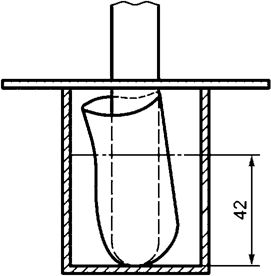
B.4.3 Методика проведения испытания
Запускают таймер и в мерный стакан с химическим веществом для испытания погружают испытуемый образец. Пробирка с грузом удерживает испытуемый образец в стакане в вертикальном положении. Стакан наполняют химическим веществом для испытания до уровня высотой (42 +/- 2) мм (см.
рисунок B.1). Во время испытания количество химического вещества для испытания регулируют, чтобы обеспечить наполненность стакана до метки. Чтобы учесть время взвешивания испытуемых образцов, несколько испытуемых образцов могут быть погружены с интервалом примерно в минуту.
Рисунок B.1 - Типовая схема устройства для испытания
на увеличение массы
После выдержки в течение (60 +/- 5) мин испытуемый образец вынимают из химического вещества, аккуратно промокают чистым полотенцем, чтобы удалить жидкость с поверхности, помещают в закрывающуюся емкость для взвешивания и регистрируют массу испытуемого образца с точностью до 0,001 г. Взвешивание испытуемых образцов выполняют как можно быстрее после 60 мин выдержки.
Испытуемые образцы должны быть проверены на наличие каких-либо изменений их физических свойств во время и после испытания (после высыхания). Любые изменения, такие как набухание, усадка, хрупкость, затвердение, размягчение, образование хлопьев, разложение, изменение цвета/миграция красителя, расслаивание, должны быть зарегистрированы и описаны в протоколе испытаний.
B.4.4 Вычисление результатов испытания
Процентное изменение массы вычисляют исходя из начальной массы. Изменение массы может быть положительным (увеличение) или отрицательным (уменьшение). Вычисляют изменение массы как разность между массой исходного испытуемого образца и испытуемого образца, взвешенного через 60 мин выдержки. Для определения процентного изменения массы полученную разность делят на начальную массу и умножают на 100.
Определяют среднее значение процентного изменения массы для трех испытуемых образцов. Также для трех испытуемых образцов определяют стандартное отклонение (SD) процентного изменения массы.
B.4.5 Выражение результатов
Результаты изменения массы и SD выражают в процентах.
B.5 Протокол испытаний
Для каждого образца материала защитных перчаток протокол испытаний должен содержать следующую информацию:
a) информацию производителя о подвергающихся испытанию перчатках, включая материал, тип и номер партии;
b) название химического вещества для испытания и, если оно находится в смеси, его концентрацию и другие компоненты;
c) процентное изменение массы каждого испытуемого образца, среднее значение и SD;
d) обозначение настоящего стандарта;
e) любые изменения внешнего вида испытуемых образцов после оказанного на них химического воздействия. Примерами регистрируемых наблюдений являются: набухание, усадка, хрупкость, затвердение, размягчение, образование хлопьев, разложение, изменение цвета/миграция красителя, расслаивание;
f) информацию обо всех отклонениях от требований настоящего стандарта.
(справочное)
СВЕДЕНИЯ О СООТВЕТСТВИИ ССЫЛОЧНЫХ МЕЖДУНАРОДНЫХ СТАНДАРТОВ
МЕЖГОСУДАРСТВЕННЫМ СТАНДАРТАМ
Таблица ДА.1
Обозначение ссылочного международного стандарта | Степень соответствия | Обозначение и наименование соответствующего межгосударственного стандарта |
ISO 374-1 | IDT | ГОСТ ISO 374-1-2019 "Система стандартов безопасности труда. Средства индивидуальной защиты рук. Перчатки для защиты от химических веществ и микроорганизмов. Часть 1. Терминология и требования к эксплуатационным характеристикам перчаток для защиты от химических веществ" |
ISO 21420 | - | <*> |
ISO 23388:2018 | - | <*> |
<*> Соответствующий межгосударственный стандарт отсутствует. До его принятия рекомендуется использовать перевод на русский язык международного стандарта. Официальный перевод данного международного стандарта находится в Федеральном информационном фонде стандартов. Примечание - В настоящей таблице использовано следующее условное обозначение степени соответствия стандарта: - IDT - идентичный стандарт. |
УДК 614.896.2:006.354 | | IDT |
Ключевые слова: средства индивидуальной защиты рук, перчатки для защиты от химических веществ, определение устойчивости к разрушению химическими веществами |