Главная // Актуальные документы // ГОСТ (Государственный стандарт)СПРАВКА
Источник публикации
М.: Стандартинформ, 2020
Примечание к документу
Документ
введен в действие с 01.08.2021.
Название документа
"ГОСТ ISO 230-1-2018. Межгосударственный стандарт. Нормы и правила испытаний станков. Часть 1. Геометрическая точность станков, работающих на холостом ходу или в квазистатических условиях"
(введен в действие Приказом Росстандарта от 17.11.2020 N 1086-ст)
"ГОСТ ISO 230-1-2018. Межгосударственный стандарт. Нормы и правила испытаний станков. Часть 1. Геометрическая точность станков, работающих на холостом ходу или в квазистатических условиях"
(введен в действие Приказом Росстандарта от 17.11.2020 N 1086-ст)
Приказом Федерального агентства
по техническому регулированию
и метрологии
от 17 ноября 2020 г. N 1086-ст
МЕЖГОСУДАРСТВЕННЫЙ СТАНДАРТ
НОРМЫ И ПРАВИЛА ИСПЫТАНИЙ СТАНКОВ
ЧАСТЬ 1
ГЕОМЕТРИЧЕСКАЯ ТОЧНОСТЬ СТАНКОВ, РАБОТАЮЩИХ
НА ХОЛОСТОМ ХОДУ ИЛИ В КВАЗИСТАТИЧЕСКИХ УСЛОВИЯХ
Test code for machine tools. Part 1. Geometric accuracy of
machines operating under no-load or quasi-static conditions
(ISO 230-1:2012, IDT)
ГОСТ ISO 230-1-2018
Дата введения
1 августа 2021 года
Цели, основные принципы и общие правила проведения работ по межгосударственной стандартизации установлены
ГОСТ 1.0 "Межгосударственная система стандартизации. Основные положения" и
ГОСТ 1.2 "Межгосударственная система стандартизации. Стандарты межгосударственные, правила и рекомендации по межгосударственной стандартизации. Правила разработки, принятия, обновления и отмены"
1 ПОДГОТОВЛЕН Публичным акционерным обществом "Экспериментальный научно-исследовательский институт металлорежущих станков" (ПАО "ЭНИМС") на основе англоязычной версии стандарта, указанного в
пункте 5
2 ВНЕСЕН Федеральным агентством по техническому регулированию и метрологии
3 ПРИНЯТ Межгосударственным советом по стандартизации, метрологии и сертификации (протокол от 30 октября 2018 г. N 113-П)
За принятие проголосовали:
Краткое наименование страны по МК (ИСО 3166) 004-97 | Код страны по МК (ИСО 3166) 004-97 | Сокращенное наименование национального органа по стандартизации |
Армения | AM | ЗАО "Национальный орган по стандартизации и метрологии" Республики Армения |
Беларусь | BY | Госстандарт Республики Беларусь |
Киргизия | KG | Кыргызстандарт |
Россия | RU | Росстандарт |
Узбекистан | UZ | Узстандарт |
4 Приказом Федерального агентства по техническому регулированию и метрологии от 17 ноября 2020 г. N 1086-ст межгосударственный стандарт ГОСТ ISO 230-1-2018 введен в действие в качестве национального стандарта Российской Федерации с 1 августа 2021 г.
5 Настоящий стандарт идентичен международному стандарту ISO 230-1:2012 "Нормы и правила испытаний металлорежущих станков. Часть 1. Геометрическая точность станков, работающих на холостом ходу или в квазистатических условиях" ("Test code for machine tools. Part 1. Geometric accuracy of machines operating under no-load or quasi-static conditions", IDT).
Международный стандарт разработан Техническим комитетом по стандартизации ISO/TC 39 "Станки", подкомитетом SC 2 "Условия испытаний металлорежущих станков".
При применении настоящего стандарта рекомендуется использовать вместо ссылочных международных стандартов и документов соответствующие им межгосударственные стандарты, сведения о которых приведены в дополнительном
приложении ДА
6 ВВЕДЕН ВПЕРВЫЕ
Информация о введении в действие (прекращении действия) настоящего стандарта и изменений к нему на территории указанных выше государств публикуется в указателях национальных стандартов, издаваемых в этих государствах, а также в сети Интернет на сайтах соответствующих национальных органов по стандартизации.
В случае пересмотра, изменения или отмены настоящего стандарта соответствующая информация будет опубликована на официальном интернет-сайте Межгосударственного совета по стандартизации, метрологии и сертификации в каталоге "Межгосударственные стандарты"
Технический комитет ISO/ТК 39 "Станки", подкомитет ПК 2 "Условия испытаний металлорежущих станков", принял решение о пересмотре и реструктуризации настоящего стандарта по следующим причинам:
a) некоторые подразделы предыдущего издания ISO 230 частично перекрываются другими подразделами настоящего стандарта, устанавливающего новый порядок испытаний;
b) по практическим причинам потребовалось модифицировать метод определения погрешностей параллельности и перпендикулярности с целью исключения погрешностей прямолинейности при наблюдении перемещений металлорежущего станка;
c) возникла необходимость четкого разделения между погрешностями перемещения по заданной траектории и дефектами функциональных поверхностей станка и обрабатываемых деталей;
d) потребовалось принять во внимание новые достижения в области обработки резанием, а также новые методы измерения и измерительные инструменты;
e) для иллюстрации новых прогрессивных методов измерения и измерительной аппаратуры, обеспечивающих более высокую точность и надежность измерения, потребовалось вновь включить в настоящий стандарт
приложение A с соответствующими изменениями;
f) для установления соответствия со всеми частями ISO 14253 введены соответствующие подразделы, касающиеся погрешности измерений.
ISO (Международная организация по стандартизации) является всемирным объединением национальных организаций по стандартизации (стран - членов ISO). Работа по подготовке международного стандарта, как правило, выполняется одним из технических комитетов ISO. Каждая страна-член, заинтересованная в тематике, для которой учрежден соответствующий технический комитет, имеет право быть представленной в нем. Взаимодействующие с ISO международные организации, как правительственные, так и неправительственные, также принимают участие в данной работе. ISO тесно сотрудничает с Международной электротехнической комиссией (МЭК) по всем вопросам стандартизации электротехники.
Международные стандарты разрабатывают в соответствии с правилами, заданными Директивами ISO/МЭК, часть 2.
Основной задачей технических комитетов является подготовка международных стандартов. Проект международного стандарта, принятый техническим комитетом, рассылают странам-членам на обсуждение. Для публикации стандарта в качестве международного требуется одобрение не менее 75% стран-членов.
Особое внимание следует сосредоточивать на возможности отдельных элементов стандарта стать предметом патентного права. За идентификацию патентоспособности любых элементов стандарта ISO не несет никакой ответственности.
Международный стандарт ISO 230-1 подготовлен Техническим комитетом ISO/ТК 39 "Станки", подкомитетом ПК 2 "Условия испытаний металлорежущих станков".
Настоящий стандарт состоит из следующих частей под общим названием "Нормы и правила испытаний металлорежущих станков":
- часть 1. Геометрическая точность станков, работающих без нагрузки или в квазистатических условиях;
- часть 2. Определение точности и повторяемости позиционирования осей с числовым программным управлением (ЧПУ);
- часть 3. Определение теплового воздействия;
- часть 4. Испытания на отклонение круговых траекторий для металлорежущих станков с ЧПУ;
- часть 5. Определение уровня шума;
- часть 6. Определение точности позиционирования диагоналей в горизонтальной и фронтальной плоскости (контроль диагональных перемещений);
- часть 7. Геометрическая точность осей вращения;
- часть 8. Вибрации (технический отчет);
- часть 9. Расчет погрешности измерения для испытаний металлорежущих станков в соответствии с базовыми уравнениями, приведенными в ISO 230;
- часть 10. Контактные измерительные системы для станков. Определение рабочих характеристик.
Следующая часть находится в стадии подготовки:
- часть 11. Измерительные инструменты и их применение для геометрических испытаний металлорежущих станков (технический отчет).
Настоящий стандарт устанавливает методы контроля посредством геометрических и функциональных испытаний точности металлорежущих станков, работающих как без нагрузки, так и в квазистатических условиях. Данные методы применяют также к другим типам промышленных машин.
Настоящий стандарт распространяется на машины с силовым приводом, которые могут быть использованы для обработки металлов, дерева и т.д. путем удаления древесной или металлической стружки или пластической деформации.
Настоящий стандарт не распространяется на механизированные переносные ручные инструменты.
Настоящий стандарт касается контроля геометрической точности.
Настоящий стандарт не применим к функциональным испытаниям металлорежущих станков (вибрации, пробуксовки составных частей и т.д.) или к проверке характеристик (скорости, подач).
Настоящий стандарт не охватывает высокоскоростные перемещения станка в тех случаях, когда усилия обработки менее, чем усилия ускорения.
В настоящем стандарте использованы нормативные ссылки на следующие стандарты. Для датированных ссылок применяется только указанное издание ссылочного стандарта. Для недатированных - последнее издание (включая все изменения к нему).
ISO 1, Geometrical Product Specifications (GPS) - Standard reference temperature for geometrical product specification and verification (Производственные геометрические требования. Стандартная температура для определения геометрических характеристик и верификации)
ISO 230-2, Test code for machine tools - Part 2: Determination of accuracy and repeatability of positioning of numerically controlled axes (Нормы и правила испытаний металлорежущих станков. Часть 2. Определение точности и повторяемости позиционирования осей с числовым программным управлением)
ISO 230-4, Test code for machine tools - Part 4: Circular tests for numerically controlled machine tools (Нормы и правила испытаний металлорежущих станков. Часть 4. Испытания на отклонения круговых траекторий для станков с числовым программным управлением)
ISO 230-6, Test code for machine tools - Part 6: Determination of positioning accuracy on body and face diagonals (Diagonal displacement tests) [Нормы и правила испытаний металлорежущих станков. Часть 6. Определение точности позиционирования диагоналей в горизонтальной и фронтальной плоскости (контроль диагональных перемещений)]
ISO 230-7, Test code for machine tools - Part 7: Geometric accuracy of axes of rotation (Нормы и правила испытаний металлорежущих станков. Часть 7. Геометрическая точность осей вращения)
ISO/TR 230-8, Test code for machine tools - Part 8: Vibrations (Нормы и правила испытаний металлорежущих станков. Часть 8. Вибрации. Технический отчет)
ISO 841, Industrial automation systems and integration - Numerical control of machines - Coordinate system and motion nomenclature (Системы промышленной автоматизации и интеграция. Числовое программное управление станками. Системы координат и обозначение перемещений)
ISO 1101, Geometrical Product Specifications (GPS) - Geometrical tolerancing - Tolerances of form, orientation, location and run-out (Технические условия на геометрические параметры изделия. Установление геометрических допусков. Допуски на форму, ориентацию, позиционирование, биение)
ISO 12181-1:2011, Geometrical product specifications (GPS) - Roundness - Part 1: Vocabulary and parameters of roundness (Технические условия на геометрические параметры изделия. Округлость. Часть 1. Термины и параметры округлости)
ISO 12780-1:2011, Geometrical product specifications (GPS) - Straightness - Part 1: Vocabulary and parameters of straightness (Технические условия на геометрические параметры изделия. Часть 1. Термины и параметры прямолинейности)
ISO 12781-1:2011, Geometrical product specifications (GPS) - Flatness - Part 1: Vocabulary and parameters of flatness (Технические условия на геометрические параметры изделия. Часть 1. Термины и параметры плоскостности)
ISO 14253-1 <*>, Geometrical Product Specifications (GPS) - Inspection by measurement of workpieces and measuring equipment - Part 1: Decision rules for proving conformance or non-conformance with specifications (Технические условия на геометрические параметры изделия. Контроль посредством обмера обрабатываемых деталей и необходимое измерительное оборудование. Часть 1. Правила составления заключения о соответствии или несоответствии техническим условиям)
--------------------------------
<*> Заменен. Действует ISO 14253-1:2017.
В настоящем стандарте применены термины по ISO 230-2, ISO 230-4, ISO 230-7, ISO 841, ISO 12181-1, ISO 12780-1 и ISO 12781-1 с дополнениями, содержащимися в этом разделе.
В настоящем стандарте использованы метрологические определения, учитывающие фактические перемещения, реальные линии и поверхности, доступные для проведения измерений, а также ограничения, вводимые самой конструкцией или практической возможностью геометрической верификации.
Примечание 1 - В настоящем стандарте во избежание недоразумений и с целью пояснения используемой лексики в некоторых случаях сохранены геометрические определения (определение смещения, биения и т.д.). Однако описание методов контроля, измерительного инструмента и допусков осуществлено на базе метрологических терминов.
Примечание 2 - Перечень терминов и определений приведен в Алфавитном
указателе терминов.
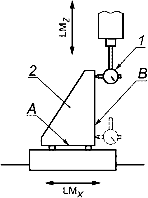
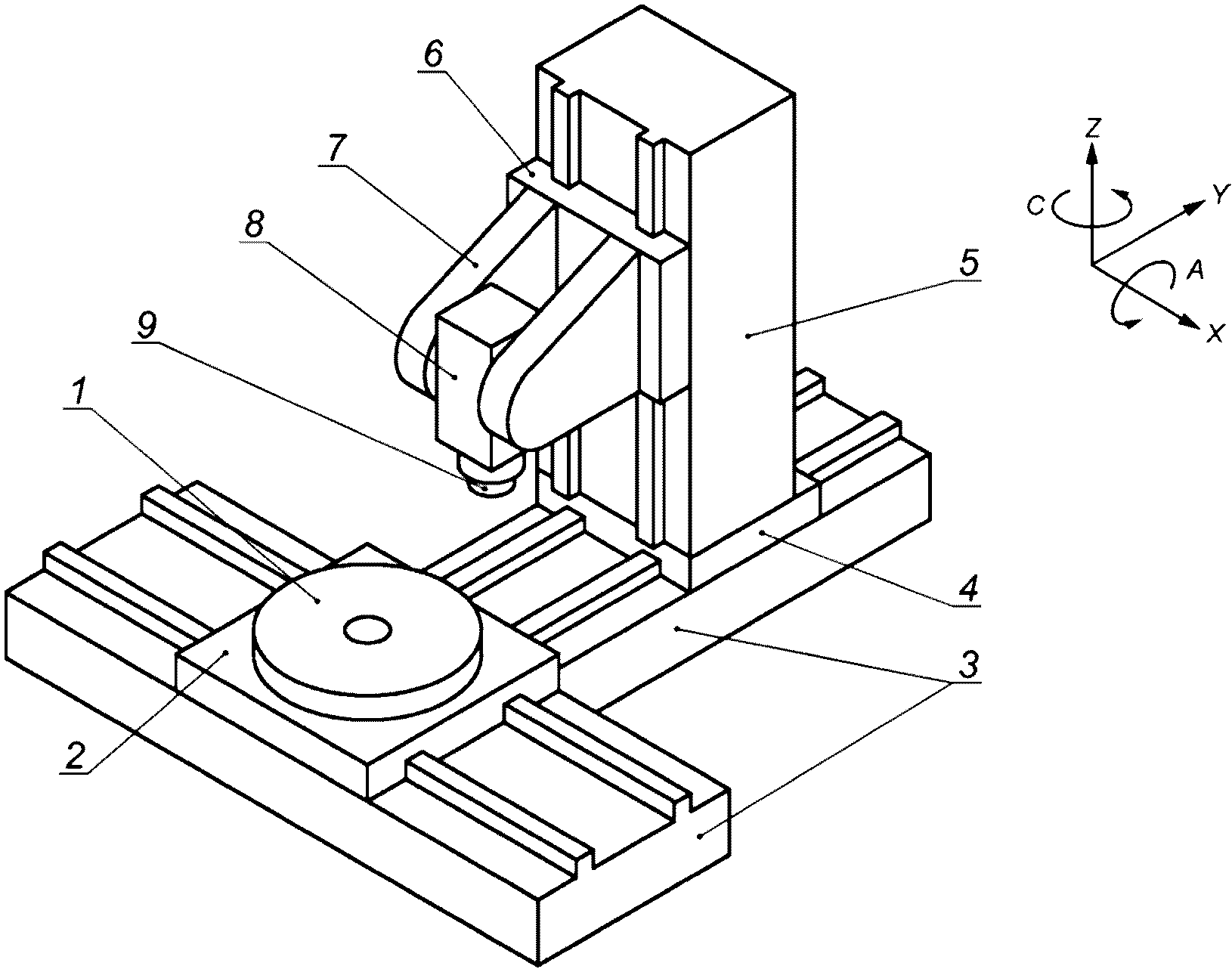
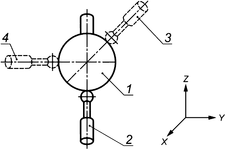
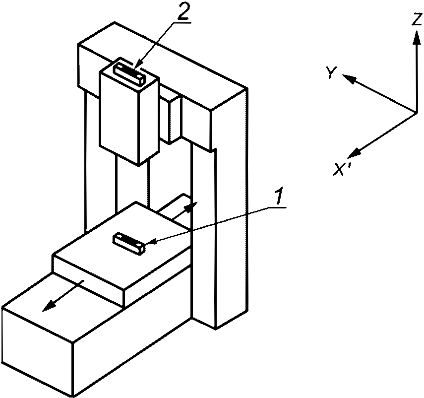
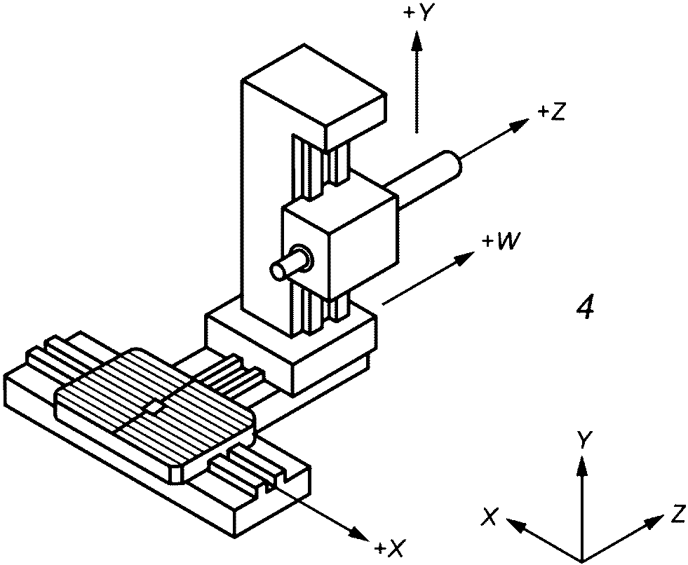
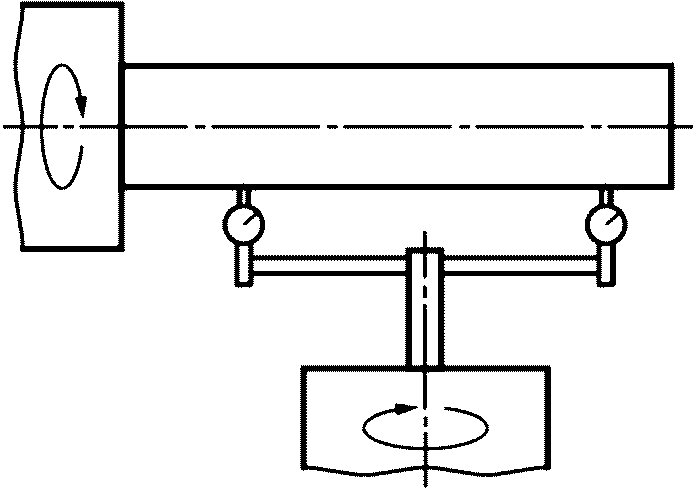
3.2 Термины для системы координат станка и номенклатуры перемещений
3.2.1 Система координат станка
В настоящем стандарте использована прямоугольная система координат по "правилу правой руки" с тремя основными осями, обозначенными
X,
Y и
Z, с осями вращения, обозначенными
A,
B и
C соответственно (см.
рисунок 1).
Рисунок 1 - Прямоугольная система координат станка
по "правилу правой руки"
3.3 Термины для статической упругой деформации и гистерезиса
В настоящем стандарте применены следующие термины с соответствующими определениями:
3.3.1
конструктивный контур (structural loop): Совокупность компонентов, поддерживающих соответствующее положение между двумя заданными объектами.
[ISO 230-7:2006, определение 3.1.13]
Примечание - Типичной парой заданных объектов являются режущий инструмент и обрабатываемая деталь; в таком случае конструктивный контур включает шпиндель, подшипники, шпиндельную бабку, корпус шпиндельной бабки, направляющие станка и станину, зажимы для крепления режущего инструмента и заготовки. Для крупных станков частью конструктивного контура является также фундамент.
3.3.2
статическая упругая деформация (static compliance): Вызванное воздействием статического усилия (или момента) линейное (или угловое) смещение между двумя объектами, определяемое преимущественно конструктивным контуром, расположением и направлением действия прилагаемого усилия, а также положением и направлением интересующего перемещения.
Примечание 1 - Статическая упругая деформация взаимосвязана со статической жесткостью. Особое внимание привлекают побочные свойства статической упругой деформации.
Примечание 2 - Термин "перекрестная упругая деформация" употребляется в том случае, когда направления измерения смещений и усилий не совпадают.
3.3.3
люфт, мертвый ход (play): Результат нулевой жесткости на ограниченном диапазоне перемещения из-за зазора между компонентами конструктивного контура.
[ISO 230-7:2006, определение 3.1.21]
3.3.4
гистерезис (hysteresis): Линейное (угловое) смещение между двумя объектами в результате последовательного приложения и удаления равных усилий в противоположных направлениях.
[ISO 230-7:2006, определение 3.1.22]
3.3.5
гистерезис настройки/наладки (setup hysteresis): Смещение различных компонентов станка в процессе его настройки/наладки, испытания, обычно из-за потери связи между ними.
[ISO 230-7:2006, определение 3.1.22.1]
3.3.6
гистерезис станка (machine hysteresis): Смещение элементов конструкции станка под воздействием характерной нагрузки.
[ISO 230-7:2006, определение 3.1.22.2]
3.4 Термины для линейных осей
3.4.1 общие положения (general): В настоящем стандарте многие определения и испытания направлены на контроль погрешностей перемещения относительно друг друга компонентов станка, приводящих в движение режущий инструмент, и компонентов, приводящих в движение заготовку. Эти погрешности определяются и измеряются по положению и траектории функциональных точек.
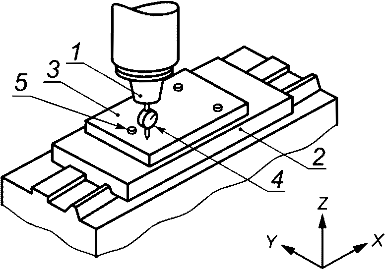
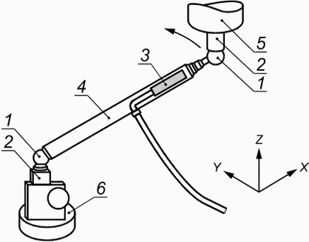
3.4.2
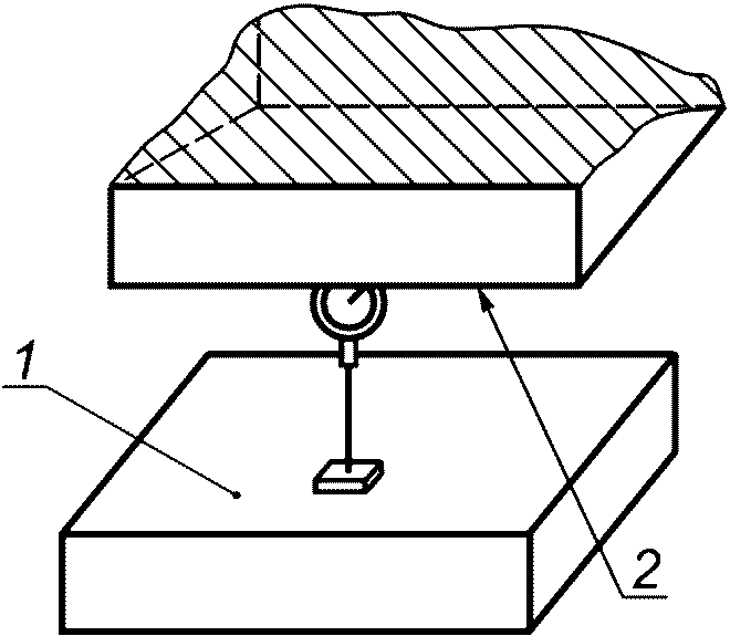
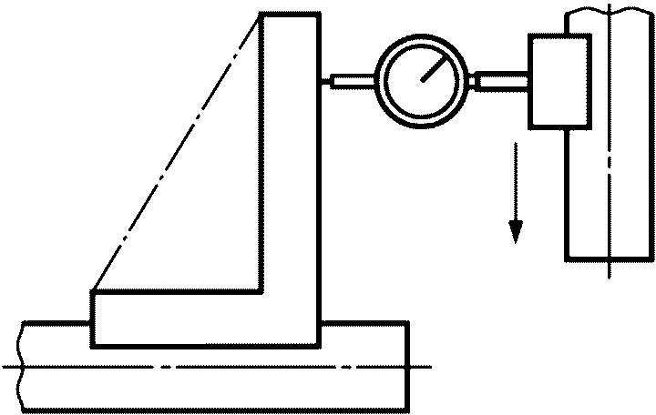
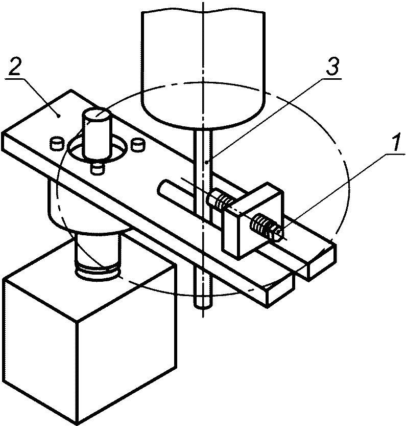
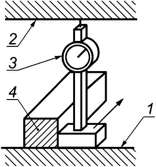
функциональная точка (functional point): Точка по центральной оси режущего инструмента или другая связанная с компонентом металлорежущего станка точка, в которой режущий инструмент соприкасается с этим компонентом с целью удаления материала (см.
рисунок 2).
1 - функциональная точка
Рисунок 2 - Примеры функциональных точек
Примечание 1 - Функциональная точка - это единственная точка, которая может перемещаться по всему объему режущего инструмента в процессе его работы. В настоящем стандарте и стандартах, относящихся к специализированным металлорежущим станкам, обычно рекомендовано проводить контроль геометрических характеристик применительно к пробной наладке/настройке, что дает представление о положении перемещаемого инструмента средней расчетной длины относительно гипотетического центра перемещаемой заготовки, условно размещенной в центре хода осей станка.
Примечание 2 - В настоящем стандарте для улучшения читаемости в определениях и испытаниях использовано выражение "функциональная точка на движущемся компоненте" вместо формально более точного выражения "движущаяся точка, представляющая положение инструмента и заготовки, движущихся относительно друг друга".
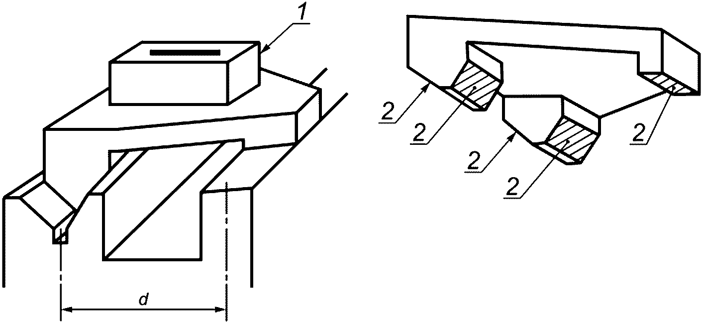
3.4.3
погрешность перемещения линейной оси (error motions of linear axis): Линейные и угловые отклонения компонента от заданной номинально прямолинейной траектории (см.
рисунок 3).
Примечание 1 - Отклонения перемещения обозначены латинской буквой "
E", сопровождаемой подстрочной надписью, в которой первой буквой является наименование оси, соответствующей отклонению от заданной траектории перемещения, а второй буквой - наименование оси перемещения (см.
рисунок 3 и
приложение A).
Примечание 2 - Линейное отклонение перемещения определено в
3.4.4, а угловое - в
3.4.16.
1 - заданное линейное перемещение по оси X; EAX - угловое
отклонение от перемещения вокруг оси A (поворот);
EBX - угловое отклонение от перемещения вокруг оси B
(поворот); ECX - угловое отклонение от перемещения
вокруг оси C (наклон); EXX - линейная погрешность
позиционирования по оси X; отклонения позиционирования
по оси X; EYX - погрешность прямолинейности перемещения
в направлении оси Y; EZX - погрешность прямолинейности
перемещения в направлении оси Z
Рисунок 3 - Угловые и линейные отклонения перемещения
компонента от заданного перемещения вдоль номинально
прямолинейной траектории, параллельной оси X
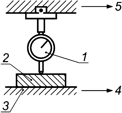
3.4.4
погрешность линейных перемещений линейной оси (linear error motions of linear axis): Отклонения по трем направлениям поступательного движения функциональной точки движущегося компонента, которому задано перемещение вдоль номинально прямолинейной траектории; одно из этих отклонений происходит в направлении номинального перемещения, а два других направлены под прямым углом к заданному направлению.
Примечание 1 - Линейное отклонение перемещения вдоль направления движения называется "погрешность линейного позиционирования"
(3.4.5). Два других поступательных ошибочных перемещения называются "отклонение от прямолинейного перемещения"
(3.4.8).
Примечание 2 - Линейное отклонение, измеренное в функциональной точке, включает воздействие угловых отклонений. Воздействия угловых отклонений различны, если положение точки измерения отличается от функциональной точки.
Примечание 3 - Если перемещаемый компонент не может рассматриваться как неподвижно закрепленное тело, например большой подвижный стол, испытания выполняют более чем в одной точке на перемещаемом компоненте.
3.4.5
погрешность позиционирования линейного перемещения (linear positioning error motion): Отклонение вдоль заданного направления движения, в результате которого фактическое местоположение, достигаемое функциональной точкой перемещаемого компонента, отличается от заданного на направлении движения.
Примечание 1 - Положительный знак отклонения позиционирования имеет место в положительном направлении движения (согласно ISO 841).
Примечание 2 - Погрешность линейного позиционирования зависит от дефектов самого перемещаемого компонента и системы управления им. Она не связана с динамическими характеристиками перемещаемого компонента и системой сервоконтроля его позиционирования.
3.4.6
линейные отклонения позиционирования (linear positioning deviation): Разность между фактическим положением, достигнутым функциональной точкой на пути перемещения компонента, и его заданным положением.
Примечание 1 - Заимствовано из ISO 230-2:2006, определение 2.5.
Примечание 2 - Для определения точности позиционирования и повторяемости осей с ЧПУ отклонения позиционирования измеряются на специально выделенных интервалах в соответствии с требованиями ISO 230-2.
Примечание 3 - Отклонения позиционирования, измеренные в соответствии с требованиями ISO 230-2, устанавливают предельные показатели погрешностей позиционирования (см.
рисунок 4).
1 - диаграмма перемещения вдоль оси X по фактическим
ошибочным позициям; 2 - диаграмма измеренных отклонений
позиционирования по оси X; X - ось координат X, мм;
EXX - отклонение позиционирования и погрешность
перемещения по ошибочным позициям для оси
X,

Рисунок 4 - Пример погрешности линейного позиционирования
и измеренных отклонений линейного позиционирования
при линейном перемещении функциональной точки вдоль оси X
3.4.7
погрешность линейного позиционирования (linear positioning error),
точность линейного позиционирования (linear positioning accuracy или accuracy of linear positioning): Величина наибольшего положительного отклонения позиционирования, прибавленная к абсолютной величине наибольшего отрицательного отклонения позиционирования, вычисленной в соответствии с определенными договорными условиями.
Примечание 1 - Это определение применимо только к тем осям, которые не находятся под непрерывным числовым управлением. Точность линейного позиционирования осей с ЧПУ устанавливается и определяется в соответствии с требованиями ISO 230-2.
Примечание 2 - Условием для оценки погрешности линейного позиционирования могут служить ручное перемещение линейной оси на промежутке более 100 мм на десять интервалов вперед и на десять интервалов назад и оценка отклонения линейного позиционирования для каждой позиции.
3.4.8
отклонение от прямолинейного перемещения (straightness error motion): Дополнительное перемещение в одном из двух направлений, перпендикулярных к оси заданного линейного перемещения вдоль (номинально) прямолинейной траектории (см.
рисунки 5 и
6).
1 - диаграмма фактических отклонений в направлении оси Z
линейного перемещения по оси X; 2 - диаграмма измеренной
погрешности прямолинейности перемещения; 3 - базовая прямая
линия, очерчивающая зону минимальных значений фактической
погрешности линейного перемещения; 4 - базовая прямая линия,
очерчивающая зону минимальных значений измеренных
отклонений от прямолинейности; X - ось координат X, мм;
EZX - отклонение в направлении оси Z от прямолинейности
перемещения по оси X
Рисунок 5 - Пример отклонения от прямолинейности перемещения
в направлении оси Z и измеренной погрешности траектории
функциональной точки при ее перемещении по оси X
EYX - отклонения в направлении оси Y от прямолинейности
перемещения по оси X; EZX - отклонения в направлении оси Z
от прямолинейности перемещения по оси X
Рисунок 6 - Графическое представление отклонений
от прямолинейности оси X в направлениях осей Y и Z
3.4.9
отклонение от прямолинейности (straightness deviation): Расстояние функциональной точки от базовой прямой линии
(3.4.12), прилегающей к ее траектории, измеренное в одном из двух направлений под прямым углом к направлению заданной прямолинейной траектории.
Примечание 1 - Во избежание динамических столкновений отклонение от прямолинейности измеряют при низкой скорости (или при зафиксированной во время испытания оси).
Примечание 2 - Отклонение от прямолинейности, измеренное на отдельном интервале (в примере на
рисунке 5 - 400 мм), устанавливает предельные показатели фактической погрешности прямолинейного движения.
Примечание 3 - Согласно ISO 841 положительный знак отклонения от прямолинейности имеет место в положительном направлении главной оси.
3.4.10
погрешность прямолинейности линейной оси (straightness error of linear axis): Величина разности между наибольшим положительным и наибольшим значением отрицательных отклонений от прямолинейности (по отношению к предварительно определенной базовой прямой линии).
Примечание - Наименьшая погрешность прямолинейности выявляется при использовании базовой прямой линии, очерчивающей зону минимальных значений погрешности.
3.4.11
прямолинейность (straightness): Свойство прямой линии.
[ISO 12780-1:2011, определение 3.1.1]
Примечание - Фактическая траектория функциональной точки перемещаемого компонента, которому задано движение вдоль номинально прямолинейной траектории, не является прямой линией.
3.4.12
базовая прямая линия (reference straight line): Основное направление линии, связанное с прямой линией, используемой для измерения траектории функциональной точки в соответствии с определенными условиями, к которым относятся отклонение от прямолинейности и погрешность прямолинейности.
Примечание 1 - Базовую прямую линию вычисляют через измеренные отклонения в двух взаимно перпендикулярных плоскостях в пределах производимых измерений (см.
рисунок 6).
Примечание 2 - В предыдущем издании ISO 230 использовалось выражение "representative line - показательная линия". Это выражение не следует предпочитать выражению "базовая прямая линия".
Примечание 3 - Можно использовать следующие словосочетания: "базовая линия зоны наименьших отклонений" (the minimum zone reference straight line)
(3.4.13), или "базовая линия наименьших квадратов" (the least squares reference straight line)
(3.4.14), или "базовая линия конечной точки" (the end-point reference straight line)
(3.4.15) (см.
рисунки 7,
8 и
9).
Примечание 4 - Минимальную погрешность прямолинейности обычно оценивают путем использования базовой линии зоны наименьших отклонений. Однако, поскольку программное обеспечение наименее пригодно для расчета такой зоны, погрешность прямолинейности рассчитывают как минимальную погрешность, полученную в результате использования стандартной линии наименьшего квадрата или базовой линии конечной точки.
3.4.13
базовая прямая линия зоны наименьших значений (the minimum zone reference straight line): Арифметическое значение минимального расстояния между двумя параллельными линиями в плоскости, заключающей измеренные отклонения от прямолинейности.
1 - верхняя базовая прямая линия зоны минимальных
положительных значений отклонения EZX; 2 - средняя базовая
прямая линия зоны минимальных значений отклонения;
3 - нижняя базовая прямая линия зоны минимальных
отрицательных значений отклонения EZX; 4 - измеренные
значения отклонения от прямолинейности; X - ось
координат X, мм; EZX - отклонения в направлении
оси
Z от прямолинейности перемещения по оси
X,

Рисунок 7 - Пример базовой прямой линии зоны минимальных
значений отклонения от прямолинейности
по оси X в плоскости ZX
3.4.14
базовая прямая линия наименьших квадратов (the least squares reference straight line): Прямая линия, где сумма квадратов измеренных отклонений от прямолинейности минимальна.
1 - базовая прямая линия наименьших квадратов;
2 - наибольшее положительное значение отклонения
от прямолинейности EZX; 3 - наибольшее отрицательное
значение отклонения от прямолинейности EZX; 4 - измеренное
отклонение от прямолинейности; X - ось координат X, мм;
EZX - отклонения в направлении оси Z от прямолинейности
перемещения по оси
X,

Рисунок 8 - Пример базовой прямой линии минимальных
квадратов отклонений от прямолинейности перемещения
по оси X в плоскости ZX
3.4.15
базовая прямая линия конечной точки (the end-point reference straight line): Прямая линия, соединяющая первую и последнюю точки измеренных значений отклонения от прямолинейности.
1 - базовая прямая линия конечной точки; 2 - наибольшее
положительное отклонение от прямолинейности EZX;
3 - наибольшее отрицательное отклонение от прямолинейности
EZX; 4 - измеренное отклонение от прямолинейности;
a - первая точка длины измерения; b - последняя точка
длины измерения; X - ось координат X, мм; EZX - отклонения
от прямолинейности по оси
X в направлении оси
Z,

Рисунок 9 - Пример базовой прямой линии конечной точки
для проверки прямолинейности перемещения по оси X
в плоскости ZX
3.4.16
угловая погрешность перемещения линейной оси (angular error motions of linear axis): Три угловых отклонения подвижного компонента от перемещения вдоль номинально заданной прямолинейной траектории.
Примечание 1 - Положительный знак угловой погрешности перемещения следует правилу "правой руки", описанному в ISO 841 (см.
рисунок 3).
Примечание 2 - Имеют место три угловых отклонения вокруг трех взаимно перпендикулярных осей: одно вокруг оси заданного направления перемещения и два вокруг двух осей, перпендикулярных заданному направлению (см.
рисунок 3). Вращение вокруг заданного направления перемещения можно называть "поворот" (roll
<*>). Вращение вокруг оси, перпендикулярной направлению движения, называется терминами "наклон" или "опрокидывание" (tilt
<*>). В международных стандартах различают два вида наклона. Для горизонтальной оси перемещения наклон вокруг вертикальной оси может называться термином yaw, а наклон вокруг горизонтальной оси - термином pitch
<*>.
Примечание 3 - Угловая погрешность линейного перемещения функциональной точки включает воздействие от трех угловых отклонений. Если местоположение точки измерения не совпадает с функциональной точкой, воздействие угловых перемещений отличается от подобного в случае их совпадения (см.
рисунок 10). При расчете отклонений траектории функциональной точки воздействие угловых отклонений учитывают для случаев несовпадения (см.
рисунок 10).
Примечание 4 - Термины pitch и yaw <*> применимы только для горизонтальной оси перемещения.
--------------------------------
<*> Аналогичных терминов в русском языке нет.
1 - перемещение по оси X; 2 - измеренные отклонения ECX;
3 - измеренные отклонения Exx в функциональной точке 1
(FP1); 4 - измеренные отклонения EXX в функциональной точке
2 (FP2) [с учетом воздействия только ECX]; X - ось системы
координат
X, мм;
ECX - угловое отклонение (наклон),

;
EXX - погрешность позиционирования,

;
d - разность
между FP2 и FP1 по оси Y (1000 мм для точечной диаграммы);
FP1 - функциональная точка 1; FP2 - функциональная точка 2
Рисунок 10 - Пример воздействия углового отклонения
ECX
на погрешность позиционирования EXX
3.4.17
угловое отклонение (angular deviation): Отклонение, показанное измерительным инструментом по направлению любой из трех взаимно перпендикулярных осей, измеренное на всем пути перемещения компонента.
3.4.18
угловая погрешность линейной оси (angular error of a linear axis): Величина наибольшего положительного углового отклонения, прибавленная к абсолютному значению наибольшего отрицательного углового отклонения, измеренная на всем пути перемещения компонента и рассчитанная в каждом из трех взаимно перпендикулярных направлений.
3.5 Термины для осей вращения
3.5.1 Общие положения
Определения в полном объеме, относящиеся к геометрической точности осей вращения (т.е. шпинделей, поворотных столов и других осей вращения), представлены в ISO 230-7. Некоторые важные определения приведены в данном подразделе.
3.5.2
ось вращения (axis of rotation): Отрезок линии, вокруг которой происходит вращение.
[ISO 230-7:2006, определение 3.1.5]
3.5.3
средняя осевая линия (axis average line): Представляющий величину местоположения оси вращения отрезок прямой линии, расположенной параллельно соответствующей оси координат.
[ISO 230-7:2006, определение 3.1.10]
3.5.4
погрешность перемещения оси вращения (axis of rotation error motion): Изменение местоположения и направления оси вращения относительно средней линии, являющееся функцией углового смещения оси вращения (см.
рисунки 11 и
12).
Примечание 1 - Положительным направлением ошибочного линейного отклонения (смещения) является то, которое увеличивает величины положительных и уменьшает величины отрицательных позиций (координат) (см. ISO 841:2001, определение 5.2.1). Положительным направлением углового смещения является направление, соответствующее правилу "правой руки" в положительном направлении линейного перемещения (см.
рисунок 1).
Примечание 2 - Отклонение (смещение) обозначается латинской буквой "E", дополняемой буквами, из которых первая обозначает наименование оси, соответствующей направлению смещения, а вторая - наименование оси, по которой осуществляется заданное перемещение.
Примечание 3 - Заимствовано из ISO 230-7:2006, определение 3.2.1.
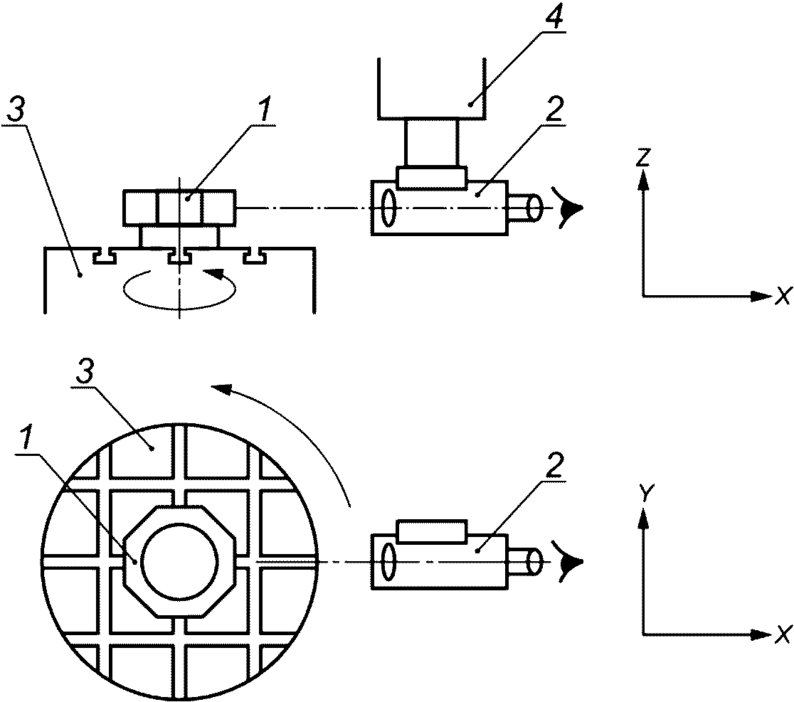
1 - шпиндель (ротор); 2 - смещение оси вращения
(относительно угла C); 3 - средняя осевая линия; 4 - ось
вращения (под углом C); 5 - корпус шпиндельной бабки
(статор); a - стандартная ось координат
Рисунок 11 - Стандартные оси координат, ось вращения,
средняя осевая линия и смещение оси вращения (оси C)
EXC - радиальное смещение оси C в направлении оси X;
EBC - опрокидывание оси C вокруг оси Y; EYC - радиальное
смещение оси C в направлении оси Y; ECC - угловое смещение
положения оси C; измеренное отклонение углового
позиционирования оси C; EZC - аксиальное смещение оси C;
EAC - опрокидывание оси C вокруг оси X; a - стандартная ось
координат
Рисунок 12 - Смещение оси вращения (см. ISO 230-7)
3.5.5
аксиальная погрешность перемещения (axial error motion): Смещение, нарушающее коаксиальность (соосность) между осью вращения и средней осевой линией.
[ISO 230-7:2006, определение 3.2.13]
3.5.6
радиальное смещение (radial error motion): Смещение в направлении, перпендикулярном средней осевой линии при определенном положении осей.
[ISO 230-7:2006, определение 3.2.10]
3.5.7 опрокидывание (tilt error motion): Смещение в угловом направлении относительно средней осевой линии.
[ISO 230-7:2006, определение 3.2.12]
3.5.8
сдвиг оси вращения (axis shift): Квазистатическое изменение местоположения и направления средней осевой линии из-за изменения окружающих условий.
Примечание 1 - Изменение окружающих условий, провоцирующее случаи сдвига оси, охватывает изменения температуры, нагрузки и скорости (см. ISO 230-7:2006, 3.7).
Примечание 2 - Погрешность местоположения и направления обозначается латинской буквой "
E", дополненной буквами, из которых первая обозначает наименование оси, соответствующей направлению смещения, вторым знаком является цифра "0", а третья буква означает наименование оси перемещения (см.
рисунок 13, а также
приложение A).
EX0C - погрешность позиционирования оси C в направлении оси
X; EA0C - погрешность ориентации оси C в направлении оси Y;
погрешность перпендикулярности оси C к оси Y;
EY0C - погрешность позиционирования оси C в направлении оси
Y; EB0C - погрешность ориентации оси C в направлении оси X;
погрешность перпендикулярности оси C к оси Y;
a - стандартная ось координат
Рисунок 13 - Погрешности позиционирования
и ориентации средней осевой линии
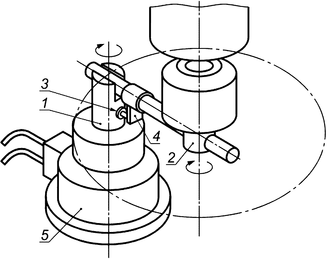
3.5.9
эксцентриситет оси привода (eccentricity of a driven axis): Расстояние между осью привода и осью вращения, когда первая вращается вокруг второй и номинально параллельна ей (см.
рисунок 14).
Примечание 1 - Эксцентриситет не является погрешностью, но находится в размерной зависимости от допусков.
1 - ось вращения; 2 - перемещаемая ось; 3 - установленный
эксцентриситет
Рисунок 14 - Эксцентриситет между перемещаемой осью
и осью вращения
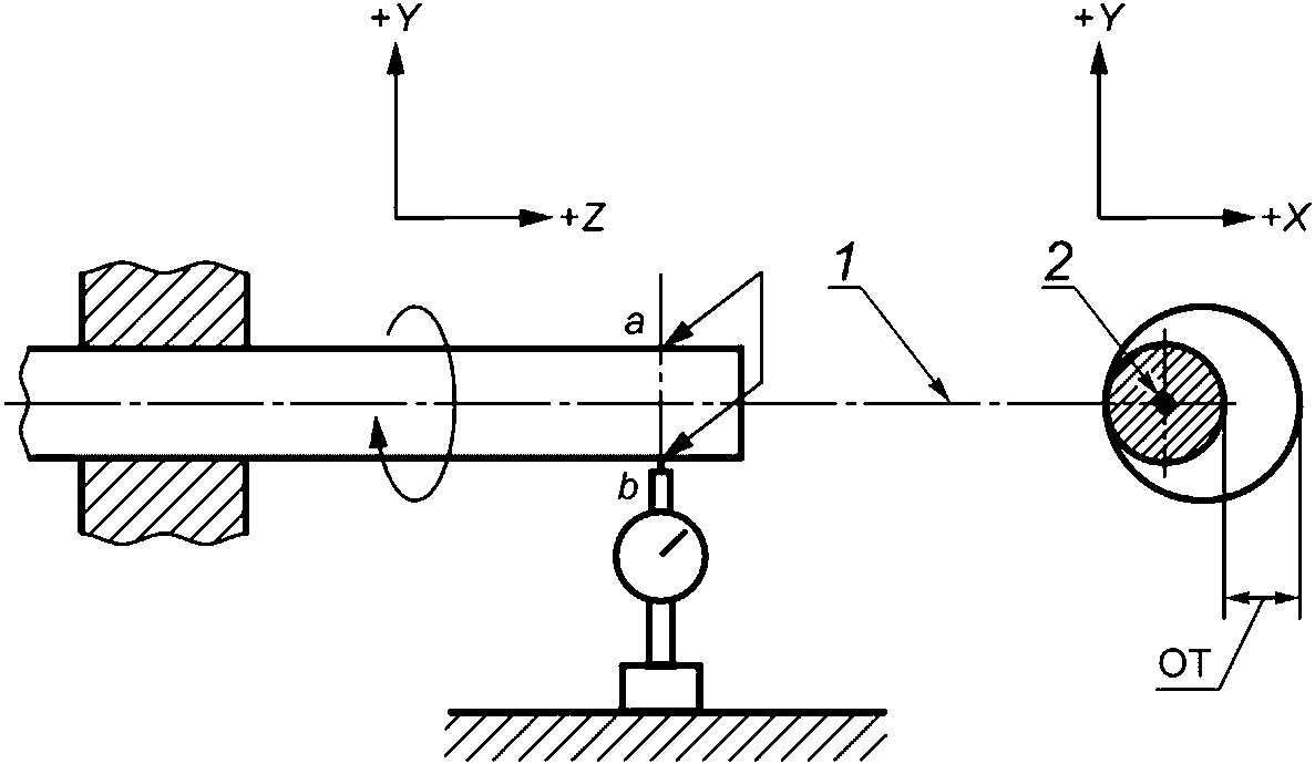
3.5.10
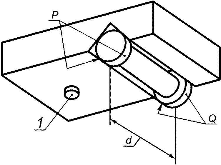
радиальный эксцентриситет оси вращения в заданной точке (radial throw of a rotary axis at a given point): Расстояние между связанной с осью вращения геометрической осью детали (или любого испытуемого объекта) и средней осевой линией, если обе эти оси не совпадают друг с другом (см.
рисунок 15).
Примечание 1 - Геометрическая ось детали (или испытуемого объекта) устанавливается путем измерений детали (или испытуемого объекта в целом), проводимых в различных положениях оси.
Примечание 2 - Если искажения формы детали (или испытуемого объекта) и погрешности радиального перемещения незначительные, радиальное смещение оси в заданной точке равно половине выбега
(3.9.7), измеренного в этой точке.
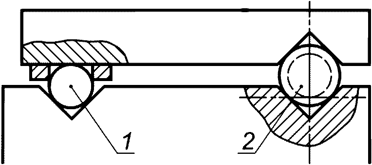
1 - геометрическая ось; 2 - ось вращения; 3 - выбег
(биение); 4 - радиальное смещение
Рисунок 15 - Радиальное смещение и биение оси
в заданной точке
3.5.11
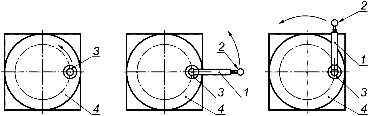
угловая погрешность позиционирования (angular positioning error motion): Неожиданное перемещение по круговому направлению, в результате чего фактическая угловая позиция (ее достигает функциональная точка вращающегося компонента) отличается от заданной.
Примечание 1 - Положительный знак угловой погрешности позиционирования имеет место в направлении положительного углового перемещения (в соответствии с ISO 841).
Примечание 2 - Угловая погрешность позиционирования связана с дефектами углового позиционирования перемещающегося компонента и его системы управления позиционированием.
3.5.12
угловое отклонение позиционирования (angular positioning deviation): Разность между фактической угловой позицией, достигнутой перемещаемым компонентом, и заданной угловой позицией в плоскости, перпендикулярной средней осевой линии.
Примечание 1 - Положительный знак углового отклонения позиционирования имеет место в направлении положительного углового перемещения (см.
рисунок 16).
Примечание 2 - ISO 230-2 определяет параметры и процедуру контроля точности позиционирования и повторяемости осей с ЧПУ.
Примечание 3 - Угловые отклонения позиционирования, измеренные в соответствии с требованиями ISO 230-2, устанавливают ограниченные показатели угловой погрешности перемещения.
1 - отрицательное направление перемещения оси C;
2 - заданная позиция; 3 - фактическая позиция;
4 - угловое отклонение позиционирования
Рисунок 16 - Угловое отклонение позиционирования оси
C
3.5.13
угловая погрешность позиционирования (angular positioning error),
угловая точность позиционирования (angular positioning accuracy, accuracy of angular positioning): Величина наибольшего положительного углового отклонения позиционирования, прибавленная к абсолютному значению наибольшего отрицательного углового отклонения позиционирования, вычисленному в соответствии с определенными условиями.
Примечание - Определение применимо только к тем осям, которые не находятся под непрерывным числовым управлением. Угловую точность позиционирования осей с ЧПУ устанавливают и определяют в соответствии с ISO 230-2.
3.5.14
однонаправленная повторяемость периодической круговой подачи (unidirectional repeatability of angular indexing): Диапазон угловых отклонений позиционирования в результате ряда испытаний, в них приближение к любой заданной угловой позиции производится при одних и тех же условиях как по направлению, так и по скорости.
Примечание 1 - Эти параметры включают воздействие фиксации на каждой заданной позиции, где это приемлемо и имеется зазор.
Примечание 2 - Повторяемость осей с ЧПУ определяют и устанавливают в соответствии с ISO 230-2.
3.5.15
двунаправленная повторяемость периодической круговой подачи (bidirectional repeatability of angular indexing): Диапазон угловых отклонений позиционирования в результате ряда испытаний, в них приближение к любой заданной угловой позиции производится при одних и тех же условиях как по обоим направлениям, так и по скорости.
Примечание 1 - Эти параметры включают воздействие фиксации на каждой заданной позиции, где это приемлемо и имеется зазор.
Примечание 2 - Повторяемость осей с ЧПУ устанавливают и определяют в соответствии с ISO 230-2.
3.6 Термины для погрешностей параллельности и перпендикулярности осей перемещения
3.6.1 общие положения (general): На ориентацию осей перемещения относительно друг друга главным образом влияют геометрические дефекты узлов станка (например, центровка направляющих, несущих поверхностей). Однако линейные и угловые погрешности перемещения подвижных компонентов также оказывают влияние на ориентацию этих осей в виде возмущений/отклонений.
Таким образом, требует исключения воздействие локальных возмущений на собственной траектории оси и на базовом элементе, определение и измерение относительной ориентации между траекторией функциональной точки линейного перемещения компонента, а также:
a) функциональными поверхностями (суппортом, салазками);
b) прямой линией (осевой средней линией или линией пересечения плоскостей);
c) траекторией функциональной точки на другом линейно перемещаемом компоненте.
Этой цели достигают посредством взаимосвязи соответствующей базовой прямой линии с траекторией линейного перемещения и базовой прямой линии или базовой плоскости с базовым элементом. Таким образом, в новые определения погрешностей перпендикулярности и параллельности, относящиеся к оси перемещения, не включены определения отклонений от прямолинейности и плоскостности (вопреки определениям, содержащимся в предыдущем издании ISO 230).
В определениях погрешностей параллельности, относящихся к осям линейного и вращательного перемещения, термин "параллельность" представлен как свойство двух прямых линий, имеющих один и тот же угол наклона к абсциссе общей плоскости координат (вопреки определениям, содержащимся в предыдущем издании ISO 230).
В определениях погрешностей перпендикулярности, относящихся к осям линейного и вращательного перемещения, термин "перпендикулярность" приведен как свойство двух прямых линий, угол между которыми составляет 90° (вопреки определениям, содержащимся в предыдущем издании ISO 230).
Параметры погрешностей ориентации осей координат обозначают следующими записями: первый знак после буквы "
E" характеризует наименование оси, соответствующей направлению отклонения; второй знак, цифра "0", связан с выбранной стандартной (базовой) осью; третий знак означает наименование соответствующей оси координат (см.
приложение A).
Пример 1 - Погрешность перпендикулярности оси Z относительно оси X обозначается "EB(0X)z"; если X является первой или второй осью, запись можно упростить - EB0Z.
Пример 2 - Погрешность параллельности оси Z относительно оси W (в плоскости ZX) обозначается "EB(0W)Z".
Примечание - Фактическая траектория перемещаемого компонента, которому задано перемещение по номинально прямолинейной траектории, не является прямой линией. Выборочный контроль фактической траектории и ее предельные показатели установлены измерениями. Погрешности параллельности и перпендикулярности, относящиеся к перемещению линейных осей и осей вращения, определены с учетом угловой зависимости между стандартной прямой линией и измеренными отклонениями фактических траекторий.
Эти определения не следует путать с определениями погрешностей параллельности и перпендикулярности компонентов и функциональных поверхностей станка, приведенными в
3.9, где определения указанных параметров полностью согласованы с определениями в международных стандартах (например, ISO 1101).
3.6.2
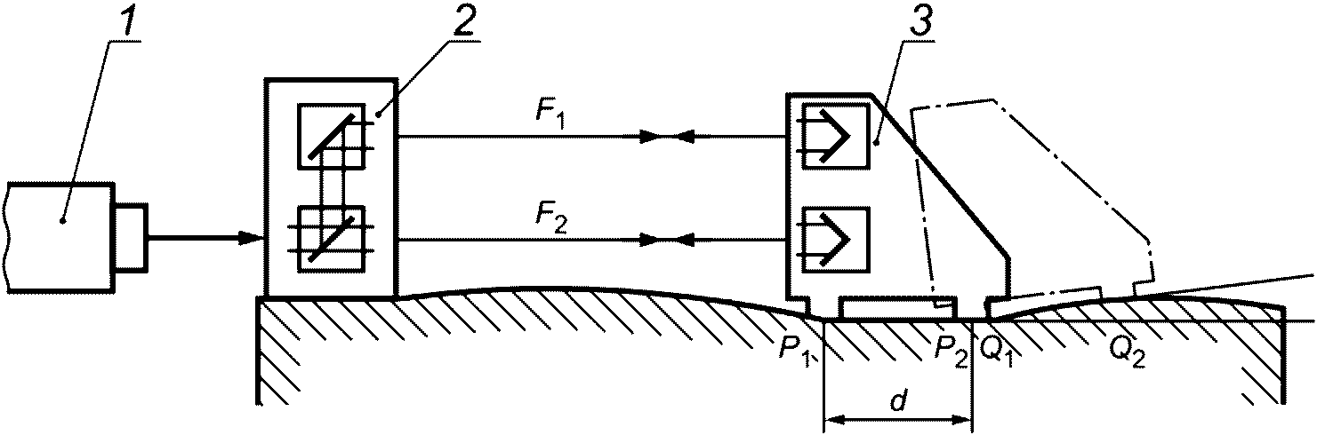
погрешность параллельности между двумя осями линейного перемещения (parallelism error between two axes of linear motion): Угол между направлением базовой прямой линии траектории функциональной точки линейно перемещающегося компонента и другим линейным (заданным) компонентом, измеренный в двух взаимно перпендикулярных плоскостях.
Примечание 1 - Положительный знак угла наклона следует правилу "правой руки" для осей вращения.
Примечание 2 - Погрешность параллельности имеет положительный знак, если разность между наклоном базовой прямой линии и наклоном линии, связанной с базой отсчета, стремится к положительному результату. Знак погрешности параллельности меняется на обратный, если стандартная ось и ось испытуемого образца меняются местами. Например, погрешность параллельности между осью Z (базовой) и осью W (осью образца) имеет знак, противоположный погрешности параллельности между осью W (базовой осью) и осью Z (осью образца).
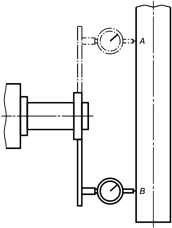
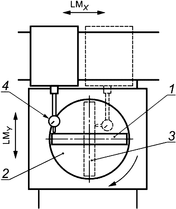
Примечание 3 - Отклонения от прямолинейности базовой оси и оси образца измеряют относительно общепринятого физического эталона прямолинейности. Для каждой из двух плоскостей координат погрешность параллельности между осями W и Z обычно измеряют при помощи датчика линейного перемещения, установленного на корпусе бабки шпинделя и выполняющего измерения в (стационарных) точках на плоскости стола, в то время как осям W и Z задано одновременное перемещение в противоположных направлениях. Угол наклона базовой прямой линии в совокупности с зарегистрированными показаниями датчика дает представление о погрешности параллельности.

, (1)

. (2)
Примечание 5 - Оценка погрешности параллельности, измеренной через короткие отрезки длины, может стремиться к незначительности.
1 - базовая прямая линия, связанная с EXZ; 2 - наклон
базовой прямой линии, связанной с EXZ;
угол наклона

(положительное значение, как показано
на рисунке); 3 - базовая прямая линия, связанная с EXW;
4 - наклон базовой прямой линии, связанной с EXW;
угол наклона

(положительное значение, как
показано на рисунке); 5 - базовая прямая линия, связанная
с EYZ; 6 - наклон базовой прямой линии, связанной с EYZ;
угол наклона

(отрицательное значение, как показано);
7 - базовая прямая линия, связанная с EYW; 8 - наклон
базовой прямой линии, связанной с
EYW; угол

(положительное
значение, как показано на рисунке); EXZ - отклонение
от прямолинейности оси Z, измеренное в плоскости ZX
по отношению к эталону физической прямолинейности, соосному
с осью W; EXW - отклонение от прямолинейности оси W,
измеренное в плоскости ZX по отношению к эталону физической
прямолинейности; EYZ - отклонение от прямолинейности оси Z,
измеренное в плоскости YZ по отношению к эталону физической
прямолинейности, соосному с осью W
Рисунок 17 - Пример погрешностей параллельности
между осями Z и W в плоскостях ZX и YZ
3.6.3
погрешность параллельности между двумя осями вращения (parallelism error between two axes of rotation): Угол между направлением средней осевой линии вращающегося компонента и средней осевой линией другого вращающегося компонента (образца), рассчитанный в двух взаимно перпендикулярных плоскостях.
Примечание 1 - Общепринятым эталоном для определения отклонений является положительное направление главной оси станка, связанной с осями вращения.
Примечание 2 - Погрешность параллельности имеет положительный знак, если разность между наклоном базовой прямой линии (оси шпинделя на
рисунке 18) и наклоном линии, связанной с базой отсчета (оси C на
рисунке 18), стремится к положительному результату.

, (3)

. (4)
1 - средняя осевая линия оси C; 2 - средняя осевая линия оси
C1; 3 - наклон средней линии оси C в плоскости YZ; угол
наклона

(положительное значение);
4 - наклон средней
линии оси
C1 в плоскости YZ; угол наклона

(отрицательное
значение); 5 - наклон средней линии оси C в плоскости ZX;
угол наклона

(отрицательное значение);
6 - наклон средней
линии оси
C1 в плоскости ZX; угол наклона

(отрицательное
значение); +C1 - ось шпинделя (базовая прямая линия);
+C - поворотный стол (базовая ось); +Z - общая база
для оценки угла наклона
Рисунок 18 - Пример погрешности параллельности
между осью C и осью шпинделя станка
3.6.4
погрешность параллельности между осью линейного перемещения и осью вращения (parallelism error between an axis of linear motion and an axis of rotation): Оцениваемый в двух взаимно перпендикулярных плоскостях угол между направлением средней осевой линии траектории функциональной точки линейно перемещающегося компонента и средней осевой линией вращающегося компонента (образца).
3.6.5
погрешность параллельности между осью линейного перемещения и обрабатываемой поверхностью (parallelism error between an axis of linear motion and a surface): Угол между направлением базовой прямой линии траектории функциональной точки линейно перемещающегося компонента и заданной функциональной поверхностью станка.
Примечание - Общей базой для определения углов наклона является положительное направление главной оси станка.
3.6.6
погрешность параллельности между осью вращения и обрабатываемой поверхностью (parallelism error between an axis of rotation and a surface): Угол между направлением средней осевой линии вращающегося компонента и базовой плоскостью, ассоциированной с функциональной поверхностью станка.
Примечание - Общей рекомендацией для определения углов наклона является положительное направление углов, обычно ассоциируемое с главной осью станка.
3.6.7
погрешность перпендикулярности между двумя осями линейного перемещения (squareness error between two axis of linear motion): Разность между углом наклона базовой прямой линии траектории функциональной точки линейно перемещающегося компонента относительно соответствующей главной оси линейного перемещения и углом наклона базовой прямой линии траектории функциональной точки другого линейно перемещающегося компонента относительно соответствующей главной оси его линейного перемещения.
Примечание 1 - Это определение в корне отличается от определения погрешности перпендикулярности между двумя функциональными линиями.
Примечание 2 - Положительное значение погрешности перпендикулярности соответствует положительному значению углового отклонения в направлении базовой оси относительно оси образца, подчиняющегося правилу "правой руки" для поворотов, описанному в ISO 841. Знак погрешности перпендикулярности меняется на обратный, если базовая ось и ось образца меняются местами. Например, погрешность перпендикулярности между осью X (базовой) и осью Y (осью образца) меняет знак на противоположный, если базовой становится ось Y, а ось X - осью образца. Во избежание путаницы погрешность перпендикулярности можно сопровождать дополнительными текстами, такими как "более 90°" и "менее 90°".

. (5)
Примечание 4 - Оценка погрешности перпендикулярности на малой длине стремится к незначительности.
1 - базовая прямая линия для определения погрешности EXZ;
2 -
EXZ, наклон базовой прямой линии; угол

(положительное значение); 3 - базовая прямая линия,
связанная с EZX; 4 - EZX, наклон базовой прямой
линии; угол

(отрицательное значение)
Рисунок 19 - Пример погрешности перпендикулярности
между осями X и Z линейного перемещения
3.6.8
погрешность перпендикулярности между осью линейного перемещения и средней осевой линией (squareness error between an axis of linear motion and axis average line): Угловое отклонение от 90° между базовой прямой линией траектории точки на линейно перемещающемся компоненте и средней осевой линией вращающегося компонента станка.
Примечание - Положительное направление, относящееся к оси вращения, принимается за положительное направление линейного перемещения согласно правилу "правой руки" по ISO 841.
3.6.9
погрешность перпендикулярности между двумя средними осевыми линиями (squareness error between axis average lines): Угловое отклонение от 90° между средней осевой линией определенного вращающегося компонента станка и средней осевой линией связанного с ним другого вращающегося компонента этого станка.
3.7 Термины для других видов взаиморасположения между средними осевыми линиями
3.7.1
сдвиг между двумя средними осевыми линиями (offset between two axis average lines): Измеренное в радиальном направлении расстояние между двумя номинально параллельными средними осевыми линиями в определенной точке направления этой оси.
3.7.2
погрешность соосности средних осевых линий (coaxiality error of axis average lines): Сдвиг в определенном положении и под определенным углом между двумя номинально коаксиальными средними осевыми линиями, оцениваемый в двух взаимно перпендикулярных плоскостях (см.
рисунок 20).
Примечание 1 - В этом определении рассмотрен термин "соосность" как свойство двух параллельных прямых линий с нулевым значением сдвига.
Примечание 2 - Погрешность соосности представлена как два отклонения от параллельности в определенной позиции под определенными углами, оцениваемые в двух взаимно перпендикулярных плоскостях.
Примечание 3 - Погрешность соосности измеряют в двух взаимно перпендикулярных плоскостях аналогично измерениям параллельности.
1 - средняя осевая линия 1; 2 - средняя осевая линия 2;
3 - линейное отклонение от соосности, измеренное в одной
плоскости; 4 - угловое отклонение от соосности, измеренное
в одной плоскости; L - интервал, заданный для измерения
отклонений
Рисунок 20 - Пример погрешности соосности средних осевых
линий в одной из двух ортогональных плоскостей
3.7.3
погрешность равноудаленности средних осевых линий (equidistance error of axis average lines): Разность между расстоянием от одной средней осевой линии до определенной плоскости и расстоянием от другой средней осевой линии до той же плоскости.
3.7.4
погрешность пересечения между средними осевыми линиями (error of intersection between axis average lines): Наименьшее фактическое расстояние между двумя номинально пересекающимися средними осевыми линиями (см.
рисунок 21).
Примечание - Проекции двух непересекающихся средних осевых линий дают точку пересечения на симметричной плоскости. Кратчайшим фактическим расстоянием между двумя непересекающимися средними осевыми линиями является диаметр сферы, имеющей центр в упомянутой точке пересечения и касающейся этих двух линий.
1 - средняя осевая линия 1; 2 - средняя осевая линия 2;
3 - симметричная плоскость; 4 - проекция средней осевой
линии 1 на симметричную плоскость; 5 - проекция средней
осевой линии 2 на симметричную плоскость; 6 - точка
пересечения проекций 4 и 5; d - диаметр сферы, имеющей центр
в точке 6 и касающейся линий 4 и 5, определяющий погрешность
пересечения; диаметр сферы, центрированной на 6
и касательной к двум средним линиям 1 и 2; ошибка
пересечения
Рисунок 21 - Погрешность пересечения
между средними осевыми линиями
3.8 Термины для многоосевого перемещения или кинематических испытаний
3.8.1
синхронное перемещение (synchronous motion): Перемещение заготовки или инструмента вдоль заданной траектории, включающее одновременное перемещение по двум осям или более, координируемое устройством управления станком.
3.8.2
погрешность округлости (circular error): Наименьшее радиальное расстояние между двумя концентрическими окружностями, охватывающими фактическую круговую траекторию, получающуюся в результате синхронного перемещения (см.
рисунок 22).
Примечание 1 - Упоминаемый термин "округлость" может относиться как к зоне минимальных значений отклонений от округлости
(3.8.3), так и к зоне минимальных значений квадратов отклонений от округлости
(3.8.4).
Примечание 2 - Погрешность округлости (circular error) отличается от термина "круглость" (roundness), который относится к элементам и функциональным поверхностям режущего инструмента; термин "круглость" неприемлем для синхронных перемещений.
1 - круговая траектория; 2, 3 - концентрические окружности,
образующие зону минимальных отклонений; 4 - минимальное
радиальное расстояние между 2 и 3: отклонение от округлости
Рисунок 22 - Пример, представляющий отклонение круговой
траектории от округлости
3.8.3
величина зоны наименьших отклонений от округлости (mean minimum zone circle): Среднее арифметическое значение наименьшего радиального расстояния между двумя концентрическими окружностями, ограничивающими фактическую круговую траекторию.
3.8.4
окружность наименьших квадратов величины отклонений от округлости (least squares circle): Соответствующая окружность, охватывающая фактическую круговую траекторию таким образом, что квадрат величины локального отклонения от округлости получается минимальным.
3.8.5
плоскостность (flatness): Свойство плоских поверхностей.
[ISO 12781-1:2011, определение 3.1.1]
3.8.6
поверхность, образуемая двумя линейными перемещениями (surface generated by two linear motion): Образующее воображаемую поверхность множество функциональных точек, получаемых в результате совместного перемещения двух компонентов, которым задано линейное перемещение по номинально плоской поверхности.
Примечание - Выражение "воображаемая поверхность" по смыслу аналогично выражению "плоская поверхность" согласно определению, данному в ISO 12781-1:2011, 3.2.2, и относится к выделенной на этом
рисунке поверхности.
3.8.7
отклонение от плоскостности (flatness deviation): Смещение точки на поверхности, образованной двумя линейными перемещениями, от базовой плоскости, направленное перпендикулярно к ней.
Примечание - Положительный знак отклонения от плоскостности соответствует положительному направлению по определению, данному в ISO 841.
3.8.8
базовая плоскость (reference plane): Плоскость, охватывающая образованную двумя определенным образом согласованными линейными перемещениями поверхность, с которой соотносят параметры плоскостности и отклонение от них (см.
рисунок 23).
1 - функциональная точка; 2 - базовая плоскость;
3 - траектория функциональной точки; 4 - локальное
отклонение от плоскостности
Рисунок 23 - Плоскость, определяемая двумя линейными
перемещениями
3.8.9
величина зоны наименьших отклонений от плоскостности (mean minimum zone reference plane): Средняя арифметическая величина, представляющая собой наименьшее расстояние между двумя параллельными плоскостями, заключающими между собой воображаемую поверхность, образованную двумя линейными перемещениями (см.
рисунок 24).
1 - верхняя базовая плоскость зоны наименьших отклонений
от плоскостности; 2 - зона наименьших значений отклонений
от плоскостности; 3 - нижняя базовая плоскость зоны
наименьших отклонений от плоскостности; d - наименьшее
расстояние между верхней и нижней базовыми плоскостями
Рисунок 24 - Базовые плоскости, охватывающие зону
минимальных отклонений от плоскостности
3.8.10
базовая плоскость зоны наименьших квадратов (least squares zone reference plane): Плоскость, в которой сумма квадратов отклонений от плоскостности минимальная.
3.8.11
отклонение от плоскостности поверхности, определяемой двумя линейными перемещениями (flatness error of a surface defined by two linear motions): Величина наибольшего положительного отклонения от плоскостности, прибавленная к абсолютному значению наибольшего отрицательного отклонения от плоскостности (по отношению к предварительно определенной любой базовой поверхности).
Примечание - Наименьшее отклонение от плоскостности определяется с использованием зоны минимальных отклонений, расположенной между двумя базовыми плоскостями.
3.8.12
объемная точность для трех линейных осей VXYZ (volumetric accuracy for three linear axes): Максимальный диапазон относительных отклонений между фактическим и идеальным положениями на осях
X,
Y и
Z и отклонений направлений как осей координат, так и осей вращения
A,
B и
C для перемещений в направлениях осей
X,
Y и
Z в пределах объема, в котором также имеют место относительные отклонения между той стороной заготовки и той стороной режущего инструмента, оси которых первоначально были коаксиальными (см.
рисунок 25).
1 - отклонение в направлении оси X; 2 - отклонение
в направлении оси Y; 3 - отклонение в направлении оси Z;
4 - отклонение в направлении оси A; 5 - отклонение
в направлении оси B; 6 - отклонение в направлении оси C;
AP - фактическая позиция; SP - исходная позиция;
TP - заданная позиция
Рисунок 25 - Отклонения от заданной позиции
Имеют место шесть состояний для объемной точности VXYZ: по одному для каждого диапазона поступательного и для каждого диапазона вращательного перемещения.
Обозначения максимальных относительных отклонений оси |
Объемная точность | Ось | Объемная точность | Ось |
VXYZ,X | X | VXYZ,A | A |
VXYZ,Y | Y | VXYZ,B | B |
VXYZ,Z | Z | VXYZ,C | C |
Использована измерительная система координат для установления следующих параметров:
- смещение (сдвиг) инструмента по осям X, Y, Z;
- относительный объем: X·Y·Z;
- объем, установленный в средней позиции осей X, Y, Z;
Примечание - Хотя вращающиеся оси перемещения также оказывают некоторое влияние на объемную точность станка, для упрощения в настоящем стандарте они не представлены.
3.8.13 Объемные характеристики
Способность металлорежущего станка выполнять предназначенные функции по многим осям в полном или в меньшем объеме обработки по согласованию с производителем/поставщиком.
3.9 Термины для геометрической точности функциональных поверхностей станка, компонентов режущего инструмента и испытуемого образца
3.9.1 общие положения (general): Функциональными поверхностями станка являются его действующие компоненты. Термины и определения, относящиеся к их геометрической точности, установлены исходя из допусков, данных в ISO 1101.
Термины и определения "прямолинейности"
(3.4.11), "базовой прямой линии"
(3.4.12), "плоскостности"
(3.8.5) и "базовой плоскости"
(3.8.8) применимы также к компонентам.
Термины и определения для погрешностей параллельности и перпендикулярности между функциональными поверхностями принципиально отличаются от аналогичных терминов и определений, относящихся к перемещению осей.
3.9.2
погрешность прямолинейности функциональной линии на плоскости (straightness error of a functional): Наименьшее расстояние между двумя прямыми линиями, параллельными главному направлению именно той линии, которая включает все измеряемые точки базовой линии.
| | ИС МЕГАНОРМ: примечание. В официальном тексте документа, видимо, допущены опечатки: имеются в виду п.п. 3.4.13, 3.4.15 и 3.4.14, а не 3.4.9, 3.4.11 и 3.4.10 соответственно. | |
Примечание 1 - Главное направление базовой прямой линии определяют таким образом, чтобы минимизировать отклонения от прямолинейности [см. "зона минимальных значений отклонений от прямолинейности"
(3.4.9)]. Ее можно также условно определить либо как одну из двух подходящих точек вблизи концов проверяемой линии [см. "конечная точка базовой прямой линии"
(3.4.11)], либо как прямую линию, образуемую множеством точек [см. "базовая прямая линия наименьших квадратов"
(3.4.10)].
Примечание 2 - Погрешность прямолинейности линии в пространстве определена как погрешность прямолинейности ее проекций в двух ортогональных плоскостях.
3.9.3
погрешность параллельности между функциональной линией и плоскостью (parallelism error between a functional line and a plane): Наименьшее расстояние между двумя прямыми линиями, параллельными базовой плоскости
(3.8.8), относящейся к той функциональной плоскости, которая включает все точки измерения на упомянутой линии.
Примечание - Согласно этому определению погрешность параллельности включает упомянутые отклонения от прямолинейности и принципиально отличается от погрешности параллельности между осью линейного перемещения и поверхностью
(3.6.5).
3.9.4
погрешность параллельности между двумя функциональными плоскостями (parallelism error between two functional planes): Наименьшее расстояние между двумя плоскостями, параллельными базовой плоскости, которая относится к функциональной плоскости, включающей все точки измерения.
Примечание 1 - Согласно данному определению погрешность параллельности включает отклонение от плоскостности упомянутой функциональной плоскости.
Примечание 2 - Согласно данному определению погрешность параллельности включает отклонение от плоскостности упомянутой функциональной плоскости (см.
рисунок 26).
1 и 2 - плоскости, параллельные базовой плоскости;
a - базовая плоскость, относящаяся к функциональной
плоскости; n, m - точки измерения; d - минимальное
расстояние = погрешность параллельности
Рисунок 26 - Погрешность параллельности
между двумя функциональными плоскостями
3.9.5
погрешность перпендикулярности между двумя функциональными линиями (perpendicularity error between two functional lines): Наименьшее расстояние между двумя параллельными плоскостями, перпендикулярными к базовой прямой линии
(3.4.8), связанной с линией, которая включает все точки измерения упомянутой функциональной линии.
Примечание 1 - Базовой линией может также быть средняя осевая линия вращающегося компонента или прямая линия, пересекающая обе упомянутые плоскости.
Примечание 2 - Согласно данному определению погрешность перпендикулярности включает отклонение упомянутой линии от прямолинейности и принципиально отличается от погрешности перпендикулярности между линейными перемещениями двух осей.
1 и 2 - плоскости, перпендикулярные базовой линии;
a - базовая прямая линия; n, m - точки измерения
на функциональной линии; d - минимальное
расстояние = погрешность перпендикулярности
Рисунок 27 - Погрешность перпендикулярности
между двумя функциональными линиями
3.9.6
погрешность перпендикулярности между двумя функциональными плоскостями (perpendicularity error between two functional planes): Наименьшее расстояние между двумя параллельными плоскостями, перпендикулярными базовой плоскости
(3.8.8), связанной с (данной) плоскостью, которая включает все точки измерения упомянутой функциональной плоскости.
Примечание - Согласно данному определению погрешность перпендикулярности включает отклонение упомянутой плоскости от плоскостности.
1, 2 - плоскости, перпендикулярные базовой плоскости
и параллельные друг другу; a - заданная базовая плоскость;
n, m - точки измерения на упомянутой функциональной
плоскости; d - минимальное расстояние = погрешность
перпендикулярности
Рисунок 28 - Погрешность перпендикулярности
между двумя функциональными плоскостями
3.9.7
биение функциональной поверхности на заданном отрезке (run-out of a functional surface at a given section): Общее смещение функциональной плоскости, измеряемое при помощи датчика перемещений, неподвижно закрепленного напротив перемещаемой поверхности или, наоборот, перемещающегося относительно неподвижной поверхности.
Примечание 1 - Радиальное биение оси в заданной точке представляет собой ее удвоенное радиальное смещение (выбег) в этой точке (см.
рисунок 14) при условии, что не принимается в расчет ни отклонение от округлости, ни радиальная погрешность перемещения.
Примечание 2 - В основном измеренное биение является результатом:
a) радиального эксцентриситета оси в данной точке измерения
(3.5.10);
b) отклонения от округлости испытуемого компонента;
c) радиальной погрешности перемещения оси вращения.
Примечание 3 - При геометрическом испытании станка радиальное смещение определенной оси измеряют путем наблюдения смещения компонента, перемещаемого по этой оси. Во избежание разногласий персонала в оценке испытаний станка, а также для исключения какого-либо риска ошибки в настоящем стандарте использован только термин "смещение (выбег)"; указанные допуски могут быть систематически применимыми к таким смещениям, для которых показания различных измерительных инструментов не отличаются друг от друга. В предлагаемых методах измерения это примечание учтено.
Примечание 4 - Посредством роликовых подшипников валы и их кожухи один раз поворачивают на два или более оборотов, и это перемещение несколько раз циклически повторяют для определения биения вала. Для учета всех изменений биение вала измеряют по нескольким (не менее двух) поворотам (см. ISO 230-7:2006, 5.4 и 5.5).
Примечание 5 - С точки зрения метрологии ось опоры цилиндрической или конической поверхности должна в точности совпадать с осью вращения, т.е. быть соосной с ней; результат измерения на заданной длине (после установки, при необходимости, на данной опоре оправки для измерительного инструмента) не исключает превышения заданного значения.
3.9.8
погрешность плоскостности функциональной поверхности (flatness error of a functional surface): Наименьшее расстояние между двумя плоскостями, параллельными главному направлению той плоскости, которая включает все точки измерения и находится от двух указанных плоскостей на минимальном удалении.
Примечание - В качестве основного направления базовой или функциональной плоскости (см.
3.8.8) условно определяют направление, минимизирующее погрешность плоскостности, а именно при помощи:
- трех условно выбранных точек на контролируемой плоскости (обычно на частях вблизи кромки, имеющей незначительные дефекты, которыми можно пренебречь);
- плоскости, рассчитанной по точкам методом наименьших квадратов (см.
3.8.11);
- базовой плоскости зоны минимальных значений.
3.9.9
коаксиальная погрешность функционального цилиндра относительно базовой прямой линии (coaxiality error of a functional cylinder to a datum straight line): Удвоенное максимальное радиальное расстояние между средней осевой линией функционального цилиндра и базовой прямой линией, рассчитанное на определенной длине измерения.
Примечание - Типичным функциональным цилиндром является полый вал, типичной базовой прямой линией - ось связанного с этим валом шпинделя.
Допуски идентифицируют допустимые погрешности характеристик металлорежущего станка и геометрической точности параметров, подлежащих расчету и определению в соответствии с функциональными требованиями. При установлении допуска учитывают требования производства, сборки и контроля.
Допуски выражаются в единицах измерения, соответствующих характеристикам, измеряемым в процессе испытания.
4.1.1 Правила, касающиеся допусков и зон соответствия
При определении допуска и оценке его соответствия уже установленным допускам принимают во внимание погрешность измерения (см.
5 и
6.3). Зоны соответствия и несоответствия определяют согласно правилам, приведенным в ISO 14253-1 [см.
рисунок 29 a) и
b)].
1 - зона соответствия; 2 - зона несоответствия; T1 - зона
одностороннего допуска, т.е. EZX прямолинейности 0,012 мм;
T2 - зона двустороннего допуска, т.е. (100 мм +/- 0,006) мм;
U - погрешность измерения
Рисунок 29 - Определение зон соответствия и несоответствия
для односторонних и двусторонних допусков
Пример - Допуск биения - x, мм.
Погрешность измерения - y, мм.
Максимально допустимое различие в показаниях прибора в процессе испытания - x - y, мм (зона соответствия).
Другие способы определения зоны соответствия являются предметом соглашения между партнерами (поставщиком/производителем и пользователем).
Если определение геометрической точности параметров проведено неоднократно, рассчитывают среднее арифметическое значение этих параметров. Таким образом, разброс результатов таких измерений компенсирует неточность самих измерений.
4.1.2 Установленные пределы измерения
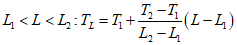
Для всех испытаний, описанных в настоящем стандарте, если пределы измерения не установлены иным способом, в качестве допусков указывают максимально допустимые величины для параметров, определение пределов которых является целью соответствующего вида измерения (измерения длины - для контроля прямолинейности, объема - для контроля объемной точности, диапазона прилагаемых усилий - для контроля упругой деформации и гистерезиса и т.д.).
Если допуск установлен для заданного предела, допуск для иного предела, сопоставимого с первым, определяют по правилу пропорции. Например, если допуск
T1 установлен для длины измерения
L1, а

допуск
T2 - для длины измерения
L2, то допуск
TL для длины измерения между
L1 и
L2 можно определить по правилу пропорции:
L <= L1 : TL = T1; (6)

; (7)
L <= L2 : TL = T2. (8)
Для длины измерения, существенно отличающейся от установленной (например, имеющаяся в распоряжении длина 30 мм вместо установленных 300 мм), правило пропорции неприменимо.
4.1.3 Локальные допуски
Допуски применимы к результатам измерений по всему диапазону измерений при отсутствии определенных условий.
Локальные допуски устанавливают, ссылаясь на частичные измерения предельных значений. Не допускается определение локальных допусков путем простого применения правила пропорции. Определение локальных допусков должно учитывать функциональные требования и требования контроля, связанные с испытуемыми характеристиками и компонентами.
Для установления локальной погрешности прямолинейности линейного перемещения осей применяют непосредственно определение
3.4.10, но базовую прямую линию рассчитывают для локальной длины измерения (см.
рисунок 30).
1 - общая погрешность прямолинейности; 2 - локальная длина
измерения; 3 - локальная погрешность прямолинейности;
4 - конечные точки базовой прямой линии, с которой
связаны результаты измерения локальной
прямолинейности; M, N - конечные точки базовой прямой
линии, с которой связаны измерения
прямолинейности, проводимые на всей длине измерения
Рисунок 30 - Локальная погрешность прямолинейности
Дополнительное внимание обращают на точное определение локальных допусков для погрешностей параллельности и перпендикулярности между линейными перемещениями осей.
Погрешность параллельности и перпендикулярности между линейными перемещениями осей касается углового соотношения между базовой прямой линией, связанной с траекторией проверяемой оси, и траекторией данной оси. При определении путем испытаний локальных погрешностей параллельности и перпендикулярности четко устанавливают, рассчитывается ли базовая прямая линия, связанная с траекторией проверяемой оси, по результатам измерения на всей длине этой траектории или по результатам локальных измерений на траектории упомянутой оси (см.
рисунки 31 -
33).
1 - базовая прямая линия, связанная с измерением EXZ на всей
траектории оси Z; 2 - наклон базовой прямой линии 1;

- угол наклона в точках
Z1,
ZX (положительное значение);
3 - базовая прямая линия, связанная с измерением EXW;
4 - наклон базовой прямой линии 3;

- угол наклона
(положительное значение); 5 - базовая прямая линия,
связанная с измерением EXZ на длине измерения LZ, начиная
с
Z1;
6 - наклон базовой прямой линии 5;

- угол наклона
(отрицательное значение, как показано на рисунке);
EXZ - измеренное в плоскости ZX отклонение
от прямолинейности оси Z относительно физической базовой
прямой линии, соосной с осью W; EXW - измеренное в плоскости
ZX отклонение от прямолинейности оси W относительно
физической базовой прямой линии, соосной с осью W;
LZ - локальная длина измерения на оси Z
Примечание - Локальная погрешность параллельности:

.
Рисунок 31 - Расчет локальной погрешности параллельности
оси Z относительно базовой оси W на всей ее траектории
1 - базовая прямая линия, связанная с измерением EXZ на всей
траектории оси Z; 2 - наклон базовой прямой линии 1;

- угол наклона (положительное значение);
3 - базовая
прямая линия, связанная с измерением EXW; 4 - наклон базовой
прямой линии
3;

- угол наклона (положительное значение);
5 - базовая прямая линия, связанная с измерением EXZ
на длине измерения LZ, начиная с Z1; 6 - наклон базовой
прямой линии
5;

- угол наклона (отрицательное значение);
7 - базовая прямая линия, связанная с измерением EXW
на длине измерения LW, начиная с W1; 8 - наклон базовой
прямой линии
7;

- угол наклона (отрицательное значение);
EXZ - измеренное в плоскости ZX отклонение
от прямолинейности оси Z относительно физической базовой
прямой линии, соосной с осью W; EXW - измеренное в плоскости
ZX отклонение от прямолинейности оси W относительно
физической базовой прямой линии, соосной с осью W;
LW - локальная длина измерения на оси W; LZ - локальная
длина измерения на оси Z
Примечание - Локальная погрешность параллельности:

.
Рисунок 32 - Расчет локальной погрешности параллельности
оси Z относительно базовой оси W на локальном отрезке ее
траектории
Рисунок 33 - Расчет локальной погрешности
перпендикулярности между осями линейного перемещения
Технические требования к локальным допускам на погрешности параллельности и перпендикулярности между двумя осями линейного перемещения определяют на коротких отрезках длины измерения, по возможности стремящимся к незначительности. Результаты таких измерений могут оказаться значительно

, чем получаемые при измерениях на реально используемых длинах.
Пример - Установление допусков на погрешности прямолинейности, параллельности и перпендикулярности может производиться по следующим трем альтернативным вариантам, связанным для упрощения с определением погрешности параллельности базовой оси Z и проверяемой оси W:
a) никаких установлений локальных допусков.
Погрешность параллельности оси Z относительно оси W на всем протяжении хода оси W (соответствует линиям 1 и 3 на рисунке 31);
b) установление только локальных допусков для оси Z.
Погрешность параллельности оси Z относительно оси W для каждого отрезка длиной 300 мм, полная длина хода оси W; локальная длина измерения для оси Z равна 300 мм; расчет максимальной разности показаний на протяжении каждого отрезка оси Z (соответствует линиям 5 и 3 на рисунке 31, тогда как для расчета принимается, что Z1 изменяется от 0 до "минус 300 мм");
c) Установление локальных допусков как для оси Z, так и для оси W.
Погрешность параллельности оси Z относительно оси W для каждого отрезка длиной 300 мм обеих указанных осей; локальная длина измерения для обеих осей равна 300 мм; расчет максимальной разности показаний на всех возможных отрезках осей Z и W (соответствует линиям 1 и 7 на рисунке 32, тогда как для расчета принимается, что Z1 и W1 изменяются от 0 до "минус 300 мм").
Установление локальных допусков в первую очередь отражает функциональные требования, но по усмотрению может быть использовано для практического испытания станка.
4.1.4 Полные или суммарные допуски
Во многих случаях полные допуски используют для ограничения геометрического параметра, являющегося результатом воздействия некоторых геометрических погрешностей. Такой параметр определяют при помощи простого измерения, без индивидуального распознавания или измерения каждой погрешности.
Пример - За биение шпинделя следует принимать сумму погрешностей: его округлости в плоскости ab, которой касается щуп измерительного прибора, соосности между геометрической осью и осью вращения шпинделя, радиального смещения оси вращения шпинделя в плоскости ab (см. рисунок 34).
1 - средняя осевая линия; 2 - геометрическая ось шпинделя;
ab - плоскость измерения; OT - полный допуск (биения)
Рисунок 34 - Полный допуск на биение вращающегося шпинделя
4.2 Допуски, применимые к функциональным поверхностям металлорежущего станка, его компонентам и к опытным образцам
ISO 1101 является базовым стандартом для допусков, применимых к характеристикам компонентов станка и обрабатываемой заготовки. Подобный стандарт применяют также для технического описания и испытания функциональных поверхностей станка.
4.3 Дополнительные ограничительные условия, связанные с допусками
Особые функциональные требования, такие как требования к сборке и контролю, рассматривают как дополнительные ограничительные условия к установлению допусков на заданные геометрические характеристики или параметры точности. Такие дополнительные условия ограничения определяют четким текстом. В
таблице 1 приведен перечень таких условий, не являющийся исчерпывающим.
Таблица 1
Примеры дополнительных ограничительных
условий, относящихся к допускам
Геометрические характеристики или параметры точности | Ссылка на определение | Дополнительные условия ограничения для соответствующих допусков |
Параллельность перемещения | | Как правило, направление погрешности не важно, однако если погрешность допустима только в одном направлении, то это направление следует указать |
Перпендикулярность, включая оси линейного перемещения и/или ось вращения средних линий | | Если перпендикулярность допустима только в одном направлении, то это направление следует указать, например угол более 90° |
Пересечение между средними осевыми линиями | | Если одна из этих линий считается базовой осью, то допуск должен иметь дополнительное определение, например, средняя осевая линия 1 должна быть выше, чем линия 2 (во фронтальной проекции) |
Равноудаленность средних осевых линий | | Если разность допустима только в одном направлении, то это направление следует определить, например, средняя осевая линия 1 должна быть выше, чем линия 2 |
Соосность средних осевых линий | | В особых случаях дополнительное указание должно быть дано в зависимости от условий обработки, например: - средняя осевая линия 1 должна быть только выше, чем линия 2; - свободный конец средней осевой линии 1 должен быть направлен только наружу относительно линии 2 |
Прямолинейность и/или плоскостность функциональной поверхности | ISO 1101 | Необходимо определить, где применимы дополнительные требования, например на выпуклой или вогнутой поверхности (относительно стороны материала) |
5 Погрешность измерений, методов контроля и измерительных инструментов
Погрешность измерения учитывают при определении допусков и при оценке соответствия с установленными допусками.
В отчете о результатах измерения указывают количественные показатели качества, чтобы обеспечивать возможность их сравнения как между собой, так и с установленными величинами. Такие показатели оценивают и выражают как погрешности измерения.
ISO/IEC, Руководство 98-3 содержит признанные международные процедуры для оценки и выражения погрешности измерения.
ISO/TR 230-9 обеспечивает практической информацией по расчету погрешности измерения металлорежущих станков в соответствии с сериями, включенными в ISO 230.
ISO 14253-2 вводит процедуры для менеджмента погрешности (PUMA). Другая практическая информация приведена в
[7] -
[9].
Принимают во внимание, что упрощенные испытания в целях проверки не требуют подготовки формального подтверждения погрешности измерения. Тем не менее действенные практические предложения позволяют сделать полный перечень погрешностей доступным для большинства общих измерений (прямолинейности, перпендикулярности, точности и повторяемости позиционирования осей под числовым управлением и т.д.) с использованием имеющихся в наличии процедур контроля и измерительных систем.
Надлежащее определение объекта измерения совершенно необходимо. Никакое измерение не может быть выполнено без четкого понимания, что нужно измерять и при каких условиях.
В качестве основных составляющих измерения погрешности принимают:
a) измерение погрешности измерительного устройства;
b) калибровку погрешности и отклонений воздействий, связанных с условиями испытаний;
c) применение измерительных устройств и воздействий, таких как нарушение соосности и центровки измерительных устройств, и других воздействий, относящихся к осям металлорежущего станка;
d) ошибки из-за изменения условий окружающей среды;
e) повторяемость измерений, включая наладку/настройку.
Необходимо сделать следующие предположения:
- измерительные устройства и объекты измерения используют в соответствии с руководящими указаниями поставщика/производителя оборудования;
- измерительные устройства и объекты измерения устанавливают неподвижно и жестко, без гистерезиса (см.
6.3.2);
- компоненты станка, несущие на себе оборудование, представляют собой жесткие тела;
- если эти положения невыполнимы, учитывают и документируют дополнительные компоненты для измерения погрешности;
- для любого измерения рассчитывают по уравнению (1) [см. ISO/TR 230-9:2005] комбинированную стандартную погрешность и погрешность измерения U; устанавливают фактор охвата k2 по уравнению (3) [ISO/TR 230-9:2005];
- геометрические испытания выполняют с использованием измерительных инструментов, стандартных образцов и/или природных эталонов (например, лазерного излучения, гравитации). Стандартными эталонами служат такие объекты, как поверочная линейка и контрольная оправка;
- при испытаниях учитывают погрешность измерения как за счет измерительных инструментов, так и за счет используемого метода измерения;
- измерительные инструменты не могут быть причиной погрешностей, за исключением тех случаев, когда задана верификация составляющих допуска. Подходящим измерительным инструментом для таких испытаний может служить тарировочная карта (таблица). Испытуемые станки и инструментарий защищают от изменений температуры окружающей среды, как и от воздушных потоков и колебаний светового и теплового излучения (солнечного света, излишне закрытых электрических ламп и т.д.), а температуру измерительного инструмента стабилизируют перед измерением;
- заданное измерение повторяют, результат измерения получается вычислением среднего арифметического значения для показаний нескольких измерений. Если результаты таких измерений значительно отличаются друг от друга, причины ищут или в методе измерения, или в измерительном инструменте, или в устройстве самого станка.
Более точные показания приведены в ISO/TR 230-11.
6 Подготовка к испытаниям
6.1 Установка станка перед испытаниями
6.1.1 Общие положения
Станок должен быть полностью собран и готов выполнять все операции в соответствии с инструкциями поставщика/производителя, представленными в письменной форме. До начала испытаний должны быть в наличии документы об удовлетворительных результатах проверок по всем необходимым функциональным операциям и геометрической соосности.
Металлорежущий станок устанавливают на фундаменте, соответствующем соглашению между пользователем и поставщиком/производителем. Геометрические испытания выполняют в окружающей среде с приемлемыми условиями вибрации. Если имеют место проблемы внешней вибрации, характеризующие ее величины (амплитуда и частота), проверяют на соответствие требованиям производителя. Методы испытания на вибрацию установлены в ISO/TR 230-8.
6.1.2 Нивелирование (выверка установки станка)
Целью нивелирования является создание условий для статической стабильности станка, которая облегчает последующие измерения, особенно касающиеся прямолинейности некоторых его компонентов. Однако часто соответствующие методы достижения прямолинейности перемещения не могут быть применены для нивелирования металлорежущего станка. Например, для металлорежущих станков, используемых на судах, нивелировка невозможна, что не мешает им функционировать аналогично стационарным станкам.
6.2 Состояние станка перед испытаниями
6.2.1 Демонтаж отдельных компонентов
Поскольку в принципе испытания выполняют на полностью готовом станке, демонтаж отдельных компонентов осуществляют только в исключительных обстоятельствах в соответствии с инструкцией поставщика/производителя (например, демонтаж стола с целью проверки направляющих).
6.2.2 Температурные условия отдельных компонентов перед испытаниями
Целью испытаний, описываемых в настоящем стандарте, является оценка точности станка в условиях, максимально приближенных к нормальным рабочим условиям в части смазки и разогрева. При проверке геометрических и эксплуатационных параметров таких компонентов, как шпиндель, чувствительных к разогреву, а следовательно, и к изменению положения или формы, следует приводить разогрев до надлежащей температуры на холостом ходу станка в соответствии с условиями эксплуатации и инструкциями поставщика/производителя.
Согласно ISO 1 стандартная температура для промышленных измерений размеров - 20 °C, следовательно, измерительный инструмент и объект измерения должны соответствовать температуре окружающей среды, в которой поддерживается температура 20 °C. Если температура окружающей среды превышает 20 °C, для приведения результата к стандартным температурным условиям (20 °C) делают поправку согласно коэффициентам номинального дифференциального теплового Расширения (NDE) между системой измерения и измеряемым объектом (станком).
Примечание - Особые условия применяют к прецизионным станкам и к некоторым станкам с ЧПУ, на точность которых флуктуации температуры оказывают заметное влияние.
Следует учитывать, намного ли изменяются размеры станков во время нормального рабочего цикла под внешними воздействиями на рабочую температуру. Последовательность предварительного разогрева и температура окружающей среды, в которой должен быть испытан станок, согласуются между поставщиком/производителем и пользователем.
Полезная информация по температуре окружающей среды металлорежущего станка приведена в ISO 230-3:2007, приложение C.
6.2.3 Предварительные проверки
Так как скорость шпинделя и расчетные характеристики подачи могут оказывать влияние на результаты эксплуатационных испытаний и испытания геометрической точности, до проведения испытаний устанавливают соотношение между заданными программой и фактическими величинами таких характеристик.
6.2.4 Условия проведения испытаний
Контроль геометрических параметров (например, контроль плоскостности) проводят или во время остановки станка, или в квазистатических условиях, или на холостом ходу. Однако в особых обстоятельствах по соглашению между поставщиком/производителем и пользователем станка эти испытания проводят на холостом ходу станка с заготовкой определенного веса.
6.3 Оснастка и инструменты для испытаний
6.3.1 Общие положения
Большинство измерений, описываемых в настоящем стандарте, выполняют для определения отклонений перемещения между компонентами станка, держащими заготовку, и компонентами станка, держащими режущий инструмент.
Описываемые приспособления и инструменты рассматривают только в качестве предложения. Можно использовать другие, способные обеспечивать то же качество и имеющие такую же или меньшую погрешность. Все используемые при помощи программного обеспечения компенсации указывают в отчете об испытаниях.
Особое внимание следует посвятить термальной стабилизации инструментов в соответствии с инструкциями поставщика/производителя (см. ISO/TR 230-11).
В состав всех приспособлений для испытаний обычно включают два зажимных устройства: одно устанавливает базовую точку или поверхность, другое удерживает для считывания определенный датчик напротив базовой точки или поверхности.
Базовой точкой может служить калиброванный шарик или отражатель для лазерного или светового луча. Датчиком могут служить дифференциальный преобразователь с линейной характеристикой (LVDT), датчик электрической емкости, датчик завихрений потока, лазерный интерферометр или индикатор с круговой шкалой. Прежде чем приступить к любому измерению, необходимо убедиться в том, что особые приспособления и функции инструментов в точности соответствуют окружающей среде, в которой работает испытуемый станок. Для такой проверки рекомендуются два основных испытания: стабильность и гистерезис оснастки.
6.3.2 Гистерезис оснастки и испытание на "холостом ходу"
Целью указанных испытаний является обнаружение воздействий гистерезиса оснастки и холостого хода на результаты испытаний, которые могут появиться из-за ослабленного болта в испытательном приспособлении, неудовлетворительной прочности конструкции кронштейна и т.д.
Любой гистерезис, связанный с оснасткой, используемой для измерения геометрической точности, обычно рассматривают как недостаток повторяемости результатов измерения, что может быть ошибочно причислено к характеристикам самого станка.
Гистерезис измерительной оснастки определяют путем приложения соответствующего двунаправленного усилия в направлении измерения между двумя зажимными приспособлениями и наблюдения отклонений, полученных в результате. Чувствительность результатов испытания к магнитуде этого усилия в основном незначительная. Диапазон усилий может быть между 20 и 200 Н, в зависимости от используемых приспособлений и разрешающей способности дифференциального преобразователя с линейной характеристикой. Прилагаемые усилия не должны наносить повреждения испытуемому станку или метрологическим приспособлениям. Во избежание возникновения гистерезиса самого станка рекомендуются усилия, не превышающие 40 Н. Необходимость измерять эти усилия отсутствует.
Испытание включает следующие процедуры, которые выполняют в указанном порядке:
a) Настроить и разместить датчик в нулевой точке между двумя фиксированными позициями перемещающихся в двух направлениях осей.
b) Приложить вручную некоторое усилие к зажимным устройствам, фиксирующим базовую точку/поверхность.
c) После приложения усилия постепенно уменьшить его величину до нуля и снять показания смещения датчика.
d) Выполнить процедуру, описанную в
b), в противоположном направлении и снять показания датчика.
e) Разность показаний, полученных в результате выполнения процедур, описанных в
b) -
d), представляет собой гистерезис базовой точки/поверхности.
f) Приложить такое же усилие к зажимному устройству, фиксирующему положение датчика.
g) После приложения этого усилия постепенно уменьшать его величину до нуля и снимать показания смещения датчика.
h) Выполнить процедуры, описанные в
f) и
g), в противоположном направлении.
i) Разность показаний, полученных в результате выполнения процедур, описанных в
f) и
g), представляет собой гистерезис держателя датчика.
j) Арифметическая сумма величины гистерезисов базовой точки/поверхности и держателя датчика представляет собой полный гистерезис настройки для предстоящего испытания.
Стандартной практикой установлено, что гистерезис настройки не должен превышать 10% требуемой повторяемости измерений.
Если измерения дали результат, значительно превышающий указанную величину, и возможность уменьшить его за счет регулировки настройки отсутствует, причиной этого может стать сам станок. В таком случае не стоит продолжать испытания до тех пор, пока не будут исправлены эти условия.
6.3.3 Настройка испытания на стабильность
Металлорежущие станки являются объектом широкого диапазона изменений вибрации как от внутренних, так и от внешних источников. Эти вибрации меняются по частоте и амплитуде в зависимости от времени и места в пределах положений станка и его осей. Характеристики жесткости и демпфирования (амортизации) станка могут исключать воздействие таких вибраций на фактическую работу станка. Однако следствием неудовлетворительной установки испытательного оборудования может стать чувствительность инструмента/метода испытания к вибрации. Настройка испытания на стабильность проектируется таким образом, чтобы удостовериться в том, что установка инструмента не оказывает значительного воздействия на погрешность измерения.
Испытание включает следующие процедуры, которые выполняют в указанном порядке:
a) Устанавливают измерительный инструмент способом, используемым для ходовых испытаний.
b) Позиционируют станок в середине хода для ходовых испытаний.
c) Устанавливают показания датчика на "0" (обнулить) и выбирают выходные данные по скорости (частоте) и времени, равные используемым в испытаниях без хода станка. Диапазон выбранных данных не может превышать 10% допуска конкретного испытания.
7 Испытания станка на статическую упругую деформацию и гистерезис при воздействии внешней силы
Данные испытания предназначены для оценки статической упругой деформации и гистерезиса, когда статическая нагрузка приложена между режущим инструментом и заготовкой или между другими компонентами станка. Они предусматривают упрощенные указания, нежели более строгие методы, используемые для измерения статической упругой деформации. Величина статической упругой деформации меняется в зависимости от положения осей металлорежущего станка и направления приложенного усилия. Эти положения следует записывать на протяжении всего испытания.
Линейную статическую упругую деформацию измеряют вблизи от центра рабочей зоны и для каждого линейного позиционирования оси. Для станков с осями вращения ее измеряют на расстоянии радиуса от средней осевой линии оси вращения (см.
7.4).
Поставщик/производитель определяет максимальную нагрузку и предусматривает подробные инструкции по установке конструкции. Поскольку нагрузки, прилагаемые в данных испытаниях, велики, проектируемые крепления всей конструкции весьма существенны для безопасности персонала и станка.
7.2 Испытания станка на статическую упругую деформацию и гистерезис при воздействии внешней силы
7.2.1 Общие положения
Типовая испытательная установка представлена на
рисунке 35. Линейный привод и динамометрический датчик жестко закреплены между держащей режущий инструмент поверхностью станка (например, шпинделем) и поверхностью, держащей обрабатываемую заготовку (например, столом) в направлении вдоль линейной оси, которая подлежит испытанию. Датчик линейного смещения также устанавливают таким образом, чтобы можно было считывать данные относительного перемещения, вызываемого приводом.
1 - кожух (гнездо) шпинделя; 2 - дифференциальный винт;
3 - динамометрический датчик; 4 - датчик линейного
смещения; 5 - поверхность стола станка
Рисунок 35 - Установка для испытаний станка
на статическую упругую деформацию и гистерезис
Статическую нагрузку можно прикладывать путем использования внешнего линейного привода (см.
рисунок 35). Метод и величина прилагаемых нагрузок могут быть определены машиноориентированными стандартами и должны быть предметом соглашения между пользователем и поставщиком/производителем, так как высокие нагрузки могут повредить сам станок.
7.2.2 Порядок испытаний
При отсутствии других определений оси станка позиционируют приблизительно возле центра его соответствующего рабочего хода, после чего:
a) приводом создают условия нулевого воздействия усилия и ставят на нулевую отметку датчик линейного смещения;
b) приводом доводят испытательную нагрузку до максимального значения (или до допустимого максимального смещения), обозначают это направление как положительное;
c) записывают показания прилагаемого усилия и линейного смещения;
d) запускают привод в противоположном направлении до тех пор, пока величина прилагаемого усилия не упадет до 1% от максимального значения;
e) записывают показания прилагаемого усилия и линейного смещения;
f) продолжают работу привода в том же самом (отрицательном) направлении, пока прилагаемое усилие (или смещение) не достигнет своего максимального (отрицательного) значения;
g) записывают показания прилагаемого усилия и линейного смещения;
h) запускают привод в противоположном (положительном) направлении, пока прилагаемое усилие не снизится до 1% максимального значения (отрицательной предварительной нагрузки);
i) записывают показания прилагаемого усилия и линейного смещения.
7.2.3 Анализ данных
Для осей заключение о соответствии является функцией суммы всего ряда записанных значений смещения, поделенной на сумму всего ряда записанных значений усилий, и выражается в микрометрах на ньютон,

.
Для осей гистерезис станка рассчитывают как выраженный в микрометрах ряд записанных значений смещения между координатами положительного и отрицательного предварительных усилий.
Этот расчет гистерезиса включает упругую деформацию станка в промежутке между приложением + P и - P; таким образом, в итоге возможность переоценки гистерезиса очень мала, т.к. разность между + P и - P составляет всего 1% максимального значения прилагаемого усилия. Тем не менее этот метод предпочтителен для измерения смещений при нулевом значении прилагаемого усилия из-за практических трудностей должного приложения и измерения такого (номинального) нулевого значения усилия. Меньшие предварительные усилия можно прилагать при необходимости и возможности.
Значения, полученные в результате таких расчетов, представлены на
рисунке 36.
F - прилагаемое усилие, Н; - Fmax - наибольшее отрицательное
прилагаемое усилие;
D - смещение,

; +
P - положительная
предварительная нагрузка; Dtot - суммарное измеренное
смещение; - P - отрицательная предварительная
нагрузка; + Fmax - наибольшее положительное прилагаемое
усилие; H - гистерезис
Рисунок 36 - Пример результатов испытаний станка
на статическую упругую деформацию и гистерезис
при воздействии внешнего усилия
7.3 Испытания станка на статическую упругую деформацию и гистерезис при воздействии внутренних сил
7.3.1 Общие положения
Типовая установка для вертикальных осей показана на
рисунке 37. Датчик линейных смещений устанавливают таким образом, чтобы считывать показания относительного перемещения между несущей инструмент поверхностью станка (например, шпинделем) и рабочей поверхностью (например, столом) в направлении оси, подлежащей проверке. Динамометрический датчик ориентируется по той же самой оси станка и жестко закрепляется между столом и шпинделем. Статическое усилие образуется перемещением оси станка. Рекомендуется, чтобы установка обеспечивала функционирование динамометрического датчика как при растяжении, так и при сжатии. Если станок имеет возможность проводить компенсацию зазора, ее следует использовать при проведении таких испытаний. Поскольку высокие нагрузки могут наносить вред испытуемому станку, метод и величина образуемого статического усилия могут быть определены специальным стандартом на станок и должны быть предметом соглашения между пользователем и поставщиком/производителем.

1 - кожух шпинделя; 2 - динамометрический датчик; 3 - датчик
линейного смещения; 4 - поверхность стола станка
Рисунок 37 - Установка для испытания станка на статическую
упругую деформацию и гистерезис при воздействии внутренних
сил, создаваемых перемещением головки (бабки) шпинделя
и действующих в вертикальном направлении
7.3.2 Порядок испытания
Порядок проведения испытаний, описываемых в данном разделе, устраняет все воздействия из-за зазора в контролируемых креплениях или смещения динамометра. Данные, получаемые в результате таких испытаний, как правило, показывают меньшие значения статической упругой деформации станка, чем результаты испытаний при воздействии внешних сил. Эти испытания приведены как единственный альтернативный вариант в тех случаях, когда отсутствует аппаратура для приложения внешних усилий.
При отсутствии других определений оси станка позиционируют приблизительно в центре их предпочтительного рабочего хода. Для этого выполняют следующие шаги:
a) перед началом каждого испытания ставят на "0" указатели приборов;
b) перемещают испытуемую ось станка малыми шагами до тех пор, пока не будет достигнуто максимальное усилие или максимальное отклонение (разность между фактическим и заданным перемещением), определяют это направление как условно положительное;
c) записывают заданное и измеренное индикатором перемещение, а также приложенное усилие;
d) пошагово перемещают испытуемую ось в противоположном (условно отрицательном) направлении до тех пор, пока величина усилия не упадет до 1% максимального значения предварительной положительной нагрузки;
e) записывают заданное и измеренное индикатором перемещение, а также измеренную динамометром величину усилия;
f) продолжают пошаговое перемещение в том же (отрицательном) направлении до тех пор, пока величина усилия (или отклонения) не достигнет максимального значения;
g) записывают заданное и измеренное индикатором перемещение, а также измеренную динамометром величину усилия;
h) пошагово перемещают эту ось в противоположном (условно положительном) направлении до тех пор, пока величина усилия не упадет до 1% максимальной величины (предварительной отрицательной нагрузки);
i) записывают заданное и измеренное индикатором перемещение, а также измеренную динамометром величину усилия.
7.3.3 Анализ полученных данных
Для оценки статической упругой деформации и гистерезиса станка в каждой точке измерения рассчитывают отклонение - разность между фактическим и заданным перемещением. Статическую упругую деформацию станка в направлении испытуемой оси, выраженную в микрометрах на ньютон,

, вычисляют как сумму полного ряда измеренных отклонений, поделенную на сумму полного ряда измеренных усилий.
Гистерезис станка для испытуемой оси, выраженный в микрометрах, рассчитывают как разность суммарного отклонения, измеренного при положительной предварительной нагрузке, и суммарного отклонения, измеренного при отрицательной предварительной нагрузке.
В целом при расчете гистерезиса станка учитывают разность между положительной и отрицательной нагрузками (+ P и - P), но, поскольку в описываемом испытании обе величины составляют 1% максимального значения, возможность переоценки гистерезиса минимальна.
Тем не менее этот метод более предпочтителен по сравнению с методом измерения отклонения при нулевом значении предварительной нагрузки из-за того, что на практике трудно обеспечить измерения при номинально нулевом значении прилагаемого усилия. При необходимости и возможности можно обойтись приложением меньших усилий.
Величины, необходимые для использования в таких расчетах, указаны на
рисунке 38.
F - прилагаемое усилие, Н; Dtot - суммарное измеренное
отклонение;
D - отклонение,

; +
P - предварительная
нагрузка положительная; + Fmax - наибольшее прилагаемое
усилие положительное; - P - предварительная нагрузка,
отрицательная; - Fmax - наибольшее прилагаемое усилие
отрицательное; H - гистерезис
Рисунок 38 - Пример результатов испытания станка
на статическую упругую деформацию и гистерезис
при приложении внутренних усилий
Отклонения в промежуточных точках записывают, как показано на
рисунке 38. Анализ данных дает среднюю величину упругой деформации по всему испытуемому диапазону.
7.4 Испытания для станков с осями вращения
Испытания для станков с осями вращения аналогичны испытаниям, описанным в
7.2 и
7.3, за исключением того, что усилия прилагаются на расстоянии радиуса
R от оси вращения. Соответственно динамометрический датчик и индикатор линейного перемещения устанавливают соосно с направлением приложения усилия на том же самом расстоянии
R.
Две типовые установки для измерения статической упругой деформации и гистерезиса станков с осями вращения с приложением внутреннего усилия показаны на
рисунках 39 и
40. Порядок анализа полученных данных также аналогичен описанному в
7.2 и
7.3. Рассчитанную в результате статическую упругую деформацию выражают в микрометрах на Ньютон,

.
1 - кожух шпинделя; 2 - динамометрический датчик; 3 - датчик
линейного перемещения; 4 - консоль; 5 - поворотный стол;
R - расстояние между средней линией оси поворотного стола
и точкой приложения внутреннего усилия; h - зазор
между точкой измерения смещения и точкой приложения усилия
Рисунок 39 - Пример установки для испытания на статическую
упругую деформацию и гистерезис станков, оборудованных осями
вращения, при приложении горизонтального внутреннего усилия
1 - датчик линейного перемещения; 2 - кожух шпинделя;
3 - динамометрический датчик; 4 - консоль; 5 - поворотный
стол; 6 - наклонный стол; 7 - линейно перемещающийся стол;
R - расстояние между средней линией оси наклонного стола
и точкой приложения внутреннего усилия
Рисунок 40 - Пример установки для испытания на статическую
упругую деформацию и гистерезис станков, оборудованных осями
вращения, при приложении вертикального внутреннего усилия
8 Испытания на геометрическую точность осей линейного перемещения
Все металлорежущие станки комплектуют передвижными салазками, столами или другими элементами, предназначенными для того, чтобы под автоматическим или ручным управлением изменять положение режущего инструмента относительно обрабатываемой детали. Предполагая, что передвижные салазки ведут себя, как жесткое тело, т.е. не деформируются под воздействием нагрузки, у их типовых представителей выявляются шесть видов отклонений перемещения от номинального линейного (см.
3.4.3):
a) одно отклонение от линейного перемещения (позиционирования) вдоль заданного хода;
b) два отклонения от прямолинейности в двух направлениях, перпендикулярных направлению рабочего хода;
c) три угловых отклонения, представляющие собой повороты вокруг трех взаимно перпендикулярных осей координат X, Y и Z.
Помимо этого, принимают во внимание линейные и угловые отклонения из-за геометрических погрешностей, поскольку они являются функцией как геометрических, так и технических характеристик систем привода оси. Методы измерения отклонений линейного смещения (позиционирования) осей с ЧПУ частично приведены в ISO 230-2.
Некоторые зависимые от компоновки станка погрешности перемещения можно уменьшить до того уровня, который не позволит им стать причиной существенного отклонения в заданном направлении. Например, для токарного центра без действующего инструмента отклонение оси Z от прямолинейности в направлении оси Y не является предметом особой важности.
8.2 Испытания на отклонения от прямолинейности перемещения
8.2.1 Общие положения
Отклонения от прямолинейности перемещения компонентов металлорежущего станка, перемещающихся по линейной траектории, непосредственно влияют на прямолинейность и плоскостность поверхности, а равно и на форму, положение и ориентацию геометрических характеристик детали, обрабатываемой этим станком.
Методы измерения отклонений от прямолинейности перемещения базируются на измерении отклонений от эталона прямолинейности. Эталоном прямолинейности может служить физическое тело: поверочная линейка, натянутая струна или базовая линия, образуемая световым лучом оптического устройства. Эталон прямолинейности размещают приблизительно параллельно направлению перемещения движущегося компонента (подобно показаниям приборов на обоих концах рабочего хода). Измерительный инструмент обеспечивает показания отклонений расстояния между эталоном прямолинейности и траекторией перемещения (отклонения от прямолинейности) в различных равномерно распределенных по всей длине измерения точках. Следует измерять относительное отклонение между двумя поверхностями станка - несущей инструмент и несущей обрабатываемую заготовку.
Примечание - На измерение погрешности прямолинейности перемещения влияет отклонение линии измерения из-за сопутствующего углового отклонения перемещения салазок, а также из-за гипоидного смещения (смещения Брайана
[10]; см.
рисунок 41). Следовательно, аналогичные испытания, выполняемые для таких же перемещений в разных позициях, могут дать различные результаты. На
рисунке 41 пример воздействия углового смещения дан для

, где
L означает длину гипоидного смещения.
1 - линейное перемещение; L - длина гипоидного смещения;
e - отклонение за счет углового и гипоидного смещения;

- угловое смещение
Рисунок 41 - Пример воздействия углового отклонения
перемещения салазок на измерение погрешности прямолинейности
8.2.2 Измерительные установки и инструменты
8.2.2.1 Поверочная линейка и датчик линейного перемещения
В такой установке эталоном прямолинейности служит поверочная линейка. Такую установку используют для измерения отклонений от прямолинейности в горизонтальном и в вертикальном направлениях. Для измерения отклонений от прямолинейности в вертикальном направлении линейка должна иметь опору в двух точках, что обеспечивает минимальное отклонение из-за воздействия гравитации (см. ISO 230-11 по вопросу выбора оптимальных опор).
Датчик линейного перемещения располагают как можно ближе к функциональной точке перемещаемого компонента. Измерения производят посредством перемещения датчика вдоль поверочной линейки или путем перемещения самой линейки и записывают полученные показания [см.
рисунок 42 a)].
1 - поверочная линейка; 2 - линия измерения; 3 - точки
опоры линейки с двух сторон; 4 - датчик линейного
перемещения; 5 - стол станка
Рисунок 42 - Пример установки для измерения
прямолинейности с использованием поверочной линейки
В процессе получения данных измерения учитывают известную погрешность самой поверочной линейки. Если же эта величина неизвестна, ее следует определять и вычитать из показаний отклонений от прямолинейности в горизонтальной плоскости, используя метод реверсирования, описанный в
8.2.2.1.1.
8.2.2.1.1 Реверсивный метод измерения отклонений от прямолинейности с использованием поверочной линейки
Для измерения отклонения от прямолинейности линейного перемещения в горизонтальной плоскости используют также реверсивный метод измерения.
Особенностью такого метода является то, что допускается проводить измерения с использованием обеих сторон поверочной линейки и подлежащего проверке линейного перемещения (см.
рисунки 42 и
43).
1 - погрешность прямолинейности оси X в направлении оси
Y[S(X)max]; 2 - погрешность поверочной линейки;
E2 - координата показаний при реверсивном измерении;
X - позиции оси X; от a до h - позиции измерения;
EYX - отклонение от прямолинейности перемещения оси X
в направлении оси Y; E1 - координата показаний
при нормальном измерении; M - числовое значение E1 и E2
Рисунок 43 - Определение реверсивным методом отклонения
от прямолинейности перемещения и погрешности поверочной
линейки
После первой серии измерений записывают показания для нормальной установки [см.
рисунок 42 a)] и вычерчивают кривую
E1, представленную на
рисунке 43; затем поверочную линейку поворачивают на 180° вокруг своей продольной оси, а датчик линейного перемещения устанавливают таким образом, чтобы можно было снимать показания напротив той же самой поверхности поверочной линейки [см.
рисунок 42 b)]. Перемещая салазки станка, повторяют те же измерения, что отражены на
рисунке 42 a), записывают показания и строят кривую
E2 (см.
рисунок 43).
На обе кривые отклонений -
E1 и
E2 - оказывают влияние как погрешность прямолинейности эталонной стороны поверочной линейки, так и погрешность прямолинейности перемещения линейной оси. Однако благодаря особой конфигурации обеих установок вероятность пренебречь этим воздействием вычисляют алгебраическими
уравнениями (9) и
(10). На
рисунке 43 средняя кривая
M представляет отклонения эталонной поверхности поверочной линейки от прямолинейности. Применяют следующие уравнения:

; (9)

, (10)
где M(X) - отклонение эталонной поверхности поверочной линейки от заданной позиции измерения оси X;
S(X) - отклонение от прямолинейности оси перемещения в заданной позиции измерения оси X;
E1(X) и E2(X) - данные, полученные в результате нормального и реверсивного измерения.
8.2.2.2 Микроскоп и натянутая проволока
Стальную проволоку диаметром около 0,1 мм натягивают приблизительно параллельно направлению перемещения, подлежащему контролю (см.
рисунок 44). Траекторию перемещения в горизонтальной плоскости относительно натянутой проволоки измеряют установленным на шпинделе станка микроскопом [или иными средствами, такими как бесконтактный датчик линейного перемещения или фотоэлектрическое устройство, например полупроводниковая камера для преобразования светового изображения в цифровое посредством прибора с зарядовой связью (CCD)] (см. ISO/ТР 230-11).
1 - шпиндель; 2 - микроскоп; 3 - натянутая проволока;
4 - груз (нагрузка); 5 - стол станка
Рисунок 44 - Измерение отклонений от прямолинейности
перемещения с использованием натянутой проволоки
и микроскопа
Натянутую проволоку часто используют как предпочтительное воплощение эталона прямолинейности для измерения отклонений от прямолинейности в горизонтальной плоскости на крупных станках.
Установленным горизонтально микроскопом можно измерять отклонения от прямолинейности перемещения и в вертикальной плоскости, если известна стрела прогиба используемой проволоки в каждой точке, но крайне затруднительно определять стрелу прогиба в каждой точке с адекватной точностью. Следовательно, вообще не рекомендуется использовать устройство с натянутой проволокой для измерения отклонений от прямолинейности перемещения в вертикальной плоскости.
8.2.2.3 Поверочный телескоп (оптическая труба)
При использовании поверочного телескопа (см.
рисунок 45) оптическую ось телескопа принимают за эталон прямолинейности.
1 - боковая поверхность заготовки; 2 - боковая поверхность
инструмента (позиция 1); 3 - боковая поверхность инструмента
(позиция 2); 4 - поверочный телескоп; 5 - микрометр
со шкалой отсчета показаний; 6 - перекрестье микроскопа;
7 - испытуемый объект; 8 - источник света; 9 - измеренное
отклонение
Рисунок 45 - Измерение погрешностей прямолинейности
с использованием поверочного микроскопа
Для проведения измерения необходимо уточнить положение инструмента относительно обрабатываемой заготовки. Телескоп устанавливают на том компоненте станка, который перемещает заготовку, а объект испытания - на том компоненте, который перемещает инструмент. Объект испытания должен быть перпендикулярным относительно проверяемой оси перемещения. Центр объекта испытания располагают максимально близко к функциональной точке (см. ISO/TR 230-11). Расстояние между оптической осью телескопа и центром объекта испытания считывают либо непосредственно по перекрестью микроскопа, либо при помощи оптического микрометра (см. ISO/TR 230-11). Оптическая ось телескопа должна быть достоверно юстирована параллельно траектории линейного перемещения проверяемой оси.
Любая причина изменения местоположения поверочного телескопа заставит его оптическую линию изменить положение. Полученные в этом случае результаты не отражают истинную прямолинейность, которая должна быть на обрабатываемой заготовке при ее закреплении в разных точках стола станка. Такую ситуацию можно частично исправить установкой телескопа на боковой поверхности стола, кинематика которой поддерживается через стол.
Повышенное внимание следует уделять установке телескопа, особенно если есть подозрения по поводу искривления поверхности стола. Наилучший результат может быть получен при надежной фиксации телескопа, используемой как опора жесткой заготовки, связанной со столом.
Примечание 1 - В случаях большой длины хода на погрешность измерения влияют изменения коэффициента преломления (рефракции) воздуха, которые резко способствуют отклонению светового луча, который отклоняется от прямой линии примерно на 0,46

при вертикальном градиенте температуры 1 °C/м
[11].
Примечание 2 - Поворачивая весь телескоп и испытуемый объект, можно обеспечить возможность измерять прямолинейность линии в любой другой плоскости.
Примечание 3 - Некоторые поверочные телескопы позволяют обнаруживать смещение одновременно в двух взаимно перпендикулярных плоскостях.
8.2.2.4 Поверочный лазер
При использовании поверочного лазера за эталон прямолинейности принимают его луч. Измерения проводят с целью конкретизации положения инструмента относительно обрабатываемой заготовки. Головку лазера устанавливают на компоненте станка, несущем заготовку, а служащий мишенью четырехквадрантный фотодиод - на компоненте, несущем инструмент. Центр детектора следует размещать максимально близко к функциональной точке (см. ISO/TR). Горизонтальные и вертикальные отклонения детектора относительно луча лазера следует записывать. Любое изменение местоположения детектора заставит оптическую ось поверочного лазера изменить ее положение. Полученные в этом случае результаты не отражают истинную прямолинейность, которая должна быть на обрабатываемой заготовке при ее закреплении в разных точках стола станка. Такую ситуацию можно частично исправить установкой поверочного лазера на той боковой поверхности стола, кинематика которой поддерживается через стол (см. ISO/TR 230-11). Особое внимание следует сосредоточить на фиксации поверочного лазера, в частности на ситуации, когда предполагается искривление поверхности стола. Наилучшие результаты могут быть получены при надежном закреплении поверочного лазера на моделирующей жесткую заготовку опоре, жестко связанной со столом. Следует придерживаться инструкции производителя измерительного инструмента (см. ISO/TR 230-11).
Примечание - В случае большой длины рабочего хода на погрешность измерения оказывают влияние пространственные изменения коэффициента преломления воздуха, который в значительной мере способствует отклонению светового луча, достигающего примерно

на 10 м длины хода при вертикальном градиенте температуры 1 °C/м
[11]. Для достижения лучшего результата следует предусматривать фен для перемешивания воздуха, окружающего лазерный луч, в дополнение к усреднению показаний за счет увеличения числа повторения измерений.
8.2.2.5 Лазерный интерферометр прямолинейности
Наиболее общепринятый лазерный интерферометр для измерения прямолинейности состоит из призмы Уолстона и двухзеркального отражателя. Осевая линия этого отражателя устанавливает эталон для измерения прямолинейности. Изменение положения призмы Уолстона по отношению к оси симметрии двухзеркального отражателя выполнено интерферометром.
Измерения следует проводить с целью конкретизации данных положения инструмента относительно обрабатываемой заготовки. Двухзеркальный отражатель следует устанавливать на компоненте станка, несущем обрабатываемую заготовку, а призму Уолстона - на компоненте, несущем инструмент.
Менять оптические компоненты и методы измерения следует с учетом инструкций производителя (см. ISO/TR 230-11 и ISO/IEC, руководство 99).
Любая связанная с местоположением причина может заставить оптическую ось рефлектора изменить ее положение. Полученные в этом случае результаты не отражают истинную прямолинейность, которая должна быть на обрабатываемой заготовке при ее закреплении в разных точках стола станка. Такую ситуацию можно частично исправить установкой рефлектора на боковой поверхности, кинематика которой поддерживается через стол (см. ISO/TR 230-11). Особое внимание следует сосредоточить на фиксации двухзеркального отражателя, в частности на ситуации, когда предполагается искривление поверхности стола. Наилучшие результаты могут быть получены при надежном закреплении рефлектора на моделирующей жесткую заготовку опоре, связанной со столом кинематически.
Все оптические инструменты, например лазерные интерферометры прямолинейности, поверочные телескопы, чувствительны к изменениям характеристик воздуха. Рекомендуется перед измерениями проверять воздушные потоки (см. ISO/TR 230-11 и ISO/IEC, руководство 99).
8.2.3 Процедура измерения и анализ данных
Все компоненты станка, перемещение которых является объектом испытаний, должны перемещаться по ряду позиций всего интересующего диапазона хода. Интервалы измерений не должны превышать 25 мм для осей длиной 250 мм. Для более длинных осей этот интервал не должен превышать 1/10 длины оси. На каждой позиции мишени станок не должен оставаться дольше, чем на ранее зарегистрированной позиции.
Измерения можно проводить в непрерывном режиме ("на лету") в зависимости от применяемого измерительного оборудования и при использовании металлорежущего станка по назначению.
Снижение скорости перемещения при нормальной скорости подачи должно соответствовать измерительному оборудованию и оснастке, применяемым или предназначенным для использования на данном металлорежущем станке.
Подлежащие анализу данные базируются на определениях, приведенных в
3.4.9 и
3.4.10. Предпочтительно графическое представление результатов.
В число данных, которые следует записывать, входят: дата испытания, характеристики станка и используемого инструмента, положение линии измерения, расстояние до обрабатываемой заготовки (координаты начальной и конечной точек), метод анализа (определение эталона прямолинейности, число ходов, средние значения), режим обработки (непрерывный или прерывистый), время остановки, скорость подачи, положение осей не в период проведения испытаний, используемые компенсации, принятые условные обозначения и направление подачи.
8.3 Контроль погрешности позиционирования линейного перемещения
8.3.1 Общие положения
Инструмент для измерения смещения следует устанавливать таким образом, чтобы можно было измерять расстояние, пройденное компонентом (стороной) станка во время испытания, касающегося соответствующего перемещения инструмента относительно рабочей стороны станка. Салазки следует перемещать в каждую точку измерения вручную или при помощи числового управления. Числовое значение каждой позиции следует записывать, а вычисленная разность между заданным и измеренным значениями представляет собой отклонение от линейного позиционирования (см. ISO 230-2).
Примечание - На измерение погрешностей линейного позиционирования оказывает влияние положение линии измерения из-за наличия угловой погрешности перемещения салазок с учетом ее компенсации из-за нарушения принципа Аббе. Следовательно, аналогичные испытания, проводимые для таких перемещений в различных позициях, могут давать различные результаты.
8.3.2 Измерительное оборудование и инструменты
8.3.2.1 Лазерный интерферометр
Для измерения погрешности линейного перемещения посредством лазерного интерферометра требуются две единицы оптического оборудования: ретрорефлектор и интерферометр. Один из них установлен на поверхности, несущей инструмент, другой - на поверхности металлорежущего станка, несущей обрабатываемую заготовку. Луч, испускаемый головкой лазера, должен быть параллелен линии перемещения, насколько это возможно для устранения косинусной погрешности. Все оптические устройства следует надежно крепить на указанных компонентах станка во избежание вибраций и смещений за счет ускорения.
Для компенсации воздействия рефракции датчики, измеряющие температуру, давление и влажность воздуха, следует размещать в непосредственной близости от пути лазерного луча.
В целях компенсации воздействия термального расширения материала на показания датчики температуры материала следует прикреплять к соответствующей поверхности станка, дающей существенные для этих целей показатели температуры. В обычной практике коэффициент линейного расширения наиболее существенных материалов, из которых составлены компоненты станка, приходится на структурный контур между рабочими поверхностями инструмента и заготовки. Следовательно, датчик температуры необходимо устанавливать вблизи места стандартной установки заготовки (например, на столе станка или на столе-спутнике). Однако если окружающая температура отличается от 20 °C, то и коэффициент линейного расширения отличается от подобного для материалов, образующих структурный контур станка, что сказывается на точности обрабатываемой детали. Необходимо принимать во внимание тот факт, что числовое управление системой позиционирования реагирует не на температуру самого станка (стола станка), а на температуру преобразователей обратной связи станка. Таким образом, если имеет место значительный пространственный градиент температуры, необходимо учитывать соответствующую поправку на эту погрешность при расчете ожидаемой точности обрабатываемой детали.
8.3.2.2 Масштабная линейка
Для измерения погрешности позиционирования линейного перемещения при помощи масштабной линейки эту линейку и ее считывающее устройство устанавливают на поверхностях станка - несущей инструмент и несущей заготовку. Линейку устанавливают параллельно направлению линейного перемещения, чтобы она не стала причиной косинусной погрешности. Необходимо воспользоваться номинальными поправками на коэффициент расширения между эталонной стороной масштабной линейки и станком (см.
6.2.2,
8.3.2.1).
8.3.3 Процедура измерения и анализ данных
8.3.3.1 Процедура измерения и анализ данных
Процедуру измерения и анализ данных по осям с числовым управлением проводят в полном соответствии с ISO 230-2.
8.3.3.2 Периодическая погрешность позиционирования линейного перемещения
Погрешность позиционирования перемещения салазок станка на некотором интервале является периодической, что обычно совпадает с периодичностью шкал станка или их эквивалентами. Например, в приводимых ходовым винтом станках с угломерами периодичность, как правило, синхронна с шагом ходового винта (или с шагом угломера, или с ними обоими). Для масштабной линейки или угломера периодичность определена линией, расположенной на линейке или на считывающем устройстве. Для шкалы позиций лазерного интерферометра она определена длиной волны света или его составляющих.
Выбирают набор из не менее 21 целевой позиции, равномерно расположенной через два периода ожидаемого периодического отклонения. Проводят однонаправленное измерение по всем целевым позициям. Периодическая погрешность линейного позиционирования
P представляет собой суммарное измеренное отклонение, как это показано на
рисунке 46.
Примечание - Иногда периодичность линейного перемещения является следствием несоосности шарового винта, вызывающей угловой поворот.
1 - координата измеренного линейного отклонения; X - позиция
на оси X, мм; EXX - погрешность линейного позиционирования,

;
P - периодическая погрешность линейного позиционирования
Рисунок 46 - Периодическая погрешность
линейного позиционирования
8.4 Испытания перемещений на угловую погрешность
8.4.1 Общие положения
Для каждой линейной оси перемещения следует измерять три угловые погрешности перемещения по трем взаимно перпендикулярным направлениям (обычно называемые "наклон", "перекат", "поворот вокруг вертикальной оси"). Угломерный инструмент следует устанавливать таким образом, чтобы можно было измерять относительную угловую погрешность перемещения между поверхностью станка, несущей инструмент, и рабочей поверхностью станка, например салазками, перемещающимися вдоль линии перемещения оси.
8.4.2 Измерительное оборудование и инструменты
В общепринятых методах измерения угловой погрешности перемещения используют угловые лазерные интерферометры или автоколлиматоры для измерения поперечного наклона и поворота оси, перпендикулярной направлению оси линейного перемещения, и прецизионный уровень для измерения поворота вокруг оси линейного перемещения. Для оценки поворота вертикальных осей применяют дифференциальные измерения прямолинейности (см.
8.4.2.4).
Примечание - Если линейное перемещение происходит в горизонтальной плоскости, прецизионным уровнем можно измерять поперечный и продольный наклон, тогда как автоколлиматором и лазером можно измерять поперечный наклон и поворот вокруг вертикальной оси.
8.4.2.1 Прецизионный уровень
Если используется прецизионный уровень, он должен быть прикреплен к перемещающемуся компоненту. Представляется наиболее практичным дифференциальные измерения между компонентом, несущим инструмент, и компонентом, несущим заготовку, выполнять с использованием двух прецизионных уровней (см.
рисунок 47).
1 - измерительный прецизионный уровень;
2 - стандартный прецизионный уровень
Рисунок 47 - Измерение угловой погрешности
перемещения оси X' (продольного наклона)
с использованием двух прецизионных уровней
Для соответствующего измерения автоколлиматор и зеркальный отражатель устанавливают между двумя поверхностями станка - несущей заготовку и несущей инструмент. Автоколлиматор следует устанавливать на неподвижном компоненте станка соосно с осью перемещения (см.
рисунок 48). Следствием вращения установленного на перемещающемся компоненте станка отражателя вокруг горизонтальной оси, перпендикулярной оптической оси прибора, является вертикальное смещение изображения перекрестья в фокальной плоскости. Измерение этого смещения, производимое при помощи окуляра микрометра, позволяет определять угловое отклонение отражателя (см. ISO/TR 230-11). Поворачивая окуляр микрометра на 90°, можно также измерять угол поворота отражателя вокруг вертикальной оси. Разрешающая способность угловых измерений сопоставима для обоих инструментов.
1 - стол (поверхность заготовки, позиция 1); 2 - стол
(поверхность заготовки, позиция 2); 3 - автоколлиматор;
4 - шпиндель станка (поверхность инструмента);
5 - зеркальный отражатель;

- измеренное угловое отклонение
Рисунок 48 - Измерение погрешности перемещения
с использованием автоколлиматора
Фотоэлектрический автоколлиматор можно использовать для более критических измерений, требующих разрешающей способности менее 1". Некоторые из них могут производить измерения, например поперечного наклона и "рыскания", путем совместного поворота на тот же угол двух осей вокруг оси, перпендикулярной этим двум. Указанные отклонения легко обнаруживаются и поддаются анализу.
Примечание - В случае большой длины хода на погрешности измерения оказывает влияние изменение коэффициента преломления воздуха, что способствует отклонению светового луча, которое колеблется около

на 10 м траектории при вертикальном градиенте температуры в 1 °C/м
[11]. Для наилучшего результата следует предусматривать фен для перемешивания воздуха, окружающего луч лазера, и достаточное число повторных измерений с целью усреднения показателей.
8.4.2.3 Лазерный угловой интерферометр
Лазерный угловой интерферометр применяют для измерения поворотов вокруг осей, перпендикулярных оси перемещения [например, поперечный наклон или "рыскание" (поворот вокруг вертикальной оси)]. Инструмент состоит из двух единиц оптического оборудования: углового интерферометра и двойного отражателя. Для измерения угловой погрешности оси перемещения салазок станка одно оптическое устройство устанавливают на поверхности станка, несущей обрабатываемую заготовку, а другое - на поверхности, несущей инструмент (см.
рисунок 49). На станках, в которых возможность застопорить шпиндель отсутствует, для предотвращения нестабильности следует устанавливать наружную консоль, кронштейн или что-нибудь подобное.
Примечание 1 - Угловой интерферометр обеспечивает два параллельных световых луча, отстоящих друг от друга на известном расстоянии. Двойной зеркальный отражатель возвращает каждый луч назад к интерферометру. В результате поворота интерферометра относительно отражателя возникает различие между путями прохождения этих двух лучей, которое обнаруживается интерферометром. Угол поворота определен разностью расстояний между двумя лучами - до и после поворота.
Примечание 2 - Путем поворота оптических устройств на 90° вокруг оси луча можно измерять другие угловые погрешности ("рыскание" или поперечный крен).
1 - стол; 2 - шпиндель; 3 - двойной отражатель;
4 - интерферометр с вогнутым отражателем; LM - направление
линейного перемещения
Рисунок 49 - Измерение угловой погрешности перемещения
при помощи лазерного углового интерферометра
8.4.2.4 Метод, использующий измерение дифферента прямолинейности
Такой метод выполняют путем использования двух параллельных комплектов для измерения прямолинейности. Его принципы проиллюстрированы
рисунком 50, где показано устройство для измерения продольного наклона вертикально перемещающегося шпинделя, состоящее из механического угольника и одного или двух датчиков линейного перемещения и применимое к любым вертикально перемещающимся салазкам. Показанные на
рисунке инструменты для измерения дифферента прямолинейности могут быть заменены другими.
1 - шпиндель (позиция 1); 2 - шпиндель (позиция 2);
3 - датчик линейного перемещения; 4 - угольник
(прямоугольник, установленный примерно перпендикулярно
к столу); 5 - выносной кронштейн с противовесом (только
для позиции 2); 6 - стол; LM - направление линейного
перемещения
Рисунок 50 - Измерение продольного крена вертикального
перемещения салазок на основе измерения дифферента
прямолинейности
Контрольно-измерительные приборы комплектуют для измерения прямолинейности перпендикуляра к линии перемещения салазок. Салазки перемещаются вдоль оси, перпендикулярной к направлению измерения прямолинейности; полученные данные записывают. Затем на консольной части шпинделя устанавливают датчик перемещения и проводят повторные измерения прямолинейности. Далее перемещение шпинделя станка перестраивают на горизонтальное (см.
рисунок 50, позиция
2), а датчик перемещения устанавливают на выносной консоли (5) таким образом, чтобы угольник снова контактировал с измеряемой поверхностью.
Процедуру измерения повторяют, причем необходимо придерживаться той же линии измерения вдоль базовой поверхности механического угольника. Величина продольного крена в отдельной позиции представлена разностью между двумя измеренными величинами локального отклонения от прямолинейности в той позиции, которая отдалена на некоторое расстояние между двумя положениями шпинделя.
Для учета расширения крепежной арматуры во время проведения измерения одни салазки станка (стола или шпинделя) необходимо перемещать в направлении, отличном от вертикального.
В связи с этим данные измерения продольного крена следует корректировать с учетом изменения угловой ориентации стола или шпинделя, вызванного таким перемещением. Во избежание такой потенциальной проблемы угольник можно перемещать сбоку (т.е. по позиции
2 на
рисунке 50) с перенастройкой используемого прецизионного уровня.
8.4.3 Процедура измерения и анализ данных
a) Станок должен быть запрограммирован на перемещение салазок во время испытания и позиционирование их в ряде целевых позиций.
b) В целевой позиции салазки должны оставаться достаточно долго, чтобы можно было записывать полученные показания. Целевые позиции требуется размещать по всему диапазону хода оси, являющейся предметом интереса проводимого испытания. Интервалы измерения должны быть не более 25 мм для осей длиной не более 50 мм. Для более длинных осей интервал измерения не должен превышать 1/10 длины оси.
c) Во всех целевых позициях проводят не менее одной серии непрямых измерений.
Скорость хода установлена по соглашению между пользователем и изготовителем/поставщиком. Набор измерений состоит из целевых позиций и показаний соответствующего инструмента.
Угловую погрешность (т.е. EAX) представляет суммарный диапазон измеренных угловых отклонений. Условное обозначение углового отклонения должно соответствовать ISO 841.
Вместо дискретного измерения в каждой выбранной целевой позиции допускается проводить непрерывное измерение по всему ряду целевых позиций.
9 Испытание осей вращения на геометрическую точность
Испытания осей вращения на характерную для них геометрическую точность [т.е. радиальную, осевую, угловую и торцевую погрешности перемещения (см.
3.5.5 -
3.5.8), их синхронных и асинхронных компонентов, равно как и конструктивных перемещений] для жестких и чутко реагирующих на повороты направлений должны проводиться в соответствии с ISO 230-7.
9.2 Погрешность позиционирования углового перемещения
9.2.1 Общие положения
Многие металлорежущие станки оборудованы осями вращения с возможностью непрерывного или дискретного позиционирования (например, поворотными или делительно-поворотными столами, наклонными или поворотными головками). В то время как оси вращения, способные к непрерывному позиционированию, работают под числовым управлением, оси вращения, обладающие способностью дискретного позиционирования, могут работать под различными типами управления, включая ручное, механическое, числовое или программно-логическое управление (ПЛУ). Решение о выборе осей вращения с возможностью непрерывного позиционирования зависит от устройства обратной связи между угловой позицией и системой сервоконтроля. Для осей, обладающих способностью дискретного позиционирования, решение о выборе шага зависит от механических средств пошаговой подачи и может меняться от 90° (для столов фрезерных и сверлильных станков) до 0,5°. При некоторых применениях комбинации двух устройств угловой шаговой подачи с различным шагом допускается минимальная величина шага менее 0,02°.
Устройства программируемой шаговой подачи обычно требуют останова после осевого смещения на несколько миллиметров и допускают относительное смещение между их компонентами. После шагового перемещения такие устройства останавливаются в этой позиции.
Такие измерения проводят между двумя поверхностями станка - несущей обрабатываемую заготовку и несущей инструмент.
9.2.2 Измерительное оборудование и инструментарий
9.2.2.1 Многоугольник с автоколлиматором
Оптический многоугольник в качестве эталона угла устанавливают приблизительно концентрически с вращающимся компонентом станка таким образом, чтобы быть измеряемым автоколлиматором. Во время испытания соприкасающиеся поверхности эталона и вращающегося компонента должны быть параллельны друг другу и перпендикулярны средней осевой линии вращающегося компонента. Автоколлиматор устанавливают на невращающейся части станка, например на шпиндельной головке (см.
рисунок 51).
Примечание - Средняя погрешность параллельности между поверхностью эталона и средней осевой линией вращающегося компонента оказывает влияние на проводимые во время испытания измерения углового позиционирования, порождая дополнительную периодическую погрешность с периодом 360°.
1 - зеркало многоугольника; 2 - автоколлиматор;
3 - поворотный стол; 4 - шпиндельная головка
Рисунок 51 - Установка для измерения угловой погрешности
перемещения с использованием автоколлиматора
и оптического многоугольника
Во все время испытания шаг углового позиционирования должен оставаться таким же или увеличиваться на целое число углов между стандартными сторонами эталона. Например, если использован оптический многоугольник с 12 сторонами, шаг углового позиционирования должен быть 30° или увеличенным на 30°. Нулевую позицию (0°) применяют как начальную, чтобы иметь возможность компенсировать погрешность многоугольника, указанную в его калибровочной карте. Угол, измеряемый автоколлиматором при каждом шаге, представляет собой угловое отклонение позиционирования в этой угловой позиции.
Автоколлиматором с оптическим многоугольником, имеющим достаточное количество углов, измеряют угловую погрешность оси вращения с пошаговой подачей, обеспечивая увеличение на целое число минимального шага во все время испытания.
9.2.2.2 Делительно-поворотный стол с лазерным интерферометром/автоколлиматором
Делительно-поворотный стол устанавливают на вращающемся компоненте станка (например, на его поворотном столе). На делительно-поворотном столе устанавливают плоский зеркальный отражатель или иную угловую оптику, причем их поверхности должны быть перпендикулярны световому лучу. Лазерный интерферометр/автоколлиматор устанавливают на невращающемся компоненте станка (см.
рисунок 52). Делительно-поворотный стол должен вращаться в направлении, противоположном направлению вращения вращающегося компонента станка. Если вращение компонента станка направлено по часовой стрелке, то вращение делительно-поворотного стола должно быть направлено против часовой стрелки. Таким образом, зеркальный отражатель (или иная угловая оптика), размещенный на верхней плоскости делительно-поворотного стола, передвигается в том же направлении. Угол, измеряемый инструментом при каждом шаге, представляет собой угловое отклонение позиционирования в этой угловой позиции.

1 - лазерная головка; 2 - угловой интерферометр с вогнутым
зеркалом; 3 - шпиндельная головка; 4 - двойной
ретрорефлектор; 5 - стандартный делительно-поворотный
стол; 6 - испытуемая ось вращения
Рисунок 52 - Измерение погрешности позиционирования
углового перемещения
Автоколлиматор в комплекте с делительно-поворотным столом используют для измерения угловой погрешности позиционирования осей вращения с шаговой подачей, обеспечив достаточное количество углов на столе с нормированным шагом поворота и увеличение на целое число шага перемещения осей с шаговой подачей на все время испытания.
Если в качестве прибора для измерения углов использован лазерный интерферометр, можно обнаружить угловую погрешность перемещения около 5° (или менее чем минимальный угол шаговой подачи станка высокой точности). Следовательно, этим методом можно измерять и угловую погрешность непрерывного перемещения. Обычно неточность измерения значительно возрастает, если измеряют углы более 20
" 
.
Оси вращения с пошаговой подачей обычно нуждаются в остановке после аксиального смещения в несколько миллиметров и допускают относительное смещение между их компонентами; при испытании таких устройств с использованием лазерных угловых интерферометров в комплекте с индексируемым столом и угловой оптикой рекомендуется использовать специальные устройства для предотвращения прерывания лазерного луча.
9.2.2.3 Стандартный датчик угла поворота
Стандартный (откалиброванный) датчик угла поворота следует устанавливать таким образом, чтобы вращающийся компонент датчика был соосным с осью вращения вращающегося компонента станка. Кожух датчика (невращающийся компонент) должен быть закреплен на невращающемся компоненте станка. Необходимо следовать рекомендациям изготовителя данного измерительного инструмента по его установке и настройке. Показания датчика гарантируют фактическое угловое смещение, которое сравнивают с запрограммированной величиной для определения углового отклонения позиционирования.
Стандартный датчик угла поворота не используют для измерения угловой погрешности позиционирования тех делительно-поворотных столов, которым для работы необходимо осевое перемещение.
9.2.3 Процедура испытаний и анализ данных
Процедура испытаний для определения точности углового позиционирования и повторяемости осей вращения с возможностью непрерывного позиционирования под ЧПУ определена в ISO 230-2.
Процедура испытаний, установленная ISO 230-2, применима также для определения точности углового позиционирования и повторяемости осей вращения с возможностью дискретного позиционирования под программным или ручным управлением, но со следующими ограничениями:
a) Количество целевых угловых позиций может быть ограничено сочетанием углов имеющегося эталона и минимального шага испытуемого устройства.
b) При использовании стандартного оптического многоугольника и стандартного делительно-поворотного стола для выбора целевой угловой позиции не может быть применим произвольный компонент.
c) Измерения для осей вращения с периодической круговой подачей и запрограммированным остановом должны быть выполнены после завершения цикла, а выбор системы измерения произведен с учетом возможного осевого смещения между компонентами с периодической круговой подачей.
9.2.3.1 Периодическая погрешность позиционирования углового перемещения
Периодическую погрешность позиционирования углового перемещения с ожидаемой периодичностью измеряют на протяжении двух периодов аналогично измерению периодической погрешности позиционирования линейного перемещения. Для измерений выбирают не менее 21 целевой позиции, равномерно расположенной через два периода ожидаемого периодического смещения углового перемещения.
На каждой целевой позиции проводят серию однонаправленных измерений. Суммарное отклонение углового позиционирования этого ряда измерений представляет собой периодическую погрешность позиционирования углового перемещения P.
10 Испытания осей перемещения на параллельность, перпендикулярность, соосность и пересечение
10.1 Параллельность осей перемещения
10.1.1 Общие положения
Необходимо измерять погрешность параллельности между осями перемещения, которые согласно конструкции должны быть номинально параллельными. Например, можно измерять параллельность между осями Z и W на обрабатывающем центре, где осью Z является выдвижной шпиндель, а осью W - перемещающийся стол. Может также возникнуть необходимость измерять погрешность параллельности между осью линейного перемещения и средней осевой линией оси вращения или между шпинделем и неподвижной осью, такой как ось задней бабки, или между средними осевыми линиями двух осей вращения.
10.1.2 Погрешность параллельности между двумя осями линейного перемещения в двух плоскостях
10.1.2.1 Метод эксцентриситета неподвижной точки
Датчик линейного перемещения устанавливают на одном из перемещающихся компонентов станка таким образом, чтобы его измерительный наконечник упирался в другой перемещающийся компонент, обеспечивая измерение смещения в направлении, перпендикулярном оси его перемещения. Оба подвижных компонента перемещают совместно в одном и том же направлении до того же предела и записывают эксцентриситет неподвижной точки, определяемый разностью показаний датчика перемещения (см.
рисунки 53 и
54) и используемый в качестве базы для определения прямолинейности. Ориентация стандартной прямой линии относительно номинального направления перемещения (угол наклона) дает погрешность параллельности.
1 - ось линейного перемещения первого перемещающегося
компонента; 2 - ось линейного перемещения второго
перемещающегося компонента; 3 - контрольная оправка;
4 - первый датчик линейного перемещения; 5 - второй
датчик линейного перемещения
Рисунок 53 - Погрешность параллельности
двух осей линейного перемещения
1 - датчик линейного перемещения; 2 - плитка Иогансона;
3 - стол станка; 4 - направление линейного перемещения
стола; 5 - направление перемещения второй линейной оси
Рисунок 54 - Измерение эксцентриситета неподвижной точки
Второй датчик линейного перемещения устанавливают в другой плоскости, перпендикулярной к первой, чтобы одновременно определить параллельность в обеих плоскостях.
10.1.2.2 Метод, основанный на измерении погрешности прямолинейности двух перемещений
Испытания проводят с использованием устройств для измерения прямолинейности, описанных в
8.2.2. Прямолинейность каждой оси линейного перемещения измеряют с применением процедуры, описанной в
8.2.3.
Измеряют и записывают погрешность параллельности между двумя осями линейного перемещения в двух взаимно перпендикулярных плоскостях. Для каждой плоскости отклонение от прямолинейности каждого перемещающегося компонента измеряют с использованием общепринятого эталона прямолинейности, например физического объекта или светового луча. Базовую линию с учетом соответствующих данных об отклонении от прямолинейности сравнивают с общепринятым эталоном. Рассчитанные углы наклона двух базовых линий по отношению к общепринятому эталону добавляют к полученной погрешности параллельности между двумя осями перемещения.
Примечание - Погрешность параллельности выражена в микрометрах на метр,

, или в угловых секундах,
".
10.1.3 Погрешность параллельности между осью линейного перемещения и неподвижной осью
Контрольную оправку устанавливают на неподвижном компоненте станка для представления неподвижной оси. Датчик линейного перемещения устанавливают на неподвижном компоненте и располагают напротив контрольной оправки таким образом, чтобы считывать данные смещения в направлении, перпендикулярном направлению перемещения (см.
рисунок 55). Подвижный компонент перемещают по всему интересующему диапазону его хода. Изменения в показаниях датчика линейного перемещения записывают и используют для определения прямолинейности базовой линии траектории линейного перемещения. Ориентация этой базовой линии относительно номинального направления дает погрешность параллельности (угол наклона).
Примечание - Неподвижной является та ось, которая не перемещается во время испытания.
1 - датчик линейного перемещения; 2 - ось линейного
перемещения подвижного компонента; 3 - контрольная оправка
(неподвижная ось); 4 - второй датчик линейного перемещения
Рисунок 55 - Погрешность параллельности между осью
линейного перемещения и неподвижной осью
Если не все плоскости одинаково важные, эксперимент, по возможности, проводят в двух взаимно перпендикулярных плоскостях, выбираемых по степени их важности для практического применения станка.
10.1.4 Погрешность параллельности между осью линейного перемещения и средней осевой линией оси вращения или шпинделем станка
10.1.4.1 Общие положения
Для схематического определения соотношения между осью вращения и вращающейся осью или между шпинделем станка и линейной осью сначала устанавливают положение средней осевой линии относительно оси вращения. Затем перемещение линейной оси сравнивают с этой средней осевой линией. Вращение средней осевой линии в плоскости измерения (плоскости, содержащей как ось вращения, так и линейную ось перемещения) определяют путем усреднения данных измерения прямолинейности в двух угловых положениях оси вращения, отстоящих друг от друга на 180°.
Иногда среднюю осевую линию представляют базовой линией, перпендикулярной оси вращения. Для образования таких средних осевых линий используют как механические объекты, так и оптические методы. Специфические комплекты испытательного оборудования, приведенные в
10.1.4.2 -
10.1.4.4, могут служить только примерами. Вместо них могут использоваться другие инструменты, обеспечивающие сопоставимые результаты измерения погрешности.
10.1.4.2 Метод, использующий лазерный интерферометр прямолинейности
Измерительное оборудование для измерения с использованием лазерного интерферометра прямолинейности представлено на
рисунке 56.
1 - шпиндель или ось вращения; 2 - прямолинейный отражатель
(двухзеркальный); 3 - призма Уолстона (интерферометр);
4 - перемещающийся компонент; 5 - лазерная головка;
LM - направление линейного перемещения
Рисунок 56 - Измерение погрешности параллельности
прямолинейным лазерным интерферометром
Прямолинейный отражатель устанавливают на поворотном столе или на шпинделе и регулируют таким образом, чтобы его ось измерения проходила вплотную с осью вращения, а инструмент для измерения погрешности прямолинейности находился в плоскости, перпендикулярной к интересующей плоскости. В начале испытания инструмент для измерения погрешности прямолинейности перемещения вместе с отражателем и поворотной осью приводят в исходное угловое положение. Измерения погрешности прямолинейности перемещения повторяют после поворота отражателя и оси вращения на 180°. Погрешность прямолинейности представляется половиной суммы измеренных в двух угловых позициях углов наклона базовой прямой линии относительно номинального направления перемещения.
Изменяя угловые позиции этого измерения до 90° и до 270°, можно также получать данные о погрешности прямолинейности в двух других взаимно перпендикулярных плоскостях.
10.1.4.3 Метод, использующий контрольную оправку или угольник и датчик линейного перемещения
Контрольную оправку устанавливают и центрируют на шпинделе станка или на поворотном столе. Датчик линейного перемещения устанавливают на линейно перемещающемся компоненте станка вплотную к боковой стороне контрольной оправки. Измерение погрешности прямолинейности перемещения производят путем измерения смещения перемещающегося компонента напротив оправки во время его прохождения вдоль всей длины этой оправки, как показано на
рисунке 57. Измерение погрешности прямолинейности перемещения повторяют после поворота шпинделя/поворотного стола станка на 180°. Погрешность параллельности равна половине арифметической суммы углов наклона базовой прямой линии к номинальному направлению перемещения, измеренных в двух угловых позициях.
Примечание 1 - Поворот шпинделя/поворотного стола станка на 180° гарантирует сохранение соосности между ними и контрольной оправкой.
Примечание 2 - Этот метод в совокупности с обратным ходом угольника позволяет определить как обе погрешности прямолинейности линейного перемещения, так и погрешность параллельности.
1 - шпиндель; 2 - датчик линейного перемещения;
3 - контрольная оправка; 4 - поворотный стол;
LM - направление линейного перемещения
Рисунок 57 - Измерение погрешности параллельности
контрольной оправкой
Кроме того, при выполнении этих измерений показания датчика линейных перемещений, полученные при его повороте на 90° относительно первоначального положения напротив оправки, дают возможность определить погрешность параллельности в направлении, перпендикулярном линейному перемещению.
10.1.4.4 Метод, использующий контрольный шар и датчик линейного перемещения
Контрольный шар устанавливают на линейно перемещающемся компоненте станка, а датчик линейного перемещения - на испытуемой оси вращения (поворотном столе или шпинделе), как показано на
рисунке 58. Контрольный шар центрируют относительно средней линии оси вращения путем перемещения двух осей станка перпендикулярно испытуемой оси, в то время как ось вращения или шпиндель вращаются. Затем путем перемещения салазок станка перемещают контрольный шар на другую позицию вдоль линейного перемещения испытуемой оси (
h на
рисунке 58). В новой позиции датчик линейного перемещения также устанавливают циферблатом напротив контрольного шара. Погрешность в центральной позиции регистрируют как половину разности показаний датчика линейных перемещений в двух противоположных точках контрольного шара.
1 - контрольный шар в позиции 1; 2 - контрольный шар
в позиции 2; 3 - датчик линейного перемещения в позиции 2;
h - расстояние между позициями 1 и 2; 4 - испытуемая ось
вращения (поворотного стола или шпинделя); 5 - датчик
линейного перемещения в позиции 1; LM - направление
линейного перемещения
Рисунок 58 - Измерение погрешности параллельности
между линейной осью и осью вращения с использованием
контрольного шара
Погрешность параллельности между осью вращения и линейной осью рассчитывают вычитанием данных, полученных в центральной позиции в положениях, отстоящих друг от друга на дистанцию измерения (
h на
рисунке 58).
Для получения такого результата выбирают промежуточные позиции на оси линейного перемещения (например, при использовании для расчетов меньшего квадрата).
10.1.5 Погрешность параллельности между двумя осями вращения
10.1.5.1 Общие положения
Соотношение между двумя осями вращения схематически определяют установлением в первую очередь средней линии оси, относящейся к одной из таких осей. Затем вторую ось вращения сравнивают с этой средней линией. Среднюю линию оси вращения в плоскости измерения (плоскость прямоугольных координат станка номинально параллельна обеим осям вращения) определяют путем усреднения данных измерения в двух угловых позициях первой оси вращения, отстоящих друг от друга на 180°. Для непрямого представления средней осевой линии иногда можно использовать базовую линию, перпендикулярную к этой оси. Для создания таких средних осевых линий используют механические объекты или оптические методы. Специфические комплекты испытательного оборудования для измерения погрешности параллельности между коаксиальными осями вращения, данные в
10.1.5.2 и
10.1.5.3, служат только примерами; вместо них могут быть использованы другие инструменты, обеспечивающие сопоставимую погрешность измерения.
10.1.5.2 Методы, использующие контрольную оправку
Контрольную оправку устанавливают на одном из шпинделей или поворотных столов станка соосно с осью вращения шпинделя (поворотного стола) для минимизации биения в двух взаимно перпендикулярных радиальных направлениях. Зажимные приспособления для двух датчиков линейного перемещения, отстоящие друг от друга на расстоянии
d (см.
рисунок 59), устанавливают на другом шпинделе станка. Датчик перемещения прижимают к цилиндрической поверхности контрольной оправки в двух положениях на ее длине. Посредством второго шпинделя датчик перемещения поворачивают вокруг контрольной оправки, записывая показания линейного смещения на оправке, являющиеся функцией угловой позиции второго шпинделя. Центр стандартной окружности (с координатами
CX,
CY) для каждой пары показаний двух датчиков рассчитывают применением к каждой паре данных окружности наименьших квадратов. Разность координат центра стандартной окружности в одном направлении (
CX1 -
CX2), поделенная на расстояние между двумя датчиками
d, определяет угол между двумя осями вращения, т.е. погрешность параллельности между ними. Аналогичным образом разность координат в другом направлении (
CY1 -
CY2) позволяет определить погрешность параллельности в направлении, перпендикулярном первому (см.
рисунок 59).

1 - контрольная оправка; 2 - траектория перемещения датчика
относительно оправки; CX - координата центра стандартной
окружности по оси X; CY - координата центра стандартной
окружности по оси Y; A, B - датчики линейного перемещения;
d - расстояние между датчиками A и B
Рисунок 59 - Измерение погрешности параллельности
между двумя осями вращения с использованием
контрольной оправки
Необходимо, особенно в случае испытания горизонтальной оси, иметь очень жесткую установку с незначительным отклонением.
Для полного устранения воздействия несоосности между контрольной оправкой и первым шпинделем вышеупомянутые измерения повторяют после поворота первого шпинделя на 180°. В таком случае отклонение от параллельности рассчитывают как половину арифметической суммы двух углов.
10.1.5.3 Метод, использующий две контрольные сферы
Две контрольные сферы, оси которых расположены на определенном расстоянии друг от друга, устанавливают на одном из шпинделей или поворотных столов станка. Каждую сферу индивидуально центруют таким образом, чтобы минимизировать биение относительно средней линии оси вращения. Зажимные приспособления для двух датчиков линейного перемещения, отстоящие друг от друга на некотором расстоянии, устанавливают на другом шпинделе или поворотном столе. Процедура измерения такая же, как описанная в
10.1.5.2.
10.2 Коаксиальная погрешность средних осевых линий
10.2.1 Общие положения
Для определения коаксиальной погрешности между двумя средними осевыми линиями требуются в основном четыре параметра (см.
3.7.2). Два из них определяют погрешность параллельности между двумя осями, а два других - сдвиг между ними, причем все измерения производят в двух взаимно перпендикулярных плоскостях (например, в вертикальной и горизонтальной). Следовательно, метод измерения погрешности параллельности между двумя осями вращения (см.
10.1.5) можно использовать для определения коаксиальной погрешности. Аналогично метод измерения, используемый для измерения коаксиальной погрешности, можно использовать для измерения погрешности параллельности между двумя осями вращения.
10.2.2 Метод фронтального и бокового смещения неподвижной точки
Данный метод весьма практичен для измерения как смещения, так и погрешности параллельности, поскольку не требует прецизионных объектов. Для этого метода измерения требуется установить на одном из шпинделей или поворотных столов станка два датчика линейного перемещения, а на другом шпинделе или поворотном столе - кронштейн для мишени, как показано на
рисунке 60. Датчик линейного перемещения устанавливают таким образом, чтобы можно было измерять смещение кронштейна для мишени как в радиальном (боковое смещение), так и в осевом (лицевое смещение) направлении.
1 - датчик радиального линейного перемещения; 2 - датчик
аксиального линейного перемещения; 3 - кронштейн прицела;
g - сила тяжести
Рисунок 60 - Измерение коаксиальной погрешности методом
фронтального и бокового смещения неподвижной точки
При совместном повороте двух осей снимают показания датчиков линейного перемещения в позициях 0°, 90°, 180° и 270°.
Во избежание термальных воздействий следует повторять эти измерения три раза. Далее приведены
уравнения (11) -
(14) для расчета величины коаксиальной погрешности двух осей в двух плоскостях:
- сдвиг по вертикали V0:

; (11)
- вертикальный угол VA:

; (12)
- сдвиг по горизонтали HO:

; (13)
- горизонтальный угол HA:

; (14)
где R0 - величина радиального смещения в угловой позиции 0°;
R90 - величина радиального смещения в угловой позиции 90°;
R180 - величина радиального смещения в угловой позиции 180°;
R270 - величина радиального смещения в угловой позиции 270°;
F0° - величина аксиального смещения в угловой позиции 0°;
F90° - величина аксиального смещения в угловой позиции 90°;
F180° - величина аксиального смещения в угловой позиции 180°;
F270° - величина аксиального смещения в угловой позиции 270°;
D - диаметр круга, пройденного центральной осью датчика смещения.
Примечание - Коаксиальную погрешность рассчитывают как отношение диаметра окружности, измеренного датчиком линейного перемещения в торцевой точке измерения, к соответствующей длине измерения.
Перед началом испытания следует измерить стрелу прогиба (упругую деформацию) используемых кронштейнов. Это осуществляют путем прижатия кронштейнов к жесткой оправке, удерживаемой между двумя центрами, как показано на
рисунке 61.
1 - датчик радиального линейного перемещения; 2 - датчик
аксиального линейного перемещения; 3 - кронштейн прицела;
4 - центр; g - сила тяжести
Рисунок 61 - Калибровка упругой деформации
испытательного оборудования
Для расстояния между опорами свыше 200 мм подходят стальные оправки диаметром 50 мм. Для станков очень высокой точности рассчитывают необходимый диаметр оправки или вносят поправку на жесткость оправки. Датчик перемещения обнуляют на концевой позиции (0° на
рисунке 61), а контрольную оправку поворачивают до тех пор, пока датчик перемещения не достигнет нижней позиции (180° на
рисунке 61). Данные смещения обоих датчиков показывают воздействие упругой деформации в каждом направлении.
Если только одна из осей является осью вращения, кронштейн, несущий измерительный инструмент, жестко закрепляют на оправке, представляющей собой ось, вокруг которой происходит вращение. Если требуется поворачивать измерительный инструмент вокруг неподвижной оправки, его устанавливают на кольцевом калибре, вращающемся с минимальным зазором. Этот калибр должен иметь длину, достаточную для того, чтобы гарантировать независимость результата измерений от величины просвета в данном калибре.
На погрешность параллельности, измеряемую методом фронтального и бокового смещения неподвижной точки, оказывает воздействие аксиальная погрешность перемещения испытуемых вращающихся компонентов. Для исключения этого источника неточности измерения комплект измерительного оборудования модифицируют, как показано на
рисунке 62. В таком комплекте второй датчик радиального перемещения, установленный на заданном шпинделе, замещает датчик аксиального перемещения. Расчеты горизонтального и вертикального углов базируются на разностях смещений, измеренных датчиками, отстоящими друг от друга на соответствующее расстояние.
1 - первый датчик радиального линейного перемещения;
2 - второй датчик радиального линейного перемещения;
3 - кронштейн прицела; g - сила тяжести
Рисунок 62 - Устранение воздействия погрешности осевого
перемещения на результаты измерения коаксиальной погрешности
10.3 Погрешность перпендикулярности осей перемещения
10.3.1 Общие положения
Измерение погрешности перпендикулярности между двумя осями перемещения состоит из измерения двух видов параллельности - параллельности между двумя осями перемещения и параллельности каждой из осей перемещения относительно неподвижной оси, представляемой стандартным или индексируемым угольником. Для оценки погрешности перпендикулярности между двумя осями перемещения используют также метод измерения, описываемый в
разделе 11.
10.3.2 Погрешность перпендикулярности между двумя осями линейного перемещения
10.3.2.1 Общие положения
Погрешность перпендикулярности можно измерять различным оборудованием и инструментами, как это описано в
10.3.2.2 -
10.3.2.5. Во всех таких случаях используют аналогичную процедуру измерения. Две базовые линии измерения расположены, по возможности, в центре рабочей зоны и настроены номинально параллельно осям перемещения, погрешность взаимной перпендикулярности которых является объектом измерения. При повороте каждой испытуемой оси ее пересекает траектория перемещения компонента станка. Датчик линейного перемещения измеряет латеральное (боковое) смещение в направлении, перпендикулярном испытуемой оси, - отклонение от перпендикулярности между функциональной точкой перемещающегося компонента станка и базовой линией измерения, относящейся к этой оси. Погрешность параллельности каждой из осей перемещения и соответствующей базовой линией измерения определяют согласно
10.1.3. Сумма двух погрешностей параллельности дает в результате погрешность перпендикулярности между двумя осями линейного перемещения.
10.3.2.2 Метод, использующий механизированный базовый угольник и датчик линейного перемещения
Базовый угольник размещают таким образом, чтобы его базовые поверхности были номинально параллельными осям перемещения, погрешность взаимной перпендикулярности которых является объектом измерения. Датчик линейного перемещения используют для измерения погрешности параллельности между каждой осью перемещения и соответствующей базовой поверхностью угольника (неподвижной оси). Пример измерительной установки показан на
рисунке 63.
1 - датчик линейного перемещения; 2 - базовый угольник;
B - вторая базовая поверхность базового угольника;
LMX - направление перемещения по оси X (пример); A - первая
базовая поверхность базового угольника; LMZ - направление
перемещения по оси Z (пример)
Рисунок 63 - Измерение погрешности перпендикулярности
с использованием базового угольника
При помощи датчика линейного перемещения одно плечо базового угольника устанавливают точно в линию с первой траекторией перемещения, а вторую траекторию измеряют в соответствии с
10.1.3. Это плечо угольника может быть установлено параллельно первой траектории с наклоном, превышающим допустимый, для того, чтобы дать возможность работы только в одном направлении, исключающем его запаздывание.
С целью исключения погрешности самого используемого для измерения базового угольника рекомендуется проводить процедуру обратного измерения, повернув угольник на 180°, а установку держателя линейного перемещения изменить таким образом, чтобы оба измерения касались той же оси перемещения и той же поверхности угольника (см.
рисунок 64). Для тех же измерений применимы также двумерные контрольные плиты на шариках.
Примечание - Деформацию компонентов, вызываемую воздействием нагрузки, можно не учитывать.
a) Нормальная установка
b) Обратная установка
1 - датчик линейного перемещения; 2 - базовый угольник;
3 - поверочная линейка; B - вторая базовая поверхность
базового угольника; LMX - направление перемещения по оси X
(пример); LMZ - направление перемещения по оси Z (пример);
A - первая базовая поверхность базового угольника
Рисунок 64 - Обратный способ измерения перпендикулярности
10.3.2.3 Метод, использующий стандартную поверочную линейку и стандартный делительный стол
Стандартную поверочную линейку устанавливают на стандартном делительном столе, который плотно прижимают к столу станка. Сначала поверочную линейку выстраивают в линию по одной оси станка и измеряют погрешность параллельности между этой осью и соответствующей базовой поверхностью (неподвижной осью), как это описано в
10.1.3. Затем делительный стол поворачивают на 90° и производят измерение погрешности параллельности для другой оси перемещения (см.
рисунок 65).
1 - поверочная линейка в исходной позиции; 2 - стандартный
делительный стол; 3 - поверочная линейка после поворота
на 90°; 4 - датчик линейного перемещения; LMX - направление
перемещения по оси X (пример); LMY - направление перемещения
по оси Z (пример)
Рисунок 65 - Измерение погрешности перпендикулярности
с использованием стандартного делительного стола
10.3.2.4 Метод, использующий зеркальный эккер и лазерный интерферометр прямолинейности
Измерения по этому методу можно производить двумя путями. В первом варианте погрешность прямолинейности первой траектории измеряют путем направления лазерного луча через зеркальный эккер на прямолинейный (двухзеркальный) отражатель. Далее призма Уолстона перемещается ко второму перемещающемуся компоненту станка. Погрешность прямолинейности второй траектории измеряют без перемещения зеркального эккера, прямолинейного отражателя или лазерного луча [см.
рисунок 66 a) и
b)].
По второму варианту погрешность прямолинейности первой траектории измеряют, как и по первому. Затем зеркальный эккер пускается в обратном направлении, луч лазера выстраивается в линию с прямолинейным отражателем только поворотом самого лазерного луча. При этом прямолинейный отражатель остается в стабильном состоянии.
Для некоторых конструкций металлорежущих станков может потребоваться использование дополнительного большого двухзеркального отражателя и вращающегося зеркала [см.
рисунок 66, c)]. Рекомендуется строго придерживаться инструкций производителя инструмента.
a) Пример 1 - Измерения в горизонтальной плоскости
для первой линейной оси
b) Пример 2 - Измерения в горизонтальной плоскости
для второй линейной оси
c) Пример 1 - Измерения в вертикальной плоскости
для первой линейной оси
d) Пример 2 - Измерения в вертикальной плоскости
для второй линейной оси
1 - шпиндель станка; 2 - двухзеркальный отражатель;
3 - призма Уолстона (интерферометр); 4 - зеркальный эккер;
LM1 - первая линейная ось; перемещения; 5 - лазерная
головка; 6 - большой отражатель в комплекте с призмой
Уолстона (интерферометром); 7 - вращающееся зеркало;
LM2 - вторая линейная ось перемещения
Рисунок 66 - Измерения погрешности перпендикулярности
с использованием зеркального эккера и лазерного
интерферометра
Перед измерениями рекомендуется проводить испытания EVE.
Полученные результаты измерения сначала наносят точками на координатную сетку, как показано на
рисунке 67. Базовые прямые линии для траекторий определены в соответствии с
8.2.3. С этой целью рекомендуется метод наименьшей посадки квадрата. Рассчитывают углы наклона линий, соответствующие угловым погрешностям между осями перемещения и относящимися к ним базовыми линиями измерения.
1 - измеряемая траектория перемещения по оси X; 2 - базовая
прямая линия траектории перемещения по оси X; 3 - измеряемая
траектория перемещения по оси Y; MRY - базовая линия
измерения по оси Y; 4 - базовая прямая линия траектории
перемещения по оси
Y;

- угол наклона траектории
перемещения к оси
X;

- угол наклона траектории
перемещения к оси Y; MRX - базовая линия измерения по оси X
Рисунок 67 - Анализ данных измерений для определения
погрешности перпендикулярности
В зависимости от выбранной для проводимого измерения системы условных обозначений эти два угла либо вычитают из первоначальной погрешности перпендикулярности, либо прибавляют к ней. Для задач настоящего стандарта показания более 90° дают положительную величину погрешности перпендикулярности, а показания менее 90° - отрицательную.
Затем следует производить поправку на погрешность перпендикулярности между базовым квадратом и стандартным делительным столом (см.
раздел 5).
Протоколируют положения базовых линий измерения в пределах рабочей зоны вместе с рассчитанными значениями погрешности перпендикулярности.
10.3.2.6 Расчет погрешности перпендикулярности посредством испытаний на круговое и диагональное смещение (косвенный метод)
Погрешность перпендикулярности между двумя осями линейного перемещения можно рассчитывать путем испытаний на круговое (см. ISO 230-4) и диагональное (см. ISO 230-6) смещение.
При испытании на круговое смещение погрешность перпендикулярности определяют как отношение разности между расположенными под углом 45° друг к другу двумя диаметрами

к номинальному диаметру круговой траектории.
С целью увеличения геометрического воздействия на погрешность перпендикулярности круговая траектория должна быть максимально большой (см. приложение B ISO 230-4:2005). Результаты, полученные на траекториях с малыми диаметрами, показывают только локальную погрешность перпендикулярности.
Для того чтобы устранить воздействие возможного бокового зазора и сервопривода на определение погрешности перпендикулярности, рекомендуется проводить испытания на круговой траектории в 360° в двух направлениях при низкой скорости подачи с программной регулировкой посадки измерительного угольника.
При испытании на диагональное смещение погрешность перпендикулярности определяют как отношение разности между расположенными под углом 45° друг к другу двумя диагоналями

к номинальной диагонали
D.
Диагонали можно использовать и в том случае, когда они имеют разную длину. Тогда погрешность перпендикулярности
S рассчитывают по следующей упрощенной формуле
(уравнение 15):

, (15)
где D0 - номинальная длина диагонали;
D1 и D2 - измеренные длины диагоналей;
X и Y - заданные длины траекторий вдоль каждой оси линейного перемещения.
Примечание - Погрешность измерения возрастает по мере увеличения коэффициента этого соотношения.
10.3.3 Погрешность перпендикулярности между осью линейного перемещения и средней осевой линией оси вращения или шпинделя станка
Определение взаимного расположения между осью линейного перемещения и средней осевой линией оси вращения или шпинделя станка схематическим путем начинают с установления средней осевой линии, относящейся к оси вращения. Затем проводят сравнение перемещения линейной оси с соответствующей средней линией. В плоскости измерения среднюю осевую линию (оси) вращения определяют путем усреднения погрешности перпендикулярности в двух угловых позициях оси вращения, отстоящих друг от друга на 180°, причем считается, что номинально ось вращения и ось линейного перемещения параллельны осям системы координат. Иногда для непрямого представления средней осевой линии вращения могут учреждать базовую линию измерения, перпендикулярную оси вращения. Для представления такой базовой линии могут служить как механические объекты, так и оптические методы. На
рисунке 68 показана типичная установка для таких измерений.
a) Прямое направление
b) Обратное направление
Рисунок 68 - Погрешность перпендикулярности
между линейной осью и осью вращения
Поверочную линейку устанавливают таким образом, чтобы она охватывала центр оси вращения и позволяла измерять ее отклонения от прямолинейности как оптическими, так и механическими средствами. Наклон базовой прямой линии измеряется углом между осью линейного перемещения и поверхностью поверочной линейки. Затем ось вращения поворачивают на 180° и производят такие же измерения. На
рисунке 68 показано произвольно выбранное "прямое направление" с осью вращения в нулевом угловом положении и обратное направление с осью вращения в положении 180°.
Угол

на
рисунке 68 представляет порождаемую крепежными приспособлениями погрешность перпендикулярности между поверочной линейкой и осью вращения, в то время как угол
EB0C показывает погрешность перпендикулярности. Измеряемые углы и выбираемые направления (прямое и обратное) имеют следующие обозначения:

и

. Погрешность перпендикулярности
EB0C рассчитывают по
уравнению (16)

. (16)
При повторном выполнении таких измерений начальной позицией является поворот на 90° относительно первого измерения, причем можно определять погрешность перпендикулярности между осью вращения и другой осью линейного перемещения, перпендикулярной к первой.
10.3.4 Погрешность перпендикулярности между двумя средними осевыми линиями
Контрольную оправку устанавливают параллельно средней осевой линии первой оси вращения. Затем датчик линейного перемещения прикрепляют ко второй оси вращения с помощью кронштейна, смещенного радиально относительно второй средней осевой линии. Датчик линейного перемещения приводится в контакт с контрольной оправкой, а первую ось вращения поворачивают на несколько полных оборотов, причем записывают показания датчика линейного перемещения. Затем вторую ось вращения, на которой укреплен датчик, поворачивают на 180°, а первую ось вращения - снова на несколько полных оборотов. Записывают новые показания датчика (см.
рисунок 69). По двум сериям данных рассчитывают центры окружностей наименьших квадратов. Разность координат этих центров вдоль второй оси вращения, поделенная на измеренные датчиком расстояния между двумя сериями измерений, дает в результате погрешность перпендикулярности между двумя средними осевыми линиями.
Рисунок 69 - Погрешность перпендикулярности
между двумя средними осевыми линиями
10.4 Пересечение средних осевых линий
10.4.1 Общие положения
В большинстве металлорежущих станков многочисленные оси вращения могут быть либо параллельными, либо перпендикулярными друг другу. Если они не параллельны, следует проверять точки пересечения как фактические, так и условные. При непосредственных измерениях для представления по крайней мере одной из осей используют высокоточные объекты.
10.4.2 Пересечение перпендикулярных средних осевых линий
Калибр-сферу прикрепляют к одной из осей вращения в номинальной позиции средней осевой линии другой оси вращения и регулируют таким образом, чтобы он мог представлять собой среднюю осевую линию первой оси вращения. Для проведения измерений датчик линейных перемещений прикрепляют ко второй оси вращения напротив калибра-сферы (см.
рисунок 70). Центр максимально подходящей окружности (в направлении, перпендикулярном обеим средним осевым линиям) определяют по показаниям датчика линейных перемещений, определяющим расстояние между двумя осями вращения.
1 - шпиндель; 2 - средняя осевая линия шпинделя;
3 - поворотный стол; 4 - средняя осевая линия поворотного
стола; 5 - калибр-сфера; 6 - датчик линейных перемещений
на начальной позиции; 7 - датчик линейных перемещений
на промежуточной позиции
Рисунок 70 - Пересечение перпендикулярных
средних осевых линий
Для тех же целей может быть применена следующая альтернативная процедура под названием "Лови искомую точку":
a) установить индикатор напротив механического объекта, затем повернуть первую ось на 180°;
b) повернуть на 180° вторую ось;
c) индикатор должен зарегистрировать в обоих случаях те же самые данные для точки пересечения средних осевых линий.
10.4.3 Пересечение неперпендикулярных средних осевых линий
Точку пересечения двух непараллельных и неперпендикулярных осей можно определить путем измерений между двумя контрольными оправками, представляющими эти оси. Метод измерения аналогичен тому, что использован для контроля равноудаленности двух осей от дополнительной плоскости (см.
12.3.2.2). Этот метод представляется более легким в случае возможности размещения контрольных оправок на двух соответствующих шпинделях станка и при наличии плоских поверхностей, параллельных этим осям. Между этими двумя поверхностями проводят измерения для определения погрешности пересечения (см.
рисунок 71).
1 - шпиндель; 2 - средняя осевая линия шпинделя;
3 - поворотная головка; 4 - средняя осевая линия поворотной
головки; 5 - контрольная поверхность; 6 - суппорт датчика
линейных перемещений; 7 - первая контрольная оправка;
8 - вторая контрольная оправка; 9 - датчик линейных
перемещений на начальной позиции; 10 - датчик линейных
перемещений на промежуточной позиции
Рисунок 71 - Пересечение неперпендикулярных
средних осевых линий
10.4.4 Непрямые измерения
Непрямые измерения можно производить с использованием отдельных поверочных плит, устанавливаемых параллельно двум испытуемым осям. Проводят измерения расстояний от поверочных плит до каждой испытуемой оси и сравнивают результаты.
11 Испытания кинематических перемещений по множеству осей
Испытания, описываемые в данном разделе, обеспечивают быстрый и эффективный путь экспертизы и оценки точности воспроизведения контура металлорежущими станками с числовым управлением так же хорошо, как их способность позиционирования на протяжении рабочего цикла. Эти способности подвержены влиянию различных источников геометрических погрешностей (погрешности прямолинейности, перпендикулярности и т.д.), связанных с перемещением по многочисленным осям. Кинематические испытания обеспечивают возможность наблюдения совокупности источников таких погрешностей. С тех пор как стало относительно легко проводить подобные испытания, большое внимание уделяют измерениям множества источников погрешностей при многоосевом перемещении, их использованию для периодической проверки работы станков и верификации работы после неожиданных происшествий, таких как поломка.
11.2.1 Общие положения
Две или более скоординированные по времени линейные оси перемещаются номинально по прямой линии - по передней или боковой диагонали призмы, очерчивающей объем обработки. Во время такого перемещения измеряют, фиксируют и рассчитывают погрешности позиционирования и прямолинейности.
11.2.2 Контроль диагонального перемещения
11.2.2.1 Общие положения
Задачей контроля диагонального перемещения является поверхностная оценка объемных характеристик металлорежущих станков с ЧПУ. Полная проверка объемных характеристик металлорежущих станков представляет собой сложный и трудоемкий процесс. Контроль диагонального перемещения снижает трудовые и стоимостные затраты. Информация относительно оборудования и оценок приведена в ISO 230-6, в котором указания для сниженных объемов обработки даны в разделе соответствующего наименования, следующем после разделов, устанавливающих параметры (см. ISO 230-6).
11.2.2.2 Контроль передней диагонали
Процедура контроля схематически подобна процедуре отдельных линейных осей, описанной в ISO 230-2, за исключением того, что линейное смещение измеряют не относительно параллельной линейной оси, а вдоль диагоналей сетки координат станка.
11.2.2.3 Контроль боковой диагонали
Процедура контроля схематически подобна процедуре отдельных линейных осей, описанной в ISO 230-2, за исключением того, что линейное смещение измеряют не относительно параллельной линейной оси, а вдоль диагоналей призмы, очерчивающей объем обработки.
11.2.3 Контроль прямолинейности диагонали
11.2.3.1 Общие положения
Задачей контроля прямолинейности диагонали является оценка координации одновременности перемещения двух или более линейных осей металлорежущего станка.
В принципе метод, описанный в
8.2, применим и для контроля прямолинейности диагонали.
11.2.3.2 Контроль прямолинейности передней диагонали
Две линейные оси программируют на перемещение функциональной точки вдоль прямолинейной траектории, определяемой прямоугольной поверхностью, образуемой двумя линейными перемещениями. Погрешность прямолинейности измеряют и рассчитывают, как описано в
8.2.
11.2.3.3 Контроль прямолинейности боковой диагонали
Три линейные оси программируют на перемещение функциональной точки вдоль прямолинейной траектории, определяемой диагональю призмы, очерчивающей объем обработки, образованный перемещением трех взаимно перпендикулярных линейных осей. Погрешность прямолинейности измеряют и рассчитывают, как описано в
8.2.
11.3.1 Общие положения
Задачей таких испытаний является обеспечение метода оценки способности металлорежущего станка с ЧПУ воспроизводить запрограммированный контур. На погрешности круговых контуров, представленных круговой диаграммой на
рисунке 72, оказывают воздействие геометрические погрешности и динамическое поведение станка при приемлемой скорости подачи. Результатом является качественное представление данных, которые могут быть получены на обрабатываемом изделии в идеальных условиях работы станка, если диаметр изделия и скорость подачи те же и для обработки, и для проверки воспроизведения кругового контура. Определения и параметры контроля обеспечиваются согласно ISO 230-4 (на
рисунке 72 представлены результаты типовых измерений).
0 - исходная точка; 1 - стандартная окружность;
2 - фактическая траектория; G - отклонение
от круглости, GXY; + - центр окружности наименьших
квадратов, вписанной в фактическую траекторию
Рисунок 72 - Оценка круговой погрешности
G
Примечание 1 - ISO 230-4 определяет
G как "отклонение от круглости" и "погрешность круглости" (см.
раздел 3). Следовательно, отклонение от круглости, представленное на
рисунке 72, непосредственно относится к погрешности круглости.
Примечание 2 - При фактической обработке деталей диаметр и дефекты инструмента, механические характеристики материала обрабатываемой заготовки, как и свойства внешних и внутренних поверхностей станка, оказывают воздействие на погрешность воспроизведения контура, что необходимо учитывать при таких проверках.
11.3.2 Полностью круговые траектории
Так как оценка данных круговых проверок требует коррекции по методу наименьших квадратов для компенсации погрешностей из-за неточностей центровки оборудования, настоятельно рекомендуется минимизировать компьютерные погрешности и связанные с ними систематические отклонения, порождаемые полностью круговой траекторией.
11.3.3 Частично круговые траектории
Используемые для круговых испытаний инструменты и крепежные приспособления предпочтительны для полных круговых траекторий перемещения функциональной точки. Если проверяемая траектория включает только отдельные отрезки круговых траекторий, оценка может быть произведена по таким отрезкам.
Следует отметить, что на процесс получения данных могут оказывать воздействие компьютерные погрешности, поэтому настоятельно рекомендуется физическую центровку инструмента в соответствии с запрограммированными перемещениями производить с крайней осторожностью.
Для частично круговых траекторий вместо кругового отклонения
G рекомендуется рассчитывать радиальное отклонение
F (см.
11.3.1, примечание 1).
11.3.4 Измерительные инструменты, приспособления и методы измерения для круговых траекторий, образованных двумя или тремя линейными осями. Двумерные и трехмерные круговые испытания
11.3.4.1 Общие положения
Две линейные оси программируют таким образом, чтобы функциональная точка следовала по полностью или частично круговой траектории в плоскости, определяемой двумя из трех осей линейного перемещения (XY, YZ или ZX).
Круговые проверки, особенно проводимые с использованием шарового калибра, оснащенного выдвижным стержнем или двумерной цифровой шкалой, не ограничены измерениями в базовых плоскостях XY, YZ и ZX металлорежущего станка. Они могут быть также произведены в любых направлениях в пространстве, в котором компьютер позволяет продолжать оси X, Y и Z за пределы круговой траектории.
11.3.4.2 Метод, использующий вращающийся датчик одномерных линейных перемещений
Датчик одномерных линейных перемещений программируют на перемещение по круговой траектории. Датчик поворачивают при помощи специального поворотного приспособления и производят измерения смещений относительно контрольной оправки или специальной мишени, устанавливаемой на поворотном приспособлении, связанном с датчиком (см.
рисунки 73 и
74). Показания датчика наносят точками на круговую диаграмму (см.
рисунок 72). Круговая диаграмма производится, например, синхронизированным построителем траекторий по компьютерному расчету или с использованием дополнительного датчика положений, вращающегося в специальном приспособлении, и полярного графопостроителя.
1 - датчик одномерных линейных перемещений; 2 - специальный
поворотный суппорт; 3 - контрольная оправка
Рисунок 73 - Круговая проверка с использованием датчика
одномерных линейных перемещений
1 - специальный поворотный суппорт 1; 2 - специальный
поворотный суппорт 2; 3 - датчик одномерных линейных
перемещений; 4 - мишень; 5 - угловой графопостроитель
Рисунок 74 - Проверка круглости с использованием датчика
одномерных линейных перемещений и углового графопостроителя
11.3.4.3 Метод, использующий круговой контрольный калибр и датчик двумерных перемещений
Двумерный калибр программируют на перемещение по круговой траектории (см.
рисунок 75). Центр и диаметр программируемой траектории выбирают таким образом, чтобы двумерный калибр постоянно находился в контакте с базовым артефактом. Записывают показания калибра в двух направлениях (
X и
Y). Эти величины наносят точками на круговую диаграмму (см.
рисунок 72).
1 - двумерный калибр; 2 - угловой
графопостроитель; 3 - каретка станка
Рисунок 75 - Проверка круглости
с использованием двумерного калибра
11.3.4.4 Метод, использующий шаровой контрольный калибр с выдвижным стержнем
Одно контрольное устройство, состоящее из шарового калибра с углубленной или выпуклой сферической поверхностью и выдвижного стержня, устанавливают на рабочем компоненте станка, а другое аналогичное устройство - на держателе инструмента (см.
рисунок 76). Станок программируют на воспроизведение между боковыми сторонами инструмента и заготовки круговой траектории радиусом длиной, равной длине выдвижного стержня контрольного устройства. Датчик линейных перемещений регистрирует изменения расстояния между двумя шаровыми калибрами. Результаты измерений наносят точками на круговую диаграмму.
1 - шаровой калибр; 2 - магнитная втулка; 3 - датчик
линейных перемещений; 4 - выдвижной стержень; 5 - шпиндель
станка; 6 - установочный крепеж
Рисунок 76 - Круговые испытания с использованием
телескопического шарового калибра
11.3.4.5 Метод, использующий двумерную масштабную линейку
Масштабную линейку, способную определять одновременно две координаты местоположения, используют для получения координат ряда позиций вдоль круговой траектории (см. ISO/TR 230-11). Детектор с двумерной шкалой устанавливают на боковой стороне инструмента, а двумерную масштабную линейку с градуированной шкалой размещают на боковой стороне заготовки (см.
рисунок 77). Координаты позиций вдоль круговой траектории между боковыми сторонами инструмента и заготовки определяют специальным программным обеспечением, регистрируют и используют для получения данных по отклонениям от круглости, которые затем наносят точками на круговую диаграмму.
1 - двумерный детектор положений; 2 - градуированная шкала;
3 - шпиндельная головка станка; 4 - стол станка
Рисунок 77 - Измерение погрешности круглости
с использованием двумерной шкалы
11.3.4.6 Метод, использующий два датчика линейных перемещений и стандартный поверочный угольник
Стандартный поверочный угольник устанавливают на столе станка, а его эталонную поверхность выравнивают по двум осям координат станка (оси
X и
Y на
рисунке 78 приведены только для примера).
1 - датчик линейных перемещений по оси X; 2 - датчик
линейных перемещений по оси Y; 3 - стандартный
поверочный угольник
Рисунок 78 - Измерение погрешности круговой траектории
малого радиуса двумя датчиками линейных перемещений
Двумерный датчик линейных перемещений, настроенный соответственно по направлениям осей
X и
Y, устанавливают на поверхности стола для выявления относительного смещения между поверхностями инструмента и заготовки, как показано на
рисунке 78. Координаты отдельных составляющих круговой траектории по осям
X и
Y определяют и регистрируют двумя датчиками линейных перемещений. Полученные данные координат
Xn,
Yn используют для расчета отклонений и построения точечной круговой диаграммы (см.
рисунок 72).

, (17)
где Xn, Yn - рассчитанные координаты в n-позиции;
r - запрограммированный радиус круговой траектории;
en - обозначение отклонения от запрограммированной круговой траектории. Знак этой величины положительный, если измеренный радиус превышает величину запрограммированного.
Для таких измерений может быть использован также лазерный интерферометр с двумя плоскими взаимно перпендикулярными зеркалами.
11.3.5 Круговое перемещение, образованное комбинацией линейной оси и оси вращения
11.3.5.1 Общие положения
Целью таких испытаний является контроль отклонений от круглости, или, иными словами, от константы радиуса траектории, образуемой любой комбинацией скоординированных, т.е. одновременно управляемых, перемещений трех линейных осей и двух осей вращения. Основной принцип таких проверок - координация множественных осевых перемещений для поддержания постоянного взаимоположения между инструментом и поверхностью, несущей обрабатываемую заготовку.
Отклонения измеряют при помощи шарового калибра с датчиком линейных перемещений, шарового калибра с выпуклой сферической поверхностью и выдвижным стержнем, многоячеистого шарового калибра с вогнутой сферической поверхностью.
11.3.5.2 Метод, использующий шаровой калибр с датчиком линейных перемещений
Отклонения от констант радиусов множества траекторий вокруг шарового калибра, образуемых любой комбинацией скоординированных, т.е. одновременно управляемых, трех линейных осей и двух осей вращения измеряют при помощи датчика линейных перемещений.
11.3.5.3 Радиальные испытания - метод с использованием трех датчиков линейных перемещений и шарового калибра
Стандартную сферу устанавливают на поверхности металлорежущего станка, несущей инструмент, а датчик линейных перемещений - на поверхности, несущей обрабатываемую заготовку, и настраивают в направлении, перпендикулярном шаровой поверхности (см.
рисунок 82). Выходные данные датчика линейных перемещений фиксируются компьютером или графопостроителем.
Центр радиуса r запрограммированной сферы совмещен с центром стандартной сферы. Центр стандартной сферы настроен соосно средней осевой линии шпинделя станка.
Измеряемые тремя датчиками линейных перемещений, расположенными напротив стандартной сферы, отклонения взаимоположения инструмента и заготовки вдоль траектории, образуемой скоординированными осями перемещения, можно разложить на три категории по осям
X,
Y,
Z: радиальные, аксиальные и тангенциальные (см.
рисунок 79).
1 - датчик линейных перемещений 1; 2 - датчик линейных
перемещений 2; 3 - датчик линейных перемещений 3;
4 - контрольная сфера, центрированная по средней линии оси
шпинделя; 5 - средняя осевая линия шпинделя; 6 - поворотный
стол; 7 - гнездо для датчиков; 8 - револьверная головка
Рисунок 79 - Метод радиальных испытаний с тремя датчиками
линейных перемещений и стандартной сферой - R-тест
Стандартную сферу центрируют по средней осевой линии шпинделя (поверхность инструмента), а три датчика линейных перемещений устанавливают на поверхности металлорежущего станка, несущей заготовку, и настраивают на измерение изменений положения центра стандартной сферы.
11.3.5.4 Метод, использующий телескопический шаровой калибр
Отклонения взаимоположения между инструментом и заготовкой вдоль траектории, образуемой тремя скоординированными осями перемещения, можно измерять телескопическим шаровым калибром, который можно устанавливать в трех направлениях (см.
рисунок 80):
a) параллельно оси вращения;
b) радиально относительно круговой траектории;
c) тангенциально - по касательной к круговой траектории.
1 - телескопический шаровой калибр; 2 - гнездо для установки
калибра на поверхности шпинделя; 3 - гнездо для установки
калибра на поверхности заготовки; 4 - поворотный стол
Рисунок 80 - Круговые перемещения, образованные двумя
скоординированными линейными или вращательными
перемещениями. Измерения в радиальном, аксиальном
и тангенциальном направлениях
Выдвижной стержень шарового калибра, обращенного к поверхности стола, устанавливают на некотором расстоянии от оси вращения стола, а шаровой калибр, обращенный к поверхности шпинделя, размещают на оси вращения шпинделя. Ось вращения выдвижного стержня калибра для измерений по
варианту a) ориентирована перпендикулярно поверхности стола, а для измерений по
вариантам b) и
c) - параллельно поверхности стола.
Отклонения, выявленные телескопическим шаровым калибром, наносят точками на круговую диаграмму, относящуюся к контролируемым позициям оси вращения. Круговую погрешность фактической траектории дает диапазон измеренных отклонений.
При создании диаграмм круговой погрешности для контроля координации различных многоосевых перемещений [например, перемещения по конусу, см.
рисунок 81)] могут использовать другие направления установки калибра и другие траектории инструмента, поддерживающие постоянство радиального расстояния между поверхностями обрабатывающего инструмента и обрабатываемой заготовки.
11.4 Перемещение по конусу
Этим методом осуществляют контроль отклонений круговой траектории центральной точки инструмента, образуемой одновременным перемещением пяти координируемых управляемых осей (трех линейных и двух осей вращения). Такое перемещение программируют (используя компьютерное программирование функциональной точки - центра инструмента) при обработке заготовки с конической поверхностью. Для осуществления всех осевых перемещений между осью конуса и средней линией оси
C должен быть угол

.
Для станков с поворотным столом ось конуса должна отстоять на расстоянии
R от оси поворотного стола в плоскости опоры конической заготовки (см.
рисунок 81).
1 - шаровой калибр; 2 - средняя осевая линия поворотного
стола C'; 3 - средняя осевая линия шпинделя; R - расстояние
между осью конуса и средней линией оси C' (проекция
в плоскости поворотного стола);

- половина угла в вершине
конуса;
4 - поверхность поворотного стола;

- угол
между осью конуса и средней линией оси C'
Рисунок 81 - Перемещение по конусу, образованное
скоординированными тремя линейными осями
и двумя осями вращения
Для измерения отклонений используют телескопический шаровой калибр. На оси вращения шпинделя устанавливают шар калибра, обращенный к поверхности шпинделя, в то время как сторону шара, обращенную к поворотному столу, устанавливают таким образом, чтобы соблюсти вышеупомянутое расстояние и угол

оси конуса.
Для поворотных столов качающегося типа желательно, чтобы положение центральной позиции сферы, обращенной к поверхности стола, было выше, чем центральная линия оси A. Телескопический шаровой калибр должен быть установлен приблизительно перпендикулярно к воображаемой конической поверхности, образуемой перемещением осей.
Скорость образования контура должна быть постоянной.
Записывают диаметр круговой траектории и угол наклона между круговой траекторией и поверхностью стола в пределах угла вершины конуса и от расстояния оси C.
Отклонения испытуемой круговой траектории от круглости, выявленные шаровым калибром, наносят точками на соответствующую круговую диаграмму. Разность между максимальным и минимальным значениями отклонений вносят в протокол.
Аналогичные испытания могут использоваться для любых комбинаций перемещения четырех осей. В таких случаях требуется уменьшать расстояние между осью вращения поворотного стола и осью конуса.
11.5 Испытание на сферическую интерполяцию с помощью датчика линейных перемещений и физического эталона сферической поверхности
Целью таких испытаний является контроль постоянства многочисленных радиусов траектории, образуемой перемещением синхронно управляемых осей (трех линейных осей и двух осей вращения) вокруг эталона сферической поверхности.
Эти испытания можно проводить, комбинируя различные измерительные устройства. При этом отклонения измеряют с использованием датчика(ов) линейных перемещений и физического эталона сферической поверхности или шаровых калибров - телескопического или комплекта сферических гнезд.
1 - шаровой калибр с центром на средней осевой линии
шпинделя; 2 - датчик линейных перемещений 1; 3 - датчик
линейных перемещений 2; 4 - датчик линейных перемещений 3
Рисунок 82 - Сферические испытания
11.6 Погрешность плоскостности поверхности, образуемой двумя осями линейного перемещения
11.6.1 Метод, использующий стандартную поверочную плиту и датчик линейных перемещений
Плоскостность виртуальной поверхности, образуемой перемещением двух линейных осей, можно измерять с использованием стандартной поверочной плиты (см.
рисунок 83).
1 - шпиндель; 2 - стол; 3 - стандартная поверочная плита;
4 - датчик линейных перемещений; 5 - точки опоры (3)
Рисунок 83 - Измерение отклонений от плоскостности
с использованием стандартной поверочной плиты
Датчик линейных перемещений огибает поверочную плиту посредством перемещения двух линейных осей. Отклонения, обнаруженные этим датчиком, регистрируют и анализируют путем сравнения со стандартной плоскостью (см.
3.8.8 -
3.8.10), используемой для расчета локальных отклонений (см.
3.8.7). Погрешность плоскостности представляет собой диапазон рассчитанных локальных отклонений от плоскостности (см.
3.8.11).
Примечание - Минимальную погрешность плоскостности рассчитывают с использованием стандартных плоскостей для минимальных зон испытаний.
11.6.2 Метод, использующий лазер, настроенный на перемещение по стандартным круговым траекториям
Этот метод аналогичен методу, описанному в
11.6.1. Стандартная поверочная плита (эталон плоскостности) перемещается вдоль лазерного луча. Лазерный луч поворачивается при помощи вращающегося зеркала, образуя виртуальную плоскость лазерного луча. Для измерения отклонений от плоскостности в местах падения лазерного луча размещен датчик линейных перемещений в комплекте со светодиодным датчиком (фотодетектором).
Поворотную лазерную головку устанавливают на столе станка (на той позиции, на которой обычно установлена обрабатываемая заготовка). Лазерную головку регулируют таким образом, чтобы плоскость падения луча была номинально параллельна виртуальной поверхности, образуемой перемещениями двух линейных осей. Фотодетектор устанавливают на шпинделе станка (в той позиции, на которой обычно монтируют обрабатывающий инструмент).
Отклонения, обнаруженные фотодетектором, регистрируют и анализируют для формирования стандартной плоскости (см.
3.8.8 -
3.8.10) и расчета локальных отклонений от плоскостности (см.
3.8.7). Погрешность плоскостности представляет собой диапазон рассчитанных локальных отклонений (см.
3.8.11).
Примечание 1 - Минимальную погрешность плоскостности рассчитывают для виртуального эталона плоскостности минимальной зоны испытаний.
Примечание 2 - В случае большой длины рабочего хода на погрешность измерения влияют пространственные изменения коэффициента преломления воздуха, которые в значительной мере способствуют изгибанию луча лазера, который отклоняется от прямой линии приблизительно на

на каждые 10 м длины хода при вертикальном градиенте температуры 1 °C/м
[11].
Значительному улучшению результата измерений может способствовать перемешивание феном воздуха, окружающего луч лазера, в дополнение к выбору числа измерений, адекватного задаче усреднения данных.
11.7 Специальные испытания
11.7.1 Общие положения
Испытания, описываемые в данном подразделе, основаны на измерениях многочисленных расстояний в пределах рабочего объема станка. В таких измерениях использован физический эталон со сферическими поверхностями, устанавливаемыми в известных положениях (1D-, 2D- или 3D-устройства), или лазерные интерферометры, специально сконструированные для измерения смещений вдоль множественных направлений.
В случае использования физического эталона положение шаровых калибров в системе координат станка определяют, проводя измерения смещений или поверхностных систем обнаружения, связанных с измерительными шкалами самого станка (далее - "испытательные системы"). Затем измеряемые положения физического эталона с учетом его системы координат сравнивают с калиброванными позициями для определения отклонений, вызванных погрешностью перемещений станка.
Измерительными инструментами для метода испытаний с использованием физического эталона являются пробник с кнопочным пуском, датчик(и) линейных перемещений (для радиальных поверочных систем, см.
рисунок 79) и 2D- или 3D-пробники. Рекомендуется до начала испытаний проводить проверку повторяемости измерительных систем, особенно в случае использования пробника с кнопочным включением.
11.7.2 Шаровое устройство для одномерных измерений
Физический эталон с шаровым устройством на столе станка следует ориентировать таким образом, чтобы ряд шариков выстраивался в нужном направлении (см.
рисунок 84). Рекомендуется использовать поверочную систему с качественными характеристиками, соответствующими ISO 230-10.
Рисунок 84 - Конструкция одномерного шарового калибра
Точную ориентацию физического эталона по осям координат измеряют поверочной системой в положениях первого и последнего шарика (сферического углубления). С помощью полученных показаний можно рассчитывать прицельные позиции всех шариков эталона в системе координат станка.
В процессе измерения оси станка перемещаются по вычисленным позициям каждого шарика. Отклонения в результате погрешности перемещений или неправильной настройки осей станка измеряют с использованием поверочной системы.
После того как выполнены измерения на позиции последнего шарика, производят повторное измерение в первой позиции с целью проверки термального воздействия.
Погрешность прямолинейности можно определять по измеренным отклонениям. Величина точности позиционирования и повторяемости может быть определена в соответствии с ISO 230-2.
11.7.3 Шаровое устройство для двумерных измерений
Калиброванная плита с шаровым устройством на столе станка должна быть ориентирована таким образом, чтобы взаимно перпендикулярные ряды шариков были выстроены по двум осям координат металлорежущего станка (см.
рисунок 85).
Рисунок 85 - Конструкция двумерного шарового калибра
Рекомендуется использовать поверочную систему с качественными характеристиками, соответствующими ISO 230-10.
Точную ориентацию физического эталона по осям координат измеряют поверочной системой в положениях шариков, расположенных в трех или четырех углах поверочной плиты. С помощью полученных показаний можно рассчитывать прицельные позиции всех шариков эталона в системе координат станка.
В процессе измерения оси станка перемещаются по рассчитанным позициям каждой сферы. Отклонения в результате погрешности перемещений и неправильной настройки осей станка измеряют с использованием поверочной системы.
После того как выполнены измерения на позиции последнего шарика, производят повторное измерение в первой позиции с целью проверки термального воздействия.
Положение и направление физического эталона в системе координат станка настраивают математически по минимальной сумме квадратов в диапазоне отклонений характеристик испытуемого станка.
Специфические погрешности характеристик станка могут происходить в значительной мере от подлежащих измерению данных, например от погрешности прямолинейности двух отдельных используемых осей перемещения, погрешности взаимной перпендикулярности этих осей в плоскости шарового эталона и их угловой погрешности относительно боковой стороны заготовки.
Если вертикальные координаты сферы также калиброваны, можно измерять погрешность прямолинейности в направлении, перпендикулярном плоскости эталона, и угловую погрешность перемещения этих осей вокруг оси перемещения (продольный крен) при условии, что эти две оси находятся на боковой стороне заготовки.
11.7.4 Измерения трехмерным шаровым калибром
Такие измерения выполняют как с использованием трехмерного пирамидального шарового калибра типа 3D, так и расположением аналогичного двумерного устройства типа 2D на различных высотах при помощи калиброванного кинематического устройства, обеспечивающего различные прицельные стандартные точки в рабочем объеме станка. Результаты анализов измерений, полученных в формате 2D, дополняют данными измерений в формате 3D.
11.7.5 Многосторонний метод с использованием лазерного интерферометра
Такой метод требует использования большого числа интервалов и позиций измерения для идентификации геометрических погрешностей в рабочем объеме металлорежущего станка. Измерения проводят между поверхностями обрабатываемой заготовки и обрабатывающего инструмента. Обрабатывающий инструмент перемещается через ряд точек измерения (например, по изображенной точками линии на
рисунке 86); изменения расстояния или местоположения относительно выбранной точки на поверхности заготовки записывают. Далее выбирают другую позицию на поверхности заготовки, инструмент снова приводят в движение, и он перемещается через тот же самый ряд позиций точек измерения, но через другой ряд измененных расстояний; показания записывают. Регистрируют данные измерений для нескольких серий выбранных точек. Также можно производить измерения для различных расстояний до поверхности инструмента (см.
рисунок 86).
Рисунок 86 - Многосторонний метод
Все данные измерений используют для расчета отклонений перемещения осей X, Y, Z в точках измерения, а в совокупности с числовым программным управлением кинематикой и для расчета любых геометрических погрешностей перемещения осей: позиционирования, прямолинейности, продольного и поперечного крена, поворота вокруг вертикальной оси.
Измерительным инструментом для таких измерений обычно служит специальный следящий лазерный интерферометр, который автоматически следует за прицельным отражателем, расположенным на поверхности обрабатывающего инструмента, записывает радиальные, а по возможности, и пространственные угловые смещения при условии, что обрабатывающий инструмент перемещается по запрограммированному ряду точек измерения.
Иногда для пространственных измерений используют телескопический шаровой калибр с удлиненным стержнем.
Точность результатов измерения зависит от точности самого измерительного инструмента, внешних воздействий, повторяемости, зазора, гистерезиса и настройки инструмента (положения выбранных точек измерения на поверхности заготовки или инструмента, количества предпринятых серий измерений) и от совершенства используемой кинематической модели станка. Точного соотношения, в классическом смысле, почти невозможно добиться; следовательно, компьютерные расчеты для многосторонности не дадут точных величин рассчитываемых параметров при использовании "метода моделирования Монте Карло" или других приемлемых методов расчета погрешностей.
12 Испытания на геометрическую точность функциональных поверхностей станка. Прямолинейность, плоскостность, перпендикулярность и параллельность
12.1 Погрешность прямолинейности функциональных поверхностей станка
12.1.1 Общие положения
Для таких измерений существуют два метода, базирующиеся на измерении расстояний или на измерении углов.
Эталоны прямолинейности могут быть либо материальными предметами (например, поверочная линейка, натянутая проволока), либо физическими факторами (например, для прецизионного уровня - сила тяжести, а для лазерного интерферометра, автоколлиматора и поверочного телескопа - световой луч).
12.1.2 Методы, базирующиеся на измерении расстояний
12.1.2.1 Общие положения
Функциональные поверхности станка контролируют с использованием специальных метрологических кареток и физических эталонов прямолинейности. Датчики линейных перемещений устанавливают на метрологической каретке, которая перемещается вдоль интересующей поверхности напротив эталона. Таким образом, обеспечено получение данных о величине отклонений измеряемой поверхности от прямолинейности. Для измерения прямолинейности функциональных поверхностей станка применимы также методы, описанные в
8.2.2.
12.1.2.2 Метод поверочной линейки (см.
8.2.2.1)
12.1.2.3 Метод натянутой проволоки и поверочного микроскопа (см.
8.2.2.2)
12.1.2.4 Метод поверочного телескопа (см.
8.2.2.3)
12.1.3 Методы, базирующиеся на измерении углов
В этих методах специальная метрологическая каретка соприкасается с контролируемой поверхностью в двух точках -
P и
Q, отстоящих друг от друга на расстоянии
d (см.
рисунок 87). Метрологическая каретка перемещается по тому пути, на котором позиции
P0Q0 и
P1Q1 считаются пригодными для измерения угла при условии, что
P1 совпадает с
Q0. Углы

и

в плоскости, включающей линию измерения и перпендикулярной измеряемой поверхности, измеряют подходящим инструментом, таким как уровень, автоколлиматор или угловой лазерный интерферометр.
Примечание 1 - Поверхность между опорами метрологической каретки не подлежит контролю этим методом.
1 - измерительный эталон; d - расстояние между точками
соприкосновения между метрологической кареткой
и испытуемой поверхностью
Рисунок 87 - Измерение прямолинейности
на базе измерения углов
Соответствующие разности расстояний между последовательно измеряемыми точками рассчитывают по
уравнению (18)

. (18)
Примечание 2 - Эталоном для данного измерения служит горизонтальное положение прецизионного уровня, а также произвольно установленный стандартный угол автоколлиматора или углового лазерного интерферометра.
Расстояние между точками измерения
Pi и эталоном рассчитывают
уравнением (19):

. (19)
Точки
Pi наносят, как показано на
рисунке 88, с ними сопоставляют стандартную прямую линию, на основе которой рассчитывают отклонения от прямолинейности и, соответственно, погрешность прямолинейности.
1 - погрешность прямолинейности; 2 - конечная точка
эталона прямой линии; 3 - измерительный эталон
Рисунок 88 - Расчет погрешности прямолинейности
на базе измерения углов
Для измерения используют или эталон прямой линии для зоны минимальных значений, или эталон прямолинейности наименьших квадратов, или эталон прямой линии для конечной точки (см.
рисунки 7 -
9).
Опоры P и Q метрологической каретки должны иметь площадь, достаточную для минимизации воздействия недостаточности поверхности соприкосновения. Для минимизации отклонений необходимо тщательно готовить опоры к измерению, очищая поверхности, которые могут оказывать воздействие на результаты по всей длине измерений.
Эти методы применимы также для расстояний большой длины, но в данных случаях величину d следует выбирать таким образом, чтобы можно было избежать большого числа показаний и, соответственно, увеличения интегральной погрешности.
12.1.3.2 Метод прецизионного уровня
Измерительным инструментом служит прецизионный уровень, который последовательно позиционируется вдоль контролируемой линии, как указано в
12.1.3.1. Эталоном служит горизонтальный уровень устройства для измерения малых углов в вертикальной плоскости (см.
рисунок 87).
Если линия, подлежащая измерению, не является горизонталью, уровень устанавливают на опоре, изогнутой под нужным углом (см.
рисунок 88). Во время проверки линии
AB уровень вместе со своей опорой должен придерживаться постоянного направления [например, при помощи направляющей поверочной линейки (см.
рисунок 89)].
1 - прецизионный уровень; 2 - специальный угловой суппорт;
3 - направляющая поверочная линейка;

- угол наклона
поверхности к горизонтали
Рисунок 89 - Измерение погрешности прямолинейности
вдоль негоризонтальной линии с использованием
углового суппорта
Такой уровень позволяет проверять прямолинейность только в вертикальной плоскости. Для проверки линий в других плоскостях требуются иные методы (например, натянутая проволока и микроскоп).
12.1.3.3 Метод автоколлимации
В этом методе автоколлиматор устанавливают коаксиально (соосно) с эталоном прямолинейности (см.
рисунок 90). Подвижное зеркало устанавливают на метрологической каретке перпендикулярно оптической оси прибора. Любые повороты этого зеркала вокруг горизонтальной оси вызывают вертикальные смещения изображения на сетчатке глаза в фокальной плоскости (см.
8.4.2.2 и ISO/TR 230-11).
1 - автоколлиматор; 2 - эталон прямолинейности;
M - подвижное зеркало на метрологической каретке;
d - расстояние между ножками метрологической каретки
Рисунок 90 - Измерение прямолинейности
с применением автоколлиматора
12.1.3.4 Метод с использованием углового лазерного интерферометра
Используемый в этом методе интерферометр устанавливают жестко на том компоненте станка, на котором находится линия, подлежащая проверке на прямолинейность (см.
рисунок 91).
1 - источник лазерного излучения; 2 - угловой лазерный
интерферометр; 3 - двойной зеркальный отражатель
на метрологической каретке; d - расстояние
между ножками метрологической каретки
Рисунок 91 - Измерение прямолинейности
с использованием углового лазерного интерферометра
12.1.3.5 Метод трех последовательных точек
В этом методе датчик линейных перемещений, установленный на метрологической каретке (см.
рисунок 92), используют для обнаружения локальных изменений угла наклона. Расстояние между датчиком и одной из ножек метрологической каретки должно быть равно расстоянию
d между ножками каретки.
1 - метрологическая каретка; 2 - датчик линейных
перемещений; d - расстояния между тремя точками контакта
Рисунок 92 - Измерение прямолинейности
методом трех последовательных точек
Датчик линейных перемещений измеряет высоту подъема его наконечника, контактирующего с контролируемой поверхностью, относительно линии, проходящей между двумя другими ножками каретки, также соприкасающимися с поверхностью, подлежащей проверке. После снятия показаний измерительный инструмент перемещается на расстояние d, равное шагу каретки, и процедура измерения повторяется.
В каждой позиции измеряют действительную разность углов наклона линий, соединяющих точки на измеряемой поверхности, находящиеся под ножками каретки. Относительные высоты точек, по которым прошла каретка, вычисляют с помощью двойной интеграции результатов измерения. Датчик линейных перемещений тщательно настраивают таким образом, чтобы показания равнялись нулю, если ножки инструмента перемещаются по прямой поверхности.
Неверная настройка используемого измерительного инструмента дает в результате постоянный радиус искривления на прямой поверхности.
Для определения прямолинейности рассчитывают высоту подъема точек измерения над этой поверхностью при помощи следующего
уравнения (20):

, (20)
| | ИС МЕГАНОРМ: примечание. Экспликация формулы дана в соответствии с официальным текстом документа. | |
где hj - высота подъема контролируемой поверхности в точке j;
sj - показания датчика линейных перемещений в точке j.
12.1.4 Погрешность прямолинейности базовых пазов или базовых поверхностей столов
В случае прямого измерения погрешности измерительный инструмент считывает показания отклонений в плоскости, перпендикулярной к линии
PQ, с высотой подъема, стремящейся к минимуму (см.
рисунок 93). Метрологическая каретка лежит плашмя на столе (предпочтительно на ограниченных поверхностях
S1 -
S3) и охватывает две функциональные несущие поверхности
P и
Q, на которых лежит линия, подлежащая проверке (см.
рисунок 93). Датчик линейных перемещений, считывающий показания поверочной линейки, показывает отклонения от прямолинейности в плоскости, перпендикулярной контролируемой поверхности с высотой подъема
h, стремящейся к минимуму (см. также
рисунок 93).
1 - поверочная линейка; 2 - датчик линейных перемещений;
3 - метрологическая каретка; 4 - контролируемая
поверхность; d - шаг между точками измерения
Рисунок 93 - Измерение погрешности
прямолинейности стандартного паза стола
В случае измерения прямолинейности методом, базирующимся на угловых отклонениях, расстояние
d (см.
рисунок 94) определяет шаг между точками измерения.
P, Q - точки контакта; S1, S2, S3 - коаксиальные
(соосные) опорные точки; d - шаг точек измерения
Рисунок 94 - Метрологическая каретка, используемая
для измерения погрешности прямолинейности стандартного паза
Погрешности прямолинейности более сложной, например составной, стандартной поверхности (см.
рисунок 95) измеряют в функциональных плоскостях (линии
HH и
VV), не перпендикулярных испытуемой плоскости.
1 - контролируемая поверхность; P, Q - контактные точки
метрологической каретки; S1, S2, S3 - контактные точки
контролируемой поверхности
Рисунок 95 - Функциональные плоскости
HH и
VV для измерения
погрешности прямолинейности составных поверхностей
12.1.5 Погрешность прямолинейности направляющих станка
Проверка направляющих станка включает измерение погрешности прямолинейности и может быть выполнена только при условии доступности функциональных поверхностей. Если функциональные поверхности направляющих не доступны, следует проверять погрешность прямолинейности перемещения (см.
8.2). Такую погрешность всегда проверяют в функциональной плоскости. Как правило, ими можно считать либо горизонтальную плоскость (линия
HH на
рисунках 95,
96), либо вертикальную (линия
VV на
рисунках 95,
96), однако определенные конструкции станков могут составлять исключение (см.
рисунок 97).
Примечание 1 - Направляющие продолговатой формы не должны быть прямыми в функциональной плоскости, поскольку производителем могут быть определены особые формы.
Рисунок 96 - Функциональные плоскости
HH и
VV для измерения
погрешности прямолинейности направляющих станка
1 - функциональная плоскость
Рисунок 97 - Функциональные плоскости
направляющих на наклонной станине станка
Направляющие поверхности могут компоноваться по следующим видам:
a) одна плоскость или несколько маленьких секций, соединенных между собой;
b) несколько узких плоских секций, цилиндрические направляющие или то и другое в комплекте.
Примечание 2 - Направление обработки может быть обеспечено либо направляющими станка, либо более сложными устройствами, комплектность которых нельзя нарушать без воздействия на геометрию станка.
12.1.6 Погрешность прямолинейности V-образных поверхностей
Метрологическая каретка должна опираться на измеряемую поверхность в четырех точках. Для устойчивости она должна также в дополнительной точке опираться поверхностью, отличной по форме от измеряемой поверхности.
Дополнительная точка опоры не должна оказывать силовое воздействие на позиционирование перемещающегося компонента.
1 - незакрепленный шарик; 2 - цилиндр, свободно
Рисунок 98 - Измерение погрешности прямолинейности
V-образной поверхности при помощи метрологической каретки
и шарика или цилиндра, свободно размещенного в выемке
1 - дополнительная точка опоры; d - расстояние
между точками опоры; P и Q - точки опоры на цилиндре
Рисунок 99 - Измерение погрешности прямолинейности
с использованием цилиндрической опоры, свободно
размещенной в обратном V-образном пазу
12.1.7 Погрешность прямолинейности цилиндрических поверхностей
Метрологическая каретка перевернутой
V-образной опорой закреплена на цилиндре на четырех мягких прокладках (см.
рисунки 100,
101).
1 - дополнительная точка опоры
Рисунок 100 - Метрологическая каретка для измерения
погрешности прямолинейности цилиндрической поверхности
с применением обратной V-образной опоры
1 - дополнительная точка опоры; d - расстояние
между точками опоры; P и Q - точки опоры на цилиндре
Рисунок 101 - Перевернутая
V-образная опора метрологической
каретки для измерения погрешности прямолинейности
цилиндрических поверхностей
Дополнительная точка опоры не должна оказывать силовое воздействие на позиционирование перемещающегося компонента.
12.1.8 Погрешность прямолинейности отдельных вертикальных поверхностей
Метрологическая каретка контактирует в двух точках,
P и
Q, с поверхностью, подлежащей измерению. Для управления кареткой требуются три дополнительные точки, которые следует выбирать таким образом, чтобы исключить их воздействие на позиционирование двух функциональных контактных точек (см.
рисунки 102,
103).
1 - стандартная прямая плоскость
Рисунок 102 - Измерение погрешности прямолинейности
вертикальной поверхности с использованием
метрологической каретки
1 - дополнительные точки опоры; d - расстояние
между основными точками опоры
Рисунок 103 - Метрологическая каретка, применяемая
для контроля вертикальных поверхностей
Если погрешность прямолинейности определена прямым измерением отклонений, этот процесс следует производить на плоскости, перпендикулярной к контролируемой поверхности, через одну из контактных точек, а если измерения производят посредством метода угловых отклонений, шаг измерения определен расстоянием d.
12.1.9 Погрешность прямолинейности поверхностей в конструкциях с наклонной станиной
В таких случаях функциональная поверхность перемещающегося компонента находится под некоторым углом к горизонтальной плоскости (см.
рисунок 97). Погрешность прямолинейности измеряют в функциональной плоскости (линия
AB) и в плоскости, перпендикулярной к ней.
12.2 Плоскостность столов станков
12.2.1 Измерение погрешности плоскостности столов при помощи поверочной плиты
Поверхность поверочной плиты, используемой для оценки плоскостности столов, покрывают крокусом (порошком окиси железа) или оксидом хрома, разведенными в легком масле. Поверочную плиту с таким покрытием укладывают на поверхность, подлежащую проверке. Производят незначительное перемещение плиты вперед и назад. Плиту удаляют, регистрируют распределение точек соприкосновения. Это распределение должно быть равномерным по всей измеряемой поверхности и соответствовать заданным значениям. Этот метод применим только для маломерных, относительно тонко обработанных (пришабренных или шлифованных) поверхностей.
12.2.2 Измерение погрешности плоскостности столов посредством поверочной плиты и датчика линейных перемещений
Измерительное оборудование состоит из метрологической плиты и датчика линейных перемещений, установленного на суппорте, основание которого перемещается по этой плите.
Существуют два способа измерения:
a) подлежащий измерению компонент размещают на поверочной плите (размеры этой плиты и форма суппорта датчика линейных перемещений должны быть достаточными для охвата всей измеряемой поверхности) (см.
рисунок 104);
b) метрологическую плиту размещают лицом к лицу с измеряемой поверхностью. Для такого метода измерения размеры обеих поверхностей должны быть сопоставимыми (см.
рисунок 105).
1 - поверочная плита (эталон измерения); 2 - поверхность,
подлежащая измерению
Рисунок 104 - Измерение погрешности плоскостности
компонента, размещенного на метрологической плите
1 - поверочная плита (эталон измерения); 2 - поверхность,
подлежащая измерению
Рисунок 105 - Измерение погрешности плоскостности
компонента с использованием внешней поверочной плиты
Для определения местоположения точек измерения принимают форму квадрата. Ошибку в показаниях из-за дефектов поверхности можно минимизировать за счет:
использования датчика линейных перемещений с не подверженным ржавлению наконечником большого радиуса;
размещения между измеряемой поверхностью и наконечником датчика линейных перемещений небольшого шлифованного блока с параллельными опорными плоскостями для амортизации дефектов поверхности (шлифованной, строганой и т.д.).
В первом устройстве (см.
рисунок 104) положение датчика линейных перемещений зависит от изменения угла наклона поверхности поверочной плиты к поверхности датчика. Этот метод следует резервировать для поверочных плит высокой точности. Его невозможно использовать для расчета дефектов самой поверочной плиты. Его следует приберегать для мелких деталей.
Во втором устройстве (см.
рисунок 105), в котором измерения проводят с использованием держателя датчика линейных перемещений, устанавливаемого перпендикулярно поверочной плите, можно учитывать дефекты поверочной плиты в процессе получения результатов.
12.2.3 Измерение при помощи поверочной(ых) линейки(ек)
12.2.3.1 Измерение перемещением поверочной линейки с использованием совокупности прямых линий
В первую очередь определяют теоретическую плоскость, на которой будут расположены точки опоры. С этой целью на испытуемой поверхности в качестве точек отсчета выбирают три точки -
a,
b,
c (см.
рисунок 106). Затем в этих точках три плитки Иогансона одинаковой толщины размещают таким образом, чтобы верхние поверхности плиток определяли базовую плоскость, с которой сравнивают измеряемую поверхность.
Рисунок 106 - Измерение погрешности плоскостности
при помощи семейства прямых линий
Далее четвертую точку d, расположенную на поверочной плите, выбирают следующим образом: поверочную линейку размещают на точках a и c, а используемый измерительный блок, отрегулированный по высоте, - в точке d и приводят его в контакт с нижней поверхностью поверочной линейки. Таким образом, верхние поверхности компонентов измерительного блока в точках a, b, c и e оказываются в одной плоскости.
Затем находят отклонение точки d, размещая поверочную линейку на точках b и e; регулируемый блок размещают в точке d, а его верхнюю поверхность переводят в плоскость, определяемую верхними поверхностями плиток в ранее проверенной позиции.
Размещая поверочную линейку на точках a и d, а затем на точках b и c, можно определять отклонения всех промежуточных точек на поверхности, расположенной между a и d и между b и c. Тем же самым путем можно определять отклонения точек между a и b, c и d. При этом должны быть соблюдены все необходимые допуски на стрелу прогиба поверочной линейки.
Для того чтобы таким же образом снимать показания внутри прямоугольника или квадрата, необходимо помещать его, например, на точках f и g, отклонения в которых необходимо узнать; измерительный блок следует регулировать на соответствующую высоту. На тех же точках следует располагать поверочную линейку и с помощью измерительного блока получать необходимые показания.
Для измерения погрешности плоскостности можно также использовать инструмент для измерения прямолинейности, как показано на
рисунке 107.
1 - датчик линейных перемещений; 2 - суппорт;
3 - направляющая поверочная линейка; 4 - контролируемая
поверхность; 5 - набор плиток Иогансона; 6 - поверочная
линейка; 7 - точка контакта (одна из трех) с измерительным
наконечником датчика линейных перемещений
Рисунок 107 - Использование для измерения погрешности
плоскостности инструментов для измерения прямолинейности
12.2.3.2 Измерение при помощи поверочных линеек, прецизионного уровня и датчика линейных перемещений
В этом методе эталон измерения обеспечен двумя поверочными линейками, которые расположены параллельно с помощью прецизионного уровня (см.
рисунок 108 и ISO/TR 230-11).
a, b, c, d - точки опоры; L - прецизионный уровень;
G - датчик линейных перемещений; R, R1, R2 - поверочные
линейки
Рисунок 108 - Измерение погрешности плоскостности
с использованием трех поверочных линеек
и прецизионного уровня
Две поверочные линейки R1 и R2 устанавливают на опорах a, b, c и d, три из которых имеют одну и ту же высоту, а у четвертой высота регулируется. Используя прецизионный уровень, линейки устанавливают таким образом, чтобы их прямолинейные поверхности были параллельными друг другу. Таким образом, линейки R1 и R2 копланарные, т.е. лежат в одной плоскости.
Эталон прямолинейности R, расположенный на линейках R1 и R2 над произвольной линией fg квадратного шаблона, позволяет снять показания отклонения посредством считывающего инструмента G или с помощью плиток Иогансона.
Жесткость поверочных линеек R1 и R2 должна быть достаточной для того, чтобы минимизировать погрешность за счет их деформации под действием веса эталона R.
Устанавливают базу отсчета проводимого измерения, а все отклонения от этой базы измеряют и наносят точками на диаграмму. Это нанесение может быть выполнено в различных точках, равномерно расположенных по квадрату (см.
рисунок 109) и покрывающих всю контролируемую поверхность. Выбор размещения точек в пространстве не зависит от используемых измерительных инструментов.
1 - эталон плоскостности; 2 - база отсчета измерений
Рисунок 109 - Диаграмма отклонений от плоскостности
12.2.4 Измерение погрешности плоскостности посредством прецизионного уровня
12.2.4.1 Общие положения
В настоящее время это единственный известный метод, который позволяет поддерживать постоянно горизонтальное направление измерительного эталона, в то время как измерительный инструмент перемещается с одной позиции на другую.
Основой этого метода измерения является использование метода угловых отклонений (см.
12.1.3).
Для большей практичности рекомендуется определять разность показаний при неподвижном и при перемещающемся уровне.
12.2.4.2 Измерение прямоугольной поверхности
Координатная плоскость определена двумя прямыми линиями,
OmX и
OO'Y, где
O,
m,
O' - точки на поверхности, подлежащей проверке (см.
рисунок 110).
Рисунок 110 - Измерение погрешности плоскостности
при помощи прецизионного уровня
Линии
OX и
O'Y выбирают под прямым углом друг к другу и параллельно сторонам, очерчивающим контролируемую поверхность. Измерения начинают в одном из углов,
O, измеряемой поверхности в направлении
OX. Методом, описанным в
12.1.3.1, определен шаг измерения по линиям
OA и
OC, а также по последующим параллельным линиям,
O'A',
O"A" и
CB, таким образом, чтобы охватить полностью всю контролируемую поверхность.
Для подтверждения предыдущих измерений можно производить дополнительные измерения по линиям mM, m'M' и т.д.
Если между шириной и длиной контролируемой поверхности отсутствует диспропорция, предпочтительно в порядке перекрестной проверки производить измерения вдоль диагоналей (см. ISO/ТР 5460:1985, 8.3, метод 8.3.1).
12.2.4.2.1 Пояснения к результатам измерения
По результатам измерения линий
Omm'A и
OO'O"C с использованием процедуры, представленной на
рисунке 87, вычерчивают топографическую схему. Для нанесения линий
O'A',
O"A" и
CB исходными точками должны быть
O',
O" и
C. В случае, отображенном на
рисунке 111, все эти точки должны находиться максимально близко к эталону измерения, который можно считать координатной плоскостью. В случае, отображенном на
рисунке 112, стандартные прямые линии
Omm'A и
OO'O"C направлены по
OX' и
OY', т.е. образуют плоскость
OABC.
Рисунок 111 - Данные отклонений от плоскостности,
обозначающие координатную плоскость, близкую
к эталону измерения
Рисунок 112 - Данные отклонений от плоскостности,
обозначающие координатную плоскость,
отличную от эталона измерения
12.2.4.3 Измерение плоских поверхностей с круглым контуром
Большие плоские поверхности, имеющие круглый контур, не укладываются в ортогональную прямоугольную диаграмму: обычно остаются не поддающиеся контролю части. Следовательно, предпочтительным является выполнение проверок с использованием круглых опорных поверхностей и их диаметров (см.
рисунок 113):
a) круговая верификация: прецизионный уровень размещается на изостатической опоре A и перемещается с постоянными интервалами вокруг этой опорной плиты;
b) диаметральная верификация выполняется с использованием любого метода измерения прямолинейности функциональных поверхностей станка (см.
рисунок 113).
A - изостатическая опора; B - диаметральная
прямолинейная направляющая; d - расстояние
между точками измерения на опоре
Рисунок 113 - Измерение погрешности плоскостности
вдоль внешнего круглого контура
Для маленьких поверхностей измерение погрешности плоскостности выполняют упрощенным путем посредством измерения прямолинейности:
- двух взаимно перпендикулярных диаметров;
- сторон квадрата, соединяющих экстремальные точки (см.
рисунок 114).
Рисунок 114 - Измерение погрешности плоскостности
для поверхностей с круглым контуром
12.2.5 Измерение плоскостности оптическими методами
12.2.5.1 Измерение автоколлиматором
Прямые линии
OX и
OY, устанавливающие координатную плоскость измерения, определены оптической осью автоколлиматора в двух позициях под углом 90° друг к другу. Затем применяют метод, приведенный в
12.1.3.3.
Для измерения
OA',
OA" и
CB оптические оси автоколлиматора должны быть параллельными
OX (см.
рисунок 110 и ISO/TR 5460:1985, 8.4.1).
12.2.5.2 Измерение поворотным зеркальным эккером
Альтернативным методом является измерение с использованием поворотного зеркального эккера (или пятигранной призмы). Координатная плоскость устанавливается центрами трех заданных координат (
A,
B,
C), размещенных по краям контролируемой поверхности (см.
рисунок 115).
1 - заданная цель измерения (мишень); 2 - поворотный
зеркальный эккер (пятигранная призма); A, B, C - заданные
координаты
Рисунок 115 - Измерение погрешности плоскостности
с использованием поворотного зеркального эккера
Эккер настраивают таким образом, чтобы телескопическая оптическая ось была перпендикулярной координатной плоскости, а четвертая заданная координата использовалась для измерения положения любой точки на контролируемой поверхности (см. ISO/TR 230-11).
12.2.5.3 Измерение поворотным регулируемым лазером
В этом методе для определения плоскости координат с помощью различных копланарных прямых линий использован вращающийся узел в комплекте с регулируемым лазером (см.
рисунок 116 и ISO/TR 230-11).
1 - регулируемая лазерная головка; 2 - поворотный узел;
3 - вращающийся луч лазера; 4 - светочувствительная мишень
в позиции "n"; 5 - мишень в различных позициях
над испытуемой поверхностью
Рисунок 116 - Измерение погрешности плоскостности
с использованием поворотного регулируемого лазера
12.2.5.4 Измерение лазерной интерферометрической системой
Геометрическую форму обрабатываемой поверхности воспроизводят на основе обследования прямолинейности различных линий путем измерения угловых отклонений (см. ISO/TR 230-1).
Типовая последовательность измерения представлена на
рисунке 117, где на диаграмме представлены подлежащие проверке линии
1 -
8.
1 - 8 - линии измерения; 9 - ретрорефлектор; 10 - второе
вращающееся зеркало; 11 - интерферометр; 12 - опора
ретрорефлектора; 13 - головка лазера; 14 - первое
вращающееся зеркало; 15 - направляющая линейка
Рисунок 117 - Измерение погрешности плоскостности
с использованием лазерного интерферометра
Анализ полученных в результате такой проверки данных в сравнении с рабочим заданием дает изометрическую топограмму плоскостности контролируемой плиты (см.
рисунок 118).
1 - 8 - линии измерения
Рисунок 118 - Типовая диаграмма данных
по отклонению от плоскостности
Луч лазера настраивают по горизонтали в нужном направлении путем регулировки вращающегося зеркала, что не исключает возможность воздействия и на вертикальное направление лазерного луча.
12.3 Положение и направление функциональных поверхностей
12.3.1 Общие положения
Эти измерения имеют отношение к следующим свойствам и характеристикам:
a) параллельности линий и плоскостей (см.
12.3.2, а также ISO/TR 5460:1985, раздел 13);
b) равноудаленности (см.
12.3.3);
c) соосности (коаксиальности) (см.
12.3.4, а также ISO/TR 5460:1985, раздел 18).
12.3.2 Параллельность линий и плоскостей
В том случае, когда измерение параллельности включает оси, эти оси должны быть представлены цилиндрическими поверхностями достаточной длины, высокой точности формы и чистоты обработки. Если поверхность шпинделя не полностью соответствует этим условиям или если это внутренняя поверхность, не пропускающая щуп, следует использовать вспомогательную цилиндрическую поверхность - контрольную оправку.
Установку и центровку контрольной оправки следует производить либо на конце шпинделя, либо в цилиндрическом или коническом отверстии, предназначенном для крепления инструмента или других приспособлений. Если контрольная оправка вставлена в шпиндель таким образом, чтобы представлять собой его ось вращения, следует допускать, что фактически невозможно точно совместить центр оправки с осью шпинделя. При вращении шпинделя ось оправки описывает гиперболоид (а если ось оправки пересекается с осью вращения шпинделя, то коническую поверхность) и образует две позиции -
B и
B', лежащие в плоскости испытания (см.
рисунок 119).
A - ось вращения; B - ось контрольной оправки в позиции 0°;
B' - ось контрольной оправки в позиции 180°
Рисунок 119 - Влияние настройки контрольной оправки
относительно оси вращения
При описанных условиях первоначальное измерение параллельности можно производить в любом угловом положении шпинделя, а повторное измерение - после поворота шпинделя на 180°. Среднее арифметическое значение полученных показаний дает отклонение от параллельности в данной плоскости.
Контрольную оправку можно также вводить в положение A (так называемое "положение колебания") и измерения производить только в этом положении.
Первый метод измерения представляется таким же быстрым, как и второй, но он гораздо более точный.
Примечание - Термин "положение колебания" отражает положение шпинделя в результате следующей процедуры: в контролируемой плоскости наконечник измерительного приспособления вводят в контакт с цилиндрической поверхностью, представляющей собой ось вращения; показания измерительного инструмента снимают при медленном вращении шпинделя. Шпиндель находится в положении биения, когда стрелка прибора колеблется между двумя значениями его хода.
12.3.2.2 Параллельность двух плоскостей
12.3.2.2.1 Общие положения
Для подтверждения параллельности двух плоскостей можно использовать следующие методы. Измерения следует проводить в двух направлениях, предпочтительно перпендикулярных друг другу.
Линия (или плоскость) подлежит измерению на протяжении заданной длины (или области), например на длине 300 мм (или площади 300 x 300 мм) или по всей испытуемой поверхности.
Можно оценивать угол между двумя любыми линиями или плоскостями - горизонтальными, вертикальными, перпендикулярными к исследуемой плоскости или пересекающими ее и т.д. Допуск параллельности может быть различным в разных плоскостях.
12.3.2.2.2 Измерения с использованием поверочной линейки и датчика линейных перемещений
Датчик линейных перемещений, установленный на опоре с плоской базовой поверхностью и приведенный в контакт с поверочной линейкой, перемещается в одной из описанных выше плоскостей. Наконечник прибора скользит вдоль второй плоскости (см.
рисунок 120).
1 - базовая (данная) плоскость; 2 - контролируемая
плоскость; 3 - датчик линейных перемещений;
4 - направляющая поверочная линейка
Рисунок 120 - Измерение погрешности параллельности
между двумя плоскостями с использованием поверочной
линейки и датчика линейных перемещений
Показания прибора, фиксирующие изменение расстояний, воплощаются графически, что позволяет установить базовую прямую линию. Наклон этой прямой линии представляет собой угловое отклонение исследуемой плоскости в заданном направлении.
Как правило, предпочтительны показания измерительного прибора на обоих концах диапазона измерений. Угловые (тангенциальные) отклонения определены разностью этих двух показаний и длиной измерения.
12.3.2.2.3 Измерение с использованием прецизионного уровня
Прецизионный уровень устанавливается на каретке, служащей перемычкой между двумя плоскостями, подлежащими сравнению. Снимают ряд показаний вдоль этих плоскостей. Эти показания, умноженные на
d (см.
рисунок 121), дают относительное отклонение двух этих плоскостей, которое используют для определения базовой прямой линии. Направление базовой прямой линии (угол) представляет собой погрешность параллельности исследуемой и базовой плоскостей.
1 - направляющая поверочная линейка; 2 - прецизионный
уровень; 3 - каретка; d - базовая длина измерения
Рисунок 121 - Измерение погрешности параллельности
с использованием прецизионного уровня
Если затруднительно установить перемычку между базовой и исследуемой плоскостями, каретку не применяют, а показания снимают отдельно вдоль каждой плоскости, используя горизонталь в качестве базовой прямой линии
(12.1.3). Две линии оценивают в соответствии с
12.1.3. Разность в их направлениях (угол) представляет собой погрешность параллельности.
12.3.2.3 Параллельность двух осей
12.3.2.3.1 Общие положения
Измерения проводят в двух плоскостях:
- в плоскости, проходящей через две оси.
Примечание - Это выражение подразумевает плоскость, проходящую через две испытуемые оси и расположенную максимально близко ко второй из них;
- в другой плоскости, перпендикулярной к первой.
12.3.2.3.2 Измерение в плоскости, проходящей через две оси
Измерительный инструмент устанавливают на опоре с базовой поверхностью подходящей формы таким образом, чтобы он мог скользить по цилиндрической поверхности, представляющей одну из осей; наконечник инструмента скользит вдоль цилиндра, представляющего другую ось.
Для определения минимального значения показаний между этими осями в точках измерения измерительный инструмент следует осторожно покачивать в направлении, перпендикулярном обеим осям (см.
рисунок 122). Для предотвращения деформации цилиндра под действием веса следует принимать во внимание необходимость обеспечивать его поддержку во время измерения (см. ISO/TR 5460:1985, 13.2, метод 13.2.1).
Рисунок 122 - Измерение погрешности параллельности
двух осей в плоскости, проходящей через обе оси
12.3.2.3.3 Измерение в другой плоскости, перпендикулярной к первой
Для этого метода требуется дополнительная плоскость, по возможности параллельная той, которая проходит через две оси.
Если дополнительная плоскость существует, допуская тот факт, что обе исследуемые оси параллельны функциональной поверхности станка, параллельность каждой из них относительно этой поверхности, рассматриваемая отдельно, должна быть определена методом, описанным в
12.3.2.4. В противном случае измерения следует производить относительно некой теоретической плоскости при помощи уровня с регулируемой телескопической трубой. С этой целью измерительное оборудование следует размещать на двух цилиндрических поверхностях, представляющих испытуемые оси, и устанавливать на "0" воздушный пузырек уровня. Если обе испытуемые оси не лежат в одной горизонтальной плоскости, можно использовать неподвижный или регулируемый вспомогательный блок (см.
рисунок 123).
Рисунок 123 - Дополнительный блок для измерения
погрешности параллельности двух осей
Уровень перемещают вдоль осей, как определено выше, и снимают показания. Величины показаний умножают на расстояние между испытуемыми осями. Если, например, расстояние между осями равно 300 мм, а показание уровня - 0,06/1000 мм, то относительное отклонение параллельности между этими осями - 0,06·0,03 = 0, 018 мм. Эти относительные отклонения используют для определения стандартной прямой линии. Направление этой линии (угол) дает погрешность параллельности между испытуемыми линиями.
12.3.2.4 Параллельность между осью и плоскостью
Измерительный инструмент устанавливается на опоре с плоским основанием и перемещается вдоль испытуемой плоскости, как описано выше. Измерительный наконечник скользит вдоль цилиндра, представляющего собой испытуемую ось (см.
рисунок 124).
Рисунок 124 - Измерение погрешности параллельности
между любой осью и плоскостью
В каждой точке измерения следует находить показание минимальной величины путем скользящего движения измерительного инструмента в направлении, перпендикулярном измеряемой оси.
В отношении оси вращения достаточно измерений в средней позиции и в двух экстремальных позициях (см.
рисунок 125).
Примечание - Вопрос представительства определенной оси цилиндрической поверхностью рассмотрен в
12.3.2.1.
Рисунок 125 - Измерение погрешности параллельности
между осью вращения и плоскостью
12.3.2.5 Параллельность между осью линейного перемещения и плоскостью
12.3.2.5.1 Измерение при нахождении испытуемой плоскости на самом линейно перемещающемся компоненте
Датчик линейных перемещений прикрепляется к неподвижному компоненту станка, а его измерительный наконечник удерживается под прямым углом к поверхности, подлежащей проверке.
Подвижный компонент следует перемещать согласно тому, как установлено соответствующим международным стандартом по машинной специфике.
Этот тип измерения обычно применяют для фрезерных и шлифовальных станков, в которых обрабатываемая заготовка установлена на столе станка.
Датчик линейных перемещений установлен на торце шпинделя, как показано на
рисунке 126, а стол приведен в движение. Полученные показания датчика использованы для определения эталона плоскости. Угол, определяющий направление этой плоскости, следует считать погрешностью параллельности.
1 - головка шпинделя станка; 2 - датчик линейных
перемещений; 3 - плитка или блок плиток Иогансона
(по выбору); 4 - перемещающийся стол
Рисунок 126 - Измерение погрешности параллельности
между осью и перемещающейся плоскостью
12.3.2.5.2 Измерение при нахождении испытуемой плоскости не на перемещающемся компоненте
Измерительный инструмент прикрепляется к перемещающемуся компоненту и перемещается с ним, как показано выше, а его измерительный наконечник удерживается под прямым углом к испытуемой плоскости и скользит вдоль нее (см.
рисунок 127).
Рисунок 127 - Измерение параллельности
между осью и неподвижной плоскостью
Если измерительный наконечник невозможно держать непосредственно на испытуемой поверхности, например на кромке узкого паза, можно использовать два следующих альтернативных метода применения:
Рисунок 128 - Приспособление с угловым рычагом
для измерения параллельности
Рисунок 129 - Специальное изделие
для измерения погрешности параллельности
12.3.2.6 Параллельность между осью и линией пересечения двух плоскостей
Измерительный инструмент устанавливается на опоре подходящей формы, закрепленной на двух исследуемых плоскостях, затем перемещается на определенное расстояние вдоль линии их пересечения, а его измерительный наконечник скользит вдоль цилиндра, представляющего собой эту ось (см.
рисунок 130). Следует, по возможности, проводить измерения в двух взаимно перпендикулярных плоскостях, наиболее существенных для действия обрабатывающего инструмента.
Примечание - Вопрос представительства осей цилиндрической поверхностью рассмотрен в
12.3.2.1.
Рисунок 130 - Измерение погрешности параллельности
между осью и линией пересечения двух плоскостей
12.3.2.7 Параллельность между осью перемещения и линией пересечения двух плоскостей
Параллельность между каждой из двух плоскостей и траекторией функциональной точки следует измерять по отдельности в соответствии с
12.3.2.5. Положение линии пересечения следует выводить из положения плоскостей.
12.3.2.8 Параллельность между линией пересечения двух плоскостей и третьей плоскостью
Если линия пересечения и третья плоскость удобно расположены относительно друг друга, для измерения используют прецизионный уровень с установочным блоком (см.
рисунок 131).
1 - прецизионный уровень; 2 - локальные опорные
поверхности; d - базовая длина измерения
Рисунок 131 - Измерение погрешности параллельности
между линией пересечения двух плоскостей и третьей
плоскостью
Измерительный комплект перемещают вдоль линии пересечения и снимают показания. Погрешность параллельности рассчитывают в соответствии с
12.3.2.2.3.
Если третья плоскость расположена неудобно, для измерения используют датчик линейных перемещений с установочным блоком (см.
рисунок 132). Измерительный наконечник в каждой точке измерения позиционируют под прямым углом к третьей плоскости и снимают показания вдоль всей линии пересечения. Другие процедуры измерения рассмотрены в
12.3.2.2.2.
Рисунок 132 - Измерение погрешности параллельности
между линией пересечения двух плоскостей и третьей
плоскостью, поперечной двум плоскостям
Угол кромки опорной поверхности установочного блока должен быть точно пригнан к углу пересечения двух плоскостей. Это должно быть удостоверено маркирующим средством, таким как "губная помада ювелира".
12.3.2.9 Параллельность между двумя прямыми линиями, каждая из которых образована пересечением двух плоскостей
Это измерение можно выполнять в соответствии с
12.3.2.6.
Измерительный наконечник инструмента вставляют в
V-образный блок, который скользит вдоль плоскостей, образующих второе пересечение. Измерение проводят в двух плоскостях, перпендикулярных друг другу (см.
рисунок 133).
Рисунок 133 - Измерение с помощью датчика линейных
перемещений погрешности параллельности между двумя
прямыми линиями, каждая из которых образована
пересечением двух плоскостей
Этот метод измерения требует очень жесткого крепления измерительного инструмента. Данное условие можно соблюдать только в том случае, когда две прямые линии находятся вблизи друг друга. Для того чтобы усилить жесткость установки инструмента для измерения параллельности в вертикальной плоскости, уровень следует использовать, как показано на
рисунке 134. Две установки, представленные на
рисунках 133 и
134, могут обеспечивать различные результаты измерения.
Рисунок 134 - Измерение погрешности параллельности
между двумя прямыми линиями, образованными пересечением
двух плоскостей с помощью уровня для вертикальных и датчика
линейных перемещений для горизонтальных направлений
Если непосредственные измерения, касающиеся плоскостей или прямых линий, затруднены из-за помех, вызываемых компонентами металлорежущего станка на всем поле измерения, эти измерения можно соотносить с установленной стандартной плоскостью, например горизонтальной, определяемой при помощи прецизионного уровня.
12.3.3 Эквидистантность (равноудаленность) двух осей
12.3.3.1 Общие положения
Эквидистантность двух осей идентична параллельности между плоскостью, проходящей через эти оси, и базовой плоскостью.
Испытание на эквидистантность двух осей или оси вращения от определенной плоскости в сущности проводят как измерение параллельности (см.
12.3.2.4). Данное испытание должно в первую очередь устанавливать параллельность двух осей упомянутой плоскости оси
X. Далее следует проверять постоянство их расстояния от плоскости, используя один и тот же датчик линейных перемещений, устанавливаемый на двух цилиндрах, представляющих испытуемые оси (см.
рисунок 135). Если используемые цилиндрические поверхности не идентичны, следует учитывать разность радиусов испытуемых отрезков.
Рисунок 135 - Измерение эквидистантности двух осей
12.3.3.2 Особый случай эквидистантности двух осей от плоскости поворота одной из этих осей
Такой случай возможен, если плоскость поворота детали, несущей одну из этих осей, недоступна и не позволяет перемещать измерительный инструмент. Тогда для измерения эквидистантности необходимо сооружать параллельную ей дополнительную плоскость (см.
рисунок 136). Установка и крепление этой плоскости должны быть выполнены таким образом, чтобы размещенный на ней уровень в двух перпендикулярных направлениях по возможности не показывал никаких отклонений при перемещении поворотного компонента. Испытание эквидистантности такой оси от дополнительной плоскости как в среднем положении, так и в крайних не представляет особой сложности, как и в случае с неподвижной осью.
1 - первая ось; 2 - вторая ось; 3 - поворотная плоскость;
4 - дополнительная плоскость; 5 - поворот
Рисунок 136 - Измерение эквидистантности двух представляющих
оси оправок от плоскости поворота одной из этих осей
При использовании как горизонтальной, так и наклонной дополнительной плоскости рекомендуется датчик линейных перемещений устанавливать в его исходном положении, для того чтобы убедиться в отсутствии аномальных смещений при поворотах.
12.3.4 Коаксиальность (соосность)
Если требуется вращать измерительный инструмент вокруг неподвижной оправки, его следует устанавливать с минимальным зазором по кольцу вращения. Это кольцо должно иметь длину окружности, достаточную для того, чтобы убедиться в отсутствии влияния зазора на показания прибора (см.
рисунок 137).
Рисунок 137 - Измерение погрешности соосности
между двумя осями
Датчик линейных перемещений устанавливают на рычаге и поворачивают на 360° вокруг первой поверхности. Измерительный наконечник датчика проходит в заданном секторе
A по цилиндру, представляющему вторую плоскость, подлежащую измерению (см.
рисунок 137). Любые изменения в показаниях датчика представляют удвоенное отклонение от соосности. Если отрезок, выбранный для измерения, может пересекать обе испытуемые оси, следует производить вторую проверку в секторе
B.
Если необходимо определять погрешность в двух заданных плоскостях (например, в плоскостях
H и
V на
рисунке 137), изменения, обнаруженные в этих плоскостях, фиксируют по отдельности.
Необходимо, в частности в случае горизонтальных осей, иметь очень жесткие крепления. Для обеспечения высокой точности измерения, равно как и для исключения воздействия деформации, следует использовать два измерительных инструмента, удаленных друг от друга на 180°. Альтернативой является использование суппортов, деформация которых влияет на показания приборов вдвое меньше, чем при использовании двух датчиков линейных перемещений.
В этом испытании следует использовать очень легковесные датчики линейных перемещений.
Так как во время вращения меняется направление измерения относительно направления земного тяготения, следует учитывать чувствительность измерительного инструмента к силе тяжести.
12.4 Погрешности прямоугольности или перпендикулярности между линиями и плоскостями
Погрешность прямоугольности охватывает оси линейного перемещения или оси вращения и представляет собой некий угол.
Погрешность перпендикулярности относится к функциональным поверхностям и представляет собой некое расстояние. Измерение погрешности прямоугольности и погрешности перпендикулярности практически сведено к измерению погрешности параллельности, ввиду этого применяют следующие основные положения.
Для осей вращения можно использовать следующий метод, при котором рычаг, несущий датчик линейного перемещения, прикрепляют к шпинделю, а измерительный наконечник этого приспособления настраивают параллельно оси вращения. При вращении шпинделя датчик линейного перемещения описывает окружность, плоскость которой перпендикулярна оси вращения. Поворачивая испытуемую плоскость, наконечником датчика линейных перемещений можно измерять погрешность параллельности между плоскостью описываемой им окружности и контролируемой плоскостью. Эта погрешность выражена относительно диаметра окружности вращения инструмента (см.
рисунок 138).
1 - плоскость 1; 2 - плоскость 2
Рисунок 138 - Измерение погрешности
перпендикулярности между осью вращения и плоскостью
a) Если не определены нормативные плоскости, датчик линейных перемещений проворачивают в диапазоне 360° и снимают наибольшее показание измерительного инструмента.
b) Если нормативные плоскости определены (например, плоскости 1 и 2), для каждой из этих плоскостей записывают показания датчика линейных перемещений в двух позициях, удаленных друг от друга на 180°.
Если для измерения использован поверочный угольник, рекомендуется проводить обратную процедуру измерения: поворачивать угольник на 180°, чтобы исключить погрешность самого угольника.
Для того чтобы исключить воздействие аксиального смещения шпинделя на снижение точности измерения, следует применять установку двух измерительных инструментов на двух одинаковых кронштейнах, разнесенных на 180°, и снимать их показания, предварительно обеспечив нулевой результат в одной и той же контактной точке для обоих датчиков.
Проверка может быть также подтверждена только одним датчиком линейных перемещений, для чего после первого испытания измерительный инструмент перемещают на 180° относительно шпинделя и процедуру измерения повторяют (см. ISO/TR 5460:1985, раздел 14).
12.4.2 Две плоскости, расположенные под углом 90° друг к другу
На одной из двух испытуемых плоскостей устанавливают под прямым углом цилиндр, параллельный другой испытуемой плоскости, вдоль которой передвигается датчик линейных перемещений (см.
рисунок 139). Снимают показания через равные интервалы. Цилиндр поворачивают на 180°, снимают вторую серию показаний. Далее из двух серий показаний получают среднее арифметическое значение.
Рисунок 139 - Измерение погрешности
перпендикулярности между двумя плоскостями
12.4.3 Две неподвижные оси под углом 90° друг к другу
Угольник с соответствующим основанием помещают на цилиндре, представляющем одну из двух контролируемых осей (см.
рисунок 140). Параллельность между свободным плечом угольника и осью измеряют методом, описанным в
12.3.2.4.
Рисунок 140 - Измерение погрешности
перпендикулярности между двумя неподвижными осями
12.4.4 Неподвижная ось и установленная под углом 90° к ней плоскость
Угольник с соответствующим основанием приводят в контакт с цилиндром, представляющим испытуемую ось (см.
рисунок 141).
Рисунок 141 - Измерение погрешности
перпендикулярности между неподвижной осью и плоскостью
Параллельность между свободным плечом угольника и испытуемой плоскостью измеряют в двух взаимно перпендикулярных направлениях методом, описанным в
12.3.2.2.
12.4.5 Погрешность перпендикулярности между осью линейного перемещения и плоскостью
Поверочный угольник устанавливают на плоскость (см.
рисунок 142). Параллельность между направлением линейного перемещения и свободным плечом угольника измеряют в двух взаимно перпендикулярных направлениях в соответствии с
12.3.2.5.2.
Рисунок 142 - Измерение погрешности перпендикулярности
между осью линейного перемещения и плоскостью
12.4.6 Погрешность перпендикулярности между осью линейного перемещения и неподвижной осью
Поверочный угольник с соответствующим основанием помещают на цилиндре, представляющем испытуемую ось (см.
рисунок 143). Измерение параллельности между направлением линейного перемещения и свободным плечом угольника следует производить в соответствии с
10.1.3.
Рисунок 143 - Измерение погрешности перпендикулярности
между осью линейного перемещения и неподвижной осью
12.4.7 Перпендикулярность между осью вращения и неподвижной осью
Датчик линейных перемещений устанавливают на стреле, свободно сидящей в контрольной оправке, представляющей испытуемую ось вращения, и приводят в контакт с двумя точками
A и
B на цилиндре, представляющем другую ось (см.
рисунок 144). Изменения показаний датчика соотносятся с расстоянием
AB.
Рисунок 144 - Измерение погрешности перпендикулярности
между осью вращения и неподвижной осью
Если вторая ось также является осью вращения, представляющий ее цилиндр приводят в среднюю позицию "положения колебания" в плоскости измерения в соответствии с методом измерения параллельности, описанным в
12.4.1.
12.4.8 Перпендикулярность оси вращения к плоскости
Датчик линейных перемещений устанавливают на стреле, закрепленной на шпинделе, и далее процедуру измерения проводят в соответствии с
12.4.1.
12.4.9 Перпендикулярность оси вращения к линии пересечения двух плоскостей
Датчик линейных перемещений прикрепляют к стреле, закрепленной на шпинделе, таким образом, чтобы его наконечник находился напротив
V-образного блока, который опирается на обе пересекающиеся плоскости. Шпиндель делает полуоборот, а блок приводит измерительный наконечник в соприкосновение с теми же точками на блоке (см.
рисунок 145).
Рисунок 145 - Измерение погрешности перпендикулярности
между осью вращения и линией пересечения двух плоскостей
12.4.10 Неподвижная ось, расположенная под углом 90° к линии пересечения двух плоскостей
Поверочный угольник с соответствующим основанием приводят в соприкосновение с цилиндром, представляющим собой испытуемую ось (см.
рисунок 146).
Рисунок 146 - Измерение погрешности перпендикулярности
неподвижной оси к линии пересечения двух плоскостей
Параллельность между свободным плечом угольника и линией пересечения плоскостей измеряется по методу, описанному в
12.3.2.6.
12.4.11 Линия пересечения двух плоскостей, расположенная под углом 90° к еще одной плоскости
Поверочный угольник и датчик линейных перемещений при наличии соответствующего основания устанавливают вдоль линии пересечения плоскостей (см.
рисунок 147).
Рисунок 147 - Измерение погрешности перпендикулярности
линии пересечения двух плоскостей к еще одной плоскости
Параллельность между свободным плечом угольника и линией пересечения плоскостей или третьей плоскостью можно измерять по методу, описанному в
12.3.2.6 или в
12.3.2.8.
12.4.12 Расположенные под углом 90° друг к другу две прямые линии, каждая из которых является линией пересечения двух плоскостей
Поверочный угольник с соответствующим основанием размещают на одной из испытуемых линий пересечения. Параллельность между свободным плечом угольника и второй линией пересечения плоскостей измеряют по методу, описанному в
12.3.2.8.
Если непосредственное измерение испытуемых плоскостей и относящихся к ним линий затруднено из-за расстояния между ними или из-за воздействия компонентов станка, измерение можно производить относительно базовой плоскости, например с использованием уровня.
12.5 Биение вращающихся компонентов
12.5.1 Меры предосторожности перед проведением испытания
Перед проведением испытания необходимо выполнять вращение шпинделя, достаточное для того, чтобы обеспечивать во время испытания стабильность смазочной пленки и поддержание такой же температуры, как при нормальной работе станка.
Примечание - Погрешность перемещения оси вращения в большинстве случаев включается в результаты испытаний.
12.5.2 Наружная поверхность
Для измерения наконечник датчика линейных перемещений приводят в соприкосновение с вращающейся поверхностью, показания снимают во время медленного поворота шпинделя (см.
рисунок 148).
Рисунок 148 - Измерение биения наружной поверхности
На конической поверхности наконечник датчика устанавливают под прямым углом к образующей конуса, а влияние конусности на результат рассчитывают. Более того, проверяют изменения диаметра испытуемой окружности, если во время вращения шпинделя имеет место смещение его оси вращения. В таких случаях биение превышает фактическое значение. Следовательно, коническую поверхность можно использовать для измерения биения только в том случае, если конус не слишком крутой.
Погрешность смещения оси шпинделя
(3.5.5) в любом случае следует измерять предварительно, а ее возможное влияние на результаты измерения рассчитывать в соответствии с углом конуса.
Результаты измерения могут также искажаться под воздействием бокового удара по наконечнику датчика линейных перемещений. Во избежание ошибок следует наконечник выравнивать точно по оси вращающейся поверхности.
12.5.3 Внутренняя поверхность
Если датчик линейных перемещений невозможно использовать непосредственно на цилиндрическом или коническом отверстии, в это отверстие вставляют контрольную оправку. Выступающая цилиндрическая часть этой оправки служит для проверки в соответствии с
12.5.2. Однако если используют только одно сечение оправки, то и определяют положение только одной окружности измеряемой поверхности относительно оси. Поскольку в испытуемой плоскости ось оправки может пересекать ось вращения, измерения следует производить в двух сечениях
A и
B, отстоящих друг от друга на определенном расстоянии (см.
рисунок 149).
Рисунок 149 - Измерение биения внутренней поверхности
Например, одно измерение проводят вплотную к корпусу оправки, а другое - на некотором расстоянии от него. Из-за возможных проблем вставления оправки в отверстие, в частности в коническое, всю операцию измерения повторяют не менее четырех раз, каждый раз поворачивая оправку на 90° относительно шпинделя. В качестве результата принимают среднее показание.
В каждом из приведенных случаев измеряют биение сначала в вертикальной осевой плоскости, а затем - в горизонтальной (позиции
C1 и
C2 на
рисунке 149).
Методы, упомянутые выше в данном разделе, требуют следующих пояснений.
Необходимо принимать меры для минимизации воздействия тангенциального запаздывания на наконечник измерительного инструмента.
При использовании контрольной оправки не выявляют точную форму испытуемого отверстия.
Для контроля биения шпинделя при обработке и испытании цилиндрической заготовки в расчет принимают только дефекты подшипников шпинделя.
Такие практические токарные испытания не дают информацию о точной форме цилиндрического или конического отверстия или о фактическом положении этого отверстия относительно оси вращения.
Шпиндели, центровка которых в процессе вращения осуществлена автоматически, например при помощи гидропресса, гидродинамики, можно испытывать только при нормальной рабочей скорости, используя бесконтактный измерительный инструмент, допустим емкостный и индуктивный датчики или другой соответствующий инструмент.
(справочное)
СИСТЕМА КООРДИНАТ МЕТАЛЛОРЕЖУЩЕГО СТАНКА
И ПОГРЕШНОСТИ ПОЗИЦИОНИРОВАНИЯ И ОРИЕНТАЦИИ
A.1 Общие положения
Хотя номенклатура станочных осей перемещения определена в ISO 841, оси имеющихся марок могут не соответствовать заданным характеристикам геометрических погрешностей станка и управляющих устройств, предназначенных для компенсации этого несоответствия.
Настоящее приложение предоставляет систематический путь для определения координатных систем металлорежущих станков, в которых точно определено геометрическое соотношение между осями перемещения и связанных с этим погрешностей.
В целях оценки геометрической точности станка и/или компенсации погрешности программного обеспечения необходимо при описании положений и направлений осей перемещения в системе координат определять погрешность настройки между этими осями для станков любой конфигурации и компоновки.
Во избежание излишних измерений погрешности настройки между осями перемещения точка отсчета и направление системы координат станка выбираются таким образом, чтобы определять главную ось перемещения (два основных направления) и вторичные оси перемещения (определяются три направления).
В качестве пояснения к описанию приведены три примера: один для трехосного металлорежущего станка (см.
A.5), один для пятиосного металлорежущего станка (см.
A.6) и один для многоцелевого токарного центра
(A.7). Показано, что для полной характеристики трехосного металлорежущего станка необходимы пять погрешностей ориентации - три погрешности перпендикулярности осей плюс две погрешности направления шпинделя металлорежущего станка относительно системы координат, а для характеристики пятиосного станка и многоцелевого токарного центра требуется 12 погрешностей положения и ориентации.
A.2 Базовая прямая линия оси линейного перемещения
Базовая прямая линия оси линейного перемещения в 3D-системе координат представляется прямой линией с двумя направлениями (углами). Кроме того, для линейных осей с числовым управлением позиционированием погрешность в нулевом положении (например,
EZ0Z) включает также в большинстве случаев термины, представленные на
рисунке A.1.
XN - номинал оси X; EZ0Z - начало отсчета погрешности оси Z;
YN - номинал оси Y; EA0Z - погрешность перпендикулярности
оси Z к Y; ZN - номинал оси Z; EB0Z - погрешность
перпендикулярности оси Z к X; ZA - фактическая базовая
линия перемещения компонента вдоль оси Z
Рисунок A.1 - Погрешности позиционирования
и ориентации линейной оси Z
Примечание - Обычно погрешность нулевой позиции линейной оси (например, EZ0Z) могут сводить к нулю (0), когда контролируют геометрическую точность металлорежущего станка.
Из-за погрешностей перемещения по горизонтальным и вертикальным прямым линиям (продольному и поперечному крену, повороту вокруг вертикали) траектория линейного перемещения компонента не является прямой линией, а располагается в пространстве подобно траектории
a, представленной на
рисунке A.2.
X - ось X (номинальная); Y - ось Y (номинальная); Z - ось Z
(номинальная); a, b - фактическая траектория линейного
перемещения номинальной оси Y; EAY - угловая погрешность оси
Y в направлении оси A (поперечный крен); EBY - угловая
погрешность оси Y в направлении оси B (продольный крен);
ECY - угловая погрешность оси Y в направлении оси C (поворот
вокруг вертикали); EXY - отклонение от прямолинейности оси Y
в направлении оси X; EYY - погрешность позиционирования оси
Y; EZY - отклонение от прямолинейности оси Y в направлении
оси Z
Рисунок A.2 - Металлорежущий станок с погрешностями
перемещения вдоль линейной оси Y
Форма этой траектории зависит от ее местоположения в рабочем пространстве так же, как и от величины и направления искаженного линейного перемещения (например, может измениться до траектории
b, показанной на
рисунке A.2). Если учесть все фактические перемещения линейной оси, фактическую траекторию
b можно рассчитать на основе траектории
a, представленной на
рисунке A.2.
Пользователь самостоятельно решает, какую траекторию использовать в качестве базовой. Эта базовая траектория необходима для определения базовой прямой линии линейной оси перемещения, например ее конечной точки. Базовую прямую линию в станках с 3D-системой координат определяют параметры двух направлений (углы). В случае, приведенном на
рисунке A.2, базовая прямая линия оси
Y определяет погрешность перпендикулярности оси
Y к оси
X -
EC0Y и к оси
Z -
EA0Y.
A.3 Базовая прямая линия оси вращения
Базовой прямой линией, представляющей ось вращения вращающегося компонента с соответствующими аксиальными и радиальными погрешностями, а также качанием (опрокидыванием), является средняя линия самого компонента.
Среднюю линию вращающегося компонента представляет прямая линия, имеющая четыре параметра: две координаты положения вдоль осей координат, перпендикулярных номинальному направлению оси вращения, и два угла направлений в 3D-системе координат. Две погрешности положения и две погрешности направления оси вращения, номинально параллельной базовой оси
Z, представлены на
рисунке 13 (см. 3.5.8). Аналогично для осей вращения с числовым программным управлением позиционированием погрешность позиционирования точки отсчета угловых положений оси (например,
EC0C) также включается в общее число терминов, обозначающих погрешности.
Как правило, при контроле геометрической точности станков погрешности начала отсчета угловых положений оси вращения (например, EC0C) можно сводить к нулю.
A.4 Система координат металлорежущего станка
Как установлено ISO 841, система координат станка представляет собой прямоугольную систему координат по правилу "правой руки". Положение и направление системы координат металлорежущего станка обычно определены осями перемещения его подвижных компонентов.
Начало отсчета и базовые линии системы координат металлорежущего станка могут быть выбраны произвольно. Однако более практичным является использование для определения положения и направления системы координат станка тех базовых линий осей перемещения, шесть параметров которых сходятся в нулевой точке. Это делается в первую очередь для выбора главной оси перемещения путем настройки ее базовой прямой линии коаксиально (соосно) с одной из осей системы координат станка и определения таким образом двух параметров ее ориентации и ортогональной плоскости, в которой лежат две другие оси системы координат станка. Далее выбирают вторую ось перемещения для того, чтобы ее базовая прямая линия определяла третий параметр направления как результат ее проекции на ранее определенную плоскость. Наконец, выбирают точку отсчета системы координат, определяющую три параметра положения. Выбор главной и второй оси, а также точки отсчета системы координат металлорежущего станка зависит от его конструкции, возможностей механической коррекции и механической и/или программной компенсации.
Три приведенных в
A.5 -
A.7 примера (трехосного и пятиосного металлорежущих станков и многоцелевого токарного центра) наглядно иллюстрируют, как проводят выбор системы координат металлорежущего станка, чьи параметры требуется измерить.
Иногда для базирующейся на программном обеспечении компенсации погрешности оптимизированную систему координат станка рассчитывают на основе требований, определяемых пользователем. Приемлемым приемом определения ориентации системы координат станка является ее максимальная близость к физической оси станка (например, к оси главного шпинделя) и расположение в интересующей точке, допустим в центральной точке рабочего объема.
A.5 Система координат для трехосного металлорежущего станка
В
таблице A.1 приведены обозначения погрешностей 13 параметров положения и направления для металлорежущего станка, представленного на
рисунке A.2.
Таблица A.1
Погрешности параметров положения и направления
для трехосного металлорежущего станка
Ось Y | Ось X | Ось Z | (C)-шпиндель |
- | EX0X | - | EX0(C) |
EY0Y | - | - | EY0(C) |
- | - | EZ0Z | - |
EA0Y | - | EA0Z | EA0(C) |
- | EB0X | EB0Z | EB0(C) |
EC0Y | EC0X | - | - |
Обозначения погрешностей параметров положения и направления металлорежущего станка в
таблице A.1 соответствуют выбору фактической системы координат станка в качестве системы координат для контроля этих параметров. Поскольку в принципе начальную точку положений линейной оси станка можно принимать за точку отсчета при проверке геометрической точности этого станка, данные
таблицы A.1 можно упростить, преобразовав их в данные
таблицы A.2.
Таблица A.2
Упрощенный перечень погрешностей параметров положения
и направления для полной характеристики трехосного
металлорежущего станка
Ось Y | Ось X | Ось Z | (C)-шпиндель |
- | (0) | - | EX0(C) |
(0) | - | - | EY0(C) |
- | - | (0) | - |
EA0Y | - | EA0Z | EA0(C) |
- | EB0X | EB0Z | EB0(C) |
EC0Y | EC0X | - | - |
Если для определения положения и направления линейных осей металлорежущего станка использована его система координат, в
таблице A.2 пять позиций и направлений можно сводить к нулю (или к любому произвольному номиналу).
Рассмотрены следующие примеры:
- если в качестве главной оси выбрана ось Y, базовую прямую линию этой оси, обозначаемую через EA0Y и EC0Y, соосную с осью Y системы координат станка, устанавливают в нулевую позицию;
- если в качестве второй оси выбрана ось X, базовую прямую линию этой оси устанавливают в нулевую позицию и определяют направление оси X системы координат станка, обозначаемое через EB0X;
- если положение (C)-шпинделя (точка пересечения средней линии оси шпинделя с плоскостью XY) определяет точку отсчета системы координат станка, к нулю можно сводить два параметра - EX0(C) и EY0(C).
Следовательно, для испытуемого станка, представленного на
рисунке A.2, остается измерять только пять погрешностей направления (см.
таблицу A.3).
Таблица A.3
Минимальное количество погрешностей параметров для полной
характеристики трехосного металлорежущего станка
Ось Y | Ось X | Ось Z | (C)-шпиндель |
- | (0) | - | 0 |
(0) | - | - | 0 |
- | - | (0) | - |
0 | - | EA0Z | EA0(C) |
- | 0 | EB0Z | EB0(C) |
0 | EC0X | - | - |
Позицию функциональной точки режущего инструмента на оси Z можно принять за Z-базу для точки отсчета системы координат металлорежущего станка.
Примечание - Эта процедура относится к установлению системы координат обрабатываемой заготовки, где база отсчета A определяет главную ось, база отсчета B - вторую ось, а база отсчета C - точку отсчета системы координат заготовки.
Итак, для полной характеристики трехосных металлорежущих станков требуется следующий сводный перечень результатов измерения погрешностей геометрических параметров, связанных с погрешностями направления:
- EC0X - погрешность перпендикулярности оси X к оси Y;
- EA0Z - погрешность перпендикулярности оси Z к оси Y;
- EB0Z - погрешность перпендикулярности оси Z к оси X;
- EA0(C) - погрешность перпендикулярности оси (C) к оси Y;
- EB0(C) - погрешность перпендикулярности оси (C) к оси X.
Определив систему координат металлорежущего станка, можно относительно этой системы определять положения и направления всех функциональных поверхностей станка - стола, пазов, торца шпинделя и т.д.
A.6 Система координат пятиосного металлорежущего станка
Обозначения погрешностей 23 параметров положения и направления для полной характеристики пятиосного металлорежущего станка, представленного на
рисунке A.3, приведены в
таблице A.4.
1 - поворотный стол (ось C'); 2 - салазки стола (ось X');
3 - станина; 4 - салазки стойки (ось Y); 5 - стойка;
6 - салазки траверсы; 7 - траверса; 8 - поворотная
шпиндельная головка (ось A); 9 - шпиндель (C1)
Рисунок A.3 - Конструкция пятиосного металлорежущего станка
Таблица A.4
Погрешности параметров положения и направления для полной
характеристики пятиосного металлорежущего станка
Ось C | Ось X | Ось Y | Ось Z | Ось A | (C1) |
EX0C | EX0X | - | - | - | EX0(C1) |
EY0C | - | EY0Y | - | EY0A | EY0(C1) |
- | - | - | EZ0Z | EZ0A | - |
EA0C | - | EA0Y | EA0Z | EA0A | EA0(C1) |
EB0C | EB0X | - | EB0Z | EB0A | EB0(C1) |
EC0C | EC0X | EC0Y | - | EC0A | - |
В принципе, если только возможно в процессе проверки геометрической точности станка все начальные позиции линейных осей и осей вращения сводить в нулевую точку, можно упростить данные
таблицы A.4, преобразовав их в данные
таблицы A.5.
Таблица A.5
Упрощенный перечень погрешностей параметров для полной
характеристики пятиосного металлорежущего станка
Ось C | Ось X | Ось Y | Ось Z | Ось A | (C1) |
EX0C | (0) | - | - | - | EX0(C1) |
EY0C | - | (0) | - | EY0A | EY0(C1) |
- | - | - | (0) | EZ0A | - |
EA0C | - | EA0Y | EA0Z | (0) | EA0(C1) |
EB0C | EB0X | - | EB0Z | EB0A | EB0(C1) |
(0) | EC0X | EC0Y | - | EC0A | - |
Для дальнейшего упрощения испытаний пятиосного металлорежущего станка систему координат станка выбирают следующим путем:
- ось X определена в качестве главной оси;
- ось Y - в качестве второй оси;
- отсчет производят вдоль оси C на той высоте (ось Z), где средняя линия оси A пересекается с плоскостью ZY, если все указанные оси сходятся в одной точке, которую можно принять за начало отсчета.
В результате остается проверять только 12 параметров, представленных в
таблице A.6.
Таблица A.6
Минимальное число погрешностей параметров для полной
характеристики пятиосного металлорежущего станка
Ось C | Ось X | Ось Y | Ось Z | Ось A | (C1) |
0 | (0) | - | - | - | EX0(C1) |
0 | - | (0) | - | EY0A | EY0(C1) |
- | - | - | (0) | 0 | - |
EA0C | - | 0 | EA0Z | (0) | EA0(C1) |
EB0C | 0 | - | EB0Z | EB0A | EB0(C1) |
(0) | 0 | EC0Y | - | EC0A | - |
Итак, суммарным результатом является следующий перечень погрешностей геометрических параметров, измерение которых необходимо для полной характеристики пятиосного металлорежущего станка:
- EA0C - погрешность перпендикулярности C к Y;
- EB0C - погрешность перпендикулярности C к X;
- EC0Y - погрешность перпендикулярности Y к X;
- EA0Z - погрешность перпендикулярности Z к Y;
- EB0Z - погрешность перпендикулярности Z к X;
- EY0A - смещение (сдвиг) Y от A к C;
- EB0A - погрешность параллельности A и X относительно плоскости ZX;
- EC0A - погрешность параллельности от A до X относительно плоскости XY;
- EX0(C1) - смещение (сдвиг) X от (C1) к C относительно плоскости XY;
- EY0(C1) - смещение (сдвиг) Y от (C1) к C относительно плоскости XY;
- EA0(C1) - погрешность перпендикулярности (C1) к Y;
- EB0(C1) - погрешность перпендикулярности (C1) к X.
Для полной оценки эксплуатационных показателей станка следует также измерять расстояние от оси A до функциональной точки инструмента вдоль оси шпинделя (C1). Это расстояние следует учитывать, если кинематические испытания, такие как ходовые испытания для аналогичного трехосного станка, производят с использованием детали со сферической поверхностью и датчиков или обрабатывающего инструмента на шаровом шарнире в станках с наклонной шпиндельной головкой. Однако для этой цели предпочтительнее параметры положения инструмента, а параметры положения станка не учитывают, и в настоящее приложение они не включены.
Выбор начала отсчета, главной и второй оси системы координат металлорежущего станка различен для разных установок, используемых для измерения геометрической точности. Независимо от выбора системы координат металлорежущего станка, число подлежащих измерению параметров остается 12 и состоит из трех параметров положения и девяти параметров направления. Измерение меньшего числа погрешностей, чем указано, дает неполное описание погрешностей положения и направления испытуемого станка. Измерение большего числа погрешностей является избыточным. Один результат измерения или более могут быть выведены из комбинации результатов измерений оставшихся параметров. Например, в рассматриваемом случае отсутствует необходимость измерять параллельность осей (C1) и C, поскольку эту величину можно вычислить из EA0C, EA0(C1), EB0C и EB0(C1).
Примечание - Иногда это удобно для описания погрешностей перемещений какой-либо оси относительно той оси, на которой она установлена. Запись погрешностей параметров, приведенная в
3.6.7, можно также использовать для описания погрешностей параметров в относительных понятиях. Например, в станке конструкции, приведенной на
рисунке A.3, перпендикулярность средней линии оси вращения
A к оси
Z в "относительной" нотации представлена
EB(0Z)A, что соответствует разности
EB0A -
EB0Z в "абсолютной" нотации. Изучить происхождение процедуры минимального числа погрешностей в "относительной" нотации можно, например, в
[12].
A.7 Система координат для полной характеристики многоцелевого токарного центра
Для многоцелевого токарного центра, представленного на
рисунке A.4, измерению подлежат 23 погрешности параметров положения и направления, сведенные в
таблицу A.7.
1 - рабочий шпиндель (ось C'); 2 - головка рабочего
шпинделя; 3 - станина; 4 - салазки стойки (ось Z);
5 - стойка (ось Y); 6 - поперечные салазки (ось X);
7 - наклонная шпиндельная головка (ось B);
8 - инструментальный шпиндель (ось A)
Рисунок A.4 - Конструкция многоцелевого токарного центра
Таблица A.7
Погрешности параметров положения и направления для полной
характеристики многоцелевого токарного центра
Ось C | Ось Z | Ось Y | Ось X | Ось B | Ось (A) - шпиндель |
EX0C | - | - | EX0X | EX0B | - |
EY0C | - | EY0Y | - | - | EY0(A) |
- | EZ0Z | - | - | EZ0B | EZ0(A) |
EA0C | EA0Z | EA0Y | - | EA0B | - |
EB0C | EB0Z | - | EB0X | EB0B | EB0(A) |
EC0C | - | EC0Y | EC0X | EC0B | EC0(A) |
Поскольку в принципе все нулевые позиции линейных осей и осей вращения в процессе испытания можно сводить в начало отсчета системы координат, данные в
таблице A.7 можно упростить, преобразовав их в данные
таблицы A.8.
Таблица A.8
Упрощенный перечень погрешностей параметров
для многоцелевого токарного центра
Ось C | Ось Z | Ось Y | Ось X | Ось B | Ось (A) - шпиндель |
EX0C | - | - | (0) | EX0B | - |
EY0C | - | (0) | - | - | EY0(A) |
- | (0) | - | - | EZ0B | EZ0(A) |
EA0C | EA0Z | EA0Y | - | EA0B | - |
EB0C | EB0Z | - | EB0X | (0) | EB0(A) |
(0) | - | EC0Y | EC0X | EC0B | EC0(A) |
Для дальнейшего упрощения испытаний многоцелевого токарного центра систему координат станка выбирают следующим путем:
- в качестве главной оси определена ось Z;
- в качестве второй оси - ось X;
- отсчет производят вдоль средней линии оси B на той координате оси Y, где средняя линия оси A пересекается с плоскостью YZ, если все указанные оси сходятся в одной точке, которую можно принять за начало отсчета.
В результате для измерения погрешности останутся только 12 параметров, представленных в
таблице A.9.
Таблица A.9
Минимальное число погрешностей параметров для полной
характеристики многоцелевого токарного центра
Ось C | Ось Z | Ось Y | Ось X | Ось B | Ось (A) - шпиндель |
EX0C | - | - | (0) | 0 | - |
EY0C | - | (0) | - | - | 0 |
- | (0) | - | - | 0 | EZ0(A) |
EA0C | 0 | EA0Y | - | EA0B | - |
EB0C | 0 | - | EB0X | (0) | EB0(A) |
(0) | - | EC0Y | 0 | EC0B | EC0(A) |
Таким образом, для многоцелевого токарного центра получается следующий итоговый перечень подлежащих измерению погрешностей геометрических параметров, относящихся к позиционированию и ориентации:
- EX0C - смещение оси X от C к B относительно плоскости XY;
- EY0C - смещение оси Y от C к (A) относительно плоскости XY;
- EA0C - погрешность параллельности C с Z в плоскости YZ;
- EB0C - погрешность параллельности C с Z в плоскости ZX;
- EB0X - погрешность перпендикулярности X к Z;
- EA0Y - погрешность перпендикулярности Y к Z;
- EC0Y - погрешность перпендикулярности Y к X;
- EA0B - погрешность перпендикулярности B к Z;
- EC0B - погрешность перпендикулярности B к X;
- EZ0(A) - смещение Z от (A) к B относительно плоскости YZ;
- EB0(A) - погрешность перпендикулярности (A) к Z;
- EC0(A) - погрешность параллельности (A) с X в плоскости XY.
Для полной оценки эксплуатационных характеристик многоцелевого токарного центра следует также измерять расстояние от оси B до функциональной точки инструмента вдоль шпинделя [оси (A)]. Это расстояние необходимо учитывать в том случае, если кинематические испытания, аналогичные ходовым испытаниям трехосного металлорежущего станка, проводят с использованием сферического калибра и датчиков (R-тест, испытание на надежность) или измерительного инструмента на выдвижном шпинделе в станках с наклонной головкой шпинделя. Однако это не дает возможности учитывать параметры позиционирования станка, а только в некоторой степени параметры позиции инструмента, поэтому они не включены в настоящее приложение.
Выбранные начало отсчета, главная ось системы координат дают различные результаты для различной номинальной геометрической точности измерений. Число параметров, подлежащих измерению, не зависит от выбора системы координат станка и остается равным 12, в том числе три параметра положения и девять параметров направления. Это демонстрируют примеры, в которых начало отсчета системы координат станка выбрано иным путем.
Выбор системы координат металлорежущего станка альтернативным путем проводят следующим образом:
- в качестве главной оси выбирают ось Z;
- в качестве второй оси - ось X;
- отсчет производят вдоль средней линии оси C на той координате оси Z, где средняя линия оси B пересекается с плоскостью ZX, если все указанные оси сходятся в одной точке, которую можно принять за начало отсчета.
В результате для измерения погрешности из параметров, представленных ранее в
таблице A.8, останутся 12 параметров, приведенных в
таблице A.10.
Таблица A.10
Минимальное число погрешностей параметров для полной
характеристики многоцелевого токарного центра
для альтернативного начала отсчета системы координат
такого станка
Ось C | Ось Z | Ось Y | Ось X | Ось B | Ось (A) - шпиндель |
0 | - | - | (0) | EX0B | - |
0 | - | (0) | - | - | EY0(A) |
- | (0) | - | - | 0 | EZ0(A) |
EA0C | 0 | EA0Y | - | EA0B | - |
EB0C | 0 | - | EB0X | (0) | EB0(A) |
(0) | - | EC0Y | 0 | EC0B | EC0(A) |
Таким образом, для многоцелевого токарного центра с альтернативным выбором начала отсчета системы координат получается следующий итоговый перечень подлежащих измерению погрешностей геометрических параметров, относящихся к позиционированию и ориентации:
- EA0C - погрешность параллельности C и Z в плоскости YZ;
- EB0C - погрешность параллельности C и Z в плоскости ZX;
- EA0Y - погрешность перпендикулярности Y к Z;
- EC0Y - погрешность перпендикулярности Y к X;
- EB0X - погрешность перпендикулярности X к Z;
- EX0B - смещение X от B к C относительно плоскости XY;
- EA0B - погрешность перпендикулярности B к Z;
- EC0B - погрешность перпендикулярности B к X;
- EY0(A) - смещение Y от (A) к C относительно плоскости YZ;
- EZ0(A) - смещение Z от (A) к B относительно плоскости YZ;
- EB0(A) - погрешность перпендикулярности (A) к Z;
- EC0(A) - погрешность параллельности (A) и X в плоскости XY.
(справочное)
ИЗМЕРЕНИЕ ОПЫТНОГО ОБРАЗЦА
B.1.1 Проведение испытаний
Ходовые испытания включают заключительные операции, для которых сконструирован станок.
При выполнении ходовых испытаний должно быть использовано стандартное испытательное оборудование, которое определено международными стандартами по станкам соответствующей специфики.
Количество обрабатываемых заготовок или, как в данном случае, количество операций обработки резанием, которое надлежит выполнять в ходе испытаний на данной заготовке, должно быть таким, какое дает возможность установить номинальную точность. При необходимости следует учитывать износ используемого режущего инструмента. Для определения номинальной точности следует также принимать во внимание и отражать в отчете состояние инструментальной оснастки и крепежа.
B.1.2 Проверка испытательного оборудования в процессе ходовых испытаний
Контроль обрабатываемой заготовки в процессе ходовых испытаний следует выполнять посредством измерительных инструментов, отобранных для того вида измерения, который надлежит проводить и точность которого соответствует требованиям.
Примечание - Методы измерения описаны в
B.2. Перечень допусков измерительного оборудования и пояснения к ним приведены согласно ISO 1101.
B.1.3 Ходовые испытания и квазистатическое состояние
Для получения результатов ходовых испытаний, относящихся к проверке геометрической точности металлорежущего станка, необходимо добавить следующее:
a) испытуемый станок должен работать на малой скорости и находиться в квазистатическом состоянии, т.е. без динамических воздействий и ограничений сервоконтроля. Однако эти положения не применимы к отдельным единицам оборудования для специализированных станков (например, к контурному устройству управления пятью осями) при выполнении операций, задачей которых является испытание эксплуатационных характеристик станка при подаче режущего инструмента по специфической траектории;
b) станок не должен испытывать воздействие значительных механических усилий, какие имеют место в большинстве финишных операций резания;
c) станок не должен испытывать воздействие термальных нагрузок, т.е. должен находиться в стабильных термальных условиях;
d) инструмент, параметры резания, т.е. подача, скорость, геометрия инструмента и т.д., должны соответствовать обрабатываемому материалу и номинальному значению;
e) обрабатываемый материал должен быть однородным, т.е. такие его параметры, как твердость и прочность, должны быть неизменными по всей обрабатываемой поверхности;
f) не следует применять для испытаний изношенный инструмент и допускать значительный износ инструмента в процессе обработки опытных образцов.
B.2 Измерение опытного образца
B.2.1 Общие положения
Процедуры измерения, за исключением измерения круглости цилиндрических деталей и постоянства обрабатываемых диаметров, должны соответствовать ISO/TR 5460. Применимо также измерение при помощи координатно-измерительных машин (КИМ).
Опытный образец должен быть обработан в соответствии с процедурами, описанными в
B.1.
Рекомендуемый минимум точек измерения на опытном образце: 10 - для линии, 15 - для окружности, 15 - для плоскости, 25 - для цилиндрической поверхности, 30 - для конусной поверхности.
Соотношение между линией и соответствующей плоскостью измерения или обработки следует записывать для облегчения идентификации источников возможных погрешностей характеристик станка.
B.2.2 Погрешности измерения
Информация приведена в
разделе 5. Погрешности, связанные с измерением геометрической точности обрабатываемого опытного образца, не следует считать характеристиками самого станка или опытного образца.
Неточность имеющейся в наличии системы измерения следует учитывать, если определены допуски для опытного образца и оценена их взаимосвязь с допусками, указанными в технических условиях, во избежание ситуаций, в которых отсутствует возможность как взаимосвязи с техническими условиями, так и подтверждения ее отсутствия (см.
4.1.1).
B.2.3 Стабильность обрабатываемых диаметров
B.2.3.1 Общие положения
В дополнение к допускам на размер, форму, направление, местоположение и биение, установленным соответствующими международными стандартами, стабильность обрабатываемых диаметров определена стандартами на некоторые специальности металлорежущих станков (например, международными стандартами на токарные станки и токарные центры).
Диаметры можно считать стабильными, если ряд обрабатываемых диаметров и измеряемых интервалов на длине опытного образца в одной аксиальной плоскости соответствует установленному допуску. Этот раздел дает описание метода испытания на такое соответствие с использованием любого двухопорного измерительного инструмента, в частности микрометра.
B.2.3.2 Микрометр или подобный двухопорный измерительный инструмент
Показания измерительного прибора в каждом диапазоне снимают только в одной плоскости.
Измерения можно проводить до тех пор, пока опытный образец находится на станке (см.
рисунок B.1).
Рисунок B.1 - Измерения с использованием
двухопорного измерительного инструмента
(справочное)
ПЕРЕКРЕСТНЫЕ ССЫЛКИ
ISO 230-1:1996 | ISO 230-1:2012 |
Раздел, подраздел | Наименование | Раздел, подраздел | Наименование |
1 | Область применения | 1 | Область применения |
2 | Общие соображения | | |
2.1 | Определения, относящиеся к геометрическим испытаниям | 3.1 | Общие положения |
2.2 | Методы испытания и использование измерительных инструментов | 6.3 | Оснастка и инструменты для испытаний |
2.3 | Допуски | 4 | Допуски |
2.3.1 | Допуски на измерения при испытании металлорежущих станков | 4.1 | Общие положения |
2.311 | Единицы и диапазон измерения |
2.312 | Правила, касающиеся допусков | 4.1.1 | Правила, касающиеся допусков и зон соответствия |
2.32 | Подразделение допусков | | |
2.321 | Допуски, применимые к опытным образцам и к отдельным компонентам станка | 4.2 | Допуски, применимые к функциональным поверхностям станка, его компонентам и к опытным образцам |
2.321.1 | Допуски на размеры |
2.321.2 | Допуски на форму |
2.321.3 | Допуски на позицию |
2.321.4 | Влияние погрешностей формы на определение погрешностей позиции | 5 | Погрешности измерений, методов контроля и измерительных инструментов |
2.321.5 | Локальные допуски | 4.1.3 | Локальные допуски |
2.322 | Допуски, применимые к перемещению компонентов станка | 4.1 | Общие положения |
2.3221.1 | Допуски на позиционирование |
2.322.11 | Допуски на повторяемость |
2.322.2 | Допуски на форму траектории |
2.322.3 | Допуски на положение относительно прямолинейного перемещения |
2.322.4 | Локальный допуск на перемещение компонента | 4.1.3 | Локальные допуски |
2.323 | Полные или суммарные допуски | 4.1.4 | Полные или суммарные допуски |
2.324 | Обозначения и позиции допусков для соответствующих угловых положений осей, суппортов и т.п. | 4.3 | Дополнительные ограничительные условия, связанные с допусками |
2.325 | Условное определение осей перемещений | 3.2 | Термины для системы координат станка и номенклатуры перемещений |
3 | Предварительные операции | 6 | Предварительные операции (подготовка к испытаниям) |
3.1 | Установка станка перед испытаниями | 6.1 | Установка станка перед испытаниями |
3.11 | Нивелирование (выравнивание) | 6.1.2 | Нивелирование (выравнивание) |
3.2 | Состояние станка перед испытанием | 6.2 | Состояние станка перед испытанием |
3.21 | Демонтаж отдельных компонентов | 6.2.1 | Демонтаж отдельных компонентов |
3.22 | Температурные условия отдельных компонентов перед испытаниями | 6.2.2 | Температурные условия отдельных компонентов перед испытаниями |
3.23 | Функционирование и загрузка | 6.2.4 | Условия проведения испытаний |
4 | Ходовое испытание | B.1 | Ходовое испытание |
4.1 | Проведение испытаний | B.1.1 | Проведение испытаний |
4.2 | Контроль заготовки в ходе испытаний | B.1.2 | Контроль опытного образца в ходе испытаний |
5 | Геометрические испытания | 8 | Испытания на геометрическую точность осей линейного перемещения |
5.1 | Общие положения | 8.1 | Общие положения |
5.2 | Прямолинейность | 3.4.11 | Прямолинейность |
5.21 | Прямолинейность линии в плоскости или в пространстве | 3.9.2 | Погрешность прямолинейности функциональной линии в плоскости |
5.211 | Определения |
5.211.1 | Прямолинейность линии в плоскости |
5.211.2 | Прямолинейность линии в пространстве | | - |
5.212 | Методы измерения прямолинейности | | |
5.212.1 | Метод, базирующийся на измерении длины | 12.1.2 | Методы, базирующиеся на измерении расстояния |
5.212.11 | Метод поверочной линейки | 12.1.2.2 (8.2.2.1) | Метод поверочной линейки |
5.212.111 | Измерение в вертикальной плоскости |
5.212.112 | Измерение в горизонтальной плоскости |
5.212.12 | Метод натянутой проволоки и микроскопа | 12.1.2.3 (8.2.2.2) | Метод натянутой проволоки и микроскопа |
5.212.13 | Метод поверочного телескопа | 12.1.2.4 (8.2.2.3) | Метод поверочного телескопа |
5.212.14 | Техника поверочного лазера | | |
5.212.15 | Техника лазерного интерферометра | | |
5.212.2 | Методы, базирующиеся на угловых измерениях | 12.1.3 | Методы, базирующиеся на измерении углов |
5.212.21 | Метод прецизионного уровня | 12.1.3.2 | Метод прецизионного уровня |
5.212.22 | Метод автоколлимации | 12.1.3.3 | Метод автоколлимации |
5.212.23 | Метод с использованием лазерного интерферометра (угловые измерения) | 12.1.3.4 | Метод с использованием углового лазерного интерферометра |
5.213 | Допуск | 4 | Допуски |
5.213.1 | Определения |
5.213.2 | Определение допуска |
5.22 | Прямолинейность компонентов | 12.1 | Погрешность прямолинейности функциональных поверхностей станка |
5.221 | Определение | 3.9.2 | Погрешность прямолинейности функциональной линии на плоскости |
5.222.1 | Базовые пазы или базовые поверхности стола | 12.1.4 | Погрешность прямолинейности базовых пазов или базовых поверхностей столов |
5.222.2 | Направляющие станка | 12.1.5 | Погрешность прямолинейности направляющих станка |
5.222.21 | V-образная поверхность | 12.1.6 | Погрешность прямолинейности V-образных поверхностей |
5.222.22 | Цилиндрическая поверхность | 12.1.7 | Погрешность прямолинейности цилиндрических поверхностей |
5.222.23 | Обособленная вертикальная поверхность | 12.1.8 | Погрешность прямолинейности отдельных вертикальных поверхностей |
5.222.24 | Конструкция с наклонной станиной | 12.1.9 | Погрешность прямолинейности поверхностей в конструкциях с наклонной станиной |
5.222.3 | Допуски | 4 | Допуски |
5.23 | Прямолинейное перемещение | | |
5.231 | Определение | 3.4.3 | Погрешность перемещения линейной оси |
5.231.1 | Позиционные отклонения | 3.4.5 | Погрешность позиционирования линейного перемещения |
5.231.2 | Линейные отклонения | 3.4.4 | Погрешность линейных перемещений линейной оси |
5.231.3 | Угловые отклонения | 3.4.16 | Угловая погрешность перемещения линейной оси |
5.232 | Методы измерения | | |
5.232.1 | Методы измерения линейных отклонений | 8.3 | Контроль погрешности позиционирования линейного перемещения |
5.232.11 | Метод с поверочной линейкой и прибором с круговой шкалой | 8.2.2.1 | Поверочная линейка и датчик линейного перемещения |
5.232.12 | Метод с микроскопом и натянутой проволокой | 8.2.2.2 | Микроскоп и натянутая проволока |
5.232.13 | Метод, использующий поверочный телескоп | 8.2.2.3 | Поверочный телескоп |
5.232.14 | Метод, использующий лазер | 8.2.2.5 | Лазерный интерферометр прямолинейности |
5.232.15 | Метод, использующий угловые измерения | | |
5.232.2 | Методы измерения угловых отклонений | 8.4 | Испытания перемещений на угловую погрешность |
5.232.21 | Метод, использующий прецизионный уровень | 8.4.2.1 | Прецизионный уровень |
5.232.22 | Метод, использующий автоколлиматор | 8.4.2.2 | Автоколлиматор |
5.232.23 | Метод, использующий лазер | 8.4.2.3 | Лазерный угловой интерферометр |
5.233 | Допуски | 4 | Допуски |
5.233.1 | Допуск на линейное отклонение прямолинейного перемещения |
5.233.2 | Допуск на угловое отклонение прямолинейного перемещения |
5.3 | Плоскостность | | |
5.31 | Определение | 3.8.5 | Плоскостность |
3.9.8 | Погрешность плоскостности функциональной поверхности |
5.321 | Измерение плоскостности поверочной плитой | 12.2.1 | Измерение погрешности плоскостности при помощи поверочной плиты |
5.321.1 | Измерение посредством поверочной плиты и прибора с круговой шкалой | 12.2.2 | Измерение посредством поверочной плиты и датчика линейных перемещений |
5.32 | Методы измерения | | |
5.322 | Измерение плоскостности при помощи поверочной линейки(ек) | 12.2.3 | Измерение при помощи поверочной линейки(ек) |
5.322.1 | Измерение перемещением поверочной линейки с использованием совокупности прямых линий | 12.2.3.1 | Измерение перемещением поверочной линейки с использованием совокупности прямых линий |
5.322.2 | Измерение при помощи поверочных линеек, прецизионного уровня и прибора с круговой шкалой | 12.2.3.2 | Измерение при помощи поверочных линеек, прецизионного уровня и датчика линейных перемещений |
5.323 | Измерение плоскостности при помощи прецизионного уровня | 12.2.4 | Измерение погрешности плоскостности при помощи прецизионного уровня |
5.323.1 | Измерение прямоугольной поверхности | 12.2.4.2 | Измерение прямоугольной поверхности |
5.323.2 | Измерение плоских поверхностей с круговым контуром | 12.2.4.3 | Измерение плоских поверхностей с круговым контуром |
5.324 | Измерение плоскостности оптическими методами | 12.2.5 | Измерение плоскостности оптическими методами |
5.324.1 | Измерение автоколлиматором | 12.2.5.1 | Измерение автоколлиматором |
5.324.2 | Измерение поворотным зеркальным эккером | 12.2.5.2 | Измерение поворотным зеркальным эккером |
5.324.3 | Измерение регулируемым лазером | 12.2.5.3 | Измерение поворотным регулируемым лазером |
5.324.4 | Измерение лазерной измерительной системой | 12.2.5.4 | Измерение лазерной интерферометрической системой |
5.325 | Измерение координатно-измерительной машиной | | |
5.33 | Допуск | 4 | Допуски |
5.4 | Параллельность, равноудаленность и соосность | | |
5.41 | Параллельность линий и плоскостей | 12.3.2 | Параллельность линий и плоскостей |
5.411 | Определения | 3.9.3 | Погрешность параллельности между функциональной линией и плоскостью |
3.9.4 | Погрешность параллельности между двумя функциональными плоскостями |
5.412 | Методы измерения | 12.3.2 | Параллельность линий и плоскостей |
5.412.2 | Параллельность двух плоскостей | 12.3.2.2 | Параллельность двух плоскостей |
5.412.21 | Поверочная линейка и прибор с круговой шкалой | 12.3.2.2.2 | Измерения с использованием поверочной линейки и датчика линейных перемещений |
5.412.22 | Метод прецизионного уровня | 12.3.2.2.3 | Измерения с использованием прецизионного уровня |
5.412.3 | Параллельность двух осей | 12.3.2.3 | Параллельность двух осей |
5.412.31 | Плоскость, проходящая через две оси | 12.3.2.3.2 | Измерение в плоскости, проходящей через две оси |
5.412.32 | Вторая плоскость перпендикулярна к первой | 12.3.2.3.3 | Измерение в другой плоскости, перпендикулярной к первой |
5.412.4 | Параллельность оси с плоскостью | 12.3.2.4 | Параллельность между осью и плоскостью |
5.412.5 | Параллельность оси к линии пересечения двух плоскостей | 12.3.2.6 | Параллельность между осью и линией пересечения двух плоскостей |
5.412.6 | Параллельность линии пресечения двух плоскостей с третьей плоскостью | 12.3.2.8 | Параллельность между линией пересечения двух плоскостей с третьей плоскостью |
5.412.7 | Параллельность между двумя прямыми линиями, каждая из которых образована пересечением двух плоскостей | 12.3.2.9 | Параллельность между двумя прямыми линиями, каждая из которых образована пересечением двух плоскостей |
12.413 | Допуски | 4 | Допуски |
5.42 | Параллельность перемещения | 10.1 | Параллельность осей перемещения |
5.421 | Определения | 3.6.1 | Общие положения |
3.6.2 | Погрешность параллельности между двумя осями линейного перемещения |
3.6.3 | Погрешность параллельности между двумя осями вращения |
3.6.4 | Погрешность параллельности между осью линейного перемещения и осью вращения |
3.6.5 | Погрешность параллельности между осью линейного перемещения и обрабатываемой поверхностью |
3.6.6 | Погрешность параллельности между осью вращения и обрабатываемой поверхностью |
5.422 | Метод измерения | | |
5.422.1 | Общие положения | 10.1.1 | Общие положения |
5.422.2 | Параллельность между траекторией и плоскостью | 12.3.2.5 | Параллельность между осью линейного перемещения и плоскостью |
5.422.21 | Плоскость на самом перемещающемся компоненте | 12.2.2.5.1 | Измерение в том случае, когда испытуемая плоскость находится на самом линейно перемещающемся компоненте |
5.422.22 | Плоскость не на самом перемещающемся компоненте | 12.3.2.5.2 | Измерение в том случае, когда испытуемая плоскость не находится на самом линейно перемещающемся компоненте |
5.422.3 | Параллельность между траекторией и осью | 10.1.3 | Погрешность параллельности между осью линейного перемещения и неподвижной осью |
5.422.4 | Параллельность между траекторией и линией пересечения двух плоскостей | 12.3.2.7 | Параллельность между осью перемещения и линией пересечения двух плоскостей |
5.422.5 | Параллельность между двумя траекториями | 10.1.2 | Погрешность параллельности между двумя осями линейного перемещения в двух плоскостях |
5.423 | Допуск | 4 | Допуски |
5.43 | Равноудаленность | | |
5.431 | Определения | 3.7.3 | Погрешность эквидистантности (равноудаленности) средних осей линий |
5.432 | Метод измерения | 12.3.3 | Эквидистантность (равноудаленность) двух осей |
5.432.1 | Общие положения | 12.3.3.1 | Общие положения |
5.432.2 | Особый случай эквидистантности двух осей от плоскости поворота одной из этих осей | 12.3.3.2 | Особый случай эквидистантности двух осей от плоскости поворота одной из этих осей |
5.433 | Допуск | 4 | Допуски |
5.44 | Соосность, совмещение осей или регулировка | | |
5.441 | Определения | 3.7.2 | Коаксиальная погрешность средних осевых линий |
3.9.9 | Коаксиальная погрешность функционального цилиндра относительно базовой прямой линии |
5.442 | Метод измерения | 10.2 | Коаксиальная погрешность средних осевых линий |
12.3.4 | Соосность |
5.443 | Допуск | 4 | Допуски |
5.5 | Прямоугольность или перпендикулярность | | |
5.51 | Перпендикулярность прямых линий и плоскостей | 12.4 | Погрешность перпендикулярности между линиями и плоскостями |
5.511 | Определения | 3.9.5 | Погрешность перпендикулярности между двумя функциональными линиями |
3.9.6 | Погрешность перпендикулярности между двумя функциональными плоскостями |
5.512 | Методы измерения | 12.4 | Погрешность перпендикулярности между линиями и плоскостями |
5.512.1 | Определения | 12.4.1 | Общие положения |
5.512.2 | Две плоскости под углом 90° друг к другу | 12.4.2 | Две плоскости, расположенные под углом 90° друг к другу |
5.512.3 | Две оси под углом 90° друг к другу | 12.4.3 | Две неподвижные оси, расположенные под углом 90° друг к другу |
5.512.31 | Две неподвижные оси | | |
5.512.32 | Одна из осей является осью вращения | 12.4.7 | Перпендикулярность между осью вращения и неподвижной осью |
5.512.4 | Ось и плоскость под углом 90° друг к другу | | |
5.512.41 | Неподвижная ось | 12.4.4 | Неподвижная ось и плоскость под углом 90° друг к другу |
5.512.42 | Ось вращения | 12.4.8 | Перпендикулярность оси вращения к плоскости |
5.512.5 | Ось под углом 90° к линии пересечения двух плоскостей | | |
5.512.51 | Неподвижная ось | 12.4.10 | Неподвижная ось, расположенная под углом 90° к линии пересечения двух плоскостей |
5.512.52 | Ось вращения | 12.4.9 | Перпендикулярность оси вращения к линии пересечения двух плоскостей |
5.512.6 | Когда линия пересечения двух плоскостей расположена под углом 90° к еще одной плоскости | 12.4.11 | Когда линия пересечения двух плоскостей расположена под углом 90° к еще одной плоскости |
5.512.7 | Когда прямые линии, каждая из которых является линией пересечения двух плоскостей, расположены под углом 90° друг к другу | 12.4.12 | Расположенные под углом 90° друг к другу две прямые линии, каждая из которых является линией пересечения двух плоскостей |
5.513 | Допуск | 4 | Допуски |
5.52 | Перпендикулярность перемещения | | |
5.521 | Определения | 3.6.7 | Погрешность перпендикулярности между двумя осями линейного перемещения |
3.6.8 | Погрешность перпендикулярности между осью линейного перемещения и средней осевой линией |
3.6.9 | Погрешность перпендикулярности между двумя средними осевыми линиями |
5.522 | Методы измерения | 10.3 | Погрешность перпендикулярности осей перемещения |
5.522.1 | Общие положения | 10.3.1 | Общие положения |
5.522.2 | Перпендикулярность между траекторией точки и плоскостью | 12.4.5 | Перпендикулярность между осью линейного перемещения и плоскостью |
5.522.3 | Траектория точки под углом 90° к оси | 12.4.6 | Погрешность перпендикулярности между осью линейного перемещения и неподвижной осью |
5.522.4 | Две траектории, перпендикулярные друг к другу | 10.3.2 | Погрешность перпендикулярности между двумя осями линейного перемещения |
5.523 | Допуск | 4 | Допуски |
5.6 | Вращение | 9 | Испытания осей вращения на геометрическую точность |
5.61 | Биение | | |
5.611 | Определения | 3.9.7 | Биение функциональной поверхности на заданном отрезке |
5.611.1 | Искажение круглости | | |
5.611.2 | Эксцентриситет | 3.5.9 | Эксцентриситет оси привода |
5.611.3 | Радиальный эксцентриситет оси в заданной точке | 3.5.10 | Радиальный эксцентриситет оси вращения в заданной точке |
5.611.4 | Биение компонента на заданном отрезке | 12.5 | Биение вращающихся компонентов |
5.612 | Методы измерения | | |
5.612.1 | Меры предосторожности перед проведением испытания | 12.5.1 | Меры предосторожности перед проведением испытания (см. 6.22 для температурных условий определенных компонентов перед испытанием) |
5.612.2 | Наружная поверхность | 12.5.2 | Наружная поверхность |
5.612.3 | Внутренняя поверхность | 12.5.3 | Внутренняя поверхность |
5.613 | Допуск | 4 | Допуски |
5.62 | Периодическое осевое биение | | |
5.621 | Определения | | |
5.621.1 | Минимальный аксиальный зазор | | |
5.621.2 | Периодическое осевое биение | 3.5.5 | Аксиальная погрешность перемещения |
5.622 | Методы измерения | 9.1 | Ссылка на ISO 230-7 |
5.622.1 | Общие положения |
5.622.2 | Практическое применение |
5.623 | Допуск | 4 | Допуски |
5.63 | Система кулачкового распределения | 9.1 | Ссылка на ISO 230-7 |
5.631 | Определения |
5.632 | Метод измерения |
5.633 | Допуск | 4 | Допуски |
6 | Специальные испытания | | |
6.1 | Распределение | | |
6.11 | Подразделение погрешностей | | |
6.111 | Характерные погрешности распределения | | |
6.112 | Последовательные погрешности распределения | | |
6.113 | Локальные погрешности распределения | | |
6.114 | Совокупные погрешности | | |
6.115 | Суммарные погрешности | | |
6.116 | Графическое представление перечисленных погрешностей | | |
6.12 | Методы измерения | | |
6.13 | Допуск | 4 | Допуски |
6.2 | Определение отклонений линейного позиционирования завинчивающихся компонентов | | |
6.3 | Угловой зазор | | |
6.31 | Определения | | |
6.32 | Метод измерения (испытание круговой подачи устройства/компонентов) | | |
6.33 | Допуск | 4 | Допуски |
6.4 | Повторяемость устройств с угловым делением | 9.1 | Ссылка на ISO 230-7 |
6.42 | Метод измерения | | |
6.43 | Допуск | 4 | Допуски |
6.5 | Пересечение осей | | |
6.51 | Определение | 3.7.4 | Погрешность пересечения между средними осевыми линиями |
6.52 | Метод измерения | 10.4 | Пересечение средних осевых линий |
6.521 | Прямые измерения | 10.4.3 | Пересечение неперпендикулярных средних осевых линий |
6.522 | Непрямые измерения | 10.4.4 | Непрямые измерения |
6.53 | Допуск | 4 | Допуски |
6.6 | Округлость | | |
6.61 | Определение | 3.8.2 | Погрешность округлости |
6.62 | Метод измерения на образцах | Приложение B | Измерение опытного образца |
6.621 | Машина для измерения округлости с вращающимся устройством считывания или с поворотным столом | | |
6.622 | Координатно-измерительная машина | | |
6.623 | Проекция контура | | |
6.624 | Метод V-образного блока | | |
6.63 | Измерение кругового перемещения под числовым управлением (ЧУ) | 11.3 | Круговые траектории |
6.631 | Вращающийся одномерный контактный датчик (щуп) | 11.3.4.2 | Метод, использующий вращающийся датчик одномерных линейных перемещений |
6.632 | Круговой мерный калибр и двумерный контактный датчик | 11.3.4.3 | Метод, использующий круговой контрольный калибр и датчик двумерных перемещений |
6.633 | Телескопический шаровой контрольный калибр | 11.3.4.4 | Метод, использующий шаровой контрольный калибр с выдвижным стержнем |
6.7 | Цилиндричность | | |
6.71 | Определение | | |
6.72 | Метод измерения | | |
6.721 | Координатно-измерительная машина | | |
6.722 | Машина для измерения округлости с вращающимся устройством считывания или с поворотным столом | | |
6.723 | Метод V-образного блока | | |
6.8 | Стабильность обрабатываемых диаметров | B.2.3 | Стабильность обрабатываемых диаметров |
6.81 | Определения | | |
6.82 | Метод измерения | | |
6.821 | Микрометр или подобный двухопорный измерительный инструмент | B.2.3.2 | Микрометр или подобный двухопорный измерительный инструмент |
6.822 | Штангенвысотомер | | |
[1] | ISO/IEC Guide 98-3, Uncertainty of measurement - Part 3: Guide to the expression of uncertainty in measurement (GUM:1995) |
[2] | ISO/IEC Guide 99, International vocabulary of metrology - Basic and general concepts and associated terms (VIM) |
[3] | ISO/TR 5460, Technical drawings - Geometrical tolerancing - Tolerancing of form, orientation, location and runout - Verification principles and methods - Guidelines |
[4] | ISO 14253-2, Geometrical product specifications (GPS) - Inspection by measurement of workpieces and measuring equipment - Part 2: Guidance for the estimation of uncertainty in GPS measurement, in calibration of measuring equipment and in product verification |
[5] | ISO 14253-3, Geometrical product specifications (GPS) - Inspection by measurement of workpieces and measuring equipment - Part 3: Guidelines for achieving agreements on measurement uncertainty statements |
[6] | ISO/TS 14253-4, Geometrical product specifications (GPS) - Inspection by measurement of workpieces and measuring equipment - Part 4: Background on functional limits and specification limits in decision rules |
| ISO/TS 14253-4, Geometrical product specifications (GPS) - Inspection by measurement of workpieces and measuring equipment - Part 4: Background on functional limits and specification limits in decision rules |
[8] | KNAPP, W., BRINGMANN, B. Straightness Measurements for Long Movements. Nanotechnology and Precision Engineering 3 (2005), pp. 249 - 256 |
| BELL, S. A beginner's Guide to Uncertainty of Measurement. published by NPL (see http://www.wmo.int/pages/prog/gcos/documents/gruanmanuals/UK_NPL/mgpg11.pdf) |
| BRYAN, J.B. The  principle revisited: An updated interpretation, Precision Engineering, 1(3), 1979 |
| ESTLER, W.T., EDMUNDSON, K.L., PEGGS, G.N., PARKER, D.H. Large Scale Metrology: An Update. CIRP Annals, 51(2), 2002, pp. 587 - 609 |
| NASAKI, I., KISHINAMI, K., SAKAMOTO, S., SUGIMURA, N., TAKEUCHI, Y., and TANAKA, F., Form shaping theory of machine tools: fundamentals and applications. Yokendo, Tokyo, 1997 (in Japanese) |
Алфавитный указатель терминов на русском языке
деформация статическая упругая | |
| | ИС МЕГАНОРМ: примечание. В официальном тексте документа, видимо, допущена опечатка: имеется в виду п. 3.3.4, а не 3.4.4. | |
|
гистерезис | |
| | ИС МЕГАНОРМ: примечание. В официальном тексте документа, видимо, допущена опечатка: имеется в виду п. 3.3.6, а не 3.4.6. | |
|
гистерезис станка | |
| | ИС МЕГАНОРМ: примечание. В официальном тексте документа, видимо, допущена опечатка: имеется в виду п. 3.3.5, а не 3.4.5. | |
|
гистерезис установки (настройки) | |
зазор | |
контур конструктивный (структурный) | |
линия средняя осевая | |
окружность зоны минимальных значений (величин) | |
окружность наименьших квадратов | |
ось вращения | |
отклонение (смещение) угловое | |
отклонение (смещение) позиционирования линейное | |
| | ИС МЕГАНОРМ: примечание. В официальном тексте документа, видимо, допущена опечатка: имеется в виду п. 3.5.12, а не 3.4.12. | |
|
отклонение (смещение) позиционирования угловое | |
отклонения от плоскости | |
отклонения от прямолинейности | |
перемещение синхронное | |
плоскость базовая | |
плоскость зоны минимальных значений базовая | |
| | ИС МЕГАНОРМ: примечание. В официальном тексте документа, видимо, допущена опечатка: имеется в виду п. 3.8.10, а не 3.4.10. | |
|
плоскость зоны наименьших квадратов базовая | |
плоскостность | |
поверхность, образованная двумя линейными перемещениями | |
повторяемость углового деления (индексирования) однонаправленная | |
погрешность линии пересечения средних осевых линий | |
погрешность круглости | |
погрешность линейной оси угловая | |
погрешность параллельности между двумя осями вращения | |
погрешность параллельности между двумя осями линейного перемещения | |
погрешность параллельности между осью линейного перемещения и обрабатываемой поверхностью | |
погрешность параллельности между осью линейного перемещения и осью вращения | |
погрешность параллельности между двумя функциональными плоскостями | |
погрешность перпендикулярности между двумя функциональными линиями | |
погрешность параллельности между функциональной линией и плоскостью | |
погрешность параллельности между осью вращения и поверхностью | |
погрешность перемещений линейной оси линейная | |
погрешность перемещения линейной оси угловая | |
погрешность перемещения оси вращения | |
погрешность перемещения радиальная | |
погрешность перпендикулярности между двумя осями линейного перемещения | |
погрешность перпендикулярности между двумя средними осевыми линиями | |
погрешность перпендикулярности между двумя функциональными плоскостями | |
погрешность перпендикулярности между осью линейного перемещения и средней осевой линией | |
погрешность плоскостности поверхности, определяемой двумя линейными перемещениями | |
погрешность плоскостности функциональной поверхности | |
погрешность позиционирования линейная | |
погрешность позиционирования угловая | |
| | ИС МЕГАНОРМ: примечание. В официальном тексте документа, видимо, допущена опечатка: имеется в виду п. 3.4.5, а не 3.5.2. | |
|
погрешность позиционирования перемещения линейная | |
погрешность позиционирования перемещения угловая | |
погрешность прямолинейности линейной оси | |
погрешность прямолинейности перемещения | |
погрешность прямолинейности функциональной линии на плоскости | |
погрешность равноудаленности средних линий осей | |
погрешность соосности средних осевых линий | |
погрешность соосности функционального цилиндра относительно базовой прямой линии | |
прямолинейность | |
смещение (сдвиг) между двумя средними осевыми линиями | |
смещение осевое | |
смещение (сдвиг) оси | |
точность объемная | |
точка функциональная | |
эксцентриситет приводной оси | |
Алфавитный указатель эквивалентов терминов
на английском языке
angular deviation | |
angular error motions of a linear axis | |
angular error of a linear axis | |
angular positioning deviation | |
angular positioning error | |
angular positioning error motion | |
axial error motion | |
axis average line | |
axis of rotation | |
axis of rotation error motion | |
axis shift | |
bidirectional repeatability of angular indexing | |
circular error | |
coaxiality error of axis average lines | |
coaxiality error of a functional cylinder to a datum straight line | |
eccentricity of a driven axis | |
error motions of a linear axis | |
end-point reference straight line | |
error of intersection between axis average lines | |
equidistance error of axis average lines | |
flatness | |
flatness deviation | |
flatness error of a functional surface | |
flatness error of a surface defined by two linear motions | |
functional point | |
hysteresis | |
least squares circle | |
least squares reference straight line | |
least squares zone reference plane | |
linear error motions of a linear axis | |
linear positioning deviation | |
linear positioning error | |
linear positioning error motion | |
machine hysteresis | |
mean minimum zone circle | |
mean minimum zone reference plane | |
mean minimum zone reference straight line | |
offset between two axis average lines | |
parallelism error between an axis of linear motion and an axis of rotation | |
parallelism error between an axis of linear motion and a surface | |
parallelism error between an axis of rotation and a surface | |
parallelism error between a functional line and a plane | |
parallelism error between two axes of linear motion | |
parallelism error between two axes of rotation | |
parallelism error between two functional planes | |
perpendicularity error between two functional lines | |
perpendicularity error between two functional planes | |
play | |
radial error motion | |
radial throw of a rotary axis at a given point | |
reference plane | |
reference straight line | |
run-out of a functional surface at a given section | |
setup hysteresis | |
squareness error between an axis of linear motion and an axis average line | |
squareness error between two axis average lines | |
squareness error between two axes of linear motion | |
static compliance | |
straightness | |
straightness deviation | |
straightness error motion | |
straightness error of a functional line in a plane | |
straightness error of a linear axis | |
structural loop | |
surface generated by two linear motions | |
synchronous motion | |
unidirectional repeatability of angular indexing | |
volumetric accuracy | |
volumetric performance | |
(справочное)
СВЕДЕНИЯ О СООТВЕТСТВИИ ССЫЛОЧНЫХ МЕЖДУНАРОДНЫХ СТАНДАРТОВ
И ДОКУМЕНТОВ МЕЖГОСУДАРСТВЕННЫМ СТАНДАРТАМ
Таблица ДА.1
Обозначение ссылочного международного стандарта и документа | Степень соответствия | Обозначение и наименование соответствующего межгосударственного стандарта |
ISO 1:2016 | - | |
ISO 230-2:2016 | IDT | ГОСТ ISO 230-2:2016 "Нормы и правила испытаний станков. Часть 2. Определение точности и повторяемости позиционирования осей станков с числовым программным управлением" |
ISO 230-4:2015 | IDT | ГОСТ ISO 230-4:2015 "Нормы и правила испытаний станков. Часть 4. Испытания на отклонения круговых траекторий для станков с ЧПУ" |
ISO 230-6:2002 | IDT | ГОСТ ISO 230-6:2002 "Нормы и правила испытаний станков. Часть 6. Определение точности позиционирования по объемным и поверхностным диагоналям (Испытания на смещение диагоналей)" |
ISO 230-7:2015 | - | |
ISO/TR 230-8:2010 | - | |
ISO 841 | IDT | ГОСТ 23597 "Станки металлорежущие с ЧПУ. Обозначение осей координат и направлений движений. Общие положения" |
| | ИС МЕГАНОРМ: примечание. В официальном тексте документа, видимо, допущена опечатка: стандарт имеет номер ГОСТ Р 53442-2009 (ИСО 1101:2004), а не ГОСТ ISO 1101:2004. | |
|
ISO 1101:2004 | MOD | ГОСТ ISO 1101:2004 "Основные нормы взаимозаменяемости. Характеристики изделий геометрические. Допуски формы, ориентации, месторасположения и биения" |
ISO 12181-1:2011 | - | |
ISO 12780-1:2011 | - | |
ISO 12781-1:2011 | - | |
| - | |
<*> Соответствующий межгосударственный стандарт отсутствует. До его принятия рекомендуется использовать перевод на русский язык данного международного стандарта. Официальный перевод данного международного стандарта находится в Федеральном информационном фонде стандартов. |
--------------------------------
<1> Заменен. Действует ISO 14253-1:2017.
УДК 621.9.02-434.5.006.354 | | |
Ключевые слова: методика испытаний, погрешность, отклонения, круговые траектории, станки с ЧПУ |