Главная // Актуальные документы // ГОСТ (Государственный стандарт)
СПРАВКА
Источник публикации
М.: ФГБУ "РСТ", 2021
Примечание к документу
Текст данного документа приведен с учетом поправки, опубликованной в "ИУС", N 8, 2022.

Документ введен в действие с 01.06.2022.
Название документа
"ГОСТ ISO 13935-2-2021. Межгосударственный стандарт. Материалы и изделия текстильные. Свойства швов на материалах и готовых текстильных изделиях при растяжении. Часть 2. Определение максимального усилия при разрыве шва методом захвата"
(введен в действие Приказом Росстандарта от 30.09.2021 N 1042-ст)

"ГОСТ ISO 13935-2-2021. Межгосударственный стандарт. Материалы и изделия текстильные. Свойства швов на материалах и готовых текстильных изделиях при растяжении. Часть 2. Определение максимального усилия при разрыве шва методом захвата"
(введен в действие Приказом Росстандарта от 30.09.2021 N 1042-ст)


Содержание


Введен в действие
Приказом Федерального агентства
по техническому регулированию
и метрологии
от 30 сентября 2021 г. N 1042-ст
МЕЖГОСУДАРСТВЕННЫЙ СТАНДАРТ
МАТЕРИАЛЫ И ИЗДЕЛИЯ ТЕКСТИЛЬНЫЕ
СВОЙСТВА ШВОВ НА МАТЕРИАЛАХ И ГОТОВЫХ ТЕКСТИЛЬНЫХ ИЗДЕЛИЯХ
ПРИ РАСТЯЖЕНИИ
ЧАСТЬ 2
ОПРЕДЕЛЕНИЕ МАКСИМАЛЬНОГО УСИЛИЯ ПРИ РАЗРЫВЕ ШВА
МЕТОДОМ ЗАХВАТА
Textiles. Seam tensile properties of fabrics and made-up
textile articles. Part 2. Determination of maximum force
to seam rupture using the grab method
(ISO 13935-2:2014, IDT)
ГОСТ ISO 13935-2-2021
МКС 59.080.30;
61.020
Дата введения
1 июня 2022 года
Предисловие
Цели, основные принципы и общие правила проведения работ по межгосударственной стандартизации установлены ГОСТ 1.0 "Межгосударственная система стандартизации. Основные положения" и ГОСТ 1.2 "Межгосударственная система стандартизации. Стандарты межгосударственные, правила и рекомендации по межгосударственной стандартизации. Правила разработки, принятия, обновления и отмены"
Сведения о стандарте
1 ПОДГОТОВЛЕН Производственно-внедренческим обществом с ограниченной ответственностью "Фирма "Техноавиа" (ПВ ООО "Фирма "Техноавиа") на основе собственного перевода на русский язык англоязычной версии стандарта, указанного в пункте 5
2 ВНЕСЕН Федеральным агентством по техническому регулированию и метрологии
3 ПРИНЯТ Межгосударственным советом по стандартизации, метрологии и сертификации (протокол от 26 августа 2021 г. N 142-П)
За принятие проголосовали:
Краткое наименование страны по МК (ИСО 3166) 004-97
Код страны по МК (ИСО 3166) 004-97
Сокращенное наименование национального органа по стандартизации
Армения
AM
ЗАО "Национальный орган по стандартизации и метрологии" Республики Армения
Беларусь
BY
Госстандарт Республики Беларусь
Казахстан
KZ
Госстандарт Республики Казахстан
Киргизия
KG
Кыргызстандарт
Россия
RU
Росстандарт
Таджикистан
TJ
Таджикстандарт
Узбекистан
UZ
Узстандарт
4 Приказом Федерального агентства по техническому регулированию и метрологии от 30 сентября 2021 г. N 1042-ст межгосударственный стандарт ГОСТ ISO 13935-2-2021 введен в действие в качестве национального стандарта Российской Федерации с 1 июня 2022 г.
5 Настоящий стандарт идентичен международному стандарту ISO 13935-2:2014 "Материалы и изделия текстильные. Свойства швов на материалах и готовых текстильных изделиях при растяжении. Часть 2. Определение максимального усилия при разрыве шва методом захвата" ("Textiles - Seam tensile properties of fabrics and made-up textile articles - Part 2: Determination of maximum force to seam rapture using the grab method", IDT).
ISO 13935-2 разработан Техническим комитетом ISO/TC 38 "Текстиль", подкомитетом SC 24 "Атмосферные условия кондиционирования и физических испытаний для текстильных материалов" Международной организации по стандартизации (ISO).
При применении настоящего стандарта рекомендуется использовать вместо ссылочных международных стандартов соответствующие им межгосударственные стандарты, сведения о которых приведены в дополнительном приложении ДА.
Дополнительные сноски в тексте настоящего стандарта, выделенные курсивом, приведены для пояснения текста оригинала
6 ВВЕДЕН ВПЕРВЫЕ
7 Некоторые элементы настоящего стандарта могут являться объектами патентных прав
Информация о введении в действие (прекращении действия) настоящего стандарта и изменений к нему на территории указанных выше государств публикуется в указателях национальных стандартов, издаваемых в этих государствах, а также в сети Интернет на сайтах соответствующих национальных органов по стандартизации.
В случае пересмотра, изменения или отмены настоящего стандарта соответствующая информация будет опубликована на официальном интернет-сайте Межгосударственного совета по стандартизации, метрологии и сертификации в каталоге "Межгосударственные стандарты".
Введение
ISO 13935-2 подготовлен в тесной связи с несколькими методами для определения ряда характеристик механических свойств текстильных материалов и изделий с использованием машин для испытаний на растяжение, например, характеристики механических свойств при растяжении и раздире, прочности шва. Процедура испытаний данных стандартов согласуется, когда это необходимо. Результаты, полученные одним из методов, не следует сравнивать с результатами, полученными другими методами. См. Библиографию для получения дополнительной информации.
Когда необходимо сравнить величины максимальных усилий ниточных швов с максимальным усилием материалов, важно использовать один и тот же тип испытания, условия испытания и испытуемые пробы по ISO 13935-2 и ISO 13934-2 (см. библиографию).
1 Область применения
Настоящий стандарт устанавливает методы определения максимального усилия ниточных швов при перпендикулярном приложении усилия ко шву. Настоящий стандарт устанавливает метод, известный как испытание захватом.
Примечание - ISO 13935-1 устанавливает метод, известный как метод полоски. Для получения дополнительной информации см. библиографию.
Настоящий метод в основном применим к тканям, включая материалы, которые проявляют эластичные свойства, обусловленные присутствием эластомерного волокна, механической или химической обработки. Настоящий стандарт применим к материалам, произведенным по другой технологии. Настоящий стандарт не применим к геотекстилю, нетканым материалам, материалам с покрытием, тканям из стекловолокна и материалам из углеродных волокон или из полиолефиновой ленточной пряжи (см. библиографию).
Прошитые материалы могут быть взяты из ранее сшитых изделий или могут быть подготовлены из образцов материалов по согласованию между сторонами, заинтересованными в результатах.
Данный метод применим только к прямым швам и не применим к криволинейным швам.
Данный метод ограничен использованием машин для испытаний с постоянной скоростью растяжения (CRE).
2 Нормативные ссылки
В настоящем стандарте использованы нормативные ссылки на следующие стандарты [для датированных ссылок применяют только указанное издание ссылочного стандарта, для недатированных - последнее издание (включая все изменения)]:
ISO 139, Textiles - Standard atmospheres for conditioning and testing (Материалы и изделия текстильные. Стандартные атмосферные условия для кондиционирования и проведения испытания)
ISO 7500-1, Metallic materials - Calibration and verification of static uniaxial testing machines - Part 1: Tension/compression testing machines - Calibration and verification of the force-measuring system (Материалы металлические. Калибровка и верификация машин для статических испытаний в условиях одноосного нагружения. Часть 1. Машины для испытания на растяжение/сжатие. Калибровка и верификация силоизмерительной системы)
ISO 10012, Measurement management systems - Requirements for measurement processes and measuring equipment (Системы менеджмента измерений. Требования к измерительным процессам и измерительному оборудованию)
3 Термины и определения
В настоящем стандарте применены следующие термины с соответствующими определениями:
3.1
машина для испытаний с постоянной скоростью растяжения; CRE (constant-rate-of-extension (CRE) testing machine): Машина для испытания на растяжение, оборудованная одним неподвижным зажимом и еще одним зажимом, который движется с постоянной скоростью в процессе испытания, при этом вся испытательная установка не должна смещаться.
[ISO 13934-1:2013]
3.2
испытание захватом (grab test): Испытание на растяжение, при котором в зажимах машины для испытаний закрепляют только центральную часть испытуемой пробы.
[ISO 13934-2:2013]
3.3
максимальное усилие при разрыве шва <1> (maximum force to seam rupture): Максимальное усилие, зарегистрированное, когда испытуемая проба со швом, перпендикулярным направлению растяжения, претерпевает разрыв шва в процессе испытания на растяжение при заданных условиях.
[ISO 13935-1:2014]
--------------------------------
<1> Для целей настоящего стандарта значение максимального усилия при разрыве шва принимают в качестве значения разрывной нагрузки шва.
3.4
зажимная длина (gauge length): Расстояние между двумя рабочими зажимными точками испытательного устройства.
Примечание - Рабочие точки (или линии) зажимов можно проверить, зажав испытуемую пробу с определенным предварительным натяжением с помощью копировальной бумаги, чтобы получить отпечаток зажима на испытуемой пробе и/или поверхностях губок зажима.
[ISO 13934-1:2013]
4 Сущность метода
Закрепляют центральную часть испытуемой пробы материала, имеющей шов посередине, губками зажимов установленного размера и растягивают ее перпендикулярно шву с постоянной скоростью до разрыва шва. Регистрируют максимальное усилие при разрыве шва.
5 Отбор образцов
Образцы отбирают в соответствии с процедурой, изложенной в техническом описании материала или по согласованию между заинтересованными сторонами.
Если требуется подготовка швов перед испытанием, следует избегать складок или мятых участков, кромок и областей, не характерных для материала.
Для швов, взятых из сшитых ранее изделий, необходимо убедиться, что испытуемые пробы содержали только прямые швы, были репрезентативными для соответствующего типа швов текстильного изделия. В протоколе испытаний указывают любые подробности испытаний.
6 Оборудование
6.1 CRE машина для испытаний
Система метрологического подтверждения пригодности машины для испытаний на растяжение должна соответствовать ISO 10012.
Машина с постоянной скоростью растяжения (CRE) должна иметь основные характеристики, приведенные в 6.1.1 - 6.1.6.
6.1.1 Машина для испытания на растяжение должна быть снабжена средствами для считывания или регистрации усилия, приложенного к испытуемой пробе при растяжении ее до разрыва. В условиях использования точность оборудования должна соответствовать классу 1 в соответствии с ISO 7500-1. Погрешность указанного или зарегистрированного максимального усилия в любой точке диапазона, в котором используется машина, не должна превышать +/- 1%.
6.1.2 В случае использования машины для испытаний на растяжение класса 2 в соответствии с ISO 7500-1 это должно быть указано в протоколе испытаний.
6.1.3 В случае проведения регистрации усилия с помощью системы сбора данных и программного обеспечения частота сбора данных должна быть не менее восьми в секунду.
6.1.4 Машина должна обеспечивать постоянную скорость растяжения 50 мм/мин с точностью +/- 10%.
6.1.5 Машина должна позволять устанавливать нужную зажимную длину (100 +/- 1) мм.
6.1.6 Зажимное устройство машины должно быть установлено таким образом, чтобы центральная точка двух зажимов находилась на линии приложенного усилия, передние кромки должны быть расположены под прямым углом к линии приложенного усилия, а зажимные поверхности должны находиться в одной плоскости.
Губки зажима должны удерживать испытуемую пробу без проскальзывания, они должны быть сконструированы таким образом, чтобы не повреждать испытуемую пробу и не снижать ее прочность.
Поверхности зажимов должны быть гладкими и плоскими, за исключением тех случаев, когда даже с уплотнителем испытуемая проба не может быть удержана губками зажимов с плоскими поверхностями, в этом случае могут быть использованы рельефные или гофрированные зажимы, чтобы предотвратить проскальзывание. Другие вспомогательные материалы для использования с гладкими или гофрированными губками зажимов в целях улучшения зажима испытуемой пробы включают бумагу, кожу, пластик или резину.
Для испытания захватом размеры области зажима материала должны составлять (25 +/- 1) x (25 +/- 1) мм. Эта область может быть достигнута методом, приведенным в a) или b), и приведена в приложении A:
a) один зажим с размерами (25 x 40 минимум, предпочтительно 50) мм, устанавливают более широким направлением перпендикулярно линии приложения усилия; второй зажим с такими размерами устанавливают перпендикулярно первому так, чтобы более широкое направление зажима было параллельно направлению приложения усилия;
b) один зажим с размерами (25 x 40 минимум, предпочтительно 50) мм устанавливают более широким направлением перпендикулярно линии приложения усилия; второй зажим с размерами (25 x 25) мм.
6.2 Оборудование для выполнения заданных швов.
6.3 Оборудование для вырезания испытуемых проб.
7 Атмосферные условия кондиционирования и проведения испытаний
Атмосферные условия для предварительного кондиционирования, кондиционирования и проведения испытаний должны соответствовать требованиям ISO 139.
Рекомендуется кондиционировать образцы в свободном состоянии в течение минимум 24 часов.
8 Подготовка швов и испытуемых проб
8.1 Подготовка швов до испытаний, при необходимости
В случае подготовки швов для испытания заинтересованные стороны должны согласовать условия сшивания, включая тип нитей, тип игл, тип шва, припуск на шов и количество стежков на единицу длины. Необходимо настроить швейную машину таким образом, чтобы она обеспечивала корректные условия, используя для испытаний дополнительные куски материала.
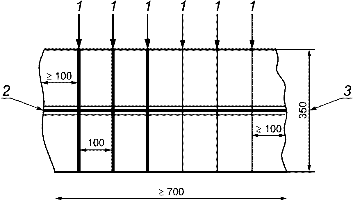
Вырезают образец материала шириной 350 мм, длиной не менее 700 мм.
Сгибают образец пополам вдоль длины, выполняют заданный шов в этом направлении и разрезают, чтобы получить заданный припуск на шов. Швы для испытания должны быть выполнены параллельно направлению основы или утка, или того и другого, в соответствии с договоренностью между заинтересованными сторонами.
8.2 Размеры
Из каждого лабораторного образца со швами вырезают набор не менее пяти испытуемых проб шириной 100 мм, как показано на рисунке 1.
1 - разрез; 2 - шов; 3 - длина до сшивания
Рисунок 1 - Лабораторный образец со швами
и разметкой испытуемых проб
При использовании швов, подготовленных в соответствии с 8.1, образцы вырезают на расстоянии не менее 100 мм от любого конца подготовленного шва (см. рисунок 1).
8.3 Подготовка испытуемых проб
На каждую испытуемую пробу наносят прямую линию на расстоянии 38 мм от одного края, проходящую по всей длине испытуемой пробы (см. рисунок 2).
1 - нанесенная линия; 2 - длина после сшивания
Рисунок 2 - Готовая испытуемая проба
9 Процедура
9.1 Зажимная длина
На машине для испытания на растяжение устанавливают зажимную длину (100 +/- 1) мм.
9.2 Скорость растяжения
На машине для испытания на растяжение устанавливают скорость растяжения 50 мм/мин.
9.3 Установка испытуемой пробы
Зажимают испытуемую пробу по центру таким образом, чтобы его продольная центральная линия проходила через центральную точку передних кромок губок зажимов и была перпендикулярна кромкам губок зажимов, чтобы линия, нанесенная на испытуемую пробу, совпадала с одной кромкой губок зажима и усилие прикладывалось перпендикулярно шву в середине испытуемой пробы.
После закрытия губок верхнего зажима избегают предварительного натяжения, когда выставляют испытуемую пробу вдоль направляющей линии в губках нижнего зажима, необходимо, чтобы материал свободно свисал под своим собственным весом перед закрытием нижнего зажима.
9.4 Проведение испытания
Используют соответствующее устройство для регистрации максимального усилия. Приводят в движение подвижный зажим и растягивают испытуемую пробу до момента разрыва. Регистрируют максимальное усилие, Н, и причину разрыва:
a) раздир материала;
b) раздир материала в губках зажима;
c) раздир материала в шве;
d) разрыв ниток в шве;
e) вытягивание нити;
f) или любая комбинация вышеуказанных признаков.
Если разрыв произошел в виде a) или b), эти результаты исключают и проводят дополнительные испытания, пока не будут получены пять разрывов шва.
Если все разрывы являются раздирами материала или раздирами материала в губках зажима, фиксируют отдельные результаты без коэффициентов вариации или границ доверительного интервала. Данные результаты указывают в протоколе испытаний как раздиры материала или раздиры в губках зажима (см. 11, перечисление j), они подлежат обсуждению заинтересованными сторонами.
10 Расчет и представление результатов
Для разрывов швов, указанных в 9.4, перечисления c) - f), рассчитывают среднее арифметическое максимального усилия шва, Н, для каждого испытанного направления.
Округляют результаты до значений:
- до 100 Н с точностью до 1 Н;
- от 100 до 1000 Н с точностью до 10 Н;
- от 1000 Н с точностью до 100 Н.
При необходимости рассчитывают коэффициент вариации с точностью до 0,1% и 95% и доверительные интервалы, округленные с той же точностью, что и среднее арифметическое значение.
11 Протокол испытаний
Протокол испытаний должен включать следующую информацию:
a) ссылку на ГОСТ ISO 13935-2 и дату испытания;
b) идентификацию образца для испытаний и процедуру отбора образцов, при необходимости;
c) информацию о шве (см. 8.1);
d) количество испытуемых проб, включая число исключенных испытаний и вызвавшие их причины;
e) наблюдение разрыва шва (9.4);
f) любое отклонение от данной процедуры;
g) среднее арифметическое значение максимального усилия шва, Н;
h) при необходимости, коэффициент вариации среднего значения, %;
i) при необходимости, 95%-ный доверительный интервал среднего значения, Н;
j) в случае раздира материала или раздира материала в губках зажима - отдельные результаты (см. 9.4).
Приложение A
(справочное)
УСТРОЙСТВО ГУБОК ЗАЖИМОВ ДЛЯ ИСПЫТАНИЯ ЗАХВАТОМ
1 - задняя поверхность губки зажима; 2 - передняя
поверхность губки зажима; 3 - направление приложения усилия
Рисунок A.1 - Устройство губок зажимов
для испытания захватом
Приложение ДА
(справочное)
СВЕДЕНИЯ О СООТВЕТСТВИИ ССЫЛОЧНЫХ МЕЖДУНАРОДНЫХ СТАНДАРТОВ
МЕЖГОСУДАРСТВЕННЫМ СТАНДАРТАМ
Таблица ДА.1
Обозначение ссылочного международного стандарта
Степень соответствия
Обозначение и наименование соответствующего межгосударственного стандарта
ISO 139
IDT
ГОСТ ISO 139-2014 "Материалы текстильные. Стандартные атмосферные условия для проведения кондиционирования и испытаний"
ISO 7500-1
-
ISO 10012
-
<*> Соответствующий межгосударственный стандарт отсутствует. До его принятия рекомендуется использовать перевод на русский язык данного международного стандарта. Официальный перевод данного международного стандарта находится в Федеральном информационном фонде стандартов.
Примечание - В настоящей таблице использовано следующее условное обозначение степени соответствия стандартов:
- IDT - идентичные стандарты.
--------------------------------
<1> В Российской Федерации действует ГОСТ Р ИСО 10012-2008 "Менеджмент организации. Системы менеджмента измерений. Требования к процессам измерений и измерительному оборудованию".
БИБЛИОГРАФИЯ
[1]
ISO 13934-1
Textiles - Tensile properties of fabrics - Part 1: Determination of maximum force using the strip method (Материалы и изделия текстильные. Свойства тканей при растяжении. Часть 1. Определение максимального усилия и относительного удлинения при максимальном усилии методом полоски)
[2]
ISO 13934-2
Textiles - Tensile properties of fabrics - Part 2: Determination of maximum force using the grab method (Материалы и изделия текстильные. Свойства материалов при растяжении. Часть 2. Определение максимального усилия методом захвата)
[3]
ISO 13935-1
Textiles - Seam tensile properties of fabrics and made-up textile articles - Part 1: Determination of maximum force to seam rupture using the strip method (Материалы текстильные. Свойства швов на тканях и готовых текстильных изделиях при растяжении. Часть 1. Определение максимального усилия для разрыва шва методом полоски)
УДК 677.017.422.4:006.354
IDT
Ключевые слова: материалы текстильные, изделия текстильные, максимальное усилие при разрыве шва, испытание захватом