Главная // Актуальные документы // ГОСТ (Государственный стандарт)СПРАВКА
Источник публикации
М.: Стандартинформ, 2020
Примечание к документу
Документ
введен в действие с 01.10.2021.
Название документа
"ГОСТ ISO 12311-2020. Межгосударственный стандарт. Средства индивидуальной защиты глаз. Очки солнцезащитные и аналогичные. Методы испытаний"
(введен в действие Приказом Росстандарта от 15.10.2020 N 862-ст)
"ГОСТ ISO 12311-2020. Межгосударственный стандарт. Средства индивидуальной защиты глаз. Очки солнцезащитные и аналогичные. Методы испытаний"
(введен в действие Приказом Росстандарта от 15.10.2020 N 862-ст)
по техническому регулированию
и метрологии
от 15 октября 2020 г. N 862-ст
МЕЖГОСУДАРСТВЕННЫЙ СТАНДАРТ
СРЕДСТВА ИНДИВИДУАЛЬНОЙ ЗАЩИТЫ ГЛАЗ
ОЧКИ СОЛНЦЕЗАЩИТНЫЕ И АНАЛОГИЧНЫЕ
МЕТОДЫ ИСПЫТАНИЙ
Personal eye protection. Sunglasses
and related eyewear. Test methods
(ISO 12311:2013, Personal protective equipment - Test
methods for sunglasses and related eyewear, IDT)
ГОСТ ISO 12311-2020
Дата введения
1 октября 2021 года
Цели, основные принципы и общие правила проведения работ по межгосударственной стандартизации установлены
ГОСТ 1.0 "Межгосударственная система стандартизации. Основные положения" и
ГОСТ 1.2 "Межгосударственная система стандартизации. Стандарты межгосударственные, правила и рекомендации по межгосударственной стандартизации. Правила разработки, принятия, обновления и отмены"
1 ПОДГОТОВЛЕН Обществом с ограниченной ответственностью "МОНИТОРИНГ" (ООО "МОНИТОРИНГ") на основе собственного перевода на русский язык англоязычной версии стандарта, указанного в
пункте 5
2 ВНЕСЕН Федеральным агентством по техническому регулированию и метрологии
3 ПРИНЯТ Межгосударственным советом по стандартизации, метрологии и сертификации (протокол от 31 августа 2020 г. N 132-П)
За принятие проголосовали:
Краткое наименование страны по МК (ИСО 3166) 004-97 | Код страны по МК (ИСО 3166) 004-97 | Сокращенное наименование национального органа по стандартизации |
Армения | AM | ЗАО "Национальный орган по стандартизации и метрологии" Республики Армения |
Беларусь | BY | Госстандарт Республики Беларусь |
Казахстан | KZ | Госстандарт Республики Казахстан |
Киргизия | KG | Кыргызстандарт |
Россия | RU | Росстандарт |
Таджикистан | TJ | Таджикстандарт |
Узбекистан | UZ | Узстандарт |
4
Приказом Федерального агентства по техническому регулированию и метрологии от 15 октября 2020 г. N 862-ст межгосударственный стандарт ГОСТ ISO 12311-2020 введен в действие в качестве национального стандарта Российской Федерации с 1 октября 2021 г.
5 Настоящий стандарт идентичен международному стандарту ISO 12311:2013 "Средства индивидуальной защиты глаз и лица. Методы испытаний солнцезащитных очков и связанных с ними средств защиты глаз" ("Personal protective equipment - Test methods for sunglasses and related eyewear", IDT).
Международный стандарт разработан Подкомитетом ISO TC 94/SC 6 "Защита глаз и лица" Технического комитета ISO/TC 94 "Личная безопасность. Средства индивидуальной защиты" Международной организации по стандартизации (ISO).
Наименование настоящего стандарта изменено относительно наименования указанного международного стандарта для приведения в соответствие с ГОСТ 1.5
(подраздел 3.6) и для увязки с наименованиями, принятыми в существующем комплексе межгосударственных стандартов.
При применении настоящего стандарта рекомендуется использовать вместо ссылочных международных стандартов соответствующие им межгосударственные стандарты, сведения о которых приведены в дополнительном
приложении ДА
6 ВВЕДЕН ВПЕРВЫЕ
7 Некоторые элементы настоящего стандарта могут являться объектами патентных прав
Информация о введении в действие (прекращении действия) настоящего стандарта и изменений к нему на территории указанных выше государств публикуется в указателях национальных стандартов, издаваемых в этих государствах, а также в сети Интернет на сайтах соответствующих национальных органов по стандартизации.
В случае пересмотра, изменения или отмены настоящего стандарта соответствующая информация будет опубликована на официальном интернет-сайте Межгосударственного совета по стандартизации, метрологии и сертификации в каталоге "Межгосударственные стандарты"
В настоящем стандарте определены эталонные методы испытаний для определения свойств солнцезащитных очков, описанных в ISO 12312 (все части). Это применимо ко всем солнцезащитным и аналогичным очкам.
Другие методы испытаний могут быть использованы, если доказано, что они эквивалентны.
В настоящем стандарте использованы нормативные ссылки на следующие стандарты. Для датированных ссылок применяют только указанное издание ссылочного стандарта, для недатированных - последнее издание (включая все изменения).
ISO 37, Rubber, vulcanized or thermoplastic - Determination of tensile stress-strain properties (Каучук вулканизованный или термопластичный. Определение упругопрочностных свойств при растяжении)
ISO 48, Rubber, vulcanized or thermoplastic - Determination of hardness (hardness between 10 IRHD and 100 IRHD) [Каучук вулканизованный или термопластичный. Определение твердости (твердость от 10 IRHD до 100 IRHD)]
ISO 1042:1998, Laboratory glassware - One-mark volumetric flasks (Посуда лабораторная стеклянная. Мерные колбы с одной меткой)
ISO 3696:1987, Water for analytical laboratory use; specification and test methods (Вода для лабораторного анализа. Технические требования и методы испытаний)
ISO 4007, Personal protective equipment - Eye and face protection - Vocabulary (Средства индивидуальной защиты. Защита глаз и лица. Словарь)
ISO 8596, Ophthalmic optics - Visual acuity testing - Standard and clinical optotypes and their presentation (Оптика офтальмологическая. Проверка остроты зрения. Стандартные и клинические оптотипы и их представление)
ISO 11664-1, Colorimetry - Part 1: CIE standard colorimetric observers (Колориметрия. Часть 1. Колориметрические наблюдатели по стандарту CIE)
ISO 11664-2, Colorimetry - Part 2: CIE standard illuminants (Колориметрия. Часть 2. Стандартные источники света CIE)
ISO 12312-1:2013, Eye and face protection - Sunglasses and related eyewear - Part 1: Sunglasses for general use (Защита глаз и лица. Очки солнцезащитные и аналогичные. Часть 1. Солнцезащитные очки общего назначения)
ISO/IEC Guide 98-3:2008, Uncertainty of measurement - Part 3: Guide to the expression of uncertainty in measurement (GUM:1995) (Неопределенность измерения. Часть 3. Руководство по выражению неопределенности измерения)
В настоящем стандарте применены термины по ISO 4007.
4 Предварительная подготовка
Перед испытаниями необходимо установить следующее [см. ISO 12312 (все части)]:
- количество образцов;
- подготовку образцов;
- кондиционирование перед испытанием;
- характеристики, в оценке которых может присутствовать субъективизм, - недопустимы;
- критерии соответствия/несоответствия.
5 Общие требования к методам испытаний
Все значения, приведенные в настоящем стандарте, являются номинальными. Допускается отклонение +/- 5% от приведенного значения температуры, не указанного в настоящем стандарте как максимальное или минимальное. При этом температура окружающей среды при испытаниях должна составлять от 16 °C до 32 °C. Другие значения температур должны задаваться с точностью +/- 1 °C. Относительная влажность должна составлять (50 +/- 20)%.
Если не указано иное, испытания светофильтров проводят в контрольных точках по ISO 4007.
6 Методы испытаний для оценки качества материалов и конструкции
6.1 Предварительная оценка конструкции, маркировки и информации, предоставленной изготовителем
До проведения испытаний проводят визуальный осмотр без применения специальных приборов, за исключением средств коррекции зрения. Маркировка, информация, предоставленная изготовителем, паспорта безопасности (при наличии) или декларации, относящиеся к материалам, использованным в конструкции, также подлежат оценке.
6.2 Метод испытаний для оценки качества материала и поверхности светофильтров
6.2.1 Сущность метода
Качество материала и поверхности светофильтров оценивают методом визуального осмотра.
6.2.2 Оборудование
Принципиальная схема установки показана на
рисунке 1.
Размеры в миллиметрах
1 - лампа; 2 - регулируемая непрозрачная матовая черная
шторка; 3 - расстояние до глаза наблюдателя (~= 300);
4 - черный матовый экран (размеры 200 x 360)
Рисунок 1 - Принципиальная схема установки для оценки
качества материала и поверхности светофильтров
6.2.3 Проведение испытания
Оценку качества материала и поверхности светофильтров проводят путем визуального осмотра с помощью "светового ящика" или подсвеченной решетки.
Примечание - Один из методов проверки, используемый в настоящее время, заключается в осмотре светофильтра с использованием подсвеченной решетки; светофильтр удерживают на разных расстояниях от глаза. Другой метод состоит в том, чтобы осветить светофильтр с помощью флуоресцентной лампы, установленной в матовой черной камере, и провести осмотр, регулируя количество освещения непрозрачной матовой черной шторкой. Предлагаемое устройство для осмотра представлено на
рисунке 1.
6.2.4 Протокол испытаний
За исключением краевой области шириной 5 мм от края средства индивидуальной защиты глаз, любые существенные дефекты, которые могут ухудшить зрение при использовании, должны быть отмечены в протоколе испытания.
7 Методы испытаний для измерения спектрофотометрических характеристик
7.1 Измерение спектрального коэффициента пропускания 
7.1.1 Спектральный коэффициент пропускания
7.1.1.1 Общие требования
Используют методы испытаний, в которых относительная неопределенность определения спектрального коэффициента пропускания менее или равна значениям, приведенным в
таблице 1.
Таблица 1
Относительная неопределенность определения
спектрального коэффициента пропускания
Значение спектрального коэффициента пропускания | Неопределенность, % |
От, % | До, % |
100 | 17,8 | +/- 2, абсолютное значение |
17,8 | 0,44 | +/- 10, относительное значение |
0,44 | 0,023 | +/- 15, относительное значение |
0,023 | 0,0012 | +/- 20, относительное значение |
0,0012 | 0,000023 | +/- 30, относительное значение |
Общие методы оценки входных величин в неопределенности изложены в Руководстве ISO/IEC 98-3. В
приложении A показано, как неопределенность измерений следует применять и соблюдать при обработке результатов, а
приложение B представляет собой руководство по источникам неопределенности в спектрофотометрии, их минимизации и оценке.
Область, в которой проводят измерение, и направление измерения коэффициента пропускания должны соответствовать указанным в ISO 12312-1. Если измерения выполняют неперпендикулярно поверхности светофильтра, то особое внимание следует уделить эффектам отклонения луча (см.
приложение B). Если направление измерения не указано, то оно должно быть перпендикулярным относительно поверхности светофильтра без оправы.
Расчеты проводят с интервалами не более 5 нм

в видимой и ультрафиолетовой областях (от 280 до 780 нм) и не более 10 нм в инфракрасной области (от 780 до 2000 нм). Необходимые данные по интервалам приведены в
приложениях D,
E,
F,
H и
I.
7.1.1.2 Проведение испытаний
При проведении испытаний следует поместить светофильтр так, чтобы местоположение и направление измерения коэффициента пропускания соответствовали ISO 12312-1.
7.1.2 Расчет светового коэффициента пропускания 
Световой коэффициент пропускания рассчитывают в процентах от спектрального коэффициента пропускания с учетом стандартного наблюдателя и источника излучения. Для целей настоящего стандарта во всех расчетах используют данные для стандартного наблюдателя CIE 2° (ISO 11664-1) и стандартного источника света CIE D65 (ISO 11664-2).

, (1)
где

- длина волны света в нанометрах;

- спектральный коэффициент пропускания светофильтра;

- спектральная функция световой эффективности для фотопического (дневного) зрения;

- спектральное распределение излучения стандартного источника света CIE
D65 (см. ISO 11664-2).
Примечание - Расчет, как правило, выполняют в форме суммирования, а не интегрирования. Эквивалентные суммы приведены в
приложении C.
7.2 Определение отклонения светового коэффициента пропускания
7.2.1 Светофильтры без оправы, закрывающие один глаз
7.2.1.1 Метод испытаний
Контрольную точку определяют в соответствии с ISO 4007. Вокруг контрольной точки определяют круглую область с диаметром
d, который рассчитывают следующим образом (см.
рисунок 2):
a) для светофильтров размером, равным или превышающим 50 мм по вертикали в контрольной точке, d = (40,0 +/- 0,5) мм;
b) для светофильтров размером менее 50 мм по вертикали в контрольной точке d = [(высота светофильтра (h) - 10) +/- 0,5] мм.
Из указанной круглой области исключают участок шириной 5 мм по краю светофильтра.
Сканируют выбранную круглую область световым пучком белого цвета с номинальным диаметром 5 мм или узкой спектральной полосой с максимальной спектральной энергией при (555 +/- 25) нм и измеряют световой коэффициент пропускания детектором, спектральная чувствительность которого приближена к чувствительности стандартного наблюдателя CIE 2° (ISO 11664-1). Эффект отклонения светового луча любым призматическим действием светофильтра (см.
B.3.4.1) должен быть компенсирован, а изменения в толщине должны быть скорректированы в соответствии с
приложением L.
Для светофильтров с диапазонами или градиентами различного светового коэффициента пропускания требование к изменениям светового коэффициента пропускания применимо к выбранной круглой области, но перпендикулярно градиенту (см.
рисунок 2). На
рисунке 2 приведены два примера сканирования перпендикулярно градиенту.
Размеры в миллиметрах
1 - световой пучок диаметром 5 мм; 2 - контрольная точка;
3 - геометрический или зрительный центр
Рисунок 2 - Измерение равномерности светового коэффициента
пропускания для светофильтров с диапазонами или градиентами
различного светового коэффициента пропускания
Светофильтр и световой пучок располагают таким образом, чтобы световой поток падал по нормали к поверхности светофильтра в контрольной точке или параллельно этому направлению в других точках на светофильтре.
Измеряют и записывают максимальное значение светового коэффициента пропускания

и минимальное значение светового коэффициента пропускания

.
7.2.1.2 Расчеты

и

Рассчитывают значение

, %, по формуле

, (2)
где

- максимальное значение светового коэффициента пропускания;

- минимальное значение светового коэффициента пропускания.
7.2.1.3 Протокол испытаний
В протокол испытаний записывают

как отклонение светового коэффициента пропускания.
7.2.2 Светофильтры, закрепленные в оправе, и светофильтры без оправы, закрывающие оба глаза
7.2.2.1 Метод испытаний
Находят контрольные точки в соответствии с ISO 4007. Определяют две круглые области вокруг контрольных точек с диаметром d, рассчитанным следующим образом:
a) для светофильтров размером, равным или превышающим 50 мм по вертикали в контрольной точке, d = (40,0 +/- 0,5) мм;
b) для светофильтров размером менее 50 мм по вертикали в контрольной точке d = [(высота светофильтра (h) - 10) +/- 0,5] мм.
Из указанной круглой области исключают участок шириной 5 мм по краю светофильтра.
Сканируют выбранную круглую область световым пучком с номинальным диаметром 5 мм или узкой спектральной полосой с максимальной спектральной энергией при (555 +/- 25) нм и измеряют световой коэффициент пропускания детектором, спектральная чувствительность которого приближена к чувствительности стандартного наблюдателя CIE 2° (ISO 11664-1). Отклонение светового луча, вызванное призматическим действием светофильтра (см.
B.3.4.1), должно быть компенсировано, а неравномерность толщины светофильтра должна быть скорректирована в соответствии с
приложением L.
Для фильтров с диапазонами или градиентами различного светового коэффициента пропускания оценки изменений светового коэффициента пропускания следует проводить для участков, расположенных вдоль линий, параллельных линии, соединяющей контрольные точки.
Измеряют и записывают значение светового коэффициента пропускания

в контрольной точке для левого глаза и значение светового коэффициента пропускания

в контрольной точке для правого глаза.
7.2.2.2 Расчеты
Делят абсолютную разницу между значениями светового коэффициента пропускания в двух контрольных точках

и

на наибольшее значение светового коэффициента пропускания в одной из двух контрольных точек и выражают это соотношение в процентах

.

, (3)
где

- значение светового коэффициента пропускания в контрольной точке для левого глаза;

- значение светового коэффициента пропускания в контрольной точке для правого глаза.
Пример - Если коэффициент пропускания одного светофильтра 38,0%, а другого - 40,0%, то результат равен 100·(2,0/40,0) = 5,0%.
7.2.2.3 Протокол испытаний
В протокол испытаний записывают значение

в процентах.
7.3 Измерение коэффициента пропускания УФ-излучения
7.3.1 Коэффициент пропускания солнечного УФ-излучения 
Расчет

(см. ISO 4007), %, выполняют по формуле

, (4)
где

- длина волны, нм;

- спектральный коэффициент пропускания;

- спектральное распределение солнечного излучения на уровне моря для воздушной массы 2
[7];

- относительная спектральная функция эффективности для УФ-излучения
[8];

и является полной весовой функцией этого произведения.
7.3.2 Коэффициент пропускания солнечного УФ-A-излучения 
Пропускание солнечного УФ-A-излучения рассчитывают на основании усредненного спектрального коэффициента пропускания в диапазоне длин волн от 315 до 380 нм и соответствующих весовых функций.
Расчет

(см. ISO 4007), %, проводят по формуле

, (5)
где

- длина волны, нм;

- спектральный коэффициент пропускания;

- спектральное распределение солнечного излучения на уровне моря для воздушной массы 2
[7];

- относительная спектральная функция эффективности для УФ-излучения
[8].

и является полной весовой функцией этого произведения.
7.3.3 Коэффициент пропускания солнечного УФ-B-излучения 
Пропускание солнечного УФ-B-излучения рассчитывают на основании усредненного спектрального коэффициента пропускания в диапазоне длин волн от 280 до 315 нм и соответствующих весовых функций.
Расчет

(см. ISO 4007), %, выполняют по формуле

, (6)
где

- длина волны, нм;

- спектральный коэффициент пропускания;

- спектральное распределение солнечного излучения на уровне моря для воздушной массы 2
[7];

- относительная спектральная функция эффективности для УФ-излучения
[8];

и является полной весовой функцией этого произведения.
7.4 Расчет светового коэффициента пропускания в синей области солнечного спектра 
Световой коэффициент пропускания в синей области солнечного спектра рассчитывают на основании усредненного спектрального коэффициента пропускания в диапазоне длин волн от 380 до 500 нм и соответствующих весовых функций.
Расчет

(см. ISO 4007), %, выполняют по формуле

, (7)
где

- длина волны, нм;

- спектральный коэффициент пропускания;

- спектральное распределение солнечного излучения на уровне моря для воздушной массы 2
[7];

- функция опасности синего света
[9];

и является полной весовой функцией этого продукта.
7.5 Расчет спектрального коэффициента пропускания в ИК-области солнечного спектра 
Спектральный коэффициент пропускания в ИК-области

, %, вычисляют путем интегрирования в диапазоне длин волн от 780 до 2000 нм по формуле

, (8)
где

- длина волны, нм;

- спектральный коэффициент пропускания;

- спектральное распределение солнечного излучения на уровне моря для воздушной массы 2
[7].
7.6 Определение коэффициента абсолютного спектрального отражения 
Используемые методы испытаний должны иметь относительные неопределенности в спектральной отражательной способности, меньшие или равные тем, которые приведены в
таблице 2. Угол падения должен быть не более 17°.
Таблица 2
Относительная неопределенность измеренного
спектрального отражения
Значение спектрального отражения | Относительная неопределенность, % |
От, % | До, % |
100 | 2,5 | +/- 5 |
2,5 | | +/- 10 |
Если измерения выполняют без использования интегрирующей сферы, необходимо следить за тем, чтобы концентрировался весь отраженный свет, так как отраженный от искривленной поверхности луч света будет расходящимся или сходящимся, а часть его может попасть за пределы детектора. Подробная информация приведена в
[10].
7.7 Абсолютный коэффициент светового отражения 
Рассчитывают

, %, как отношение светового потока, отраженного светофильтром Ф
R, к падающему потоку Ф
I по формуле

, (9)
где

- длина волны, нм;

- спектральный коэффициент отражения при длине волны

;

- относительная чувствительность человеческого глаза в соответствии с ISO 11664-1;

- спектральное распределение энергии стандартного источника света CIE
D65 в соответствии с ISO 11664-2.
7.8 Расчет относительного коэффициента визуального ослабления для распознавания сигнальных огней Qsignal
Коэффициент распознавания сигнала рассчитывают по формуле по результатам пропусканий

и


, (10)
где

(11)
и

, (12)
где

- длина волны, нм;

- спектральный коэффициент пропускания;

- относительная чувствительность человеческого глаза в соответствии с ISO 11664-1;

- спектральное распределение энергии стандартного источника света CIE
D65 в соответствии с ISO 11664-2;

- спектральное распределение энергии красного, желтого, зеленого и синего дорожных сигналов.
7.9 Широкоугловое рассеяние
7.9.1 Принцип
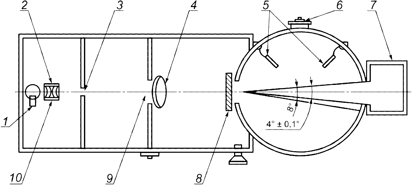
С помощью нефелометра измеряют то количество света, которое отклоняется от падающего луча, будучи рассеянным вперед при прохождении луча через образец, по сравнению с количеством, рассеянным испытательным прибором, и количеством, пропущенным образцом.
7.9.2 Оборудование
7.9.2.1 Лампа накаливания, соответствующая стандартному источнику излучения CIE A (ISO 11664-2).
7.9.2.2 Нефелометр с интегрирующей сферой, световой ловушкой, фотодиодом и стандартным образцом отражения (см.
рисунок 3) следующего вида:
a) интегрирующая сфера со следующими характеристиками:
1) общая площадь входного и выходного окон не превышает 4,0% от общей внутренней отражающей площади сферы,
2) входное и выходное окна разнесены не менее чем на 170°,
3) выходное окно, составляющее 8° в центре входного окна,
4) фотодиод расположен под углом (90 +/- 10)° к входному окну, а также
5) все внутренние поверхности (включая стандартный образец отражения для выходного окна), закрытые веществом с высоким коэффициентом отражения для волн длиной от 380 до 780 нм.
Примечание - В качестве закрытия можно использовать краску на основе сульфата бария;
b) световая ловушка должна иметь коэффициент отражения менее 0,1%;
c) фотодиод должен обеспечивать пропорциональные измерения потока излучения с точностью до 1% от падающего потока во всем диапазоне интенсивности, использованном в ходе испытания;
d) эти компоненты должны быть расположены таким образом, чтобы входящее излучение:
1) имело ось, проходящую через центр входного и выходного окон,
2) было однонаправленным, без отклонений луча от оси более чем на 3°,
3) имело круглое поперечное сечение на выходном окне, когда образец не препятствует пучку излучения, в то время как диаметр выходного окна должен превышать диаметр входящего излучения, так что вокруг пучка образуется кольцевая зона (1,3 +/- 0,1)° на входном окне,
4) не образовывало угол более 8° между осью луча и нормалью к поверхности этого образца, когда образец закрывает входное окно, а также
5) полностью поглощалось световой ловушкой (при использовании), когда образец не препятствует прохождению луча.
Примечание - Хотя измерения широкоуглового рассеяния чаще всего проводят с помощью нефелометра, можно использовать спектрофотометр при условии, что он соответствует геометрическим и спектральным требованиям метода. Спектрофотометр необходим, когда световой коэффициент пропускания

светофильтра около 15%.
1 - источник излучения; 2 - конденсор; 3 - входное окно;
4 - линза; 5 - отражатели; 6 - фотоэлемент;
7 - световая ловушка; 8 - испытуемый образец;
9 - диафрагма; 10 - светофильтр
Рисунок 3 - Схема типового прибора для измерения
широкоуглового рассеяния
7.9.3 Образец
Размер образца может варьироваться в зависимости от размера входного окна и кривизны поверхности интегрирующей сферы. Образец должен быть достаточно большим, чтобы полностью закрыть входное окно, но должен быть достаточно маленьким, чтобы устанавливаться по касательной к поверхности интегрирующей сферы.
7.9.4 Проведение испытаний
Испытание выполняют следующим образом:
a) измеряют падающий свет

без образца и без световой ловушки и с установленным стандартным образцом отражения;
b) измеряют общий свет, пропущенный образцом

с установленным образцом, без световой ловушки и с установленным стандартным образцом отражения;
c) измеряют свет, рассеянный прибором

без образца, с установленной световой ловушкой и без стандартного образца отражения;
d) измеряют свет, рассеянный прибором и образцом

с установленным образцом, с установленной световой ловушкой и без стандартного образца отражения;
e) повторяют
шаг b), поворачивая образец между измерениями на 90°, для того чтобы получить четыре значения;
f) повторяют
шаг d) для того, чтобы получить четыре значения в тех же положениях, что и на
шаге e).
7.9.5 Расчет
Выполняют следующие расчеты.
Средние значения

и

(

и

):
a) суммарный коэффициент пропускания по формуле

; (13)
b) рассеянный свет по формуле

; (14)
c) широкоугловое рассеяние, %, по формуле

. (15)
7.9.6 Протокол испытаний
Протокол должен содержать значение широкоуглового рассеяния.
7.10 Поляризационные светофильтры
7.10.1 Плоскость пропускания
7.10.1.1 Оборудование
7.10.1.1.1 Пара отдельно установленных поляризаторов с разделенными полями, разрезанных для обеспечения плоскостей передачи под углом плюс 3° и минус 3° относительно горизонтальной или заданной оси. Верхняя и нижняя половины поляризаторов должны быть соединены вместе и установлены на стекле, причем линия соединения должна быть горизонтальной или перпендикулярной заданной оси. Поляризаторы должны иметь возможность вращения с помощью рычага с указателем. Указатель расположен на шкале, откалиброванной в градусах влево или вправо от нуля. Разделенные поля должны быть освещены сзади источником рассеянного света (см.
рисунок 3).
7.10.1.2 Проведение испытаний
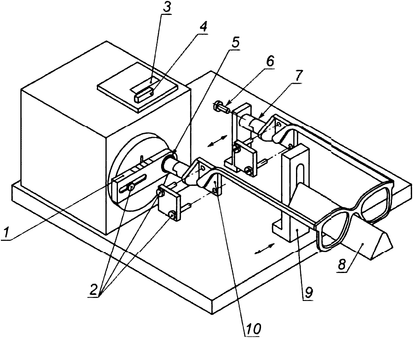
Устанавливают солнцезащитные очки на прибор (см.
рисунок 4) лицевой стороной к разделенным полям на горизонтальной регистровой рейке и с помощью вертикальных регуляторов убеждаются в том, что разделенное поле расположено в центре светофильтра, а бифокальный и лицевой углы расположены так же, как при носке.
1 - шкалы; 2 - верхняя регистровая рейка; 3 - поляризаторы
с разделенными полями; 4 - нижняя регистровая рейка;
5 - рычаги вращения поляризаторов; 6 - вид сбоку
Рисунок 4 - Прибор для определения плоскости пропускания
Для левого светофильтра перемещают рычаг из стороны в сторону до тех пор, пока верхняя и нижняя половины подсвеченного разделенного поля не будут иметь одинаковую яркость при просмотре через светофильтр.
Фиксируют положение указателя для того, чтобы указать отклонение в градусах (плюс или минус) плоскости пропускания светофильтра от горизонтального или заданного положения. Повторяют испытание для правого светофильтра.
7.10.2 Поляризационная эффективность
7.10.2.1 Принцип
Световой коэффициент пропускания в видимом диапазоне измеряют с помощью поляризованного света с плоскостью колебаний, установленной для обеспечения максимального и минимального коэффициентов пропускания линзы. Это может быть обеспечено с помощью спектрофотометрического метода и метода расчета (эталонный метод) или с применением широкополосного метода с использованием детектора с чувствительностью человеческого глаза (пик при 555 нм) и источника излучения, эквивалентного стандартному источнику CIE D65.
7.10.2.2 Проведение испытания для спектрофотометрического метода
Испытания проводят следующим образом:
a) устанавливают линейные поляризаторы так, чтобы их плоскости передачи были параллельны в контрольном и пробном пучках спектрофотометра. Линейные поляризаторы должны иметь эффективность поляризации по меньшей мере на один порядок лучше, чем требование к эффективности поляризации светофильтра, на соответствие которому проводят испытание [например, если требование к эффективности поляризации светофильтра составляет 80% (9:1), то линейные поляризаторы должны иметь эффективность поляризации не менее 97,5% (90:1)];
b) устанавливают поляризационный светофильтр в спектрофотометр;
c) при длине волны спектрофотометра, установленной на (550 +/- 5) нм, поворачивают светофильтр до точки максимального пропускания;
d) в этом положении измеряют спектральные коэффициенты пропускания

в диапазоне от 380 до 780 нм с интервалами 5 нм;
e) поворачивают светофильтр на 90° и измеряют спектральные коэффициенты пропускания

таким же образом;
f) рассчитывают световые коэффициенты пропускания для двух положений в соответствии с
7.2, получая в результате два значения светового коэффициента пропускания

и

:

, (16)

, (17)
где

- длина волны, нм;

- относительная чувствительность человеческого глаза в соответствии с ISO 11664-1;

- спектральное распределение энергии стандартного источника света CIE
D65 в соответствии с ISO 11664-2;
g) рассчитывают эффективность поляризации P, %, в соответствии с ISO 4007

. (18)
Примечание - Поляризацию иногда описывают поляризационным отношением Rpol

. (19)
7.10.2.3 Проведение испытания широкополосным методом
Комбинацию источника излучения и светофильтра для получения коррелированной цветовой температуры (6500 +/- 1000) К (приблизительно соответствует стандарту CIE для источника света
D65 в видимой области, см. ISO 11664-2) применяют для создания коллимированного пучка диаметром (5 +/- 2) мм для освещения испытуемого светофильтра в контрольной точке, определенной в ISO 12312-1. Свет поляризован с использованием линейного поляризатора с теми же характеристиками, что и в
7.10.2.2 a). Свет падает на детектор с приблизительной спектральной чувствительностью стандартного наблюдателя CIE 2° (ISO 11664-1). Чувствительность детектора должна быть линейной с точностью +/- 0,5% в диапазоне измеряемой освещенности.
Светофильтр или линейный поляризатор поворачивают до точки максимального пропускания. В этом положении регистрируют световой коэффициент пропускания

. Затем светофильтр или линейный поляризатор поворачивают на 90° и регистрируют световой коэффициент пропускания

.
7.11 Фотохромные светофильтры
7.11.1 Источник(и) света для приближения к спектральному распределению солнечного излучения для воздушной массы m = 2 для испытания
Испытания проводят с использованием ксеноновой лампы высокого давления со светофильтрами, выбранными таким образом, чтобы были достигнуты освещенность (50 000 +/- 5000) лк и значения облученности (с допусками), приведенные в
таблице 3.
Таблица 3
Излучение для испытаний фотохромных линз
в затемненном состоянии
Диапазон длин волн, нм | Облученность, Вт·м-2 | Допуск, Вт·м-2 |
300 - 340 | < 2,5 | - |
340 - 380 | 5,6 | +/- 1,5 |
380 - 420 | 12,0 | +/- 3,0 |
420 - 460 | 20,0 | +/- 3,0 |
460 - 500 | 26,0 | +/- 2,6 |
7.11.1.1 Источник излучения с использованием одной лампы
Следует использовать безозоновую ксеноновую дуговую лампу высокого давления, теплопоглощающий светофильтр и полосовой светофильтр, как указано на
рисунке 5.
X - длина волны, нм; Y - пропускание (абсолютное значение)
Рисунок 5 - Спектральный коэффициент пропускания комбинации
теплопоглощающего светофильтра и полосового светофильтра
для измерения фотохромных линз
Эта кривая пропускания может быть получена с использованием, например, бесцветного кронгласа B270 с толщиной 5 мм и теплопоглощающим светофильтром, например Schott KG 2 толщиной 3 мм или Pittsburg 2043 толщиной 2 мм <1>.
--------------------------------
<1> Schott KG 2 и B270 являются торговыми наименованиями продуктов, поставляемых SCHOTT AG, а Pittsburg 2043 - торговым наименованием продуктов, поставляемых Corning INC. Эта информация предоставлена для удобства пользователей настоящего стандарта. Допускается применение аналогичного оборудования, если доказано, что оно приводит к тем же результатам.
7.11.1.2 Источник излучения с использованием двух ламп
Такой источник излучения применяют для того, чтобы максимально приблизить спектральное распределение излучения к спектральному распределению солнечного излучения для воздушной массы m = 2, что может быть достигнуто при использовании двух безозоновых дуговых ксеноновых ламп высокого давления. Излучение двух ламп накладывается с помощью полупрозрачного зеркала. Если перед каждой из двух ламп установить разные фильтры, то можно точнее приблизить спектр излучения к солнечному спектру, чем при использовании одной лампы.
Данный метод может быть более эффективным при использовании большего количества ламп для более точного приближения спектра излучения к солнечному спектру в заданных диапазонах длин волн.
7.11.2 Кондиционирование для определения светового коэффициента пропускания в осветленном состоянии
Если иное не указано производителем, фотохромные светофильтры кондиционируют следующим образом:
a) выдерживают в темноте при температуре (65 +/- 5) °C в течение (2 +/- 0,2) ч;
b) выдерживают в темноте при температуре (23 +/- 5) °C не менее 12 ч;
c) подвергают воздействию (15 000 +/- 1500) лк при температуре (23 +/- 1) °C в течение 15 мин при помощи источника, идентичного описанному в
7.11.1;
d) выдерживают в темноте при температуре (23 +/- 1) °C в течение 60 мин.
7.11.3 Измерения
7.11.3.1 Принцип
Большинство фотохромных материалов реагируют на нормальное комнатное освещение, и поэтому все измерения следует проводить при отсутствии постороннего света. Следует следить за тем, чтобы излучение, используемое для измерений, не вызывало потемнение или обесцвечивание образца.
Температуру поверхности светофильтра поддерживают в пределах +/- 1 °C от номинальной температуры (см.
таблицу 4).
Измерения могут проводить на водяной бане. Однако погружение образца в воду уменьшает изменение показателя преломления и, следовательно, отражательную способность на поверхности светофильтра, тем самым увеличивая измеренный коэффициент пропускания по сравнению со значениями коэффициента пропускания, которые были бы измерены в воздухе. Значения коэффициента пропускания, определенные с помощью погружения в воду, должны быть скорректированы для обеспечения эквивалентных значений в воздухе. Калибровка оборудования может быть проверена с использованием контрольного образца с показателем преломления, отличающимся не более чем на +/- 0,01 от показателя преломления испытуемого светофильтра.
7.11.3.2 Осветленное состояние
Измеряют спектральный коэффициент пропускания от 280 до 780 нм (или до 2000 нм для ИК-области) в соответствии с
7.1.
Для требований, указанных в ISO 12312-1, рассчитывают световой коэффициент пропускания в осветленном состоянии

в соответствии с
7.1. Этими требованиями являются коэффициенты пропускания солнечного ультрафиолетового излучения (см.
7.3.1 -
7.3.3), световой коэффициент пропускания в синей области солнечного спектра (см.
7.4), относительные коэффициенты визуального ослабления для распознавания сигнальных огней
Qred,
Qyellow,
Qgreen и
Qblue и, если требуется, спектральный коэффициент пропускания в ИК-области солнечного спектра (см.
7.5).
7.11.3.3 Затемненное состояние
Характерные значения светового коэффициента пропускания фотохромных светофильтров определены в ISO 4007 и, если не указано иное, определены для условий, приведенных в
таблице 4.
Таблица 4
Условия измерения для определенных значений
светового коэффициента пропускания
Значения светового коэффициента пропускания | Температура поверхности испытуемого образца, °C | Освещенность на поверхности образца, лк |
| 23 +/- 1 | 0 Осветленное состояние |
| 23 +/- 1 | 50 000 +/- 5000 |
Если испытание проводят при 15 000 лк, значения освещенности и допуски этих значений, приведенные в
таблице 3, необходимо умножить на коэффициент 0,3.
Требования, указанные в ISO 12312-1, измеряют и рассчитывают из значений спектрального коэффициента пропускания, измеренных в затемненном состоянии

после 15-минутного облучения с (50 000 +/- 5000) лк при температуре (23 +/- 1) °C. К этим требованиям относятся коэффициент пропускания в УФ-области (см.
7.3.1 -
7.3.3), спектральный коэффициент пропускания в синей области солнечного спектра (см.
7.4), относительные коэффициенты визуального ослабления для распознавания сигнальных огней
Qred,
Qyellow,
Qgreen и
Qblue и, если требуется, спектральный коэффициент пропускания в ИК-области солнечного спектра (см.
7.5).
8 Методы испытаний для определения оптических характеристик
8.1 Определение сферической рефракции, астигматизма и призматического действия
8.1.1 Принцип
Сферическую рефракцию, астигматизм и призматическое действие линз или солнцезащитных очков в сборе определяют методом с использованием зрительной трубы (эталонный метод). Этот метод требует относительно широкой области измерения. Поэтому могут возникнуть трудности при применении этого метода к светофильтрам, которые демонстрируют нерегулярное распределение рефракций по всей области измерения. В таких случаях метод, описанный в
8.3, может быть использован для пространственно разрешенного определения рефракций.
Примечание - Рекомендации имеют справочный характер. Также могут быть использованы альтернативные конструкции, обеспечивающие получение результатов, эквивалентных тем, которые получены с помощью эталонного метода. Например, для измерения тех оптических свойств, для которых могут быть достигнуты эквивалентные результаты по сравнению с методом с применением зрительной трубы, может быть использован диоптриметр.
8.1.2 Оборудование
8.1.2.1 Электронная запись визуальной оценки, как показано на
рисунке 6.
Примечание - Также возможна механическая индикация движения окуляра.
На
рисунке 6 показана схема установки зрительной трубы. При испытании расстояние перефокусировки окуляра трубы определяют как меру оптической силы установленного испытуемого объекта. Данная установка осуществляет электронную запись для измерения. Как правило, положение для четкого изображения оценивают визуально. Этот метод может быть заменен методом цифровой обработки изображений.
1 - источник излучения (лампа накаливания); 2 - тест-объект
зрительной трубы; 3 - испытуемый образец; 4 - зрительная
труба; 5 - перефокусировка; 6 - датчик смещения;
7 - калибровка; 8 - нулевая точка; 9 - цифровой
вольтметр; 10 - компьютер
Рисунок 6 - Схема установки зрительной трубы
8.1.2.2 Зрительная труба с диаметром входного зрачка 20 мм и увеличением от 10x до 30x, оснащенная регулируемым окуляром с сеткой. Регулятор фокусировки имеет шкалу рефракций, калибруемую методами, описанными в
приложении K, или с использованием любого другого применимого метода, обеспечивающего аналогичную точность.
8.1.2.3 Тест-объект с подсветкой, состоящий из черной пластины с вырезанным на ней рисунком, как показано на
рисунке 7; за пластиной расположен источник света регулируемой яркости с конденсатором, при необходимости, для фокусировки увеличенного изображения источника света на объектив зрительной трубы.
Рисунок 7 - Тест-объект (размеры приведены в 8.1.2.3)
Внешний диаметр большого кольца тест-объекта составляет (23,0 +/- 0,1) мм, ширина - (0,6 +/- 0,1) мм. Внутренний диаметр малого кольца составляет (11,0 +/- 0,1) мм, ширина кольца - (0,6 +/- 0,1) мм. Центральное отверстие имеет диаметр (0,6 +/- 0,1) мм. Прорези должны быть длиной 20 мм, шириной 2 мм с промежутками между ними не менее 2 мм.
8.1.2.4 Светофильтр с максимальным коэффициентом пропускания в зеленой области спектра, который можно использовать для уменьшения хроматической аберрации.
8.1.3 Калибровка прибора
Зрительная труба должна быть откалибрована для достижения погрешности измерения, меньшей или равной 0,01 дптр. Это может быть достигнуто с помощью метода переменного расстояния (см.
приложение K) или посредством калибровочных линз, например линз с положительной и отрицательной сферической рефракцией 0,06, 0,12 и 0,25 дптр (допуск - +/- 0,01 дптр).
8.1.4 Проведение испытаний
8.1.4.1 Общие положения
Испытания проводят нижеприведенным образом.
Зрительная труба и тест-объект расположены на одной оптической оси на расстоянии (4,60 +/- 0,02) м друг от друга.
Добиваются резкого изображения сетки и тест-объекта путем фокусировки и юстирования зрительной трубы. Это положение принимают за нулевую точку шкалы фокусировки зрительной трубы. Труба должна быть отъюстирована таким образом, чтобы центральное отверстие тест-объекта совпадало с перекрестием сетки. Это положение считают нулевой точкой шкалы призмы.
Светофильтр расположен перед зрительной трубой, установленный в положении как при носке в соответствии с указаниями изготовителя. Измерения сферической рефракции и астигматизма проводят с использованием процедур, указанных в
8.1.4.2. Если во время измерения с помощью зрительной трубы наблюдают двоение или другую аберрацию изображения, светофильтр может быть классифицирован как дефектный или подвергнут дальнейшим испытаниям с помощью метода, описанного в
8.3.
Для позиционирования светофильтра без оправы могут быть применены нижеприведенные методы.
a) Светофильтр, закрывающий один глаз:
1) если положение при носке установлено изготовителем, светофильтр позиционируют в соответствии с указаниями изготовителя;
2) в том случае, когда положение при носке неизвестно или не задано изготовителем, испытуемый смотровой элемент средства индивидуальной защиты (СИЗ) глаз устанавливают перпендикулярно к оптической оси зрительной трубы, а измерение оптических параметров (характеристик) проводят в геометрическом центре (см. ISO 4007).
b) Светофильтр, закрывающий оба глаза:
1) если положение как при носке установлено изготовителем, светофильтр позиционируют в соответствии с указаниями изготовителя;
2) если положение при носке неизвестно или не задано изготовителем, испытуемый смотровой элемент СИЗ глаз устанавливают перпендикулярно к оптической оси зрительной трубы, и измерение оптических параметров (характеристик) проводят в контрольных точках (см.
рисунок 8). Для позиционирования смонтированных светофильтров используют следующие методы.
C - контрольные точки; b - расстояние между касательными
к верху и низу светофильтра; c - установленное межзрачковое
расстояние; a - ширина светофильтра
в горизонтальной проекции
Рисунок 8 - Определение контрольных точек для светофильтров
c) Светофильтр, закрывающий один глаз:
1) если положение при носке установлено изготовителем, светофильтр позиционируют в соответствии с указаниями изготовителя;
2) если положение при носке неизвестно или не определено изготовителем, светофильтр располагают как при носке в соответствии с ISO 4007.
d) Светофильтр, закрывающий оба глаза:
1) если положение как при носке установлено изготовителем, светофильтр позиционируют в соответствии с указаниями изготовителя;
2) если положение при носке неизвестно или не определено изготовителем, светофильтр располагают как при носке в соответствии с ISO 4007.
Если в дополнение к
перечислению b)2) для светофильтров с оправой и без оправы производитель не указывает межзрачковое расстояние, применяют значение по умолчанию: 64 мм для солнцезащитных очков для взрослых и 54 мм для детских солнцезащитных очков.
8.1.4.2 Сферическая рефракция и астигматизм
Тест-объект или светофильтр вращают для того, чтобы совместить главные меридианы светофильтра с полосами тест-объекта. Зрительную трубу фокусируют сначала на одну группу полос (измерение D1), а затем на вторую группу полос, перпендикулярную первой группе (измерение D2).
Сферическую рефракцию рассчитывают как (D1 + D2)/2, астигматизм - как абсолютную разность |D1 - D2|.
Во время испытания необходимо добиться четкой фокусировки тест-объекта для каждого главного сечения.
8.1.4.3 Призматическое действие для светофильтров без оправы, закрывающих один глаз
Светофильтр устанавливают перед зрительной трубой в положении как при носке, а отклонение точки пересечения прорезей фиксируют. Призматическое действие определяют с помощью линейной интерполяции с учетом следующих условий:
a) если точка пересечения находится на внешнем крае большого кольца, призматическое действие составляет 0,25 пр. дптр;
b) если точка пересечения находится на внутреннем крае малого кольца, призматическое действие равно 0,12 пр. дптр.
8.1.5 Протокол испытаний
Полученные значения сферической рефракции, астигматизма и призматического действия вносят в протокол.
8.2 Метод испытаний для определения разности призматического действия солнцезащитных очков в сборе или светофильтров, закрывающих оба глаза
8.2.1 Принцип
Метод позволяет определить разность призматического действия (относительную погрешность призмы) в положении как при носке в двух контрольных точках светофильтров в солнцезащитных очках в сборке или в двух контрольных точках светофильтра, если он имеет конструкцию, состоящую из одного элемента.
8.2.2 Оборудование
Устройство для контрольного метода показано на
рисунке 9. Неопределенность для определения разницы в призматической преломляющей способности равна или менее 0,05 пр. дптр. Могут быть использованы другие методы (например, метод с двумя параллельными лазерными источниками излучения) при условии, что неопределенность результатов измерений, полученных этими методами, не превышает установленные требования.
Размеры в миллиметрах (номинальные, без допусков)
La - источник света, например лампа накаливания, лазер
с длиной волны (600 +/- 70) нм; j - интерференционный
светофильтр с пиковым коэффициентом пропускания в зеленой
части спектра (требуется только в том случае, если
в качестве источника излучения используется лампа
накаливания); L1 - ахроматическая линза, фокусное расстояние
от 20 до 50 мм; LBa - диафрагма номинального диаметра 1 мм;
P - испытуемый образец СИЗ глаз; LB2 - диафрагма
в соответствии с детализацией A; L2 - ахроматическая линза,
номинальное фокусное расстояние 1000 мм и номинальный
диаметр 75 мм; B - плоскость изображения; Xb - половина
межзрачкового расстояния; a - расстояние от испытуемого
образца до диафрагмы (расстояние должно быть минимальным)
Рисунок 9 - Принципиальная оптическая схема установки
для измерения разности призматического действия
8.2.3 Проведение испытаний
a) Диафрагма LB1 освещается источником света La. Их положение регулируют таким образом, чтобы оно создавало единое изображение на экране в плоскости B, когда СИЗ глаз P не установлено на прибор.
b) СИЗ глаз располагают перед линзой
L2 в положении как при носке, на голове-манекене, соответствующей размеру испытуемого образца и описанию, указанному в
приложении G.
Примечание - Если существует обоснованная причина, например для оценки соответствия этнической принадлежности или группы населения, оценка должна проводиться на основе альтернативной формы, разработанной для представления конкретной целевой группы населения.
c) Выбирают подходящую диафрагму LB2. Расстояние Xb от центра диафрагмы до левого и правого круглого отверстия равно половине межзрачкового расстояния. В качестве значения по умолчанию используют межзрачковое расстояние (64,0 +/- 0,4) мм для солнцезащитных очков для взрослых и (54,0 +/- 0,4) мм для детских солнцезащитных очков. Другие значения межзрачкового расстояния могут быть выбраны по запросу изготовителя.
d) Измеряют вертикальные и горизонтальные расстояния между двумя смещенными изображениями, возникающими из двух областей светофильтров средства защиты глаз.
Эти расстояния, см, делят на 2 для того, чтобы получить горизонтальные и вертикальные значения призматического действия, пр. дптр (сантиметров на метр).
Если световые пучки, которые соответствуют двум областям светофильтров, пересекаются в горизонтальном направлении, разность призматического действия соответствует "призме основанием к носу"; если световые пучки не пересекаются, разность призматического действия соответствует "призме основанием к виску".
8.2.4 Протокол испытаний
Измеренные значения отражают в протоколе испытаний.
8.3 Метод определения локальных отклонений рефракции
8.3.1 Принцип
В данном методе испытаний происходит сканирование испытуемого светофильтра параллельным лучом света номинальным диаметром 5 мм; отклонение луча детектируется фотодиодом, и полученный график отклонения от точки падения на светофильтре используют для измерения значения сферической рефракции и астигматизма в меньших зонах, чем метод с применением зрительной трубы (см.
8.1). Точность измерения должна быть выше 10
-3 дптр (м
-1). Принципиальная схема этого метода приведена на
рисунке 10.
1 - луч 1; 2 - луч 2; 3 - измерительная плоскость;
4 - испытуемый светофильтр; f - фокусное расстояние
светофильтра; u - расстояние между параллельными лучами 1
и 2; v - расстояние между точками пересечения преломленными
лучами 1 и 2 плоскости измерения; w - расстояние
между испытуемым светофильтром и измерительной плоскостью;

- угол отклонения осевого луча 1;
v0 - отклонение осевого
луча от оптической оси в плоскости измерения
Рисунок 10 - Определение расстояния
f фокальной плоскости
от испытуемого светофильтра с помощью
двух параллельных лучей 1 и 2
При прохождении параллельных световых лучей 1 и 2 на разной высоте через испытуемый светофильтр со сферическими поверхностями эти лучи пересекаются в задней фокальной плоскости светофильтра на расстоянии f от задней главной плоскости светофильтра. Сферическая рефракция светофильтра составляет значение, равное 1/f. В светофильтре СИЗ глаз с разной кривизной поверхности в двух взаимно перпендикулярных направлениях или при наклонном падении световых лучей на сферическую поверхность возникает астигматизм, который равен разнице между рефракциями в двух основных меридианах.
В случае отклонения светового луча 1 на угол

после прохождения через смотровой элемент он будет обладать призматическим действием

, где

.
Если отклонение светового луча измеряют в плоскости на расстоянии
w от светофильтра, то из
рисунка 10

,
где u - расстояние между двумя параллельными лучами 1 и 2 перед образцом;
v - расстояние между точками пересечения преломленными лучами плоскости измерения.
Примечание - Указанные рекомендации носят справочный характер. Также могут быть использованы другие методы, позволяющие получить результаты, эквивалентные результатам, полученным с помощью описанного метода. Например, для измерения указанных локальных изменений рефракции можно использовать диоптриметр, если с его помощью могут быть получены эквивалентные результаты.
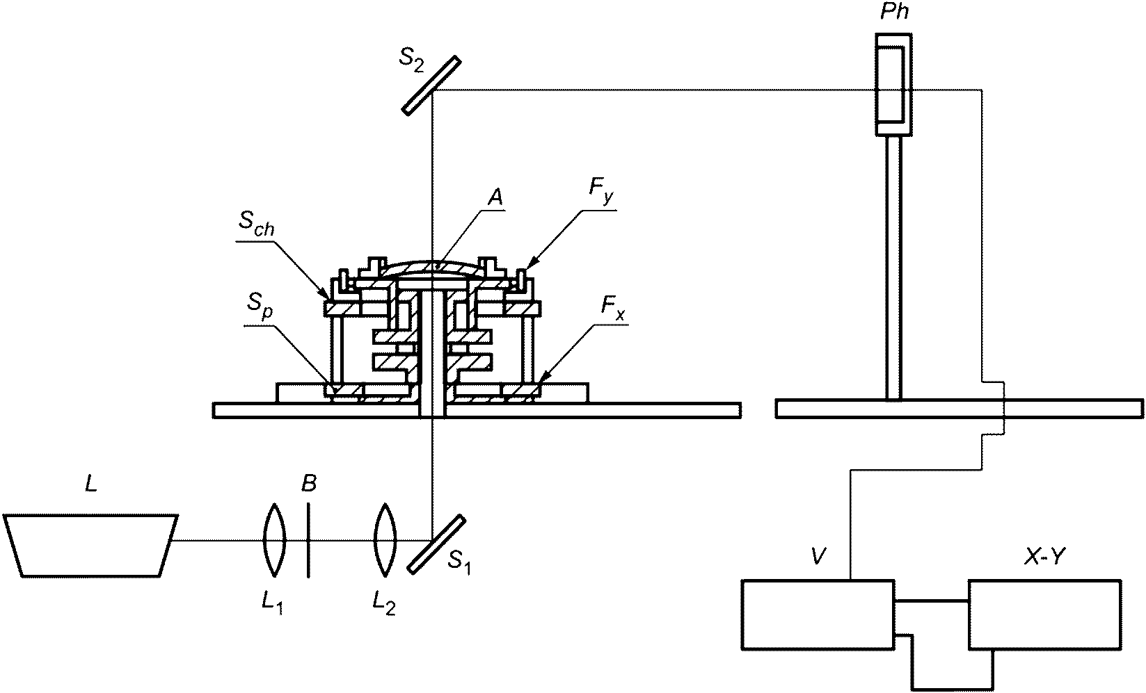
8.3.2 Оборудование
Устройство для определения расстояния
f содержит нижеприведенные основные элементы (см.
рисунок 11).
L - лазер, длина волны = (600 +/- 70) нм; L1, L2 - линзы;
B - диафрагма, номинал 0,1 мм; S1, S2 - отклоняющие зеркала;
Sp - спираль; Sch - каретка; Fx, Fy - направляющие по осям
x и y; A - испытуемый образец; Ph - фотодетектор;
V - предварительный усилитель;
X-Y - двухкоординатный самописец xy
Рисунок 11 - Блок-схема установки для измерения сферической
рефракции и астигматизма на малых участках
8.3.2.1 Лазер, обеспечивающий параллельный луч света с длиной волны (600 +/- 70) нм.
8.3.2.2 Две линзы с диафрагмой в общей фокусной точке для расширения лазерного луча до номинального диаметра 5 мм (средний размер зрачка).
8.3.2.3 Каретка для непрерывного перемещения испытательного светофильтра по спиральной траектории в плоскости, перпендикулярной направлению лазерного луча. Во время измерения испытуемый светофильтр не должен поворачиваться относительно фотодиода. Каретка движется по двум направляющим, перпендикулярным друг другу, сохраняя постоянными направления осей каретки и испытуемого светофильтра во время измерения. Шарнир, направляемый спиралью, передает соответствующее движение на каретку. Номинальный шаг спирали - 1,08 мм.
Лазерный луч диаметром 5 мм непрерывно сканирует испытуемую область, отцентрованную по контрольной точке, или области, которые определены как имеющие местные неоднородности (см. 6.2 в ISO 12312-1:2013). С помощью соответствующей маркировки можно четко определить положение светового луча на светофильтре и его отклонение. Весь измерительный луч диаметром 5 мм должен находиться в области измерения диаметром 20 мм. Периферийная зона шириной 5 мм по краю светофильтра должна быть исключена из испытания.
8.3.2.4 Датчик положения (фотодиод) (см.
рисунок 12) для измерения отклонения лазерного луча (см.
рисунок 11). На этом фотодиоде (например, PIN SC 252) <1> прямоугольная система координат обеспечена пятью электродами. Когда центральный электрод
5 освещен, фототок в остальных электродах одинаков. Когда световое пятно перемещается по чувствительной поверхности, фототок электродов
1 -
4 изменяется в соответствии с положением светового пятна по отношению к центру.
--------------------------------
<1> PIN SC 25 является торговым наименованием продукта, поставляемого UDT sensor Inc., Хоторн, Калифорния, США. Эта информация предоставлена для удобства пользователей настоящего стандарта. Допускается применение аналогичного оборудования, если доказано, что оно приводит к тем же результатам.
a) Схема расположения электродов диода
b) Схема включения
1 - ось x; 2 - ось y; 3 - самописец xy (ось y);
4 - самописец xy (ось x)
Рисунок 12 - Позиционно-чувствительный фотодиод
Фототок электрода 5 остается постоянным и прямо пропорционален мощности излучения.
Разность потенциалов между электродами, расположенными по одной оси, пропорциональна смещению на этой оси, а также мощности излучения. Фотодиод имеет активную чувствительную поверхность площадью 1,9 x 1,9 см (минимальные размеры). В этом устройстве он может располагаться на расстоянии от 50 до 250 см от испытуемого светофильтра по мере необходимости, так что для сканируемой области диаметром 30 мм измеряемая рефракция составит максимум до 2 дптр.
8.3.2.5 Компьютер для регистрации текущего положения светофильтра и соответствующей позиции лазерного луча.
8.3.3 Проведение испытаний
a) Испытуемый образец светофильтра помещают на каретку для образца и включают установку.
b) Для образца, имеющего плоские поверхности, направление выходящего пучка излучения лазера не зависит от его положения на светофильтре, так как луч не отклоняется, когда он проходит через светофильтр. Таким образом, в первом приближении изображение на самописце является точечным. В случае афокального светофильтра с криволинейными поверхностями точка может быть немного расширена из-за преломления света на его поверхностях. Светофильтр с равномерной рефракцией (линза) имеет одинаковое фокусное расстояние во всех точках. Поэтому траектория сканирования воспроизводится либо в уменьшенном, либо в увеличенном виде, в зависимости от рефракции (см.
рисунок 13), без изменения его формы. Спиральная траектория сканирования также отображается на самописце в виде спирали с постоянными расстояниями между соседними линиями [см.
рисунок 14 a)].
1 - испытуемый образец; 2 - измерительная плоскость
Рисунок 13 - Схема формирования изображения
в плоскости измерений
c) Астигматические светофильтры, т.е. светофильтры с разными фокусными расстояниями в разных меридианах, дают приблизительно эллиптическую кривую, так как размеры кривой зависят от силы преломления, которая варьируется для разных меридианов.
В связи с тем что размеры кривой зависят от рефракции, расстояние от одной линии к другой для разных меридианов различно, и поэтому спираль искажена [см.
рисунок 14 b)].
Светофильтры с нерегулярно изменяющимися фокусными расстояниями создают деформированную спиральную траекторию [см.
рисунок 14 c)]. Из этой искаженной спирали можно получить показатели преломления во всех точках на поверхности светофильтра путем анализа.
a) Рефракция без астигматизма
b) Рефракция с астигматизмом
c) Нерегулярная рефракция
Рисунок 14 - Траектории сканирования светофильтров
с различными видами рефракции
Установка может быть откалибрована с помощью образцов с известным призматическим действием или путем бокового смещения детектора с использованием микрометра.
8.3.4 Протокол испытаний
Самые высокие абсолютные значения должны быть определены для сферической рефракции и астигматизма на светофильтре для области измерения диаметром 20 мм, центрированной в контрольной точке светофильтра. Краевую зону шириной 5 мм по краю солнцезащитных очков не принимают во внимание. Измеренные величины указывают в протоколе испытаний и сопоставляют с предельными значениями, определенными в ISO 12312 (все части).
9 Методы испытаний для определения механических характеристик
9.1 Метод испытания на минимальную прочность светофильтров
9.1.1 Принцип
К испытуемому образцу прикладывается статическая нагрузка (100 +/- 2) Н.
9.1.2 Оборудование
9.1.2.1 Устройство, обеспечивающее нагрузку
Стальной шарик с номинальным диаметром 22 мм, закрепленный на нижнем конце трубки с номинальной длиной 70 мм. Общая масса груза такая, что сила, приложенная к светофильтру, составляет (100 +/- 2) Н.
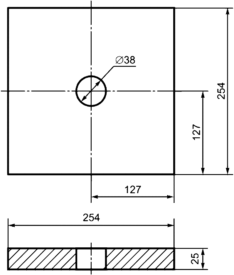
9.1.2.2 Крепление образца
Крепление светофильтра (см.
рисунок 15) представляет собой стальной цилиндр с внутренним диаметром (35,0 +/- 0,1) мм и наружным диаметром (41,0 +/- 0,1) мм. Цилиндр должен быть вставлен в стальную основу или являться ее частью.
Размеры в миллиметрах
1 - направляющий блок; 2 - светофильтр (может быть
выпуклым); 3 - копировальная бумага поверх белой;
4 - центрирующее кольцо; 5 - груз (100 +/- 2) Н;
6 - стальной шарик; 7 - нагрузочное кольцо (250 +/- 5) г;
8 - силиконовые опорные кольца (размером 35 x 3 x 3);
9 - система опор
Рисунок 15 - Схема установки для испытания на минимальную
прочность (статическую деформацию)
Силиконовые опорные кольца должны иметь твердость (40 +/- 5) по Шору A или международных единиц по ISO 48 и должны быть надежно соединены с опорной трубой, которая должна быть изготовлена из жесткого материала.
Если размеры испытуемого смотрового элемента недостаточны для опоры по всему периметру, следует использовать переходные втулки.
Нагрузочное кольцо должно иметь массу (250 +/- 5) г. Своим весом оно прижимает силиконовое опорное кольцо к верхней поверхности образца.
Лист копировальной бумаги поверх листа белой бумаги помещают на опорную стальную пластину у основания полости глубиной 1,5 мм.
9.1.3 Проведение испытаний
Испытания проводят следующим образом:
a) совмещают центральную вертикальную ось нагрузочной трубы с осью опоры образца;
b) образец устанавливают на опору внутренней стороной вниз, нагрузочное кольцо помещают на образец. Для светофильтров изогнутой формы с цилиндрической или тороидальной поверхностями опорная пластина может быть изогнута, чтобы соответствовать поверхности светофильтра; опорное кольцо толщиной 3 мм также может быть изогнуто. Между самой нижней точкой светофильтра, расположенного на опорном кольце, и верхней частью опоры соблюдают расстояние 3,0 и 4,5 мм, т.е. толщина опорного кольца и копировальной бумаги соответственно;
c) положение образца регулируют таким образом, чтобы ось нагрузочного кольца (см.
9.1.2.1) проходила через центр прямоугольной области образца;
d) нагрузочную массу опускают на светофильтр со скоростью, не превышающей 400 мм/мин. Нагрузка (100 +/- 2) Н сохраняется в течение (10 +/- 2) с;
e) затем нагрузочную массу удаляют.
Фиксируют, не сломался ли светофильтр и/или отсутствуют ли следы копировальной бумаги на белой бумаге.
9.1.4 Протокол испытаний
В протоколе испытаний указывают, происходит ли повреждение светофильтра или появление отметки на белой бумаге.
9.2 Метод испытания на ударную прочность светофильтров, уровень прочности 1
Стальной шарик массой 16 г сбрасывают с высоты

на светофильтр. Результат записывают.
9.2.2.1 Опорная труба и испытательный блок (см.
рисунок 16).
Размеры в миллиметрах
1 - силиконовая прокладка; 2 - силиконовая прокладка;
3 - опорная труба; 4 - испытательный блок
Рисунок 16 - Опорная труба и испытательный блок
Испытательный блок должен быть изготовлен из стали и применим для большинства светофильтров. Однако, если диаметр фацетированного светофильтра менее 32 мм, можно использовать запасную опору, внешний диаметр которой равен или менее наименьшего диаметра линзы с острыми краями. Номинальная толщина стенки опоры - 3 мм.
Силиконовая прокладка должна иметь твердость (40 +/- 5) по Шору A или международных единиц, минимальный предел прочности при растяжении 8,274 кПа, минимальное предельное удлинение 400% и должна быть надежно соединена с опорной трубой, которая должна быть изготовлена из жесткого материала.
Испытательный блок вставляют в опору образца, показанную на
рисунке 17.
9.2.2.2 Опора образца, изготовленная из стали, как показано на
рисунке 17.
Размеры в миллиметрах
Рисунок 17 - Опора образца
9.2.2.3 Стальной испытательный шарик с номинальным диаметром 16 мм и массой не менее 16 г.
9.2.3 Проведение испытаний
Испытания проводят следующим образом:
- светофильтр подвергают испытаниям таким образом, чтобы его наружная поверхность находилась сверху и удерживалась в соответствии с
9.2.1,
9.2.2;
- стальной шарик диаметром 16 мм и массой не менее 16 г должен падать в свободном падении с высоты

на наружную поверхность светофильтра;
- шарик должен попадать в круг диаметром 16 мм, описанный вокруг центра прямоугольной области светофильтра. Падение шарика может быть направляемым, но не ограниченным при его сбрасывании через трубку, нижний конец которой удален от поверхности светофильтра примерно на 100 мм.
Отмечают, происходит ли разрушение светофильтра.
9.2.4 Протокол испытаний
В протоколе испытаний записывают, происходит ли разрушение светофильтра.
9.3 Метод испытания на ударную прочность солнцезащитных очков, уровень прочности 1
9.3.1 Принцип
Метод определяет устойчивость солнцезащитных очков, установленных на голове-манекене, способность противостоять поломке или значительной деформации вследствие механических воздействий стального шарика весом 16 г, падающего с высоты

.
9.3.2 Оборудование
9.3.2.1 Голова-манекен, соответствующая размеру испытуемого образца и описанию, указанному в
приложении G. Голову-манекен фиксируют таким образом, чтобы ее центральная вертикальная ось (от макушки до шеи) была горизонтальной, а лицо смотрело вверх. Голова-манекен должна иметь возможность непрерывно вращаться вокруг оси шеи не менее чем на 90° в обе стороны от вертикали.
Примечание - Если существует обоснованная причина, например для того, чтобы соответствовать конкретной этнической группе или группе населения, оценка должна быть проведена на альтернативной модели головы, предназначенной для представления конкретной целевой группы населения.
9.3.2.2 Стальной шарик номинальным диаметром 16 мм и массой не менее 16 г.
9.3.2.3 Чувствительный к давлению материал, подходящий для индикации контакта между солнцезащитными очками и головой-манекеном.
Примечание - Может подойти комбинация белой бумаги и копировальной бумаги.
9.3.3 Проведение испытаний
9.3.3.1 Устанавливают голову-манекен лицом вверх.
9.3.3.2 Закрепляют чувствительный к давлению материал на голове-манекене так, чтобы закрыть область внутри орбитального края каждого глаза.
Примечание - В зависимости от используемого материала может потребоваться закрепить часть материала на голове-манекене, а часть - на солнцезащитных очках.
9.3.3.3 Устанавливают испытуемый образец на голову-манекен в положение как при носке, регулируют ремни крепления (при наличии) в соответствии с инструкцией производителя.
9.3.3.4 Обеспечивают падение стального шарика с высоты

на наружную поверхность образца таким образом, чтобы точка удара приходилась на зрительный центр образца. Если используют систему направляющих, убеждаются в том, что она не касается поверхности образца или не влияет на процесс проведения испытаний.
9.3.3.5 Извлекают образец и отмечают любое повреждение в соответствии с ISO 12312-1.
9.3.3.6 Снимают чувствительный к давлению материал с головы-манекена и осматривают его на наличие ударов в области глаза.
9.3.3.7 Повторяют шаги с
9.3.3.2 по
9.3.3.6 для обоих глаз, располагая голову-манекен надлежащим образом.
9.3.4 Протокол испытаний
В протокол заносят данные о степени любого повреждения образца в соответствии с ISO 12312-1 и о том, есть ли повреждения в области глаз на макете головы. Если линза или светофильтр содержат несколько элементов, в отчете должна быть указана ссылка на самый последний (внутренний) элемент.
9.4 Метод испытания на ударную прочность солнцезащитных очков, уровень прочности 2
9.4.1 Принцип
Метод определяет устойчивость солнцезащитных очков, установленных на голове-манекене, к механическим воздействиям стального шарика весом 43 г при падении с высоты

.
9.4.2 Оборудование
9.4.2.1 Голова-манекен размера, соответствующего испытуемому образцу и описанию в
приложении G. Голову-манекен фиксируют таким образом, чтобы его центральная вертикальная ось (от макушки до шеи) была горизонтальной, а лицо смотрело вверх. Голова-манекен должна иметь возможность непрерывно вращаться вокруг оси шеи не менее чем на 90° в обе стороны от вертикали (так, чтобы точка для нанесения удара на одной из боковых сторон была в верхнем положении).
Примечание - Если существует обоснованная причина, например для того, чтобы соответствовать конкретной этнической группе или группе населения, оценка должна быть проведена на альтернативной модели головы, предназначенной для представления конкретной целевой группы населения.
9.4.2.2 Стальной шар номинальным диаметром 22 мм и массой не менее 43 г.
9.4.2.3 Чувствительный к давлению материал, подходящий для индикации контакта между солнцезащитными очками и головой-манекеном.
Примечание - Подходящими материалами для индикации контакта могут быть контактно-индикационная паста, чувствительный к давлению носитель или комбинация белой и копировальной бумаги.
9.4.3 Проведение испытаний
9.4.3.1 Устанавливают голову-манекен лицом вверх.
9.4.3.2 Закрепляют чувствительный к давлению материал на голове-манекене таким образом, чтобы закрыть область внутри орбитального края каждого глаза.
9.4.3.3 Устанавливают испытуемый образец на голову-манекен в положение как при носке, регулируют ремни крепления (при наличии) в соответствии с инструкцией производителя.
9.4.3.4 Обеспечивают падение стального шарика с высоты

на наружную поверхность образца так, чтобы точка удара приходилась на зрительный центр образца. Если используют направляющую систему, убеждаются в том, что она не касается поверхности образца или не влияет на процесс проведения испытаний иным образом.
9.4.3.5 Извлекают образец и отмечают любое повреждение в соответствии с ISO 12312-1.
9.4.3.6 Проверяют солнцезащитные очки на предмет контакта (если используется контактно-индикационная паста) или снимают чувствительный к давлению материал с головы-манекена и осматривают его на наличие ударов в области глаза.
9.4.3.7 Повторяют шаги с
9.4.3.2 по
9.4.3.6 для обоих глаз, располагая голову-манекен надлежащим образом.
9.4.4 Протокол испытаний
В протокол заносят данные о степени любого повреждения образца в соответствии с ISO 12312-1 и о том, есть ли повреждения в области глаз на голове-манекене.
Если линза или светофильтр содержат несколько элементов, в протокол испытания вносят данные для ближайшего к лицу внутреннего элемента.
9.5 Метод испытания на ударную прочность солнцезащитных очков, уровень прочности 3
9.5.1 Принцип
Метод определяет способность солнцезащитных очков, установленных на макете головы, быть устойчивыми к механическим воздействиям стального шарика с номинальным диаметром 6 мм, движущегося с заданной высокой скоростью.
9.5.2 Оборудование
Голова-манекен должна соответствовать размеру испытуемого образца и описанию, приведенному в
приложении G. Голову-манекен фиксируют таким образом, чтобы ее центральная вертикальная ось (от макушки до шеи) была вертикальной и располагалась перпендикулярно опоре устройства. Голова-манекен должна иметь возможность непрерывно вращаться вокруг своей вертикальной оси не менее чем на 90° в обе стороны от вертикальной оси. Голова-манекен должна иметь возможность вертикально подниматься и опускаться, чтобы достигать наивысшего и самого низкого положений, а также перемещаться вбок.
Примечание - Если существует обоснованная причина, например для того, чтобы соответствовать конкретной этнической группе или группе населения, оценка должна быть проведена на альтернативной модели головы, предназначенной для представления конкретной целевой группы населения.
9.5.2.2 Устройство для выброса снаряда
Устройство состоит из горизонтального ствола с казенником или механизмом загрузки шарика и подачи сжатого газа для движения шарика. Устройство обеспечивает воздействие шарика на образец в требуемом положении со скоростью

. Снаряд представляет собой стальной шарик с номинальным диаметром 6 мм и массой 0,86 г. Ствол должен иметь достаточную длину для того, чтобы обеспечить воспроизводимую скорость выброса стального шарика.
Конец ствола или трубы должен быть защищен от рикошетов.
Область вокруг испытуемого образца, голова-манекен и выходное отверстие устройства должны быть закрыты.
Невозможно определить точные требования к длине ствола и диаметру отверстия, так как они варьируются в зависимости от конструкции каждого устройства и характеристик подачи газа, используемого для приведения шарика в движение.
9.5.2.3 Измерение скорости вылета шарика
Устройство включает в себя средства измерения скорости вылета стального шарика с точностью до +/- 1,0%; точка удара должна быть удалена не более чем на 250 мм от оси выходного датчика измерителя скорости. Используют средство измерения времени, позволяющее фиксировать значение времени с точностью не ниже 10 мкс.
В данном методе применяют электронный таймер, управляемый фотодетекторами через усилители, когда шарик проходит мимо них. Расстояние между фотодетекторами должно быть точно известно и не должно превышать 150 мм.
9.5.2.4 Чувствительный к давлению материал
Чувствительный к давлению материал должен быть надлежащего качества для индикации контакта между солнцезащитными очками и головой-манекеном.
Примечание - Может быть использована комбинация белой бумаги и копировальной бумаги.
9.5.3 Проведение испытаний
9.5.3.1 Голову-манекен располагают перед выходным отверстием ствола оборудования таким образом, чтобы точка удара соответствовала ISO 12312-1.
9.5.3.2 Чувствительный к давлению материал накладывают на голову-манекен для того, чтобы закрыть область внутри орбитального края каждого глаза.
В зависимости от используемого материала может потребоваться нанести часть материала на голову-манекен, часть - на солнцезащитные очки.
Образец, подлежащий испытанию, устанавливают на голову-манекен в положении при носке, отрегулированном в соответствии с инструкциями изготовителя, при натяжении наголовной ленты, если она предусмотрена.
9.5.3.3 Выстреливают стальным шариком в зрительный центр.
9.5.3.4 Снимают образец и отмечают любое повреждение, указанное в ISO 12312-1.
9.5.3.5 Осматривают средство защиты глаз на наличие контакта (если использована контактная паста) или удаляют и осматривают чувствительный к давлению материал на наличие следов ударов, передаваемых в область вокруг глаз головы-манекена.
| | ИС МЕГАНОРМ: примечание. В официальном тексте документа, видимо, допущена опечатка: имеется в виду п. 9.5.3.5, а не 9.5.3.6. | |
9.5.3.6 Повторяют шаги с
9.5.3.2 по
9.5.3.6 для обоих глаз с соответствующим расположением головы-манекена.
9.5.4 Протокол испытаний
Протокол должен содержать информацию о повреждениях образца и о том, имеются ли признаки повреждения, находящиеся в области глаз на голове-манекене.
Если линза или светофильтр содержат несколько элементов, в протоколе должна быть указана ссылка на самый последний (внутренний) элемент.
9.6 Метод испытания на деформацию оправы и прочность крепления светофильтра
9.6.1 Принцип
Метод определяет устойчивость солнцезащитных очков в сборе к деформации и механическую прочность крепления светофильтров.
9.6.2 Оборудование
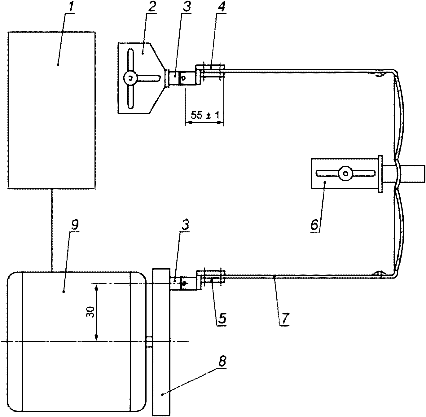
9.6.2.1 Вертикально работающий кольцевой зажим, способный удерживать испытуемый образец без скручивания или скольжения и имеющий диаметр (25 +/- 2) мм, с двумя контактными поверхностями E1 и E2, изготовленными из твердого упругого материала (например, полиамида).
9.6.2.2 Прижимной стержень (см.
5 на
рисунке 18) диаметром (10 +/- 1) мм с полукруглой поверхностью контакта.
1 - измерительное устройство; 2 - кольцевой зажим;
3 - движущееся кольцо; 4 - направление и точка приложения
силы (максимум 5 Н); 5 - прижимной стержень;
E1, E2 - контактные поверхности; a - регулировка
Рисунок 18 - Схема установки для испытания деформации
оправы и крепления светофильтров
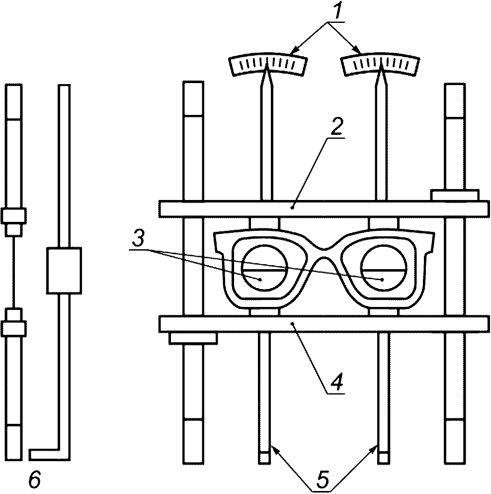
Контактные поверхности могут перемещаться на расстояние не менее 10 мм от каждой стороны горизонтальной линии, проходящей через устройство, при этом прижимной стержень может перемещаться от точки на расстоянии не менее 10 мм выше горизонтальной линии до точки на расстоянии не более 8 мм ниже горизонтальной линии. Для испытаний солнцезащитных очков со значительным лицевым углом кольцевой зажим должен вращаться вокруг горизонтальной оси таким образом, чтобы ось прижимного стержня оставалась перпендикулярной плоскости незакрепленной линзы в центре прямоугольной области. Расстояние между зажимом и прижимным стержнем регулируется.
9.6.2.3 Измерительное устройство с точностью выше 0,1 мм.
Испытательная установка представлена на
рисунке 18.
Устанавливают солнцезащитные очки в сборе со светофильтрами на устройство с открытыми заушниками и лицевой стороной испытуемого образца вниз. Зажимают образец, если он оснащен отдельными светофильтрами для каждого глаза, с допуском 2 мм от геометрического центра светофильтра. Для солнцезащитных очков, оснащенных одним светофильтром, закрывающим оба глаза, зажимные и контрольные точки расположены на расстоянии 64 мм или в соответствии с указаниями производителя (см.
рисунок 19).
R - контрольные точки; b - расстояние
между касательными к верху и низу светофильтра;
PD - указанное межзрачковое расстояние
Рисунок 19 - Определение контрольных точек для светофильтров
Опускают прижимной стержень таким образом, чтобы он опирался на заднюю поверхность незакрепленного светофильтра в пределах 2 мм от геометрического центра светофильтра, следя за тем, чтобы объектив не перемещался. Фиксируют эту позицию как исходную.
Затем медленно и плавно перемещают прижимной стержень вниз, усиливая нагрузку до тех пор, пока не будет достигнут первый из следующих критериев:
a) максимальная нагрузка 5 Н;
b) расстояние, равное 10% расстояния между контрольными точками или, для одиночных светофильтров, закрывающих оба глаза, расстояние, равное 10% от 64 мм или от расстояния, указанного изготовителем (см. ISO 4007).
Примечание - Если максимальная нагрузка 5 Н недостаточна для смещения стержня давления на расстояние, указанное в
перечислении b), продолжают испытание, но достигнутое смещение записывают.
Сохраняют первоначальное смещение в течение 5 с, а затем возвращают стержень давления в исходное положение. Через 20 с повторно опускают стержень до тех пор, пока он не достигнет поверхности светофильтра.
Определяют в миллиметрах перемещение x стержня давления из начальной позиции и рассчитывают процент деформации, используя следующую формулу. Убеждаются в том, что оправа солнцезащитных очков не имеет трещин.

,
где f - деформация, %;
x - смещение прижимного стержня;
c - расстояние между контрольными точками.
При испытании наблюдатель с остротой зрения не менее 1,0, проверенной с использованием оптотипов по ISO 8596, без помощи увеличительной линзы проводит визуальный осмотр оправы солнцезащитных очков. Используют любое средство коррекции зрения, необходимое для осмотра на нужном расстоянии.
Испытания проводят на черном матовом фоне, при этом испытуемый образец освещают источником света от 1000 до 2000 лк.
Убеждаются в том, что ни один испытуемый светофильтр не был полностью или частично смещен с его первоначального расположения в канавке светового проема оправы.
9.6.4 Протокол испытаний
В протоколе испытаний отмечают следующее: превысила ли деформация солнцезащитных очков 2% расстояния между контрольными точками; вызвала ли максимальная нагрузка в 5 Н увеличение расстояния, указанного в
9.6.3; разрушилась ли или растрескалась оправа; изменил ли светофильтр полностью или частично свое положение в канавке светового проема оправы.
9.6.5 Неопределенность измерений
Оценку неопределенности измерения, связанной с этим методом испытания, устанавливают в соответствии с Руководством ISO/IEC 98-3 (см. также
приложение A). Значение этой оценки не должно превышать +/- 10%.
Примечание - Использование стандартных образцов может помочь в установлении общих неопределенностей измерений между лабораториями.
9.7 Метод испытания на повышенную износостойкость солнцезащитных очков
9.7.1 Принцип
Целью испытаний является имитация напряжений, возникающих в оправе солнцезащитных очков, особенно на узлах крепления дужек (шарнирах), при надевании или снятии солнцезащитных очков. Конец одного заушника зажат для ограничения бокового, но не вращательного движения, в то время как конец другого вращается в пределах круга диаметром 60 мм. Перемычка поддерживается без зажима искусственным носом для ограничения перемещения оправы.
9.7.2 Оборудование
9.7.2.1 Два зажимных приспособления, установленных на универсальных шарнирах, которые используют для удержания заушников (см.
рисунки 21 и
22).
9.7.2.2 Горизонтальная планка, образующая опору перемычки. Опора имеет треугольное поперечное сечение, образующее угол (30 +/- 2)°, толщину в верхней части (12 +/- 1) мм с закругленным верхним краем (см.
рисунок 20).
1 - вертикальная опора с прорезью для облегчения
регулировки высоты; 2 - горизонтальная планка,
вставленная в прорезь опоры
Рисунок 20 - Деталь регулируемой опоры для испытания
на повышенную износостойкость
Положения зажимов и опоры регулируют относительно друг друга не менее чем на 40 мм по горизонтали и вертикали.
Универсальные шарниры не должны ограничивать угловое перемещение заушников. Точка зажима, определяемая как ближайший к центру штифта край зажима, должна находиться на расстоянии (55 +/- 1) мм от центра оси универсального шарнира.
Устройство способно непрерывно и плавно передавать циклическое движение одному из универсальных шарниров:
- вниз (30 +/- 0,5) мм;
- наружу (60 +/- 1,0) мм;
- вверх (30 +/- 0,5) мм
с частотой 40 циклов·мин-1, при этом заушник, находящийся в зажиме, остается неподвижным, за исключением изгиба универсального шарнира.
Примечание - Для испытаний в процессе разработки оправы изготовители могут модифицировать испытательное оборудование таким образом, чтобы правый или левый заушник мог подвергаться циклическому движению, а другой оставался неподвижным.
9.7.3 Процедура
9.7.3.1 Перед установкой испытательного образца на испытательный прибор устанавливают точки зажима и измерения.
В случае заушников, охватывающих ушную раковину, убеждаются в том, что расположение точек зажима на (3 +/- 1) мм ближе к шарнирному винту, чем крепление жесткой части заушника с охватывающей ушную раковину. Каждая точка измерения должна находиться на (10 +/- 1) мм ближе к шарнирному винту, чем точка зажима.
9.7.3.2 Перед испытанием полностью раскрывают заушники солнцезащитных очков без натяжения и измеряют расстояние между заушниками в заранее определенных точках измерения. Записывают расстояние d1.
Устанавливают оправу солнцезащитных очков на испытательном устройстве и убеждаются в том, что:
a) вращающийся зажим
5 находится в той же плоскости, что и фиксированный зажим
4, и расположен в ближайшей точке его вращения по направлению к фиксированному зажиму
4 (см.
рисунок 22);
b) перемычка солнцезащитных очков свободно опирается на опору
6 (см.
рисунок 20);
c) взаимное горизонтальное расположение зажима
4, опоры
6 и зажима
5 такое, что оправа солнцезащитных очков может быть установлена с полностью раскрытыми без натяжения заушниками, а упор располагается посередине между зажимами (см.
рисунок 22);
d) высота опоры отрегулирована таким образом, чтобы заушники были на одной линии с осью зажимов и параллельны основанию устройства;
e) заушники зажаты в пределах 1 мм от расчетной точки зажима;
f) зажимной винт
6 ослаблен для того, чтобы совместить угол наклона фиксированного зажима с внутренним наклоном конца заушника, а затем затянут (см.
рисунок 21);
g) счетчик оборотов установлен на ноль (см.
рисунок 22).
1 - шкала амплитуды смещения оправы; 2 - нажимные винты;
3 - окно счетчика; 4 - выключатель; 5 - шарикоподшипник;
6 - зажимной винт; 7 - универсальный шарнир;
8 - регулируемая опора перемычки оправы; 9 - регулируемый
кронштейн для соответствия разным размерам оправы
солнцезащитных очков; 10 - точка зажима
Рисунок 21 - Общая схема испытаний, показывающая
зажимное устройство
1 - панель управления со счетчиком; 2 - регулятор бокового
зажима; 3 - универсальный шарнир; 4 - фиксированный зажим;
5 - вращающийся зажим; 6 - регулируемая опора перемычки
оправы; 7 - испытуемый образец; 8 - вращающийся диск;
9 - мотор-редуктор
Рисунок 22 - Схема типовой испытательной установки
9.7.3.3 После того как испытуемый образец вместе со светофильтрами закреплен, устройство приводят в движение, подвергая образец циклическому вращательному движению, описанному в
9.7.2.2, в общей сложности (500 +/- 1) циклов.
После завершения 500 циклов останавливают движение и вынимают образец из устройства. Измеряют расстояние между заушниками в точке измерения и записывают расстояние d2 в миллиметрах.
Визуальный осмотр оправы солнцезащитных очков проводит наблюдатель с остротой зрения не менее 1,0, определенной при испытании с помощью оптотипов, соответствующих ISO 8596, без помощи увеличительной линзы. Должно быть использовано любое средство коррекции зрения, необходимое для осмотра на нужном расстоянии.
Испытания проводят на черном матовом фоне, при этом испытуемый образец освещают источником света от 1000 до 2000 лк.
Отмечают любые разрушения, трещины или изменения в движении заушников (см. ISO 12312-1).
9.7.4 Протокол испытаний
В протокол испытаний вносят информацию о том, превышает ли разница между d1 и d2 5 мм и демонстрирует ли оправа солнцезащитных очков любые повреждения, трещины или изменения в боковом движении.
9.7.5 Неопределенность измерений
Оценку неопределенности измерения, связанной с этим методом испытания, устанавливают, как описано в Руководстве ISO/IEC 98-3. Значение этой оценки не должно превышать +/- 0,5 мм (см. также
приложение A).
Примечание - Использование стандартных образцов может помочь в установлении общих неопределенностей измерений между лабораториями.
9.8 Метод испытания на устойчивость к солнечному излучению
9.8.1 Принцип
Солнцезащитные светофильтры подвергают облучению от указанного источника с установленного расстояния в течение определенного периода времени. Коэффициент пропускания и широкоугловое рассеяние этих светофильтров измеряют до и после воздействия, для того чтобы определить их устойчивость к обесцвечиванию.
9.8.2 Оборудование
9.8.2.1 Безозоновая ксеноновая лампа из кварцевого стекла высокого давления мощностью (450 +/- 50) Вт.
Примечание - Подходящими эталонными лампами являются XBO-450 OFR и CSX-450 OFR <1>.
--------------------------------
<1> XBO-450 OFR является торговым наименованием продукта, поставляемого OSRAM. CSX-450 OFR является торговым наименованием продукта, поставляемого PHILLIPS. Эта информация предоставлена для удобства пользователей настоящего стандарта. Допускается применение аналогичного оборудования, если доказано, что оно приводит к тем же результатам.
a) Новые лампы должны пройти предварительную наработку в течение не менее 150 ч.
b) Лампа не должна использоваться после 2000 ч работы.
c) Время облучения должно составлять (50 +/- 0,1) ч.
d) Между лампой и образцом должен быть установлен длинноволновый пропускающий фильтр [например, кронглас, такой как Schott B270 <2>] толщиной 4 мм. Данные спектрального пропускания для длинноволнового пропускающего фильтра приведены в
приложении J и проиллюстрированы на
рисунке 23. Допускается смещение +/- 5 нм, как показано прерывистой и пунктирной линиями на
рисунке 23.
--------------------------------
<2> Schott B270 является торговым наименованием продукта, поставляемого SCHOTT. Эта информация предоставлена для удобства пользователей настоящего стандарта. Допускается применение аналогичного оборудования, если доказано, что оно приводит к тем же результатам.

- номинальное значение;

- верхний предел;

- нижний предел;
A - длина волны, нм; B - спектральный
коэффициент пропускания, %
Примечание - Предельное значение

определяется на длине волны, при которой

. Это значение должно составлять (320 +/- 5) нм.
Рисунок 23 - Спектральный коэффициент пропускания
длинноволнового пропускающего фильтра
e) Ток лампы должен быть стабилизирован на уровне (25 +/- 0,2) А.
f) Температура воздуха в непосредственной близости от образца должна составлять (28 +/- 5) °C.
Примечание - Могут быть использованы другие мощные ксеноновые лампы высокого давления со следующими ограничениями:
- время облучения должно быть не менее 10 ч и не превышать 50 ч;
- не должно быть облучения на длинах волн менее 280 нм (использование длинноволнового пропускающего фильтра);
9.8.3 Процедура испытаний
Испытания проводят нижеприведенным образом.
a) Измеряют световой коэффициент пропускания

в соответствии с
7.1.2 (и другие коэффициенты пропускания, которые должны быть проверены, как описано в
7.2 -
7.8) и широкоугловое рассеяние согласно
7.9.
b) Лицевую поверхность светофильтра подвергают воздействию излучения лампы.
c) Убеждаются в том, что излучение падает перпендикулярно поверхности образца.
d) Расстояние от оси лампы до ближайшей точки на образце должно составлять (300 +/- 10) мм.
Примечание - Считается, что требуемое облучение будет выполнено без калибровки или дополнительной проверки при условии применения указанных аппаратуры и методов. Различия в излучении до 30% могут наблюдаться между различными лампами, в зависимости от времени использования (наработки) ламп или поставщика.
e) Измеряют световой коэффициент пропускания

в соответствии с
7.1.2 (и другие коэффициенты пропускания, которые необходимо проверить, как описано в
7.2 -
7.8) и широкоугловое рассеяние согласно
7.9 после воздействия.
9.8.4 Протокол испытаний
В соответствии с требованиями к стойкости к солнечному излучению (ISO 12312-1:2013, раздел 8) протокол испытаний должен содержать информацию об относительном изменении светового коэффициента пропускания, новом значении широкоуглового рассеяния, новых коэффициентах пропускания УФ-излучения в соответствии с начальным

и других заявленных изготовителем дополнительных коэффициентах пропускания, измеренных после воздействия солнечного излучения. Для фотохромных светофильтров необходимо указать новое значение отношения

.
9.9 Метод испытания на устойчивость к воспламенению
9.9.1 Принцип
Метод определяет устойчивость солнцезащитных очков к воспламенению.
9.9.2 Оборудование
9.9.2.1 Стальной стержень длиной (300 +/- 3) мм и номинальным диаметром 6 мм с плоскими торцами, перпендикулярными его продольной оси.
9.9.2.2 Источник тепла.
9.9.2.3 Термопара и средство измерения температуры.
9.9.2.4 Таймер, позволяющий проводить измерение интервала времени до 10 с с погрешностью +/- 0,1 с.
9.9.3 Процедура испытаний
a) Нагревают не менее 50 мм длины одного конца стального стержня до температуры (650 +/- 20) °C.
Примечание - Температуру стержня измеряют с помощью термопары, прикрепленной на расстоянии (20 +/- 1) мм от нагретого конца стержня. Систематическое измерение температуры стержня перед каждым контактом с испытуемым образцом не требуется, так как кривая охлаждения (температура в зависимости от времени) нагреваемого конца стержня известна.
b) Прижимают нагретую поверхность стержня (продольная ось вертикальна) к поверхности испытуемого образца (сила контакта равна весу стержня) в течение не менее 5 с, затем удаляют стержень. Во время испытания записывают, происходит ли воспламенение или тление образца.
c) Испытание проводят на всех наружных частях солнцезащитных очков, кроме любой эластичной наголовной ленты или текстильной окантовки.
9.9.4 Протокол испытаний
В протоколе испытаний необходимо указать информацию о воспламенении или остаточном тлении образца.
9.9.5 Неопределенность измерений
Этот метод испытаний не требует количественных измерений, которые должны быть представлены. Следовательно, оценка неопределенности измерения не требуется.
9.10 Испытание на устойчивость к поту оправы солнцезащитных очков
9.10.1 Принцип
Целые солнцезащитные очки подвергают воздействию искусственного пота, затем проверяют на наличие дефектов.
9.10.2 Оборудование и реактивы
9.10.2.1 Климатическая камера, способная обеспечить температуру испытания (55 +/- 5) °C.
9.10.2.2 Контейнер из стекла или инертного пластика с минимальными размерами 200 мм в поперечном сечении и высотой 90 мм, который можно закрывать.
9.10.2.3 Колба мерная, 1 дм
3, откалиброванная по классу A ISO 1042:1998.
9.10.2.4 Вода, соответствующая 3-му классу ISO 3696:1987.
9.10.2.5 Искусственный потовый раствор, содержащий:
a) молочную кислоту,

, чистота > 85%;
b) хлорид натрия (чистота аналитического реагента >= 99%).
Примеси:
- свинец: <= 0,001 0%,
- железо: <= 0,001 0%,
- бром: <= 0,020 0%,
- йод: <= 0,010 0%;
c) воду, соответствующую 3-му классу ISO 3696:1987.
Используя подходящие емкости, взвешивают такое количество раствора молочной кислоты, чтобы в нем было (50 +/- 0,1) г молочной кислоты [см.
9.10.2.5 a)], и (100 +/- 0,1) г хлорида натрия [см.
9.10.2.5 b)] и растворяют в 900 см
3 воды (см.
9.10.2.4). Используя мерную колбу (см.
9.10.2.3), доливают водой до 1 дм
3.
9.10.2.6 Подставки для оправы солнцезащитных очков из стекла или инертного пластика, установленные в контейнере таким образом, чтобы солнцезащитные очки могли удерживаться над раствором искусственного пота. Подставки могут быть рассчитаны на то, чтобы удерживать несколько образцов солнцезащитных очков друг над другом или рядом друг с другом, но без соприкосновения друг с другом.
9.10.3 Процедура
9.10.3.1 Заливают основание контейнера (см.
9.10.2.2) раствором искусственного пота (см.
9.10.2.5) до минимальной глубины 10 мм таким образом, чтобы самая нижняя часть оправы (самая нижняя, если она сложена) находилась над раствором на расстоянии не менее 12 мм.
Помещают солнцезащитные очки в комплекте со светофильтрами на опоры (см.
9.10.2.6) так, чтобы заушники были максимально раскрыты (для заушников с пружинными шарнирами максимально раскрыты до момента срабатывания пружинного механизма), а нижние края заушников располагались на опорах (см.
рисунок 24). Убеждаются в том, что оправа солнцезащитных очков не касается других образцов или стенок контейнера.
1 - искусственный потовый раствор
Рисунок 24 - Схема стандартного держателя
оправы солнцезащитных очков
Закрывают контейнер, помещают его в климатическую камеру (см.
9.10.2.1) и выдерживают при температуре (55 +/- 5) °C.
9.10.3.2 Через (8,0 +/- 0,5) ч вынимают каждый образец и незамедлительно промывают его водой (см.
9.10.2.4), а затем высушивают, не вытирая, мягкой тканью.
9.10.3.3 В течение 30 мин исследуют каждый испытуемый образец, используя условия проверки, описанные в
9.10.3.6. Сравнивают образцы с идентичной неиспытанной оправой солнцезащитных очков, проверяют и записывают любые пятна или изменение цвета (исключая потерю блеска на поверхности) в любом месте рамки, исключая соединения и винты.
9.10.3.4 Повторно помещают испытуемые образцы на опоры, закрывают контейнер и поддерживают температуру испытаний (55 +/- 5) °C в течение еще (16,0 +/- 0,5) ч. После завершения этого второго периода удаляют, очищают и высушивают образцы, как описано в
9.10.3.2.
9.10.3.5 В течение 30 мин исследуют те участки каждого образца, которые могут длительно контактировать с кожей пользователя, используя условия проверки, описанные в
9.10.3.6. Сравнивают с идентичной неиспытанной оправой для солнцезащитных очков, проверяют и регистрируют любую коррозию, деградацию поверхности или отделение любого слоя закрытия на деталях, которые могут длительно контактировать с кожей во время износа, т.е. на внутренней стороне, заушниках, нижних участках оправы и внутренней части перемычки.
Примечание - Если оправа для солнцезащитных очков изготовлена из натуральных материалов и производитель рекомендует для ее ухода крем или воск, то перед проведением испытаний оправа для солнцезащитных очков должна быть подготовлена с использованием этого крема или воска в соответствии с инструкциями производителя. В конце испытания, когда оправу солнцезащитных очков проверяют на изменение цвета или ухудшение поверхности и если оправа солнцезащитных очков не соответствует этому требованию, используют крем или воск и выдерживают один день, прежде чем повторно проверить изменение цвета или ухудшение поверхности. Если оправа восстановила свой первоначальный вид, считается, что оправа солнцезащитных очков прошла испытание; если оправа остается обесцвеченной, значит, оправа не прошла тест.
9.10.3.6 Визуальный осмотр оправы солнцезащитных очков проводит без помощи увеличительной линзы наблюдатель с остротой зрения не менее 1,0, измеренной при испытании с помощью оптотипов, соответствующих ISO 8596. Используют любое средство коррекции зрения, необходимое для осмотра на нужном расстоянии.
Испытания проводят на черном матовом фоне, при этом испытуемый образец освещают источником света от 1000 до 2000 лк.
9.10.4 Протокол испытаний
В отчете, касающемся исключительно оправ солнцезащитных очков, должно быть отражено следующее:
- любые пятна или изменение цвета (исключая потерю блеска поверхности) в любом месте на оправе, исключая соединения и винты, после 8 ч;
- коррозия, разрушения поверхности или отделения какого-либо слоя закрытия на деталях, подверженных длительному контакту с кожей во время износа, например на внутренних поверхностях и концах заушников, нижних частях оправы и внутренней поверхности перемычки, через 24 ч, по сравнению с солнцезащитными очками, не подвергшимися испытанию.
(обязательное)
ПРИМЕНЕНИЕ НЕОПРЕДЕЛЕННОСТИ ИЗМЕРЕНИЙ
Для оценки соответствия/несоответствия результатов испытания установленным требованиям, приведенным в ISO 12312 (все части), применяют соответствующую процедуру.
Если результат испытания
R +/- неопределенность измерения
U полностью попадает в установленный диапазон значений или за его пределы для конкретного испытания, приведенного в стандарте общих технических условий на изделие, то этот результат оценивают как положительный или отрицательный в соответствии с
рисунками A.1 и
A.2.
R - результат измерения; S - интервал допустимых значений
параметра; LSL - установленный нижний предел;
USL - установленный верхний предел;
U - неопределенность измерений
Рисунок A.1 - Положительный результат
R - результат измерения; S - интервал допустимых значений
параметра; LSL - установленный нижний предел;
USL - установленный верхний предел;
U - неопределенность измерений
Рисунок A.2 - Отрицательный результат
Если результат испытания
R +/- неопределенность измерения
U выходит за установленный диапазон значений (верхний или нижний пределы) для конкретного испытания, приведенного в стандарте общих технических условий на изделие, то оценку результата проводят с учетом безопасности пользователя СИЗ и полученный результат считают отрицательным в соответствии с
рисунком A.3.
R - результат измерения; S - интервал допустимых значений
параметра; LSL - установленный нижний предел;
USL - установленный верхний предел;
U - неопределенность измерений
Рисунок A.3 - Отрицательный результат
(справочное)
ИСТОЧНИКИ НЕОПРЕДЕЛЕННОСТИ В СПЕКТРОФОТОМЕТРИИ
И ИХ ОЦЕНКА И КОНТРОЛЬ
B.1 Общие положения
Существует много других методов и приборов для измерения спектрального пропускания солнцезащитных и аналогичных им очков. В настоящее время не представляется возможным выделить лучший прибор или метод. Соответственно, в настоящем стандарте подход заключается в установлении максимальной неопределенности измерения, приемлемой в этом контексте.
Методы оценки компонентов неопределенности изложены в Руководстве ISO/IEC 98-3. В этом приложении рассмотрены вопросы источников неопределенности в области спектрофотометрии, их минимизации и оценки.
Источники неопределенности одинаковые независимо от используемой области длин волн или расчетов, в которых впоследствии используют данные измерения спектрального коэффициента пропускания (например, для расчета светового коэффициента пропускания, коэффициента пропускания ультрафиолетового излучения, цвета, Qsignal).
B.2 Виды спектрофотометров
Спектрофотометры, как правило, представлены в следующих вариациях:
a) одно- или двухлучевые;
b) со сканирующей или диодной матрицей;
c) с записью отношения или с компенсационным способом измерения;
d) с одинарным или двойным монохроматором;
e) с монохроматическим или полихроматическим освещением.
В однолучевом приборе есть только одно положение образца. Результат измерения получают из последовательного сравнения показаний прибора с испытуемым образцом и открытым пучком излучения. Для большей точности измерения коэффициента пропускания оба измерения должны проводиться через небольшой интервал времени.
В двухлучевом приборе результат измерения получают сравнением коэффициента пропускания образца с коэффициентом пропускания при открытом пучке излучения; следовательно, образец помещен в один из двух отдельных ходов луча. Измерение осуществляют либо путем одновременного направления излучения по двум путям на два детектора, либо поочередной передачей излучения по двум путям к одному детектору на частоте, достаточно высокой для эффективного моделирования одновременного сравнения. Сканирующий прибор выполняет измерения последовательно, хотя спектр, как и длина волны луча, изменяется.
Спектрофотометр с диодной матрицей рассеивает луч на матрицу фотодиодов для одновременного измерения на выбранных длинах волн. Приборы с диодной матрицей, как правило, однолучевые, в которых на постоянной основе использовано полихроматическое освещение.
Спектрофотометры, записывающие отношение, измеряют амплитуду сигнала, полученного переключением между эталонным трактом и трактом с образцом. Электроника усилителя определяет линейность отклика.
В спектрофотометрах с нулевой точкой использован переменный аттенюатор, который вводят в опорный луч до тех пор, пока не будет устранена разница в сигнале с пучком излучения. Характеристики аттенюатора определяют линейность отклика.
В приборах с двойным монохроматором используют две дифракционные решетки или комбинацию призмы и решетки. Двойной монохроматор обладает заметно большей степенью устранения рассеянного света (как правило, от 1/100 до 1/1000 одной решетки). Это особенно важно на коротковолновой области ультрафиолетового спектра или в том месте, в котором происходит быстрое изменение коэффициента пропускания с длиной волны.
Луч может проходить через монохроматор до образца, поэтому образец облучается монохроматическим излучением, или после образца, так что образец облучается полихроматическим излучением. Когда речь идет о офтальмологической продукции, эта разница, вероятно, незначительна. Однако разница может стать весьма значительной, если какой-то компонент образца является флуоресцентным.
Кроме того, спектрофотометры могут быть оснащены различными детекторами. Для измерений в ультрафиолетовой области (от 190 до 830 нм) они, как правило, представляют собой фотоумножитель или кремниевый фотодиод. Фотоумножитель является более чувствительным детектором и обеспечивает измерения для более темных образцов, тогда как кремниевый фотодиод - надежный и менее дорогой вариант, который обеспечивает измерение не более 1100 нм. Если прибор также позволяет проводить измерения в ближней инфракрасной области, требуется другой детектор. Сульфид свинца обычно обеспечивает измерения не более 3000 нм, а InGaAs - не более 1800 нм.
B.3 Источники неопределенности
B.3.1 Общие положения
В неопределенности при измерении спектрального коэффициента пропускания можно рассматривать три составляющих компонента:
- ошибки, которые приводят к вкладу, не зависящему от коэффициента пропускания образца, и вносят вклад в неопределенность установленного абсолютного размера

;
- ошибки, которые приводят к вкладу в неопределенность, которая является пропорцией измеренного коэффициента пропускания

;
- ошибки, вызванные неточностями длины волны в приборе

.
Объединенная неопределенность
u коэффициента пропускания

может быть рассчитана по формуле

.
B.3.2 Источники неопределенности при калибровке
B.3.2.1 Рассеянный свет
Рассеянный свет, как правило, вызывается рассеянием в оптике прибора, особенно в решетках. Это также вызвано частичным перекрытием спектров более высокого порядка со спектром первого порядка, который используется для измерения. Это больше всего заметно в двойных монохроматорных приборах. В старых приборах отложения на оптике имеют тенденцию увеличивать рассеянный свет. Это может быть сведено к минимуму благодаря вниманию к чистоте окружающей среды. Чистка оптики - это работа, требующая квалификации, и ее должны выполнять люди, сертифицированные поставщиком оборудования.
Рассеянный свет особенно важен при испытаниях на более коротких длинах волн, поэтому в большинство спектрофотометров по умолчанию вставляют длинноволновый пропускающий светофильтр и используют дейтериевую газоразрядную лампу для измерений ниже примерно 350 нм.
Рассеянный свет оценивают с помощью подходящих водных растворов или стеклянных светофильтров, пропускающих излучение в длинноволновом диапазоне.
Решения, используемые в соответствующем диапазоне длин волн, представлены в
таблице B.1.
Таблица B.1
Решения для использования в диапазонах длин волн
Смесь | Типовая используемая концентрация | Диапазон длин волн (оптическая плотность > 3) |
Йодистый калий | 1% | Менее 260 нм |
Натрий йодистый | 1% | Менее 260 нм |
Литий карбонат | Насыщенный | Менее 227 нм |
Любой измеряемый коэффициент пропускания в указанном диапазоне длин волн следует принимать за рассеянный свет, сводить к минимуму и учитывать с использованием фактора

.
B.3.2.2 Базовая линия 0%
Когда луч, проходящий через тракт с образцом, перекрыт непрозрачным объектом, возможно возникновение устойчивых значений, отличных от ожидаемого нуля. Эти значения должны быть вычтены из любого фактического значения коэффициента пропускания или, в противном случае, учтены с использованием фактора

. Когда 0%-ный базовый уровень повторяется, отмечаются некоторые изменения значений. Скорее всего, это связано с электрическим шумом в системе, и пользователь не может повлиять на ситуацию. Оценку величины ошибки проводят путем многократного сканирования базовой линии и расчета пределов 95-го процентиля. Эти данные затем учитывают в

.
B.3.2.3 Базовая линия 100%
Во многом используют те же процессы, что и при учете 0%-ного базового уровня. Любое несоответствие 100% должно быть устранено путем масштабирования результата до 100% или с учетом фактора

. Повторения 100%-ной базовой линии также демонстрируют вариации и должны быть оценены, как в 0%-ной базовой линии, и учтены в

. Источники фоновых помех на базовой линии 100% гораздо более многочисленны.
Фоновые помехи на 100%-ной базовой линии больше, когда выходной сигнал детектора низкий. Это может быть связано с тем, что количество излучения, достигающего детектора, мало. Такой эффект происходит в пределах области длин волн, где энергия от источника может быть низкой и/или эффективность решетки низкая. Выходной сигнал также может быть низким вблизи пределов области длин волн, так как спектральная чувствительность детектора низкая.
Диапазон величины и длины волны варьируется в зависимости от прибора и в основном не зависит от оператора. Фоновые помехи могут быть уменьшены путем увеличения количества излучения, падающего на детектор, полуширины длины волны, времени интегрирования (что может быть связано с замедлением скорости сканирования в некоторых приборах) или коэффициента усиления усилителя в приборе. Одни приборы автоматически изменяют сверхвысокое напряжение, подаваемое на фотоумножитель в ответ на общее количество падающего света, другие - коэффициент усиления усилителя, а некоторые - автоматически контролируют половинную полосу пропускания.
B.3.2.4 Точность длины волны
Точность длины волны зависит от сканирующего механизма или расположения детекторов в диодной матрице. Это, как правило, не модифицируется. Следует оценить точность длины волны и сделать оценку

.
Есть два основных метода. Первый является более точным и включает введение линейного источника (обычно газоразрядных ртутной и неоновой ламп) вместо встроенных источников и отслеживание выхода детектора в однолучевом режиме. Спектр ртутного разряда имеет полезные линии в ультрафиолете и видимый для желтой области, в то время как неон имеет много линий в красной области. В
таблице B.2 перечислены основные линии спектра ртути и неона. Некоторые близко расположенные линии не могут быть отдельно различимы, если полосы пропускания не меньше, чем разность длин волн. Кроме того, многие спектрофотометры имеют встроенные дейтериевые источники излучения для УФ-области. Данный источник производит комбинацию широкополосного распределения и некоторых линий, что наиболее заметно при 656,1 нм (но также при 486,0; 434,0 и 410,1 нм). Эта линия часто используется как одноточечная проверка точности длины волны, возможно, автоматически при запуске в некоторых приборах. После проведения полной проверки такой одноточечной проверки должно быть достаточно для того, чтобы убедиться в том, что изменений не произошло. Устанавливают длину волны на 5 нм выше предполагаемой линии и медленно сканируют поперек линии с наименьшим возможным интервалом длины волны. Определяют длину волны максимальной энергии. Повторяют для каждой доступной строки. Данный метод необходим, когда требуется точность длины волны не более 0,5 нм. Точность длины волны менее 0,1 нм может быть подтверждена, если полная ширина на уровне половины максимума достаточно мала.
Таблица B.2
Длины волн (в воздухе) линейных спектров от ртути и неона
Длина волны в воздухе, нм | Источник |
226,22 | Hg |
237,83 | Hg |
248,20 | Hg |
253,65 | Hg |
265,20 | Hg |
280,35 | Hg |
289,36 | Hg |
296,73 | Hg |
302,15 | Hg |
312,57 | Hg |
313,17 | Hg |
334,15 | Hg |
336,99 | Ne |
341,79 | Ne |
344,77 | Ne |
346,66 | Ne |
347,26 | Ne |
352,05 | Ne |
359,35 | Ne |
365,02 | Hg |
365,44 | Hg |
366,33 | Hg |
404,66 | Hg |
407,78 | Hg |
435,84 | Hg |
533,08 | Ne |
534,11 | Ne |
540,06 | Ne |
546,07 | Hg |
576,96 | Hg |
579,07 | Hg |
585,25 | Ne |
588,19 | Ne |
594,48 | Ne |
597,55 | Ne |
603,00 | Ne |
607,43 | Ne |
609,62 | Ne |
614,31 | Ne |
616,36 | Ne |
621,73 | Ne |
626,65 | Ne |
630,48 | Ne |
633,44 | Ne |
638,30 | Ne |
640,23 | Ne |
650,65 | Ne |
653,29 | Ne |
659,90 | Ne |
667,83 | Ne |
671,70 | Ne |
692,95 | Ne |
702,41 | Ne |
703,24 | Ne |
705,91 | Ne |
717,39 | Ne |
724,52 | Ne |
743,89 | Ne |
748,89 | Ne |
753,58 | Ne |
754,41 | Ne |
837,76 | Ne |
Второй метод включает использование таких растворов, как перхлорат гольмия или стеклянные светофильтры, содержащие оксид гольмия или дидимия. Они имеют узкие и глубокие полосы поглощения для основных длин волн пика поглощения. Основные длины волн пикового поглощения приведены в
таблице B.3. Фактические длины волн варьируются в зависимости от ширины полосы и толщины светофильтра и должны быть получены в калибровочной лаборатории для конкретного раствора или светофильтра. Устанавливают длину волны на 5 нм выше предполагаемой полосы поглощения и медленно сканируют поперек полосы с наименьшим возможным интервалом длины волны. Определяют длину волны минимального пропускания или максимального поглощения. Неопределенность калибровки зависит от источника калибровки, и калибровка переноса может быть выполнена, как правило, +/- 0,3 нм, что приводит к комбинированной неопределенности около 0,5 нм для малых значений полной ширины на уровне половины максимума.
Таблица B.3
Основные длины волн (в воздухе) пика поглощения
Ссылка | Длины волн пика поглощения, нм |
Перхлорат гольмия | 241,1 450,8 | 250,0 486,2 | 278,2 536,6 | 287,1 640,6 | 333,5 | 345,5 | 361,4 | 385,4 | 416,3 |
Гольмиевый оксидный светофильтр | 279,4 | 287,5 | 360,9 | 418,7 | 453,2 | 536,2 | 637,5 | | |
Дидимиевый светофильтр | 572,9 | 585,3 | 684,6 | 740,8 | 807,0 | | | | |
Для нейтрально окрашенных испытуемых линз и образцов точность длины волны не является определяющим фактором неопределенности спектрального коэффициента пропускания; точность на длине волны 1 нм вполне адекватна. С другой стороны, резкие обрезания, часто наблюдаемые в УФ-области, и быстрые изменения коэффициента пропускания с длиной волны в сильно окрашенных образцах могут привести к большой неопределенности длины волны. Например, изменение коэффициента пропускания 50% (абсолютное) на 10 нм не является необычным в УФ-области, а точность длины волны 1 нм означает неопределенность 5%.
B.3.2.5 Точность (повторяемость)
Оценки фоновых помех на базовой линии являются показателями точности. Подобные оценки можно проводить при разных значениях коэффициента пропускания образца. Если образец не является полностью однородным, меры повторяемости могут также включать удаление и замену образца и повторение измерений. В данном случае повторяемость - это не только функция прибора, но также однородность образца и повторяемость метода размещения образца в приборе. Повторяемость, как правило, учитывается в

.
B.3.2.6 Фотометрическая точность (линейность)
Оценка фотометрической точности включает измерение образца с известным коэффициентом пропускания (значения, предоставленные калибровочной лабораторией), и расхождения либо исправляются математически, либо включаются в неопределенность, как правило,

. Обычно эталонные образцы представляют собой стеклянные светофильтры, но также можно использовать перфорированные металлические сетки; необходимо проявлять осторожность для того, чтобы обеспечить их единообразие.
B.3.3 Источники неопределенности в методологии
B.3.3.1 Пределы длины волны для спецификации и измерения
Спектральные измерения следует проводить в диапазоне, указанном в ISO 12312 (все части), и это может варьироваться в зависимости от применения.
По данным CIE, видимый спектр находится в пределах от 360 до 830 нм. На практике чувствительность глаза в пределах спектра настолько низкая, что исключение этих областей из расчета практически не имеет значения. В некоторых случаях допустимыми являются пределы от 400 до 700 нм. Однако сравнение расчетов, выполненных на одном и том же образце для разных пределов, показывает разные результаты и, как правило, устанавливает приемлемый диапазон длин волн для расчетов. Для защиты глаз и лица расчеты пределов длины волны для измерения и спецификации обычно устанавливают в диапазоне от 380 до 780 нм.
Аналогичным образом установлена разница в приемлемых областях, которую определяют как полосы ультрафиолетового и инфракрасного диапазонов для спецификации и измерения.
Так как принят стандартный диапазон длин волн, любые расхождения во всем диапазоне, как правило, игнорируют и не учитывают при расчете неопределенности.
B.3.3.2 Шаг длины волны
Теоретически чем меньше шаг длины волны, тем точнее расчет. В системе CIE принят шаг 1 нм. Выполнение измерений и расчетов с большими интервалами не имеет значения, когда образец имеет нейтральный цвет и спектральные коэффициенты пропускания несущественно изменяются с длиной волны, но имеет значение, когда спектральный коэффициент пропускания быстро изменяется с длиной волны. Для настоящего стандарта расчеты и измерения должны выполняться с теми же интервалами, что указаны в ISO 12312-1. Шаг по длине волны должен быть установлен равным 5 нм, а любые расхождения с измерениями, выполненными с интервалами в 1 нм, должны игнорироваться. Меньшие шаги длины волны (и, соответственно, меньшие значения полной ширины на уровне половины максимума) могут быть необходимы, когда весовые функции быстро меняются с длиной волны, и этот шаг другой длины волны должен быть указан.
B.3.3.3 Спектральная ширина щели измерительного прибора
Спектральную ширину щели измерительного прибора, как правило, устанавливают как полную ширину на уровне половины максимума или спектральную полуширину.
Теоретически чем меньше спектральная полуширина, тем точнее измерение. Выполнение измерений и расчетов при больших значениях спектральной полуширины не имеет значения, когда образец имеет нейтральный цвет и спектральные коэффициенты пропускания несущественно меняются с изменением длины волны. Это имеет значение, когда спектральный коэффициент пропускания быстро меняется с изменением длины волны, пики пропускания имеют тенденцию снижаться, а минимумы уменьшаются с увеличением спектральной полуширины. С другой стороны, меньшее значение спектральной полуширины уменьшает количество энергии, достигающей детектора, и увеличивает шум сигнала. Наиболее приемлемой практикой измерений является установка спектральной полуширины не более шага длины волны (в этом приложении не более 5 нм). 2 нм - это стандартная настройка для приборов с фиксированной спектральной шириной щели. При работе с темными образцами и ослаблением пучка излучения (см.
B.3.4) может потребоваться более широкая, чем 5 нм, спектральная полуширина, чтобы минимизировать шум, и это должно быть учтено при расчете неопределенности.
При использовании большей спектральной полуширины появление комбинированных эффектов чувствительности детектора, энергии источника и эффективности дифракционной решетки может означать, что энергия не распределена равномерно или симметрично в диапазоне длин волн, а длина волны с наибольшей энергией может составлять несколько нанометров от номинальной длины волны центроида. В этом случае точность определения длины волны должна быть переоценена.
B.3.4 Источники неопределенности из характеристик образца
B.3.4.1 Смещение луча образцом
Луч в спектрофотометре может быть смещен, когда образец наклонен или имеет даже небольшое призматическое действие (включая децентрированные линзы). В таком случае луч может частично попадать на детектор, что приведет к занижению значения коэффициента пропускания. В некоторых приборах размер луча мал по сравнению с размером детектора (недостаточное покрытие), и поэтому для регистрации ложного результата необходимо большее его смещение. Это чаще всего относится к детекторам на фотоумножителе, которые, как правило, имеют большие окна. Напротив, если размер луча больше размера детектора (перекрытие), то также требуется значительное смещение для частичного покрытия детектора, а так как луч однороден, то смещение его вызывает незначительный эффект. На практике во многих приборах покрытие детектора недостаточно, и небольшое смещение может иметь значительные эффекты. Эффекты наиболее заметны при испытании с криволинейными поверхностями, а не плоских образцов.
Если эффект значительный, то его можно определить путем:
- наклона образца и наблюдения явного увеличения коэффициента пропускания (как правило, он должен падать);
- вращения (неполяризационного) и наблюдения при этом больших, чем ожидалось, изменений коэффициента пропускания;
- перемещения равномерно окрашенного образца в поперечном направлении и наблюдения более значительных, чем ожидалось, изменений коэффициента пропускания;
- перемещения образца от передней к задней части камеры для образца и наблюдения за изменением коэффициента пропускания (это также может быть признаком образца со значительным диффузным коэффициентом пропускания);
- проверки с помощью образца с криволинейными поверхностями и известным коэффициентом пропускания.
Эффекта невозможно избежать во многих приборах. Для того чтобы минимизировать проблему, образец должен быть расположен как можно ближе к детектору, чтобы минимизировать смещение луча. Использование интегрирующей сферы для сбора луча помогает, если луч небольшой по сравнению с входным портом сферы (как обычно). В противном случае эффект должен быть учтен в

.
B.3.4.2 Флуоресценция
По причинам, описанным в
B.3.4.1, флуоресценция в образцах способствует ошибкам. Визуальный осмотр под источником UVA должен предупредить оператора о наличии флуоресценции. Соответствующие светофильтры, установленные на пути светового пучка со стороны образца, обращенной к детектору, позволяют проводить достоверные измерения.
B.3.4.3 Наклон образца
Контрольная точка для измерения определена в ISO 4007 и ISO 12312-1, при этом необходимо проводить измерения с помощью нормально падающего луча. Наклон образца вызывает прохождение большей длины пути в образце и смещение луча относительно детектора. Метод определения местоположения образца должен обеспечивать поддержание нормального угла падения в пределах +/- 2°.
B.3.4.4 Положение образца
Соблюдение данного требования не является наиболее существенным для равномерно окрашенных светофильтров, но для окрашенных градиентных светофильтров оно обязательно. Положение образца должно воспроизводиться с точностью до +/- 0,5 мм.
B.3.4.5 Размер и форма луча
Соблюдение данного требования также не является крайне важным для равномерно окрашенных светофильтров, но для окрашенных градиентных светофильтров оно обязательно. Если луч проходит значительное расстояние в направлении градиента и коэффициент пропускания не изменяется непрерывно в направлении градиента, тогда становится трудно точно узнать, в какой точке измерен коэффициент пропускания. В направлении градиента размер луча должен быть минимальным. В приборах с прямоугольным лучом образец должен быть ориентирован таким образом, чтобы короткий размер располагался вдоль изменения градиента. Размер луча вдоль градиента не должен превышать 5,0 мм.
B.3.4.6 Поляризация
Процесс монохромации пучка с решеткой также вносит некоторую частичную поляризацию. Эффективность поляризации и ориентация поляризации варьируются по спектру. Некоторые инструменты имеют деполяризатор, который можно использовать. При отсутствии такого приспособления измерение спектрального коэффициента пропускания линейных поляризаторов следует проводить при двух взаимно перпендикулярных ориентациях образца. Положение образца не имеет значения, но второе измерение следует проводить в положении, перпендикулярном положению при первом измерении. Спектральный коэффициент пропускания является средним из двух измеренных спектральных коэффициентов пропускания. Измерение нелинейных поляризаторов должно быть проведено с помощью деполяризатора или не спектрофотометрическим методом.
(справочное)
ОПРЕДЕЛЕНИЯ В ФОРМЕ СУММИРОВАНИЯ
C.1 Пояснение
ISO 4007 определяет процессы свертки спектральных данных до интегрированного значения как интеграл с символами

и

. В интеграле переменные, такие как

,

,

, - это математические функции. Хотя каждая из таких переменных может быть представлена в виде математической функции, общепринятым процессом при выполнении данного вычисления является суммирование в заданном интервале длин волн

в пределах определенного диапазона длин волн. ISO 12312-1 требует использования интервала длин волн 5 нм или менее в ультрафиолетовой и видимой областях и 10 нм в инфракрасной области. Поэтому расчеты на практике представляются в виде сумм с использованием символов

и

.
Ниже приведены определения по ISO 4007, выраженные в процентах, и суммирования, которые требуются согласно ISO 12312-1.
C.2 Определения в форме суммирования
C.2.1 Световой коэффициент пропускания

, (C.1)
где

- длина волны, нм;

- спектральный коэффициент пропускания;

- относительная чувствительность человеческого глаза в соответствии с ISO 11664-1;

- спектральное распределение энергии стандартного источника света CIE
D65 в соответствии с ISO 11664-2.
C.2.2 Коэффициент пропускания ультрафиолетового излучения
C.2.2.1 Коэффициент пропускания солнечного УФ-излучения


. (C.2)
C.2.2.2 Коэффициент пропускания солнечного УФ-A-излучения


. (C.3)
C.2.2.3 Коэффициент пропускания солнечного УФ-B-излучения


, (C.4)
где

- длина волны, нм;

- спектральный коэффициент пропускания;

- спектральное распределение солнечного излучения на уровне моря для воздушной массы 2
[7];

- относительная функция спектральной эффективности для УФ-излучения
[8];

.
C.2.3 Коэффициент пропускания в синей области солнечного спектра 

, (C.5)
где

- длина волны, нм;

- спектральный коэффициент пропускания;

- спектральное распределение солнечного излучения на уровне моря для воздушной массы 2
[7];

- функция опасности синего света
[9];

.
C.2.4 Коэффициент пропускания в инфракрасной области солнечного спектра 

, (C.6)
где

- длина волны, нм;

- спектральный коэффициент пропускания;

- спектральное распределение солнечного излучения на уровне моря для воздушной массы
m = 2
[7].
C.2.5 Световой коэффициент отражения 

, (C.7)
где

- длина волны, нм;

- спектральный коэффициент отражения;

- относительная чувствительность человеческого глаза в соответствии с ISO 11664-1;

- спектральное распределение энергии стандартного источника света CIE
D65 в соответствии с ISO 11664-2.
C.2.6 Относительный коэффициент визуального ослабления для обнаружения светового сигнала Q

, (C.8)
где

(C.9)
и

, (C.10)
где

- длина волны, нм;

- спектральный коэффициент пропускания;

- относительная чувствительность человеческого глаза, как определено в ISO 11664-1;

- спектральное распределение энергии стандартного источника света CIE
D65 в соответствии с ISO 11664-2;

- спектральное распределение энергии красного, желтого, зеленого и синего сигнальных цветов.
(обязательное)
ПРОИЗВЕДЕНИЕ РАСПРЕДЕЛЕНИЯ ЭНЕРГИИ СТАНДАРТНОГО ИСТОЧНИКА
СВЕТА D65 В СООТВЕТСТВИИ С ISO 11664-2 НА ФУНКЦИЮ
ОТНОСИТЕЛЬНОЙ СПЕКТРАЛЬНОЙ ЭФФЕКТИВНОСТИ СРЕДНЕГО
ЧЕЛОВЕЧЕСКОГО ГЛАЗА ДЛЯ ДНЕВНОГО ЗРЕНИЯ СОГЛАСНО ISO 11664-1
Таблица D.1
Произведение распределения энергии стандартного источника
излучения D65 на функцию относительной спектральной
эффективности среднего человеческого глаза
для дневного зрения
Длина волны  , нм | |
380 | 0,0001 |
385 | 0,0002 |
390 | 0,0003 |
395 | 0,0007 |
400 | 0,0016 |
405 | 0,0026 |
410 | 0,0052 |
415 | 0,0095 |
420 | 0,0177 |
425 | 0,0311 |
430 | 0,0476 |
435 | 0,0763 |
440 | 0,1141 |
445 | 0,1564 |
450 | 0,2104 |
455 | 0,2667 |
460 | 0,3345 |
465 | 0,4068 |
470 | 0,4945 |
475 | 0,6148 |
480 | 0,7625 |
485 | 0,9001 |
490 | 1,0710 |
495 | 1,3347 |
500 | 1,6713 |
505 | 2,0925 |
510 | 2,5657 |
515 | 3,0589 |
520 | 3,5203 |
525 | 3,9873 |
530 | 4,3922 |
535 | 4,5905 |
540 | 4,7128 |
545 | 4,8343 |
550 | 4,8981 |
555 | 4,8272 |
560 | 4,7078 |
565 | 4,5455 |
570 | 4,3393 |
575 | 4,1607 |
580 | 3,9431 |
585 | 3,5626 |
590 | 3,1766 |
595 | 2,9377 |
600 | 2,6873 |
605 | 2,4084 |
610 | 2,1324 |
615 | 1,8506 |
620 | 1,5810 |
625 | 1,2985 |
630 | 1,0443 |
635 | 0,8573 |
640 | 0,6931 |
645 | 0,5353 |
650 | 0,4052 |
655 | 0,3093 |
660 | 0,2315 |
665 | 0,1714 |
670 | 0,1246 |
675 | 0,0881 |
680 | 0,0630 |
685 | 0,0417 |
690 | 0,0271 |
695 | 0,0191 |
700 | 0,0139 |
705 | 0,0101 |
710 | 0,0074 |
715 | 0,0048 |
720 | 0,0031 |
725 | 0,0023 |
730 | 0,0017 |
735 | 0,0012 |
740 | 0,0009 |
745 | 0,0006 |
750 | 0,0004 |
755 | 0,0002 |
760 | 0,0001 |
765 | 0,0001 |
770 | 0,0001 |
775 | 0,0001 |
780 | 0,0000 |
Сумма | 100,0000 |
(обязательное)
СПЕКТРАЛЬНЫЕ ФУНКЦИИ ДЛЯ РАСЧЕТА КОЭФФИЦИЕНТОВ ПРОПУСКАНИЯ
В УЛЬТРАФИОЛЕТОВОЙ И СИНЕЙ ОБЛАСТЯХ СОЛНЕЧНОГО СПЕКТРА
В этом приложении содержатся спектральные функции для расчета коэффициента УФ-пропускания излучения Солнца и световой коэффициент пропускания в синей области солнечного спектра (см.
таблицу E.1).
Для спектрального распределения солнечного излучения

значения приведены в
[7]. Эти значения расширены до 295 нм и интерполируются при необходимости. При длинах волн 280 и 290 нм значения облученности настолько низкие, что они могут быть установлены равными 0 для любого практического использования.
Спектральное распределение относительной спектральной функции эффективности для УФ-излучения

приведено в
[8]. Эти данные приведены с интервалами 5 нм; если источники являются узкополосными, может потребоваться работа с конкретными длинами волн или с меньшими интервалами длин волн, тогда данные должны соответствовать
[8].
Полная весовая функция для расчета различных значений УФ-пропускания является произведением относительной спектральной функции эффективности для УФ-излучения

и спектрального распределения солнечного излучения

.

. (E.1)
Значения весовой функции опасности синего света

заимствованы из
[9]; ниже 400 нм весовая функция опасности синего света

линейно экстраполируется на логарифмической шкале.
Полная весовая функция для расчета коэффициента пропускания синего света является произведением весовой функции опасности синего света

и функции спектрального распределения солнечного излучения

.

. (E.2)
Таблица E.1
Спектральные весовые функции для расчета УФ-пропускания
и светового коэффициента пропускания
в синей области солнечного спектра
Длина волны  , нм | Спектральное распределение солнечного излучения  , мВ/м 2/нм | Относительная спектральная функция эффективности  | Весовая функция  | Весовая функция опасности синего света  | Весовая функция  |
280 | 0 | 0,88 | 0 | | |
285 | 0 | 0,77 | 0 | | |
290 | 0 | 0,64 | 0 | | |
295 | 2,09·10-4 | 0,54 | 0,00011 | | |
300 | 8,10·10-2 | 0,30 | 0,0243 | | |
305 | 1,91 | 0,060 | 0,115 | | |
310 | 11,0 | 0,015 | 0,165 | | |
315 | 30,0 | 0,003 | 0,090 | | |
320 | 54,0 | 0,0010 | 0,054 | | |
325 | 79,2 | 0,00050 | 0,040 | | |
330 | 101 | 0,00041 | 0,041 | | |
335 | 128 | 0,00034 | 0,044 | | |
340 | 151 | 0,00028 | 0,042 | | |
345 | 170 | 0,00024 | 0,041 | | |
350 | 188 | 0,00020 | 0,038 | | |
355 | 210 | 0,00016 | 0,034 | | |
360 | 233 | 0,00013 | 0,030 | | |
365 | 253 | 0,00011 | 0,028 | | |
370 | 279 | 0,000093 | 0,026 | | |
375 | 306 | 0,000077 | 0,024 | | |
380 | 336 | 0,000064 | 0,022 | 0,006 | 2 |
385 | 365 | | | 0,012 | 4 |
390 | 397 | | | 0,025 | 10 |
395 | 432 | | | 0,05 | 22 |
400 | 470 | | | 0,10 | 47 |
405 | 562 | | | 0,20 | 112 |
410 | 672 | | | 0,40 | 269 |
415 | 705 | | | 0,80 | 564 |
420 | 733 | | | 0,90 | 660 |
425 | 760 | | | 0,95 | 722 |
430 | 787 | | | 0,98 | 771 |
435 | 849 | | | 1,00 | 849 |
440 | 911 | | | 1,00 | 911 |
445 | 959 | | | 0,97 | 930 |
450 | 1006 | | | 0,94 | 946 |
455 | 1037 | | | 0,90 | 933 |
460 | 1080 | | | 0,80 | 864 |
465 | 1109 | | | 0,70 | 776 |
470 | 1138 | | | 0,62 | 706 |
475 | 1161 | | | 0,55 | 639 |
480 | 1183 | | | 0,45 | 532 |
485 | 1197 | | | 0,40 | 479 |
490 | 1210 | | | 0,22 | 266 |
495 | 1213 | | | 0,16 | 194 |
500 | 1215 | | | 0,10 | 122 |
(обязательное)
СПЕКТРАЛЬНОЕ РАСПРЕДЕЛЕНИЕ ПОВЕРХНОСТНОЙ ПЛОТНОСТИ ПОТОКА
СОЛНЕЧНОГО ИЗЛУЧЕНИЯ В ИНФРАКРАСНОМ СПЕКТРЕ ДЛЯ РАСЧЕТА
КОЭФФИЦИЕНТА ПРОПУСКАНИЯ СОЛНЕЧНОГО
ИНФРАКРАСНОГО ИЗЛУЧЕНИЯ [7]
Таблица F.1
Спектральное распределение поверхностной плотности потока
солнечного излучения в инфракрасном спектре для расчета
коэффициента пропускания солнечного инфракрасного излучения
Длина волны  , нм | Спектральная освещенность  , мВ/м 2/нм |
780 | 907 |
790 | 923 |
800 | 857 |
810 | 698 |
820 | 801 |
830 | 863 |
840 | 858 |
850 | 839 |
860 | 813 |
870 | 798 |
880 | 614 |
890 | 517 |
900 | 480 |
910 | 375 |
920 | 258 |
930 | 169 |
940 | 278 |
950 | 487 |
960 | 584 |
970 | 633 |
980 | 645 |
990 | 643 |
1000 | 630 |
1010 | 620 |
1020 | 610 |
1030 | 601 |
1040 | 592 |
1050 | 551 |
1060 | 526 |
1070 | 519 |
1080 | 512 |
1090 | 514 |
1100 | 252 |
1110 | 126 |
1120 | 69,9 |
1130 | 98,3 |
1140 | 164 |
1150 | 216 |
1160 | 271 |
1170 | 328 |
1180 | 346 |
1190 | 344 |
1200 | 373 |
1210 | 402 |
1220 | 431 |
1230 | 420 |
1240 | 387 |
1250 | 328 |
1260 | 311 |
1270 | 381 |
1280 | 382 |
1290 | 346 |
1300 | 264 |
1310 | 208 |
1320 | 168 |
1330 | 115 |
1340 | 58,1 |
1350 | 18,1 |
1360 | 0,660 |
1370 | 0 |
1380 | 0 |
1390 | 0 |
1400 | 0 |
1410 | 1,91 |
1420 | 3,72 |
1430 | 7,53 |
1440 | 13,7 |
1450 | 23,8 |
1460 | 30,5 |
1470 | 45,1 |
1480 | 83,7 |
1490 | 128 |
1500 | 157 |
1510 | 187 |
1520 | 209 |
1530 | 217 |
1540 | 226 |
1550 | 221 |
1560 | 217 |
1570 | 213 |
1580 | 209 |
1590 | 205 |
1600 | 202 |
1610 | 198 |
1620 | 194 |
1630 | 189 |
1640 | 184 |
1650 | 173 |
1660 | 163 |
1670 | 159 |
1680 | 145 |
1690 | 139 |
1700 | 132 |
1710 | 124 |
1720 | 115 |
1730 | 105 |
1740 | 97,1 |
1750 | 80,2 |
1760 | 58,9 |
1770 | 38,8 |
1780 | 18,4 |
1790 | 5,70 |
1800 | 0,92 |
1810 | 0 |
1820 | 0 |
1830 | 0 |
1840 | 0 |
1850 | 0 |
1860 | 0 |
1870 | 0 |
1880 | 0 |
1890 | 0 |
1900 | 0 |
1910 | 0,705 |
1920 | 2,34 |
1930 | 3,68 |
1940 | 5,30 |
1950 | 17,7 |
1960 | 31,7 |
1970 | 37,7 |
1980 | 22,6 |
1990 | 1,58 |
2000 | 2,66 |
(обязательное)
ЭТАЛОННЫЕ ГОЛОВЫ-МАНЕКЕНЫ
Существует два размера эталонной головы-манекена для испытаний, описанных в настоящем стандарте. Форма головы-манекена среднего размера на 50% приближена к форме головы европейского взрослого мужчины. Форма головы-манекена малого размера на 60% приближена к форме головы 12-летнего европейского ребенка. Номинальные размеры указаны на
рисунке G.1; подробности конструкции приведены ниже и в
примечаниях к рисунку.
Рисунок G.1 - Эталонные головы-манекены
| Длина, мм |
Голова-манекен малого размера | Голова-манекен среднего размера |
a | 206 | 218 |
b | 146 | 156 |
c | 110 | 111 |
d | 131 | 144 |
e | 166 | 178 |
f | 113 | 123 |
g | 54 | 64 |
Когда в настоящем стандарте приведена ссылка на голову-манекен, указанную в этом приложении, размер используемой формы головы (средней или малой) должен соответствовать размеру средств защиты глаз. Если иное не указано производителем средства защиты глаз, следует использовать голову-манекен среднего размера.
Соответствие головы-манекена, указанной для средства защиты глаз, должно быть подтверждено испытательным центром. Все испытания средства защиты глаз выполняют с использованием только одного выбранного размера модели головы.
Каждая голова-манекен может быть выполнена в одном из трех материалов:
a) эпоксидная смола (с обозначением подлежащих защите областей);
b) алюминий;
c) полиуретан твердостью (50 +/- 5) IRHD, слой которого толщиной 12 мм нанесен на внутренний сердечник.
Голова-манекен, вылитая из эпоксидной смолы, наиболее подходит для оценки областей защиты и поля зрения.
Для оценки устойчивости к ударам (см.
9.3.2.1,
9.4.2.1,
9.5.2.1) следует использовать только покрытую полиуретаном голову-манекен.
Алюминиевую голову-манекен следует применять для оценки требований к нерадиационному промышленному использованию.
(обязательное)
СПЕКТРАЛЬНОЕ РАСПРЕДЕЛЕНИЕ ИЗЛУЧЕНИЯ В СИГНАЛЬНЫХ ОГНЯХ
С ЛАМПАМИ НАКАЛИВАНИЯ, ВЗВЕШЕННОЕ ПО ЧУВСТВИТЕЛЬНОСТИ
ЧЕЛОВЕЧЕСКОГО ГЛАЗА 
Таблица H.1
Спектральное распределение излучения в сигнальных огнях
с лампами накаливания, взвешенное по чувствительности
человеческого глаза

Длина волны  , нм | Красный | Желтый | Зеленый | Синий |
380 | 0,000 | 0,000 | 0,000 | 0,000 |
385 | 0,000 | 0,000 | 0,000 | 0,000 |
390 | 0,000 | 0,000 | 0,000 | 0,000 |
395 | 0,000 | 0,000 | 0,000 | 0,000 |
400 | 0,000 | 0,000 | 0,000 | 0,010 |
405 | 0,000 | 0,000 | 0,000 | 0,010 |
410 | 0,000 | 0,000 | 0,000 | 0,030 |
415 | 0,000 | 0,000 | 0,000 | 0,060 |
420 | 0,000 | 0,000 | 0,000 | 0,120 |
425 | 0,000 | 0,000 | 0,000 | 0,250 |
430 | 0,000 | 0,000 | 0,000 | 0,440 |
435 | 0,000 | 0,000 | 0,010 | 0,680 |
440 | 0,000 | 0,000 | 0,020 | 0,970 |
445 | 0,000 | 0,000 | 0,030 | 1,260 |
450 | 0,000 | 0,000 | 0,050 | 1,600 |
455 | 0,000 | 0,000 | 0,080 | 1,950 |
460 | 0,000 | 0,000 | 0,120 | 2,350 |
465 | 0,000 | 0,000 | 0,180 | 2,760 |
470 | 0,000 | 0,000 | 0,270 | 3,230 |
475 | 0,000 | 0,010 | 0,380 | 3,720 |
480 | 0,000 | 0,010 | 0,540 | 4,240 |
485 | 0,000 | 0,020 | 0,740 | 4,650 |
490 | 0,000 | 0,040 | 1,020 | 5,080 |
495 | 0,000 | 0,070 | 1,410 | 5,510 |
500 | 0,010 | 0,120 | 1,910 | 5,870 |
505 | 0,010 | 0,200 | 2,610 | 6,450 |
510 | 0,010 | 0,320 | 3,430 | 6,800 |
515 | 0,010 | 0,490 | 4,370 | 6,660 |
520 | 0,010 | 0,760 | 5,320 | 5,950 |
525 | 0,020 | 1,160 | 6,130 | 5,150 |
530 | 0,020 | 1,700 | 6,860 | 3,960 |
535 | 0,020 | 2,350 | 7,370 | 3,370 |
540 | 0,020 | 3,060 | 7,700 | 2,650 |
545 | 0,020 | 3,710 | 7,750 | 2,320 |
550 | 0,020 | 4,260 | 7,340 | 1,940 |
555 | 0,020 | 4,730 | 6,460 | 1,460 |
560 | 0,030 | 5,050 | 5,480 | 0,970 |
565 | 0,040 | 5,270 | 4,790 | 0,660 |
570 | 0,080 | 5,440 | 4,340 | 0,360 |
575 | 0,230 | 5,470 | 3,770 | 0,280 |
580 | 0,670 | 5,430 | 3,040 | 0,200 |
585 | 1,640 | 5,320 | 2,400 | 0,220 |
590 | 3,320 | 5,160 | 1,790 | 0,240 |
595 | 5,400 | 4,940 | 1,050 | 0,230 |
600 | 7,320 | 4,670 | 0,400 | 0,230 |
605 | 8,750 | 4,380 | 0,120 | 0,180 |
610 | 9,350 | 4,040 | 0,050 | 0,130 |
615 | 9,320 | 3,640 | 0,060 | 0,100 |
620 | 8,950 | 3,270 | 0,090 | 0,060 |
625 | 8,080 | 2,840 | 0,110 | 0,070 |
630 | 7,070 | 2,420 | 0,100 | 0,070 |
635 | 6,100 | 2,030 | 0,070 | 0,160 |
640 | 5,150 | 1,700 | 0,040 | 0,210 |
645 | 4,230 | 1,390 | 0,020 | 0,430 |
650 | 3,410 | 1,110 | 0,020 | 0,540 |
655 | 2,690 | 0,870 | 0,010 | 0,420 |
660 | 2,090 | 0,670 | 0,000 | 0,320 |
665 | 1,570 | 0,510 | 0,000 | 0,210 |
670 | 1,150 | 0,370 | 0,000 | 0,140 |
675 | 0,850 | 0,280 | 0,000 | 0,260 |
680 | 0,640 | 0,210 | 0,000 | 0,300 |
685 | 0,470 | 0,150 | 0,000 | 0,320 |
690 | 0,330 | 0,100 | 0,000 | 0,300 |
695 | 0,240 | 0,070 | 0,000 | 0,230 |
700 | 0,180 | 0,060 | 0,010 | 0,180 |
705 | 0,130 | 0,040 | 0,020 | 0,130 |
710 | 0,090 | 0,030 | 0,020 | 0,100 |
715 | 0,070 | 0,020 | 0,020 | 0,070 |
720 | 0,050 | 0,010 | 0,020 | 0,050 |
725 | 0,030 | 0,010 | 0,020 | 0,030 |
730 | 0,020 | 0,010 | 0,010 | 0,030 |
735 | 0,020 | 0,010 | 0,010 | 0,020 |
740 | 0,010 | 0,000 | 0,010 | 0,010 |
745 | 0,010 | 0,000 | 0,010 | 0,010 |
750 | 0,010 | 0,000 | 0,000 | 0,010 |
755 | 0,010 | 0,000 | 0,000 | 0,010 |
760 | 0,010 | 0,000 | 0,000 | 0,010 |
765 | 0,000 | 0,000 | 0,000 | 0,000 |
770 | 0,000 | 0,000 | 0,000 | 0,000 |
775 | 0,000 | 0,000 | 0,000 | 0,000 |
780 | 0,000 | 0,000 | 0,000 | 0,000 |
| | | | |
Сумма | 100,000 | 100,000 | 100,000 | 100,000 |
(справочное)
СПЕКТРАЛЬНОЕ РАСПРЕДЕЛЕНИЕ ИЗЛУЧЕНИЯ СВЕТОДИОДНЫХ
СИГНАЛЬНЫХ ОГНЕЙ, ВЗВЕШЕННОЕ ПО ЧУВСТВИТЕЛЬНОСТИ
ЧЕЛОВЕЧЕСКОГО ГЛАЗА 
Таблица I.1
Спектральное распределение излучения светодиодных
сигнальных огней, взвешенное по чувствительности
человеческого глаза

Длина волны  , нм | Красный LED | Желтый LED | Зеленый LED | Синий LED |
380 | 0,000 | 0,000 | 0,000 | 0,000 |
385 | 0,000 | 0,000 | 0,000 | 0,000 |
390 | 0,000 | 0,000 | 0,000 | 0,000 |
395 | 0,000 | 0,000 | 0,000 | 0,000 |
400 | 0,000 | 0,000 | 0,000 | 0,000 |
405 | 0,000 | 0,000 | 0,000 | 0,000 |
410 | 0,000 | 0,000 | 0,000 | 0,000 |
415 | 0,000 | 0,000 | 0,000 | 0,000 |
420 | 0,000 | 0,000 | 0,000 | 0,000 |
425 | 0,000 | 0,000 | 0,000 | 0,010 |
430 | 0,000 | 0,000 | 0,000 | 0,050 |
435 | 0,000 | 0,000 | 0,000 | 0,170 |
440 | 0,000 | 0,000 | 0,010 | 0,550 |
445 | 0,000 | 0,000 | 0,010 | 1,650 |
450 | 0,000 | 0,000 | 0,020 | 4,470 |
455 | 0,000 | 0,000 | 0,040 | 9,600 |
460 | 0,000 | 0,000 | 0,090 | 14,170 |
465 | 0,000 | 0,000 | 0,190 | 13,990 |
470 | 0,000 | 0,000 | 0,450 | 11,180 |
475 | 0,000 | 0,000 | 1,010 | 9,070 |
480 | 0,000 | 0,000 | 2,130 | 7,370 |
485 | 0,000 | 0,000 | 4,000 | 5,470 |
490 | 0,000 | 0,000 | 6,530 | 4,210 |
495 | 0,000 | 0,000 | 9,380 | 3,380 |
500 | 0,000 | 0,000 | 11,340 | 2,690 |
505 | 0,000 | 0,000 | 11,820 | 2,160 |
510 | 0,000 | 0,000 | 11,150 | 1,760 |
515 | 0,000 | 0,000 | 9,840 | 1,410 |
520 | 0,000 | 0,010 | 8,220 | 1,140 |
525 | 0,000 | 0,010 | 6,550 | 0,900 |
530 | 0,000 | 0,020 | 4,890 | 0,690 |
535 | 0,000 | 0,030 | 3,570 | 0,570 |
540 | 0,000 | 0,050 | 2,630 | 0,480 |
545 | 0,000 | 0,120 | 1,870 | 0,410 |
550 | 0,000 | 0,240 | 1,290 | 0,330 |
555 | 0,010 | 0,500 | 0,930 | 0,270 |
560 | 0,020 | 1,000 | 0,630 | 0,220 |
565 | 0,040 | 1,850 | 0,430 | 0,220 |
570 | 0,070 | 3,390 | 0,300 | 0,200 |
575 | 0,110 | 6,080 | 0,210 | 0,170 |
580 | 0,210 | 11,180 | 0,140 | 0,140 |
585 | 0,400 | 20,100 | 0,090 | 0,110 |
590 | 0,690 | 26,720 | 0,070 | 0,140 |
595 | 1,110 | 18,530 | 0,050 | 0,120 |
600 | 1,710 | 6,910 | 0,030 | 0,090 |
605 | 2,520 | 2,200 | 0,020 | 0,070 |
610 | 3,640 | 0,700 | 0,020 | 0,090 |
615 | 5,350 | 0,230 | 0,010 | 0,050 |
620 | 7,990 | 0,080 | 0,010 | 0,040 |
625 | 12,220 | 0,030 | 0,010 | 0,030 |
630 | 17,410 | 0,010 | 0,010 | 0,040 |
635 | 19,030 | 0,010 | 0,010 | 0,040 |
640 | 14,200 | 0,000 | 0,000 | 0,020 |
645 | 7,800 | 0,000 | 0,000 | 0,020 |
650 | 3,380 | 0,000 | 0,000 | 0,010 |
655 | 1,320 | 0,000 | 0,000 | 0,010 |
660 | 0,490 | 0,000 | 0,000 | 0,010 |
665 | 0,180 | 0,000 | 0,000 | 0,010 |
670 | 0,060 | 0,000 | 0,000 | 0,000 |
675 | 0,030 | 0,000 | 0,000 | 0,000 |
680 | 0,010 | 0,000 | 0,000 | 0,000 |
685 | 0,000 | 0,000 | 0,000 | 0,000 |
690 | 0,000 | 0,000 | 0,000 | 0,000 |
695 | 0,000 | 0,000 | 0,000 | 0,000 |
700 | 0,000 | 0,000 | 0,000 | 0,000 |
705 | 0,000 | 0,000 | 0,000 | 0,000 |
710 | 0,000 | 0,000 | 0,000 | 0,000 |
715 | 0,000 | 0,000 | 0,000 | 0,000 |
720 | 0,000 | 0,000 | 0,000 | 0,000 |
725 | 0,000 | 0,000 | 0,000 | 0,000 |
730 | 0,000 | 0,000 | 0,000 | 0,000 |
735 | 0,000 | 0,000 | 0,000 | 0,000 |
740 | 0,000 | 0,000 | 0,000 | 0,000 |
745 | 0,000 | 0,000 | 0,000 | 0,000 |
750 | 0,000 | 0,000 | 0,000 | 0,000 |
755 | 0,000 | 0,000 | 0,000 | 0,000 |
760 | 0,000 | 0,000 | 0,000 | 0,000 |
765 | 0,000 | 0,000 | 0,000 | 0,000 |
770 | 0,000 | 0,000 | 0,000 | 0,000 |
775 | 0,000 | 0,000 | 0,000 | 0,000 |
780 | 0,000 | 0,000 | 0,000 | 0,000 |
| | | | |
Сумма | 100,000 | 100,000 | 100,000 | 100,000 |
(обязательное)
ДЛИННОВОЛНОВЫЙ ПРОПУСКАЮЩИЙ СВЕТОФИЛЬТР
Излучение, испускаемое лампой, используемой в
9.8 для испытания на устойчивость к излучению, должно фильтроваться с помощью длинноволнового пропускающего фильтра с кривой пропускания, лежащей в диапазоне длин волн, ограниченном верхним и нижним пределами, определенными в
таблице J.1. Номинальное положение границы поглощения этого фильтра находится там, где

соответствует длине волны (320 +/- 5) нм. Подходящим светофильтром для этой цели является кронглас
B 270 <1> толщиной 4 мм. Значения коэффициента пропускания для длин волн с незаполненными ячейками и значения между указанными положениями длин волн можно рассчитать с помощью линейной интерполяции.
--------------------------------
<1> Schott B270 является торговым наименованием продукта, поставляемого SCHOTT. Эта информация предоставлена для удобства пользователей настоящего стандарта. Допускается применение аналогичного оборудования, если доказано, что оно приводит к тем же результатам.
Таблица J.1
Спектральные характеристики для фильтрации УФ-излучения
для испытания на устойчивость к излучению
Длина волны  , нм | Нижний предел пропускания | Номинальное значение, % | Верхний предел пропускания |
280,0 | < 0,1 | < 0,1 | < 0,1 |
287,0 | | | < 0,1 |
288,0 | | | 0,1 |
289,0 | | | 0,2 |
290,0 | | | 0,3 |
291,0 | | < 0,1 | 0,5 |
292,0 | | 0,1 | 0,7 |
293,0 | | 0,2 | 1,0 |
294,0 | | 0,3 | 1,5 |
295,0 | | 0,5 | 2,1 |
296,0 | | 0,7 | 2,8 |
297,0 | < 0,1 | 1,1 | 3,7 |
298,0 | 0,1 | 1,5 | 4,9 |
299,0 | 0,2 | 2,1 | 6,1 |
300,0 | 0,3 | 2,8 | 7,6 |
301,0 | 0,5 | 3,6 | 9,3 |
302,0 | 0,8 | 4,7 | 11,2 |
303,0 | 1,1 | 5,9 | 13,4 |
304,0 | 1,6 | 7,3 | 15,6 |
305,0 | 2,2 | 8,9 | 18,0 |
306,0 | 3,0 | 10,7 | 20,5 |
307,0 | 4,0 | 12,7 | 23,2 |
308,0 | 5,2 | 14,9 | 26,0 |
309,0 | 6,6 | 17,2 | 28,8 |
310,0 | 8,1 | 19,6 | 31,7 |
311,0 | 9,9 | 22,1 | 34,5 |
312,0 | 11,9 | 24,7 | 37,4 |
313,0 | 14,0 | 27,4 | 40,2 |
314,0 | 16,3 | 30,1 | 42,9 |
315,0 | 18,7 | 32,8 | 45,7 |
316,0 | 21,3 | 35,5 | 48,2 |
317,0 | 24,0 | 38,2 | 50,8 |
318,0 | 26,7 | 41,0 | 53,3 |
319,0 | 29,5 | 43,5 | 55,6 |
320,0 | 32,3 | 46,2 | 57,9 |
321,0 | 35,1 | 48,7 | 60,0 |
322,0 | 37,9 | 51,1 | 62,1 |
323,0 | 40,8 | 53,5 | 64,1 |
324,0 | 43,5 | 55,7 | 65,9 |
325,0 | 46,1 | 57,8 | 67,7 |
326,0 | 48,7 | 60,0 | 69,3 |
327,0 | 51,3 | 61,9 | 70,9 |
328,0 | 53,7 | 63,7 | 72,4 |
329,0 | 55,9 | 65,5 | 73,7 |
330,0 | 58,1 | 67,2 | 74,9 |
331,0 | 60,3 | 68,7 | 76,1 |
332,0 | 62,3 | 70,2 | 77,1 |
333,0 | 64,1 | 71,6 | 78,2 |
334,0 | 65,9 | 72,9 | 79,1 |
335,0 | 67,6 | 74,1 | 79,9 |
336,0 | 69,3 | 75,2 | 80,8 |
337,0 | 70,7 | 76,3 | 81,6 |
338,0 | 72,1 | 77,4 | 82,3 |
339,0 | 73,4 | 78,2 | 82,9 |
340,0 | 74,7 | 79,1 | 83,5 |
341,0 | 75,8 | 79,9 | 84,1 |
342,0 | 76,9 | 80,5 | 84,6 |
343,0 | 77,9 | 81,3 | 85,1 |
344,0 | 78,9 | 82,0 | 85,6 |
345,0 | 79,7 | 82,6 | 85,9 |
346,0 | 80,4 | 83,2 | 86,3 |
347,0 | 81,3 | 83,6 | 86,7 |
348,0 | 81,9 | 84,1 | 87,0 |
349,0 | 82,6 | 84,5 | 87,3 |
350,0 | 83,2 | 84,9 | 87,5 |
351,0 | 83,4 | 85,5 | 87,9 |
352,0 | 83,6 | 85,7 | 88,0 |
353,0 | 83,8 | 86,0 | 88,2 |
354,0 | 84,0 | 86,4 | 88,4 |
355,0 | 84,2 | 86,6 | 88,6 |
356,0 | 84,4 | 86,9 | 88,8 |
357,0 | 84,5 | 87,1 | 88,9 |
358,0 | 84,7 | 87,3 | 89,0 |
359,0 | 84,9 | 87,5 | 89,2 |
360,0 | 85,1 | 87,6 | 89,3 |
361,0 | 85,3 | 88,0 | 89,4 |
362,0 | 85,5 | 88,0 | 89,5 |
363,0 | 85,7 | 88,2 | 89,6 |
364,0 | 85,8 | 88,3 | 89,7 |
365,0 | 86,1 | 88,5 | 89,8 |
366,0 | 86,3 | 88,5 | 89,8 |
367,0 | 86,4 | 88,7 | 89,9 |
368,0 | 86,7 | 88,7 | 90,0 |
369,0 | 86,8 | 88,8 | |
370,0 | 87,0 | 88,9 | |
371,0 | | 88,9 | |
372,0 | | 88,9 | |
373,0 | | 89,0 | |
374,0 | | 88,8 | |
375,0 | | 88,8 | |
376,0 | | 88,8 | |
377,0 | | 88,9 | |
378,0 | | 88,8 | |
379,0 | | 89,0 | |
380,0 | | 89,0 | |
381,0 | | 89,0 | |
382,0 | | 89,1 | |
383,0 | | 89,2 | |
384,0 | | 89,2 | 91,0 |
385,0 | | 89,4 | |
386,0 | | 89,5 | |
387,0 | | 89,5 | |
388,0 | | 89,7 | |
389,0 | | 89,7 | |
390,0 | | 89,7 | |
391,0 | | 89,9 | |
392,0 | | 89,9 | |
393,0 | | 90,0 | |
394,0 | | 90,0 | |
395,0 | | 90,1 | |
396,0 | | 90,1 | |
397,0 | | 90,2 | |
398,0 | | 90,2 | |
399,0 | | 90,2 | |
400,0 | 89,0 | 90,3 | 93,0 |
600,0 | | 91,2 | |
800,0 | 89,0 | 91,4 | 93,0 |
(справочное)
МЕТОД ПЕРЕМЕННОГО РАССТОЯНИЯ ДЛЯ КАЛИБРОВКИ ЗРИТЕЛЬНОЙ ТРУБЫ
Настоящее приложение относится к
8.1. Калибровка устройства может быть достигнута измерением рефракции, зависящей от расстояния. Этот метод учитывает свойство того, что изменение расстояния между результатами зрительной трубы и освещаемого тест-объекта имеет тот же эффект, что и введение образца с определенной оптической силой. Для метода со зрительной трубой общая формула положительной линзы

, (K.1)
где f - фокусное расстояние объектива зрительной трубы;
b - расстояние до изображения;
g - расстояние объекта между зрительной трубой и освещаемым тест-объектом.
Если образец, имеющий рефракцию
D, помещают непосредственно перед объективом зрительной трубы, эта оптическая сила добавляется к мощности 1/
f объектива зрительной трубы. Изображение, видимое в зрительной трубе, можно сфокусировать, изменив расстояние до объекта
g установки, измененное на расстояние
d.
Формула (K.1) должна быть изменена на формулу

. (K.2)

. (K.3)
Таблица K.1 показывает общее расстояние
g +
d для калибровки с шагом 0,01 дптр, где для
g использовано требуемое значение 4,60 м.
Таблица K.1
Функциональная зависимость между измеренной оптической силой
и расстоянием между зрительной трубой и тест-объектом
для начального расстояния до объекта 4,6 м
Оптическая сила, дптр | Расстояние от зрительной трубы, мм | Оптическая сила, дптр | Расстояние от зрительной трубы, мм |
0 | 4600,0 | 0 | 4600,0 |
- 0,01 | 4397,7 | 0,01 | 4821,8 |
- 0,02 | 4212,5 | 0,02 | 5066,1 |
- 0,03 | 4042,2 | 0,03 | 5336,4 |
- 0,04 | 3885,1 | 0,04 | 5637,3 |
- 0,05 | 3739,8 | 0,05 | 5974,0 |
- 0,06 | 3605,0 | 0,06 | 6353,6 |
- 0,07 | 3479,6 | 0,07 | 6784,7 |
- 0,08 | 3362,6 | 0,08 | 7278,5 |
- 0,09 | 3253,2 | 0,09 | 7849,8 |
- 0,1 | 3150,7 | 0,1 | 8518,5 |
- 0,11 | 3054,4 | 0,11 | 9311,7 |
- 0,12 | 2963,9 | 0,12 | 10 267,9 |
- 0,13 | 2878,6 | 0,13 | 11 442,8 |
- 0,14 | 2798,1 | 0,14 | 12 921,3 |
- 0,15 | 2721,9 | 0,15 | 14 838,7 |
- 0,16 | 2649,8 | 0,16 | 17 424,2 |
- 0,17 | 2581,4 | 0,17 | 21 100,9 |
- 0,18 | 2516,4 | 0,18 | 26 744,2 |
- 0,19 | 2454,6 | 0,19 | 36 507,9 |
- 0,2 | 2395,8 | 0,2 | 57 500,0 |
- 0,21 | 2339,8 | | |
- 0,22 | 2286,3 | | |
- 0,23 | 2235,2 | | |
- 0,24 | 2186,3 | | |
- 0,25 | 2139,5 | | |
После того как выполнена полная калибровка с использованием этих значений, можно регулярно проверять установку, фокусируя зрительную трубу на тест-объекте, расположенном на определенном расстоянии от зрительной трубы.
(обязательное)
МЕТОД КОРРЕКТИРОВКИ КОЭФФИЦИЕНТА ПРОПУСКАНИЯ
ПРИ ИЗМЕНЕНИИ ТОЛЩИНЫ СВЕТОФИЛЬТРА
Следующее соотношение сохраняется между коэффициентом пропускания

и толщиной
t, если пренебречь множественными отражениями в образце и образец сделан из такого материала, в котором окраска равномерно распределена по всему материалу, а не нанесена на поверхность или в поверхностный слой светофильтра

, (L.1)
где

- коэффициент отражения внешней поверхности;

- коэффициент отражения внутренней поверхности;
t - толщина, измеренная штангенциркулем в контрольной точке светофильтра;
k - коэффициент поглощения.
Коэффициент поглощения
k сможет быть рассчитан по коэффициенту пропускания

для контрольной толщины
t следующим образом

. (L.2)
Ожидаемый коэффициент пропускания для другой толщины может быть рассчитан по
формуле (L.1).
Если показатель преломления
n известен и обработка поверхности отсутствует, коэффициент отражения

вычисляют по формуле

. (L.3)
Например, светофильтр с показателем преломления
n = 1,5, толщиной
t = 2 мм по центру и коэффициентом пропускания в этой точке

; его коэффициент отражения (внешняя поверхность или внутренняя поверхность без обработки) будет составлять

. Используя это значение для

и

в
формуле (L.2), вычисляют коэффициент поглощения
k = 0,56 мм
-1. Следовательно, если коэффициент пропускания, измеренный на краю светофильтра, где толщина составляет 1,8 мм, составляет 33,5%, то можно предположить, что изменения коэффициента пропускания происходят только из-за изменений в толщине светофильтра.
Примечание - Коэффициент отражения внешней и/или внутренней поверхности также можно измерять напрямую, используя метод, описанный в
7.7. Этот метод рекомендуется, когда поверхность светофильтра проходила обработку.
(справочное)
СВЕДЕНИЯ О СООТВЕТСТВИИ ССЫЛОЧНЫХ МЕЖДУНАРОДНЫХ СТАНДАРТОВ
МЕЖГОСУДАРСТВЕННЫМ СТАНДАРТАМ
Таблица ДА.1
Обозначение ссылочного международного стандарта | Степень соответствия | Обозначение и наименование соответствующего межгосударственного стандарта |
ISO 37 | IDT | ГОСТ ISO 37-2013 "Резина или термопластик. Определение упругопрочностных свойств при растяжении" |
ISO 48 | - | |
ISO 1042:1998 | - | |
ISO 3696:1987 | - | |
ISO 4007 | IDT | ГОСТ ISO 4007-2016 "Система стандартов безопасности труда. Средства индивидуальной защиты глаз и лица. Словарь" |
ISO 8596 | - | |
ISO 11664-1 | - | |
ISO 11664-2 | - | |
ISO 12312-1:2013 | IDT | ГОСТ ISO 12312-1-2020 "Средства индивидуальной защиты глаз. Очки солнцезащитные и аналогичные. Часть 1. Очки солнцезащитные для общего применения" |
ISO/IEC Guide 98-3:2008 | IDT | ГОСТ 34100.3-2017/ISO/IEC Guide 98-3:2008 "Неопределенность измерения. Часть 3. Руководство по выражению неопределенности измерения" |
<*> Соответствующий межгосударственный стандарт отсутствует. До его принятия рекомендуется использовать перевод на русский язык данного международного стандарта. Официальный перевод данного международного стандарта находится в Федеральном информационном фонде стандартов. Примечание - В настоящей таблице использовано следующее условное обозначение степени соответствия стандартов: - IDT - идентичные стандарты. |
[1] | ISO 8598-1 | Optics and optical instruments - Focimeters - Part 1: General purpose instruments used for measuring spectacle lenses (Оптика и оптические приборы. Диоптриметры. Часть 1. Приборы общего назначения, используемые для измерения очковых линз) |
[2] | ISO 8624 | Ophthalmic optics - Spectacle frames - Measuring system and terminology (Оптика офтальмологическая. Оправа для очков. Система для измерения и терминология) |
[3] | ISO 12870 | Ophthalmic optics - Spectacle frames - Requirements and test methods (Оптика офтальмологическая. Оправы для очков. Общие требования и методы испытаний) |
[4] | ISO/IEC 17025 | General requirements for the competence of testing and calibration laboratories (Общие требования к компетентности испытательных и калибровочных лабораторий) |
[5] | ISO/TR 28980 | Ophthalmic optics - Spectacle lenses - Parameters affecting lens power measurement (Оптика офтальмологическая. Очковые линзы. Параметры, влияющие на измерение оптической силы линзы) |
[6] | CIE 85:1989 | Solar spectral irradiance |
| Moon P. Proposed standard solar-radiation curves for engineering use, J, Franklin Inst, 230 (1940), 583-617ICNIRP, Guidelines on UV radiation exposure limits. Health Phys. 1996, 71 p. 978 |
| The International Commission on Non-Ionizing Radiation Protection (ICNIRP). Guidelines on limits of exposure to ultraviolet radiation of wavelengths between 180 nm and 400 nm (incoherent optical radiation). Health Phys. 2004, 87 (2) pp. 171 - 186 |
| ACGIH, Threshold limit values for chemical substances and physical agents, 1992 - 1993 |
| Commission Internationale de  . Publication 15. Colorimetry, Third Edition, 2004 |
УДК 614.893.2:006.354 | | IDT |
Ключевые слова: средства индивидуальной защиты глаз, очки солнцезащитные и аналогичные, методы испытаний для определения защитных свойств, методы испытаний для определения пропускания, методы испытаний для определения оптических характеристик, методы испытаний для определения механических характеристик |