Главная // Актуальные документы // ГОСТ (Государственный стандарт)
СПРАВКА
Источник публикации
М.: ФГБУ "РСТ", 2021
Примечание к документу
Текст данного документа приведен с учетом поправки, введенной в действие с 01.10.2021, опубликованной в "ИУС", N 2, 2022.

Документ введен в действие с 01.03.2022.

Взамен ГОСТ ISO 10555-1-2011.
Название документа
"ГОСТ ISO 10555-1-2021. Межгосударственный стандарт. Катетеры внутрисосудистые однократного применения стерильные. Часть 1. Общие требования"
(введен в действие Приказом Росстандарта от 12.10.2021 N 1129-ст)

"ГОСТ ISO 10555-1-2021. Межгосударственный стандарт. Катетеры внутрисосудистые однократного применения стерильные. Часть 1. Общие требования"
(введен в действие Приказом Росстандарта от 12.10.2021 N 1129-ст)


Содержание


Введен в действие
Приказом Федерального
агентства по техническому
регулированию и метрологии
от 12 октября 2021 г. N 1129-ст
МЕЖГОСУДАРСТВЕННЫЙ СТАНДАРТ
КАТЕТЕРЫ ВНУТРИСОСУДИСТЫЕ ОДНОКРАТНОГО ПРИМЕНЕНИЯ СТЕРИЛЬНЫЕ
ЧАСТЬ 1
ОБЩИЕ ТРЕБОВАНИЯ
Intravascular sterile and single-use
catheters. Part 1. General requirements
(ISO 10555-1:2013+Amd.1:2017, IDT)
ГОСТ ISO 10555-1-2021
МКС 11.040.20
Дата введения
1 марта 2022 года
Предисловие
Цели, основные принципы и общие правила проведения работ по межгосударственной стандартизации установлены ГОСТ 1.0 "Межгосударственная система стандартизации. Основные положения" и ГОСТ 1.2 "Межгосударственная система стандартизации. Стандарты межгосударственные, правила и рекомендации по межгосударственной стандартизации. Правила разработки, принятия, обновления и отмены"
Сведения о стандарте
1 ПОДГОТОВЛЕН Федеральным государственным бюджетным учреждением "Российский институт стандартизации" (ФГБУ "РСТ") и Обществом с ограниченной ответственностью "Медтехстандарт" (ООО "Медтехстандарт") на основе собственного перевода на русский язык англоязычной версии стандарта, указанного в пункте 5
2 ВНЕСЕН Федеральным агентством по техническому регулированию и метрологии
3 ПРИНЯТ Межгосударственным советом по стандартизации, метрологии и сертификации (протокол от 26 августа 2021 г. N 142-П)
За принятие проголосовали:
Краткое наименование страны по МК (ИСО 3166) 004-97
Код страны по МК (ИСО 3166) 004-97
Сокращенное наименование национального органа по стандартизации
Армения
AM
ЗАО "Национальный орган по стандартизации и метрологии" Республики Армения
Беларусь
BY
Госстандарт Республики Беларусь
Киргизия
KG
Кыргызстандарт
Россия
RU
Росстандарт
Таджикистан
TJ
Таджикстандарт
Узбекистан
UZ
Узстандарт
4 Приказом Федерального агентства по техническому регулированию и метрологии от 12 октября 2021 г. N 1129-ст межгосударственный стандарт ГОСТ ISO 10555-1-2021 введен в действие в качестве национального стандарта Российской Федерации с 1 марта 2022 г.
5 Настоящий стандарт идентичен международному стандарту ISO 10555-1:2013 "Катетеры внутрисосудистые однократного применения стерильные. Часть 1. Общие требования" ("Intravascular catheters - Sterile and single-use catheters - Part 1: General requirements", IDT), включая изменение Amd.1:2017. Изменение внесено в текст настоящего стандарта и выделено двойной вертикальной линией, расположенной на полях напротив соответствующего текста, а обозначение и год его принятия приведены в скобках после соответствующего текста.
Международный стандарт разработан Техническим комитетом по стандартизации ISO/TC 84 "Устройства для введения лекарственных препаратов и внутрисосудистые катетеры" Международной организации по стандартизации (ISO).
При применении настоящего стандарта рекомендуется использовать вместо ссылочных международных стандартов соответствующие им межгосударственные стандарты, сведения о которых приведены в дополнительном приложении ДА
6 ВЗАМЕН ГОСТ ISO 10555-1-2011
Информация о введении в действие (прекращении действия) настоящего стандарта и изменений к нему на территории указанных выше государств публикуется в указателях национальных стандартов, издаваемых в этих государствах, а также в сети Интернет на сайтах соответствующих национальных органов по стандартизации.
В случае пересмотра, изменения или отмены настоящего стандарта соответствующая информация будет опубликована на официальном интернет-сайте Межгосударственного совета по стандартизации, метрологии и сертификации в каталоге "Межгосударственные стандарты"
Введение
Настоящий стандарт идентичен международному стандарту ISO 10555-1:2013 "Катетеры внутрисосудистые однократного применения стерильные. Часть 1. Общие требования", разработанного Техническим комитетом по стандартизации ISO/TC 84 "Устройства для введения лекарственных препаратов и внутрисосудистые катетеры" Международной организации по стандартизации (ISO).
Второе издание отменяет и заменяет первое издание (ISO 10555-5:1995), которое было технически пересмотрено. Оно также включает изменения ISO 10555-1:1995/Amd 1:1999 и ISO 10555-1:1995/Amd 2:2004.
Серия ISO 10555 под общим заголовком "Катетеры внутрисосудистые однократного применения стерильные" состоит из следующих частей:
- Часть 1. Общие требования
- Часть 3. Центральные венозные катетеры
- Часть 4. Катетеры для баллонной дилатации
- Часть 5. Периферические катетеры с внутренней иглой
Разрабатывается следующая часть:
- Часть 6. Подкожные имплантируемые порты <1>
--------------------------------
<1> ISO 10555-6:2015 действует и доступен с даты опубликования 15.04.2015 г.
Следующая часть была отменена, а ее содержимое включено в ISO 10555-1:
- Часть 2. Ангиографические катетеры
Необходимо учитывать ISO 11070 <2>, в котором определены требования к дополнительным устройствам, используемым с внутрисосудистыми катетерами.
--------------------------------
<2> ISO 11070:2014, Sterile single-use intravascular introducers, dilators and guidewires (Интродьюсеры, расширители и проволочные проводники однократного применения стерильные). Не отражен в разделе 2 и Библиографии. Соответствующий межгосударственный стандарт отсутствует. До его принятия рекомендуется использовать перевод на русский язык данного международного стандарта.
1 Область применения
Настоящий стандарт устанавливает общие требования к внутрисосудистым катетерам, поставляемым в стерильном состоянии и предназначенным для однократного применения в любой области использования.
Настоящий стандарт не распространяется на приспособления к катетерам, на которые, например, распространяется ISO 11070.
2 Нормативные ссылки
В настоящем стандарте использованы нормативные ссылки на следующие стандарты [для датированных ссылок применяют только указанное издание ссылочного стандарта, для недатированных - последнее издание (включая все изменения)]:
ISO 594-1, Conical fittings with a 6% (Luer) taper for syringes, needles and certain other medical equipment - Part 1: General requirements <1> [Детали соединительные с конусностью 6% (Луера) для шприцев, игл и другого медицинского оборудования. Часть 1. Общие требования]
ISO 594-2, Conical fittings with 6% (Luer) taper for syringes, needles and certain other medical equipment - Part 2: Lock fittings <1> [Детали соединительные с конусностью 6% (Луера) для шприцев, игл и другого медицинского оборудования. Часть 2. Луеровские наконечники]
--------------------------------
<1> Заменен на ISO 80369-7:2021, Small-bore connectors for liquids and gases in healthcare applications - Part 7: Connectors for intravascular or hypodermic applications (Соединители с небольшим внутренним диаметром для жидкостей и газов, применяемые в медицине. Часть 7. Соединители внутрисосудистого или подкожного применения).
ISO 7886-1, Sterile hypodermic syringes for single use - Part 1: Syringes for manual use (Шприцы инъекционные однократного применения стерильные. Часть 1. Шприцы для ручного использования)
ISO 15223-1, Medical devices - Symbols to be used with medical device labels, labelling and information to be supplied - Part 1: General requirements (Устройства медицинские. Символы, используемые на ярлыках медицинских устройств, при маркировке и в предоставляемой информации. Часть 1. Общие требования)
3 Термины и определения
В настоящем стандарте применены следующие термины с соответствующими определениями:
3.1 внутрисосудистый катетер (intravascular catheter): Трубчатое изделие, одноканальное или многоканальное, предназначенное для частичного, полного или имплантируемого введения в сердечно-сосудистую систему с целью диагностики и/или терапевтических целей.
3.2 дистальный конец (distal end): Конец катетера, который вводится в сосуд пациента.
3.3 конфигурация дистального конца (distal end configuration): Форма катетера, которую разрабатывают с целью облегчения манипуляции в сердечно-сосудистой системе, размещения и закрепления дистального конца в выбранном месте.
3.4 проксимальный конец/доступный конец (proximal end/access end): Конец катетера, к которому может быть произведено подключение.
3.5 канюля (hub): Соединитель(и) на проксимальном конце катетера, который является неотъемлемой частью катетера либо надежно прикрепляется к проксимальному концу катетера.
3.6 эффективная длина (effective length, l): Длина катетера или значения длины до и после гидратации способных к гидратации катетеров, которая может быть введена в тело.
См. рисунок 1.
l - эффективная длина; 1 - канюля; 2 - переходник-усилитель
от катетера к канюле; 3 - метка длины;
4 - соединительный узел; 5 - порт-система
Рисунок 1 - Примеры эффективной длины катетеров
3.7 наружный диаметр (outside diameter): Наибольший диаметр катетера или значение диаметров до и после гидратации способных к гидратации катетеров, который может быть введен в сосуд.
3.8 соединительный узел (junction): Соединение одной или более трубок в случае, когда сборка трубок обеспечивает механическую опору в растяжении/сжатии во время клинического использования.
3.9 внутрисосудистый катетер, способный к гидратации (hydratable intravascular catheter): Внутрисосудистый катетер, состоящий из материала, который проявляет клинически значимую гидратацию под воздействием водной среды.
3.10 после гидратации (post-hydration): Состояние способного к гидратации внутрисосудистого катетера после погружения в водную среду при температуре (37 +/- 2) °C в течение клинически подходящего периода времени.
3.11 клинически значимая гидратация (clinically significant hydration): Гидратированное состояние, в котором эффективная длина после гидратации больше эффективной длины до гидратации более чем на 1% эффективной длины или наружный диаметр после гидратации больше наружного диаметра до гидратации на 10% или более.
3.12 силовая инъекция (power injection): Быстрая инъекция жидкости под большим давлением.
3.13 первичная упаковка (primary packaging): Упаковка, которая непосредственно контактирует с изделием и/или сохраняет стерильность изделия.
3.14 вторичная упаковка (secondary packaging): Упаковка, предназначенная содержать одну или более первичные упаковки.
3.15 ангиографический катетер (angiographic catheter): Внутрисосудистый катетер, используемый для введения контрастных сред и/или жидкостей, который может быть применен для измерений давления и забора крови или введения коаксиальной внутренней части катетера или спиралей для окклюзии или других устройств.
4 Требования
4.1 Общие положения
Катетер должен быть стерилизован подходящим, валидированным методом и должен соответствовать требованиям 4.2 - 4.8 в стерильном состоянии.
4.2 Способность обнаружения рентгеном
Части катетера должны обнаруживаться рентгеном, если это необходимо в соответствии с оценкой риска.
Соответствие должно быть продемонстрировано с использованием соответствующих методов испытаний, таких как ASTM F640-12 или DIN 13273-7.
4.3 Биологическая совместимость
Катетер должен быть биологически безопасен.
Примечание - См. ISO 10993-1 для выбора подходящих методов испытания катетеров.
4.4 Поверхность
Осмотр катетера нормальным или скорректированным до нормального зрением с применением минимального увеличения в 2,5 раза должен показать, что наружная поверхность эффективной длины катетера не имеет посторонних включений.
Наружная поверхность эффективной длины катетера, включая дистальный конец, не должна иметь дефектов от технологической обработки и поверхностных недостатков, которые могли бы травмировать сосуды в процессе использования катетера.
Если катетер имеет смазку, то при осмотре катетера нормальным или скорректированным до нормального зрением на поверхности не должно быть смазки в виде видимых капель жидкости.
4.5 Коррозионная стойкость
При испытании в соответствии с методом, приведенным в приложении A, металлические компоненты катетера, предназначенные для соприкосновения с жидкостью, не должны иметь признаков коррозии.
4.6 Усилие на разрыв
При испытании в соответствии с методом, приведенным в приложении B, усилие на разрыв каждого испытываемого участка должно соответствовать приведенному в таблице 1.
Таблица 1
Усилие на разрыв испытываемых участков катетера
Наименьший наружный диаметр трубчатой части испытываемого участка, мм
Минимальное усилие на разрыв, Н
>= 0,55 < 0,75
3
>= 0,75 < 1,15
5
>= 1,15 < 1,85
10
>= 1,85
15
Примечание - Силы, прикладываемые во время клинического использования, могут быть больше значений, приведенных в таблице 1, например ожидаемые силы, прикладываемые к системе доставки во время клинического использования для доступа к месту назначения, установки изделия или извлечения системы. Если силы, прикладываемые во время клинического применения, определяются изготовителем как превышающие значения, приведенные в таблице 1, то критерии приемлемости для усилия на разрыв каждого испытуемого участка определяются изготовителем на основе оценки риска.
(ISO 10555-1:2013/Изм. 1:2017)
4.7 Герметичность
4.7.1 Канюля или узел соединения фитингов или другие части катетера не должны допускать утечку жидкости при испытании в соответствии с методом, приведенным в приложении C.
Для внутрисосудистых катетеров, способных к гидратации, соответствие этому требованию должно быть достигнуто для обоих состояний: до и после гидратации.
4.7.2 Не должно быть утечки воздуха через канюлю в процессе аспирации при испытании в соответствии с методом, приведенным в приложении D.
Для внутрисосудистых катетеров, способных к гидратации, соответствие этому требованию должно быть достигнуто для обоих состояний: до и после гидратации.
4.8 Канюля
Если катетер укомплектован цельной или сборной канюлей, то она должна быть типа female и соответствовать требованиям ISO 594-1 и ISO 594-2.
4.9 Скорость потока
Для изделий с определенной скоростью потока, при испытании в соответствии с приложением F, скорость потока для каждого просвета (канала) должна составлять не менее 80% от указанного изготовителем для катетеров с номинальным наружным диаметром менее 1,0 мм или не менее 90% от указанного изготовителем для катетеров с номинальным наружным диаметром, равным 1,0 мм или более.
Определение скорости потока для катетеров, способных к гидратации, проводят в состоянии после гидратации.
4.10 Высокопоточная инъекция
Если катетер предназначен для высокопоточной инъекции, то давление разрыва катетера должно превышать пиковое давление, присутствующее в катетере на максимальном режиме потока, как определено в приложениях F и G.
4.11 Боковые отверстия
Конструкция, количество и расположение боковых отверстий должны быть такими, чтобы свести к минимуму неблагоприятное воздействие на катетер и травму тканей.
4.12 Дистальный конец
Дистальный конец должен быть гладким, закругленным, конусообразным или обработанным подобным образом, чтобы свести к минимуму травму сосудов во время использования.
5 Обозначение номинального размера
Номинальный размер катетера должен быть обозначен, как указано в 5.1 и 5.2.
5.1 Наружный диаметр
Если не указано иначе в одной из других частей настоящего стандарта для конкретного типа катетера, то наружный диаметр должен быть выражен как номинальный размер в миллиметрах, округленный с точностью до 0,01 мм или 0,1 мм.
Для изделий, которые не являются круглыми в сечении согласно конструкции, этот размер должен быть обозначен размером наибольшей оси. В уместном случае изготовитель может сообщить дополнительную информацию в отношении профиля устройства, например размер второй оси для овальной формы.
5.2 Номинальная эффективная длина
Номинальная эффективная длина должна быть выражена в миллиметрах для катетеров эффективной длиной менее 100 мм.
Номинальная эффективная длина должна быть выражена в миллиметрах или сантиметрах для катетеров эффективной длиной 100 мм и более.
Примечание - Допуски эффективной длины не задают.
6 Информация, предоставляемая изготовителем
6.1 Общие положения
Каждое изделие должно сопровождаться информацией, необходимой для его безопасного и правильного использования. Все указанные размеры должны быть выражены в единицах измерения СИ.
Единицы измерения в других измерительных системах, помимо заданных, могут быть использованы как дополнительные.
При необходимости следует использовать ISO 15223-1.
6.2 Маркировка изделия и/или первичной упаковки
Примечание - Первичная упаковка часто бывает прозрачной. Поэтому необходимо принимать во внимание комбинацию маркировки изделия, которая просматривается через упаковку, и самой первичной упаковки.
Информация, перечисленная ниже, должна быть задана на первом практическом уровне в следующем порядке: изделие, первичная упаковка, инструкции по применению:
a) наименование или торговая марка и адрес изготовителя и/или его уполномоченного представителя;
b) сведения, строго необходимые для идентификации изделия (включая номинальный размер согласно обозначению в разделе 5), а также содержимое упаковки и, если применимо, проводник, который предназначен изготовителем для использования с катетером;
c) слово "СТЕРИЛЬНО" или соответствующий символ ISO 15223-1;
d) метод стерилизации;
e) код партии после слова "ЛОТ" или серийный номер, или соответствующий символ ISO 15223-1;
f) указание даты, до которой изделие должно быть использовано, выраженной, как минимум, годом и месяцем (например, ГГГГ-ММ);
g) указание о том, что изделие предназначено для однократного применения;
h) любые особые условия хранения и/или обращения;
i) если применение по назначению не является очевидным для пользователя, то изготовитель должен четко указать его (если устройство снабжено отдельными инструкциями по применению, это требование может быть пропущено для первичной упаковки);
j) при необходимости, указание о необходимости обращения к инструкции по применению;
k) для ангиографических катетеров - изображение или описание конфигурации дистального конца, если она не идентифицируется через упаковку.
6.3 Инструкции по применению
При предоставлении отдельной инструкции по применению, она должна содержать, по меньшей мере, следующую информацию:
a) сведения согласно 6.2 за исключением d), f), j) и k);
b) меры предосторожности, которые необходимо принимать, и любые предупреждения (например, для чистящих средств, если это уместно);
c) если изделие предназначено для подключения к другим изделиям или принадлежностям с целью работы в соответствии с их назначением, то должны быть указаны достаточные характеристики для идентификации правильных устройств, которые должны подсоединяться, чтобы получить безопасную комбинацию;
d) описание добавок или покрытий;
e) любые уникальные требования к утилизации изделия с учетом перечисления d) выше;
f) если применимо, то специальные заявления, сделанные из-за наличия добавки или покрытия, а также в соответствующих случаях следующее:
- описание добавки или материала покрытия,
- продолжительность эффективности использования,
- любые противопоказания, предупреждения и предосторожности, основанные на добавке или материале(ах) покрытия;
g) если применимо, то известные реакции между катетером и магнитно-резонансной томографией (МРТ);
h) дату выпуска последней редакции инструкций по применению;
i) для изделий, предназначенных для высокопоточной инъекции, необходимо включить следующую информацию:
- рекомендованные установочные параметры предела давления высокопоточной инъекции;
- максимальные скорости потоков для диапазона клинически приемлемых вязкостей и/или специфических вливаний.
6.4 Маркировка на вторичной упаковке
Если изделия поставляют во вторичной упаковке, то маркировка на вторичной упаковке должна включать, при необходимости, детали, указанные в 6.2.
Приложение A
(обязательное)
МЕТОД ИСПЫТАНИЯ НА КОРРОЗИОННУЮ СТОЙКОСТЬ
A.1 Принцип
Катетер сначала погружают в раствор хлорида натрия, затем в кипящую дистиллированную воду и после этого осматривают на признаки коррозии.
A.2 Реагенты
A.2.1 Солевой раствор, содержащий хлорид натрия аналитического качества в свежеприготовленной дистиллированной воде [c(NaCl) = 0,15 моль/л].
A.2.2 Дистиллированная или деионизированная вода.
A.3 Оборудование
A.3.1 Сосуд из боросиликатного стекла.
A.4 Процедура
Погружают катетер в сосуд из боросиликатного стекла (A.3.1), в котором находится соляной раствор (A.2.1) и выдерживают в нем в течение 5 ч при комнатной температуре. Извлекают испытуемый образец и погружают его в кипящую дистиллированную воду (A.2.2) на 30 мин. Дают воде и испытуемому образцу остыть до 37 °C и поддерживают их при этой температуре в течение 48 ч. Извлекают испытуемый образец и дают ему высохнуть при комнатной температуре. Разбирают образцы, имеющие два или более компонентов, если предполагается, что при использовании они могут разъединяться. Не снимают и не срезают никаких покрытий на металлических компонентах. Проверяют образцы путем осмотра на признаки коррозии.
A.5 Протокол испытания
Протокол испытания должен содержать следующую информацию:
a) идентификацию испытуемого катетера;
b) заключение о том, произошла ли коррозия во время испытания.
Приложение B
(обязательное)
МЕТОД ОПРЕДЕЛЕНИЯ УСИЛИЯ НА РАЗРЫВ
B.1 Принцип
Испытуемые образцы или всю длину катетера выбирают таким образом, чтобы испытанию подвергалась каждая трубчатая часть, каждое место соединения между канюлей или соединительным узлом и системой трубок, а также каждое место соединения между трубчатыми частями. Растягивающую силу прикладывают к каждому испытуемому образцу до тех пор, пока не произойдет разрыв трубчатой части или отделение в месте соединения. При испытании катетеров, способных к гидратации, оба состояния: до и после гидратации, должны быть учтены, а наихудший сценарий должен быть, как минимум, задокументирован.
B.2 Оборудование
B.2.1 Аппарат для проведения испытания на растяжение, способный обеспечить нагрузку величиной более 15 Н.
B.3 Процедура
B.3.1 Собирают катетер в соответствии с инструкциями изготовителя. Выбирают участок катетера для испытания. Включают в испытуемый участок канюлю или соединительный узел, при наличии, а также соединение между сегментами, например между трубкой и дистальным концом. Не включают в испытуемую часть дистальные концы, длина которых меньше 3 мм.
Для катетеров, способных к гидратации, готовят идентичные испытуемые участки из двух катетеров. Один испытуемый участок приводят к нужному состоянию в соответствии с B.3.2. Другой испытуемый участок не подготавливают, испытание на нем проводят без промедления в соответствии с B.3.3 - B.3.8.
B.3.2 Помещают испытуемый участок, подлежащий подготовке (см. B.3.1), в соответствующую водную среду при температуре (37 +/- 2) °C на клинически подходящий период времени или минимум на 2 ч. Проводят испытание в соответствии с B.3.3 - B.3.8 сразу после подготовки.
(ISO 10555-1:2013/Изм. 1:2017)
B.3.3 Фиксируют испытуемый участок в аппарате для проведения испытания на растяжение. Если присутствует канюля или соединительный узел, то используют соответствующее крепление, чтобы не допустить их деформацию.
B.3.4 Измеряют калибровочную длину испытуемого участка. Калибровочной длиной является расстояние между захватами аппарата для испытания на растяжение или расстояние между канюлей или соединительным узлом и захватом, удерживающим другой конец испытуемого участка, в зависимости от ситуации.
B.3.5 Прикладывают растягивающее усилие со скоростью растяжения 20 мм в минуту на миллиметр калибровочной длины (см. таблицу B.1) до тех пор, пока не произойдет разделение испытуемого участка на две или больше частей. Записывают пиковое растягивающее усилие в ньютонах, достигнутое во время испытания на растяжение испытуемого участка катетера до момента или в момент разделения на две части.
B.3.6 Если проводится испытание катетера, который состоит из одной трубчатой части, имеющей области с разным наружным диаметром, то в испытуемый участок следует включить наименьший диаметр.
B.3.7 Если испытывают катетер, который имеет боковое (или боковые) ответвление, то,
a) повторяют B.3.2 - B.3.5 для каждого бокового ответвления;
b) повторяют B.3.2 - B.3.5 для каждого участка, который включает соединительный узел между боковым ответвлением и примыкающей частью катетера, которая предназначена для введения в тело;
c) повторяют перечисление b) B.3.7 для каждого соединительного узла.
B.3.8 Не допускается проводить более одного испытания для одного и того же испытуемого участка катетера.
Таблица B.1
Примеры условий для скорости растяжения 20 мм/мин/мм
Калибровочная длина, мм
Скорость при испытании, мм/мин
10
200
20
400
25
500
B.4 Протокол испытания
Протокол испытания должен содержать следующую информацию:
a) идентификацию испытуемого катетера;
b) пиковую силу растяжения в ньютонах;
c) местоположение разрыва.
Приложение C
(обязательное)
МЕТОД ИСПЫТАНИЯ НА УТЕЧКУ ЖИДКОСТИ ПОД ДАВЛЕНИЕМ
C.1 Принцип
Катетер подсоединяют через герметичное соединение к шприцу или аппарату под давлением. Гидравлическое давление прикладывают к катетеру и соединительным узлам, при наличии, и трубку катетера проверяют на утечку. При испытании катетера, способного к гидратации, оба состояния, до и после гидратации, должны быть приняты во внимание, а наихудший сценарий должен быть, как минимум, задокументирован.
C.2 Реагент
C.2.1 Дистиллированная или деионизированная вода.
C.3 Оборудование
C.3.1 Герметичный соединитель для подсоединения катетера к шприцу или аппарату под давлением (C.3.3), который имеет манометр, способный измерять давление не менее 300 кПа, и имеющий маленький внутренний объем.
C.3.2 Соединитель для обеспечения герметичного соединения между шприцем и аппаратом под давлением (C.3.3) и катетерами, которые не имеют канюль.
C.3.3 Шприц подходящего размера, который успешно прошел испытания на утечку поршня и наконечника в соответствии с ISO 7886-1, или эквивалентное оборудование.
C.3.4 Средство для перекрытия испытуемого образца, например зажим.
C.4 Процедура
C.4.1 При испытании катетеров, имеющих канюлю (или канюли), если необходимо разъединяют разъемные соединения в соответствии с инструкциями изготовителя. Подсоединяют канюлю к герметичному соединителю (C.3.2), чтобы образовать герметичное соединение.
C.4.2 При испытании катетеров, которые не имеют канюли, подсоединяют катетер к шприцу или аппарату под давлением (C.3.3) с помощью соединителя (C.3.2).
C.4.3 Заполняют шприц или аппарат под давлением (C.3.3) водой (C.2) при температуре (22 +/- 5) °C и удаляют воздух. Корректируют объем воды в шприце до номинальной градуированной вместимости. Перекрывают (C.3.4) испытуемый образец как можно ближе к дистальному концу.
C.4.4 Прикладывают давление минимум 300 кПа. Поддерживают давление в течение 30 с. Осматривают соединение канюли, при наличии, и трубку катетера на утечку жидкости, т.е. образование одной капли или более падающих капель воды, и записывают, была ли утечка или нет.
C.4.5 Для внутрисосудистых катетеров, способных к гидратации, проводят шаги C.4.1 - C.4.4, принимая во внимание оба состояния: до и после гидратации.
C.5 Протокол испытания
Протокол испытания должен содержать следующую информацию:
a) идентификацию испытуемого катетера;
b) заключение в отношении наличия или отсутствия утечки из соединительных узлов, при наличии, и трубки катетера (с учетом обоих состояний, до и после гидратации, для катетеров, способных к гидратации).
Приложение D
(обязательное)
МЕТОД ИСПЫТАНИЯ УТЕЧКИ ВОЗДУХА
ЧЕРЕЗ КАНЮЛЮ В ПРОЦЕССЕ АСПИРАЦИИ
D.1 Принцип
Канюлю(и) катетера подсоединяют к частично наполненному шприцу. Вытягиванием поршня в шприце понижают давление, приложенное к канюле и контрольному фитингу, и визуально контролируют возможное проникновение пузырьков воздуха в шприц. При испытании катетеров, способных к гидратации, оба состояния, до и после гидратации, должны быть рассмотрены, а наихудший сценарий должен быть, как минимум, задокументирован.
D.2 Реагент
D.2.1 Деаэрированная дистиллированная или деаэрированная деионизированная вода.
D.3 Оборудование
D.3.1 Шприц на 10 мл, который успешно прошел испытания на утечку поршня и наконечника в соответствии с ISO 7886-1, или эквивалентное оборудование.
D.3.2 Средство для перекрытия испытуемого образца, например зажим.
D.4 Процедура
D.4.1 Собирают съемные канюли в соответствии с инструкциями изготовителя. Подсоединяют испытуемую канюлю к шприцу (D.3.1), чтобы образовать герметичное соединение. Закрывают все клапаны, которые предполагается открывать во время отсасывания.
D.4.2 Втягивают в шприц (через испытуемый образец и контрольный фитинг) объем воды (D.2) при температуре (22 +/- 5) °C, превышающий на 25% градуированную вместимость шприца. Избегают намокания соединения канюля/контрольный фитинг.
D.4.3 Удаляют воздух из аппарата, за исключением маленького пузырька воздуха. Регулируют объем воды в шприце до 25% градуированной вместимости. Перекрывают (D.3.2) исследуемый образец как можно ближе к канюле.
D.4.4 При положении шприца наконечником вниз вытягивают поршень до отметки максимальной градуированной вместимости. Выдерживают в течение достаточного времени. Если образование пузырьков не наблюдается, то ждут еще 10 с, чтобы убедиться в отсутствии утечки воздуха через образец.
D.4.5 Для внутрисосудистых катетеров, способных к гидратации, проводят шаги в D.4.1 - D.4.4, принимая во внимание оба состояния: до и после гидратации.
Примечание - Могут быть использованы другие способы создания давления. В таком случае устанавливается абсолютное давление аспирации 2,67 кПа.
D.5 Протокол испытания
Протокол испытания должен содержать следующую информацию:
a) идентификацию испытуемого катетера;
b) заключение относительно удачного или неудачного испытания. Если испытание прошло неудачно, необходимо указать место утечки, если оно может быть установлено (с учетом обоих состояний: до и после гидратации для внутрисосудистых катетеров, способных к гидратации).
Приложение E
(обязательное)
ОПРЕДЕЛЕНИЕ СКОРОСТИ ПОТОКА ЧЕРЕЗ КАТЕТЕР
E.1 Принцип
Вода протекает через катетер, величину скорости потока измеряют по объему или по весу.
E.2 Реагент
Дистиллированная или деионизированная вода или другая клинически уместная среда.
E.3 Оборудование
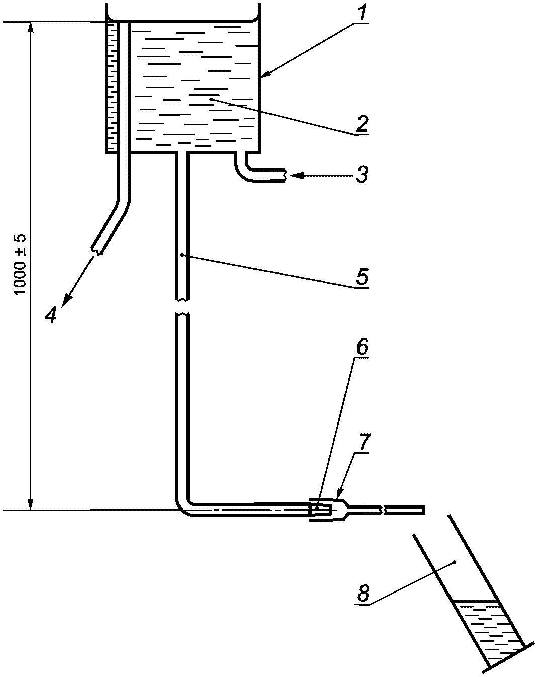
E.3.1 Резервуар постоянного уровня, оснащенный трубкой подачи воды и насадкой типа male с 6%-ным конусом (Луером), соответствующим ISO 594-1. Когда испытуемый катетер не присоединен, этот Луер способен обеспечивать скорость потока (525 +/- 25) мл/мин. Резервуар имеет высоту гидростатического напора (1000 +/- 5) мм.
Пример подходящего оборудования показан на рисунке E.1.
Размеры в миллиметрах
1 - резервуар постоянного уровня;
2 - дистиллированная или деионизированная вода; 3 - вход;
4 - переполнение; 5 - труба подачи; 6 - насадка типа male
с 6%-ным конусом (Луер); 7 - испытуемый катетер;
8 - сосуд для сбора и измерения
Рисунок E.1 - Пример оборудования
для определения скорости потока воды через катетер
E.3.2 Оборудование для сбора и определения массы или объема истечения катетера с точностью +/- 1%.
E.3.3 Таймер для измерения времени сбора.
E.4 Процедура
E.4.1 Наполняют резервуар постоянного уровня (E.3.1) средой при температуре (22 +/- 2) °C. Прикрепляют испытуемый катетер к насадке с 6%-ным конусом (Луер).
E.4.2 Запускают поток среды через катетер. Собирают вытекающий поток в течение измеренного периода времени (не меньше 30 с) в подходящий сосуд и определяют объем вытекающего потока с помощью измерительного цилиндра или путем взвешивания с учетом плотности среды.
E.4.3 Проводят три измерения на каждом применимом просвете катетера.
E.5 Выражение результатов
Вычисляют среднее арифметическое трех измерений. Представляют эту величину в качестве скорости потока среды через катетер в миллилитрах в минуту. Округляют расчетную среднюю скорость потока среды с точностью до целого числа в миллилитрах.
E.6 Протокол испытания
Протокол испытания должен содержать следующую информацию:
a) идентификацию испытуемого катетера;
b) среднюю скорость потока, выраженную в миллилитрах за минуту для каждого применимого просвета (канала) катетера.
Приложение F
(обязательное)
ИСПЫТАНИЕ НА РАЗРЫВ ПОД ДАВЛЕНИЕМ В СТАТИЧЕСКОМ РЕЖИМЕ
F.1 Принцип
Катетер подсоединяют через канюлю или проксимальный конец к месту прикрепления к устройству, создающему давление. Жидкость подается с постоянной скоростью до тех пор, пока не произойдет утечка или разрыв в то время, как устройство, создающее давление, непрерывно контролируют. Величину пикового давления регистрируют.
F.2 Оборудование
F.2.1 Устройство, создающее давление, которое подает жидкую рабочую среду.
F.2.2 Герметичный соединитель.
F.2.3 Запорное устройство для крепления катетера к соединителю (F.2.2).
F.2.4 Средство для перекрытия катетера, например зажим.
F.2.5 Испытательная камера, заполненная жидкостью с контролируемой температурой.
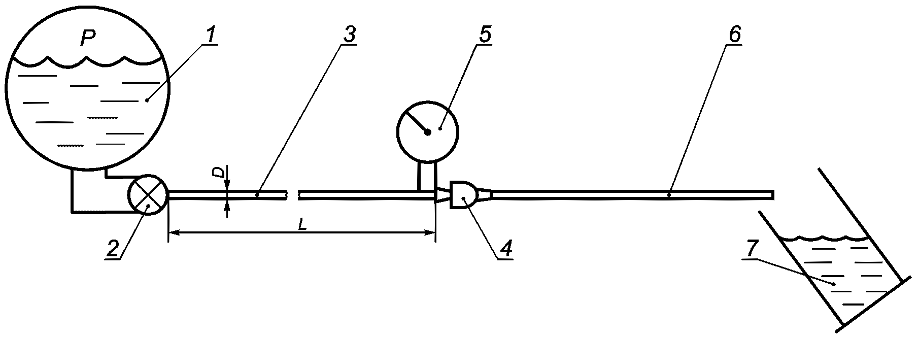
Общая компоновка испытательной установки приведена на рисунке F.1. Аппарат для создания давления и регулирования объема вводимой жидкости не показан в деталях, так как он может изменяться по конструкции, сложности и степени автоматизации.
1 - устройство, создающее давление; 2 - соединитель (F.2.2);
3 - запорное устройство (F.2.3); 4 - зажим или заглушка
(F.2.4); 5 - испытуемый катетер; 6 - пример испытательной
камеры, заполненной жидкостью с контролируемой температурой;
7 - датчик давления и регистрирующее устройство;
8 - порты входа и выхода для циркуляции жидкости
камеры, если применимо
Рисунок F.1 - Общая компоновка испытательной установки
для оценки способности выдерживать высокое давление
F.3 Процедура
Предупреждение - Важно, чтобы были приняты меры предосторожности и безопасности, чтобы защитить оператора, проводящего испытание, от последствий отказа системы под давлением и результирующего выброса жидкости под высоким давлением.
F.3.1 Применяют клинически значимые предварительные условия к испытуемым катетерам, например предварительное замачивание в соляном растворе, воздействие общепринятыми растворами для вливания или циклы стерилизации.
F.3.2 Доводят жидкость в испытательной камере (F.2.5) до температуры (37 +/- 2) °C и поддерживают эту температуру на протяжении испытания.
F.3.3 Прикрепляют канюлю катетера к соединителю (F.2.2), закрепив его запорным устройством (F.2.3), если применимо.
F.3.4 Убеждаются, что весь воздух вытеснен из катетера жидкостью, затем перекрывают катетер, используя зажим (F.2.4).
F.3.5 Проверяют гидравлический контур на целостность и отсутствие утечек.
F.3.6 Погружают катетер в циркулирующую жидкость испытательной камеры минимум на 1 мин до начала испытания, чтобы обеспечить тепловое равновесие.
F.3.7 Регулируют гидравлический источник, чтобы подать жидкость в испытуемый катетер со скоростью потока 1 мл/с, создавая достаточное давление, чтобы вызвать утечку или разрыв катетера.
Для альтернативного оборудования изготовитель должен выбирать скорость изменения давления для управления испытательной аппаратурой, которая позволит точно определить статическое давление разрыва.
F.3.8 Впрыскивают жидкость в перекрытый катетер до тех пор, пока не произойдет утечка или разрыв катетера.
F.3.9 Пока система все еще находится под давлением, регистрируют давление в канюле изделия, отметив достигнутое максимальное давление.
F.4 Протокол испытания
Протокол испытания должен содержать следующую информацию:
a) идентификацию испытуемого катетера;
b) значения разрывного давления;
c) место утечки или разрыва каждого испытуемого катетера.
Приложение G
(обязательное)
ИСПЫТАНИЕ СКОРОСТИ ПОТОКА И ДАВЛЕНИЯ ИЗДЕЛИЯ
ПРИ ВЫСОКОПОТОЧНОЙ ИНЪЕКЦИИ (ТОЛЬКО ДЛЯ ИЗДЕЛИЙ,
ПРЕДНАЗНАЧЕННЫХ ДЛЯ ВЫСОКОПОТОЧНОЙ ИНЪЕКЦИИ)
G.1 Принцип
Катетер подсоединяют через канюлю или проксимальный конец к реальной или имитируемой соединительной трубке, которую в свою очередь подсоединяют к источнику постоянного давления, заполненному вводимым раствором или имитируемым вводимым раствором (инъектатом). Давление источника настраивают на рекомендуемый предел давления вводимого раствора, а скорость потока через систему измеряют через баланс массы или другим применимым методом. Пиковое давление на входе катетера также регистрируют с помощью встроенного датчика давления.
G.2 Оборудование
G.2.1 Источник постоянного давления, который подает имитируемый вводимый раствор в катетер и соединительный узел, поддерживая в то же время клинически значимое давление с точностью +/- 5% и желательную температуру с точностью +/- 2 °C на протяжении всего периода измерения.
G.2.2 Вводимый раствор или имитируемый инъектат (например, смесь воды с глицерином или другое), смешанный в пропорции, чтобы воспроизводить динамическую вязкость (кинематическую вязкость/плотность жидкости) целевого инъектата с точностью +/- 5% (см. ISO 3104 и ISO 3105).
G.2.3 Реальная или имитируемая соединительная трубка, имеющая клинически значимый внутренний диаметр и длину.
G.2.4 Встроенный датчик давления и регистратор данных, вставленный между дистальным концом имитируемой соединительной трубки и канюлей катетера.
G.2.5 Средство измерения скорости потока системы с точностью +/- 2%, например весы и таймер или встроенный расходомер.
Примечание - Общая компоновка испытательной установки приведена на рисунке G.1. Оборудование не показано в деталях, так как оно может изменяться по конструкции, сложности и степени автоматики.
1 - пример источника постоянного давления P (G.2.1),
заполненного инъектатом (G.2.2); 2 - клапан для инициации
и приостановки потока; 3 - соединительная трубка длиной L
и внутренним диаметром D (G.2.3); 4 - запорное устройство
для закрепления проксимального конца катетера, если
применимо; 5 - встроенный датчик давления и регистратор
данных (G.2.4); 6 - испытуемый катетер;
7 - пример средства измерения скорости потока (G.2.5)
Рисунок G.1 - Общая компоновка испытательной
установки для оценки скорости потока
и давления высокопоточной инъекции
G.3 Процедура испытания
Предупреждение - Важно, чтобы были приняты меры предосторожности и безопасности, чтобы защитить оператора, проводящего испытание, от последствий отказа системы под давлением и результирующего выброса жидкости под высоким давлением.
G.3.1 Заполняют резервуар источника давления и доводят жидкость до желаемой температуры.
G.3.2 Присоединяют соединительную трубку к источнику давления.
G.3.3 Присоединяют встроенный датчик давления к дистальному концу имитированной соединительной трубки.
G.3.4 Готовят катетер, как указано в инструкциях по применению.
G.3.5 Присоединяют канюлю катетера к встроенному датчику давления.
G.3.6 Сдерживают дистальный конец катетера в необходимом пределе, чтобы обеспечить безопасный сбор инъектата.
G.3.7 Освобождают систему от воздуха.
G.3.8 Доводят давление в источнике до желаемого уровня
G.3.9 Инициируют поток через систему, обеспечивая достаточное время для достижения стационарного состояния давления и потока.
G.3.10 Во время впрыскивания записывают установившееся давление на входе катетера.
G.3.11 Во время впрыскивания записывают достигнутую скорость потока.
a) Если используют методы постоянного измерения скорости потока, то записывают установившуюся скорость потока.
b) Если используют весовой метод, то собирают инъектат за период времени не меньше 15 с и устанавливают его объем с помощью измерительного цилиндра или путем взвешивания, используя плотность, полученную в вычислениях G.2.2.
G.4 Протокол испытания
Протокол испытания должен содержать следующую информацию:
a) идентификацию испытуемого катетера;
b) описание инъектата и измеренную динамическую вязкость инъектата, мПа·с, и плотность, кг/м3;
c) температуру испытательной жидкости, °C;
d) давление источника, Па;
e) длину и внутренний диаметр соединительной трубки, м;
f) установившаяся скорость потока, достигнутая через систему, мл/с;
g) давление, достигнутое на входе катетера, Па.
Приложение H
(справочное)
ЕДИНИЦЫ ИЗМЕРЕНИЯ В ИЗМЕРИТЕЛЬНЫХ СИСТЕМАХ,
ОТЛИЧНЫХ ОТ ЗАДАННЫХ В НАСТОЯЩЕМ СТАНДАРТЕ,
КОТОРЫЕ МОГУТ БЫТЬ ИСПОЛЬЗОВАНЫ ДОПОЛНИТЕЛЬНО
H.1 Общие положения
Техника Сельдингера - метод чрескожного введения катетера в кровеносный сосуд или пространство, например в полость абсцесса. Игла используется для прокола структуры, и через иглу вводится гибкий проводник. Когда игла извлекается, катетер вводится по проводнику, который затем извлекают, оставляя катетер введенным.
Следующие единицы измерения используют для обозначения номинального размера игл, проводников и катетеров.
H.2 Французский
Идентификация по номинальным размерам наружного размера катетера, вычисленная как трехкратный диаметр (в миллиметрах): Fr = 3·D (мм). Слово "французский" может быть сокращено как F, FR, Fr, Fg, CH, или Ch.
H.3 Тысячные дюйма
Номинальный размер проводника, с которым катетер является совместимым, часто выражается в тысячных дюйма.
H.4 Размер (калибр) иглы
Представляет наружный диаметр игл. Большие числа калибра относятся к игле меньшего диаметра.
H.5 Пример французской шкалы
a) Вид спереди французской шкалы (не в масштабе)
b) Обратная сторона французской шкалы
Рисунок H.1 - Французская шкала
Приложение ДА
(справочное)
СВЕДЕНИЯ О СООТВЕТСТВИИ ССЫЛОЧНЫХ МЕЖДУНАРОДНЫХ
СТАНДАРТОВ МЕЖГОСУДАРСТВЕННЫМ СТАНДАРТАМ
Таблица ДА.1
Обозначение ссылочного международного стандарта
Степень соответствия
Обозначение и наименование соответствующего межгосударственного стандарта
ISO 594-1
-
ISO 594-2
-
ISO 7886-1
-
ISO 15223-1
-
<*> Соответствующий межгосударственный стандарт отсутствует. До его принятия рекомендуется использовать перевод на русский язык данного международного стандарта.
БИБЛИОГРАФИЯ
[1]
ISO 3104, Petroleum products - Transparent and opaque liquids - Determination of kinematic viscosity and calculation of dynamic viscosity
[2]
ISO 3105, Glass capillary kinematic viscometers - Specifications and operating instructions
[3]
ISO 80369-1, Small-bore connectors for liquids and gases in healthcare applications - Part 1: General requirements
[4]
ISO 80369-7, Small bore connectors for liquids and gases in healthcare applications - Part 7: Connectors with 6% (Luer) taper for intravascular or hypodermic applications
[5]
ISO 10993-1, Biological evaluation of medical devices - Part 1: Evaluation and testing within a risk management process
[6]
ISO 11135-1, Sterilization of health care products - Ethylene oxide - Part 1: Requirements for development, validation and routine control of a sterilization process for medical devices
[7]
ISO 11137-1, Sterilization of health care products - Radiation - Part 1: Requirements for development, validation and routine control of a sterilization process for medical devices
[8]
ISO 11607-1, Packaging for terminally sterilized medical devices - Part 1: Requirements for materials, sterile barrier systems and packaging systems
[9]
ISO 11607-2, Packaging for terminally sterilized medical devices - Part 2: Validation requirements for forming, sealing and assembly processes
[10]
ISO/TS 12417, Cardiovascular implants and extracorporeal systems - Vascular device-drug combination products
[11]
ISO 14971, Medical devices - Application of risk management to medical devices
[12]
ISO 17665-1, Sterilization of health care products - Moist heat - Part 1: Requirements for the development, validation and routine control of a sterilization process for medical devices
[13]
IEC 80369-6, Small bore connectors for liquids and gases in healthcare applications - Part 6: Connectors for neuraxial applications
[14]
ASTM F640-12, Standard Test Methods for Determining Radiopacity for Medical Use
[15]
Iserson K.V., J.-F.-B. Charriere. The man behind the "French" gauge. 1987 Nov. (abstract only)
[16]
Casey R.G., Joseph-Frederic-Benoit Charriere. Master cutler and instrument designer. 2003 Mar. (abstract only)
[17]
The Seldinger technique. Reprint from Acta Radiologica 1953. AJR Am. J. Roentgenol. 1984 Jan, 142 (1) pp. 5 - 7
[18]
Nabil Kibriya, Rebecca Hall, Steven Powell, Thien How, Richard G. McWilliams. French Sizing of Medical Devices is not Fit for Purpose. CardioVascular and Interventional Radiology, January 2013
УДК 615.472.5:006.354
МКС 11.040.20
Ключевые слова: катетер внутрисосудистый, стерильный, требования, испытания, общие положения, принцип, оборудование, процедура, протокол