Главная // Актуальные документы // ГОСТ (Государственный стандарт)СПРАВКА
Источник публикации
М.: Стандартинформ, 2020
Примечание к документу
Текст данного документа приведен с учетом
поправки, опубликованной в "ИУС", N 8, 2023.
Документ
введен в действие с 01.01.2022.
Название документа
"ГОСТ ISO 10382-2020. Межгосударственный стандарт. Качество почв. Определение хлорорганических пестицидов и полихлорированных бифенилов. Газохроматографический метод с использованием электронозахватного детектора"
(введен в действие Приказом Росстандарта от 06.10.2020 N 750-ст)
"ГОСТ ISO 10382-2020. Межгосударственный стандарт. Качество почв. Определение хлорорганических пестицидов и полихлорированных бифенилов. Газохроматографический метод с использованием электронозахватного детектора"
(введен в действие Приказом Росстандарта от 06.10.2020 N 750-ст)
агентства по техническому
регулированию и метрологии
от 6 октября 2020 г. N 750-ст
МЕЖГОСУДАРСТВЕННЫЙ СТАНДАРТ
КАЧЕСТВО ПОЧВ
ОПРЕДЕЛЕНИЕ ХЛОРОРГАНИЧЕСКИХ ПЕСТИЦИДОВ
И ПОЛИХЛОРИРОВАННЫХ БИФЕНИЛОВ.
ГАЗОХРОМАТОГРАФИЧЕСКИЙ МЕТОД
С ИСПОЛЬЗОВАНИЕМ ЭЛЕКТРОНОЗАХВАТНОГО ДЕТЕКТОРА
Soil quality. Determination of organochlorine pesticides
and polychlorinated biphenyls. Gas-chromatographic
method with electron capture detection
(ISO 10382:2002, IDT)
ГОСТ ISO 10382-2020
Дата введения
1 января 2022 года
Цели, основные принципы и общие правила проведения работ по межгосударственной стандартизации установлены
ГОСТ 1.0 "Межгосударственная система стандартизации. Основные положения" и
ГОСТ 1.2 "Межгосударственная система стандартизации. Стандарты межгосударственные, правила и рекомендации по межгосударственной стандартизации. Правила разработки, принятия, обновления и отмены"
1 ПОДГОТОВЛЕН Обществом с ограниченной ответственностью "Инновационный экологический фонд" (ООО "Инэко") на основе собственного перевода на русский язык англоязычной версии стандарта, указанного в
пункте 4
2 ВНЕСЕН Федеральным агентством по техническому регулированию и метрологии
3 ПРИНЯТ Межгосударственным советом по стандартизации, метрологии и сертификации (протокол от 31 августа 2020 г. N 132-П)
За принятие проголосовали:
Краткое наименование страны по МК (ИСО 3166) 004-97 | Код страны по МК (ИСО 3166) 004-97 | Сокращенное наименование национального органа по стандартизации |
Азербайджан | AZ | Азстандарт |
Армения | AM | ЗАО "Национальный орган по стандартизации и метрологии" Республики Армения |
Беларусь | BY | Госстандарт Республики Беларусь |
Киргизия | KG | Кыргызстандарт |
Казахстан | KZ | Госстандарт Республики Казахстан |
Россия | RU | Росстандарт |
Таджикистан | TJ | Таджикстандарт |
Узбекистан | UZ | Узстандарт |
4
Приказом Федерального агентства по техническому регулированию и метрологии от 6 октября 2020 г. N 750-ст межгосударственный стандарт ГОСТ ISO 10382-2020 введен в действие в качестве национального стандарта Российской Федерации с 1 января 2022 г.
5 Настоящий стандарт идентичен международному стандарту ISO 10382:2002 "Качество почвы. Определение хлорорганических пестицидов и полихлорированных бифенилов. Газохроматографический метод с использованием электронозахватного детектора" ("Soil quality - Determination of organochlorine pesticides and polychlorinated biphenyls - Gas-chromatographic method with electron capture detection", IDT).
Международный стандарт разработан Подкомитетом SC 3 "Химические методы и характеристики почвы" Технического комитета по стандартизации ISO/TC 190 "Качество почв" Международной организации по стандартизации (ISO).
При применении настоящего стандарта рекомендуется использовать вместо ссылочных международных стандартов соответствующие им межгосударственные стандарты, сведения о которых приведены в дополнительном
приложении ДА
6 ВВЕДЕН ВПЕРВЫЕ
Информация о введении в действие (прекращении действия) настоящего стандарта и изменений к нему на территории указанных выше государств публикуется в указателях национальных стандартов, издаваемых в этих государствах, а также в сети Интернет на сайтах соответствующих национальных органов по стандартизации.
В случае пересмотра, изменения или отмены настоящего стандарта соответствующая информация будет опубликована на официальном интернет-сайте Межгосударственного совета по стандартизации, метрологии и сертификации в каталоге "Межгосударственные стандарты"
Международная организация по стандартизации (ISO) является всемирной федерацией национальных организаций по стандартизации (комитетов - членов ISO). Разработка международных стандартов, как правило, осуществляется техническими комитетами ISO. Каждый комитет-член, заинтересованный в деятельности, для проведения которой был создан технический комитет, имеет право быть представленным в этом комитете. Международные правительственные и неправительственные организации, имеющие связи с ISO, также принимают участие в работах. Что касается стандартизации в области электротехники, ISO работает в тесном сотрудничестве с Международной электротехнической комиссией (IEC).
Международные стандарты разрабатываются в соответствии с правилами, установленными в Директивах ISO/IEC, часть 3.
Основной задачей технических комитетов является подготовка международных стандартов. Проекты международных стандартов, принятые техническими комитетами, рассылаются комитетам-членам на голосование. Их опубликование в качестве международных стандартов требует одобрения не менее 75% комитетов-членов, принимающих участие в голосовании.
Некоторые элементы настоящего стандарта могут быть объектом патентного права. ISO не несет ответственности за идентификацию всех или какого-либо из таких патентных прав.
ISO 10382 подготовлен Техническим комитетом ISO/TC 190 "Качество почв", Подкомитетом SC 3 "Химические методы и характеристики почв".
Настоящий стандарт распространяется на все типы почв и устанавливает метод количественного определения семи полихлорированных бифенилов и семнадцати хлорорганических пестицидов.
При соблюдении условий, указанных в настоящем стандарте, пределы определения могут составлять от 0,1 до 4 мкг/кг (в пересчете на сухое вещество).
В настоящем стандарте использованы нормативные ссылки на следующие стандарты. Для датированных ссылок применяют только указанное издание ссылочного стандарта, для недатированных - последнее издание (включая все изменения).
ISO 10381-1, Soil quality - Sampling - Part 1: Guidance on the design of sampling programmes (Качество почв. Отбор проб. Часть 1. Методические указания по составлению программ отбора проб) <1>
--------------------------------
<1> Заменен на ISO 18400-107:2017, ISO 18400-101:2017, ISO 18400-104:2018.
ISO 10381-2, Soil quality - Sampling - Part 2: Guidance on sampling techniques (Качество почв. Отбор проб. Часть 2. Методические указания по методам отбора проб) <2>
--------------------------------
<2> Заменен на ISO 18400-102:2017.
ISO 11465, Soil quality - Determination of dry matter and water content on a mass basis - Gravimetric method (Качество почвы. Определение содержания сухих веществ и воды по массе. Гравиметрический метод)
ISO 14507, Soil quality - Pretreatment of samples for determination of organic contaminants (Качество почвы. Подготовка образцов к определению содержания органических загрязняющих веществ)
После предварительной обработки пробы проводят экстракцию анализируемого образца почвы углеводородным растворителем.
Экстракт концентрируют; полярные соединения удаляют пропусканием концентрированного экстракта через колонку, заполненную оксидом алюминия. Полученный элюат концентрируют.
Элементарную серу при необходимости удаляют из концентрированного экстракта обработкой сульфитом тетрабутиламмония.
Экстракт анализируют газохроматографическим методом. Разделение соединений проводят с использованием капиллярной колонки с неподвижной фазой низкой полярности. Определение осуществляют с использованием электронозахватного детектора (ЭЗД).
Полихлорированные бифенилы (ПХБ) и хлорорганические пестициды (ХОП) идентифицируют и количественно определяют посредством сравнения относительных времен удерживания и относительных высот пиков (или площадей пиков) по отношению к добавленным стандартам, с соответствующими значениями в растворе внешнего стандарта. Эффективность анализа зависит от состава исследуемого образца почвы. Описанная процедура не учитывает степень неполноты экстракции, связанную с особенностями структуры и состава исследуемого образца почвы.
Предел обнаружения зависит от природы определяемого вещества, используемого оборудования, степени чистоты реактивов, используемых при экстракции почвенного образца, и очистки экстракта.
Примечания
1 Для более надежной идентификации определяемых соединений и обнаруженных концентраций необходимо проведение дополнительных исследований. Подтверждение полученных данных можно осуществить повторным проведением газохроматографического анализа с использованием колонки другой полярности и/или проведением анализа методом газовой хроматографии/масс-спектрометрии (ГХ/МС).
2 Настоящий метод позволяет также проведение идентификации и количественного определения других нелетучих хлорорганических соединений, например некоторых хлорбензолов.
Все используемые реактивы должны быть признанной аналитической степени чистоты. Степень чистоты используемых реактивов должна быть проверена проведением холостого определения согласно
8.1.
4.1 Петролейный эфир, температура кипения 40 °C - 60 °C.
4.3 н-Гексан.
4.4 Диэтиловый эфир.
Диэтиловый эфир может содержать пероксиды, потенциально окисляющие некоторые из определяемых соединений. Следует убедиться в отсутствии пероксидов, например, при встряхивании со свежеприготовленным 10%-ным (по массе) раствором йодида калия.
4.5 Сульфат натрия безводный, прокаленный при (550 +/- 20) °C в течение не менее 6 ч, доведенный приблизительно до 200 °C в муфельной печи и затем до температуры окружающей среды в эксикаторе с перхлоратом магния или другим подходящим веществом.
Безводный сульфат натрия при хранении следует хранить тщательно закупоренным.
4.6 Оксид алюминия, основной или нейтральный, с удельной поверхностью 200 м
2/г, активность Супер 1 по Брокману.
4.7 Оксид алюминия, дезактивированный добавлением 10% воды.
К 90 г оксида алюминия
(4.6) добавляют 10 г воды. Встряхивают до получения однородной массы. Оксид алюминия выдерживают приблизительно 16 ч перед использованием, не допуская контакта с воздухом.
4.8 Силикагель, частицы размером от 60 до 200 мкм, дезактивированный добавлением 5% воды.
95 г силикагеля выдерживают в сушильном шкафу при 150 °C не менее 24 ч. Охлаждают в эксикаторе и добавляют 5 г воды. Встряхивают до получения однородной массы. Дезактивированный силикагель выдерживают приблизительно 16 ч перед использованием, не допуская контакта с воздухом.
Для каждой новой партии оксида алюминия или силикагеля следует проверять их элюирующую способность относительно стандартного раствора ПХБ или ХОП. При необходимости степень активации сорбента подбирается экспериментально (см.
8.4).
4.9.1 Полихлорированные бифенилы.
ПХБ-28: 2,4,4'-трихлорбифенил | Номер по каталогу CAS <1>: 7012-37-5 |
ПХБ-52: 2,2',5,5'-тетрахлорбифенил | Номер по каталогу CAS: 35693-99-3 |
ПХБ-101: 2,2',4,5,5'-пентахлорбифенил | Номер по каталогу CAS: 37680-73-2 |
ПХБ-118: 2,3',4,4',5-пентахлорбифенил | Номер по каталогу CAS: 31508-00-6 |
ПХБ-138: 2,2',3,4,4',5'-гексахлорбифенил | Номер по каталогу CAS: 35065-28-2 |
ПХБ-153: 2,2',4,4',5,5'-гексахлорбифенил | Номер по каталогу CAS: 35065-27-1 |
ПХБ-180: 2,2',3,4,4',5,5'-гептахлорбифенил | Номер по каталогу CAS: 35065-29-3 |
--------------------------------
<1> Регистрационный номер, принятый CAS (Chemical Abstracts Service).
Примечание - Номера 28, 52 и т.д. соответствуют последовательности номеров бифенилов согласно правилам ИЮПАК по номенклатуре органических соединений.
4.9.2 Хлорорганические пестициды.
Гексахлорбензол (ГХБ) | Номер по каталогу CAS: 118-74-1 |
| Номер по каталогу CAS: 319-84-6 |
| Номер по каталогу CAS: 319-85-7 |
 (линдан) | Номер по каталогу CAS: 58-89-9 |
Альдрин | Номер по каталогу CAS: 309-00-2 |
Дильдрин | Номер по каталогу CAS: 60-57-1 |
Эндрин | Номер по каталогу CAS: 72-20-8 |
Гептахлор | Номер по каталогу CAS: 76-44-8 |
Гептахлор эпоксид (экзо-, цис- или a-изомер) | Номер по каталогу CAS: 28044-83-9 |
Гептахлор эпоксид (эндо-, транс- или b-изомер) | Номер по каталогу CAS: 1024-57-3 |
| Номер по каталогу CAS: 959-98-7 |
п,п'-ДДЭ | Номер по каталогу CAS: 72-55-9 |
о,п'-ДДД | Номер по каталогу CAS: 53-19-0 |
о,п'-ДДТ | Номер по каталогу CAS: 784-02-6 |
п,п'-ДДД | Номер по каталогу CAS: 72-54-8 |
о,п'-ДДЭ | Номер по каталогу CAS: 3424-82-6 |
п,п'-ДДТ | Номер по каталогу CAS: 50-29-3 |
4.9.3 Внутренние стандарты.
ПХБ-155: 2,2',4,4',6,6'-гексахлорбифенил | Номер по каталогу CAS: 33979-03-2 |
Из приведенных ниже соединений выбирают второй внутренний стандарт, не оказывающий мешающего влияния на определяемые компоненты:
ПХБ-143: 2,2',3,4,5,6'-гексахлорбифенил | Номер по каталогу CAS: 68194-15-0 |
ПХБ-207: 2,2',3,3',4,4',5,6,6'-нонахлорбифенил | Номер по каталогу CAS: 52663-79-3 |
Мирекс | Номер по каталогу CAS: 2385-85-5 |
4.10 Приготовление раствора тетрабутиламмония (сульфита тетрабутиламмония)
Готовят раствор гидросульфата тетрабутиламмония концентрацией 0,1 М (c[(C4H9)4NHSO4] = 0,1 моль/дм3), используя в качестве растворителя смесь воды и изопропанола, взятую в отношении 1:1 (по объему). В приготовленный раствор добавляют сульфит натрия до насыщения.
Примечание - Как правило, на 100 см3 раствора достаточно добавить 25 г сульфита натрия.
4.11 н-Гептан.
5.1 Стандартная стеклянная химическая посуда.
Всю используемую стеклянную посуду тщательно моют, предпочтительно в посудомоечном аппарате, после чего ополаскивают последовательно ацетоном, а затем петролейным эфиром или гексаном.
5.2 Стеклянные бутыли для анализируемых проб вместимостью 1 дм3 с закручивающимися крышками и тефлоновыми прокладками.
5.3 Встряхиватель для горизонтального встряхивания (200 - 300 встряхиваний в минуту).
5.4 Водяная баня с нагревом до 100 °C.
5.5 Делительные воронки вместимостью 2 дм3.
5.6 Конические колбы вместимостью 500 см
3.
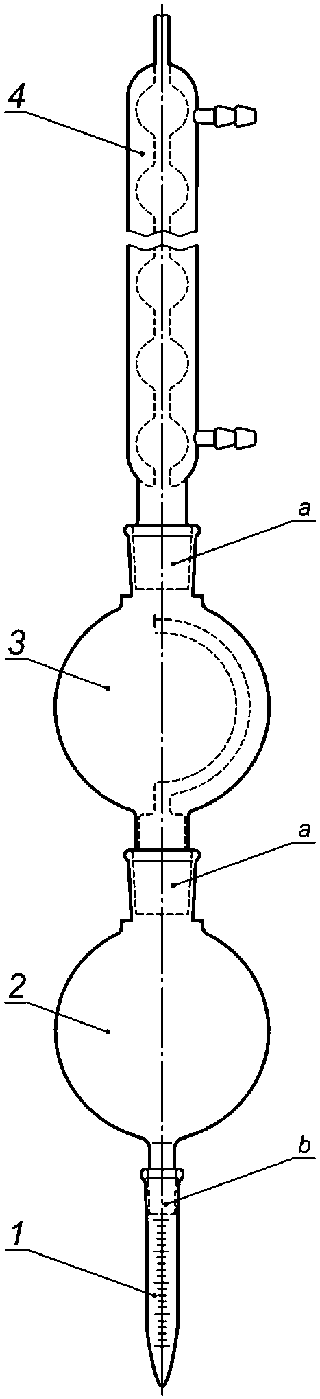
5.7 Испаритель Кудерна - Даниша (см. рисунок 1).
--------------------------------
1 - градуированная пробирка вместимостью 15 см3;
2 - перегоночная колба; 3 - приемник;
4 - обратный холодильник
Все комплектующие должны соответствовать
[1].
Рисунок 1 - Пример испарителя Кудерна - Даниша
Другие испарители, например роторный испаритель, также могут использоваться, если они в равной степени являются подходящими.
5.8 Кварцевое волокно или силанизированное стекловолокно, омытое петролейным эфиром или гексаном.
ВНИМАНИЕ - При работе с кварцевым волокном имеется риск попадания мелких частиц кварца в дыхательные пути. Для предотвращения этого следует проводить работы под тягой или использовать защитные маски.
5.9 Кипелки, гранулы из стекла или фарфора, омытые петролейным эфиром или гексаном.
5.10 Градуированные пробирки вместимостью 15 см
3 со стеклянными пробками на шлифах.
5.11 Хроматографические колонки (см. рисунок 2).
Рисунок 2 - Пример хроматографической колонки
5.12 Газовый хроматограф, снабженный системой ввода проб, капиллярной колонкой и электронозахватным детектором (ЭЗД) на основе 63Ni.
Примечания
1 Работа с закрытым радиоактивным источником, каковым является источник ЭЗД, проводится при наличии соответствующего разрешения согласно действующему национальному законодательству.
2 Газовый хроматограф, снабженный двумя детекторами и имеющий возможность подсоединения двух капиллярных колонок к одной и той же системе ввода проб, наилучшим образом подходит для данного анализа. Это позволяет одновременное проведение основного и подтверждающего анализа.
5.13 Капиллярная колонка из кварцевого стекла длиной 50 м и внутренним диаметром около 0,25 мм, покрытая пленкой связанного полисилоксана.
Возможно использование других колонок, однако в данном случае может наблюдаться неудовлетворительное разделение. Для подтверждения полученных результатов используют колонку, покрытую умеренно полярной фазой, например CP-Sil 19, OV 1701 и т.д.
Примечание - В
приложении A приведено время удерживания для ПХБ и ХОП, полученное на капиллярных колонках с CP-Sil 8 и CP-Sil 19.
6 Приготовление стандартных растворов ПХБ и ХОП
Готовят индивидуальные основные стандартные растворы компонентов в н-гептане массовой концентрацией около 0,4 мг/см
3. Для этого взвешивают 10 мг каждого стандартного вещества
(4.9) с точностью до 0,1 мг и растворяют каждый стандарт в 25 см
3 н-гептана.
Чистоту основных стандартных растворов проверяют газохроматографически, хроматографируя приготовленные растворы с использованием предпочтительно неспецифичного детектора, например пламенно-ионизационного детектора (ПИД) или детектора по теплопроводности (ДТП).
Готовят смесь стандартов ПХБ и ХОП: объединяют небольшие количества (2 - 10 мл) индивидуальных основных стандартных растворов, включая внутренние стандарты (см.
приложение B). Полученный раствор используют для приготовления рабочих стандартных растворов разбавлением согласно
приложению B.
Соединения, присутствующие в растворе смеси стандартов, должны полностью разделяться на используемой газохроматографической колонке.
Приготовленные основной и разбавленные стандартные растворы хранят в темном месте при температуре не выше 4 °C.
Примечание - Растворы устойчивы в течение одного года при условии минимального испарения растворителя.
7 Отбор проб и консервирование проб
Представительный образец почвы отбирают в соответствии с ISO 10381-1, используя оборудование для отбора проб по ISO 10381-2.
7.2 Консервирование и предварительная обработка проб
Образцы для анализа следует предварительно обработать как можно скорее после отбора проб. Пробы хранят в темном месте при температуре не выше 10 °C, по возможности в хладотермостате. Для анализа на ХОП срок хранения почвенных образцов с естественной влажностью не более 7 дней. Определяют содержание сухого вещества в почве с естественной влажностью в соответствии с ISO 11465. Измельчают образцы, если их однородность недостаточна для отбора представительной пробы почвы. Измельчение следует проводить в криогенных условиях после химической осушки пробы безводным сульфатом натрия
(4.5) в соответствии с ISO 14507.
Для воздушно-сухих образцов (закрытых) допускается более длительный срок хранения при комнатной температуре (около одного месяца).
8.1 Анализ холостой пробы
Перед проведением определений необходимо выполнить анализ холостой пробы по
8.2 -
8.5, используя те же количества реактивов, что и при проведении экстракции, очистке экстракта и анализе образца. Для образцов почвы, измельченных в криогенных условиях, проводят холостое определение, используя 8 г сульфата натрия
(4.5) и 2 г талька, добавляя все необходимые реактивы.
Если результаты холостого определения необоснованно завышены, т.е. составляют более 10% минимально определяемых концентраций, необходимо устранить мешающее влияние матрицы пошаговым анализом всех стадий проведения определений.
При проведении измерений на уровне предела определения даже реактивы, используемые для определения остаточных концентраций, могут давать мешающий фоновый сигнал. В этом случае следует проводить холостое определение в каждой серии образцов, поступающих на анализ.
Значения концентраций, полученные в результате анализа холостой пробы, должны быть ниже, чем пределы определения исследуемых веществ.
8.2 Экстракция и концентрирование
8.2.1 Воздушно-сухие образцы
20 г воздушно-сухой пробы помещают в коническую колбу
(5.6). К анализируемой пробе добавляют 50 см
3 ацетона
(4.2) и проводят экстракцию встряхиванием в течение 15 мин на встряхивателе
(5.3). Затем добавляют 50 см
3 петролейного эфира
(4.1) и продолжают встряхивание еще 15 мин. Повторяют экстракцию еще с 50 см
3 петролейного эфира
(4.1). Экстракты собирают в делительную воронку вместимостью 2 дм
3 и удаляют ацетон двукратным встряхиванием смеси с 500 см
3 воды. Экстракт пропускают через слой безводного сульфата натрия для удаления влаги и переносят в испаритель
(5.7). Сульфат натрия трижды промывают петролейным эфиром порциями по 10 см
3, и собранные промывные воды также переносят в испаритель.
8.2.2 Образцы естественной влажности
20 г естественно влажной пробы помещают в коническую колбу
(5.6). К анализируемой пробе добавляют 50 см
3 ацетона
(4.2) и проводят экстракцию путем энергичного встряхивания в течение 15 мин на встряхивателе
(5.3). Затем добавляют 50 см
3 петролейного эфира
(4.1) и продолжают встряхивание еще 15 мин. Повторяют экстракцию еще с 50 см
3 петролейного эфира
(4.1).
Если влажность образца превышает 25%, увеличивают количество используемого ацетона. Отношение ацетон:вода должно составлять не менее чем 9:1. Отношение ацетон:петролейный эфир должно постоянно находиться на уровне 1:2.
Полученные экстракты собирают в делительную воронку вместимостью 2 дм
3 и удаляют ацетон двукратным встряхиванием смеси с 500 см
3 воды. Экстракт пропускают через слой безводного сульфата натрия для удаления влаги и переносят в испаритель
(5.7). Сульфат натрия трижды промывают петролейным эфиром порциями по 10 см
3, и собранные промывные воды также переносят в испаритель.
Возможно применение альтернативных способов проведения экстракции, таких как ультразвуковое или микроволновое экстрагирование или экстрагирование под давлением. Однако следует учитывать, что характеристики используемого способа экстракции должны быть не ниже, чем у способа, описанного в настоящем стандарте.
8.2.3 Концентрирование
В испаритель помещают кипелки
(5.9) и концентрируют экстракт в течение 10 мин. Сконцентрированный экстракт переносят в градуированную пробирку
(5.10) и концентрируют до объема 1 см
3 в легком токе азота при комнатной температуре.
Примечание - Слишком высокая температура или слишком сильный поток азота могут привести к потерям наиболее летучих ПХБ и ХОП.
Готовят адсорбционную колонку, помещая в хроматографическую колонку
(5.11) небольшое количество кварцевого волокна
(5.8) и наполняя в сухом состоянии колонку (2,0 +/- 0,1) г окиси алюминия
(4.7).
Перед проведением элюирования проверяют элюирующую способность каждой партии колонок с окисью алюминия, а также устанавливают объем, необходимый для элюирования, используя для этого стандартные растворы ПХБ и ХОП.
При помощи пипетки переносят экстракт в сухую адсорбционную колонку с окисью алюминия. Дважды ополаскивают пробирку петролейным эфиром порциями по 1 см3, и полученные растворы переносят при помощи той же пипетки в колонку. Данную операцию проводят, когда уровень жидкости в колонке находится не ниже верхнего края набивки. Элюируют приблизительно 20 см3 петролейного эфира.
Элюат делят на две равные части. Одну часть оставляют на случай необходимости проведения анализа разбавленного экстракта. Вторую часть концентрируют в легком токе азота без дополнительного нагревания до объема приблизительно 1 см3.
Примечание - Возможно использование готовых промышленных колонок в качестве альтернативы, если их применение в данном случае адекватно.
Присутствие серы в экстракте ПХБ и неполярных ХОП может оказывать мешающее влияние на хроматограмме. Если предполагается присутствие элементарной серы (среди прочего, это вероятно при анализе анаэробных образцов почвы), ее удаляют следующим образом.
К 1 см
3 сконцентрированного экстракта добавляют 2 см
3 сульфита тетрабутиламмония
(4.10) и встряхивают в течение 1 мин. Добавляют 10 см
3 воды и продолжают встряхивание еще 1 мин. Отделяют органическую фазу от водной пипеткой Пастера и добавляют несколько кристалликов безводного сульфата натрия для удаления остатков влаги.
Примечание - Возможно применение альтернативных способов удаления серы, например с помощью пирогенной меди (см.
приложение D), в случае, если данные способы предполагают равнозначный результат.
Если дальнейшая очистка не требуется, к конечному экстракту добавляют 10 мкл стандартного раствора, содержащего стандарты веществ
(4.9.3) в количестве, в 100 раз большем (в пересчете на 1 см
3), чем в рабочем стандартном растворе (см.
приложение B).
8.4 Отделение ПХБ и неполярных ХОП от некоторых полярных ХОП методом колоночной хроматографии
В случае очень сложных по составу образцов газохроматографический анализ может дать недостаточное разделение веществ. Данную проблему можно решить проведением дополнительного хроматографического разделения всего концентрированного экстракта.
Концентрированный экстракт разделяют колоночной хроматографией на силикагеле
(4.8) на две фракции. Первая фракция содержит ПХБ и неполярные ХОП (ГХБ,
п,п'-ДДТ, гептахлор, альдрин,
п,п'-ДДТ). Вторая фракция содержит более полярные ХОП [

,

,

(линдан), дильдрин, эндрин,
о,п'-ДДД,

]. Элюирующую способность колонки проверяют с помощью стандартных растворов ПХБ и ХОП. При необходимости регулируют активность силикагеля добавлением дополнительного количества воды (если соединения из первой фракции появляются во второй фракции или если первая фракция не содержит соединения, приведенные выше). Добавляют меньшее количество воды в силикагель, если приведенные выше соединения из второй фракции появляются в первой фракции.
Экстракты разделяют следующим образом. Помещают небольшое количество кварцевого волокна в хроматографическую колонку. Насыпают в условиях сухости (1,5 +/- 0,1) г силикагеля
(4.8) и сверху фиксируют слоем 1 см сульфата натрия
(4.5). При помощи пипетки переносят концентрированный экстракт в сухую адсорбционную колонку с силикагелем. Дважды ополаскивают пробирку гексаном порциями по 1 мл, и полученные растворы переносят при помощи той же пипетки в колонку. Данную операцию проводят, когда уровень жидкости в колонке находится не ниже верхнего края набивки. Элюируют из расчета 25 см
3 гексана (первая фракция) и 25 см
3 смеси гексан:диэтиловый эфир (75:25 по объему) (вторая фракция).
Примечание - Возможно использование готовых промышленных колонок в качестве альтернативы, если они соответствуют по параметрам.
Каждый из двух полученных элюатов делят на две равные части и одну часть каждого элюата оставляют на случай необходимости повторного проведения анализа разбавленного экстракта. Оставшиеся части двух разделенных фракций выпаривают в пробирках до объема 1 см3.
К каждой из двух фракций добавляют 10 мкл стандартного раствора, содержащего стандарты веществ
(4.9.3) в количестве, в 100 раз большем (в пересчете на 1 см
3), чем в рабочем стандартном растворе (см.
приложение B).
8.5 Газохроматографический анализ
8.5.1 Оптимизация условий разделения
Оптимизируют режимы газового хроматографа для достижения оптимального разделения. Количество теоретических тарелок и фактор емкости для ПХБ-138 должны составлять соответственно не менее 6·104 и 6 при температуре 220 °C. Необходимо, чтобы наблюдалось достаточное разделение хроматографических пиков ПХБ-28 и ПХБ-31 (разрешение не менее 0,5) при интегрировании пика ПХБ-28.
Ниже приведены ориентировочные режимы газового хроматографа:
температура инжектора (только при проведении
инжекции в режиме без деления потока) ....... 210 °C;
температура колонки ......................... 80 °C в течение 4 мин,
затем нагрев со скоростью
4 °C/мин до 300 °C;
температура детектора ....................... 300 °C;
газ-носитель ................................ гелий;
скорость потока газа-носителя ............... 20 - 30 см/с.
8.5.2 Построение градуировочных зависимостей
8.5.2.1 Общие положения
Различают два типа градуировки: первичная градуировка
(8.5.2.2) и ежедневная градуировка (проверка первичной градуировки), или переградуировка
(8.5.2.3).
Первичная градуировка служит для нахождения линейного рабочего диапазона градуировочной кривой. Данный тип градуировки проводится при первичной апробации метода или же после замены/ремонта оборудования.
Переградуировка используется при проверке линейности рабочего диапазона первичной градуировочной кривой и проводится перед каждой серией анализов.
Примечание - Допустимо применение методов нелинейной градуировки в случае их правомерности.
8.5.2.2 Первичная градуировка
Снимают хроматограммы не менее пяти стандартных растворов с равноотстоящими концентрациями определяемых веществ согласно
приложению B, включая хроматограмму растворителя (холостой прогон) (см.
приложение B). Идентифицируют пики в соответствии с
приложением A, при необходимости используя хроматограммы индивидуальных компонентов. Строят градуировочные графики для каждого соединения.
Для расчетов рекомендуется использовать высоты пиков вместо площадей пиков.
Используя метод наименьших квадратов, рассчитывают прямую, удовлетворяющую всему диапазону градуировочных растворов. Если начало координат попадает в диапазон рассчитанной прямой с вероятностью 95%, пересчитывают уравнение линейной регрессии с учетом прохождения прямой через начало координат.
Если начало координат не попадает в диапазон прямой с вероятностью 95%, исключают раствор с самой высокой концентрацией и повторяют расчеты.
Определяют отклонение измеренных значений от первичной градуировочной прямой. При отклонении значений раствора с самой высокой концентрацией не более чем на 5% принимают, что весь диапазон концентраций попадает в рамки линейности. Если отклонение составляет более 5%, сужают диапазон исключением значений самой высокой концентрации.
В качестве рабочего стандарта выбирают градуировочный раствор с концентрацией, наиболее близкой к середине линейного диапазона. Если диапазон концентраций в пробах ниже, чем рассчитанный линейный диапазон, допускается в качестве рабочего стандарта использовать градуировочный раствор с низшей концентрацией, принимая условно его концентрацию как среднюю из диапазона анализируемых проб.
Перед проведением каждой серии анализов проверяют первичную градуировочную зависимость следующим образом.
Хроматографируют не менее двух градуировочных стандартов с концентрациями на уровне (20 +/- 10)% и (80 +/- 10)% от установленного линейного диапазона и рассчитывают прямую исходя из проведенных измерений. Если рассчитанная прямая совпадает с первичной градуировочной прямой с вероятностью не менее 95%, первичная градуировка признается действительной. В противном случае устанавливают новую градуировочную зависимость согласно
8.5.2.2.
После проведения проверки первичной градуировки поступают следующим образом.
Снимают хроматограмму рабочего стандарта. На основании полученной хроматограммы определяют относительное время удерживания для всех ПХБ и ХОП по отношению к внутреннему стандарту.
Относительное время удерживания tRRx соединения X по отношению к внутреннему стандарту ПХБ-155 рассчитывают по формуле

, (1)
где tARx - абсолютное время удерживания соединения X;
tARПХБ-155 - абсолютное время удерживания внутреннего стандарта ПХБ-155.
Затем определяют относительный отклик для всех ПХБ и ХОП по отношению к внутреннему стандарту ПХБ-155.
Относительный отклик rrelX соединения X по отношению к внутреннему стандарту ПХБ-155 рассчитывают по формуле

, (2)
где rX - отклик соединения X;
rПХБ-155 - отклик внутреннего стандарта ПХБ-155;
cX - концентрация соединения X;
cПХБ-155 - концентрация внутреннего стандарта ПХБ-155.
8.5.3 Проведение измерений
Обрабатывают хроматограммы экстрактов, полученные согласно
8.4. Используя абсолютное время удерживания, идентифицируют пики внутренних стандартов. Для остальных пиков на хроматограммах определяют относительное время удерживания по отношению к обоим внутренним стандартам. Идентифицируют соединение, если его относительное время удерживания отличается от рассчитанного по
8.5.2 не более чем на 0,2%.
Присутствие любого из идентифицированных соединений подтверждают повторным снятием хроматограммы по
8.5.1, используя колонку с умеренно полярной фазой
(5.13) или методом ГХ/МС.
8.5.4 Проведение расчетов
8.5.4.1 Общие принципы
Количественные расчеты концентраций ПХБ и ХОП проводят с использованием внутреннего стандарта, добавляемого к экстракту. Однако здесь возможны ошибки в случае присутствия на хроматограмме пика мешающего соединения, время удерживания которого совпадает со временем удерживания внутреннего стандарта. Поэтому к экстракту добавляют два стандарта для определения того, присутствуют ли в экстракте мешающие компоненты или таковых нет. В зависимости от характеристик используемых капиллярных колонок, выбирают соответствующие стандарты. В качестве стандарта может использоваться только такое соединение, время удерживания которого на обеих колонках не совпадает со временем удерживания ни одного из анализируемых компонентов.
Наличие или отсутствие мешающих соединений определяют исходя из измеренных откликов внутренних стандартов. Если в экстракте отсутствуют мешающие соединения, то отношение между откликами внутренних стандартов в экстракте равно данному отношению в стандартных растворах. Частное от этих двух отношений называется относительным отношением откликов Rrelr. При отсутствии мешающих соединений значение Rrelr как правило, равно 1,00. В настоящем стандарте предполагается, что мешающие соединения отсутствуют в экстракте, если Rrelr = 1,00 +/- 0,05.
Если значение Rrelr отличается от 1,00 +/- 0,05, предполагают, что на отклик одного из внутренних стандартов оказывает влияние мешающее соединение, присутствующее в экстракте. В этом случае количественные расчеты проводят по стандарту, на который не оказывается мешающее влияние. На практике это осуществляют количественными расчетами всех экстрактов по отношению к одному и тому же внутреннему стандарту и расчетом значений Rrelr для всех экстрактов. На отклик выбранного стандарта оказывается мешающее влияние, только если Rrelr > 1,05. В таких случаях можно провести количественные расчеты относительно другого стандарта умножением рассчитанных концентраций на значение Rrelr для каждого рассматриваемого экстракта.
Описанная проверка на отсутствие мешающего влияния предназначена только для обнаружения возможного мешающего влияния на месте пиков внутренних стандартов на рассматриваемой хроматограмме. Отсутствие мешающих соединений на месте пиков анализируемых ПХБ и ХОП определяют посредством подтверждения присутствия идентифицированных компонентов
(8.4). Предполагается, что мешающие соединения отсутствуют на месте пиков ПХБ и ХОП, если проверка дает результаты, отличающиеся от первоначально полученных не более чем на 10%.
Если результаты проверки дают значения концентраций ниже, чем полученные первоначально, предполагается, что первоначально рассчитанные концентрации завышены и обусловлены влиянием мешающих соединений. В этом случае в качестве результата анализа принимают меньшее из полученных значений, как более правдоподобное.
8.5.4.2 Процедура проведения расчетов
Рассчитывают концентрации ПХБ и ХОП относительно внутреннего стандарта следующим образом.
Подтверждают правильность отклика внутреннего стандарта.
Относительное отношение откликов Rrelr для внутренних стандартов ПХБ и ХОП рассчитывают по формуле

, (3)
где re,155 - отклик ПХБ-155 в экстракте;
re,2 - отклик второго выбранного стандарта в экстракте;
rs,155 - отклик ПХБ-155 в рабочем стандартном растворе;
rs,2 - отклик второго выбранного стандарта в рабочем стандартном растворе.
Теоретическое значение относительного отношения откликов Rrelr составляет 1,00. Если Rrelr = 1,00 +/- 0,05, считают, что концентрации внутренних стандартов рассчитаны корректно, и для формулы, приведенной ниже, принимают Rrelr = 1,00. Если же получают Rrelr менее 0,95 или более 1,05, то следует перепроверить расчеты по хроматограмме для обоих внутренних стандартов. Особое внимание при этом уделяют форме и ширине пиков. Если количественные расчеты проведены верно, то при расчете конечных концентраций для Rrelr < 0,95 корректировку не проводят (т.е. принимают Rrelr = 1,00), а для Rrelr > 1,05 - проводят (принимают Rrelr равным рассчитанному значению).
Концентрации идентифицированных соединений относительно внутреннего стандарта ПХБ-155 рассчитывают по формуле

, (4)
где

- массовая концентрация индивидуального ПХБ или ХОП в образце, мкг/кг сухого вещества;
re,i - отклик ПХБ или ХОП в экстракте;
re,155 - отклик внутреннего стандарта ПХБ-155 в экстракте;
me,155 - масса внутреннего стандарта ПХБ-155 в экстракте, нг;
rrel,i,155 - относительный отклик ПХБ или ХОП в стандартном растворе по отношению к ПХБ-155;
ft - фактор сложения в соответствии с ISO 14507;
ms - масса анализируемого образца, используемая при вычислениях, г;

- массовая доля сухого вещества в естественно влажном образце, определяемая при высушивании образца при 105 °C в соответствии с ISO 11465, кг/кг;
Rrelr - относительное отношение откликов (см. 8.5.4).
Если рассчитанная массовая концентрация одного или нескольких ПХБ или ХОП превышает верхний уровень диапазона линейности для данного соединения, то следует провести повторное хроматографирование экстракта при его разбавлении. Для этого используют вторую часть элюата, полученного по
8.3. Данную порцию экстракта разбавляют таким образом, чтобы содержание определяемого компонента попадало в линейный диапазон концентраций. Далее добавляют 10 мкл стандартных растворов согласно
8.4 и повторяют анализ, начиная с 8.5.
Примечание - Для принятого метода расчета нет необходимости учитывать при расчете коэффициент разбавления.
Полученные результаты округляют в соответствии с таблицей 1.
Таблица 1
Массовая концентрация, мкг/кг | Округление проводится до, мкг/кг |
От 1 до 100 | 1 |
От 100 до 1000 | 10 |
Отчет должен содержать по меньшей мере следующие данные:
a) информацию, необходимую для идентификации образца;
b) ссылку на настоящий стандарт;
c) условия газохроматографического анализа и описание использованных колонок;
d) массовые концентрации индивидуальных ПХБ и ХОП, мкг/кг сухого вещества, округленные в соответствии с
таблицей 1;
e) дополнительные сведения, не оговариваемые в настоящем стандарте, но имеющие значение для адекватного представления полученных результатов.
10 Характеристики точности
В
приложении C представлены результаты межлабораторного эксперимента, выполненного согласно голландскому национальному стандарту NEN 5734, который практически идентичен настоящему стандарту. Для анализа было предложено пять различных образцов почвы. В эксперименте участвовало от 6 до 10 лабораторий. В качестве результатов представлены относительное стандартное отклонение (rsd) воспроизводимости и усредненное значение концентраций определяемых веществ в анализируемых образцах.
(справочное)
ТАБЛИЦА ВРЕМЕНИ УДЕРЖИВАНИЯ ПОЛИХЛОРИРОВАННЫХ БИФЕНИЛОВ
И ХЛОРОРГАНИЧЕСКИХ ПЕСТИЦИДОВ ДЛЯ ДВУХ РАЗЛИЧНЫХ
КАПИЛЛЯРНЫХ КОЛОНОК
Таблица A.1
Время удерживания
Соединение | Время удерживания, мин |
| |
1,3,5-трихлорбензол | 12,67 | 12,16 |
1,2,4-трихлорбензол | 13,75 | 13,59 |
1,2,3-трихлорбензол | 14,81 | 14,69 |
1,2,3,5-тетрахлорбензол | 18,25 | 17,35 |
1,2,4,5-тетрахлорбензол | 18,25 | 17,35 |
1,2,3,4-тетрахлорбензол | 19,82 | 19,34 |
Пентахлорбензол | 24,19 | 23,12 |
Гексахлорбензол | 29,50 | 28,38 |
| 29,01 | 30,36 |
| 30,22 | 35,41 |
 (линдан) | 30,63 | 32,29 |
Альдрин | 35,75 | 34,82 |
Дильдрин | 40,40 | 40,76 |
Изодрин | 37,00 | 36,53 |
Эндрин | 41,57 | 41,86 |
Телодрин | 36,38 | 35,93 |
Гептахлорбензол | 34,13 | 33,55 |
Гептахлорэпоксид (транс-) | 37,60 | 37,90 |
Гептахлорэпоксид (цис-) | | |
| 39,12 | 39,01 |
о,п'-ДДД | 40,55 | 41,33 |
п,п'-ДДД | 42,27 | 43,92 |
о,п'-ДДЭ | 38,58 | 38,36 |
п,п'-ДДЭ | 40,05 | 39,87 |
о,п'-ДДТ | 42,56 | 42,28 |
п,п'-ДДТ | 44,64 | 45,19 |
ПХБ-28 | 33,32 | 32,98 |
ПХБ-52 | 34,85 | 34,54 |
ПХБ-101 | 38,71 | 38,27 |
ПХБ-118 | 41,89 | 41,61 |
ПХБ-138 | 45,00 | 44,54 |
ПХБ-153 | 43,18 | 42,49 |
ПХБ-180 | 50,41 | 49,47 |
Примечание - В зависимости от используемой колонки, возможно совместное элюирование указанных ПХБ с другими конгенерами. Информацию по элюированию можно получить в технических условиях соответствующей колонки или тестовых хроматограммах. -------------------------------- <a> 50 м CP-Sil 8; 0,22 мм x 0,12 мкм. <b> 50 м CP-Sil 19; 0,22 мм x 0,12 мкм. |
(справочное)
СХЕМА ПРИГОТОВЛЕНИЯ СТАНДАРТНЫХ РАСТВОРОВ,
ВКЛЮЧАЯ ВНУТРЕННИЕ СТАНДАРТЫ
Для

вначале используют 10 мкг/дм
3.
Соединение
n - один из стандартов по
4.9.1 или
4.9.2.
Внутренний стандарт
n - один из внутренних стандартов по
4.9.3.
ОС - индивидуальные концентрации основных стандартных растворов
(раздел 6).
(справочное)
РЕЗУЛЬТАТЫ МЕЖЛАБОРАТОРНОГО ЭКСПЕРИМЕНТА,
ПРОВЕДЕННОГО В ГОЛЛАНДИИ
Таблица C.1
Результаты межлабораторного эксперимента,
проведенного в Голландии
Соединение | Предел обнаружения для почвы,  | Предел обнаружения для донных отложений,  | Повторяемость для почвы r, % | Повторяемость для донных отложений r, % |
ПХБ |
ПХБ-28 | 1,0 | 1,5 | 10 | 10 |
ПХБ-52 | 1,7 | 1,0 | 9 | 9 |
ПХБ-101 | 0,5 | 0,4 | 8 | 7 |
ПХБ-118 | 0,5 | 0,5 | 5 | 10 |
ПХБ-138 | 3,1 | 0,3 | 6 | 4 |
ПХБ-153 | 0,8 | 0,2 | 5 | 10 |
ПХБ-180 | 0,4 | 0,3 | 5 | 5 |
ХОП |
Альдрин | 0,2 | 0,5 | 13 | 8 |
Дильдрин | 0,3 | 0,2 | 9 | 9 |
Эндрин | 0,4 | 0,3 | 8 | 14 |
2,4'-ДДТ/4,4'-ДДТ | 0,4/4,4 | 0,3/0,2 | 7/9 | 34 |
2,4'-ДДД/4,4'-ДДД | 0,3/0,4 | 0,14/0,15 | 7/5 | 9/6 |
2,4'-ДДЭ/4,4'-ДДЭ | 0,3/0,8 | 0,13/0,10 | 10/5 | 11/12 |
| 0,1 | 0,39 | 12 | 7 |
| 0,1 | 0,23 | 14 | 12 |
| 0,3 | 0,24 | 8 | 12 |
 (линдан) | 0,2 | 0,24 | 13 | 11 |
Гептахлор | 0,3 | 0,51 | 12 | 13 |
транс-гептахлорэпоксид | 0,2 | 0,3 | 9 | 7 |
транс/цис-хлордан | 0,3/0,3 | 0,3/0,2 | 9/9 | 12/10 |
Гексахлорбутадиен | 0,2 | 0,7 | 27 | 22 |
Трихлорбензол | 1,6 | 0,6 | 7 | 27 |
Тетрахлорбензол | 0,7 | 0,8 | 13 | 10 |
Пентахлорбензол | 0,3 | 0,5 | 12 | 10 |
Гексахлорбензол | 0,4 | 0,5 | 11 | 7 |
Таблица C.2
Результаты межлабораторного эксперимента,
проведенного в Голландии
Соединение | Вид пробы |
Глина SC101 | Торф SP111 | Песок SS155 | Донные отложения WC 102 | Донные отложения WC 106 |
ПХБ | | | | | | | | | | |
ПХБ-28 | 29 | 3 | | | 89 | 490 | 59 | 62 | 130 | 64 |
ПХБ-52 | 59 | 3 | | | 61 | 370 | 54 | 37 | 104 | 110 |
ПХБ-101 | 27 | 5 | | | 103 | 700 | 52 | 47 | 52 | 29 |
ПХБ-118 | 29 | 4 | | | 46 | 490 | 47 | 34 | | |
ПХБ-138 | 40 | 7 | | | 23 | 610 | 66 | 41 | | |
ПХБ-153 | 27 | 8 | | | 40 | 480 | 47 | 50 | 142 | 110 |
ПХБ-180 | 20 | 5 | | | 79 | 260 | 57 | 24 | 93 | 30 |
ХОП |
Альдрин | | | 34 | 110 | 146 | 23 000 | | | 58 | 3100 |
Дильдрин | | | 49 | 67 | 64 | 12 000 | | | 73 | 6100 |
Эндрин | | | 49 | 13 | 43 | 1800 | | | 65 | 550 |
ДДТ | 49 | 53 | 78 | 690 | 106 | 130 000 | 47 | 26 | 80 | 230 000 |
ДДД | 49 | 13 | 81 | 110 | 72 | 12 000 | 117 | 19 | 51 | 110 000 |
ДДЭ | 29 | 120 | 42 | 81 | 84 | 12 000 | 66 | 16 | 85 | 4400 |
| | | 23 | | 56 | 3500 | | | 61 | 5500 |
| | | 74 | 8 | 28 | 390 | | | 47 | 7 |
| | | 49 | 14 | 66 | 2300 | | | 52 | 530 |
 (линдан) | | | 43 | 7 | 29 | 860 | | | 66 | 32 |
Гептахлор | | | 76 | 2 | 125 | 580 | | | 71 | 130 |
Гептахлорэпоксид | | | | | 77 | 620 | | | 67 | 35 |
Хлордан | | | | | | | | | | |
Гексахлорбутадиен | | | | | | | | | | |
Хлорбензол | | | | | | | | | | |
Трихлорбензол | | | | | | | | | | |
Тетрахлорбензол | | | | | | | | | | |
Пентахлорбензол | | | | | | | 65 | 7 | | |
Гексахлорбензол | | | | | | | 60 | 14 | | |
<a> Относительное стандартное отклонение, %. <b> Усредненная массовая концентрация  . |
Таблица C.3
Результаты межлабораторного эксперимента,
проведенного в Голландии
Соединение | Число лабораторий | | |
Глина |
ПХБ | 10 | От 4 до 10 | От 20 до 60 |
ХОП | 10 | От 4 до 13 | От 30 до 50 |
Хлорбензол | 10 | От 10 до 15 | - |
Торф |
ПХБ | 9 | - | - |
ХОП | 9 | - | От 25 до 80 |
Хлорбензол | 9 | - | - |
Песок |
ПХБ | 10 | - | От 25 до 100 |
ХОП | 10 | - | От 30 до 150 |
Хлорбензол | 10 | - | - |
Донные отложения |
ПХБ | 10 | - | От 50 до 65 |
ХОП | 10 | - | От 50 до 120 |
Хлорбензол | 10 | - | От 60 до 65 |
Донные отложения |
ПХБ | 10 | От 4 до 10 | От 50 до 140 |
ХОП | 10 | От 4 до 15 | От 45 до 85 |
Хлорбензол | 10 | От 5 до 15 | - |
<a> Коэффициент изменчивости для повторяемости. <b> Коэффициент изменчивости для воспроизводимости. |
(справочное)
ПРОВЕДЕНИЕ ОЧИСТКИ С ЦЕЛЬЮ УДАЛЕНИЯ ЭЛЕМЕНТАРНОЙ СЕРЫ
И НЕКОТОРЫХ ОРГАНИЧЕСКИХ СОЕДИНЕНИЙ СЕРЫ
D.1 Реактивы
D.1.1 Сульфат меди (II) 5-водный, CuSO
4·5H
2O.
D.1.2 Соляная кислота HCl концентрацией 2 моль/дм
3.
D.1.3 Цинк гранулированный, частицы размером 0,3 - 1,4 мм.
D.1.4 Водный раствор анионного ПАВ, например натриевой соли
н-додекан-1-сульфоновой кислоты CH
3(CH
2)
11SO
3Na концентрацией 35 мас. %.
Примечание - Допускается применение других промышленных ПАВ.
D.1.5 Вода, освобожденная от кислорода.
D.2 Приготовление пирогенной меди
ВНИМАНИЕ - Пирогенная медь может самопроизвольно воспламеняться. Следует соблюдать соответствующие меры безопасности.
45 г сульфата меди (II) 5-водного
(D.1.1) растворяют в 480 см
3 воды, содержащей 20 см
3 соляной кислоты
(D.1.2), в стакане вместимостью 1000 см
3.
Во втором стакане вместимостью 1000 см
3 смешивают 15 г гранулированного цинка
(D.1.3), 25 см
3 воды и одну каплю раствора анионного ПАВ
(D.1.4).
При помощи магнитной мешалки (высокая скорость) размешивают данную смесь до образования однородной суспензии. Далее, не прекращая перемешивание на высокой скорости, осторожно при помощи стеклянной палочки по каплям добавляют раствор сульфата меди (II).
При этом выделяется водород и выпадает в осадок элементарная пирогенная медь (осадок, окрашенный в красный цвет).
Продолжают перемешивание до практически полного прекращения выделения водорода. Дают образовавшейся взвеси осесть. Надосадочную жидкость аккуратно сливают и трижды промывают образовавшийся продукт водой, освобожденной от кислорода
(D.1.5), для удаления остатков солей.
Осторожно, продолжая перемешивание, заменяют воду ацетоном
(D.1.6). Данную операцию повторяют трижды, используя каждый раз по 250 см
3 ацетона для наиболее полного удаления воды.
Повторяют предыдущую операцию, заменяя ацетон гексаном
(D.1.7). Также используют 250 см
3 гексана и трижды проводят обработку вещества для наиболее полного удаления ацетона.
Осторожно переносят медь в гексане в колбу Эрленмейера и хранят под слоем гексана. Колбу герметично закрывают для предотвращения попадания воздуха и хранят во взрывобезопасном хладотермостате при температуре от 2 °C до 8 °C.
Срок хранения пирогенной меди составляет по меньшей мере 2 мес. После этого эффективность меди в ходе применения для очистки начинает уменьшаться. При этом меняется цвет приготовленного препарата меди.
D.3 Очистка с использованием пирогенной меди
В центрифужную пробирку помещают 1 - 2 см
3 экстракта (в петролейном эфире с температурой кипения 40 °C - 60 °C). Добавляют 100 мг порошка пирогенной меди, приготовленной согласно
D.2. Смесь центрифугируют не менее 5 мин при скорости вращения приблизительно 3500 об/мин (необходимо убедиться, что раствор не мутный). Экстракт отделяют и при необходимости проводят дальнейшую очистку с использованием колоночной хроматографии.
(справочное)
СВЕДЕНИЯ О СООТВЕТСТВИИ ССЫЛОЧНЫХ МЕЖДУНАРОДНЫХ СТАНДАРТОВ
МЕЖГОСУДАРСТВЕННЫМ СТАНДАРТАМ
Таблица ДА.1
Обозначение ссылочного международного стандарта | Степень соответствия | Обозначение и наименование соответствующего межгосударственного стандарта |
ISO 10381-1 | - | |
ISO 10381-2 | - | |
ISO 11465 | - | |
ISO 14507 | IDT | ГОСТ ISO 14507-2015 "Качество почвы. Предварительная подготовка проб для определения органических загрязняющих веществ" |
<*> Соответствующий межгосударственный стандарт отсутствует. До его принятия рекомендуется использовать перевод на русский язык данного международного стандарта. Примечание - В настоящей таблице использовано следующее условное обозначение степени соответствия стандарта: - IDT - идентичный стандарт. |
--------------------------------
<1> В Российской Федерации действует
ГОСТ Р ИСО 11465-2011 "Качество почвы. Определение массовой доли сухого вещества и массового отношения влаги гравиметрическим методом".
| ISO 383 | Laboratory glassware - Interchangeable conical ground joints (Лабораторная посуда. Сменные конические шлифы) |
[2] | DIN 38407-3 | Standard methods for the determination of water, waste water and sludge - Jointly determinable substances (Group F) - Part 3: Determination of polychlorinated biphenyls (F3) [Стандартные методы анализа вод, сточных вод и шламов. Совместное определение веществ (Группа F). Часть 3. Определение полихлорированных бифенилов (F3)] |
УДК 631.453:006.86:006.354 | | IDT |
Ключевые слова: качество почв, хлорорганические пестициды, полихлорированные бифенилы, газохроматографический метод |