Главная // Актуальные документы // ГОСТ (Государственный стандарт)СПРАВКА
Источник публикации
М.: Стандартинформ, 2020
Примечание к документу
Текст данного документа приведен с учетом
поправки, опубликованной в "ИУС", N 8, 2023.
Документ
введен в действие с 01.10.2021.
Название документа
"ГОСТ EN 13832-1-2020. Межгосударственный стандарт. Система стандартов безопасности труда. Обувь специальная для защиты от химических веществ. Часть 1. Методы испытаний"
(введен в действие Приказом Росстандарта от 13.10.2020 N 814-ст)
"ГОСТ EN 13832-1-2020. Межгосударственный стандарт. Система стандартов безопасности труда. Обувь специальная для защиты от химических веществ. Часть 1. Методы испытаний"
(введен в действие Приказом Росстандарта от 13.10.2020 N 814-ст)
по техническому регулированию
и метрологии
от 13 октября 2020 г. N 814-ст
МЕЖГОСУДАРСТВЕННЫЙ СТАНДАРТ
СИСТЕМА СТАНДАРТОВ БЕЗОПАСНОСТИ ТРУДА
ОБУВЬ СПЕЦИАЛЬНАЯ ДЛЯ ЗАЩИТЫ ОТ ХИМИЧЕСКИХ ВЕЩЕСТВ
ЧАСТЬ 1
МЕТОДЫ ИСПЫТАНИЙ
Occupational safety standards system. Special footwear
for protection against chemicals. Part 1. Test methods
(EN 13832-1:2018, Footwear protecting against chemicals -
Part 1: Terminology and test methods, IDT)
ГОСТ EN 13832-1-2020
Дата введения
1 октября 2021 года
Цели, основные принципы и общие правила проведения работ по межгосударственной стандартизации установлены
ГОСТ 1.0 "Межгосударственная система стандартизации. Основные положения" и
ГОСТ 1.2 "Межгосударственная система стандартизации. Стандарты межгосударственные, правила и рекомендации по межгосударственной стандартизации. Правила разработки, принятия, обновления и отмены"
1 ПОДГОТОВЛЕН Обществом с ограниченной ответственностью "МОНИТОРИНГ" (ООО "МОНИТОРИНГ") на основе официального перевода на русский язык англоязычной версии стандарта, указанного в
пункте 4, который выполнен ООО "МОНИТОРИНГ"
2 ВНЕСЕН Федеральным агентством по техническому регулированию и метрологии
3 ПРИНЯТ Межгосударственным советом по стандартизации, метрологии и сертификации (протокол от 31 августа 2020 г. N 132-П)
За принятие проголосовали:
Краткое наименование страны по МК (ИСО 3166) 004-97 | Код страны по МК (ИСО 3166) 004-97 | Сокращенное наименование национального органа по стандартизации |
Азербайджан | AZ | Азстандарт |
Армения | AM | Минэкономики Республики Армения |
Беларусь | BY | Госстандарт Республики Беларусь |
Казахстан | KZ | Госстандарт Республики Казахстан |
Киргизия | KG | Кыргызстандарт |
Россия | RU | Росстандарт |
Таджикистан | TJ | Таджикстандарт |
Узбекистан | UZ | Узстандарт |
4
Приказом Федерального агентства по техническому регулированию и метрологии от 13 октября 2020 г. N 814-ст межгосударственный стандарт ГОСТ EN 13832-1-2020 введен в действие в качестве национального стандарта Российской Федерации с 1 октября 2021 г.
5 Настоящий стандарт идентичен европейскому стандарту EN 13832-1:2018 "Обувь для защиты от химических веществ. Часть 1. Терминология и методы испытаний" ("Footwear protecting against chemicals - Part 1: Terminology and test methods", IDT).
Указанный стандарт разработан Техническим комитетом CEN/TC 161 "Защита ног".
Наименование настоящего стандарта изменено относительно наименования указанного международного стандарта для увязки с наименованиями, принятыми в существующем комплексе межгосударственных стандартов.
При применении настоящего стандарта рекомендуется использовать вместо ссылочных международных и европейских стандартов соответствующие им межгосударственные стандарты, сведения о которых приведены в дополнительном
приложении ДА
6 ВВЕДЕН ВПЕРВЫЕ
7 Некоторые элементы настоящего стандарта могут являться объектами патентных прав
Информация о введении в действие (прекращении действия) настоящего стандарта и изменений к нему на территории указанных выше государств публикуется в указателях национальных стандартов, издаваемых в этих государствах, а также в сети Интернет на сайтах соответствующих национальных органов по стандартизации.
В случае пересмотра, изменения или отмены настоящего стандарта соответствующая информация будет опубликована на официальном интернет-сайте Межгосударственного совета по стандартизации, метрологии и сертификации в каталоге "Межгосударственные стандарты"
Настоящий стандарт устанавливает методы испытаний специальной обуви по показателям устойчивости к воздействию определенных химических веществ: выплеску, разрушению материала под действием химических веществ и проникновению.
В настоящем стандарте использованы нормативные ссылки на следующие стандарты. Для датированных ссылок применяют только указанное издание ссылочного стандарта, для недатированных - последнее издание (включая все изменения).
EN 16523-1:2015, Determination of material resistance to permeation by chemicals - Part 1: Permeation by liquid chemical under conditions of continuous contact (Определение сопротивления материалов проникновению химических веществ. Часть 1. Проникновение жидких химических веществ при длительном контакте)
EN ISO 868:2003, Plastics and ebonite. Determination of indentation hardness by means of a durometer (Shore hardness) (ISO 868:2003) [Пластмасса и эбонит. Определение твердости на вдавливание с помощью твердомера (твердость по Шору) (ISO 868:2003)]
EN ISO 20344:2011, Personal protective equipment - Test methods for footwear (ISO 20344:2011) [Средства индивидуальной защиты. Методы испытаний обуви (ISO 20344:2011)]
ISO 23529, Rubber - General procedures for preparing and conditioning test pieces for physical test methods (Резина. Общие процедуры подготовки и кондиционирования образцов для физических методов испытаний)
В настоящем стандарте применены термины по EN ISO 20344:2011 и EN 16523-1, а также следующие термины с соответствующими определениями:
3.1 разрушение материала (degradation): Недопустимые изменения одной или нескольких характеристик материала обуви вследствие контакта с химическими веществами.
Примечание 1 - К таким изменениям относятся, например, отслаивание, разбухание, частичное растворение, приобретение хрупкости, обесцвечивание, изменение размеров, изменение внешнего вида, уплотнение и размягчение.
3.2 проникновение (permeation): Процесс, в ходе которого химическое вещество проникает на молекулярном уровне через материал обуви.
Примечание 1 - Проникновение включает следующие процессы:
- сорбцию молекул химического вещества на контактной (внешней) поверхности материала, который вступает в контакт с химическими веществами;
- диффузию поглощенных молекул через материал;
- десорбцию молекул химического вещества с изнаночной (внутренней) поверхности материала.
3.3 выплеск (splashing): Воздействие химических веществ на обувь при ограниченном контакте.
3.4 тест-вещество (test chemical): Химическое вещество, используемое для оценки устойчивости обуви или материала обуви при контакте с ним в лабораторных условиях.
Примечание 1 - Данные химические вещества могут оказывать вредное воздействие на организм человека при контакте с кожей.
4.1 Отбор образцов и кондиционирование
Минимальное количество образцов, т.е. отдельных предметов обуви, которые предназначены для проведения испытаний на соответствие требованиям EN ISO 20344:2011, а также минимальное количество испытуемых проб, которые отбираются из каждого образца, указаны в
таблице 1.
Таблица 1
Минимальное количество образцов и испытуемых проб
Испытания | Количество испытуемых проб для каждого испытуемого образца | Испытания только обуви в сборе |
Применим EN ISO 20344:2011, таблица 1 | |
Испытания на устойчивость к выплеску (4.2) | 1 пара обуви (среднего размера из размерного ряда) для каждого тест-вещества | Да |
Испытание на устойчивость к разрушению материала под действием химических веществ (4.3) | - 2 круглые испытуемые пробы подошвы (одна до и одна после воздействия тест-вещества на материал); - 2 круглые испытуемые пробы из верха обуви (одна до и одна после воздействия тест-вещества на материал) | По возможности |
Испытание на устойчивость к проникновению (4.4) | 3 круглые испытуемые пробы для каждого тест-вещества | Да |
При возможности и отсутствии других указаний испытуемые пробы следует отбирать из готовой обуви в сборе.
При невозможности отбора из предметов обуви испытуемых проб необходимого размера допускается осуществлять отбор испытуемых проб из образца того материала, из которого изготовлены составные части обуви, при условии указания данной информации в протоколе испытаний.
Испытуемые пробы, если иное не установлено в методе испытаний, перед проведением испытания выдерживают в течение не менее 24 ч в стандартных атмосферных условиях при температуре (23 +/- 2) °C и относительной влажности (50 +/- 5)%.
Время между окончанием кондиционирования и непосредственным началом испытания, если иное не установлено в методе испытания, должно составлять не более 10 мин.
Для каждого из обязательных измерений, которые выполняются в соответствии с настоящим стандартом, должна быть определена соответствующая оценка неопределенности измерения. С этой целью применяются следующие подходы:
- статистический метод, например ISO 5725-2
[9];
- математический метод, например Руководство ISO/IEC 98-3
[10];
- оценку погрешностей и соответствия в соответствии с Руководством ISO/IEC 98-4
[11];
4.2 Испытание на устойчивость к выплеску
Образцы обуви в сборе подвергают в рамках установленных временных интервалов воздействию ограниченного объема определенных жидкостей, с которыми возможен контакт обуви в условиях эксплуатации.
Повреждения в материалах и конструкции обуви, включая проникание через швы и конструктивные элементы обуви, оценивают на следующем этапе испытания.
При проведении испытания для каждого тест-вещества используют одну пару обуви.
a) В целях удаления остатков различных загрязнений обувь протирают сухой бумажной салфеткой.
b) Стороны испытуемого образца маркируют горизонтальной линией, как показано на
рисунке 1 (для этой цели можно воспользоваться восковым карандашом или мелком). Высота
h установлена в EN ISO 20345:2011 (таблица 10) (это минимальная высота, ниже которой должны быть выполнены требования для верха обуви). Указанная высота предназначена для идентификации испытуемой поверхности (под установленной линией) в целях применения тест-вещества надлежащим образом.
h - высота испытуемой поверхности;
1 - испытуемая поверхность
Рисунок 1 - Испытуемая поверхность при испытании
на устойчивость к выплеску
c) Обувь выдерживают в течение не менее 24 ч в стандартных атмосферных условиях при температуре (23 +/- 2) °C и относительной влажности воздуха (50 +/- 5)%. Испытания проводят при температуре от 20 °C до 25 °C.
d) Обувь заполняют абсорбирующей бумагой в целях возможного обнаружения проникания жидкости. При этом необходимо удостовериться в том, что бумага соприкасается со швами обуви с передней стороны, со складками и, в особенности, со шнуровкой.
e) Плотно застегивают обувь.
f) Готовят не менее 130 см3 определенного тест-вещества.
При использовании нескольких тест-веществ для каждого испытания требуется новая пара обуви.
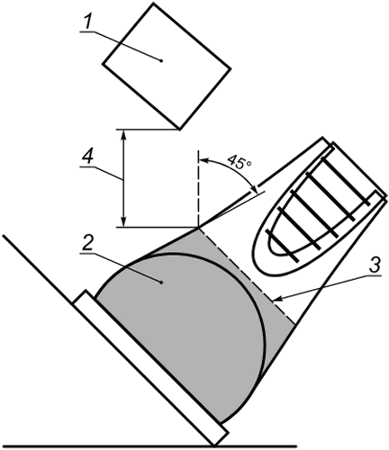
g) Помещают обувь в поддон надлежащего размера [размеры: (30 +/- 1) см в ширину, (40 +/- 1) см в длину, (5 +/- 1) см в высоту] для сбора остатков жидкости при выплеске на обувь в процессе испытания. Материал поддона должен быть устойчив к действию тест-веществ. Необходимо избегать случайного попадания жидкости внутрь обуви в процессе испытания.
h) На каждую из боковых сторон, а также на переднюю часть полупары обуви при помощи подходящей емкости равномерно выливают тест-вещество в количестве (20 +/- 2) см3 таким образом, чтобы общий израсходованный объем тест-вещества составил (60 +/- 6) см3.
Примечание 1 - Установлено, что использование емкостей с тест-веществом в количестве (20 +/- 2) см3 способствует его более равномерному нанесению на каждую боковую сторону, а также на переднюю часть обуви.
При проведении испытания обувь наклоняют под углом (45 +/- 10)° и выливают тест-вещество на ее боковые стороны. Емкость с тест-веществом объемом 20 см
3 перемещают вдоль нанесенной линии, при этом жидкость выливают на испытуемую наружную поверхность образца. Расстояние от точки выплеска до наружной поверхности образца должно составлять от 4 см до 6 см (см.
рисунок 2). До завершения осмотра обуви жидкость, находящаяся в поддоне, должна оставаться в контакте с подошвой.
1 - емкость, содержащая 20 см3 тест-вещества; 2 - испытуемая
поверхность; 3 - верхняя граница испытуемой поверхности (см.
рисунок 1);
4 - расстояние от точки выплеска от 4 см до 6 см
Рисунок 2 - Схема испытания на устойчивость к выплеску
i) Образец выдерживают в течение 10 мин +/- 30 с.
j) На каждую из боковых сторон, а также на переднюю часть другой полупары обуви при помощи подходящей емкости равномерно выливают тест-вещество в количестве (20 +/- 2) см3 таким образом, чтобы общий израсходованный объем тест-вещества составил (60 +/- 6) см3.
k) Образец выдерживают в течение 10 мин +/- 30 с, прежде чем извлечь его из поддона и провести оценку повреждений.
l) Абсорбирующую бумагу извлекают из обуви и, если жидкость проникла внутрь и заметны ее следы, отмечают точки проникания.
m) Через 1 ч +/- 2 мин после выплеска тест-вещества проводят визуальный осмотр пары обуви для сравнения с обувью в первоначальном состоянии (или с фотографией) и фиксируют любые повреждения или визуально заметные изменения, как указано в
приложении B (например, различимые повреждения или изменение наружной поверхности, деформирование элементов, ухудшение функциональной пригодности). Особенно тщательно проверяют зону с ограниченным обзором, располагающуюся под шнуровкой или застежкой, где возможно накопление тест-вещества. Испытуемый образец разрезают для оценки повреждений или наличия жидкости внутри обуви.
n) Через 24 ч +/- 30 мин после выплеска тест-вещества на обувь проводят повторный визуальный осмотр пары обуви для сравнения с обувью в первоначальном состоянии (или с фотографией) и фиксируют любые повреждения или визуально заметные изменения, как указано в
приложении B.
Протокол испытаний должен содержать следующую информацию:
a) обозначение настоящего стандарта, 4.2;
b) полное описание образца и его происхождение;
c) полное описание химических веществ, которые применялись при испытании на устойчивость к выплеску;
d) внешний вид испытуемой пробы после испытания на устойчивость к выплеску (например, образование трещин, расслоение): по истечении 10 мин, спустя 1 ч и 24 ч после испытания;
e) любое проникание химических веществ внутрь обуви;
f) любые излишки химических веществ на обуви (внутри или снаружи);
g) любые отклонения от метода испытаний.
4.3 Испытание материала на устойчивость к разрушению
Основные физико-механические характеристики составных частей обуви (верх обуви и подошва) проверяют до и после контакта с химическими веществами.
4.3.2 Испытательное оборудование
4.3.2.1 Испытательная установка для испытания материала на устойчивость к разрушению
Испытательная установка должна включать в себя зажимное устройство для испытуемых проб. Рекомендуемая испытательная установка приведена на
рисунке 3 и состоит из опорной плиты (
5) и цилиндрической ячейки с прозрачным корпусом (
4), которая с помощью гаек-барашков (
1) на шпильках (
2) плотно прижимается к испытуемой пробе (
6).
Примечание - Для осмотра наружной поверхности, которая не входит в контакт с жидкостью, в опорной плите может быть предусмотрено отверстие диаметром примерно 50 мм.
Размеры в миллиметрах
1 - гайка-барашек; 2 - шпильки; 3 - плотно прилегающая
заглушка для герметизации отверстия в верхнем торце ячейки;
4 - цилиндрическая ячейка с прозрачным корпусом;
5 - опорная плита; 6 - испытуемая проба
Рисунок 3 - Пример испытательной установки для испытания
материала обуви на устойчивость к разрушению
Во время проведения испытания требуется герметично закрыть отверстие в верхнем торце ячейки с помощью герметичной заглушки (3).
4.3.2.2 Прочее
a) Емкость с водой, например химический стакан.
b) Абсорбирующая бумага или безворсовая ткань.
4.3.3 Подготовка испытуемых проб
4.3.3.1 Подготовка верха обуви
Испытуемые пробы круглой формы диаметром (120 +/- 10) мм отбирают из верха обуви (см.
рисунок 4). Если невозможно выполнить отбор испытуемых проб надлежащего размера из верха обуви, отбор испытуемых проб проводят из материала, идентичного материалу верха обуви.
a) Пример: конструкция обуви D, обувь класса II
b) Пример: конструкция обуви B, обувь класса I
c) Подошва
1 - область отбора испытуемых проб
Рисунок 4 - Область отбора испытуемых проб для испытания
на устойчивость материала к разрушению
В процессе проведения испытаний не допускается оказывать какое-либо механическое воздействие на наружную поверхность верха обуви, вступающую в контакт с химическим веществом, за исключением необходимых манипуляций в процессе подготовки к испытанию.
При испытании обуви класса I [(EN ISO 20345:2011, EN ISO 20346:2014 и EN ISO 20347 (раздел 4)] испытаниям подлежат только наружные элементы, которые вступают в контакт с химическим веществом. Подкладку и утеплитель необходимо предварительно удаляют.
При испытании обуви класса II [(EN ISO 20345:2011, EN ISO 20346:2014 и EN ISO 20347 (раздел 4)], если подкладку:
- можно легко удалить, не повредив верх обуви, испытания проводят только на наружном полимерном материале;
- невозможно удалить, не повредив верх обуви, испытания проводят для пакета материалов верха обуви в сборе.
Проводят подготовку двух испытуемых проб (испытания до и после воздействия тест-вещества на материал). Испытуемые пробы должны иметь маркировку, подтверждающую, что испытания (до и после воздействия тест-вещества на материал) проводят для одного и того же направления материала.
Примечание - Такая маркировка позволяет избежать расхождения в результатах, вызванного разными свойствами подкладки (по основе или по утку, вдоль или поперек).
4.3.3.2 Подготовка подошвы
Круглую испытуемую пробу диаметром (120 +/- 10) мм отбирают из передней части подошвы (см.
рисунок 4). Круглые испытуемые пробы толщиной от 1,8 мм до 2,5 мм изготавливают при помощи следующих операций:
a) удаляют протектор подошвы, отрезав его или зашлифовав, при необходимости;
b) вырубают образец полимерной подошвы толщиной от 1,8 мм до 2,5 мм.
Если невозможно отобрать испытуемую пробу из подошвы, допускается вместо этого провести отбор испытуемой пробы из листа материала подошвы, при этом толщина испытуемой пробы должна совпадать с толщиной наружного слоя подошвы.
Примечание - В целях получения испытуемой пробы диаметром 120 мм рекомендуется использовать испытуемые образцы обуви большого размера.
4.3.4.1 Предварительные измерения
Испытания материала на устойчивость к разрушению при воздействии химических веществ в соответствии с
таблицей 2 проводят на двух круглых испытуемых пробах (из верха обуви и из подошвы).
Таблица 2
Определение основных характеристик подошвы и верха обуви
до и после воздействия тест-вещества на материал
Подошва | Верх обуви |
Первое испытание | Второе испытание | Первое испытание | Второе испытание |
Прочность на разрыв по EN ISO 20344:2011, 8.2 | Твердость по EN ISO 868:2003 | Прочность на разрыв. Класс I: EN ISO 20344:2011, 6.3. Класс II: EN ISO 20344:2011, 8.2 | Относительное удлинение при разрыве по EN ISO 20344:2011, 6.4 |
Применимо для всех видов материалов подошвы в соответствии с 4.3.3.2 | Применимо для всех видов материалов верха обуви согласно 4.3.3.1 | Не применимо для обуви класса I и класса II с неотделяемой подкладкой |
4.3.4.2 Устойчивость материала к разрушению
Перед началом испытания на устойчивость материала к разрушению для двух круглых испытуемых проб (из верха обуви и из подошвы) необходимо путем взвешивания определить массу каждой испытуемой пробы с точностью до 1 мг:
- верха обуви - Mu1;
- подошвы - Ms1.
Испытуемую пробу, как показано на
рисунке 3, закрепляют в испытательной установке. Наружная сторона испытуемой пробы должна входить в контакт с химическим веществом.
Ячейку испытательной установки на высоту не более 15 мм заполняют тест-веществом и закрывают заглушкой (3). Испытательную установку выдерживают при температуре окружающей среды (23 +/- 2) °C в течение 8 ч +/- 15 мин или 24 ч +/- 15 мин в соответствии с указаниями изготовителя обуви.
Необходимо слить жидкость и извлечь испытуемую пробу из испытательной установки. Остатки жидкости удаляют с наружной поверхности испытуемой пробы.
4.3.4.3 Определение массы после воздействия тест-вещества на материал
Испытуемую пробу тщательно промывают большим количеством воды с помощью промывочной колбы и насухо вытирают абсорбирующей бумагой или безворсовой тканью.
В течение 30 мин после извлечения из испытательной установки при температуре окружающей среды (23 +/- 2) °C взвешивают испытуемую пробу:
- верха обуви с точностью 1 мг (масса Mu2);
- подошвы с точностью 1 мг (масса Ms2).
Рассчитывают изменение масс испытуемых проб до и после воздействия тест-вещества на материал

.
Непосредственно после взвешивания приступают к испытаниям круглых испытуемых проб в соответствии с
4.3.4.4, при этом все испытания должны быть полностью завершены в течение 2 ч после окончания воздействия тест-вещества на материал.
Испытуемые пробы, свойства которых в результате воздействия тест-вещества на материал изменились существенно, исключают из дальнейших испытаний на соответствие
4.3.4.4. Испытуемую пробу исключают из дальнейших испытаний, когда обнаружено:
- образование отверстий;
- набухание и деформирование;
- приобретение хрупкости.
Указанные изменения должны быть зафиксированы в протоколе испытаний.
4.3.4.4 Определение основных физико-механических характеристик обуви после воздействия тест-вещества на материал
4.3.4.4.1 Подготовка образцов
После завершения испытания в соответствии с
4.3.4.3 необходимо в течение 2 ч вырезать образцы для физико-механических испытаний из тех круглых испытуемых проб, которые прошли испытания в соответствии с
4.3.4.2 (см.
рисунок 5).
Размер в миллиметрах
Примечание - Диаметр круглой испытуемой пробы (120 +/- 10) мм.
1 - усилие разрыва; 2 - предел прочности при растяжении;
3 - продольная ось подошвы, вертикальная ось
для образца верха обуви
Рисунок 5 - Испытуемые пробы для физико-механических
испытаний, которые вырезают из круглых испытуемых проб
после воздействия тест-вещества на материал
4.3.4.4.2 Определение основных физико-механических характеристик после воздействия тест-вещества на материал
Основные физико-механические характеристики подошвы и верха обуви подлежат испытаниям после воздействия тест-вещества на материал в соответствии с
таблицей 2.
Протокол испытаний должен содержать следующую информацию:
a) обозначение настоящего стандарта, 4.3;
b) подробное описание образца и его происхождение;
c) если применимо, данные по составу материалов, по скорости и температуре вулканизации;
d) полное описание химических веществ, применяемых в ходе испытания на устойчивость материала к разрушению;
e) внешний вид испытуемых проб после воздействия тест-вещества на материал (например, трещинообразование, изменение массы, расслоение);
f) если это возможно, данные по изменениям массы

и

;
h) любые отклонения от метода испытания.
4.4 Испытание на проникновение
4.4.1.1 Поперечное сечение каждой из испытуемых проб материала, предназначенных для испытания, должно быть не менее поперечного сечения диффузионной ячейки (68 мм в случае стандартной диффузионной ячейки). Подкладку удаляют, если при этом не повреждается верх обуви.
4.4.1.2 Испытанию подлежат три испытуемые пробы обуви (отбор испытуемых проб производится в месте с наименьшей толщиной, как правило, из верха обуви). В случае неоднородного состава материала и/или наличия разных материалов испытания следует проводить как минимум на трех испытуемых пробах для каждого материала и каждого сочетания материалов.
Если требуется провести испытание подошвы, необходимо удалить протектор и вырезать круглую испытуемую пробу диаметром 70 мм.
4.4.1.3 Толщина испытуемой пробы должна быть измерена в пяти точках - см.
рисунок 6 - в соответствии с методом, указанным в ISO 23529.
Размеры в миллиметрах
L - диаметр испытуемой пробы; l - диаметр испытуемой
поверхности; точки 1 - 5 - для измерения толщины
Рисунок 6 - Точки для измерения толщины
В качестве начальной толщины
Ti каждой из трех испытуемых проб необходимо принять среднее значение для пяти измерений (см.
рисунок 6). Результаты пяти измерений должны находиться в интервале от
Ti - 0,20
Ti до
Ti + 0,20
Ti. Если это условие не выполнено, следует использовать другую испытуемую пробу.
В качестве номинальной толщины образца TN используют среднее значение для трех испытуемых проб Ti. Три результата измерений должны находиться в интервале от TN - 0,20TN до TN + 0,20TN. Если это условие не выполнено, следует использовать другую испытуемую пробу.
4.4.2 Проведение испытания
4.4.2.1 Проведение испытания
Испытания проводят в соответствии с EN 16523-1:2015 (пункт 8.3).
Если проникновение происходит до достижения 480 мин, результаты регистрируют в соответствии с EN 16523-1:2015 (пункт 8.5).
Если после 8 ч испытания не отмечено проникновение, испытуемые пробы необходимо еще на 16 ч оставить в диффузионной ячейке в контакте с химическим веществом и циркулирующей средой-носителем. Через 24 ч (8 + 16 ч) необходимо проверить произошло ли проникновение тест-вещества в течение прошедших 16 ч. Если проникновение произошло, испытания завершают, при этом результат фиксируют как "не менее 8 ч".
Примечание - При непрерывном контроле тест-вещества точные результаты испытания могут быть предоставлены в качестве дополнительной информации.
Если проникновения не происходит по прошествии 24 ч, необходимо продолжать испытания на проникновение с непрерывным потоком среды-носителя еще не более 8 ч.
Если проникновения не происходит по прошествии дополнительных 8 ч, результат испытания - "не менее 32 ч".
Если проникновение происходит до окончания дополнительных 8 ч, результат испытаний - "не менее 24 ч".
Если имеет место ситуация, описанная в EN 16523-1:2015 (подпункт 8.5.1.4), то такой материал рассматривают как неоднородный.
При трех одинаковых результатах испытаний "не менее 8 ч", "не менее 24 ч" и "не менее 32 ч" материал рассматривают как однородный.
4.4.2.2 Протокол испытаний
Протокол испытаний должен соответствовать требованиям EN 16523-1:2015 (раздел 9), и, кроме того, содержать:
- ссылку на настоящий стандарт, 4.4, и
- три результата измерения толщины Ti1, Ti2, Ti3.
(справочное)
ТОЧНОСТЬ МЕТОДА ИСПЫТАНИЯ
Испытания, установленные в настоящем стандарте, разработаны в рамках одной из предусмотренных научно-исследовательских программ Европейского союза (договор N G 6RD-CT-2000-00262, проект N GRD1-1999-20011), имеющей наименование "Разработка стандарта на обувь, предназначенную для защиты от воздействия химических веществ и микроорганизмов". Сокращенное официальное наименование этой программы "CHEM SAFE FOOTWEAR" ("Химически безопасная обувь").
Определено среднеквадратическое отклонение: результаты в
таблицах A.1 и
A.2 для испытания материала на устойчивость к разрушению и в
таблице A.3 для испытания на проникновение.
Таблица A.1
Сравнение среднеквадратических отклонений результатов
для верха обуви до и после испытания материала
на устойчивость к разрушению
Прочность на разрыв для верха обуви | Предел прочности на разрыв для верха обуви, МПа |
до испытания материала на устойчивость к разрушению | после испытания материала на устойчивость к разрушению | до испытания материала на устойчивость к разрушению | после испытания материала на устойчивость к разрушению |
Гипалон | 30% | Гипалон/ацетон | 22% | Гипалон | 13% | Гипалон/ацетон | 14% |
ПВХ | 18% | ПВХ/уксусная кислота 99% | 15% | ПВХ | 25% | ПВХ/уксусная кислота 99% | 31% |
Полихлоропрен | 29% | Полихлоропрен/ацетон | 23% | Полихлоропрен | 16% | Полихлоропрен/ацетон | 32% |
Нитрил | 20% | Нитрил/н-гептан | 10% | Нитрил | 30% | Нитрил/н-гептан | 16% |
Полиуретан | 32% | Полиуретан/толуол | 45% | Полиуретан | 33% | Полиуретан/толуол | 17% |
Кожа | 20% | Кожа/толуол | 26% | Кожа | 24% | Кожа/толуол | 21% |
Среднеарифметическое значение | 25% | Среднеарифметическое значение | 24% | Среднеарифметическое значение | 24% | Среднеарифметическое значение | 22% |
Таблица A.2
Сравнение среднеквадратических отклонений результатов
для подошвы до и после испытания материала
на устойчивость к разрушению
Прочность на разрыв подошвы | Стойкость к истиранию подошвы |
до испытания материала на устойчивость к разрушению | после испытания материала на устойчивость к разрушению | до испытания материала на устойчивость к разрушению | после испытания материала на устойчивость к разрушению |
Полихлоропрен | 23% | Полихлоропрен/ацетон | 9% | Гипалон | 40% | Гипалон/ацетон | 21% |
Нитрил | 23% | Нитрил/н-гептан | 16% | ПВХ | 41% | ПВХ/уксусная кислота 99% | 7% |
Нитрил | 36% | Нитрил/н-гептан | 43% |
Среднеарифметическое значение | 23% | Среднеарифметическое значение | 12% | Среднеарифметическое значение | 41% | Среднеарифметическое значение | 24% |
Таблица A.3
Результаты испытаний, выраженные в виде показателя защиты
(время проникновения в минутах)
Материал | Химические вещества | Лаборатория 1 | Лаборатория 2 | Лаборатория 3 | Лаборатория 4 | Лаборатория 5 | Лаборатория 6 | Среднеарифметическое значение AV | Среднеквадратическое отклонение SD | Коэффициент вариации, % |
PU (полиуретан) | Толуол | 204 | 252 | 143 | 89 | 260 | 108 | 183 | 84 | 46% |
Гипалон | н-гептан | 380 | 366 | 300 | 318 | 440 | 480 | 381 | 69 | 18% |
Полихлоропрен | Этилацетат | 114 | 107 | 100 | 151 | 210 | 112 | 132 | 42 | 32% |
(обязательное)
ОЦЕНКА ПОВРЕЖДЕНИЙ В ХОДЕ ЛАБОРАТОРНЫХ ИСПЫТАНИЙ
НА УСТОЙЧИВОСТЬ К ВЫПЛЕСКУ
При испытаниях необходимо применять нижеприведенные положения по оценке повреждений.
При проведении испытаний в соответствии с
4.2 испытания обуви расценивают как "отрицательные", если зафиксировано наличие как минимум одного из следующих повреждений:
i) появление четко выраженной и глубокой трещины, которая распространяется на половину толщины материала для верха обуви [см.
рисунок B.1 a)];
ii) на верхней части обуви заметны зоны деформаций, прожигания материала химическими веществами, оплавления, образования пузырей или разошедшихся швов [см.
рисунок B.1 b)];
iii) отрыв верха обуви/подошвы, если его длина более 10 мм в длину и 5 мм в ширину (и/или в глубину) [см.
рисунок B.1 c)];
iv) на подошве имеется трещина размерами более 10 мм в длину и 3 мм в ширину (и/или в глубину) [см.
рисунок B.1 d)].
Рисунок B.1 - Руководство для оценки повреждений
(справочное)
СВЕДЕНИЯ О СООТВЕТСТВИИ ССЫЛОЧНЫХ МЕЖДУНАРОДНЫХ
И ЕВРОПЕЙСКИХ СТАНДАРТОВ МЕЖГОСУДАРСТВЕННЫМ СТАНДАРТАМ
Таблица ДА.1
Обозначение ссылочного международного, европейского стандарта | Степень соответствия | Обозначение и наименование соответствующего межгосударственного стандарта |
EN 16523-1:2015 | IDT | ГОСТ ISO 16523-1-2020 "Система стандартов безопасности труда. Определение стойкости материалов к проникновению химических веществ. Часть 1. Проникновение потенциально опасных жидких химических веществ при непрерывном контакте" |
EN ISO 868:2003 | - | |
EN ISO 20344:2011 | MOD | ГОСТ 12.4.315-2018 "Система стандартов безопасности труда. Средства индивидуальной защиты ног. Методы испытаний" <1> |
ISO 23529 | IDT | ГОСТ ISO 23529-2013 "Резина. Общие методы приготовления и кондиционирования образцов для определения физических свойств" |
<*> Соответствующий межгосударственный стандарт отсутствует. До его принятия рекомендуется использовать перевод на русский язык данного международного стандарта. Официальный перевод данного международного стандарта находится в Федеральном информационном фонде стандартов. Примечание - В настоящей таблице использованы следующие условные обозначения степени соответствия стандартов: - IDT - идентичные стандарты; - MOD - модифицированные стандарты. |
--------------------------------
<1> В Российской Федерации действует
ГОСТ Р 12.4.295-2017 (ИСО 20344:2011) "Система стандартов безопасности труда. Средства индивидуальной защиты ног. Методы испытаний".
[1] | EN ISO 374-1:2016 | Protective gloves against dangerous chemicals and micro-organisms - Part 1: Terminology and performance requirements for chemical risks (ISO 374-1:2016) [Защитные перчатки против воздействия опасных химических веществ и микроорганизмов. Часть 1. Терминология и требования к изделиям для рисков химических воздействий (ISO 374-1:2016)] |
[2] | EN 374-2:2014 | Protective gloves against dangerous chemicals and micro-organisms - Part 2: Determination of resistance to penetration (Защитные перчатки против воздействия опасных химических веществ и микроорганизмов. Часть 2. Определение стойкости по проницаемости) |
[3] | EN ISO 20347:2012 | Personal protective equipment - Occupational footwear (ISO 20347:2012) [Средства индивидуальной защиты. Профессиональная обувь (ISO 20347:2012)] |
[4] | EN 943-2:2002 | Protective clothing against liquid and gaseous chemicals, including liquid aerosols and solid particles - Part 2: Performance requirements for gas-tight (Type 1) chemical protective suits for emergency teams (ET) [Защитная спецодежда от воздействия жидких и газообразных химических веществ, включая жидкие аэрозоли и взвеси твердых частиц. Часть 2. Требования по пригодности для газонепроницаемой спецодежды (тип 1) с защитой от воздействия химических веществ для аварийных бригад (ET)] |
[5] | EN ISO 6530:2005 | Protective clothing - Protection against liquid chemicals - Test method for resistance of materials to penetration by liquids (ISO 6530:2005) [Защитная спецодежда. Защита от воздействия жидких химических веществ. Методы контроля для определения стойкости материалов к просачиванию жидкостей (ISO 6530:2005)] |
[6] | EN ISO 811:2018 | Textiles - Determination of resistance to water penetration - Hydrostatic pressure test (ISO 811:2018) [Текстиль. Определение стойкости к просачиванию влаги. Гидростатические испытания под давлением (ISO 811:2018)] |
[7] | EN 13832-2:2018 | Footwear protecting against chemicals - Part 2: Requirements for limited contact with chemicals (Обувь для защиты от воздействия химических веществ. Часть 2. Требования для ограниченного контакта с химическими веществами) |
[8] | EN 13832-3:2018 | Footwear protecting against chemicals - Part 3: Requirements for prolonged contact with chemicals (Обувь для защиты от воздействия химических веществ. Часть 3. Требования для продолжительного контакта с химическими веществами) |
| ISO 5725-2 | Accuracy (trueness and precision) of measurement methods and results - Part 2: Basic method for the determination of repeatability and reproducibility of a standard measurement method [Точность (правильность и прецизионность) методов и результатов измерений. Часть 2. Основной метод определения повторяемости и воспроизводимости стандартного метода измерения] |
| Руководство ISO/IEC 98-3 | Uncertainty of measurement - Part 3: Guide to the expression of uncertainty in measurement (GUM:1995) [Погрешность измерений. Часть 3. Руководство по определению погрешности измерений (GUM:1995)] |
| Руководство ISO/IEC 98-4 | Uncertainty of measurement - Part 4: Role of measurement uncertainty in conformity assessment (Погрешность измерений. Часть 4. Роль погрешности измерений в оценке соответствия) |
| JCGM 100:2008 | Evaluation of measurement data - Guide to the expression of uncertainty in measurement [Оценка погрешности измерений. Руководство по определению погрешности измерений (опубликовано Международным Бюро Мер и Весов - IBMG)] |
[13] | EN ISO 20345:2011 | Personal protective equipment - Safety footwear (ISO 20345:2011) [Средства индивидуальной защиты. Защитная обувь (ISO 20345:2011)] |
[14] | EN ISO 20346:2014 | Personal protective equipment - Protective footwear (ISO 20346:2014) [Средства индивидуальной защиты. Защитная обувь (ISO 20346:2014)] |
УДК 685.345.26:006.354 | | IDT |
Ключевые слова: обувь специальная, защита от химических веществ, методы испытаний |