Главная // Актуальные документы // ГОСТ (Государственный стандарт)СПРАВКА
Источник публикации
М.: Стандартинформ, 2020
Примечание к документу
Документ включен в
Перечень международных и региональных (межгосударственных) стандартов, а в случае их отсутствия - национальных (государственных) стандартов, содержащих правила и методы исследований (испытаний) и измерений, в том числе правила отбора образцов, необходимые для применения и исполнения требований технического
регламента Таможенного союза "О требованиях к автомобильному и авиационному бензину, дизельному и судовому топливу, топливу для реактивных двигателей и мазуту" (ТР ТС 013/2011) и осуществления оценки соответствия объектов технического регулирования (
Решение Коллегии Евразийской экономической комиссии от 15.08.2023 N 114).
Текст данного документа приведен с учетом
поправки, введенной в действие с 26.05.2023, опубликованной в "ИУС", N 8, 2023;
поправки, введенной в действие с 30.05.2024, опубликованной в "ИУС", N 8, 2024.
Документ
введен в действие с 01.01.2021.
Название документа
"ГОСТ EN 12662-2016. Межгосударственный стандарт. Нефтепродукты жидкие. Метод определения механических примесей в средних дистиллятах, дизельном топливе и метиловых эфирах жирных кислот"
(введен в действие Приказом Росстандарта от 17.11.2020 N 1093-ст)
"ГОСТ EN 12662-2016. Межгосударственный стандарт. Нефтепродукты жидкие. Метод определения механических примесей в средних дистиллятах, дизельном топливе и метиловых эфирах жирных кислот"
(введен в действие Приказом Росстандарта от 17.11.2020 N 1093-ст)
Приказом Федерального агентства
по техническому регулированию
и метрологии
от 17 ноября 2020 г. N 1093-ст
МЕЖГОСУДАРСТВЕННЫЙ СТАНДАРТ
НЕФТЕПРОДУКТЫ ЖИДКИЕ
МЕТОД ОПРЕДЕЛЕНИЯ МЕХАНИЧЕСКИХ ПРИМЕСЕЙ
В СРЕДНИХ ДИСТИЛЛЯТАХ, ДИЗЕЛЬНОМ ТОПЛИВЕ
И МЕТИЛОВЫХ ЭФИРАХ ЖИРНЫХ КИСЛОТ
Liquid petroleum products. Method for determination
of total contamination in middle distillates, diesel
fuels and fatty acid methyl esters
(EN 12662:2014, IDT)
ГОСТ EN 12662-2016
Дата введения
1 января 2021 года
Цели, основные принципы и общие правила проведения работ по межгосударственной стандартизации установлены
ГОСТ 1.0 "Межгосударственная система стандартизации. Основные положения" и
ГОСТ 1.2 "Межгосударственная система стандартизации. Стандарты межгосударственные, правила и рекомендации по межгосударственной стандартизации. Правила разработки, принятия, обновления и отмены"
1 ПОДГОТОВЛЕН Научно-производственным республиканским унитарным предприятием "Белорусский государственный институт стандартизации и сертификации" (БелГИСС)
2 ВНЕСЕН Госстандартом Республики Беларусь
3 ПРИНЯТ Евразийским Советом по стандартизации, метрологии и сертификации (протокол от 27 июля 2016 г. N 89-П)
За принятие проголосовали:
Краткое наименование страны по МК (ИСО 3166) 004-97 | Код страны по МК (ИСО 3166) 004-97 | Сокращенное наименование национального органа по стандартизации |
Армения | AM | Минэкономики Республики Армения |
Беларусь | BY | Госстандарт Республики Беларусь |
Грузия | GE | Грузстандарт |
Казахстан | KZ | Госстандарт Республики Казахстан |
Киргизия | KG | Кыргызстандарт |
Россия | RU | Росстандарт |
Таджикистан | TJ | Таджикстандарт |
Узбекистан | UZ | Узстандарт |
4 Приказом Федерального агентства по техническому регулированию и метрологии от 17 ноября 2020 г. N 1093-ст межгосударственный стандарт ГОСТ EN 12662-2016 введен в действие в качестве национального стандарта Российской Федерации с 1 января 2021 г.
5 Настоящий стандарт идентичен европейскому стандарту EN 12662:2014 "Liquid petroleum products - Determination of total contamination in middle distillates, diesel fuels and fatty acid methyl esters" (EN 12662:2014 "Нефтепродукты жидкие. Определение общего содержания механических примесей в средних дистиллятах, дизельном топливе и метиловых эфирах жирных кислот").
Европейский стандарт разработан техническим комитетом по стандартизации CEN/TC 19 "Газообразные и жидкие топлива, смазочные материалы и относящиеся к ним нефтепродукты синтетического и биологического происхождения" Европейского комитета по стандартизации (CEN).
При применении настоящего стандарта рекомендуется использовать вместо ссылочных международных стандартов соответствующие им межгосударственные стандарты, сведения о которых приведены в дополнительном
приложении ДА
6 ВВЕДЕН ВПЕРВЫЕ
Информация о введении в действие (прекращении действия) настоящего стандарта и изменений к нему на территории указанных выше государств публикуется в указателях национальных стандартов, издаваемых в этих государствах, а также в сети Интернет на сайтах соответствующих национальных органов по стандартизации.
В случае пересмотра, изменения или отмены настоящего стандарта соответствующая информация будет опубликована на официальном интернет-сайте Межгосударственного совета по стандартизации, метрологии и сертификации в каталоге "Межгосударственные стандарты"
Настоящий стандарт устанавливает метод определения содержания нерастворимых веществ, рассматриваемых как общее количество механических примесей в средних дистиллятах, дизельном топливе, содержащем метиловые эфиры жирных кислот (далее - FAME) до 30% (
V/
V), а также в топливе, состоящем на 100% из FAME. Рабочий диапазон содержания механических примесей - от 12 до 30 мг/кг, он был установлен в процессе межлабораторных исследований в соответствии с требованиями EN ISO 4259
[1].
Настоящий стандарт распространяется на нефтепродукты, имеющие кинематическую вязкость, не превышающую 8 мм
2/с при 20 °C или 5 мм
2/с при температуре 40 °C, например дизельное топливо по EN 590
[2] и FAME по EN 14214
[3].
Данный метод может также применяться для испытания дизельного топлива с содержанием FAME более 30% (V/V) и нефтепродуктов, имеющих вязкость выше указанной (8 мм2/с при температуре 20 °C или 5 мм2/с при температуре 40 °C), однако прецизионность метода для таких продуктов не определена.
Примечание 1 - Избыточное загрязнение в топливной системе может привести к преждевременному засорению фильтров и (или) отказу оборудования, что не желательно.
Примечание 2 - В настоящем стандарте для выражения объемной доли в процентах используется символ "% (V/V)".
Предупреждение - При проведении испытания по методу настоящего стандарта могут использоваться опасные вещества, операции и оборудование. Настоящий стандарт не предусматривает рассмотрения всех проблем безопасности, связанных с его применением. Пользователь настоящего стандарта несет ответственность за обеспечение техники безопасности, охрану здоровья человека и определение границ применимости стандарта до начала его применения.
Для применения настоящего стандарта необходимы следующие ссылочные стандарты. Для недатированных ссылок применяют последнее издание ссылочного стандарта (включая все его изменения).
EN 14275:2013 Топлива для двигателей внутреннего сгорания. Оценка качества бензина и дизельного топлива. Отбор проб из стационарных автозаправочных станций и промышленных стационарных топливораздаточных колонок
EN ISO 3170:2004 Нефтепродукты жидкие. Ручной отбор проб
EN ISO 3171:1999 Нефтепродукты жидкие. Автоматический отбор проб из трубопроводов
ISO 3819:1985 Посуда лабораторная стеклянная. Стаканы
В настоящем стандарте применены следующие термины с соответствующими определениями:
3.1 общее количество механических примесей (total contamination): Нерастворимые вещества, осевшие на фильтре после фильтрования в условиях испытания.
3.2 абсолютное давление (absolute pressure): Давление, измеренное относительно нулевого давления или абсолютного вакуума.
Испытуемую пробу взвешивают и фильтруют под вакуумом через предварительно взвешенный фильтр. В случае FAME и жидких нефтяных продуктов, имеющих кинематическую вязкость, превышающую 8 мм2/с при температуре 20 °C или 5 мм2/с при температуре 40 °C, взвешенную порцию пробы разбавляют растворителем перед фильтрованием. Фильтр с осадком промывают, высушивают и взвешивают. Содержание механических примесей вычисляют как отношение разности масс фильтра к массе пробы и выражают в миллиграммах на килограмм.
5.1
Гептан со степенью чистоты не менее 99,0% (
V/
V), профильтрованный через мембранный фильтр
(6.18).
Примечание - Допускается использовать гептан, применяемый в качестве эталонного топлива в методе по EN ISO 5164
[4].
5.2
Ксилол аналитической чистоты, профильтрованный через мембранный фильтр
(6.18).
5.3
Пропан-2-ол со степенью чистоты не менее 99,0% (
V/
V).
Примечание - Пропан-2-ол используют для высушивания стеклянной посуды и сосудов для проб после промывания их водой.
5.4
Растворитель: смешивают 750 см
3 гептана
(5.1) и 250 см
3 ксилола
(5.2) в стеклянной бутылке
(6.5) вместимостью 1 дм
3 и тщательно перемешивают.
--------------------------------
<*> Допускается использовать оборудование и средства измерения (СИ), отличные от указанных, с характеристиками не хуже установленных настоящим стандартом и обеспечивающие получение достоверных результатов определения.
Всю стеклянную лабораторную посуду и сосуды для отбора проб следует тщательно очищать в соответствии с
разделом 7.
Применяют аппаратуру и стеклянную посуду, обычно используемую в лабораториях, а также следующую аппаратуру:
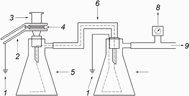
6.1
Фильтровальная установка, обеспечивающая возможность использования фильтра
(6.2), показанная на
рисунке 1.
1 - провод для заземления; 2 - зажим; 3 - воронка;
4 - держатель фильтра; 5 - приемная колба; 6 - вакуумная
трубка; 7 - предохранительная колба; 8 - вакуумметр;
9 - к вакуумному насосу
Рисунок 1 - Фильтровальная установка
для определения механических примесей
Может использоваться другая аппаратура для фильтрования, обеспечивающая возможность использования фильтра по
6.2.
6.2
Фильтры стекловолокнистые, с высокой удерживающей способностью, диаметром 47 мм и средним размером пор 0,7 мкм.
Примечание - Фильтры стекловолокнистые типа Whatman GF-F являются пригодными для определения общего количества механических примесей. Данная информация предоставляется пользователям для удобства пользования настоящим стандартом и не является рекламой CEN этой продукции.
6.3
Стаканы, высокие, вместимостью 0,5 и 1 дм
3, соответствующие требованиям ISO 3819, или аналогичные.
6.4
Цилиндры мерные вместимостью 500 и 1000 см
3.
6.5
Стеклянные бутылки вместимостью 0,5 и 1 дм
3 с закручивающимися крышками.
6.6
Сушильный шкаф стационарный (без принудительной циркуляции), взрывобезопасный, обеспечивающий температуру нагрева до (110 +/- 5) °C.
6.7
Эксикатор, содержащий свежеактивированный силикагель (или эквивалентный осушитель), с индикатором содержания влаги.
6.8
Стеклянные чашки Петри с крышками, диаметром более 50 мм.
6.9
Аналитические весы, обеспечивающие взвешивание с точностью отсчета до 0,1 мг.
6.10
Пинцет с закругленными концами, используемый для перемещения фильтра с держателя фильтра в чашку Петри и из чашки Петри на чашу аналитических весов.
6.11
Водяная баня или сушильный шкаф, обеспечивающие поддержание температуры (40 +/- 1) °C и (60 +/- 1) °C.
6.12
Промывалка с распылительной насадкой, предназначенная для заполнения гептаном
(5.1).
6.13
Весы с верхней загрузкой, обеспечивающие взвешивание 1500 г с точностью отсчета до 0,1 г.
6.14
Источник вакуума, обеспечивающий поддержание абсолютного давления от 2 до 5 кПа внутри фильтровальной установки (см.
рисунок 1).
Примечание - Диапазон вакуума исключает использование водяного вакуумного насоса.
6.15
Чистые сосуды для проб.
6.16 Секундомер, обеспечивающий измерение 30 +/- 1 мин.
6.17
Чистая полимерная пленка или алюминиевая фольга.
6.18
Фильтр мембранный со средним размером пор 0,45 мкм.
7 Очистка сосудов для проб и фильтровальной установки
ВАЖНО - В связи с крайне низким содержанием механических примесей в испытуемом продукте испытание важно проводить в условиях, сводящих к минимуму возможность загрязнения.
7.1 Тщательно очищают в соответствии с
7.2 -
7.7 поверхность сосудов для проб и их укупорочных средств и те компоненты аппаратуры, которые:
a) могут контактировать с пробой или гептаном
(5.1); или
b) могут переносить на фильтр примеси.
7.2 Промывают теплой водой, содержащей водорастворимое моющее средство.
7.3 Тщательно ополаскивают теплой водой.
7.4 Тщательно ополаскивают водой, удерживая снаружи укупорочные средства сосудов чистыми лабораторными (тигельными) щипцами во время первого и последующих ополаскиваний.
7.5 Тщательно ополаскивают пропан-2-олом
(5.3).
7.6 Тщательно ополаскивают гептаном
(5.1).
7.7 Накрывают сверху сосуд для пробы и воронку собранной фильтровальной установки
(6.1) чистой полимерной пленкой или алюминиевой фольгой
(6.17), предварительно промытой гептаном
(5.1) и высушенной на воздухе.
8.1 Если не указано иное, пробы отбирают в соответствии с требованиями EN ISO 3170, EN ISO 3171, EN 14275 или другими стандартами.
8.2 Предпочтительным является динамический отбор проб из контура отбора проб в распределительном трубопроводе или из выпускной линии автоматического устройства отбора проб в соответствии с EN ISO 3171. Перед отбором проб пробоотборную линию следует промыть топливом.
8.3 При ручном отборе пробы отбирают непосредственно в сосуды для проб
(6.15).
8.4 Если пробы отбирают только из стационарного резервуара, то отбор проб следует проводить в соответствии с процедурами, приведенными в EN ISO 3170. При этом отобранные пробы перед помещением в подготовленные сосуды не должны находиться в промежуточных сосудах.
8.5 Для отбора и хранения проб следует использовать стеклянные сосуды. Эти сосуды должны очищаться в соответствии с
разделом 7. Стеклянные сосуды используют для упрощения визуального контроля однородности проб перед проведением последующего испытания. Обеспечивают минимальное воздействие на пробы солнечных лучей. Следует использовать сосуды из коричневого стекла либо защищать пробы от воздействия солнечных лучей во время транспортирования и хранения. Для упрощения отбора проб из топливозаправочных пистолетов следует использовать бутыли с широким горлом.
8.6 Сосуды для проб заполняют на 80% - 85% их вместимости.
8.7 Отобранную пробу гомогенизируют в соответствии с процедурой, приведенной в
9.2.4, до проведения испытания с целью исключения получения непредставительной пробы, используемой в методе настоящего стандарта.
Следует удостовериться, что на сосуде для пробы
(6.15) отсутствуют налипшие частицы, которые могут исказить результаты контроля. В случае сомнения перед открыванием сосуд для пробы и его укупорочное средство ополаскивают снаружи водой и пропан-2-олом
(5.3) в соответствии с
7.2 -
7.5 для удаления всех прилипших частиц и предотвращения попадания в испытуемую пробу нежелательных примесей.
9.2 Средние дистилляты и дизельное топливо
9.2.1 Ослабляют укупорочное средство сосуда для пробы и помещают сосуд вместе с его содержимым в водяную баню или сушильный шкаф
(6.11) при температуре 40 °C на 30 - 60 мин для растворения всех отделившихся компонентов.
9.2.2 Извлекают сосуд для пробы из водяной бани или сушильного шкафа и плотно укупоривают. Охлаждают до комнатной температуры. Ополаскивают наружную поверхность сосуда с пробой пропан-2-олом.
9.2.3 Помещают стакан
(6.3) на весы
(6.13) и определяют массу.
9.2.4 Встряхивают сосуд с пробой в течение не менее 10 с, совершая один или два маха с амплитудой от 10 до 25 см в течение секунды. Переворачивают сосуд и продолжают встряхивать в течение не менее 10 с, затем его снова переворачивают и встряхивают в течение не менее 10 с. При наличии видимых примесей, осевших на стенках сосуда, процедуру встряхивания повторяют.
Использование мешалки не допускается.
9.2.5 Взвешивают в стакане испытуемую порцию пробы объемом приблизительно 300 см
3. Наливают пробу в стакан очень быстро, не пытаясь получить объем как можно ближе к 300 см
3. Записывают массу испытуемой порции пробы
mE с точностью до 0,1 г.
9.3.1 Ослабляют укупорочное средство сосуда для пробы и помещают сосуд вместе с его содержимым в водяную баню или сушильный шкаф
(6.11) при температуре 60 °C не менее чем на 2 - 2,5 ч для растворения всех отделившихся компонентов.
9.3.2 Извлекают сосуд для пробы из водяной бани или сушильного шкафа и плотно укупоривают. Охлаждают до комнатной температуры. Ополаскивают наружную поверхность сосуда с пробой пропан-2-олом.
9.3.3 Помещают бутылку вместимостью 1 дм
3 (6.5) на весы
(6.13) и определяют массу.
9.3.4 Встряхивают сосуд с пробой в течение не менее 10 с, совершая один или два маха с амплитудой от 10 до 25 см в течение секунды. Переворачивают сосуд и продолжают встряхивать в течение не менее 10 с, затем его снова переворачивают и встряхивают в течение не менее 10 с. При наличии видимых примесей, осевших на стенках сосуда, процедуру встряхивания повторяют.
Использование мешалки не допускается.
9.3.5 Взвешивают в бутылке испытуемую порцию пробы объемом приблизительно 300 см
3. Наливают пробу в бутылку очень быстро, не пытаясь получить объем как можно ближе к 300 см
3. Записывают массу испытуемой порции пробы
mE с точностью до 0,1 г.
9.3.6 Добавляют 300 см
3 растворителя
(5.4), используя мерный цилиндр вместимостью 500 см
3 (6.4). Перемешивают тщательно пробу и выдерживают при комнатной температуре в течение 2 ч перед фильтрованием.
9.4 Жидкие нефтепродукты с кинематической вязкостью, превышающей 8 мм2/с при температуре 20 °C или 5 мм2/с при температуре 40 °C
9.4.1 Ослабляют укупорочное средство сосуда для пробы и помещают сосуд вместе с его содержимым в водяную баню или сушильный шкаф
(6.11) при температуре 40 °C на 30 - 60 мин для растворения всех отделившихся компонентов.
9.4.2 Извлекают сосуд для пробы из водяной бани или сушильного шкафа и плотно укупоривают. Охлаждают до комнатной температуры. Ополаскивают наружные поверхности сосуда с пробой пропан-2-олом.
9.4.3 Помещают бутылку вместимостью 1 дм
3 (6.5) на весы
(6.13) и определяют массу.
9.4.4 Встряхивают сосуд с пробой в течение не менее 10 с, совершая один или два маха с амплитудой от 10 до 25 см в течение секунды. Переворачивают сосуд и продолжают встряхивать в течение не менее 10 с, затем его снова переворачивают и встряхивают в течение не менее 10 с. При наличии видимых примесей, осевших на стенках сосуда, процедуру встряхивания повторяют.
Использование мешалки не допускается.
9.4.5 Взвешивают в бутылке испытуемую порцию пробы объемом приблизительно 300 см
3. Пробу наливают в бутылку очень быстро, не пытаясь получить объем как можно ближе к 300 см
3. Записывают массу испытуемой порции пробы
mE с точностью до 0,1 г.
9.4.6 Разбавляют взвешенную порцию пробы (
mE) гептаном
(5.1) до кинематической вязкости, не превышающей 8 мм
2/с при температуре 20 °C или 5 мм
2/с при температуре 40 °C. Тщательно перемешивают.
10 Подготовка оборудования
10.1 Подготовка фильтровальной установки
10.1.1 Визуально проверяют чистоту фильтровальной установки
(6.1) снаружи и внутри. При наличии загрязнений установку очищают в соответствии с
разделом 7.
10.1.2 Соблюдают меры предосторожности и заземляют установку для предотвращения накапливания и разряжения электростатического заряда.
10.1.3 Собирают фильтровальную установку
(6.1) и промывают внутри гептаном
(5.1) не устанавливая фильтр
(6.2). Обеспечивают герметичность соединения держателя фильтра и приемной колбы, а также трубки, провода и предохранительной колбы путем использования соответствующего герметика.
10.2.1 При выполнении всех операций фильтр
(6.2) следует удерживать за край пинцетом
(6.10).
10.2.2 Помещают надлежащим образом центрированный фильтр
(6.2) в держатель фильтра предварительно очищенной установки. Промывают фильтр
(6.2) гептаном
(5.1) под вакуумом. Медленно сбрасывают вакуум, затем осторожно вынимают фильтр из держателя фильтра с помощью пинцета
(6.10), помещают его в чашку Петри
(6.8), которую устанавливают в сушильный шкаф
(6.6) с температурой (110 +/- 5) °C не менее чем на 45 мин. Во время перемещения в сушильный шкаф чашку Петри накрывают крышкой, которую снимают после установки чашки в сушильном шкафу. Тщательно проверяют, чтобы фильтр был центрирован по отношению к держателю. Фильтр не должен повреждаться держателем установки. Повреждения фильтров влияют на их массу и могут привести к недостоверным результатам.
10.2.3 Извлекают чашку Петри
(6.8) с фильтром из сушильного шкафа
(6.6), накрывают крышкой и охлаждают в течение приблизительно 45 мин в эксикаторе
(6.7), расположенном вблизи аналитических весов
(6.9).
10.2.4 Непосредственно перед испытанием фильтр
(6.2) извлекают из чашки Петри
(6.8) и взвешивают на аналитических весах
(6.9) с точностью отсчета до 0,1 мг. Записывают полученное значение массы
m1.
10.2.5 Помещают фильтр
(6.2) сразу в держатель предварительно очищенной установки и фиксируют воронку с помощью зажима. Смачивают фильтр гептаном
(5.1). Проверяют отсутствие пузырьков на фильтре и надежно фиксируют его между заземленными поверхностями фильтровальной установки.
Предупреждение - Поскольку при фильтровании нефтепродуктов могут накапливаться электростатические заряды, установка для фильтрования должна быть заземлена.
11.1 Фильтруют испытуемую пробу (
9.2.5,
9.3.6 и
9.4.6) через подготовленный фильтр
(10.2) под вакуумом с абсолютным давлением от 2 до 5 кПа
(6.14). Пробу следует переносить в установку для фильтрования
(6.1) небольшими порциями. Фильтр в установке во время переноса пробы не должен подсыхать.
Если в приемной колбе будет наблюдаться пенообразование, необходимо проверить давление. К пенообразованию может привести более низкое, чем указано выше, давление.
Если фильтрование пробы не завершено, по истечении 30 мин отключают вакуумную систему и записывают объем отфильтрованной пробы. При необходимости корректируют массу испытуемой порции пробы mE.
11.2 Используя промывалку
(6.12), вымывают осадок из стакана
(6.3) или стеклянной бутылки
(6.5) на фильтр
(6.2) при помощи гептана
(5.1). Внутренние стенки и дно стакана или бутылки
(6.3) аккуратно ополаскивают гептаном и фильтруют промывочную жидкость. Повторяют операцию промывки не менее двух раз.
11.3 Используя промывалку
(6.12), промывают внутренние стенки воронки фильтровальной установки
(6.1) и фильтр
(6.2) гептаном
(5.1) и сушат под вакуумом. Круговыми движениями промывают воронку слабой струей промывочной жидкости. Повторяют операцию промывки еще два раза.
11.4 Осторожно извлекают воронку и, используя вакуум, промывают фильтр
(6.2) по периметру с внутренней стороны, направляя слабую струю гептана
(5.1) от края к центру. Не допускают смывания частиц с поверхности фильтра
(6.2). Поддерживают вакуум после последней промывки в течение 10 - 15 с или до тех пор, пока избыток гептана не будет удален с фильтра.
11.5 Медленно отключают вакуум и при помощи пинцета
(6.10) аккуратно снимают фильтр
(6.2) с держателя, помещают его в чашку Петри
(6.8) (см.
10.2) и накрывают крышкой. Ставят чашку Петри
(6.8) с фильтром
(6.2) в сушильный шкаф
(6.6), снимают крышку и сушат в течение 45 мин при температуре (110 +/- 5) °C. Охлаждают чашку Петри, накрыв ее крышкой, до комнатной температуры в течение приблизительно 45 мин в эксикаторе
(6.7), расположенном вблизи аналитических весов.
11.6 Взвешивают фильтр
(6.2) без чашки Петри
(6.8) на аналитических весах
(6.9) с точностью отсчета до 0,1 мг. Записывают значение массы
m2. Значение массы взвешенного фильтра должно быть постоянным.
Температура и время, указанные в
11.5, являются достаточными для удаления промывочной жидкости. Тем не менее, следует удостовериться, что фильтр достиг постоянной массы. В противном случае фильтр дополнительно сушат в соответствии с
11.5.
Вычисляют общее количество механических примесей как массовую долю

, мг/кг, по формуле

, (1)
где
m1 - масса фильтра (см.
10.2.4), мг;
m2 - масса фильтра с механическими примесями (см.
11.6), мг;
Регистрируют общее загрязнение как массовую долю

с округлением до 0,5 мг/кг или делают запись о том, что процесс фильтрования не завершен, и указывают объем отфильтрованной пробы
(11.1).
Показатели прецизионности данного метода, приведенные в
14.2 и
14.3, были определены в результате статистической обработки результатов межлабораторных испытаний в соответствии с EN ISO 4259
[1].
Расхождение между двумя последовательными результатами испытания, полученными одним и тем же оператором при работе на одном и том же оборудовании при одинаковых условиях на идентичном испытуемом продукте при правильном выполнении метода, только в одном случае из двадцати может превысить значение, рассчитанное по формуле
r = 0,0644 X + 1,6099, (2)
где X - среднеарифметическое значение двух результатов испытания, мг/кг.
Расхождение между двумя отдельными и независимыми результатами испытания, полученными разными операторами в разных лабораториях на идентичном испытуемом продукте при правильном выполнении метода, только в одном случае из двадцати может превысить значение, рассчитанное по формуле
R = 0,1644 X + 4,1110, (3)
где X - среднеарифметическое значение двух результатов испытания, мг/кг.
Протокол испытания должен содержать следующую информацию:
a) тип и полную идентификацию испытуемого продукта;
b) ссылку на настоящий стандарт;
e) запись о "незавершении фильтрования" и указание объема отфильтрованной в течение 30 мин испытуемой пробы
(11.1) (при необходимости);
f) любое отклонение, по соглашению или иное, от установленного метода;
g) дату испытания.
(справочное)
СВЕДЕНИЯ О СООТВЕТСТВИИ ССЫЛОЧНЫХ ЕВРОПЕЙСКИХ СТАНДАРТОВ
МЕЖГОСУДАРСТВЕННЫМ СТАНДАРТАМ
Таблица ДА.1
Обозначение ссылочного европейского стандарта | Степень соответствия | Обозначение и наименование соответствующего межгосударственного стандарта |
EN 14275:2013 | - | |
EN ISO 3170 | - | |
EN ISO 3171 | - | |
ISO 3819:1985 | - | |
<*> Соответствующий межгосударственный стандарт отсутствует. До его утверждения рекомендуется использовать перевод на русский язык данного европейского стандарта. |
| EN ISO 4259:2006 | Petroleum products - Determination and precision date in relation to methods of test (Нефтепродукты. Определение и применение данных прецизионности в отношении методов испытания) |
| EN 590:2013 | Automotive fuels - Diesel - Requirements and test methods (Топлива для двигателей внутреннего сгорания. Топливо дизельное. Требования и методы испытаний) |
| EN 14214:2012 + A1:2014 | Liquid petroleum products - Fatty acid methyl esters (FAME) for use in diesel engines and heating applications - Requirements and test methods (Нефтепродукты жидкие. Метиловые эфиры жирных кислот (FAME) для дизельных двигателей и отопления. Требования и методы испытаний) |
| EN ISO 5164:2014 | Petroleum products - Determination of knock characteristics of motor fuels - Research method (Нефтепродукты. Определение антидетонационных свойств моторного топлива. Исследовательский метод) |
УДК 665.71:543.612(083.74)(476) :006.354 | | IDT |
Ключевые слова: нефтепродукты, средний дистиллят, механические примеси, дизельное топливо, фильтрование, отбор проб, метод определения, условия испытания |