Главная // Актуальные документы // ГОСТ (Государственный стандарт)СПРАВКА
Источник публикации
М.: Стандартинформ, 2020
Примечание к документу
Документ включен в
Перечень международных и региональных (межгосударственных) стандартов, а в случае их отсутствия - национальных (государственных) стандартов, содержащих правила и методы исследований (испытаний) и измерений, в том числе правила отбора образцов, необходимые для применения и исполнения требований технического
регламента Таможенного союза "О требованиях к автомобильному и авиационному бензину, дизельному и судовому топливу, топливу для реактивных двигателей и мазуту" (ТР ТС 013/2011) и осуществления оценки соответствия объектов технического регулирования (
Решение Коллегии Евразийской экономической комиссии от 15.08.2023 N 114).
Текст данного документа приведен с учетом
поправки, опубликованной в "ИУС", N 7, 2022.
Документ
введен в действие с 01.01.2021.
Название документа
"ГОСТ EN 116-2017. Межгосударственный стандарт. Топливо дизельное и печное бытовое. Определение предельной температуры фильтруемости. Метод поэтапного охлаждения в бане"
(введен в действие Приказом Росстандарта от 17.11.2020 N 1092-ст)
"ГОСТ EN 116-2017. Межгосударственный стандарт. Топливо дизельное и печное бытовое. Определение предельной температуры фильтруемости. Метод поэтапного охлаждения в бане"
(введен в действие Приказом Росстандарта от 17.11.2020 N 1092-ст)
Приказом Федерального
агентства по техническому
регулированию и метрологии
от 17 ноября 2020 г. N 1092-ст
МЕЖГОСУДАРСТВЕННЫЙ СТАНДАРТ
ТОПЛИВО ДИЗЕЛЬНОЕ И ПЕЧНОЕ БЫТОВОЕ
ОПРЕДЕЛЕНИЕ ПРЕДЕЛЬНОЙ ТЕМПЕРАТУРЫ ФИЛЬТРУЕМОСТИ.
МЕТОД ПОЭТАПНОГО ОХЛАЖДЕНИЯ В БАНЕ
Diesel and domestic heating fuels. Determination of cold
filter plugging point. Stepwise cooling bath method
(EN 116:2015, IDT)
ГОСТ EN 116-2017
Дата введения
1 января 2021 года
Цели, основные принципы и общие правила проведения работ по межгосударственной стандартизации установлены
ГОСТ 1.0 "Межгосударственная система стандартизации. Основные положения" и
ГОСТ 1.2 "Межгосударственная система стандартизации. Стандарты межгосударственные, правила и рекомендации по межгосударственной стандартизации. Правила разработки, принятия, обновления и отмены"
1 ПОДГОТОВЛЕН Научно-производственным республиканским унитарным предприятием "Белорусский государственный институт стандартизации и сертификации" (БелГИСС)
2 ВНЕСЕН Госстандартом Республики Беларусь
3 ПРИНЯТ Евразийским Советом по стандартизации, метрологии и сертификации (протокол от 30 марта 2017 г. N 97-П)
За принятие проголосовали:
Краткое наименование страны по МК (ИСО 3166) 004-97 | Код страны по МК (ИСО 3166) 004-97 | Сокращенное наименование национального органа по стандартизации |
Армения | AM | ЗАО "Национальный орган по стандартизации и метрологии" Республики Армения |
Беларусь | BY | Госстандарт Республики Беларусь |
Киргизия | KG | Кыргызстандарт |
Россия | RU | Росстандарт |
Таджикистан | TJ | Таджикстандарт |
Туркмения | TM | Главгосслужба "Туркменстандартлары" |
Узбекистан | UZ | Узстандарт |
4 Приказом Федерального агентства по техническому регулированию и метрологии от 17 ноября 2020 г. N 1092-ст межгосударственный стандарт ГОСТ EN 116-2017 введен в действие в качестве национального стандарта Российской Федерации с 1 января 2021 г.
5 Настоящий стандарт идентичен европейскому стандарту EN 116:2015 "Diesel and domestic heating fuels - Determination of cold filter plugging point - Stepwise cooling bath method" (EN 116:2015 "Топливо дизельное и печное бытовое. Определение предельной температуры фильтруемости. Метод поэтапного охлаждения в бане").
Европейский стандарт EN 116:2015 разработан техническим комитетом CEN/TC 19 "Газообразные и жидкие топлива, смазочные материалы и родственные продукты нефтяного, синтетического и биологического происхождения".
При применении настоящего стандарта рекомендуется использовать вместо ссылочных международных стандартов соответствующие им межгосударственные стандарты, сведения о которых приведены в дополнительном
приложении ДА
Информация о введении в действие (прекращении действия) настоящего стандарта и изменений к нему на территории указанных выше государств публикуется в указателях национальных стандартов, издаваемых в этих государствах, а также в сети Интернет на сайтах соответствующих национальных органов по стандартизации.
В случае пересмотра, изменения или отмены настоящего стандарта соответствующая информация будет опубликована на официальном интернет-сайте Межгосударственного совета по стандартизации, метрологии и сертификации в каталоге "Межгосударственные стандарты"
Настоящий стандарт устанавливает метод определения предельной температуры фильтруемости на холодном фильтре (CFPP) дизельного и печного бытового топлива
(3.1) с использованием автоматического испытательного оборудования. Ручное испытательное оборудование также может применяться, однако при проведении арбитражных испытаний допустимым является только автоматическое оборудование.
Метод настоящего стандарта распространяется на метиловые эфиры жирных кислот (FAME) и дистиллятное топливо, а также парафиновое дизельное топливо (в том числе содержащее метиловые эфиры жирных кислот, антифрикционные и другие присадки), предназначенные для использования в дизельных двигателях и бытовых отопительных установках.
Результаты, полученные при проведении испытания по методу настоящего стандарта, могут использоваться для оценки самой низкой температуры, при которой обеспечивается беспрепятственная подача топлива в топливную систему.
Примечание - В случае дизельного топлива результаты испытания, как правило, близки к температуре отказа работы техники, за исключением случаев, когда в топливной системе установлен бумажный фильтр на выходе в атмосферу или предельная температура фильтруемости более чем на 12 °C ниже температуры помутнения топлива. Бытовые отопительные установки, как правило, менее требовательны и зачастую способны нормально функционировать при значениях температуры ниже значений, полученных в результате испытания.
Различие между результатами испытаний, полученными без термообработки пробы перед фильтрованием и после ее нагрева в течение 30 мин при 45 °C, может применяться при рассмотрении жалоб на неудовлетворительные эксплуатационные характеристики топлива в условиях низких температур.
Предупреждение - Применение настоящего стандарта связано с использованием опасных веществ, операций и оборудования. Настоящий стандарт не рассматривает всех проблем безопасности, связанных с его применением, если они существуют. Пользователь настоящего стандарта несет ответственность за обеспечение техники безопасности, охрану здоровья человека и определение границ применимости стандарта до начала его применения.
Для применения настоящего стандарта необходимы следующие ссылочные документы. Для недатированных ссылок применяют последнее издание ссылочного документа (включая все его изменения).
EN ISO 3170:2004, Petroleum liquids - Manual sampling (Нефтепродукты жидкие. Ручной отбор проб)
EN ISO 3171:1999, Petroleum liquids - Automatic pipeline sampling (Нефтепродукты жидкие. Автоматический отбор проб из трубопроводов)
ISO 261:1998, ISO general purpose metric screw threads - General plan (Резьбы метрические общего назначения по системе ISO. Общий вид)
В настоящем стандарте применен следующий термин с соответствующим определением:
3.1
предельная температура фильтруемости на холодном фильтре (cold filter plugging point, CFPP): Самая высокая температура, при которой данный объем топлива не протекает через стандартизованную фильтрующую установку в течение заданного времени при охлаждении в условиях настоящего метода.
Испытуемую порцию топлива охлаждают при заданных условиях и через интервалы в 1 °C наполняют ею пипетку через стандартный сетчатый фильтр под контролируемым вакуумом 2 кПа. Процедуру повторяют при каждом понижении температуры на 1 °C ниже начального значения температуры испытания. Испытание проводят до тех пор, пока количество кристаллов парафина, выделившегося из жидкости, не будет достаточным для остановки или замедления потока в такой степени, что время, необходимое для заполнения пипетки, будет превышать 60 с или топливо перестанет полностью стекать в сосуд для испытания до его охлаждения еще на 1 °C.
Отмеченную температуру начала последнего фильтрования регистрируют как предельную температуру фильтруемости топлива на холодном фильтре.
5.1 Углеводородные растворители со степенью чистоты technical grade (технические) или химически чистые, например гептан.
5.2 Легкие углеводородные растворители со степенью чистоты technical grade (технические), например изопентан.
5.3 Безворсовая фильтровальная бумага, задерживающая частицы размером (5 +/- 1) мкм.
5.4 Сертифицированные стандартные образцы.
Примечание - Сертифицированные стандартные образцы могут быть получены от Европейской комиссии, JRC. Для получения дополнительной информации можно обратиться в Институт эталонных материалов и измерений (IRMM), Retieseweg 111, В-2440 Geel, Belgium.
| | ИС МЕГАНОРМ: примечание. В официальном тексте документа, видимо, допущена опечатка: пункты 6.1.1 - 6.1.11 отсутствуют. Возможно, имеются в виду пункты 6.1 - 6.11 соответственно. | |
Оборудование, описанное в
6.1.1 -
6.1.11, должно собираться в соответствии с
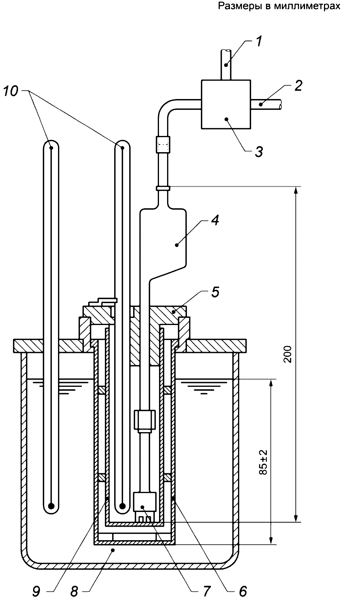
рисунком 1. Если не указано иное, все размеры на рисунках приведены в миллиметрах.
Предупреждение - Элементы оборудования, изготовленные из меди, цинка и латуни могут взаимодействовать с биокомпонентами топлива, например метиловыми эфирами жирных кислот (FAME). Необходимо соблюдать меры предосторожности. Рекомендуется использовать оборудование с элементами, изготовленными из альтернативных материалов.
1 - атмосфера
(6.7);
2 - вакуумный регулятор
(6.7);
8 - охлаждающая баня
(6.9);
9 - испытательный сосуд
(6.1);
Рисунок 1 - Общая схема сборки оборудования
6.1 Испытательный цилиндрический плоскодонный сосуд из прозрачного стекла внешним диаметром (34 +/- 0,5) мм, толщиной стенки (1,25 +/- 0,25) мм и высотой (120 +/- 5) мм, с несмываемой меткой, соответствующей объему 45 см
3.
Сосуды для испытаний требуемых размеров могут выбираться из сосудов, соответствующих требованиям ISO 3016 <1>, устанавливающим более широкий диапазон допусков.
--------------------------------
<1> ISO 3016:1994 Petroleum products - Determination of pour point (Нефтепродукты. Определение температуры потери текучести).
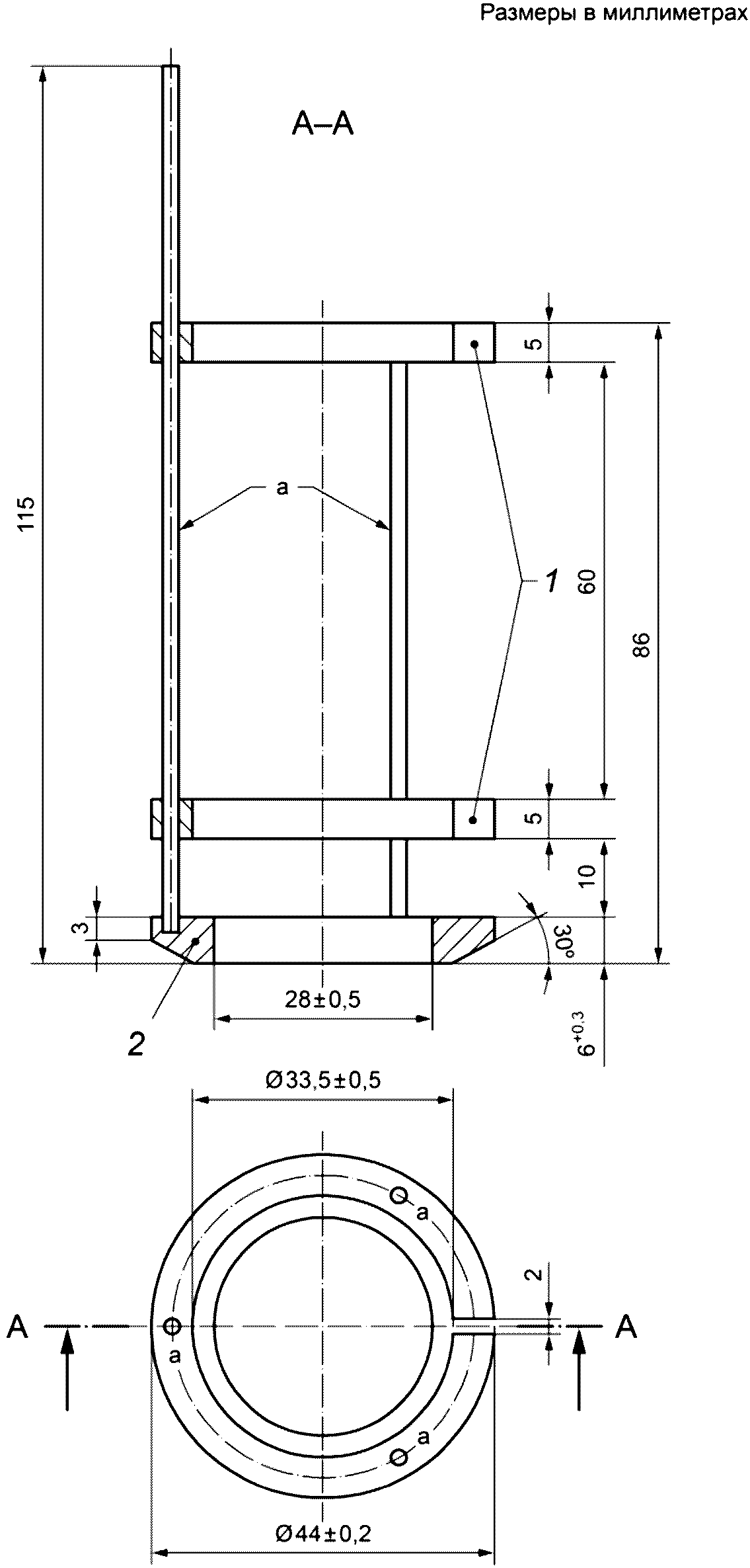
6.2 Водонепроницаемый плоскодонный цилиндрический кожух, используемый в качестве воздушной бани, с внутренним диаметром (45 +/- 0,25) мм, наружным диаметром (48 +/- 0,25) мм и высотой (115 +/-3) мм.
6.3 Разделитель, изготовленный из POM-C <1> (за исключением стержней из нержавеющей стали диаметром 2 мм), устанавливаемый в кожухе
(6.2) и соответствующий размерам, указанным на
рисунке 2.
--------------------------------
<1> POM-C - полиоксиметилен сополимер, например, торговой марки DELRIN.
а - проволочные сетки из нержавеющей стали

;
1 - разделитель; 2 - изоляционные кольца
Рисунок 2 - Изоляционное кольцо (снизу)
и разделитель (сверху)
6.4 Пробка из маслостойкого нетеплопроводного материала, имеющая три отверстия, предназначенные для размещения пипетки
(6.5), термометра
(6.8) и обеспечения вентиляции системы. Пробка должна обеспечивать надежное размещение пипетки и термометра в испытательном сосуде.
6.5 Пипетка с фильтрующим устройством
6.5.1 Пипетка из прозрачного стекла с отметкой, соответствующей объему (20 +/- 0,2) см
3 на высоте (149 +/- 0,5) мм от ее нижнего конца (см.
рисунок 3). Пипетка должна быть соединена с фильтрующим устройством
(6.5.2).
1 - отметка
6.5.2 Фильтрующее устройство (см.
рисунок 4) с метрической резьбой общего назначения по системе ISO, соответствующей ISO 261, включающее держатель фильтра (см.
рисунок 5), диск диаметром 15 мм в виде проволочной сетки из нержавеющей стали с номинальным размером ячейки 45 мкм с переплетением "рогожка" (но не саржевым). Номинальный диаметр проволоки должен составлять 32 мкм, допуски размеров отдельных ячеек должны быть следующими:
a) размер ячеек не должен превышать номинальное значение более чем на 22 мкм;
b) расхождение между средним и номинальным размерами ячеек не должно превышать +/- 3,1 мкм;
c) превышение номинального размера ячеек на величину более чем 13 мкм допускается не более чем для 6% ячеек.
1 - трубка пипетки
(6.5.1);
2 - накидная гайка
из медно-цинкового сплава; 3 - уплотнительное кольцо
круглого сечения из маслостойкой пластмассы; 4 - корпус
из медно-цинкового сплава; 5 - держатель фильтра;
6 - цилиндр из медно-цинкового сплава с наружной резьбой;
7 - накатка
Рисунок 4 - Фильтрующее устройство
А - проволочная сетка из нержавеющей стали
с переплетением "рогожка" и размером ячейки 45 мкм
Рисунок 5 - Держатель фильтра
Требования к проволочной сетке установлены в соответствии с
[3], которым можно руководствоваться относительно методов испытаний проволочных сеток.
6.6 Система автоматического детектирования, состоящая из одного датчика, фиксирующего перед началом следующего цикла аспирации пробы заполнение пипетки до уровня (20 +/- 0,2) см3, называемого отметкой 20 см3, и второго датчика, расположенного на высоте (85 +/- 4) мм от дна пипетки, называемой нижней отметкой заполнения.
6.7 Клапанный блок, соединяющий пипетку с регулятором вакуума для обеспечения наполнения пробой пипетки под действием вакуума, или с атмосферой для обеспечения стекания пробы назад в испытательный сосуд. Соединительная линия между клапанным блоком и пипеткой должна иметь длину не более 2 м и внутренний диаметр от 4 до 6 мм.
6.8 Должны использоваться термометры, указанные ниже, основные размеры которых соответствуют требованиям, приведенным в
приложении А.
6.8.1 Платиновый термометр сопротивления со вторичным показывающим устройством должен использоваться для измерения температуры пробы с разрешением 0,1 °C и точностью 0,5 °C (положение термометра в установке для испытания приведено на
рисунке 6 и в
10.4).
Рисунок 6 - Фильтрующее устройство и положение термометра
6.8.2 Платиновый термометр сопротивления со вторичным показывающим устройством должен использоваться для измерения температуры охлаждающей бани.
Форма и размер охлаждающей бани должны обеспечивать размещение кожуха
(6.2) в устойчивом вертикальном положении на требуемой глубине.
Кожух
(6.2) может быть зафиксирован в крышке.
Температура в бане должна поддерживаться на заданном уровне с помощью охлаждающего устройства или с использованием соответствующих охлаждающих смесей, при этом равномерность температуры в бане должна обеспечиваться путем перемешивания способом, приемлемым для жидкостных бань.
Температуру в охлаждающей бане устанавливают в зависимости от предельной температуры фильтруемости, в соответствии со значениями, приведенными в
таблице 1. Указанные значения температуры могут быть достигнуты с использованием отдельных охлаждающих бань или путем регулировки охлаждающего устройства. Охлаждающее устройство, в случае его использования, должно обеспечивать изменение температуры в бане в течение 2 мин 30 с.
Таблица 1
Температура в охлаждающей ванне
Предельная температура фильтруемости испытуемой пробы, °C | Необходимая температура в охлаждающей бане, °C |
Выше минус 20 | Минус 34 +/- 0,5 |
От минус 20 до минус 35 | Минус 51 +/- 1,0 |
Ниже минус 35 | Минус 67 +/- 2,0 |
Если в одной большой охлаждающей бане одновременно находятся несколько испытательных установок, то расстояние между стенками их кожухов должно составлять не менее 50 мм.
6.10 Источник вакуума, представляющий собой вакуумный насос или водоструйный насос мощностью, достаточной для обеспечения в регуляторе вакуума скорости потока (15 +/- 1) дм3/ч во время всего цикла испытания.
Регулировку вакуума осуществляют в соответствии с 6.10.1 или
6.10.2.
6.10.1 Регулятор вакуума со стеклянными бутылями, состоящий из компонентов, приведенных ниже.
Вакуумный насос или водоструйный насос со всасывающей характеристикой от 60 до 100 дм3/ч. При использовании насоса для одновременной регулировки вакуума нескольких испытательных установок его всасывающей характеристики менее 60 дм3/ч будет недостаточно для обеспечения требуемого вакуума. Всасывающая характеристика более 100 дм3/ч может привести к турбулентности в бутыли, заполненной водой, и отрицательно повлиять на стабильность вакуума.
Стеклянная бутыль высотой не менее 350 мм и вместимостью не менее 5 дм3, частично заполненная водой. Бутыль должна быть закрыта пробкой с тремя отверстиями диаметром, соответствующим диаметру стеклянной трубки или трубки из нержавеющей стали. Две трубки должны быть короткими и не должны находиться ниже уровня воды в бутыли. Третья трубка должна быть длинной настолько, чтобы один ее конец опускался ниже уровня воды приблизительно на 200 мм, тогда как другой ее конец должен выступать над пробкой на несколько сантиметров. Глубину погружения трубки регулируют таким образом, чтобы манометр показывал разряжение (2 +/- 0,05) кПа.
Вторая пустая пятилитровая бутыль должна быть установлена на линии (вакуума) в качестве вакуумного резервуара (буферной склянки) для обеспечения постоянного разряжения. Вакуумный регулятор в сборе показан на рисунке 7.
1 - соединение с фильтрующим устройством
(6.5.2);
2 - атмосфера
(6.7);
3 - соединение с насосом;
4 - вода; 5 - уровень воды
Рисунок 7 - Вакуумный регулятор со стеклянными бутылями
Данное вакуумное регулирование позволяет одновременно контролировать до 10 испытательных установок. При этом обязательным условием является наличие для каждой испытательной установки отдельной линии, соединяющей вентильный механизм с вакуумным регулятором, длиной, не превышающей 5 м. В качестве соединительных линий могут использоваться имеющиеся в продаже силиконовые трубки внутренним диаметром от 4 до 6 мм.
6.10.2 Электронный регулятор вакуума (для автоматического метода), способный поддерживать требуемое значение вакуума (2 +/- 0,05) кПа в течение всего цикла испытания.
6.11 Устройство измерения времени с ценой деления 0,2 с и погрешностью измерения +/- 0,1% в интервале 10 мин.
Если техническими требованиями к испытуемому продукту не предусмотрено иное, то отбор проб проводят в соответствии с EN ISO 3170 или EN ISO 3171 и/или национальными стандартами или другими нормативными документами, устанавливающими требования к отбору проб испытуемого продукта.
8 Подготовка пробы для проведения испытаний
Пробу объемом приблизительно 50 см
3 фильтруют при температуре окружающей среды, но не ниже 15 °C через сухую фильтровальную бумагу по
5.3.
Примечание - Проверку правильности работы автоматического оборудования проводят не реже двух раз в год с использованием по возможности сертифицированных стандартных образцов. Проверку правильности работы оборудования также следует проводить с большей периодичностью (например, один раз в неделю) с использованием вторичного стандартного образца, такого как топливо с известным значением CFPP. Причины отклонений, превышающих повторяемость метода, или недопустимых результатов статистического контроля качества, следует выявлять и устранять. Инструкции изготовителей должны содержать указания для обеспечения правильной настройки и проведения калибровки оборудования.
Подготовку оборудования осуществляют в соответствии с инструкциями изготовителя. Перед каждым испытанием разбирают фильтрующее устройство
(6.5.2), промывают элементы, испытательный сосуд
(6.1), пипетку
(6.5.1) и термометр
(6.8.1) углеводородным растворителем
(5.1), затем ополаскивают легким углеводородным растворителем
(5.2) и сушат при помощи потока очищенного воздуха. Все элементы оборудования, включая кожух
(6.2), осматривают на наличие влаги и загрязнений. Сетчатый фильтр и соединительные узлы проверяют на наличие повреждений и при необходимости заменяют на новые. С целью предотвращения вытекания пробы проверяют, плотно ли закрыта завинчивающаяся крышка.
В зависимости от типа проб настоятельно рекомендуется регулярно проверять и по мере необходимости очищать держатель фильтра.
10.1 Помещают разделитель
(6.3) в кожух
(6.2). Непосредственно перед установкой кожух осматривают на наличие влаги/льда.
10.2 Наливают отфильтрованную испытуемую пробу в испытательный сосуд (см.
раздел 8) до отметки 45 см
3.
10.3 Контролируют, чтобы температура охлаждающей бани с установленным в ней кожухом составляла (-34 +/- 0,5) °C.
10.4 Помещают в кожух испытательный сосуд с пробкой
(6.4), пипетку с фильтрующим устройством
(6.5) и соответствующий термометр
(6.8.1), как показано на
рисунке 6.
Контролируют, чтобы нижняя часть фильтрующего устройства находилась на дне колбы. Проверяют, чтобы термометр не касался стенок колбы и фильтрующего устройства. Нижний конец термометра располагают на расстоянии (1,5 +/- 0,2) мм от дна испытательного сосуда.
10.5 Соединяют пипетку с вакуумной системой.
10.6 Сразу же начинают испытание, следуя инструкциям изготовителя. Охлаждающую баню доводят до соответствующей температуры, указанной в
таблице 1. В большинстве приборов процедура испытания осуществляется автоматически.
10.7 Когда температура испытуемой пробы понизится до значения, равного целому числу, начинают первый цикл аспирации путем подключения пипетки к регулятору вакуума через клапанный блок, что приводит к всасыванию испытуемой пробы в пипетку. После наполнения пипетки испытуемым топливом до отметки 20 см
3 ее соединяют с атмосферой через клапанный блок, позволяя испытуемой пробе стечь назад в испытательный сосуд.
10.8 Цикл аспирации повторяют при каждом понижении температуры пробы на 1 °C до тех пор, пока температура испытуемой пробы не понизится до значения, при котором пипетка не успеет наполниться испытуемым топливом до отметки 20 см
3 в течение 60 с. Температуру начала последнего фильтрования записывают как CFPP (см.
раздел 12).
Незначительное количество испытуемых проб при аспирации может проявлять аномальное поведение, что может быть выявлено при изучении распечаток зарегистрированных значений времени аспирации. Данное поведение характеризуется непредсказуемым понижением времени заполнения пипетки, после чего время аспирации снова начинает возрастать, пока не будет достигнуто предельное значение времени, равное 60 с.
10.9 Если после охлаждения в соответствии с
10.7 испытуемая проба наполняет пипетку до отметки 20 см
3 менее чем за 60 с, но при этом не стекает назад до нижней отметки заполнения после соединения пипетки через клапанный блок
(6.7) с атмосферой перед началом следующего цикла аспирации, то температуру начала последнего фильтрования записывают как CFPP (см.
раздел 12).
11.1 Общие требования
Регулярно проводят калибровку приведенных ниже элементов оборудования. Если отсутствуют другие указания, калибровку рекомендуется проводить один раз в полгода.
11.2 Термометры
Калибровку устройств для измерения температуры, в том числе Pt 100 (
6.8.1 и
6.8.2), проводят регулярно (не реже одного раза в год) с использованием эталонных термометров, соответствующих требованиям национальных или международных стандартов, устанавливающих требования к средствам измерения.
11.3 Охлаждающее устройство
Проверка значений температуры охлаждающей бани должна выполняться с использованием сертифицированного термометра.
11.4 Вакуумная установка
Вакуум контролируют при помощи манометра, прослеживаемого по отношению к национальным или международным эталонам единиц измерения СИ.
12 Представление результатов
Записывают температуру, определенную в начале последней фильтрации, с округлением до 1 °C (см.
10.8 и
10.9), как предельную температуру фильтруемости на холодном фильтре (CFPP).
13.1 Общие положения
Статистическая обработка результатов испытания проводилась в соответствии с
[2].
Анализ показателей прецизионности основан на исследовании, проведенном в 2011 г. Данное исследование охватывало метиловые эфиры жирных кислот (FAME), печное и дизельное топлива, содержащие биокомпонент в диапазоне от 0 до 30%, а также парафиновое дизельное топливо.
Значения предельной температуры фильтруемости топлив, участвовавших в проведении межлабораторных сравнительных испытаний, находились в диапазоне от -47 °C до -11 °C. Вычисление путем экстраполяции значений предельной температуры фильтруемости, выходящих за пределы указанного диапазона, не проводилось.
Примечание - Технический отчет, содержащий более подробную информацию о проведенном исследовании в настоящее время находится на стадии подготовки в рамках Европейского комитета по стандартизации.
13.2 Повторяемость
Расхождение между двумя результатами испытания, полученными одним и тем же оператором при работе на одном и том же оборудовании при одинаковых условиях испытания на идентичном испытуемом продукте в течение длительного промежутка времени при нормальном и правильном выполнении метода, только в одном случае из двадцати может превысить значение, приведенное ниже:
r = 1,2 - 0,027X, (1)
где X - среднеарифметическое двух сравниваемых результатов, °C.
13.3 Воспроизводимость
Расхождение между двумя отдельными и независимыми результатами испытаний, полученными разными операторами в разных лабораториях на идентичном испытуемом продукте в течение длительного промежутка времени при нормальном и правильном выполнении метода, только в одном случае из двадцати может превысить значение, приведенное ниже:
R = 3,0 - 0,060X, (2)
где X - среднеарифметическое двух сравниваемых результатов, °C.
Протокол испытаний должен содержать, как минимум, следующую информацию:
a) ссылку на настоящий стандарт;
b) тип испытуемого продукта и информацию, необходимую для его полной идентификации;
e) любое отклонение от установленного метода испытания (см.
10.8, 2-й абзац);
f) дату проведения испытания.
(обязательное)
Данное приложение устанавливает требования к размерам термометров (см.
6.8.1 и
6.8.2), используемых для проведения испытания по методу настоящего стандарта.
Требования к размерам платинового термометра сопротивления (PRT) приведены в
таблице А.1 и показаны на
рисунке А.1.
Если защитный корпус, входящий в состав платинового термометра сопротивления (PRT), является металлическим, изготовитель должен подтвердить соответствие термометра требованиям к его размерам.
Таблица А.1
Требования к размерам термометра
Обозначение | Описание | Размер, мм |
A | Диаметр датчика | 4,5 +/- 1,0 |
B | Расстояние от низа до проволочной насадки | 3,0 +/- 2,0 |
C | Длина проволочной насадки, включая наконечник | 12,0 +/- 3,0 |
D | Внешний диаметр корпуса | 6,5 +/- 1,0 |
Рисунок А.1 - Описание термометра
[1] | EN 16329 | Diesel and domestic heating fuels - Determination of cold filter plugging point - Linear cooling bath method (Топливо дизельное и печное бытовое. Определение предельной температуры фильтруемости. Метод линейного охлаждения в бане) |
| EN ISO 4259 | Petroleum products - Determination and application of precision data in relation to methods of test (ISO 4259) (Нефтепродукты. Определение и применение показателей точности к методам испытаний) |
| ISO 3310-1 | Test sieves - Technical requirements and testing - Part 1: Test sieves of metal wire cloth (Сита контрольные. Технические требования и испытания. Часть 1. Сита контрольные из металлической проволочной ткани) |
(справочное)
СВЕДЕНИЯ О СООТВЕТСТВИИ ССЫЛОЧНЫХ ЕВРОПЕЙСКИХ СТАНДАРТОВ
МЕЖГОСУДАРСТВЕННЫМ СТАНДАРТАМ
Таблица ДА.1
Обозначение ссылочного европейского стандарта | Степень соответствия | Обозначение и наименование соответствующего межгосударственного стандарта |
EN ISO 3170 | - | |
EN ISO 3171 | - | |
ISO 261:1998 | IDT | ГОСТ 8724-2002 (ИСО 261-98) "Основные нормы взаимозаменяемости. Резьба метрическая. Диаметры и шаги" |
<*> Соответствующий межгосударственный стандарт отсутствует. До его утверждения рекомендуется использовать перевод на русский язык данного европейского стандарта. Примечание - В настоящей таблице использовано следующее условное обозначение степени соответствия стандартов: - IDT - идентичный стандарт. |
УДК 665.753.4:543.226:006.354(083.74)(476) | | IDT |
Ключевые слова: топливо дизельное, топливо печное бытовое, температура фильтруемости предельная, метод поэтапного охлаждения в бане |