Главная // Актуальные документы // ГОСТ (Государственный стандарт)СПРАВКА
Источник публикации
М.: ФГБУ "РСТ", 2021
Примечание к документу
Текст данного документа приведен с учетом
поправки, введенной в действие с 01.10.2021, опубликованной в "ИУС", N 2, 2022.
Документ
введен в действие с 01.01.2022.
Название документа
"ГОСТ 34766-2021 (ISO 17712:2013). Межгосударственный стандарт. Устройства пломбировочные механические для грузовых контейнеров. Общие технические требования"
(введен в действие Приказом Росстандарта от 22.09.2021 N 1004-ст)
"ГОСТ 34766-2021 (ISO 17712:2013). Межгосударственный стандарт. Устройства пломбировочные механические для грузовых контейнеров. Общие технические требования"
(введен в действие Приказом Росстандарта от 22.09.2021 N 1004-ст)
по техническому регулированию
и метрологии
от 22 сентября 2021 г. N 1004-ст
МЕЖГОСУДАРСТВЕННЫЙ СТАНДАРТ
УСТРОЙСТВА ПЛОМБИРОВОЧНЫЕ МЕХАНИЧЕСКИЕ
ДЛЯ ГРУЗОВЫХ КОНТЕЙНЕРОВ
ОБЩИЕ ТЕХНИЧЕСКИЕ ТРЕБОВАНИЯ
Mechanical seals for freight containers. General
technical requirements
(ISO 17712:2013,
Freight containers - Mechanical seals,
MOD)
ГОСТ 34766-2021
(ISO 17712:2013)
Дата введения
1 января 2022 года
Цели, основные принципы и общие правила проведения работ по межгосударственной стандартизации установлены
ГОСТ 1.0 "Межгосударственная система стандартизации. Основные положения" и
ГОСТ 1.2 "Межгосударственная система стандартизации. Стандарты межгосударственные, правила и рекомендации по межгосударственной стандартизации. Правила разработки, принятия, обновления и отмены"
1 ПОДГОТОВЛЕН Закрытым акционерным обществом "ПРОМТРАНСНИИПРОЕКТ" (ЗАО "ПРОМТРАНСНИИПРОЕКТ"), Федеральным государственным бюджетным учреждением "Российский институт стандартизации" (ФГБУ "РСТ"), Акционерным обществом "Инженерный промышленный концерн "СТРАЖ" (АО "ИПК "СТРАЖ"), Обществом с ограниченной ответственностью "Торговый Дом "КЗМИ" (ООО "ТД "КЗМИ"), Обществом с ограниченной ответственностью "ТРАНС-ПЛОМБИР" (ООО "ТРАНС-ПЛОМБИР") на основе собственного перевода на русский язык англоязычной версии стандарта, указанного в
пункте 5
2 ВНЕСЕН Федеральным агентством по техническому регулированию и метрологии
3 ПРИНЯТ Межгосударственным советом по стандартизации, метрологии и сертификации (протокол от 26 августа 2021 г. N 142-П)
За принятие проголосовали:
Краткое наименование страны по МК (ИСО 3166) 004-97 | Код страны по МК (ИСО 3166) 004-97 | Сокращенное наименование национального органа по стандартизации |
Армения | AM | ЗАО "Национальный орган по стандартизации и метрологии" Республики Армения |
Беларусь | BY | Госстандарт Республики Беларусь |
Казахстан | KZ | Госстандарт Республики Казахстан |
Киргизия | KG | Кыргызстандарт |
Россия | RU | Росстандарт |
Таджикистан | TJ | Таджикстандарт |
Узбекистан | UZ | Узстандарт |
4
Приказом Федерального агентства по техническому регулированию и метрологии от 22 сентября 2021 г. N 1004-ст межгосударственный стандарт ГОСТ 34766-2021 (ISO 17712:2013) введен в действие в качестве национального стандарта Российской Федерации с 1 января 2022 г.
5 Настоящий стандарт является модифицированным по отношению к международному стандарту ISO 17712:2013 "Контейнеры грузовые. Пломбы механические" ("Freight containers - Mechanical seals", MOD) путем изменения отдельных фраз (слов, значений показателей, ссылок), которые выделены в тексте курсивом, а также его структуры для приведения в соответствие с правилами, установленными в ГОСТ 1.5 (
подразделы 4.2 и
4.3).
Международный стандарт ISO 17712:2013 разработан Техническим комитетом по стандартизации TC 104 "Грузовые контейнеры".
Наименование настоящего стандарта изменено относительно наименования указанного международного стандарта для приведения в соответствие с ГОСТ 1.5
(подраздел 3.6)
6 ВВЕДЕН ВПЕРВЫЕ
Информация о введении в действие (прекращении действия) настоящего стандарта и изменений к нему на территории указанных выше государств публикуется в указателях национальных стандартов, издаваемых в этих государствах, а также в сети Интернет на сайтах соответствующих национальных органов по стандартизации.
В случае пересмотра, изменения или отмены настоящего стандарта соответствующая информация будет опубликована на официальном интернет-сайте Межгосударственного совета по стандартизации, метрологии и сертификации в каталоге "Межгосударственные стандарты"
Настоящий стандарт устанавливает классификацию, общие технические требования и методы испытаний механических пломбировочных устройств (ПУ), используемых для пломбирования грузовых контейнеров.
Настоящий стандарт может применяться предприятиями и организациями, разрабатывающими, изготовляющими и поставляющими механические пломбы, потребителями и пользователями пломбировочных устройств, органами по сертификации, испытательными лабораториями независимо от административной подчиненности и форм собственности.
Настоящий стандарт не распространяется на свинцовые (проволочные) пломбы.
В настоящем стандарте использованы нормативные ссылки на следующие межгосударственные стандарты:
ГОСТ 12.1.005 Система стандартов безопасности труда. Общие санитарно-гигиенические требования к воздуху рабочей зоны
ГОСТ 15.309 Система разработки и постановки продукции на производство. Испытания и приемка выпускаемой продукции. Основные положения
ГОСТ 15150 Машины, приборы и другие технические изделия. Исполнения для различных климатических районов. Категории, условия эксплуатации, хранения и транспортирования в части воздействия климатических факторов внешней среды
ГОСТ 16504 Система государственных испытаний продукции. Испытания и контроль качества продукции. Основные термины и определения
ГОСТ 18321 Статистический контроль качества. Методы случайного отбора выборок штучной продукции
ГОСТ 30630.0.0 Методы испытаний на стойкость к внешним воздействующим факторам машин, приборов и других технических изделий. Общие требования
ГОСТ 30630.1.2 Методы испытаний на стойкость к механическим внешним воздействующим факторам машин, приборов и других технических изделий. Испытания на воздействие вибрации
ГОСТ 30631 Общие требования к машинам, приборам и другим техническим изделиям в части стойкости к механическим внешним воздействующим факторам при эксплуатации
| | ИС МЕГАНОРМ: примечание. ГОСТ 31281-2004 утратил силу на территории Российской Федерации с 01.01.2023 в связи с введением в действие ГОСТ Р 59164-2020 (Приказ Росстандарта от 10.11.2020 N 1044-ст). | |
ГОСТ 31281 Устройства запорно-пломбировочные для транспорта и контейнеров общего и специального назначения. Общие технические требования.
ГОСТ 31282 Устройства пломбировочные. Классификация
ГОСТ 31283 Пломбы индикаторные. Общие технические требования
ГОСТ 31315 Устройства пломбировочные электронные. Общие технические требования
Примечание - При пользовании настоящим стандартом целесообразно проверить действие ссылочных стандартов и классификаторов на официальном интернет-сайте Межгосударственного совета по стандартизации, метрологии и сертификации (www.easc.by) или по указателям национальных стандартов, издаваемым в государствах, указанных в
предисловии, или на официальных сайтах соответствующих национальных органов по стандартизации. Если на документ дана недатированная ссылка, то следует использовать документ, действующий на текущий момент, с учетом всех внесенных в него изменений. Если заменен ссылочный документ, на который дана датированная ссылка, то следует использовать указанную версию этого документа. Если после принятия настоящего стандарта в ссылочный документ, на который дана датированная ссылка, внесено изменение, затрагивающее положение, на которое дана ссылка, то это положение применяется без учета данного изменения. Если ссылочный документ отменен без замены, то положение, в котором дана ссылка на него, применяется в части, не затрагивающей эту ссылку.
3.1 механическое пломбировочное устройство (пломба): Пломбировочное устройство (ПУ) по ГОСТ 31282, все функции которого выполняет механизм, определенный конструкцией ПУ, без использования электронных и/или оптических блоков в соответствии с ГОСТ 31315.
3.2 несанкционированное вмешательство: Нештатное проникновение к объекту пломбирования путем манипуляций с ПУ с образованием комплекса устойчивых признаков, сигнализирующих о фактах воздействия на ПУ или попытках доступа к объекту пломбирования.
Примечание - Конструкция механических ПУ должна обеспечивать индикацию попытки несанкционированного доступа.
3.3 защитное пломбировочное устройство: Пломбировочное устройство (ПУ) нормальной стойкости защитных свойств от подмены и подделки, устойчивое к несанкционированному (криминальному) вскрытию, обеспечивающее механическую защиту с усилием разрушения в диапазоне от 3,5 до 12,0 кН (от 350 до 1200 кгс).
3.4 разрушенное пломбировочное устройство: Пломбировочное устройство, которое было вскрыто или снято и заменено, или восстановлено без обнаружения признаков несанкционированного доступа.
3.5 индикаторная способность: Способность выявлять признаки несанкционированного вмешательства после предпринятых попыток нарушить целостность пломбировочного устройства.
3.6 утилизация пломбировочного устройства: Процесс приведения конструкции пломбировочного устройства в состояние, исключающее возможность его повторного применения, с уничтожением индивидуальных контрольных знаков (заводских номеров), а также штрих-кодов (при наличии), разрушением корпуса.
3.7 штрих-код: Наносимая графическая информация, позволяющая кодировать информацию в виде последовательности символов (штрихов, точек, квадратов и т.д.) и промежутков между ними.
4 Классификация пломбировочных устройств и область применения
4.1 Общая классификация пломбировочных устройств
Разделение ПУ по классам проводится в соответствии с ГОСТ 31282.
4.2 Область применения механических пломбировочных устройств
4.2.1 Назначение механических ПУ, как части охранной системы, заключается в индикации и/или предотвращении несанкционированного доступа в грузовой контейнер.
Типы, виды и требования к ПУ, применяемым для пломбирования контейнеров, определяются перевозчиком в соответствии с нормативными документами, действующими на соответствующем виде транспорта.
4.2.2 Силовые ПУ (H) применяют для пломбирования контейнеров, транспортируемых железнодорожным транспортом в прямых и смешанных сообщениях на открытых платформах и в полувагонах.
4.2.3 Силовое ПУ (H) не может быть снято вручную, оно используется в основном на транспортных средствах дальнего следования и грузовых контейнерах, а также для защиты объектов при длительном хранении. Силовое ПУ может обеспечить защиту от несанкционированного вскрытия и возможной кражи.
4.2.4 Защитные ПУ (S) применяют для пломбирования контейнеров, транспортируемых автомобильным транспортом.
4.2.5 Контрольно-силовые ПУ (N) применяют для пломбирования контейнеров, транспортируемых водным и воздушным транспортом в незакрывающихся и неопломбированных трюмах судов, а также для пломбирования контейнеров, прошедших процедуру таможенного оформления.
4.2.6 Силовые, защитные и контрольно-силовые ПУ должны быть прочными и надежными для того, чтобы предотвратить повреждение и износ (из-за погодных условий, действия химических реагентов, вибрации, ударных нагрузок и т.д.) в процессе их нормальной эксплуатации.
4.2.7 Контрольные ПУ (C) и индикаторные ПУ (I) применяют для пломбирования контейнеров, транспортируемых всеми видами транспорта в закрытых и опломбированных железнодорожных вагонах, отсеках и трюмах воздушных и морских судов.
4.2.8 Индикаторные ПУ (I) и контрольные ПУ (C), обладающие слабыми защитными свойствами, следует использовать только там, где требуется лишь индикация факта проникновения (вмешательства). В тех случаях, когда определяющим требованием является физическая защита, следует использовать силовые ПУ (H).
4.3 Технические требования
4.3.1 ПУ должно устанавливаться на объекте пломбирования в соответствии с технической документацией на данную модель ПУ и, будучи установленным, должно поддаваться контролю факта запирания запорного механизма (запорных механизмов) на месте.
4.3.2 Конструкция механических пломб должна обеспечивать одноразовое применение по назначению и должна разрушаться при вскрытии.
4.3.3 Механические ПУ должны быть стойкими к воздействию агрессивных факторов, связанных с характером транспортируемого груза и окружающей средой.
4.3.4 При производстве ПУ не допускается применение вредных и опасных веществ, отнесенных к I классу опасности по ГОСТ 12.1.005, подпадающих под действие международных и национальных директивных документов в области экологии, охраны труда и окружающей среды.
4.3.5 Входной контроль механических ПУ проводит потребитель в соответствии с нормативными документами государств, принявших настоящий стандарт <*>.
--------------------------------
<*> В Российской Федерации действует ГОСТ Р 53418-2009 "Устройства пломбировочные. Порядок контроля состояния пломбировочных устройств в процессе эксплуатации".
Учет, контроль и утилизацию механических ПУ следует проводить в соответствии с нормативными документами государств, принявших настоящий стандарт <**>.
--------------------------------
<**> В Российской Федерации действуют
ГОСТ Р 52326-2019 "Устройства пломбировочные. Учет, контроль и утилизация" и ГОСТ Р 57117-2016 "Устройства пломбировочные. Методы утилизации".
| | ИС МЕГАНОРМ: примечание. ГОСТ 31281-2004 утратил силу на территории Российской Федерации с 01.01.2023 в связи с введением в действие ГОСТ Р 59164-2020 (Приказ Росстандарта от 10.11.2020 N 1044-ст). | |
4.4.1 Устойчивость механических
ПУ к несанкционированному вскрытию и стойкость к подделке должны соответствовать
ГОСТ 31281,
ГОСТ 31282 и
ГОСТ 31283 для установленного класса
ПУ.
4.4.2 Защита механических ПУ от подделки должна обеспечиваться специальными элементами конструкции и примененными при изготовлении защитными технологиями с образованием комплекса идентификационных признаков, контролируемых визуально и/или техническими средствами.
4.4.3 Конструкция ПУ должна исключать возможность их вскрытия путем выкручивания, стягивания и сбивания без оставления фиксируемых следов вскрытия.
4.4.4 Конструкция ПУ должна содержать элементы, на поверхности которых попытки любого несанкционированного вмешательства оставляют фиксируемые следы. При разработке и изготовлении ПУ необходимо соблюдать условия, при которых разрушение ПУ без видимых следов невозможно. Недопустимы несанкционированное вмешательство в конструкцию ПУ, не оставляющее явных следов вскрытия, и возможность повторного использования ПУ, предназначенных для однократного применения.
4.4.5 Конструкция ПУ должна исключать возможность вскрытия через конструктивные зазоры без оставления фиксируемых следов вскрытия.
4.4.6 Конструкция ПУ должна исключать возможность вскрытия и подделки путем частичной разборки на составные части, замены деталей, в том числе имеющих персональный идентификационный номер, изменения идентификационной маркировки без разрушения конструкции или оставления фиксируемых следов разборки.
4.4.7 Во избежание простого снятия или утраты ПУ путем вытягивания головки стержня ПУ или корпуса замкового механизма через запорный узел контейнера диаметр (или же самый широкий поперечный размер) металлических компонентов стержневого ПУ должен составлять не менее 18 мм.
4.4.8 ПУ, в конструкции которого используется пластиковое покрытие элементов металлических компонентов конструкции, должно иметь достаточную толщину компонентов, для того чтобы предотвратить удаление пластикового покрытия при снятии ПУ с узла запирания контейнера и при повторном его закрывании, не оставляющих явных признаков несанкционированного вмешательства (вскрытия).
4.4.9
ПУ должны отвечать требованиям на устойчивость при использовании в условиях воздействия внешних факторов, которым подвергаются контейнеры в процессе перевозки.
Требования на устойчивость к воздействию внешних факторов должны соответствовать ГОСТ 15150, ГОСТ 30630.0.0 и ГОСТ 30630.1.2.
Примечание - ПУ контейнеров обычно подвергаются неблагоприятному воздействию внешних факторов в процессе перевозки морским, железнодорожным, авиационным и автомобильным транспортом. ПУ покрываются песком и пылью, соляными брызгами, консистентной смазкой, снегом, льдом и сажей. При операциях погрузки-разгрузки и при транспортировании они испытывают динамические нагрузки и вибрацию. Конструкция механических ПУ должна соответствовать требованиям к их целевому назначению.
4.5.1 Маркировка ПУ должна содержать:
- индивидуальный идентификационный номер.
Примечание - Индивидуальный идентификационный номер может представлять собой последовательность букв, цифр и знаков;
- уникальный логотип изготовителя ПУ;
- обозначение наименования ПУ;
- условное обозначение;
- год выпуска (последние две цифры года).
Дополнительно, при необходимости, на ПУ могут наноситься: наименование или логотип потребителя, контактные данные, штрих-код, специальные защитные и голографические знаки, другая информация.
Примечание - Пломбировочные устройства, отвечающие соответствующим критериям, маркируются удобочитаемыми символами в целях их классификации: индикаторные - (I), контрольные - (C), защитные - (S), контрольно-силовые - (N) или силовые - (H). Любое изменение маркировки должно сопровождаться явными необратимыми физическими, химическими, тепловыми или иными повреждениями или разрушением пломбы.
4.5.2 Конструкция и маркировка ПУ должны быть такими, чтобы изготовители были в состоянии идентифицировать свои собственные изделия.
4.5.3 Маркировка ПУ должна быть устойчивой к внешним факторам среды, воздействующим на него в течение всего срока эксплуатации.
4.5.4 Изготовление ПУ с одинаковой и повторяющейся идентификационной маркировкой не допускается.
4.5.5 Маркировка, нанесенная на ПУ, должна читаться и однозначно распознаваться при освещенности не менее 50 лк с расстояния:
- 0,9 - 1,1 м - для силовых ПУ;
- 0,5 - 0,9 м - для индикаторных ПУ.
4.5.6 По согласованию с перевозчиком соответствующего вида транспорта на ПУ можно наносить дополнительную информацию, в том числе одномерный или двумерный штриховой код, пригодный для считывания.
4.5.7 ПУ, предназначенные для использования на грузовых контейнерах, транспортируемых в соответствии с таможенным законодательством, должны быть сертифицированы и снабжены индивидуальной маркировкой, устанавливаемой соответствующим таможенным или компетентным органом.
4.5.8 По требованию потребителей и пользователей (юридических и физических лиц), компаний-грузоперевозчиков ПУ, предназначенные для использования на грузовых контейнерах, должны быть сертифицированы и снабжены индивидуальной маркировкой.
5.1.1 Виды испытаний:
- механические испытания (испытания на устойчивость и прочность к растяжению, срезу, изгибу, удару);
- испытания на устойчивость к внешним воздействующим факторам (ВВФ) при эксплуатации;
- испытания на устойчивость к несанкционированному вскрытию и подделке;
- испытания на устойчивость к ударной нагрузке на запорный механизм.
Примечание - Поскольку индикаторные
ПУ по определению могут легко ломаться (см.
ГОСТ 31282), то нет необходимости подвергать их испытаниям на устойчивость и прочность, рассматриваемым в
разделе 5.
5.1.2 Испытания должны проводиться каждые два года. Испытания можно проводить с другой периодичностью в случае внесения существенных изменений в конструкцию, технологию производства и материала.
Компетентные органы могут установить проведение испытаний с большей периодичностью. Изготовители обязаны представлять все соответствующие изделия в аккредитованную независимую испытательную лабораторию.
ПУ должны быть испытаны в состоянии, в котором они продаются. Испытуемые образцы должны отбираться случайным образом из товарного запаса, предназначенного для продажи.
Соответствующие приспособления для закрепления ПУ на испытательном оборудовании определяют, исходя из общего типа ПУ и его конфигурации.
5.1.3 Процедуру испытаний на воздействие ударов выполняют дважды - при разных температурах. В каждом испытании оценивают пять образцов. Для того чтобы классифицировать ПУ как защитное, контрольно-силовое или силовое, для проведения испытаний необходимо 25 образцов.
Самый низкий уровень классификации для любого образца при любом испытании должен определять уровень классификации оцениваемого ПУ. Для достижения заданного уровня классификации все образцы должны отвечать требованиям к данному уровню классификации во всех испытаниях.
5.1.4 Испытания на устойчивость к внешним воздействующим факторам проводят в целях определения надежности и работоспособности ПУ при эксплуатации. Испытания проводят в соответствии с требованиями ГОСТ 30630.0.0 и настоящего стандарта.
| | ИС МЕГАНОРМ: примечание. ГОСТ 31281-2004 утратил силу на территории Российской Федерации с 01.01.2023 в связи с введением в действие ГОСТ Р 59164-2020 (Приказ Росстандарта от 10.11.2020 N 1044-ст). | |
5.1.5 Испытания на устойчивость к несанкционированному вскрытию и подделке проводят в целях определения фактических значений параметров защитных характеристик ПУ и проверки их соответствия требованиям, установленным ГОСТ 31281, ГОСТ 31282, ГОСТ 31283.
5.1.6 Организация, порядок проведения испытаний, выбор и применение средств (оборудования) для проведения испытаний и измерений должны соответствовать ГОСТ 15.309,
ГОСТ 30630.0.0 и технической документации на испытуемый тип ПУ.
5.1.7 Испытания должны проводиться лабораториями, отвечающими требованиям нормативных документов государств, принявших настоящий стандарт <*>.
--------------------------------
<*> В Российской Федерации действует
ГОСТ Р ИСО 9001-2015 "Системы менеджмента качества. Требования".
5.1.8 Для проведения испытаний следует применять испытательное оборудование, аттестованное в соответствии с требованиям нормативных документов государств, принявших настоящий стандарт <**>, и средства измерений, прошедшие поверку и калибровку.
--------------------------------
<**> В Российской Федерации действует
ГОСТ Р 8.568-2017 "Государственная система обеспечения единства измерений. Аттестация испытательного оборудования. Основные положения".
5.1.9 Приспособления, применяемые для установки и закрепления ПУ на испытательном оборудовании, при проведении испытания не должны:
- деформироваться и разрушаться;
- вносить искажения в схему испытаний и измерения параметров;
- создавать и передавать на ПУ дополнительные нагрузки, не предусмотренные условиями эксплуатации.
5.1.10 Отбор образцов для проведения испытаний должен соответствовать требованиям ГОСТ 18321. Количество образцов, подлежащих испытаниям, следует устанавливать в технической документации на конкретный тип ПУ.
5.2 Механические испытания
5.2.1 Виды и последовательность механических испытаний - в соответствии с
таблицей 1.
Последовательность испытаний, номер | Вид испытаний ПУ |
1 | Испытание на устойчивость и прочность к растяжению |
2 | Испытание на устойчивость и прочность к срезу |
3 | Испытание на устойчивость и прочность к изгибу |
4 | Испытание на устойчивость к ударной нагрузке на запорный механизм |
5.2.2 Испытания ПУ на устойчивость и прочность к растяжению
5.2.2.1 Испытаниям на растяжение подвергают все типы ПУ. Испытание проводят для определения прочности запорного механизма ПУ. Испытательное приспособление равномерно прикладывает к ПУ усилие в направлении, обратном запиранию ПУ. Данное усилие прикладывается постепенно до принудительного открывания ПУ или его разрушения.
Схемы проведения испытаний на растяжение приведены на
рисунках 1 -
3.
5.2.2.2 Испытания на устойчивость ПУ к воздействию нормируемого растягивающего усилия Fн и на прочность при растяжении с усилием F >= Fн проводят на разрывной испытательной машине. Растягивающие усилия прикладывают равномерно в направлении, обратном запиранию ПУ, до принудительного открывания или разрушения образца.
При испытаниях на растяжение должны выполняться следующие основные условия:
- скорость растягивающего устройства - V = 50 мм/мин;
- предварительное натяжение - Fпр = 500 Н (50 кгс);
- начальное расстояние между захватами - L = 50 мм;
- диаметр стержня для передачи нагрузки - D = 20 мм.
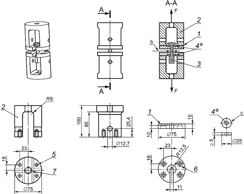
Изделие считают выдержавшим испытание, если при нагрузке F = Fн ПУ находится в замкнутом состоянии, отсутствуют видимые признаки разрушения (трещины на корпусе, обрывы) и удлинение не превышает 15 мм, а разрушение произошло при усилии F > Fн.
1 - ПУ; 2 - стержень; D - диаметр стержня для передачи
нагрузки; 3 - канат (проволока, лента); 4 - приспособление
для крепления ПУ; L - расстояние от центра стержня
до края ПУ
Рисунок 1 - Схема испытаний
ПУ канатного, проволочного,
ленточного типов на растяжение
Диапазон растягивающих усилий приведен в
таблице 2.
Таблица 2
Классификация ПУ по результатам испытаний
на устойчивость и прочность к растяжению
Вид ПУ по уровню механической защиты | Диапазон растягивающих усилий F, кН |
H | 12 < F <= 20 |
S | 3,5 < F <= 12 |
N | 1 < F <= 3,5 |
1 - приспособление для крепления ПУ стержневого типа: сталь,
глубина цементированного слоя 0,7 мм; 2 - скоба для передачи
нагрузки: сталь, глубина цементированного слоя 0,7 мм;
3 - ПУ стержневого типа; 4 - 2 x шайба приспособления
для крепления ПУ стержневого типа: сталь, глубина
цементированного слоя 0,7 мм; 5 - 4 отв. x резьба М8 x 1 мм,
глубина 20 мм; 6 - 4 x зенковка под М8 x 1 мм; 7 - 1 отв. x
резьба М16 x 1,5 мм; сквозное; F - прикладываемое
растягивающее усилие; a - толщина шайбы (4) приспособления
для крепления ПУ стержневого типа может быть увеличена,
чтобы обеспечить люфт для ПУ, но не менее чем на 5 мм;
b - размер поперечного сечения; c - на 5% - 10% больше
наибольшего поперечного сечения стержня ПУ стержневого типа
Рисунок 2 - Схема испытаний на устойчивость и прочность
к растяжению ПУ стержневого типа
Примечания
1 В качестве всех крепежных деталей должны использоваться болты с головкой под торцевой ключ класса 12.9 с указанным шагом резьбы. Дюймовые крепежные элементы должны иметь класс прочности 8 и диаметр, равный или больший чем у указанного крепежного элемента.
2 В испытаниях на растяжение и на воздействие ударов используют одинаковое приспособление для крепления ПУ.
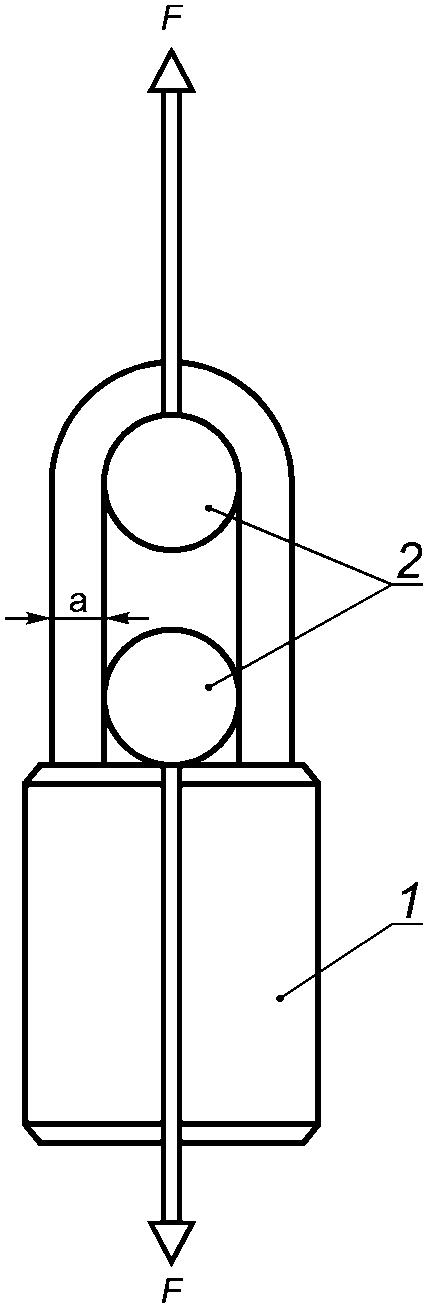
F - прикладываемое растягивающее усилие;
a - диаметр поперечного сечения
Рисунок 3 - Схема испытаний на устойчивость
и прочность к растяжению замкового ПУ
Примечания
1 Диаметр болта приспособления для крепления
ПУ 6,35 мм (0,25 дюйма) для
ПУ с линейным размером поперечного сечения должен быть меньшим или равным 3,18 мм (0,125 дюйма).
2 Диаметр болта приспособления для крепления
ПУ 12,7 мм (0,5 дюйма) для
ПУ с линейным размером поперечного сечения должен быть большим 3,18 мм (0,125 дюйма).
3 Допуск - +/- 0,254 мм (0,010 дюйма).
5.2.3 Испытания ПУ на устойчивость и прочность к срезу
5.2.3.1 Испытание должно проводиться с целью проверки способности ПУ противостоять разрезанию с помощью болторезов. Режущие средства, используемые в испытательном устройстве, должны быть отрегулированы так, чтобы ПУ разрезались, а не деформировались, как это может иметь место в случае тонких, гибких ПУ и при наличии перекоса лезвий режущих средств. Срезающее усилие должно прикладываться до тех пор, пока ПУ не разрушится. При этом максимальное усилие должно ограничиваться в соответствии с предупреждением.
Предупреждение - Не следует превышать срезающее усилие более 8,90 кН. Если при этом усилии разрушения образца не произошло, необходимо остановить испытание и снять нагрузку с испытательного оборудования. Значение срезающего усилия должно быть равно 8,896 кН. Внезапное и резкое механическое разрушение испытуемого образца может создавать угрозу персоналу, оборудованию и имуществу.
Скорость перемещения при испытаниях на устойчивость и прочность к срезу: 12,5 +/- 6,25 мм/мин.
5.2.3.2
ПУ классифицируют в соответствии с критериями, приведенными в
таблице 3 и основанными на срезающем усилии, зафиксированном в момент разрушения
ПУ.
Таблица 3
Классификация
ПУ по результатам испытаний
на устойчивость и прочность к срезу
Усилие разрушения F, кН | Классификация ПУ |
3,336 | H |
2,224 | S |
< 2,224 | N |
5.2.3.3 Для
ПУ ленточного, проволочного и канатного (диаметра не более 2 мм) типов используют схему проведения параллельных испытаний на устойчивость и прочность к срезу, приведенную на
рисунке 5. Для всех прочих
ПУ используют схему, представленную на
рисунке 4.
При проведении испытаний на устойчивость и прочность к срезу срезающее усилие прикладывается к самому слабому сечению ПУ.
В конструкции приспособлений необходимо учитывать, что прикладываемое усилие не должно превышать предела упругости материала приспособлений.
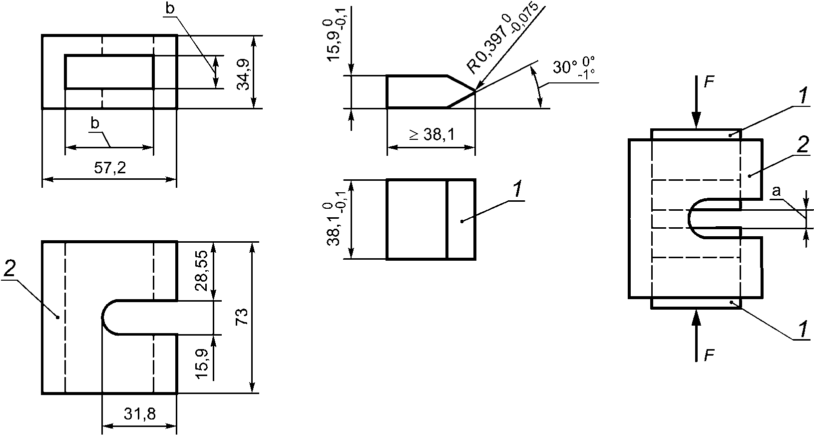
1 - режущие лезвия, механически обработанные из резаков
с твердостью 60 HRC по шкале Роквелла; 2 - приспособление
для испытаний на устойчивость и прочность к срезу
(соответствующие размеры зависят от окончательного размера
заточенных режущих лезвий); F - прикладываемое срезающее
усилие; a - 15,9 мм (5/8 дюйма) зазор реза для размещения
ПУ во время испытания; b - на 0,1 мм больше чем
окончательная длина/ширина заточенного лезвия
Рисунок 4 - Схема испытаний на устойчивость
и прочность к срезу
Примечания
1 Приспособление для испытаний на устойчивость и прочность к срезу (держатель образца) может изготовляться из двух частей, которые соединяются при помощи болтовых соединений или сварки.
2 Отверстие в приспособлении для испытаний на устойчивость и прочность к срезу (держатель образца) может быть снабжено прокладкой для достижения требуемой посадки. Режущие лезвия должны быть выставлены в пределах 0,1 мм.
1 - специальный образец; 2 - резак: сталь, твердость от 60
до 62 HRC по шкале Роквелла; 3 - держатель образца: сталь
с глубиной цементированного слоя 0,7 мм; F - прикладываемое
усилие; a - на 0,1 мм больше чем окончательная длина/ширина
заточенного лезвия; b - линейный размер поперечного
сечения; c - минимум 5 x наименьший линейный размер
поперечного сечения
Рисунок 5 - Схема проведения параллельных испытаний
на устойчивость и прочность к срезу ПУ канатного,
проволочного и ленточного типов
Примечания
1 Данное приспособление должно быть использовано для
ПУ канатного, проволочного, ленточного типов диаметром менее 2 мм. Для разрезания всех прочих
ПУ используют приспособления, показанные на
рисунке 4.
2 Держатель образца может изготавливаться из двух частей, которые соединяются при помощи болтовых соединений или сварки.
3 Отверстие держателя образца может быть снабжено прокладкой для достижения требуемой посадки.
5.2.4 Испытания ПУ на устойчивость и прочность к изгибу
5.2.4.1 Испытания на устойчивость и прочность к изгибу проводятся с целью определения стойкости ПУ к разрушению под действием изгибающих нагрузок. Способы испытания должны основываться на ПУ с запирающим гибким элементом и ПУ с жестким запирающим элементом (далее - гибкие ПУ или ПУ жесткого типа). Гибкие ПУ испытывают на способность выдерживать повторяющиеся циклы изгиба без разрушения, ПУ жесткого типа - на сопротивление деформации изгиба.
5.2.4.2 Корпус
ПУ канатного, проволочного или ленточного типов закрепляют в приспособлении. Гибкий элемент
ПУ (проволоку, ленту) многократно изгибают на угол 180° до разрушения или до выполнения 501 цикла, в зависимости от того, что произойдет раньше. Каждый цикл изгиба на угол 180° должен выполняться в течение (3 +/- 1) с (продолжительность изгиба от минус 90° до плюс 90°).
ПУ (канатное, проволочное, ленточное) считают выдержавшим испытание на устойчивость и прочность к воздействию многократных циклов изгиба, если число циклов изгиба, выдержанное
ПУ до разрушения, N
р равно или превышает нормируемое значение циклов изгиба до разрушения N
р >= N
н, где N
н - нормируемое число циклов изгиба до разрушения, установленное в
таблице 4.
Таблица 4
Нормируемые значения циклов изгиба и изгибающего момента
Число циклов до разрушения (гибкие ПУ) | Разрушающий изгибающий момент ( ПУ жесткого типа), Нм <*> | Классификация ПУ |
501 | 50 | H (силовое ПУ) |
251 | 22 | S (защитное ПУ) |
< 251 | < 22 | N (контрольно-силовое ПУ) |
<*> 1 Нм (1 фут-фунт-сила) = 0,737562. |
5.2.4.3 Для ПУ жесткого типа с одним стержнем закрепляют замковую часть, а затем на стержне устанавливают рычаг - трубу длиной (300 +/- 5) мм, которая надевается на расстояние < 20 мм, и прикладывают усилие. Продолжительность (скорость) изгиба на угол 90° для каждого цикла составляет (3 +/- 1) с.
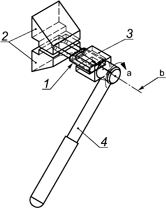
5.2.4.4 Для
ПУ жесткого типа с двумя стержнями закрепляют замковую часть, а затем устанавливают рычаг в скобу на расстояние <= 20 мм и прикладывают усилие. Поворачивают пруток-рычаг до тех пор, пока он не вступит в контакт с обоими стержнями. Продолжают поворачивать рычаг в том же направлении на дополнительный угол 90°. Фиксируют крутящее усилие, необходимое для поворота на угол 90° или вызывающее разрушение замкового механизма, если оно происходит до достижения рычагом угла поворота на 90°. Классификацию
ПУ выполняют по максимальному зафиксированному изгибающему моменту и в соответствии со значениями, приведенными в
таблице 4. Продолжительность (скорость) изгиба на угол 90° составляет (3 +/- 1) с.
5.2.4.5 Испытания на устойчивость и прочность к изгибу (к воздействию изгибающего момента M
р) силовых и защитных
ПУ стержневого типа проводят в соответствии со схемой, изображенной на
рисунках 6 -
8.
1 - ПУ стержневого типа; 2 - подвижный держатель ПУ
стержневого типа; 3 - приспособление для крепления (тиски
или подобное устройство); 4 - точка приложения нагрузки;
a - перемещение на 90°; b - плечо изгибающего момента
Рисунок 6 - Схема испытаний на устойчивость и прочность
к изгибу ПУ стержневого типа (с одним стержнем)
1 - ПУ (замкового типа); 2 - тиски или подобное
приспособление для крепления скобы ПУ; 3 - установочное
приспособление для динамометрического ключа (размеры и форма
приспособления зависят от формы ПУ); 4 - динамометрический
ключ; a - крутящее усилие прикладывается около осевой линии
ПУ; b - осевая линия ПУ и динамометрического ключа
Рисунок 7 - Схема испытаний на устойчивость и прочность
к изгибу замковых ПУ стержневого типа (с двумя стержнями)
1 - рычаг для приложения усилия (показан в исходном
положении); 2 - тиски или подобное приспособление
для крепления корпуса ПУ; 3 - скоба гибкой ПУ;
a - перемещение на 90° (первый шаг), возврат в исходное
положении (второй шаг); b - вид ПУ сверху
Рисунок 8 - Схема испытаний на устойчивость и прочность
на многократный изгиб ПУ канатного, проволочного
или ленточного типов (вид сверху)
5.2.5 Испытания на устойчивость к ударной нагрузке на запорный механизм
5.2.5.1 Испытания на устойчивость к ударной нагрузке на запорный механизм проводятся с целью определения стойкости ПУ к воздействию ударных нагрузок при температурах плюс (18 +/- 3) °C и минус (27 +/- 3) °C. Для проведения испытаний при низкой температуре испытуемый образец и испытательное оборудование постоянно находятся в камере холода и полностью охлаждаются до заданной температуры. Испытания проводятся в камере холода.
Ударное усилие нагрузки, эквивалентное 13,56 Дж, прилагают пять раз. Последующие серии испытаний на воздействие ударных нагрузок выполняют при усилии, которое на 13,56 Дж выше пяти предшествующих ударных усилий нагрузки. Удары выполняют до тех пор, пока ПУ не разрушится или успешно выдержит пять ударов с усилием 40,68 Дж. Второй комплект ПУ испытывают при втором из указанных выше значений температуры.
5.2.5.2 Классификация
ПУ по результатам испытаний на воздействие ударных нагрузок на запорный механизм представлена в
таблице 5.
Ударное усилие нагрузок при низкой температуре, Дж | Ударное усилие нагрузок при высокой температуре, Дж | Высота падения при ударе груза без отскока, м (см. рисунок 9) | Классификация ПУ |
40,68 | 40,68 | 1,037 | H |
27,12 | 27,12 | 0,691 | S |
< 27,12 | < 27,12 | 0,346 | N |
5.2.5.3 Испытуемое приспособление должно быть разработано таким образом, чтобы ударное усилие нагрузок воздействовало на запорный механизм ПУ в направлении, обратном запиранию ПУ.
1 - основание: алюминий; 2 - опорная трубка: оцинкованная

;
3 - траверса вала: алюминий;
4 - опора
приспособления: сталь; 5 - вал направляющей ударного груза:
сталь; 6 - выступ стола: сталь; 7 - груз для удара
без отскока: сталь, (4 +/- 0,01) кг; 8 - регулируемое
упорное кольцо: сталь; 9 - стопорная гайка М16; 10 - скоба
для передачи нагрузки: сталь, глубина цементированного слоя
0,7 мм; 11 - приспособление для крепления ПУ стержневого
типа: сталь, глубина цементированного слоя 0,7 мм;
12 - шайба приспособления для крепления ПУ стержневого типа:
сталь, глубина цементированного слоя 0,7 мм; 13 - ПУ
стержневого типа; 14 - стопорная гайка М20; 15 - 2 x
зенковка под М8; a - высота падения при ударе без отскока
Рисунок 9 - Оборудование для испытаний на устойчивость
к ударной нагрузке на запорный механизм
Примечание - Все крепежные детали должны соответствовать классу 12.9 с указанным шагом резьбы.
5.3 Испытания на устойчивость к внешним воздействующим факторам (ВВФ)
5.3.1 Методы испытаний на устойчивость к ВВФ должны соответствовать требованиям ГОСТ 30630.1.2, ГОСТ 30631 и настоящего стандарта.
5.3.2 При проведении испытаний на устойчивость к ВВФ, возникающим при эксплуатации, механические испытания ПУ проводят при и/или после окончания действия ВВФ в качестве критерия, подтверждающего работоспособность ПУ, с учетом требований нормативных документов государств, принявших настоящий стандарт <*>.
--------------------------------
<*> В Российской Федерации действует ГОСТ Р 54302-2011 "Устройства пломбировочные. Методы испытаний силовых пломбировочных устройств на устойчивость к климатическим и механическим факторам внешней среды, воздействующим при эксплуатации".
Протокол испытаний должен содержать:
- идентификационный номер (контрольный знак)/описание испытуемого образца;
- ссылку на настоящий стандарт;
- результаты испытаний;
- информацию о подготовке, предварительной обработке и т.д.;
- значения температуры и относительной влажности в помещении при проведении испытаний;
- сведения о поставленной партии ПУ и оборудовании контроля, а также критерии реагирования;
- информацию о несоответствии настоящему стандарту и другим стандартам, на которые приводятся ссылки.
6 Испытания пломбировочных устройств на устойчивость к несанкционированному вмешательству
Основной характеристикой любого ПУ является индикаторная способность, т.е. способность выявлять признаки несанкционированного вмешательства после предварительных попыток нарушить целостность ПУ. Это означает, что появившиеся на ПУ признаки несанкционированного вмешательства должны выявляться путем визуального или иного обследования на месте представителем торговой организации или органа надзора.
Примечания
1 Индикаторная способность может обеспечиваться за счет использования соответствующих технических и конструктивных решений, методов изготовления или того и другого вместе.
2 Стойкость к несанкционированному вмешательству является важным фактором, который необходимо учитывать при проектировании и изготовлении ПУ. Так как любое техническое средство обеспечения безопасности может быть взломано при наличии достаточного времени, побудительных причин и ресурсов, лабораторные измерения времени, требуемого для взлома ПУ, практически не имеют значения с точки зрения нормирования.
3 ПУ становятся менее стойкими к несанкционированному вмешательству, если с ними можно выполнить определенные операции перед установкой и закрытием. Конструкторы и изготовители должны сделать все возможное для затруднения манипуляций с ПУ до его установки и закрытия. Наиболее эффективным методом защиты ПУ от умышленного вмешательства является разработка внутриведомственных инструкций по использованию ПУ, включающих в том числе порядок получения пользователем ПУ от их изготовителя, условия хранения ПУ перед установкой и контроль установки ПУ.
Различные типы ПУ по-разному свидетельствуют о несанкционированном вмешательстве. Рекомендуется, чтобы пользователи прошли обучение по контролю состояния установленных ПУ и обнаружению признаков несанкционированного вмешательства.
Изготовители проводят внутренние испытания всех типов
ПУ, используемых на контейнере, в реальных условиях, которые могут встретиться при их транспортировке. Изготовитель
ПУ для проведения сертификации в соответствии с
A.3.2 организует и проводит испытания для проверки возможности выявлять несанкционированное вмешательство на каждом
ПУ, которое изготовитель намерен выпускать в соответствии с требованиями настоящего стандарта.
6.2 Испытательное оборудование
Разрабатываемое и изготовляемое испытательное оборудование должно имитировать дверь контейнера (или другого вида транспорта) или соответствующий запорный механизм и условия, воздействию которых будет подвергаться большинство
ПУ во время эксплуатации. На
рисунке 10 представлена типовая схема запорного механизма: контейнер на шасси с запорными стержнями ригельных замков правой и левой двери (под канатное или аналогичное
ПУ) и плоской вертикальной поверхностью, на которой будут крепиться ручки контейнеров на высоте примерно 2 м над уровнем пола. На данные ручки устанавливают стержневые
ПУ. Это оборудование может использоваться для испытаний
ПУ наиболее распространенных типов.
Примечания
1 На
рисунке 10 показаны чаще всего используемые места установки
ПУ в большом парке контейнеров, уже находящихся в эксплуатации. При таком расположении большая часть
ПУ остается доступной для внешних несанкционированных воздействий по сравнению с более новыми запорными системами контейнерных дверей.
2 В настоящем стандарте запорная арматура контейнерных дверей не рассматривается.
1 - арматура, имитирующая запорное устройство двери
контейнера и смонтированная на водостойком фанерном листе
толщиной не менее 2 см; 2 - вертикальные стержни,
моделирующие запорные стержни ригельных замков левой
и правой дверей контейнера; 3 - фиксаторы запорных стержней;
a - длина участка вертикальных стержней над показанными
зажимами должна составлять не менее 1 м, а сами зажимы
должны крепиться к фанере; b - зажимы должны удерживать
вертикальные стержни на расстоянии 50 мм от монтажного
листа фанеры
Рисунок 10 - Приспособление для испытаний
ПУ с целью
выявления признаков несанкционированного вмешательства
Примечание - Это испытуемое приспособление предназначено для моделирования мест установки болтовых и канатных ПУ и ПУ других типов для испытаний по месту для проверки способности выявления признаков несанкционированного вмешательства. Данное приспособление не предназначено для испытаний разных видов запорной арматуры дверей контейнера.
6.3 Инструменты для испытаний
Инструменты для испытаний включают в себя ручные инструменты, имеющиеся на большинстве рабочих мест, в том числе зажимные устройства, рычаги, плоскогубцы, ножи и молотки. Кроме того, применяются ручные электроприводные инструменты (например, дрели) и специальные инструменты (например, проволочные зонды). Для испытаний также необходимы устройства для моделирования условий воздействия экстремальных температур, включая воздействие горячей воды, открытого пламени, условий замерзания и аэрозолей.
6.4.1 Изготовители определяют конкретные процедуры испытаний (имитирующих попытку несанкционированного вмешательства), исходя из типа и конструкции ПУ и стандартных условий применения.
6.4.2 Внутренние испытания проводят на случайно выбранных пломбах из представленного ассортимента. ПУ испытывают в состоянии, в котором они продаются, а также по требованию заказчика - в состоянии условий эксплуатации.
6.4.2.1 Внутренний процесс испытаний определяет требования к процедуре испытаний для модели испытуемого ПУ. Каждую из процедур испытаний выполняют на одном ПУ, установленном в соответствии с инструкциями изготовителя с помощью специальной испытательной оснастки.
6.4.2.2 В соответствии с нормативными документами государств, принявших настоящий стандарт <*>, изготовители составляют письменные инструкции по проведению испытаний.
--------------------------------
<*> В Российской Федерации действует
ГОСТ Р ИСО 9001-2015 "Системы менеджмента качества. Требования".
6.4.2.3 Лица, проводящие испытания, могут использовать отдельные инструменты или несколько инструментов вместе для попыток вскрытия, повреждения, разделения и иных воздействий на блокирующее действие ПУ. Целью каждой процедуры является проверка возможности вскрытия и последующего восстановления ПУ без признаков несанкционированного вмешательства, обнаруживаемых визуально.
6.4.3 Испытания механических ПУ на устойчивость к несанкционированному вскрытию и стойкость к подделке следует проводить по соответствующим нормативным документам государств, принявших настоящий стандарт <**>.
--------------------------------
<**> В Российской Федерации действует
ГОСТ Р 52365-2019 "Устройства пломбировочные. Требования к методикам испытаний стойкости защитных свойств и устойчивости к несанкционированному вскрытию".
6.4.3.1 Испытания силовых ПУ канатного типа на устойчивость к несанкционированному вскрытию проводят по соответствующим нормативным документам государств, принявших настоящий стандарт <***>.
6.4.3.2 Испытания силовых ПУ стержневого типа на устойчивость к несанкционированному вскрытию проводят по соответствующим нормативным документам государств, принявших настоящий стандарт <***>.
--------------------------------
<***> В Российской Федерации действует ГОСТ Р 53787-2010 "Устройства пломбировочные. Методы испытаний силовых пломбировочных устройств стержневого типа на устойчивость к несанкционированному вскрытию. Общие требования".
6.4.3.3 Испытания ПУ индикаторного типа на устойчивость к несанкционированному вскрытию проводят по соответствующим нормативным документам государств, принявших настоящий стандарт <*4>.
--------------------------------
<*4> В Российской Федерации действует
ГОСТ Р 53888-2010 "Устройства пломбировочные. Методы испытаний индикаторных пломбировочных устройств на устойчивость к несанкционированному вскрытию. Общие требования".
6.5 Признаки несанкционированного вмешательства
После попытки несанкционированного вмешательства испытуемое
ПУ тщательно осматривают для выявления признаков несанкционированного вмешательства. На первом этапе (для проверки замкнутого состояния) проверку любого
ПУ проводят вручную, для этого тянут за охватывающий элемент в направлении, противоположном направлению запирания. Прочие физические проверки проводят в зависимости от конкретной ситуации. Признаки несанкционированного вмешательства в
ПУ должны выявляться без затруднений для упрощения проведения регулярных проверок в процессе транспортировки контейнера. На
ПУ разных типов появляются разные признаки несанкционированного вмешательства, наиболее распространенные из которых представлены в
таблице 6.
Таблица 6
Признаки несанкционированного вмешательства
Тип ПУ | Местоположение признаков | Вид признаков |
Все типы | Основные части ПУ | Отклонение от геометрической формы, предусмотренной конструкцией ПУ |
На корпусе ПУ у входного и/или выходного отверстий | Деформированные участки |
Вокруг запирающих элементов, в местах соединения частей ПУ и местах соединения сварных швов | Царапины, задиры, потертости |
Запорный механизм ПУ | Отсутствие свободного хода деталей запорного механизма в ПУ, конструкцией которых он определен |
В местах нанесения маркировочных обозначений, характерных для данной модели ПУ | Механическое снятие поверхностного слоя (царапины, задиры, потертости), химическое растворение и термическое воздействие (оплавление, обугливание). Отклонение формы, размеров маркировочных обозначений от оригинальных |
Стержневые ПУ | Пластифицированный или плоский штифт (стержень) или втулка | Следы зажатия (углубления и задиры, находящиеся на противоположных поверхностях штифта или втулки) |
Открытые участки штифта или основание втулки | Разделение (перекусывание, перепиливание и т.п.) с последующим соединением (склеиванием, сваркой и т.п.) |
Канатные ПУ | По всей длине каната | Деформации и/или потертости |
На корпусе ПУ в месте крепления каната | Высверливание каната с последующим соединением (склеиванием) |
Пластиковые ПУ | На всех поверхностях | Царапины, потертости, деформации. Соединение частей (склеивание, сварка) после разделения |
(обязательное)
ОБЕСПЕЧЕНИЕ КАЧЕСТВА ПЛОМБИРОВОЧНЫХ УСТРОЙСТВ НА РАЗЛИЧНЫХ
ЭТАПАХ ЖИЗНЕННОГО ЦИКЛА: ПРОЕКТИРОВАНИЕ, ИЗГОТОВЛЕНИЕ,
РАСПРОСТРАНЕНИЕ, ИНФОРМИРОВАНИЕ И ОБУЧЕНИЕ
ПЕРСОНАЛА ПОЛЬЗОВАТЕЛЯ, КОНТРОЛЬ В ХОДЕ
ТРАНСПОРТИРОВКИ, УЧЕТ И УТИЛИЗАЦИЯ
A.1 Введение
В настоящем приложении рассматривается система качества ПУ на различных этапах их жизненного цикла, отвечающих требованиям настоящего стандарта.
Термин "изготовитель", используемый в данном приложении, относится к компании, отвечающей за разработку изделия и вывод его на рынок. Если компания владеет и управляет одним или несколькими заводами по производству ПУ, то в этом случае термин "изготовитель" охватывает штаб-квартиру компании и все ее производственные предприятия. Если компания не владеет производственными предприятиями и изготовляет ПУ по субподряду, термин "изготовитель" относится к компании, выводящей изделия на рынок, а не к владельцу завода.
Таблица A.1
Семь этапов жизненного цикла ПУ для грузовых контейнеров
Наименование этапа | Обязанности изготовителя ПУ |
| Полная ответственность |
| Полная ответственность |
| Устанавливает ожидаемые показатели, существенные для обеспечения безопасности, для поставщиков ПУ. Оказывает помощь в информировании персонала поставщиков ПУ |
4 Информирование и обучение персонала пользователя | Оказывает помощь в обучении персонала пользователя правильному обращению с ПУ перед их установкой на контейнеры, трейлеры и другую тару. Оказывает помощь в обучении персонала пользователя правильному использованию ПУ |
5 Контроль в ходе транспортировки | Может оказать помощь пользователю и органам надзора в информировании о персонале цепи поставок |
| Полная ответственность за ведение учета и хранение производственных данных, данных по продажам и идентификационных номеров ПУ. Оказывает помощь поставщикам ПУ в деле ведения и хранения данных о складских запасах ПУ и использованных ПУ. Никаких обязанностей, связанных с ведением информации о цепи поставок и обеспечении сохранности по завершенным поставкам грузов |
| Полная ответственность за ведение учета об утилизации ПУ, отбракованных самими изготовителями и/или поставщиками и возвращенных им конечными потребителями по результатам входного контроля |
A.2 Обеспечение качества ПУ на этапе 1 - проектирование
a) Изготовитель выполняет проектирование и классификацию физических эксплуатационных характеристик ПУ в соответствии с требованиями настоящего стандарта. Настоящий стандарт устанавливает общие процедуры классификации механических ПУ для грузовых контейнеров. Технические условия определяют параметры для разных уровней физических характеристик ПУ.
b) ПУ, отвечающие требованиям настоящего стандарта, пригодны для применения и в других условиях, например, для опломбирования железнодорожных вагонов для бестарной перевозки грузов и грузовых автомобилей, используемых в международных и внутренних перевозках. Пользователи и органы надзора могут применять настоящий стандарт и для других условий.
c) Изготовитель при проектировании предусматривает меры для обеспечения стойкости к несанкционированному вмешательству и выявления признаков несанкционированного вмешательства для всех выпускаемых ПУ.
A.3 Обеспечение качества ПУ на этапе 2 - изготовление
A.3.1 Общие положения
В этом подразделе описаны методы, существенные для обеспечения защиты и безопасности и используемые изготовителем
ПУ на
этапе 2.
Сертификация в соответствии с требованиями A.3 делится на две части. Первая связана с существенными для безопасности бизнес-процессами, используемыми изготовителем, вторая - с физическими свойствами самих ПУ.
A.3.2 Сертификация изготовителей ПУ
a) Изготовители ПУ должны использовать систему обеспечения качества, соответствующую нормативным документам государств, принявших настоящий стандарт <*>, на всех производственных объектах, принадлежащих компании, для всех процессов, связанных с изготовлением ПУ. Сертификация позволяет получить дополнительное подтверждение выполнения этого требования.
b) Закупки по контракту готовых ПУ должны осуществляться на заводах, использующих систему обеспечения качества, отвечающую требованиям нормативных документов государств, принявших настоящий стандарт <*>.
--------------------------------
<*> В Российской Федерации действует
ГОСТ Р ИСО 9001-2015 "Системы менеджмента качества. Требования".
c) Методы обеспечения качества, указанные в настоящем документе, внедряются в соответствии с настоящим стандартом.
d) Изготовители разрешают проведение без уведомления аудитов производственных объектов и документации для сертификации на соответствие требованиям данного приложения; технологические аудиты проводят аккредитованные независимые организации. В объем аккредитации этих организаций входит настоящий стандарт.
e) Изготовители проводят первоначальную оценку рисков, связанных с защитой, для своих производственных объектов и внедряют контрмеры и/или технологии для устранения возможных слабых мест и угроз.
f) Изготовители назначают квалифицированных сотрудников с указанием их контактов, ответственных за защитные характеристики и целостность изделия.
g) Изготовители соглашаются сотрудничать с представителями правоохранительных органов.
h) Изготовители сотрудничают с органами надзора и сертификации, отвечая на их вопросы по поводу соответствия, нарушений, копирования и т.д.
j) Изготовители разрабатывают и внедряют концепцию управления в кризисных ситуациях для реагирования на постороннее несанкционированное вмешательство и другие злонамеренные, преступные и террористические действия.
k) Изготовители информируют весь свой персонал о мерах по охране ПУ. В рамках этой информации указываются лица и их контакты для круглосуточного оповещения о потенциальных проблемах с безопасностью.
l) Изготовители проверяют сведения о квалификации и квалификацию всех своих работников в объеме, допустимом в соответствии с действующим законодательством и нормативными документами.
A.3.3 Сертификация ПУ
| | ИС МЕГАНОРМ: примечание. В официальном тексте документа, видимо, допущены опечатки: имеются в виду разделы 5 и 6, а не 6 и 7 соответственно. | |
a) В соответствии с
разделом 6 изготовителями передаются соответствующие изделия в аккредитованную независимую испытательную лабораторию для механических испытаний. Изготовители предоставляют аккредитованной организации по технологическому аудиту все внутренние программы и методики испытаний и их правильно оформленные результаты для подтверждения проведения испытаний для проверки индикаторных характеристик
ПУ и их соответствия установленным требованиям (это положение обязательно для аттестации
ПУ класса H и выполняется по требованию заказчика для
ПУ классов I и S. Выполнение требований и положений
разделов 6 и
7 необходимо для обеспечения соответствия настоящему стандарту).
b) Изготовители маркируют пломбы своим логотипом.
c) Изготовители выпускают ПУ с собственными номерами и идентификаторами. За исключением особых случаев применения ПУ, указанных добросовестным пользователем, повторное использование изготовителем уже присвоенных собственных номеров и идентификаторов не допускается.
d) Изготовители отслеживают идентификаторы всех ПУ и сопутствующих изделий, которые изготовили или которые были изготовлены для них по заказу. Изготовители регистрируют по типам ПУ номер и идентификатор, дату выпуска готового ПУ, дату заказа, дату отгрузки ПУ и наименование грузополучателя. Изготовители хранят эту информацию в течение не менее семи лет так, чтобы ее можно было оперативно представить по запросу в орган надзора или сертификации.
e) Изготовители ограничивают область применения ПУ, изготовленных по заказу, и инструментов для их снятия с объектов, указанных добросовестным пользователем.
f) Изготовители отделяют и делают неработоспособными все выпущенные бракованные ПУ перед их утилизацией.
g) Изготовители контролируют доступ на производственные участки и склады готовых ПУ, а также отгрузочные терминалы и склады ПУ и сопутствующих устройств в охраняемых зонах.
h) Изготовители запирают все загруженные трейлеры и контейнеры на месте загрузки.
j) Изготовители проводят проверки для подтверждения эффективности принятых мер безопасности, включая проверку идентификационных данных водителей, если требуется.
k) Изготовители внедряют концепцию контроля, учета и утилизации ПУ в цепи поставок. Эта концепция устанавливает, что поставки должны быть осуществлены в присутствии уполномоченного лица. Уведомление о поставке должно передаваться всеми поставщиками по телефону, факсу или электронной почте.
A.4 Обеспечение качества ПУ на этапе 3 - распространение
Поставщики могут сделать программу изготовителя по обеспечению защиты и безопасности более эффективной или свести на нет ее результаты. Изготовитель должен оказывать помощь в информировании своих торговых организаций о важности, совместных преимуществах и особенностях эффективных программ обеспечения качества ПУ.
Изготовитель устанавливает требования и принимает меры для обеспечения выполнения поставщиками следующих руководящих указаний, существенных для обеспечения качества ПУ:
a) поставщики разрешают изготовителю изучить процедуры обеспечения качества;
b) изготовитель, если ему становится известна информация о слабых местах в методах обеспечения качества работы поставщика, выявляет эти слабые месте и рекомендует изменения, внедрение которых обеспечит необходимый контроль и учет ПУ и комплектующих устройств;
c) поставщики не продают ПУ и комплектующие устройства, не имеющие идентификационной маркировки изготовителя;
d) поставщики регистрируют всю информацию, связанную с поставкой ПУ, включая источник, номера и идентификаторы ПУ, наименование и адрес заказчика, грузополучателя. Поставщики хранят эту информацию в течение не менее семи лет. По запросу государственного органа надзора поставщики предоставляют необходимую информацию для оказания помощи в расследовании происшествий, связанных с транспортировкой грузов;
e) поставщики проводят первоначальную оценку рисков, связанных с защитой, для своих производственных объектов, и внедряют контрмеры и/или технологии для устранения возможных слабых мест и угроз;
f) поставщики контролируют доступ на производственные участки и склады готовых ПУ, а также отгрузочные терминалы и склады ПУ и сопутствующих устройств в охраняемых зонах;
g) поставщики запирают все загруженные трейлеры и контейнеры на месте загрузки;
h) поставщики проводят проверки для подтверждения эффективности принятых мер безопасности, включая проверку идентификационных данных водителей, если требуется, и проверку получаемых комплектующих ПУ, загруженных без проверки и подтверждения;
j) поставщики внедряют концепцию организации поставок, гарантирующую передачу уведомления о таких поставках. Эта концепция устанавливает, что такие поставки должны быть осуществлены в присутствии уполномоченного лица. Уведомление о поставке должно передаваться всеми поставщиками по телефону, факсу или с помощью электронной почты.
A.5 Обеспечение качества ПУ на этапе 4 - информирование и обучение персонала пользователя
Основное внимание на данном
этапе уделяется методам, применяемым добросовестными пользователями, включая государственные организации, которые могут применять
ПУ на грузовых контейнерах. Влияние и обязанности изготовителей
ПУ на
этапе 4 ограничены информированием и подготовкой персонала.
На данном
этапе изготовитель
ПУ может повысить эффективность методов обеспечения качества применения
ПУ путем предоставления пользователям информации о
ПУ, указанной на упаковках, имеющейся в публикациях о
ПУ и в Интернете, а также путем подготовки персонала на площадках, если это целесообразно.
a) Изготовители помогают информировать пользователей о важности требуемого контроля и регистрации ПУ до их использования.
b) Изготовители помогают информировать пользователей о правильных и наиболее эффективных методах использования ПУ, включая выполнение требований действующих стандартов и норм.
A.6 Обеспечение качества ПУ на этапе 5 - контроль в ходе транспортировки
Во время транспортировки изготовитель ПУ не несет ответственности за сохранность ПУ. Однако изготовители могут помочь пользователям и органам надзора информировать и обучать персонал цепи поставок.
Информирование и обучение связано с использованием методов контроля сохранности груза. Эти методы могут включать в себя:
- проверку работоспособности считывателей штрих-кодов, проверку соответствия типа ПУ условиям применения;
- проверку зарегистрированного номера ПУ;
- проверку наличия и ведения журнала аудитов.
Кроме того, методы могут включать в себя рекомендации по действиям при тех или иных нарушениях, связанных с ПУ, например, процедуры действия при обнаружении несанкционированного воздействия на ПУ во время транспортировки.
A.7 Обеспечение качества ПУ на этапе 6 - учет
Большая часть
этапа жизненного цикла
ПУ после отгрузки связана с ведением информации о сохранности самого груза во время транспортировки. Изготовители
ПУ не участвуют в сохранении информации по завершенным поставкам грузов.
Изготовитель оказывает помощь поставщикам ПУ в деле ведения учета и хранения данных о складских запасах ПУ и использованных ПУ.
Ответственность изготовителей и используемые ими методы обеспечения безопасности распространяются на данные о самих
ПУ. Объем ответственности и методы относятся к
этапам 2 и
3 и в меньшей степени к
этапу 4. Изготовители несут:
a) полную ответственность за регистрацию данных по производству ПУ и их продажам, регистрацию присвоенных номеров и идентификаторов ПУ;
b) ответственность за информирование и обучение персонала дистрибьюторов и перепродавцов методам регистрации данных предыстории об изменении складских запасов и объемах продаж.
A.8 Обеспечение качества ПУ на этапе 7 - утилизация
Изготовитель оказывает помощь поставщикам и пользователям ПУ за организацию процесса утилизации в соответствии с ТД. Факт утилизации каждого ПУ должен быть оформлен и подтвержден документально в соответствии с требованиями нормативных документов государств, принявших настоящий стандарт <*>.
--------------------------------
<*> В Российской Федерации действует
ГОСТ Р 52326-2019 "Устройства пломбировочные. Учет, контроль и утилизация".
Повторное применение ПУ, ранее использованных по назначению, не допускается.
УДК 621.798.745:006.354 | |
Ключевые слова: контейнеры, механическое пломбировочное устройство, пломбировочное устройство силовое, пломбировочное устройство защитное, пломбировочное устройство, пломбировочное устройство контрольно-силовое, пломбировочное устройство стержневое, испытание на устойчивость и прочность к растяжению, испытание на устойчивость и прочность к срезу, испытание на устойчивость и прочность к изгибу, испытание на устойчивость к ударной нагрузке на запорный механизм |