Главная // Актуальные документы // ГОСТ (Государственный стандарт)
СПРАВКА
Источник публикации
М.: Стандартинформ, 2020
Примечание к документу
Документ введен в действие с 01.03.2021.
Название документа
"ГОСТ 34689-2020. Межгосударственный стандарт. Вагоны метрополитена. Технические требования для перевозки инвалидов"
(введен в действие Приказом Росстандарта от 20.11.2020 N 1144-ст)

"ГОСТ 34689-2020. Межгосударственный стандарт. Вагоны метрополитена. Технические требования для перевозки инвалидов"
(введен в действие Приказом Росстандарта от 20.11.2020 N 1144-ст)


Содержание


Введен в действие
Приказом Федерального
агентства по техническому
регулированию и метрологии
от 20 ноября 2020 г. N 1144-ст
МЕЖГОСУДАРСТВЕННЫЙ СТАНДАРТ
ВАГОНЫ МЕТРОПОЛИТЕНА
ТЕХНИЧЕСКИЕ ТРЕБОВАНИЯ ДЛЯ ПЕРЕВОЗКИ ИНВАЛИДОВ
Subway cars. Technical requirements
for transportation of disabled persons
ГОСТ 34689-2020
МКС 45.060
Дата введения
1 марта 2021 года
Предисловие
Цели, основные принципы и общие правила проведения работ по межгосударственной стандартизации установлены ГОСТ 1.0 "Межгосударственная система стандартизации. Основные положения" и ГОСТ 1.2 "Межгосударственная система стандартизации. Стандарты межгосударственные, правила и рекомендации по межгосударственной стандартизации. Правила разработки, принятия, обновления и отмены"
Сведения о стандарте
1 ПОДГОТОВЛЕН Акционерным обществом "МЕТРОВАГОНМАШ" (АО "МЕТРОВАГОНМАШ"), Федеральным государственным унитарным предприятием "Всероссийский научно-исследовательский институт железнодорожной гигиены Федеральной службы по надзору в сфере защиты прав потребителей и благополучия человека" (ФГУП ВНИИЖГ Роспотребнадзора)
2 ВНЕСЕН Федеральным агентством по техническому регулированию и метрологии Российской Федерации
3 ПРИНЯТ Межгосударственным советом по стандартизации, метрологии и сертификации (протокол от 30 октября 2020 г. N 134-П)
За принятие проголосовали:
Краткое наименование страны по МК (ИСО 3166) 004-97
Код страны по МК (ИСО 3166) 004-97
Сокращенное наименование национального органа по стандартизации
Армения
AM
ЗАО "Национальный орган по стандартизации и метрологии" Республики Армения
Беларусь
BY
Госстандарт Республики Беларусь
Киргизия
KG
Кыргызстандарт
Россия
RU
Росстандарт
Таджикистан
TJ
Таджикстандарт
Узбекистан
UZ
Узстандарт
4 Приказом Федерального агентства по техническому регулированию и метрологии от 20 ноября 2020 г. N 1144-ст межгосударственный стандарт ГОСТ 34689-2020 введен в действие в качестве национального стандарта Российской Федерации с 1 марта 2021 г.
5 Настоящий стандарт подготовлен на основе применения ГОСТ Р 50954-96 <*>
--------------------------------
<*> Приказом Федерального агентства по техническому регулированию и метрологии от 20 ноября 2020 г. N 1144-ст ГОСТ Р 50954-96 отменен с 1 марта 2021 г.
6 ВВЕДЕН ВПЕРВЫЕ
Информация о введении в действие (прекращении действия) настоящего стандарта и изменений к нему на территории указанных выше государств публикуется в указателях национальных стандартов, издаваемых в этих государствах, а также в сети Интернет на сайтах соответствующих национальных органов по стандартизации.
В случае пересмотра, изменения или отмены настоящего стандарта соответствующая информация будет опубликована на официальном интернет-сайте Межгосударственного совета по стандартизации, метрологии и сертификации в каталоге "Межгосударственные стандарты"
1 Область применения
Настоящий стандарт распространяется на новые и/или модернизированные (модифицированные, усовершенствованные) вагоны метрополитена (далее - вагоны), предназначенные для проезда пассажиров-инвалидов, в том числе в инвалидных креслах-колясках, состояние здоровья которых ограничивает их способность к передвижению и/или восприятию зрительной или звуковой информации.
Настоящий стандарт устанавливает технические требования к оборудованию, системам и устройствам вагонов, выполнение которых обеспечивает доступность и безопасность проезда для пассажиров-инвалидов.
Примечание - Требования настоящего стандарта учитывают также потребности пассажиров с ограничениями в движении, таких как лица пожилого возраста.
2 Нормативные ссылки
В настоящем стандарте использована нормативная ссылка на следующий межгосударственный стандарт:
ГОСТ 30471-96/ГОСТ Р 50602-93 Кресла-коляски. Максимальные габаритные размеры
Примечание - При пользовании настоящим стандартом целесообразно проверить действие ссылочных документов и классификаторов на официальном интернет-сайте Межгосударственного совета по стандартизации, метрологии и сертификации (www.easc.by) или по указателям национальных стандартов, издаваемых в государствах, указанных в предисловии, или на официальных сайтах соответствующих национальных органов по стандартизации. Если на ссылочный документ дана недатированная ссылка, то следует использовать документ, действующий на текущий момент, с учетом всех внесенных в него изменений. Если заменен ссылочный документ, на который дана датированная ссылка, то следует использовать указанную версию данного документа. Если после принятия настоящего стандарта в ссылочный документ, на который дана датированная ссылка, внесено изменение, затрагивающее положение, на которое дана ссылка, то это положение применяется без учета данного изменения. Если ссылочный документ отменен без замены, то положение, в котором дана ссылка на него, применяется в части, не затрагивающей эту ссылку.
3 Термины и определения
В настоящем стандарте применены следующие термины с соответствующими определениями:
3.1 пассажир-инвалид: Человек с ограничениями жизнедеятельности (инвалид), которому не противопоказано пользоваться общественным транспортом, в том числе лица с нарушением опорно-двигательных функций (передвигающиеся в креслах-колясках, на протезах, костылях, ходунках и т.п.), а также с сердечной и респираторной недостаточностью, с нарушением слуха или зрения.
Примечание - Под ограничением жизнедеятельности понимается полная или частичная утрата человеком способности и возможности осуществлять самообслуживание, самостоятельно передвигаться, ориентироваться, общаться, контролировать свое поведение, обучаться или заниматься трудовой деятельностью.
3.2 инвалидное кресло-коляска; кресло-коляска: Техническое средство (устройство) на колесах, оснащенное системой сиденья и предназначенное для персонального передвижения одного человека (пользователя) с ограниченной подвижностью.
Примечания
1 Под системой сиденья понимается совокупность поверхности сиденья и опоры спины пользователя вместе с присоединяющими их устройствами, а также аксессуары, необходимые для размещения пользователя.
2 Для целей настоящего стандарта рассмотрены кресла-коляски, габаритные размеры которых не превышают установленных в ГОСТ 30471-96 (пункт 4.2).
3.3 беспрепятственная посадка (высадка) пассажира-инвалида: Передвижение пассажира-инвалида самостоятельно или с сопровождающим лицом с пассажирских платформ в вагон (из вагона на платформу), совершаемое без необходимости преодолевать препятствия.
Примечание - Под препятствием понимается неподвижный объект в границе полосы движения (выступ, углубление) или зазор, не позволяющий продолжить равномерное, прямолинейное движение кресла-коляски.
3.4 беспрепятственный доступ пассажира-инвалида к месту размещения: Передвижение пассажира-инвалида самостоятельно или с сопровождающим лицом по вагону без необходимости преодолевать препятствия и с возможностью осуществления необходимых маневров на пути к местам установки и крепления кресел-колясок.
3.5 вспомогательное посадочное устройство: Техническое устройство, поверхность которого перекрывает пространство (горизонтальный зазор) между внешним краем посадочной площадки пассажирской платформы и внешним краем порога входных дверей вагона (при отсутствии порога - поверхностью пола вагона), обеспечивая возможность беспрепятственного прохода (проезда) пассажиров-инвалидов.
Примечание - Применяемые для беспрепятственной посадки (высадки) пассажира-инвалида в вагон вспомогательные посадочные устройства могут быть установлены в вагоне или на платформе.
3.6 устройство крепления кресла-коляски: Совокупность технических средств, обеспечивающих крепление в вагоне кресла-коляски с находящимся в нем пассажиром-инвалидом при штатных ситуациях эксплуатации вагона, предусмотренных правилами технической эксплуатации.
Примечание - Устройство крепления препятствует самопроизвольному перемещению кресел-колясок в продольном направлении или их опрокидыванию при ускорении и торможении поезда.
3.7 опорное устройство (для инвалида): Вспомогательное техническое средство, предназначенное для опоры и поддержки пассажиров-инвалидов в процессе их передвижения при посадке в вагон (высадке из вагона) и внутри вагона во время поездки.
4 Общие требования
4.1 Для проезда пассажиров-инвалидов, в том числе в креслах-колясках, должны быть специально оборудованы головные (с кабиной управления) вагоны. В составе поезда для проезда пассажиров в инвалидных креслах-колясках должно быть оборудовано по одному месту в каждом головном вагоне.
Примечание - В процессе перевозки контроль за посадкой и высадкой пассажиров-инвалидов и централизованное управление открытием дверей (в соответствии с 6.1) осуществляется в первом по ходу движения поезда вагоне.
Для обеспечения доступности проезда пассажиров-инвалидов с нарушениями слуха или зрения не только в головных, но и в остальных вагонах подвижного состава предусмотрены требования 5.7, 6.5, 10.2, 10.3, 11.3.
4.2 Конструкция и планировка вагонов, предназначенных для проезда пассажиров-инвалидов, в том числе в креслах-колясках, должны обеспечивать:
- беспрепятственную посадку (высадку) пассажиров-инвалидов, в том числе в креслах-колясках, самостоятельно и с сопровождающим инвалида лицом, в вагон (из вагона), которая (с учетом применения вспомогательных посадочных устройств) совершается без необходимости преодолевать препятствия высотой более 30 мм, зазоры более 50 мм;
- беспрепятственный доступ пассажиров-инвалидов, в том числе в креслах-колясках, к местам своего размещения в вагоне в соответствии с 5.7, с возможностью осуществления необходимых маневров в соответствии с 5.3;
- размещение пассажиров-инвалидов в специально выделенной зоне в вагоне, оборудованной местом (местами) для установки кресла-коляски с находящимся в нем инвалидом, местами для пассажиров-инвалидов, не пользующихся креслами-колясками, и местами для сопровождающих инвалидов лиц.
Примечание - При применении вспомогательных посадочных устройств (в соответствии с разделом 7) для обеспечения беспрепятственной посадки (высадки) пассажиров-инвалидов параметры препятствий определяются перепадом высот между поверхностью вспомогательного посадочного устройства (в рабочем положении) и поверхностью пола вагона (поверхностью посадочной площадки пассажирской платформы), величиной горизонтального зазора (при наличии) между краем вспомогательного посадочного устройства и внешним краем порога входных дверей вагона (внешним краем посадочной площадки пассажирской платформы).
4.3 Вагоны, предназначенные для проезда пассажиров-инвалидов, в том числе в креслах-колясках, должны быть оборудованы:
- устройствами для крепления кресла-коляски с находящимся в нем инвалидом;
- опорными устройствами;
- специальными средствами сигнализации, информации и связи.
4.4 Конструкция вагонов должна обеспечивать выполнение требований к вагонам метрополитена, действующих на территории государства, принявшего настоящий стандарт.
4.5 В вагоне, предназначенном для проезда пассажиров-инвалидов, должна быть обеспечена возможность эвакуации пассажиров на путь со сквозным проходом через кабину управления. Аварийное покидание вагона обеспечивается через торцевые двери и лобовую часть кабины управления с использованием откидного трапа <*>.
--------------------------------
<*> Аварийное покидание вагона со сквозным проходом через кабину управления на путь не предусматривает проезд кресла-коляски с находящимся в нем инвалидом.
В вагонах должны быть предусмотрены места для размещения средств эвакуации пассажиров-инвалидов (носилок или иных технических средств, позволяющих при аварийном покидании вагона переносить пассажиров-инвалидов, не способных к самостоятельному передвижению). Носилки или иные технические средства (одно изделие на вагон) должны быть допущены к применению в порядке, установленном нормативными документами государств, проголосовавших за принятие настоящего стандарта <**>.
--------------------------------
<**> На территории Российской Федерации изделия медицинского назначения и медицинская техника (в том числе носилки) допускаются в обращение после Государственной регистрации в соответствии с постановлением Правительства Российской Федерации от 27 декабря 2012 г. N 1416 "Об утверждении правил государственной регистрации медицинских изделий" [Государственная регистрация медицинских изделий и ведение Государственного реестра медицинских изделий и организаций (индивидуальных предпринимателей), осуществляющих производство и изготовление медицинских изделий, осуществляется Федеральной службой по надзору в сфере здравоохранения].
4.6 Вагон, предназначенный для проезда пассажиров-инвалидов, в том числе в креслах-колясках, считается соответствующим требованиям безопасности, если он удовлетворяет требованиям пунктов 4.1, 4.2, 4.5, разделов 5 - 11.
5 Требования к пассажирскому салону
5.1 Планировка пассажирского салона головного вагона должна предусматривать наличие в специально выделенной для пассажиров-инвалидов зоне места для размещения одного инвалида в кресле-коляске, одного места для размещения сопровождающего пассажира-инвалида лица и не менее двух мест для пассажиров-инвалидов, не пользующихся креслами-колясками.
Примечание - В головном вагоне может быть предусмотрено более чем одно место для пассажира-инвалида в кресле-коляске при соблюдении для каждого места требований настоящего стандарта.
5.2 Зона для размещения пассажиров-инвалидов должна быть расположена в пассажирском салоне рядом со входом в вагон, предназначенным для пассажиров-инвалидов (в головном вагоне - вблизи первого дверного проема со стороны кабины управления).
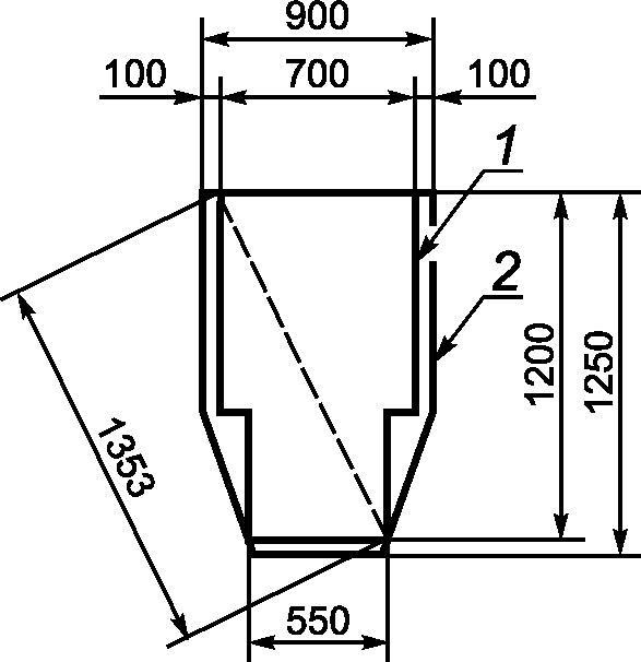
5.2.1 Размеры места (площадки) для размещения кресла-коляски с находящимся в нем пассажиром-инвалидом должны соответствовать значениям, приведенным в приложении А (рисунок А.1, вариант 2).
5.2.2 Для пассажиров-инвалидов, не пользующихся креслами-колясками, предусматриваются стационарные сиденья; для сопровождающих пассажиров-инвалидов лиц - стационарные и/или откидные сиденья. В качестве стационарных сидений применяют сиденья, соответствующие штатным сиденьям вагона. Ширина откидных сидений должна быть не менее 450 мм.
5.2.3 Места размещения кресел-колясок предусматривают таким образом, чтобы инвалид, находящийся в кресле-коляске, располагался спиной (или лицом) по направлению движения.
Допускается расположение кресел-колясок в направлении, при котором инвалид, находящийся в кресле-коляске, располагается боком к направлению движения, при условии дополнительного оборудования мест размещения защитными ограждениями или горизонтальными поручнями.
5.2.4 Размещение инвалидов в креслах-колясках в пассажирском салоне не должно препятствовать входу, проходу вдоль вагона и выходу из вагона других пассажиров.
Ширина проходов (при размещении пассажиров-инвалидов в креслах-колясках на приспособленных для этого местах) для других пассажиров должна составлять не менее 600 мм.
5.3 Ширина продольных и поперечных проходов внутри пассажирских салонов, предназначенных для прохода (проезда) пассажиров-инвалидов в креслах-колясках от входных дверей к местам их размещения, должна составлять не менее 900 мм, размеры зоны для маневрирования (поворота кресла-коляски на 90°) должны быть определены с учетом данных, приведенных в приложении Б.
Планировка салона должна предусматривать возможность разворота кресла-коляски на пути от входной двери к месту размещения (свободное пространство для разворота - в соответствии с рисунком А.2 приложения А).
5.4 Места для размещения инвалидов в креслах-колясках должны быть оборудованы (в соответствии с разделом 9) устройствами крепления, препятствующими самопроизвольному перемещению кресел-колясок в заторможенном состоянии или их опрокидыванию при разгоне и торможении поезда.
Примечание - Под заторможенным состоянием кресла-коляски (заторможенное кресло-коляска) понимается его неподвижное состояние под воздействием собственных средств торможения кресла-коляски.
5.5 Для предупреждения ударного контакта при разгоне или торможении поезда между соприкасающимися поверхностями зафиксированной с помощью устройства крепления кресла-коляски и стены (или иного опорного устройства для кресла-коляски) поверхность, с которой соприкасается кресло-коляска, рекомендуется выполнять с использованием мягких элементов.
5.6 В салоне вагона, предназначенного для проезда пассажиров-инвалидов, должны быть установлены переговорное устройство "пассажир-машинист" и кнопка подачи сигнала машинисту о выходе пассажира-инвалида на следующей остановке (переговорное устройство и кнопка располагаются в зоне досягаемости с места размещения пассажира-инвалида в кресле-коляске, определяемой в соответствии с приложением В).
Эти устройства должны иметь цветовые средства опознавания, для лиц с дефектами слуха переговорное устройство должно иметь регулируемое звукоусиление.
5.7 Пол вагона в местах размещения и передвижения пассажиров-инвалидов не должен иметь порогов (ступенек) выше 15 мм и уклонов свыше 5%. Поверхность пола должна иметь покрытие, препятствующее скольжению.
Примечание - Препятствие скольжению обеспечивается покрытием с рельефной (насечки, выступы, неровности) или абразивной поверхностью, или иным покрытием, имеющим коэффициент трения не менее 0,4, или другие подтвержденные испытаниями доказательства противоскользящей способности покрытия.
5.8 В зоне размещения пассажиров-инвалидов в креслах-колясках должны быть предусмотрены опорные устройства (поручни или стойки), соответствующие требованиям 8.3 - 8.7. Параметры размещения опорных устройств должны быть определены с учетом приложения В (рисунки В.1, В.2).
6 Требования к дверям
6.1 Для входа и выхода пассажиров-инвалидов, в том числе в креслах-колясках, предназначаются сдвижные (прислонно-сдвижные) двери пассажирского салона, примыкающие к кабине управления слева и справа.
При оборудовании поезда кнопками индивидуального открытия дверей должно быть обеспечено открытие одного (со стороны платформы), ближайшего к кабине управления, дверного проема централизованно по команде машиниста.
6.2 Ширина проема входных дверей для инвалидов в креслах-колясках в свету должна быть не менее 900 мм.
6.3 Входные двери вагонов, предназначенные для обеспечения доступа в вагон пассажиров-инвалидов, в том числе в креслах-колясках, внутри и снаружи вагона должны быть оборудованы кнопками подачи сигнала машинисту о необходимости входа в вагон или выхода из него пассажира-инвалида.
Примечание - Кнопки подачи сигнала машинисту о входе в вагон или выходе из него пассажира-инвалида одновременно являются кнопками сигнализации машинисту о необходимости приведения вспомогательного посадочного устройства (при его наличии в вагоне) в действие для обеспечения посадки (высадки) пассажиров-инвалидов.
6.3.1 Кнопки подачи сигнала машинисту о выходе пассажира-инвалида должны быть размещены внутри вагона на высоте от 800 до 1200 мм от уровня пола вагона в непосредственной близости от двери вагона. Кнопки должны иметь устройство, предохраняющее от случайного их нажатия стоящими пассажирами.
Примечание - Предусмотрена также возможность подачи сигнала машинисту (о выходе пассажира-инвалида на следующей остановке) с места размещения пассажира-инвалида в кресле-коляске (см. 5.6).
Кнопки подачи сигнала машинисту о входе в вагон пассажира-инвалида должны быть установлены снаружи вагона на высоте от 800 до 1200 мм от уровня пола вагона.
6.3.2 Кнопки подачи сигнала машинисту должны иметь контрастную окраску по отношению к цвету стены, на которой размещаются.
Рекомендуемая длина и ширина кнопок прямоугольного исполнения - не менее 45 мм, диаметр для круглого исполнения - не менее 50 мм.
Кнопки должны иметь рельефное или фактурное оформление рабочей поверхности, а также световую и звуковую сигнализацию, информирующую о том, что устройство сработало.
6.4 Двери, предназначенные для обеспечения доступа в вагон пассажиров-инвалидов, должны иметь блокировку на время посадки (высадки) пассажира-инвалида (при наличии вспомогательного посадочного устройства), исключающую возможность закрытия дверей и приведения в движение подвижного состава, пока вспомогательное посадочное устройство не приведено в транспортное положение.
6.5 Каждый дверной проем вагонов должен иметь световую и звуковую индикацию, предупреждающую об открытии и/или закрытии дверей.
7 Требования по обеспечению беспрепятственной посадки (высадки) пассажиров-инвалидов
Если перепад высот и горизонтальный зазор между поверхностью пола вагона (внешним краем порога входных дверей) и внешним краем посадочной площадки пассажирской платформы не обеспечивают условия беспрепятственной посадки (высадки) пассажира-инвалида (см. 4.2), применяются вспомогательные посадочные устройства, устанавливаемые в вагоне или на платформе станции.
8 Требования к опорным устройствам
8.1 На входе в вагон, предназначенный для проезда пассажиров-инвалидов, в том числе в креслах-колясках, должны быть предусмотрены поручни и/или стойки, имеющие конфигурацию и расположение, позволяющие пассажирам-инвалидам, находясь снаружи вагона, держаться за них руками во время посадки. Рабочие участки этих опорных устройств должны быть расположены по вертикали на высоте от 800 до 1200 мм от пола вагона и отстоять внутрь транспортного средства не более чем на 300 мм по отношению к дверному порогу.
8.2 Поручни и стойки внутри пассажирского вагона не должны ограничивать пространство, предназначенное для маневрирования и разворота пассажиров-инвалидов в креслах-колясках в соответствии с рисунками Б.1 приложения Б и А.2 приложения А во время перемещения от входной двери к месту размещения, и не должны препятствовать движению других пассажиров.
8.3 Опорные устройства для пассажиров-инвалидов в креслах-колясках, размещаемые в соответствии с 5.8, могут быть выполнены в виде поручней или стоек. При наличии горизонтальных поручней верхняя часть их рабочей поверхности должна находиться на высоте от 800 до 1200 мм от уровня пола.
Примечание - Рекомендуется устанавливать горизонтальные поручни на высоте от 900 до 1100 мм от уровня пола.
8.4 Поручни и стойки должны иметь круглое поперечное сечение диаметром от 30 до 45 мм или поперечное сечение некруглой формы (близкой к круглой, со скругленными углами), обеспечивающей эквивалентную охватываемую рукой поверхность.
8.5 Расстояние между поручнем (стойкой) и ближайшей поверхностью оборудования или стеной должно быть не менее 40 мм.
8.6 Минимальная длина рабочей поверхности опорного устройства составляет 100 мм.
Примечание - Под длиной рабочей поверхности опорного устройства понимается длина свободного участка опорного устройства в любом его положении для захвата всей кистью руки.
8.7 Конструкция и размещение опорных устройств должны исключать возможность травмирования пассажиров.
Для лучшего ориентирования лиц с ослабленным зрением при посадке и перемещении внутри вагона поручни и стойки должны иметь цвет, контрастный по отношению к цвету поверхности стен, пола и сидений пассажирского салона вагона.
9 Требования к устройствам крепления кресла-коляски
9.1 Устройства крепления кресла-коляски, которыми оснащены места для размещения инвалидов в кресле-коляске в соответствии с требованием 5.4, должны обеспечивать надежную фиксацию кресла-коляски с находящимся в нем пассажиром-инвалидом при всех штатных ситуациях эксплуатации вагона.
Примечание - Под штатной ситуацией понимается сочетание условий и обстоятельств, являющихся нормальным рабочим циклом (элементом) процесса движения поездов, предусмотренным правилами технической эксплуатации метрополитена, инструкциями, иными нормативными документами.
9.2 Устройства крепления кресла-коляски не должны создавать опасность травмирования или мешать передвижению пассажиров в салоне вагона и препятствовать использованию площади для пассажиров-инвалидов в кресле-коляске для размещения пассажиров вагона, находящихся в положении стоя, в том случае, когда она не занята пассажиром-инвалидом в кресле-коляске.
9.3 Порядок пользования креплениями кресел-колясок должен быть показан в инструкции (текстом и/или графически), размещенной на самих креплениях или на стенах вагона в непосредственной близости от креплений.
10 Требования к средствам сигнализации, связи и информационного обеспечения пассажиров-инвалидов
10.1 Все технические средства, используемые пассажирами-инвалидами (например, переговорное устройство "пассажир-машинист" и др.), должны быть смонтированы на высоте от 800 до 1200 мм от уровня пола вагона в зоне досягаемости с места размещения пассажира-инвалида в кресле-коляске (см. приложение В).
10.2 Каждый вагон, в том числе предназначенный для проезда пассажиров-инвалидов в креслах-колясках, должен быть оборудован звуковой и визуальной информационными системами для обеспечения сообщениями о маршруте следования, об остановках и другой информацией.
На стенах салона пассажирского вагона в зоне размещения инвалидов рекомендуется предусматривать места для размещения схем маршрутов.
10.2.1 Электронные средства отображения информации располагают на стене над дверью для входа и выхода пассажиров-инвалидов или под потолком вблизи этой двери.
10.2.2 Визуальную информацию о маршруте следования, следующей остановке и, при необходимости, специальный текст размещают на дисплеях (табло).
10.2.3 Информацию следует отображать шрифтом высотой не менее 40 мм (включая элементы прописных и строчных букв).
Шрифт и символы должны быть контрастными: либо светлыми на темном фоне, либо темными на светлом фоне.
Примечание - Для того чтобы достичь наилучшей читаемости информации, предпочтительно использовать светлые знаки или символы на темном фоне. Рекомендуемый минимальный яркостный контраст, определяемый как соотношение между высшей LH, кд/м2, и низшей LL, кд/м2, яркостями шрифта и фона по формуле (LH - LL)/(LH + LL), равен 4,5.
10.2.4 Табло, дисплеи должны предоставлять возможность отображения текста со строгими пропорциями шрифта, включая шрифт горизонтальной бегущей строки, и надежную читаемость (постоянство размера, четкости изображения).
Яркость табло должна обеспечивать возможность прочтения текста как при искусственном освещении, так и при дневном свете.
10.2.5 Система отображения динамической информации должна обеспечивать появление текста о следующей остановке непосредственно после отправления поезда с предыдущей станции.
10.3 Буквы и цифры в надписях должны быть выполнены сплошным контуром без перемычек.
Пиктограммы должны содержать понятный рисунок или символ, композиционно оправданный цвет фона.
10.4 Каждый вагон, предназначенный для проезда пассажиров-инвалидов, должен быть оборудован системой видеонаблюдения (видеорегистрации), обеспечивающей машинисту видимость зоны входной двери, предназначенной для пассажира-инвалида, а также зоны размещения пассажира-инвалида в вагоне с целью наблюдения (фиксации) процесса посадки (высадки) пассажира-инвалида в вагон поезда и его размещения в установленном месте.
10.5 Рекомендуется оснащать вагон, предназначенный для проезда инвалидов, индукционными системами (техническими средствами дополнительного озвучивания) для предотвращения помех аудиосигналов в слуховых аппаратах.
На боковой наружной стене вагонов, оснащенных индукционными системами, в районе дверей должна быть нанесена пиктограмма доступности инвалидов по слуху.
11 Требования к указательным надписям и обозначениям
11.1 На боковой наружной стене вагона в районе дверей, предназначенных для входа и выхода пассажиров-инвалидов, должна быть нанесена пиктограмма согласно рисункам Г.1, Г.2 приложения Г или соответствующая ей по смыслу надпись, информирующая о его доступности для инвалидов. Цвет пиктограмм должен быть синим или черным на белом (желтом) фоне или белым (желтым) на синем или черном фоне.
Размер пиктограмм (сторона квадрата) - не менее 150 мм.
11.2 На наружной поверхности сдвижных (прислонно-сдвижных) дверей, предназначенных для входа и выхода пассажиров-инвалидов, должна быть нанесена надпись "Вход для инвалидов" или соответствующая ей по смыслу пиктограмма.
11.3 На боковых стенах пассажирского салона в зоне расположения мест для размещения пассажиров-инвалидов должна быть нанесена надпись "Места для инвалидов" или соответствующая ей по смыслу пиктограмма.
11.4 Над кнопками переговорного устройства "пассажир-машинист" (или на переговорном устройстве) должна быть выполнена отражающая их назначение надпись (например, "Вызов машиниста", "Экстренный вызов").
Приложение А
(обязательное)
МИНИМАЛЬНЫЕ РАЗМЕРЫ ПЛОЩАДКИ ДЛЯ РАЗМЕЩЕНИЯ И РАЗВОРОТА
КРЕСЛА-КОЛЯСКИ С НАХОДЯЩИМСЯ В НЕМ ПАССАЖИРОМ-ИНВАЛИДОМ
1 - площадка для размещения порожнего кресла-коляски
в рабочем состоянии (вариант 1); 2 - площадка для размещения
кресла-коляски с находящимся в нем пассажиром-инвалидом
(вариант 2)
Рисунок А.1 - Площадка для размещения кресла-коляски
--------------------------------
<*> Ширина разворота - 1400 мм и более.
Рисунок А.2 - Пространство для разворота кресла-коляски
с находящимся в нем пассажиром-инвалидом (ширина разворота)
Приложение Б
(обязательное)
МИНИМАЛЬНЫЕ РАЗМЕРЫ ЗОНЫ ДЛЯ МАНЕВРИРОВАНИЯ ИНВАЛИДА
В КРЕСЛЕ-КОЛЯСКЕ В ЗАВИСИМОСТИ ОТ ШИРИНЫ ПРОХОДОВ
(ПРОЕМА ДВЕРЕЙ)
Ширина прохода в свету
a, мм
1300
1100
1000
900
850
800
Ширина прохода в свету
b, мм
800
850
900
1000
1100
1300
Ширина проема дверей в свету
-
-
900
1000
1100
1300
Рисунок Б.1 - Размеры ширины прохода (проема в свету)
для поворота на 90° в зависимости от ширины находящегося
перед ним прохода
Приложение В
(обязательное)
ЗОНЫ ДОСЯГАЕМОСТИ ДЛЯ ИНВАЛИДОВ В КРЕСЛЕ-КОЛЯСКЕ
Рисунок В.1 - Зона досягаемости для мужчин
Рисунок В.2 - Зона досягаемости для женщин
Примечание - Рекомендуемые пределы зон досягаемости пространства применительно к средним размерам взрослого человека:
- при фронтальном подступе к объекту максимальная высота доступной для инвалида в кресле-коляске фронтальной зоны досягаемости составляет 1200 мм, минимальная - 400 мм от опорной поверхности;
- при боковом подступе к объекту максимальная высота доступной для инвалида в кресле-коляске боковой зоны досягаемости составляет 1400 мм, а минимальная - 250 мм от опорной поверхности.
Приложение Г
(рекомендуемое)
МЕЖДУНАРОДНАЯ ПИКТОГРАММА ДОСТУПНОСТИ ДЛЯ ИНВАЛИДОВ
Рисунок Г.1 - Пропорции пиктограммы
Рисунок Г.2 - Варианты пиктограмм для обозначения вагонов,
доступных для пассажиров-инвалидов
УДК 629.432:629.4.042:629.4.046:006.354
МКС 45.060
Ключевые слова: подвижной состав метрополитена, пассажир-инвалид, доступность для инвалидов, средства сигнализации, информации и связи