Главная // Актуальные документы // ГОСТ (Государственный стандарт)
СПРАВКА
Источник публикации
М.: ФГБУ "РСТ", 2022
Примечание к документу
Документ введен в действие с 01.01.2023.
Название документа
"ГОСТ ISO 8030-2022. Межгосударственный стандарт. Рукава резиновые и пластиковые. Определение воспламеняемости"
(введен в действие Приказом Росстандарта от 12.07.2022 N 609-ст)

"ГОСТ ISO 8030-2022. Межгосударственный стандарт. Рукава резиновые и пластиковые. Определение воспламеняемости"
(введен в действие Приказом Росстандарта от 12.07.2022 N 609-ст)


Содержание


Введен в действие
Приказом Федерального агентства
по техническому регулированию
и метрологии
от 12 июля 2022 г. N 609-ст
МЕЖГОСУДАРСТВЕННЫЙ СТАНДАРТ
РУКАВА РЕЗИНОВЫЕ И ПЛАСТИКОВЫЕ
ОПРЕДЕЛЕНИЕ ВОСПЛАМЕНЯЕМОСТИ
Rubber and plastics hoses. Determination of flammability
(ISO 8030:2014, Rubber and plastics hoses -
Method of test for flammability, IDT)
ГОСТ ISO 8030-2022
МКС 23.040.70
13.220.40
83.140.40
Дата введения
1 января 2023 года
Предисловие
Цели, основные принципы и общие правила проведения работ по межгосударственной стандартизации установлены ГОСТ 1.0 "Межгосударственная система стандартизации. Основные положения" и ГОСТ 1.2 "Межгосударственная система стандартизации. Стандарты межгосударственные, правила и рекомендации по межгосударственной стандартизации. Правила разработки, принятия, обновления и отмены"
Сведения о стандарте
1 ПОДГОТОВЛЕН Федеральным государственным бюджетным учреждением "Российский институт стандартизации" (ФГБУ "РСТ"), Межгосударственным техническим комитетом по стандартизации МТК 542 "Продукция нефтехимического комплекса" на основе собственного перевода на русский язык англоязычной версии стандарта, указанного в пункте 5
2 ВНЕСЕН Федеральным агентством по техническому регулированию и метрологии
3 ПРИНЯТ Межгосударственным советом по стандартизации, метрологии и сертификации (протокол от 8 июня 2022 г. N 152-П)
За принятие проголосовали:
Краткое наименование страны по МК (ИСО 3166) 004-97
Код страны по МК (ИСО 3166) 004-97
Сокращенное наименование национального органа по стандартизации
Армения
AM
ЗАО "Национальный орган по стандартизации и метрологии" Республики Армения
Беларусь
BY
Госстандарт Республики Беларусь
Казахстан
KZ
Госстандарт Республики Казахстан
Киргизия
KG
Кыргызстандарт
Россия
RU
Росстандарт
Узбекистан
UZ
Узстандарт
4 Приказом Федерального агентства по техническому регулированию и метрологии от 12 июля 2022 г. N 609-ст межгосударственный стандарт ГОСТ ISO 8030-2022 введен в действие в качестве национального стандарта Российской Федерации с 1 января 2023 г.
5 Настоящий стандарт идентичен международному стандарту ISO 8030:2014 "Резиновые и пластиковые рукава. Метод определения воспламеняемости" ("Rubber and plastics hoses - Method of test for flammability", IDT).
Стандарт разработан подкомитетом SC 1 "Резиновые и пластиковые рукава и рукава в сборе" Технического комитета ISO/TC 45 "Каучук и резиновые изделия" Международной организации по стандартизации (ISO).
Наименование настоящего стандарта изменено относительно наименования указанного стандарта для приведения в соответствие с ГОСТ 1.5-2001 (подраздел 3.6).
При применении настоящего стандарта рекомендуется использовать вместо ссылочных международных стандартов соответствующие им межгосударственные стандарты, сведения о которых приведены в дополнительном приложении ДА
6 ВВЕДЕН ВПЕРВЫЕ
Информация о введении в действие (прекращении действия) настоящего стандарта и изменений к нему на территории указанных выше государств публикуется в указателях национальных стандартов, издаваемых в этих государствах, а также в сети Интернет на сайтах соответствующих национальных органов по стандартизации.
В случае пересмотра, изменения или отмены настоящего стандарта соответствующая информация будет опубликована на официальном интернет-сайте Межгосударственного совета по стандартизации, метрологии и сертификации в каталоге "Межгосударственные стандарты"
1 Область применения
Настоящий стандарт устанавливает метод определения воспламеняемости резиновых и пластиковых рукавов номинальным диаметром не более 50 мм.
Стандарт не распространяется на рукава для нефтяного топлива для двигателей внутреннего сгорания.
Примечание 1 - Требования к воспламеняемости/тлению приведены в соответствующих стандартах на рукава.
Примечание 2 - Метод оценки воспламеняемости рукавов для нефтяного топлива приведен в ISO 13774 [1].
2 Нормативные ссылки
В настоящем стандарте использованы нормативные ссылки на следующие международные стандарты [для датированных ссылок применяют только указанное издание ссылочного стандарта, для недатированных - последнее издание (включая все изменения к нему)]:
ISO 8056-1, Aircraft - Nickel-chromium and nickel-aluminium thermocouple extension cables - Part 1: Conductors - General requirements and tests (Авиация. Кабели для наращивания никель-хромовых и никель-алюминиевых термопар. Часть 1. Проводники. Общие требования и испытания)
ISO 9162, Petroleum products - Fuels (class F) - Liquefied petroleum gases - Specifications [Нефтепродукты. Топлива (класс F). Сжиженные углеводородные газы. Спецификация]
ISO 23529, Rubber - General procedures for preparing and conditioning test pieces for physical test methods (Резина. Общие процедуры приготовления и кондиционирования образцов для физических методов испытаний)
3 Общие положения
Испытание по настоящему стандарту является лабораторным испытанием в небольшом масштабе, поэтому полученные результаты могут быть только ориентировочными и не позволят прогнозировать поведение рукава при пожаре. Прежде всего, это предварительное испытание или испытание для контроля качества, которое в течение многих лет использовали для оценки пригодности рукавов, в т.ч. для подземного использования.
Следует обеспечивать проведение испытаний по настоящему стандарту в подходящих условиях окружающей среды и надлежащую защиту персонала от риска возгорания, а также вдыхания дыма и/или токсичных продуктов сгорания.
4 Аппаратура
4.1 Испытательная камера, защищенная от воздушных потоков, с отверстием для выхода дыма в верхней части, отверстием с откидной крышкой для работы с горелкой и сдвижной дверцей со смотровым окошком из закаленного натриевого стекла или любого подходящего прозрачного материала. Конструкция и примерные размеры камеры приведены на рисунке 1.
--------------------------------
<a> Внутренние размеры.
1 - дверца, установленная заподлицо, полностью закрывающая
проем камеры, скользящая вертикально; 2 - отверстие
для выхода дыма; 3 - каркас из стального уголка высотой
(30 +/- 5) мм, при необходимости; 4 - верхняя, боковые
стенки и основание - безасбестовая изоляционная пластина;
5 - воздухонепроницаемая смотровая панель из прозрачного
материала, например закаленного натриевого стекла толщиной
от 4,5 до 5,0 мм; 6 - одно отверстие размером 130 x 75 мм
(с откидной крышкой) для доступа к горелке,
при необходимости; 7 - проем размером 600 x 600 мм
Рисунок 1 - Испытательная камера
для определения воспламеняемости
Альтернативно можно проводить испытание в лабораторном вытяжном шкафу.
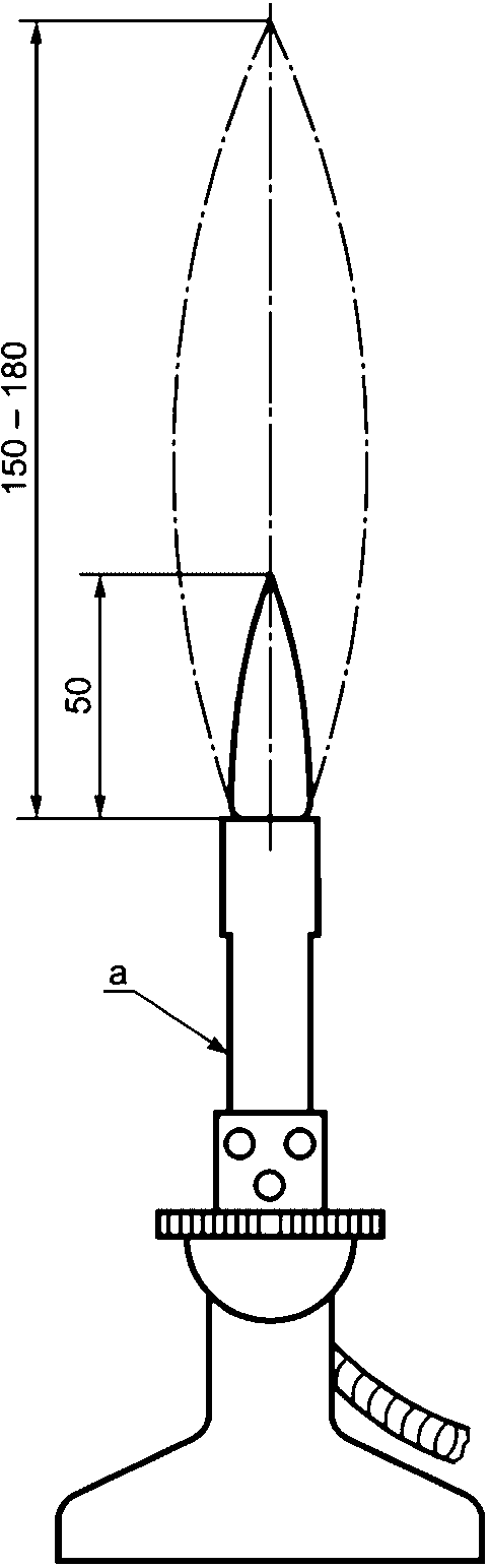
4.2 Газовая горелка (типа Бунзена) с трубкой внутренним диаметром (10,0 +/- 0,5) мм, как показано на рисунке 2.
--------------------------------
<a> Внутренний диаметр (10,0 +/- 0,5) мм.
Рисунок 2 - Газовая горелка
4.3 Товарный пропан по ISO 9162.
4.4 Стенд для закрепления образца рукава для испытания в горизонтальном положении над горелкой приведен на рисунке 3.
1 - образец рукава для испытания; 2 - газовая
горелка; 3 - стенд
Рисунок 3 - Пример стенда
для определения воспламеняемости рукава
4.5 Секундомер с ценой деления 0,2 с или менее.
4.6 Средство измерения длины, линейка или мерная лента длиной примерно 1 м с ценой деления 1 мм, калиброванные с соответствующей точностью.
4.7 Калиброванная NiCr/NiAl термопара по ISO 8056-1 или аналогичная.
5 Образец для испытания
Испытывают образец рукава (далее - образец) длиной 300 мм. Испытывают шесть образцов.
6 Кондиционирование
Испытания проводят не ранее чем через 24 ч после изготовления рукава. Перед испытанием образцы кондиционируют при стандартной температуре и влажности (см. ISO 23529) не менее 3 ч. Время кондиционирования можно считать частью периода 24 ч после изготовления рукава.
7 Проведение испытания
7.1 Закрепляют образец на стенде (см. рисунок 3) и помещают стенд в испытательную камеру (см. рисунок 1).
7.2 Зажигают горелку и прогревают ее 2 мин. Регулируют поток воздуха и газа таким образом, чтобы общая высота пламени была от 150 до 180 мм, а длина внутреннего пламени составила примерно 50 мм.
Помещают термопару в самой горячей зоне пламени (т.е. прямо над внутренним конусом пламени, как показано на рисунке 2) и убеждаются, что температура составляет (1000 +/- 20) °C.
При необходимости регулируют пламя горелки таким образом, чтобы температура была (1000 +/- 20) °C.
Можно использовать другие значения температуры, если это указано в стандарте на рукава.
7.3 Устанавливают горелку под углом 45° (см. рисунок 3) под серединой образца таким образом, чтобы верх трубки горелки был примерно на 50 мм ниже нижнего края образца для получения заданной температуры (1000 +/- 20) °C в этой точке образца.
7.4 Удаляют горелку со стенда через (60 + 1) с и регистрируют продолжительность сохранения пламени и тления.
7.5 Испытывают следующие пять образцов по 7.1 - 7.4.
Примечание - Для наблюдения тления может потребоваться заслонить область проведения испытания от света.
8 Представление результатов
8.1 Регистрируют продолжительность сохранения пламени и тления каждого испытанного образца.
8.2 Вычисляют и регистрируют среднее арифметическое значение продолжительности сохранения пламени и тления, а также наличие горящих капель.
8.3 Регистрируют любую склонность материала к свободному горению или образованию капель после удаления горелки.
9 Требования к рукавам
Если в стандарте на рукава нет других указаний, рукава должны соответствовать следующим требованиям:
- среднее арифметическое значение продолжительности сохранения пламени шести образцов должно быть не более 1 мин;
- среднее арифметическое значение продолжительности тления должно быть не более 3 мин.
10 Протокол испытаний
Протокол испытаний должен содержать:
a) указание "Результаты испытаний распространяются только на испытанные образцы в конкретных условиях испытаний, их не следует использовать как метод оценки потенциальной пожароопасности рукава";
b) обозначение настоящего стандарта;
c) номинальный диаметр рукава;
d) тип рукава и обозначение стандарта на испытанный рукав, дату изготовления и номер партии, если они известны;
e) способ изготовления рукава и описание армирования;
f) дату проведения испытаний;
g) результаты испытаний по разделу 8.
Приложение ДА
(справочное)
СВЕДЕНИЯ О СООТВЕТСТВИИ ССЫЛОЧНЫХ МЕЖДУНАРОДНЫХ СТАНДАРТОВ
МЕЖГОСУДАРСТВЕННЫМ СТАНДАРТАМ
Таблица ДА.1
Обозначение ссылочного международного стандарта
Степень соответствия
Обозначение и наименование соответствующего межгосударственного стандарта
ISO 8056-1
-
ISO 9162
IDT
ГОСТ ISO 9162-2013 "Нефтепродукты. Топлива (класс F). Газы углеводородные сжиженные. Технические условия"
ISO 23529
IDT
ГОСТ ISO 23529-2020 "Резина. Общие методы приготовления и кондиционирования образцов для определения физических свойств"
<*> Соответствующий межгосударственный стандарт отсутствует. До его принятия рекомендуется использовать перевод на русский язык данного международного стандарта.
Примечание - В настоящей таблице использовано следующее условное обозначение степени соответствия стандартов:
- IDT - идентичные стандарты.
БИБЛИОГРАФИЯ
[1]
ISO 13774:1998
Rubber and plastics hoses for fuels for internal-combustion engines - Method of test for flammability
(Резиновые и пластиковые рукава для топлива для двигателей внутреннего сгорания. Метод испытания на воспламеняемость)
УДК 678-462:536.468:006.354
МКС 23.040.70
IDT
Ключевые слова: резиновые и пластиковые рукава, определение воспламеняемости