Главная // Актуальные документы // ГОСТ (Государственный стандарт)
СПРАВКА
Источник публикации
М.: ФГБУ "РСТ", 2021
Примечание к документу
Текст данного документа приведен с учетом поправки, опубликованной в "ИУС", N 8, 2022.

Документ введен в действие с 01.07.2022.
Название документа
"ГОСТ ISO 10960-2021. Межгосударственный стандарт. Рукава резиновые и пластиковые. Определение озоностойкости в динамических условиях"
(введен в действие Приказом Росстандарта от 09.11.2021 N 1478-ст)

"ГОСТ ISO 10960-2021. Межгосударственный стандарт. Рукава резиновые и пластиковые. Определение озоностойкости в динамических условиях"
(введен в действие Приказом Росстандарта от 09.11.2021 N 1478-ст)


Содержание


Введен в действие
Приказом Федерального агентства
по техническому регулированию
и метрологии
от 9 ноября 2021 г. N 1478-ст
МЕЖГОСУДАРСТВЕННЫЙ СТАНДАРТ
РУКАВА РЕЗИНОВЫЕ И ПЛАСТИКОВЫЕ
ОПРЕДЕЛЕНИЕ ОЗОНОСТОЙКОСТИ В ДИНАМИЧЕСКИХ УСЛОВИЯХ
Rubber and plastics hoses. Determination
of ozone resistance under dynamic conditions
(ISO 10960:2017, IDT)
ГОСТ ISO 10960-2021
МКС 83.140.40
23.040.70
Дата введения
1 июля 2022 года
Предисловие
Цели, основные принципы и общие правила проведения работ по межгосударственной стандартизации установлены ГОСТ 1.0 "Межгосударственная система стандартизации. Основные положения" и ГОСТ 1.2 "Межгосударственная система стандартизации. Стандарты межгосударственные, правила и рекомендации по межгосударственной стандартизации. Правила разработки, принятия, обновления и отмены"
Сведения о стандарте
1 ПОДГОТОВЛЕН Федеральным государственным бюджетным учреждением "Российский институт стандартизации" (ФГБУ "РСТ"), Межгосударственным техническим комитетом по стандартизации МТК 542 "Продукция нефтехимического комплекса" на основе собственного перевода на русский язык англоязычной версии стандарта, указанного в пункте 5
2 ВНЕСЕН Федеральным агентством по техническому регулированию и метрологии
3 ПРИНЯТ Межгосударственным советом по стандартизации, метрологии и сертификации (протокол от 26 августа 2021 г. N 142-П)
За принятие проголосовали:
Краткое наименование страны по МК (ИСО 3166) 004-97
Код страны по МК (ИСО 3166) 004-97
Сокращенное наименование национального органа по стандартизации
Армения
AM
ЗАО "Национальный орган по стандартизации и метрологии" Республики Армения
Беларусь
BY
Госстандарт Республики Беларусь
Казахстан
KZ
Госстандарт Республики Казахстан
Киргизия
KG
Кыргызстандарт
Россия
RU
Росстандарт
Таджикистан
TJ
Таджикстандарт
Узбекистан
UZ
Узстандарт
4 Приказом Федерального агентства по техническому регулированию и метрологии от 9 ноября 2021 г. N 1478-ст межгосударственный стандарт ГОСТ ISO 10960-2021 введен в действие в качестве национального стандарта Российской Федерации с 1 июля 2022 г.
5 Настоящий стандарт идентичен международному стандарту ISO 10960:2017 "Резиновые и пластиковые рукава. Определение озоностойкости в динамических условиях" ("Rubber and plastics hoses - Assessment of ozone resistance under dynamic conditions", IDT).
Международный стандарт разработан подкомитетом SC 1 "Резиновые и пластиковые рукава и рукава в сборе" Технического комитета ISO/TC 45 "Каучук и резиновые изделия" Международной организации по стандартизации (ISO).
При применении настоящего стандарта рекомендуется использовать вместо ссылочных международных стандартов соответствующие им межгосударственные стандарты, сведения о которых приведены в дополнительном приложении ДА
6 ВВЕДЕН ВПЕРВЫЕ
Информация о введении в действие (прекращении действия) настоящего стандарта и изменений к нему на территории указанных выше государств публикуется в указателях национальных стандартов, издаваемых в этих государствах, а также в сети Интернет на сайтах соответствующих национальных органов по стандартизации.
В случае пересмотра, изменения или отмены настоящего стандарта соответствующая информация будет опубликована на официальном интернет-сайте Межгосударственного совета по стандартизации, метрологии и сертификации в каталоге "Межгосударственные стандарты"
1 Область применения
Настоящий стандарт устанавливает метод оценки стойкости рукавов к негативному воздействию атмосферного озона в динамических условиях. Метод применяют для испытания рукавов внутренним диаметром не более 25 мм.
2 Нормативные ссылки
В настоящем стандарте использованы нормативные ссылки на следующие стандарты [для датированных ссылок применяют только указанное издание ссылочного стандарта, для недатированных - последнее издание (включая все изменения)]:
ISO 1431-1:2012, Rubber, vulcanized or thermoplastic - Resistance to ozone cracking - Part 1: Static and dynamic strain testing (Резина вулканизованная или термопластик. Стойкость к растрескиванию под воздействием озона. Часть 1. Испытания при статической и динамической деформации)
ISO 8330, Rubber and plastics hoses and hose assemblies - Vocabulary (Рукава и рукава в сборе резиновые и пластиковые. Словарь)
ISO 23529, Rubber - General procedures for preparing and conditioning test pieces for physical test methods (Резина. Общие процедуры приготовления и кондиционирования образцов для физических методов испытаний)
3 Термины и определения
В настоящем стандарте применены термины по ISO 8330.
ISO и IEC поддерживают терминологические базы данных для использования в стандартизации по следующим адресам:
- платформа интернет-поиска ISO: доступна по адресу http://www.iso.org/obp;
- IEC Electropedia: доступна по адресу http://www.electropedia.org/.
4 Сущность метода
Подвергают рукав, закрепленный в аппарате в форме полукруга, воздействию озона при знакопеременном изгибе и периодически проверяют на наличие трещин.
5 Аппаратура
Вся аппаратура, помещаемая в испытательную камеру, должна быть изготовлена из материалов, которые не поглощают и не разлагают озон.
5.1 Испытательная камера с источником озонированного воздуха, а также средствами регулирования и контроля концентрации озона, соответствующая ISO 1431-1.
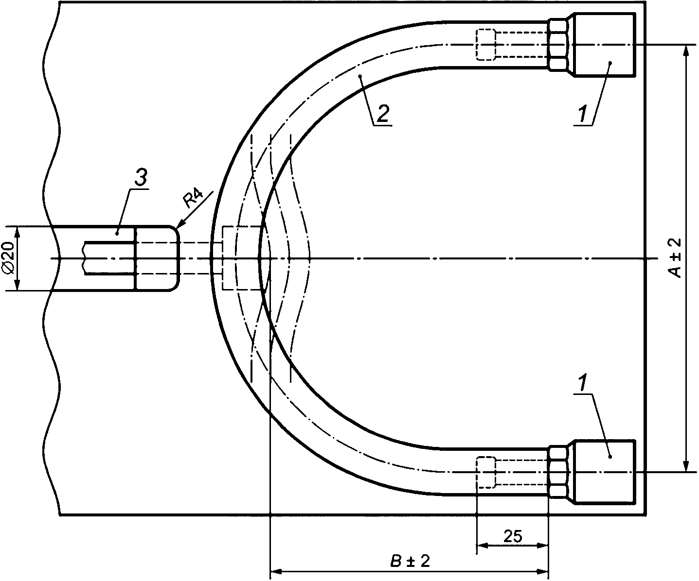
5.2 Держатель образца для испытания, показанный на рисунке 1, с приспособлением для изгиба с необходимой частотой.
Следует соблюдать требования ISO 1431-1:2012 (пункт 5.6).
1 - держатель; 2 - образец для испытания; 3 - поршень;
A = 10d; B = 5d, где d - наружный диаметр испытуемого
рукава; R4 - радиус скругления поршня, равный 4 мм
Рисунок 1 - Образец для испытания, закрепленный в держателе
6 Образцы для испытаний
6.1 Тип образца для испытаний
В качестве образца для испытаний используют рукав свободной длиной L, определяемой по формуле
L = 20d, (1)
где d - наружный диаметр испытуемого рукава.
6.2 Число образцов для испытаний
Испытывают два образца.
7 Кондиционирование образцов для испытаний
Испытания проводят не ранее чем через 24 ч после изготовления рукава. Для получения сопоставимых результатов испытания проводят по возможности через одинаковое время после изготовления. Время между изготовлением образца и испытанием должно соответствовать указанному в ISO 23529.
Кондиционируют образцы для испытаний, закрепленные в держателе по 9.1, в течение 48 ч в атмосфере, практически не содержащей озона, при стандартной температуре в соответствии с ISO 23529, в темноте или при слабом освещении.
8 Условия испытаний
Если в документе на рукав другие указания отсутствуют, испытывают образцы при объемной концентрации озона (50 +/- 5) частей на сто миллионов (pphm) объема воздуха при температуре (40 +/- 2) °C в течение 72-2 ч.
Примечание - Установлено, что различия в атмосферном давлении могут оказывать влияние на озонное растрескивание, когда образцы для испытаний подвергают воздействию озона с постоянной концентрацией, выраженной в частях на сто миллионов. Этот эффект можно учитывать путем выражения концентрации озона в озонированном воздухе через парциальное давление, т.е. в миллипаскалях, и сравнения результатов при постоянном парциальном давлении озона. При стандартном атмосферном давлении и температуре (101 кПа, 273 К) концентрация озона 1 pphm эквивалентна парциальному давлению 1,01 МПа.
9 Проведение испытаний
9.1 Закрепляют образец для испытаний в держателе, как показано на рисунке 1, и помещают его в испытательную камеру.
9.2 Изгибают образец с частотой (0,30 +/- 0,03) Гц при условиях по разделу 8.
Максимальный ход поршня должен быть таким, чтобы расстояние от торца поршня до концов рукава было в пять раз больше наружного диаметра рукава +/- 2 мм (расстояние B на рисунке 1). Во время возвратного хода поршень должен вернуться в положение, когда рукав полностью разгружен.
9.3 После 2; 4; 24; 48 и 72 ч выдерживания можно осматривать образцы для испытаний с двукратным оптическим увеличением, не вынимая их из аппарата и не учитывая область рядом с креплением. При обнаружении трещин регистрируют их характер и время их первого появления.
10 Протокол испытаний
Протокол испытаний должен содержать:
a) обозначение настоящего стандарта;
b) информацию, необходимую для полной идентификации испытуемого рукава;
c) детали проведения испытаний: концентрацию озона, температуру испытаний и время выдерживания;
d) наличие или отсутствие трещин и, при их наличии, характер и время появления;
e) дату проведения испытаний.
Приложение ДА
(справочное)
СВЕДЕНИЯ О СООТВЕТСТВИИ ССЫЛОЧНЫХ МЕЖДУНАРОДНЫХ СТАНДАРТОВ
МЕЖГОСУДАРСТВЕННЫМ СТАНДАРТАМ
Таблица ДА.1
Обозначение ссылочного международного стандарта
Степень соответствия
Обозначение и наименование соответствующего межгосударственного стандарта
ISO 1431-1:2012
-
ISO 8330
-
ISO 23529
IDT
ГОСТ ISO 23529-2020 "Резина. Общие методы приготовления и кондиционирования образцов для определения физических свойств"
<*> Соответствующий межгосударственный стандарт отсутствует. До его принятия рекомендуется использовать перевод на русский язык данного международного стандарта.
Примечание - В настоящей таблице использовано следующее условное обозначение степени соответствия стандарта:
- IDT - идентичный стандарт.
--------------------------------
<1> В Российской Федерации действует ГОСТ Р ИСО 1431-1-2019 "Резина и термоэластопласты. Озоностойкость. Часть 1. Испытания при статической и динамической деформации растяжения".
УДК 678-462:678.019.32:006.354
МКС 83.140.40
IDT
Ключевые слова: рукава резиновые и пластиковые, определение озоностойкости в динамических условиях