Главная // Актуальные документы // ГОСТ (Государственный стандарт)СПРАВКА
Источник публикации
М.: ФГБУ "РСТ", 2022
Примечание к документу
Документ
введен в действие с 01.01.2023.
Название документа
"ГОСТ IEC 60335-2-58-2021. Межгосударственный стандарт. Бытовые и аналогичные электрические приборы. Безопасность. Часть 2-58. Дополнительные требования к посудомоечным машинам для предприятий общественного питания"
(введен в действие Приказом Росстандарта от 17.05.2022 N 319-ст)
"ГОСТ IEC 60335-2-58-2021. Межгосударственный стандарт. Бытовые и аналогичные электрические приборы. Безопасность. Часть 2-58. Дополнительные требования к посудомоечным машинам для предприятий общественного питания"
(введен в действие Приказом Росстандарта от 17.05.2022 N 319-ст)
по техническому регулированию
и метрологии
от 17 мая 2022 г. N 319-ст
МЕЖГОСУДАРСТВЕННЫЙ СТАНДАРТ
БЫТОВЫЕ И АНАЛОГИЧНЫЕ ЭЛЕКТРИЧЕСКИЕ ПРИБОРЫ. БЕЗОПАСНОСТЬ
ЧАСТЬ 2-58
ДОПОЛНИТЕЛЬНЫЕ ТРЕБОВАНИЯ К ПОСУДОМОЕЧНЫМ МАШИНАМ
ДЛЯ ПРЕДПРИЯТИЙ ОБЩЕСТВЕННОГО ПИТАНИЯ
Household and similar electrical appliances. Safety.
Part 2-58. Particular requirements for commercial
electric dishwashing machines
(IEC 60335-2-58:2017, IDT)
ГОСТ IEC 60335-2-58-2021
Дата введения
1 января 2023 года
Цели, основные принципы и общие правила проведения работ по межгосударственной стандартизации установлены
ГОСТ 1.0 "Межгосударственная система стандартизации. Основные положения" и
ГОСТ 1.2 "Межгосударственная система стандартизации. Стандарты межгосударственные, правила и рекомендации по межгосударственной стандартизации. Правила разработки, принятия, обновления и отмены"
1 ПОДГОТОВЛЕН Научно-производственным республиканским унитарным предприятием "Белорусский государственный институт стандартизации и сертификации" (БелГИСС) на основе собственного перевода на русский язык англоязычной версии стандарта, указанного в
пункте 5
2 ВНЕСЕН Государственным комитетом по стандартизации Республики Беларусь
3 ПРИНЯТ Межгосударственным советом по стандартизации, метрологии и сертификации (протокол от 30 апреля 2021 г. N 139-П)
За принятие проголосовали:
Краткое наименование страны по МК (ИСО 3166) 004-97 | Код страны по МК (ИСО 3166) 004-97 | Сокращенное наименование национального органа по стандартизации |
Армения | AM | ЗАО "Национальный орган по стандартизации и метрологии" Республики Армения |
Беларусь | BY | Госстандарт Республики Беларусь |
Казахстан | KZ | Госстандарт Республики Казахстан |
Киргизия | KG | Кыргызстандарт |
Россия | RU | Росстандарт |
Таджикистан | TJ | Таджикстандарт |
Узбекистан | UZ | Узстандарт |
4
Приказом Федерального агентства по техническому регулированию и метрологии от 17 мая 2022 г. N 319-ст межгосударственный стандарт ГОСТ IEC 60335-2-58-2021 введен в действие в качестве национального стандарта Российской Федерации с 1 января 2023 г.
5 Настоящий стандарт идентичен международному стандарту IEC 60335-2-58:2017 "Бытовые и аналогичные электрические приборы. Безопасность. Часть 2-58. Дополнительные требования к посудомоечным машинам для предприятий общественного питания" ("Household and similar electrical appliances. Safety. Part 2-58. Particular requirements for commercial electric dishwashing machines", IDT).
Международный стандарт разработан Техническим комитетом по стандартизации IEC/TC 61 "Безопасность бытовых и аналогичных электрических приборов" Международной электротехнической комиссии (IEC).
При применении настоящего стандарта рекомендуется использовать вместо ссылочных международных стандартов соответствующие им межгосударственные стандарты, сведения о которых приведены в дополнительном
приложении ДА
6 ВВЕДЕН ВПЕРВЫЕ
Информация о введении в действие (прекращении действия) настоящего стандарта и изменений к нему на территории указанных выше государств публикуется в указателях национальных стандартов, издаваемых в этих государствах, а также в сети Интернет на сайтах соответствующих национальных органов по стандартизации.
В случае пересмотра, изменения или отмены настоящего стандарта соответствующая информация будет опубликована на официальном интернет-сайте Межгосударственного совета по стандартизации, метрологии и сертификации в каталоге "Межгосударственные стандарты"
Настоящий стандарт представляет собой прямое применение IEC 60335-2-58:2017.
Настоящий стандарт применяют совместно с IEC 60335-1. Если в тексте настоящего стандарта встречается ссылка на часть 1, то это соответствует IEC 60335-1.
Если в настоящем стандарте не имеется ссылки на какой-либо пункт или приложение IEC 60335-1, то этот пункт или приложение применяется полностью.
Настоящий стандарт содержит требования безопасности к электрическим посудомоечным машинам, предназначенным для предприятий общественного питания для мытья тарелок, стаканов, столовых приборов, и методы их испытаний, которые дополняют, заменяют или исключают соответствующие разделы и (или) пункты IEC 60335-1.
Номера пунктов настоящего стандарта, которые дополняют разделы IEC 60335-1, начинаются с цифры 101.
В настоящем стандарте использованы следующие шрифтовые выделения:
- текст требований - светлый;
- методы испытаний - курсив;
- термины - полужирный.
Применяют соответствующий раздел части 1 со следующим изменением.
Настоящий стандарт устанавливает требования безопасности к электрическим посудомоечным машинам, предназначенным для предприятий общественного питания для мытья тарелок, стаканов, столовых приборов и аналогичных предметов как с нагревом воды и сушкой посуды, так и без них (далее - машины), с номинальным напряжением, не превышающим 250 В между одной фазой и нейтралью для однофазных машин и 480 В для других машин.
Примечание 101 - Машины применяют, например, на кухнях ресторанов, столовых, кафе, в пищеблоках больниц, а также на малых предприятиях, таких как пекарни, мясные цеха и др.
Примечание 102 - Примерами посудомоечных машин являются:
- конвейерные;
- периодического действия;
- щеточные.
Требования по предотвращению обратного сифонирования непитьевой воды в водопроводную сеть приведены в
приложении BB.
Стандарт распространяется также на электрическую часть машин, работающих на энергии других видов.
Насколько это возможно, стандарт учитывает также общие требования безопасности машин.
Примечание 103 - Следует обратить внимание на то, что:
- для машин, предназначенных для работы в наземных транспортных средствах, на судах или самолетах, могут быть необходимы дополнительные требования;
- во многих странах дополнительные требования устанавливаются национальными органами здравоохранения, охраны труда, водоснабжения и подобными органами;
- во многих странах установлены дополнительные требования для приборов, работающих под давлением.
Примечание 104 - Стандарт не распространяется:
- на машины, предназначенные исключительно для промышленных целей, например применяемые в пищевой промышленности для мытья тары, которая служит для упаковки готовых продуктов (бутылкомоечные машины), и машины, применяемые в производственных процессах;
- стерилизаторы и моечные дезинфекторы, применяемые для обработки медицинских материалов (см. IEC 61010-2-040);
- машины, которые не образуют единого функционального агрегата, например когда транспортирующее устройство перемещает груз от одного агрегата к другому;
- транспортирующие устройства с отдельным приводом, не входящие в состав машины;
- машины, предназначенные для работы в местах со специальными условиями, такими как коррозионная или взрывоопасная среда (пыль, пар или газ).
Применяют соответствующий раздел части 1 со следующим дополнением.
Дополнение:
IEC 60436:2015, Electric dishwashers for household use - Methods for measuring the performance (Машины электрические посудомоечные бытового назначения. Методы измерений эксплуатационных характеристик)
IEC 61770:2008, Electric appliances connected to the water mains - Avoidance of back-siphonage and failure of hose-sets (Приборы электрические, присоединенные к сетям водоснабжения. Предотвращение обратного сифонирования и повреждения соединительных шлангов)
IEC 61770:2008/AMD 1:2015 <1>
--------------------------------
<1> Существует консолидированное издание 2.1 (2015), которое включает издание 2 и поправку к нему 1.
ISO 1817:2015, Rubber, vulcanised or thermoplastic - Determination of the effect of liquids (Резина вулканизированная или термопластичная. Определение воздействия жидкостей)
Применяют соответствующий раздел части 1 со следующими дополнениями и изменением.
3.1.4 Дополнение:
Примечание 101 - Номинальная потребляемая мощность - сумма мощностей отдельных элементов машины, которые могут быть включены одновременно. Если используют несколько таких комбинаций, то выбирают комбинацию, дающую наибольшее значение номинальной потребляемой мощности.
3.1.9 Замена:
нормальные условия работы (normal operation): Работа машины в следующих условиях.
Машины, предназначенные для подключения к системе водоснабжения, работают под давлением и при температурах, указанных в инструкциях по эксплуатации.
Если в инструкциях по эксплуатации указан диапазон температур и давлений, то принимают условия, создающие наиболее неблагоприятные температурные последствия. Входной патрубок, предназначенный для питания машины холодной водой, соединяют с источником питания водой при температуре (15 +/- 5) °C.
В машину заливают максимальное количество воды, на которое она рассчитана, без моющих и ополаскивающих средств. Щеточные посудомоечные машины испытывают на максимальном количестве тарелок, указанных в инструкции по эксплуатации. Размеры тарелок указаны в IEC 60436. Другие посудомоечные машины испытывают без посуды.
Посудомоечные машины периодического действия работают цикл за циклом, причем каждый последующий цикл начинают после перерыва в течение 1 мин. Если имеются крышки или люки, то во время перерыва их открывают.
Конвейерные и щеточные посудомоечные машины работают непрерывно.
Машины работают в следующем порядке:
- машины, снабженные таймерами или системами программного управления, работают по программе, дающей наиболее неблагоприятные результаты по температуре;
- машины, не имеющие ни таймера, ни системы программного управления, работают в режиме, указанном в инструкции по эксплуатации, но при этом органы управления машины, предназначенные для пользователя, устанавливают на максимальный режим или режим, приводящий к наиболее неблагоприятным результатам по температуре.
3.5.101 посудомоечная машина периодического действия (batch dishwasher): Машина, в которой обработка посуды производится последовательно на одной загрузке.
3.5.102 щеточная посудомоечная машина (brush machine): Машина, в которой тарелки при мытье размещаются между щетками или аналогичными устройствами либо удерживаются в контакте с ними.
3.5.103 конвейерная (рамочная или пластинчатая) посудомоечная машина (conveyor (rack or flight) dishwasher): Машина, в которой различные процессы, например мытье, ополаскивание и т.д., выполняются автоматически, во время движения посуды сквозь различные операционные зоны.
3.8.101 указатель уровня (indicated level): Отметка на машине, показывающая максимальный уровень жидкости, необходимый для нормальных условий работы.
Применяют соответствующий раздел части 1.
5 Общие условия проведения испытаний
Применяют соответствующий раздел части 1 со следующим дополнением.
5.3 Дополнение:
5.101 Посудомоечные машины испытывают как машины с электроприводом, даже если они включают в себя нагревательные элементы.
Машины с нагревательными элементами для подогрева воды, которые могут работать также и без включенных нагревательных элементов, испытывают без их включения, если это создает наиболее неблагоприятные условия.
5.102 Машины, выполненные в комбинации с другими аппаратами или встроенные в них, испытывают в соответствии с требованиями настоящего стандарта. При этом другие аппараты должны работать в соответствии с требованиями стандартов на эти аппараты.
Применяют соответствующий раздел части 1 со следующими изменениями.
6.1 Замена:
Машины должны быть класса защиты I от поражения электрическим током.
Соответствие требованию проверяют путем внешнего осмотра и соответствующими испытаниями.
6.2 Замена:
Машины должны иметь степень защиты оболочек от проникновения влаги не ниже IPX1.
Соответствие требованию проверяют путем осмотра и соответствующими испытаниями.
7 Маркировка и инструкции
Применяют соответствующий раздел части 1 со следующими дополнениями и изменениями.
7.1 Дополнение:
Машины должны иметь маркировку:
- максимально допустимого давления пара в килопаскалях (кПа);
- максимально допустимого давления горячей воды в килопаскалях (кПа);
- максимально допустимой температуры воды, пара и горячей воды в градусах Цельсия.
Если вращение ротора электродвигателя в обратную сторону может создать опасную ситуацию, то на электродвигателе на видном месте должно быть четко обозначено направление вращения.
Изменение:
Инструкция в отношении лиц (включая детей) с ослабленными физическими, сенсорными или умственными способностями или отсутствием опыта и знаний неприменима.
Инструкция в отношении детей, играющих с прибором, неприменима.
7.12.1 Дополнение:
К машине должна быть приложена инструкция по эксплуатации, подробно описывающая меры безопасности при обслуживании потребителем, в том числе должна быть указана максимальная высота расположения сливного крана. В инструкции должны быть также даны указания по обслуживанию машины пользователем, например по ее мойке. Инструкция должна включать положение, что машина не должна очищаться струей воды.
В инструкции по эксплуатации машин, постоянно подключенных к источнику электропитания, ток утечки которых может превышать 10 мА, должны быть даны рекомендации относительно дополнительных защитных мер, которые необходимо предпринять, например устройство защитного отключения (УЗО) должно быть установлено.
Соответствие проверяют путем внешнего осмотра.
7.12.4 Дополнение:
Инструкции по эксплуатации для встроенных машин, имеющих общую панель управления несколькими аппаратами, должны содержать требования, что панель должна быть присоединена только к указанным в инструкции машинам и аппаратам во избежание возникновения опасности.
7.15 Дополнение:
Если не представляется возможным нанести маркировку на закрепленную посудомоечную машину так, чтобы она была хорошо видна после установки машины, то соответствующая информация должна быть включена в инструкцию по эксплуатации или после монтажа машины вблизи нее должна быть установлена дополнительная табличка с соответствующей информацией.
7.101 Машины, предназначенные для заполнения вручную или с помощью крана, управляемого вручную, должны быть обозначены указателем уровня заполнения водой.
Соответствие требованию проверяют путем внешнего осмотра.
7.102 Эквипотенциальные зажимы должны быть обозначены соответствующим символом по IEC 60417-5021 (2002-10).
Эти обозначения не должны наноситься на винты, съемные, промываемые или другие части, которые могут быть сняты во время подключения зажима.
Соответствие требованию проверяют путем внешнего осмотра.
8 Защита от контакта с частями, находящимися под напряжением
Применяют соответствующий раздел части 1.
9 Пуск электромеханических приборов
Применяют соответствующий раздел части 1 со следующим дополнением.
9.101 При выполнении требований
раздела 11 двигатели вентиляторов, обеспечивающих охлаждение, следует запускать при всех значениях напряжений, которые могут возникнуть в условиях эксплуатации.
Соответствие требованию проверяют трехкратным запуском двигателя при напряжении, равном 0,85 номинального напряжения.
Источник питания должен быть таким, чтобы падение напряжения во время испытаний не превышало 1%.
Двигатель запускают каждый раз в условиях, соответствующих началу нормальных условий работы, или для автоматических машин - в начале нормального цикла работы, при этом допускается выдерживать паузу между запусками двигателя. Для машин с двигателями, имеющими пусковые устройства, отличные от центробежных выключателей, это испытание повторяют при напряжении, равном 1,06 номинального напряжения.
Во всех случаях двигатель должен запускаться и работать так, чтобы не нарушались правила безопасности и при этом устройства защиты двигателя от перегрузки не включились.
10 Потребляемая мощность и ток
Применяют соответствующий раздел части 1 со следующим дополнением.
10.1 Дополнение:
Характерным считают период с наибольшим значением суммарной потребляемой мощности.
Применяют соответствующий раздел части 1 со следующими дополнениями и изменением.
11.2 Дополнение:
Машины, предназначенные для крепления к полу, и машины массой более 40 кг без роликов, колес и других подобных устройств устанавливают в соответствии с инструкцией по эксплуатации.
При отсутствии в инструкции соответствующих указаний машины считают устанавливаемыми на полу. При этом машины (кроме конвейерных), снабженные нагревательными элементами для сушки посуды, помещают в испытательный угол (насколько это возможно) близко к его стенкам.
11.5 Дополнение:
Конвейерные машины могут работать от номинального напряжения. В этом случае применимо дополнение к 11.8.
11.7 Замена:
Машины должны работать до достижения установившегося режима. Для достижения установившегося режима может потребоваться эксплуатировать машину более одного цикла работы.
В конце испытаний и при испытаниях машин при максимальной температуре производят опорожнение машин с помощью отсасывающих насосов, работающих от отдельных электродвигателей, включаемых и выключаемых вручную. Насосы приводят в действие в течение времени, в 1,5 раза превышающего время, необходимое для опорожнения ванн машины, заполненных до указанного уровня; при этом уровень слива воды должен быть максимальным от указанного в инструкции по эксплуатации.
Для конвейерных машин, испытываемых при номинальном напряжении, соответствующие значения, приведенные в таблице 3, уменьшают на 10%.
13 Ток утечки и электрическая прочность при рабочей температуре
Применяют соответствующий раздел части 1 со следующими изменениями.
13.1 Дополнение:
Для конвейерных машин, работающих при номинальном напряжении, допустимый ток утечки уменьшают на 10%.
13.2 Изменение:
Вместо допустимого тока утечки для стационарных машин класса I применяют следующее:
- для машин, подсоединяемых с помощью шнура и вилки, - 1 мА на 1 кВт номинальной потребляемой мощности, но не более 10 мА;
- для других машин - 1 мА на 1 кВт номинальной потребляемой мощности, без ограничения максимального значения.
14 Перенапряжения переходного процесса
Применяют соответствующий раздел части 1.
Применяют соответствующий раздел части 1 со следующими дополнениями.
15.1.1 Дополнение:
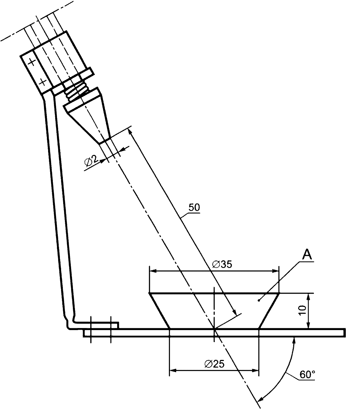
Машины подвергают в течение 5 мин следующему испытанию на разбрызгивание.
Применяют устройство, приведенное на рисунке 101. Во время испытаний давление воды регулируют так, чтобы брызги достигали высоты 150 мм от дна сосуда. Сосуд помещают на пол при испытании напольных машин, а при испытании посудомоечных машин других видов сосуд устанавливают на горизонтальную подставку, уровень которой на 50 мм ниже нижнего края посудомоечной машины. Сосуд перемещают вокруг машины так, чтобы обрызгать ее со всех сторон. При этом необходимо следить за тем, чтобы на машину не попадали прямые струи воды.
15.1.2 Изменение:
Настольные посудомоечные машины устанавливают на подставку, размеры которой на (15 +/- 5) см превышают размеры ортогональной проекции машины на подставку.
Машины должны быть сконструированы так, чтобы при выливании жидкости во время нормальных условий работы электрическая изоляция машины не повреждалась даже в случае повреждения крана, закрывающего подачу воды на входе в машину.
Соответствие требованию проверяют следующими испытаниями с использованием разлитого раствора, содержащего примерно 1% NaCl и 0,6% ополаскивателя.
Можно использовать любой неионный ополаскиватель, имеющийся в продаже, однако в случае сомнений относительно результатов испытаний он должен иметь следующие свойства:
- вязкость - 17,0 мПа·с;
- pH - 2,2 (1% в воде), и его состав должен быть следующим:
Вещество | Массовая доля, % |
Plurafac LF 221 <2> | 15,0 |
Кумолсульфонат (40%-ный водный раствор) | 11,5 |
Лимонная кислота (безводная) | 3,0 |
Деионизированная вода | 70,5 |
--------------------------------
<2> Plurafac

LF 221 является торговым наименованием продукта, поставляемого BASF. Эта информация предоставляется для удобства пользователей настоящего стандарта и не является поддержкой данного продукта со стороны IEC.
Машины с присоединением к электропитанию с креплением типа X, кроме машин, которые имеют шнур специального исполнения, подключают при помощи гибкого кабеля или шнура самого легкодопустимого типа с наименьшей площадью поперечного сечения, указанной в таблице 13. Остальные машины испытывают в состоянии поставки.
Съемные части удаляют.
Машины, заполняемые водой пользователем, наполняют полностью раствором, а затем постепенно добавляют в течение 1 мин раствор в количестве, равном 5% вместимости машины, или 10 л, в зависимости от того, что больше.
Другие машины включают и после завершения одного полного цикла нормальных условий работы блокируют таймер и работающий под давлением поплавковый регулятор уровня. Затем при наивысшем для нормальных условий работы уровне заполнения машины в нее добавляют стандартное моющее средство, описанное в IEC 60436, из расчета 5 г на каждый 1 л воды, после чего посудомоечная машина работает обычным образом.
При этом блокируют только таймер или регулятор уровня.
Если в машине не предусмотрено устройство, предотвращающее ее переполнение, то подачу воды продолжают еще в течение 15 мин после наполнения емкости. Если для предотвращения перелива в машине предусмотрен поплавковый или работающий под давлением регулятор уровня, прекращающий наполнение машины по достижении максимального уровня воды, то после его срабатывания испытания прекращают. Если в машине предусмотрен как таймер, так и регулятор уровня, то следует проводить второе испытание, как описано выше, при действующем таймере и заблокированном регуляторе уровня.
Затем машина должна выдержать испытание электрической прочности изоляции по 16.3, и осмотр должен подтвердить отсутствие на изоляции следов воды, которые могут уменьшить пути утечки тока и воздушные зазоры до значений менее указанных в разделе 29.
Машины, верхние плоскости которых предназначены для использования в качестве рабочих поверхностей, подвергают, кроме того, следующему испытанию: оборотный раствор в количестве 0,2 л постепенно выливают на середину верхней поверхности с высоты 50 мм в течение 15 с.
Затем машина должна выдержать испытание электрической прочности изоляции по 16.3, и осмотр должен подтвердить отсутствие на изоляции следов воды, которые могут уменьшить пути утечки тока и воздушные зазоры до значений менее указанных в разделе 29.
15.101 Машины, снабженные краном для их заполнения или мойки, должны иметь такую конструкцию, чтобы вода из крана не попадала на токоведущие части.
Соответствие требованию проверяют следующим испытанием.
Кран открывают полностью в течение 1 мин при максимальном давлении воды, указанном изготовителем. Откидывающиеся и подвижные части, включая крышки, должны быть откинуты или установлены в наиболее неблагоприятные положения. Поворотные сливы кранов должны быть установлены так, чтобы струя воды лилась прямо на части, которые могут дать при испытании наиболее неблагоприятный результат. Сразу после этого машина должна выдержать испытание на электрическую прочность изоляции в соответствии с 16.3.
16 Ток утечки и электрическая прочность
Применяют соответствующий раздел части 1 со следующим изменением.
16.2 Изменение:
Вместо допустимого тока утечки для стационарных машин класса 1 применяют следующее:
- для машин, подсоединяемых с помощью шнура и вилки, - 1 мА на 1 кВт номинальной потребляемой мощности, но не более 10 мА;
- для других аппаратов - 1 мА на 1 кВт номинальной потребляемой мощности, без ограничения максимального значения.
17 Защита от перегрузки трансформаторов и соединенных с ними цепей
Применяют соответствующий раздел части 1.
Применяют соответствующий раздел части 1.
19 Ненормальный режим работы
Применяют соответствующий раздел части 1 со следующими дополнениями и изменением.
19.1 Дополнение:
Машины с программным управлением или таймером проверяют также по 19.101.
Для конвейерных машин, включающих нагревательные элементы, испытания по 19.2, 19.3 и, где применимо, 19.4, 19.5 и 19.6 могут быть выполнены при номинальном напряжении. В этом случае применяют дополнение к 19.13.
Машины заполняют таким количеством воды, которого достаточно для того, чтобы нагревательные элементы были погружены в воду.
Главные контакты контактора (магнитного пускателя), предназначенные для включения и выключения нагревательного(ых) элемента(ов) в нормальных условиях работы, фиксируют в положении "включено". Если два контактора работают независимо друг от друга или если один из них имеет два независимых якоря главных контактов, то контакты фиксируют в положении "включено" поочередно.
Машина, начиная с температуры окружающей среды, указанной в 5.7 настоящего стандарта, работает при номинальном напряжении или верхнем пределе диапазона номинальных напряжений и с заклиненными движущимися частями в течение: 5 мин - для машин без устройства программного управления или таймера и максимального периода времени, обеспечиваемого устройством программного управления или таймером, - для машин с устройством программного управления или таймером.
Для конвейерных машин, работающих при номинальном напряжении, прибор не должен выделять никакие ядовитые или воспламеняющиеся газы при испытании.
Дополнительно для основной изоляции испытательное напряжение для испытаний на электрическую прочность по 16.3 составляет 1000 В плюс номинальное напряжение.
19.101 Машины с устройством программного управления или таймером должны быть сконструированы так, чтобы избежать опасности возгорания машины, травм от механических частей или поражения электрическим током в случае неправильной эксплуатации или при возникновении дефектов в приборах автоматического регулирования, таких как устройства программного управления, таймеры или связанные с ними приборы.
Соответствие требованию проверяют при любом режиме работы или дефекте, которого можно ожидать при нормальной работе с нормальной загрузкой и при номинальном напряжении или верхнем пределе диапазона напряжений. За один раз воспроизводят только один дефект и испытания проводят последовательно.
При испытаниях не должно появляться пламя или расплавленный металл, а температура обмоток не должна превышать значений, указанных в таблице 8.
Примечание 1 - Примеры возможных дефектов:
- самопроизвольная остановка устройства программного управления в любом положении;
- самопроизвольное отключение и повторное включение одной (или более) фазы электропитания во время выполнения любой части программы;
- размыкание или короткое замыкание компонентов электрической цепи;
- отказ электромагнитного клапана;
- открывание и повторное закрывание дверцы или крышки во время любой части программы, если это возможно.
Примечание 2 - В общем случае испытания ограничивают имитацией дефектов, от которых можно ожидать наиболее неблагоприятных результатов.
Примечание 3 - Если работу машины без воды считают наиболее серьезным дефектом для начала любой из программ, то испытания по этой программе проводят при закрытом клапане впуска воды, несмотря на то, что этот клапан не должен быть закрыт после того, как началась работа по программе. Испытание при этих ненормальных условиях считают завершенным, если машина остановится во время выполнения любой части программы.
Примечание 4 - При проведении испытаний терморегуляторы не замыкают накоротко.
Примечание 5 - Компоненты, отвечающие требованиям соответствующих стандартов, не проверяют на обрыв и короткое замыкание, если требования этих стандартов соответствуют условиям, которые могут возникнуть в машине.
Примечание 6 - Испытание, при котором устройство автоматического наполнения машины удерживают открытым, уже было выполнено согласно
15.2.
Примечание 7 - Испытание электродвигателя с замкнутым накоротко или разомкнутым конденсатором уже было выполнено согласно
19.7.
20 Устойчивость и механические опасности
Применяют соответствующий раздел части 1 со следующими изменениями.
Машины, кроме машин, закрепляемых на их опорной поверхности, должны быть достаточно устойчивы.
Соответствие проверяют следующим испытанием.
Прибор, не подключенный к сети питания, устанавливают в любом нормальном для эксплуатации положении на плоскости, наклоненной под углом 10° к горизонтали, шнур питания располагают на наклонной плоскости в наиболее неблагоприятном положении. Однако если при наклоне прибора на 10° часть прибора касается опоры, то прибор устанавливают на горизонтальную опору и наклоняют его на угол 10° в наиболее неблагоприятном направлении. В этом случае для приборов, снабженных роликами или ножками, ролики могут быть заблокированы, чтобы предотвратить прокатку прибора.
Приборы, оснащенные дверями, испытываются с закрытыми или открытыми дверями, в зависимости от того, что более неблагоприятно.
Машины испытывают порожними или заполненными водой, в зависимости от того, какие условия создают наиболее неблагоприятное положение, и при максимальной загрузке посудой, указанной в инструкции по эксплуатации; при этом дверцы, люки, колеса или ролики устанавливают в наиболее неблагоприятное положение.
Машина не должна опрокидываться.
Машины массой более 40 кг подвергают также испытанию по 20.101. Кроме того, машины с загрузкой спереди подвергают также испытаниям по 20.102, если только эти машины не предназначены для крепления к опорной поверхности или для встраивания таким образом, чтобы не происходило опрокидывание.
20.101
К верхнему краю машины при закрытых дверцах или крышках прикладывают усилие 340 Н в наиболее неблагоприятном направлении при условиях согласно 20.1; при этом машина должна опираться на горизонтальную плоскость.
Машина не должна опрокидываться.
Примечание - Испытание проводят только в случае, когда есть сомнение в устойчивости машины.
20.102
Груз массой 23 кг прикладывают или подвешивают к середине открытой дверцы или загрузочного устройства в его выдвинутом положении, в зависимости от того, какое положение более неблагоприятно. При испытании машину не загружают посудой и не заполняют водой, а ее ролики или колеса, если они есть, поворачивают в наиболее неблагоприятное положение.
Встроенные в машину баки для воды при этом испытании наполняют, если только они не опорожняются во время какой-либо операции рабочего цикла или когда машина выключена.
Во время этого испытания машина не должна опрокидываться.
20.103 Вертикально поднимаемые дверцы, не имеющие системы противовеса, должны иметь такую конструкцию, чтобы обеспечить достаточную защиту персонала от травм.
Вертикально поднимаемые дверцы массой более 5 кг, не имеющие системы противовеса, а также дверцы с высотой подъема, не имеющие системы противовеса, более 400 мм должны быть оснащены рабочими и аварийными стопорными устройствами. Аварийные устройства должны сработать на высоте не менее 120 мм от опорной поверхности.
Другие вертикально поднимаемые дверцы, не имеющие системы противовеса, должны иметь опорную поверхность шириной не менее 20 мм и быть снабжены рабочими стопорными устройствами. Если они снабжены также и аварийными стопорными устройствами, то требование к ширине опорной поверхности не предъявляют. В этом случае аварийные устройства должны сработать на высоте не менее 120 мм от опорной поверхности.
Соответствие требованию проверяют испытанием вручную и путем измерения.
20.104 Вертикально поднимаемые дверцы с системой противовеса должны быть сконструированы таким образом, чтобы обеспечить надлежащую защиту от травм.
В систему противовеса вводится неисправность и измеряется усилие, вызывающее опускание двери. Измеренное усилие не должно превышать 50 Н.
Система противовеса подвергается 100 000 циклов работы. Для вертикально поднимаемой дверцы, предназначенной только для технического обслуживания, количество циклов работы сокращается до 10 000.
После этого испытания измеряется усилие, приводящее к опусканию двери, в результате которого система противовеса не должна быть повреждена. Измеренное усилие не должно превышать 50 Н.
20.105 При очистке машины и техническом обслуживании в условиях нормальной работы, предусмотренных инструкцией по эксплуатации, должна быть предотвращена опасность травм, например путем использования запираемых выключателей или инструмента.
Соответствие требованию проверяют путем осмотра и испытанием вручную.
20.106 Если конструкция машины не обеспечивает достаточной защиты оператора от ожога горячей водой при открытой дверце или крышке, то последние должны иметь блокировку, обеспечивающую возможность работы машины только при закрытой дверце или крышке.
Соответствие требованию проверяют путем осмотра и испытанием вручную.
Примечание - Допускается легкое выплескивание или разбрызгивание горячей воды, происходящее сразу же после открывания дверцы или крышки.
20.107 Конвейерные посудомоечные машины не должны автоматически включаться после закрывания дверей или крышек.
Соответствие требованию проверяют путем осмотра и испытанием вручную.
21 Механическая прочность
Применяют соответствующий раздел части 1 со следующим дополнением.
21.101 Детали и узлы машины, служащие для установки обрабатываемой посуды, должны иметь достаточную механическую прочность и не деформироваться в условиях нормальной работы.
Соответствие требованию проверяют следующим испытанием.
К каждой детали или узлу машины, служащим для установки посуды, поочередно прикладывают равномерно распределенную нагрузку из расчета 1000 Н/м2, выдерживают под нагрузкой в течение 1 мин и затем разгружают. Подвергнутые испытанию детали, узлы и их опоры не должны иметь видимых деформаций.
Применяют соответствующий раздел части 1 со следующими изменениями и дополнениями.
Вместо условий испытаний применяют следующее.
Соответствие требованию проверяют путем осмотра и следующими испытаниями, которые проводят в указанном ниже порядке.
Машина должна работать при условиях, указанных в разделе 11. Она должна быть испытана в течение трех полных циклов. Конвейерная посудомоечная машина должна быть испытана в течение времени, необходимого для перемещения обрабатываемой посуды через все операционные зоны машины.
Вода, используемая при испытаниях, должна иметь жесткость от 2,5 до 75 ммоль/л применительно к карбонату кальция CaCO3. В начале каждого периода ополаскивания, после наполнения машины водой, добавляют вспенивающее средство через дверцу, которую затем закрывают. Испытания продолжают до тех пор, пока машина не остановится в соответствии с программой. Автоматический дозатор ополаскивающего средства на время этих испытаний блокируют. В качестве вспенивающего средства используют 25%-ный (по массе) раствор спиртового этоксилата (тритон DF-12 <3>) в воде. На каждые 8 л воды добавляют 2,5 мл указанного раствора 20 г хлористого натрия.
--------------------------------
<3> Triton DF-12 - торговое название продукта, поставляемого компанией Union Carbide. Данная информация указывается для удобства пользования настоящим стандартом.
Если машина останавливается из-за избытка пены, то испытания прекращают через 1 ч после начала периода ополаскивания.
Каплями раствора, содержащего 0,6 мл ополаскивающего средства, указанного в 15.2 на 1 л дистиллированной воды, окропляют части внутри машины, где может возникнуть утечка жидкости, приводящая к повреждениям электрической изоляции. При этом движущиеся части машины приводят или не приводят в движение, в зависимости от того, какой случай более неблагоприятен.
После этих испытаний осмотр должен показать отсутствие остатков ополаскивающего средства или следов жидкости на обмотках или изоляции, которые могут привести к уменьшению путей утечки ниже значений, указанных в 29.2.
Дополнение:
Части, выдержавшие испытание на старение, указанные в приложении AA, не считают частями, где может происходить утечка.
22.101 Для трехфазных приборов термовыключатели, защищающие цепи нагревательных элементов и электродвигателей, произвольное выключение которых опасно, должны быть с автоматическим выключением без самовозврата и обеспечивать отключение всех полюсов цепи питания.
Для однофазных приборов и однофазных нагревательных элементов и/или электродвигателей, включенных между одной фазой и нейтралью или между фазой и фазой, термовыключатели, защищающие цепи нагревательных элементов и электродвигателей, произвольное выключение которых опасно, должны быть с автоматическим выключением без самовозврата и обеспечивать по меньшей мере однополюсное отключение.
Если термовыключатели без самовозврата доступны только после удаления деталей с помощью инструмента, автоматическое выключение не требуется.
Примечание 1 - Термовыключатели с автоматическим выключением, которые имеют автоматическое включение с повторной установкой приводного элемента, сконструированы так, что автоматическое действие не зависит от производимых манипуляций или положения механизма установки.
Термовыключатели баллонного и капиллярного типов, применяемые при испытаниях по
разделу 19, должны быть такими, чтобы разрыв капиллярной трубки не приводил к несоответствию требованиям
19.13.
Соответствие требованиям проверяют путем осмотра и испытанием вручную путем пережатия капиллярной трубки таким образом, чтобы не произошло закупоривание трубки.
22.102 Сигнальные лампы, предупреждающие об опасных и других подобных ситуациях, а также соответствующие выключатели и кнопки должны быть красного цвета.
Соответствие требованию проверяют путем осмотра.
22.103 Отметка уровня, до которого должна быть наполнена посудомоечная машина, заполняемая вручную, должна быть расположена так, чтобы быть видимой при заполнении.
Соответствие требованию проверяют путем осмотра.
22.104 Переносные посудомоечные машины не должны иметь таких отверстий на нижней поверхности, которые могли бы привести к проникновению малых предметов и касанию их с токоведущими частями.
Соответствие требованию проверяют путем осмотра и измерения расстояния между опорной поверхностью и токоведущими частями при измерении через отверстия. Это расстояние должно быть не менее 6 мм. Однако если машина установлена на ножках, это расстояние увеличивают до 10 мм для настольных машин и до 20 мм для напольных машин.
22.105 Машины должны выдерживать давление воды, которому они могут подвергаться при нормальных условиях работы.
Соответствие требованию проверяют путем подачи в машину, работающую под давлением, питающей воды в течение 5 мин статического давления, равного удвоенной величине максимально допустимого давления питающей воды, указанного изготовителем, или 1 200 кПа (12 бар), в зависимости от того, какое давление окажется больше.
Во время испытания не должно быть протекания из любых частей машины, включая шланг подачи воды.
Давление должно прикладываться к впускному отверстию машины; при этом краны (клапаны) должны находиться в наиболее неблагоприятном положении, возможном при работе машины.
22.106 Машины должны иметь такую конструкцию, чтобы не было опасности возникновения пожара вследствие контакта посуды и приборов, предназначенных для мытья, с нагревательными элементами в период сушки.
Соответствие требованию проверяют следующим испытанием.
Машину устанавливают на щит из неокрашенных сосновых досок, покрытых папиросной бумагой. Полиэтиленовые диски диаметром 80 мм и толщиной 2 мм помещают в наиболее неблагоприятное место, по возможности непосредственно на нагревательный элемент. Папиросная бумага, используемая для испытания, должна иметь плотность 12 - 30 г/м2. Материалом дисков, используемых для испытания, является полиэтилен без красителя и наполнителя, который имеет относительную плотность 0,96 +/- 0,005.
Затем машину включают на период сушки при следующих условиях с включенными нагревательными элементами.
Машину подключают к водопроводу, максимальная жесткость воды составляет (5,0 +/- 2,5) ммоль/л применительно к CaCO3 как при нормальных условиях работы, но без моющих или ополаскивающих средств и посуды.
Машины, снабженные устройствами программного управления, испытывают при наиболее неблагоприятной программе.
Машины без устройства программного управления испытывают непрерывно (цикл за циклом) в соответствии с инструкцией по эксплуатации.
Машина работает при напряжении, равном 1,1 номинального напряжения.
После 1/3 периода сушки или появления дыма или запаха открывают дверцу или крышку.
Во время испытаний пламя, горящие капли или раскаленные частицы не должны распространять огонь на другие части машины или окружающие ее предметы. Любое пламя, кроме возникающего при горении дисков, должно погаснуть в течение 30 с. Не должно быть возгорания папиросной бумаги или обугливания досок.
Примечание - Папиросная бумага - тонкая, мягкая и прочная, плотностью 12 - 30 г/м2, обычно используемая для упаковки хрупких предметов (см. ISO 4046-4:2016 (пункт 4.215)).
22.107 Машины должны иметь такую конструкцию, чтобы исключить возможность контакта нагревательных элементов и горючих материалов внутри машины с любыми контейнерами (кассетами), используемыми в машине, вследствие возникающей из-за нагрева деформации нагревательных элементов, или поддерживающих их деталей, или самих контейнеров. Это требование не применяется к металлическим контейнерам, независимо от того, покрыты они термопластичным материалом или нет.
Соответствие требованию проверяют путем осмотра.
22.108 Машина не должна повторно автоматически запускаться при подключении временно отсоединенного источника питания, если повторный запуск может привести к возникновению опасности, например механической (движущиеся части) или термической (горячие части или жидкости).
Соответствие требованию проверяют следующим испытанием.
Машина работает при номинальном напряжении в соответствии с инструкцией по эксплуатации.
В любое время рабочего цикла источник питания отключают и ждут остановки всех движущихся частей.
Источник питания затем включают снова.
22.109 Для машин, управляемых программируемыми электронными схемами, которые ограничивают количество нагревательных элементов и двигателей от одновременного включения, одновременное включение любой комбинации нагревательных элементов и двигателей не должно делать машину небезопасной.
Соответствие проверяют следующим образом:
- условия неисправности/ошибки, указанные в таблице R.1, применяются и оцениваются в соответствии с соответствующими требованиями приложения R; или
- машина работает в условиях, указанных в разделе 11 при подаче номинального напряжения, при этом программируемые электронные схемы изменяются для одновременной активации всех нагревательных элементов и двигателей, находящихся под их управлением. В этих условиях должно соблюдаться требование 19.13.
Применяют соответствующий раздел части 1 со следующими дополнениями.
23.3 Дополнение:
Если капиллярная трубка терморегулятора подвергается изгибу при нормальных условиях работы, то:
- там, где трубка проложена как часть внутренней проводки, применяют IEC 60335-1;
- там, где трубка проложена отдельно, ее подвергают 1 000 изгибов с частотой не более 30 раз в минуту.
После испытаний трубка не должна иметь следов повреждений, упомянутых в настоящем стандарте, ухудшающих ее дальнейшую эксплуатацию.
Если разрыв трубки приводит к остановке машины, но не создает опасных ситуаций, то капиллярные трубки отдельно на соответствие указанным требованиям не испытывают, а рассматривают их как часть общей внутренней проводки.
Соответствие требованию в этом случае проверяют путем пережатия трубки таким образом, чтобы не произошло закупоривание трубки.
Изменение:
Вместо того чтобы проводить испытание во время работы устройства, оно выполняется, когда устройство отключено от источника питания.
Количество изгибов для проводников, изгибаемых при нормальном использовании, увеличивается до 100 000.
Применяют соответствующий раздел части 1.
25 Присоединение к источнику питания и внешние гибкие шнуры
Применяют соответствующий раздел части 1 со следующими изменениями
25.1 Изменение:
Машины не должны быть снабжены приборным вводом.
25.3 Дополнение:
Закрепленные посудомоечные машины и машины массой более 40 кг без роликов, колес или подобных средств должны иметь такую конструкцию, чтобы шнур питания мог быть присоединен после установки машины в соответствии с руководством по эксплуатации.
Зажимы для постоянного присоединения к стационарной проводке можно также использовать для крепления шнура питания типа X. В этом случае в машине должно быть предусмотрено крепление шнура, соответствующее 25.16.
Если машина обеспечена комплектом зажимов, позволяющих соединение с гибким шнуром, они должны быть пригодны для крепления шнура питания типа X.
В обоих случаях инструкция по эксплуатации должна содержать все данные о шнуре питания.
Шнуры питания встроенных посудомоечных машин могут быть присоединены перед установкой машины.
Соответствие требованиям проверяют путем осмотра.
25.7 Изменение:
Вместо указанных типов шнуров питания применяют следующие:
Шнуры питания маслостойкие в полихлоропреновой оболочке, которые не должны быть легче, чем обычный полихлоропреновый или другой шнур в соответствующем синтетическом эластомере (условное обозначение - 60245 по IEC 57).
26 Зажимы для внешних проводов
Применяют соответствующий раздел части 1.
27 Средства для заземления
Применяют соответствующий раздел части 1 со следующим дополнением.
27.2 Дополнение:
Стационарные машины должны быть снабжены зажимом для присоединения внешнего эквипотенциального провода. Зажим должен иметь надежный электрический контакт со всеми закрепленными, доступными прикосновению металлическими частями машины и обеспечивать возможность присоединения к нему проводника площадью поперечного сечения до 10 мм2. Зажим должен быть расположен в месте, удобном для присоединения к нему проводника после установки машины.
Примечание 101 - Небольшие закрепленные открытые металлические части, например фирменные знаки, заводские таблички и т.п., могут не иметь электрического контакта с зажимом.
Применяют соответствующий раздел части 1.
29 Зазоры, пути утечки и сплошная изоляция
Применяют соответствующий раздел части 1 со следующим дополнением.
Микросреда характеризуется степенью загрязнения 3, а изоляция должна иметь сравнительный индекс трекингостойкости (СИТ) не менее 250, если не защищена или расположена так, что не обеспечивается защита от загрязнения из-за:
- конденсата, образующегося при работе прибора;
- химических веществ, таких как моющее средство или ополаскиватель.
30 Теплостойкость и огнестойкость
Применяют соответствующий раздел части 1 со следующими изменениями.
30.2.1 Изменение:
Испытания проводят раскаленной проволокой при температуре 650 °C.
30.2.2 Не применяется.
Применяют соответствующий раздел части 1.
32 Радиация, токсичность и подобные опасности
Применяют соответствующий раздел части 1.
A - чаша
Рисунок 101 - Аппарат для разбрызгивания
Применяют соответствующие приложения части 1 со следующими дополнениями.
(обязательное)
ОЦЕНКА ПРОГРАММНОГО ОБЕСПЕЧЕНИЯ
R.2.2.5 Изменение:
Для программируемых
электронных цепей с функциями, требующими программного обеспечения, содержащего средства для контроля условий сбоев/ошибок, указанных в таблице R.1 или R.2, определение сбоев/ошибок должно выполняться до снижения соответствия требованиям
разделов 19 и
22.109.
R.2.2.9 Изменение:
Относящиеся к безопасности программное обеспечение и аппаратные средства под его управлением должны инициализироваться и завершать работу до снижения соответствия
разделам 19 и
22.109.
(обязательное)
ИСПЫТАНИЕ НА СТАРЕНИЕ ПЛАСТМАССОВЫХ ДЕТАЛЕЙ
Испытание проводят на резиновой части путем измерения твердости и массы пластмассовых деталей до и после погружения в растворы моющего и ополаскивающего средств при повышенной температуре.
Испытанию подвергают не менее трех образцов, взятых от каждой партии. Методика испытаний - по ISO 1817 со следующими изменениями.
5 Испытательные жидкости
Используют два вида жидкостей:
- одну жидкость получают растворением 6 г моющего средства, указанного в IEC 60436, в 1 л дистиллированной воды;
- другую жидкость получают растворением 0,6 мл ополаскивающего средства, указанного в 15.2, в 1 л дистиллированной воды.
Нужно следить за тем, чтобы общая масса испытываемых образцов не превышала 100 г на каждый литр жидкости, чтобы испытываемые образцы были полностью погружены в жидкость и вся их поверхность подвергалась воздействию жидкости. Во время испытания образцы не должны подвергаться прямому освещению. Не следует одновременно погружать в одну и ту же жидкость образцы различных деталей.
6 Испытуемые образцы
6.4 Кондиционирование
Температура (23 +/- 2) °C и относительная влажность (50 +/- 5)%.
7 Погружение в испытательную жидкость
7.1 Температура
Жидкость нагревают в течение 1 ч с погруженными в нее образцами до температуры
и поддерживают такую температуру. Жидкость обновляют каждые 24 ч и таким же образом нагревают.
Примечание - Чтобы избежать чрезмерного испарения жидкости, используют систему замкнутого контура или аналогичный метод для обновления жидкости.
7.2 Длительность
Испытуемые образцы погружают в раствор на общий период, равный
.
Затем испытываемые образцы сразу погружают в свежий раствор на (45 +/- 15) мин, температура поддерживается на уровне комнатной.
После того как образцы удалены из раствора, их ополаскивают холодной водой с температурой (15 +/- 5) °C, а затем высушивают с помощью фильтровальной бумаги.
8 Процедура
8.2 Изменение массы
Увеличение массы не должно превышать 10% массы, определенной до погружения в раствор.
8.6 Изменение твердости
Применяют микроиспытание на твердость.
Твердость испытуемых образцов не должна изменяться более чем на 8 IRHD. Их поверхность не должна стать липкой, и на ней не должно появиться трещин, видных невооруженным взглядом, или любых других признаков изменения.
(обязательное)
ТРЕБОВАНИЯ ПО ПРЕДОТВРАЩЕНИЮ ОБРАТНОГО СИФОНИРОВАНИЯ
Применяют требования IEC 61770 со следующими дополнениями.
1 Область применения
Заменить первый абзац:
Настоящий стандарт устанавливает требования к подключению электрических посудомоечных машин для предприятий общественного питания к водопроводной сети, имеющей давление воды не более 1 МПа. Требования предназначены для предотвращения обратного сифонирования непитьевой воды в водопроводную сеть и применяют к соединительным шлангам, используемым для соединения таких приборов к водопроводной сети.
Заменить примечание 1 следующим текстом:
Примечание 1 - Не применяется.
3 Термины и определения
3.9 Заменить определение термина следующим:
Уровень непитьевой воды в течение 5 с после закрытия впуска воды для посудомоечной машины периодического действия и ополаскивающего отсека машин с отдельными моющим и ополаскивающим отсеками в течение 2 с после закрытия впуска воды для моющих отсеков.
4 Общие требования
4.1 Дополнение:
Дополнить после первого абзаца:
Другие средства предотвращения попадания непитьевой воды в водопроводные сети могут быть использованы при условии соответствия требованиям настоящего приложения или так, чтобы риск иным образом был очевидно исключен.
4.3 Замена:
Соединительные шланги для подключения машин к водопроводной сети должны входить в комплект поставки машины, кроме тех, где соединители выполнены вне машины и соединительные шланги не содержат электрических деталей.
Соединительные шланги, поставляемые вместе с машиной, должны быть сконструированы таким образом, чтобы по возможности исключить риск затопления.
Соответствие проверяют путем осмотра и испытаниями по разделу 9.
4.4 Не применяется.
8 Динамическое устройство предотвращения противотока
8.1 Дополнение:
Дополнить следующим требованием:
Для
посудомоечных машин периодического действия и отдельных ополаскивающих отсеков точка разветвления между верхним и нижним впускными патрубками (распылительные консоли или насадки) должна быть расположена не менее чем на 40 мм над
максимальным уровнем воды (см.
рисунок BB.101).
1 - электромагнитный клапан; 2 - динамическое
устройство предотвращения противотока; 3 - нагреватель;
4 - ополаскивающая консоль; 5 - обычный сливной
патрубок; 6 - переполнение в ненормальном
режиме работы; 7 - точка разветвления;
A - впускной воздушный клапан; C - критический уровень воды;
M - максимальный уровень воды; N - нормальный уровень воды
Рисунок BB.101 - Устройство для определения
максимального уровня воды для динамического
устройства предотвращения противотока
Перед испытаниями дополнить следующим примечанием:
Примечание - Для испытания в соответствии с приложением A критический уровень воды может быть установлен с использованием шланга-заменителя, имеющего поперечное сечение, равное площади прохода верхнего подвода воды (верхняя распылительная консоль).
Первый абзац испытания заменить следующим текстом:
Соответствие проверяют путем осмотра и проверки динамического устройства предотвращения противотока по 8.2 с последующим испытанием по приложению A.
После третьего абзаца испытаний дополнить следующим текстом:
Для посудомоечных машин периодического действия и отдельных ополаскивающих отсеков условия определения критического уровня воды для испытания указаны в приложении A и на рисунке BB.102.
1 - электромагнитный клапан; 2 - динамическое
устройство предотвращения противотока;
3 - нагреватель; 4 - прозрачная трубка;
A - впускной воздушный клапан;
C - критический уровень воды; V - вакуум
Рисунок BB.102 - Устройство для испытания на обратное
сифонирование для динамических противотоков
(справочное)
СВЕДЕНИЯ О СООТВЕТСТВИИ ССЫЛОЧНЫХ МЕЖДУНАРОДНЫХ СТАНДАРТОВ
МЕЖГОСУДАРСТВЕННЫМ СТАНДАРТАМ
Таблица ДА.1
Обозначение ссылочного международного стандарта | Степень соответствия | Обозначение и наименование соответствующего межгосударственного стандарта |
IEC 60436:2015 | - | |
IEC 61770:2008 | IDT | ГОСТ IEC 61770-2012 "Приборы электрические, присоединяемые к сетям водоснабжения. Предотвращение обратного сифонирования и повреждения соединительных шлангов" |
ISO 1817:2015 | IDT | ГОСТ ISO 1817-2016 "Резина и термоэластопласты. Определение стойкости к воздействию жидкостей" |
<*> Соответствующий межгосударственный стандарт отсутствует. До его принятия рекомендуется использовать перевод на русский язык данного международного стандарта. Примечание - В настоящей таблице использовано следующее условное обозначение степени соответствия стандартов: - IDT - идентичные стандарты. |
--------------------------------
<1> Действует
ГОСТ IEC 60436-2016 "Машины электрические посудомоечные бытового назначения. Методы измерения рабочих характеристик" (IEC 60436:2012).
Применяют библиографию части 1 со следующим дополнением.
Дополнение:
IEC 61010-2-040 | Safety requirements for electrical equipment for measurement, control, and laboratory use - Part 2-040: Particular requirements for sterilizers and washer-disinfectors used to treat medical materials (Безопасность электрических контрольно-измерительных приборов и лабораторного оборудования. Часть 2-040. Дополнительные требования к стерилизаторам и моечным дезинфекторам, применяемым для обработки медицинских материалов) |
ISO 4046-4:2016 | Paper, board, pulps and related terms - Vocabulary - Part 4: Paper and board grades and converted products (Бумага, картон, целлюлоза и относящиеся к ним термины. Словарь. Часть 4. Сорта бумаги и картона и продукты переработки) |
УДК 648.545:006:354 | | IDT |
Ключевые слова: электроприборы бытовые, посудомоечные машины для предприятий общественного питания, требования безопасности, методы испытаний |