Главная // Актуальные документы // ГОСТ (Государственный стандарт)СПРАВКА
Источник публикации
М.: ФГБУ "РСТ", 2022
Примечание к документу
Документ
введен в действие с 01.05.2023.
Взамен ГОСТ EN 1728-2013.
Название документа
"ГОСТ 34880-2022 (EN 1728:2012). Межгосударственный стандарт. Мебель. Мебель для сидения. Методы испытаний для определения прочности и долговечности"
(введен в действие Приказом Росстандарта от 28.09.2022 N 1021-ст)
"ГОСТ 34880-2022 (EN 1728:2012). Межгосударственный стандарт. Мебель. Мебель для сидения. Методы испытаний для определения прочности и долговечности"
(введен в действие Приказом Росстандарта от 28.09.2022 N 1021-ст)
Приказом Федерального агентства
по техническому регулированию
и метрологии
от 28 сентября 2022 г. N 1021-ст
МЕЖГОСУДАРСТВЕННЫЙ СТАНДАРТ
МЕБЕЛЬ
МЕБЕЛЬ ДЛЯ СИДЕНИЯ
МЕТОДЫ ИСПЫТАНИЙ ДЛЯ ОПРЕДЕЛЕНИЯ ПРОЧНОСТИ И ДОЛГОВЕЧНОСТИ
Furniture. Seating. Test methods for the determination
of strength and durability
(EN 1728:2012, Furniture - Seating - Test methods
for the determination of strength and durability, MOD)
ГОСТ 34880-2022
(EN 1728:2012)
Дата введения
1 мая 2023 года
Цели, основные принципы и общие правила проведения работ по межгосударственной стандартизации установлены
ГОСТ 1.0 "Межгосударственная система стандартизации. Основные положения" и
ГОСТ 1.2 "Межгосударственная система стандартизации. Стандарты межгосударственные, правила и рекомендации по межгосударственной стандартизации. Правила разработки, принятия, обновления и отмены"
1 ПОДГОТОВЛЕН Автономной некоммерческой организацией "Центр сертификации и исследований "Метроном" (АНО "ЦСИ "Метроном") на основе собственного перевода на русский язык англоязычной версии стандарта, указанного в
пункте 5
2 ВНЕСЕН Межгосударственным техническим комитетом по стандартизации МТК 135 "Мебель"
3 ПРИНЯТ Межгосударственным советом по стандартизации, метрологии и сертификации (протокол от 31 августа 2022 г. N 153-П)
За принятие проголосовали:
Краткое наименование страны по МК (ИСО 3166) 004-97 | Код страны по МК (ИСО 3166) 004-97 | Сокращенное наименование национального органа по стандартизации |
Армения | AM | ЗАО "Национальный орган по стандартизации и метрологии" Республики Армения |
Беларусь | BY | Госстандарт Республики Беларусь |
Казахстан | KZ | Госстандарт Республики Казахстан |
Киргизия | KG | Кыргызстандарт |
Россия | RU | Росстандарт |
Узбекистан | UZ | Узстандарт |
4 Приказом Федерального агентства по техническому регулированию и метрологии от 28 сентября 2022 г. N 1021-ст межгосударственный стандарт ГОСТ 34880-2022 (EN 1728:2012) введен в действие в качестве национального стандарта Российской Федерации с 1 мая 2023 г.
5 Настоящий стандарт является модифицированным по отношению к европейскому стандарту EN 1728:2012 "Мебель. Мебель для сидения. Методы испытаний для определения прочности и сопротивления при длительной нагрузке" ("Furniture - Seating - Test methods for the determination of strength and durability", MOD) путем внесения изменений и дополнений, объяснение которых приведено во
введении к настоящему стандарту, изменения отдельных фраз (слов, значений показателей, ссылок), которые выделены в тексте курсивом, а также путем изменения его структуры для приведения в соответствие с требованиями, установленными в ГОСТ 1.5 (
подразделы 4.2 и
4.3).
Наименование настоящего стандарта изменено относительно наименования указанного европейского стандарта для приведения в соответствие с ГОСТ 1.5
(подраздел 3.6).
Сравнение структуры настоящего стандарта со структурой указанного европейского стандарта приведено в дополнительном
приложении ДБ
6 ВЗАМЕН ГОСТ EN 1728-2013
Информация о введении в действие (прекращении действия) настоящего стандарта и изменений к нему на территории указанных выше государств публикуется в указателях национальных стандартов, издаваемых в этих государствах, а также в сети Интернет на сайтах соответствующих национальных органов по стандартизации.
В случае пересмотра, изменения или отмены настоящего стандарта соответствующая информация будет опубликована на официальном интернет-сайте Межгосударственного совета по стандартизации, метрологии и сертификации в каталоге "Межгосударственные стандарты"
В настоящий стандарт по отношению к европейскому стандарту EN 1728:2012 внесены следующие изменения:
- исключена не примененная ссылка на международный стандарт ISO 7619-2:2010, соответственно, исключен раздел 2 "Нормативные ссылки";
- по всему тексту стандарта изменены номера пунктов, в связи с исключением раздела 2 "Нормативные ссылки";
- термины и определения приведены в соответствие с требованиями ГОСТ 1.5-2001
(подраздел 3.9), дополнительно приведены термины для однозначного понимания положений настоящего стандарта;
- в
3.1 (первый абзац) внесено уточнение относительно проверки затяжки фурнитуры перед испытаниями;
- в
3.1 конкретизированы условия кондиционирования и проведения испытания;
- в
3.3 уточнено допускаемое отклонение для нагрузочной детали-прокладки для сиденья (см.
рисунок 3);
- в
4.2 и
4.10 требования по твердости применяемой резины приведены в единицах измерения по Шору A;
- в
4.7 добавлено требование толщины нагрузочной детали-прокладки для определенных точек;
- в
4.8 мягкий пенопласт заменен на эластичный пенополиуретан, уточнены его характеристики;
- в
4.9.1 уточнено допускаемое отклонение диаметра цилиндрического тела; в
5.29 и
6.13 уточнено допускаемое отклонение количества циклов в минуту;
- в
5.4 добавлены уточнения в части определения начала опрокидывания;
- в
5.4,
5.5,
5.6,
5.8,
5.9,
5.12,
5.14,
5.15,
5.16,
5.17,
5.18,
5.21,
5.22 добавлена ссылка на
приложение ДА для приведения в соответствие с
ГОСТ 1.5;
- в
5.9 уточнено месторасположение точки приложения нагрузки;
- в
5.10 приведена очередность приложения нагрузок;
- в
5.20 уточнены условия размещения изделия мебели при испытаниях в части фиксирования упорами;
- в
5.27.2 конкретизированы условия проведения испытания на удар при падении штабелируемой мебели для сидения для испытуемого штабеля весом более 20 кг;
- в
6.11 добавлены уточнения в части определения одного цикла испытаний;
- в
7.3 добавлены уточнения направления приложения заданного усилия;
- в стандарт включено рекомендуемое
приложение ДА с целью дополнения основной части стандарта;
Настоящий стандарт устанавливает методы испытаний на прочность и долговечность всех видов мебели для сидения, независимо от применяемых материалов, внешнего вида/конструкции или технологии производства.
Настоящий стандарт не распространяется на детские высокие стульчики, стульчики для кормления с креплением к столу и сиденья для ванн.
В настоящий стандарт не включены методы испытаний для определения старения, ухудшения качественных характеристик, эргономичности и функций электрических комплектующих.
Методы испытаний, установленные в настоящем стандарте, не предназначены для оценки долговечности мягкой набивки и обивочных материалов.
В настоящем стандарте применены следующие термины с соответствующими определениями:
2.1 конструкция: Состав и тип взаимного расположения и соединения конструктивных деталей (элементов) изделия мебели, обеспечивающие заданные параметры прочности, долговечности, комфорта.
2.2 подставка для ног: Дополнительная поверхность, предназначенная для ног, отдельно стоящая или прикрепленная к конструкции мебели для сидения.
2.3 опора для ног (подножка): Конструктивный элемент, прикрепленный к каркасу мебели для сидения, предназначенный для опирания стопы (стоп), помогающий сесть на высокий стул или табурет или спуститься с него.
2.4 рабочий стул: Стул с подлокотниками или без них, используемый взрослым человеком в офисе или в домашнем кабинете (например, при работе на компьютере), верхняя часть которого состоит из сиденья и спинки и поддерживается единой опорной колонной, которая может вращаться в горизонтальной плоскости и регулироваться по высоте.
2.5 спинка стула: Конструктивный элемент, поддерживающий спину пользователя в положении сидя.
2.6
длина подлокотников: Расстояние между вертикальными линиями, проходящими через передний и задний края подлокотника.
2.7
прочность: Свойство материалов, конструкций сопротивляться внешним нагрузкам, не разрушаясь и не получая необратимых деформаций. |
2.8
долговечность: Свойство изделий мебели сохранять жесткость, прочность и работоспособность под воздействием длительных эксплуатационных нагрузок. |
2.9 неблагоприятная комбинация: Один из возможных вариантов сборки или комбинирования изделия мебели, при котором риск несоответствия изделия мебели требованиям прочности и долговечности более высокий по сравнению с другими вариантами сборки или комбинирования.
3 Общие требования к проведению испытаний
3.1 Подготовительные мероприятия
Мебель для сидения подвергают испытаниям в том виде, в каком она была поставлена. Сборно-разборную мебель собирают в соответствии с прилагаемой инструкцией по применению. Если в соответствии с инструкцией по применению допускается собирать или комплектовать мебель в различных комбинациях, при проведении испытания используют наиболее неблагоприятную комбинацию.
Перед испытанием проверяют состояние крепежной фурнитуры для сборно-разборной мебели, при необходимости фурнитуру подтягивают. Последующее подтягивание крепежной фурнитуры не допускается, если только это специально не требуется правилами производителя.
Если изделие мебели для сидения предусматривает крепление к полу или стене, образец для испытаний должен быть закреплен согласно инструкции производителя. Конструкция должна быть достаточно прочной и устойчивой, чтобы исключить возможность ее влияния на результаты испытаний.
Непосредственно перед испытаниями образец должен храниться (кондиционироваться) в помещении не менее трех суток при следующих условиях окружающей среды:
- температура воздуха - от 15 °C до 30 °C;
- относительная влажность воздуха - от 45% до 80%.
Условия проведения контроля и испытаний должны соответствовать следующим климатическим условиям:
- температура окружающей среды - от 15 °C до 30 °C;
- относительная влажность воздуха - от 45% и не более 80%.
Испытания проводят в закрытых помещениях. Если во время испытания климатические условия не соответствуют указанным в настоящем стандарте, то в протоколе испытаний должны быть зафиксированы отклонения от установленных климатических условий.
При проведении испытаний на статическую прочность нагрузку следует прикладывать достаточно медленно, чтобы минимизировать возникновение динамических нагрузок.
При испытаниях на долговечность нагрузки должны прикладываться со скоростью, исключающей возникновение нагрева образца.
Если не указано иное, необходимо прикладывать статические нагрузки в течение (10 +/- 2) с, а нагрузки при испытаниях на долговечность - в течение (2 +/- 1) с.
Нагрузки могут прилагаться с помощью специальных грузов (при расчете применяется соотношение 10 Н = 1 кг).
3.3 Допускаемые отклонения
Если не установлены другие требования к испытательному устройству, необходимо придерживаться следующих отклонений:
- для нагрузок - +/- 5% от номинальной силы;
- для скоростей - +/- 5% от номинальной скорости;
- для массы - +/- 1% от номинальной массы;
- для размеров - +/- 1 мм от номинальных размеров;
- для углов - +/- 2° от номинального угла.
Неуказанные отклонения размеров деталей-прокладок для приложения нагрузок и ударных насадок/пластин должны быть +/- 5 мм,
за исключением нагрузочной детали-прокладки для сиденья (см. рисунок 3).
4 Испытательное оборудование и приспособления для испытаний
Испытательные стенды и устройства не должны допускать деформацию испытуемого объекта, которая является неестественной и не появляется в процессе эксплуатации. Устройство должно перемещаться таким образом, чтобы оно могло повторять деформацию испытуемого объекта во время испытания.
Все нагрузочные детали-прокладки должны вращаться в соответствии с направлением приложенных нагрузок. Узел вращения должен находиться как можно ближе к рабочей поверхности нагрузочной детали-прокладки.
Если нагрузочная деталь-прокладка имеет тенденцию к скольжению, то между нагрузочной деталью-прокладкой и испытуемой поверхностью может быть использован противоскользящий материал
(4.8).
Испытания могут проводиться с помощью любого подходящего устройства, поскольку результаты зависят только от правильного приложения нагрузок, а не от испытательного устройства. Исключением являются испытания на удар с использованием устройств, описанных в
4.9 и
4.10, а также испытания подлокотника на долговечность с использованием устройства, описанного в
4.11.
Нагрузочный шаблон состоит из двух соединенных между собой фасонных деталей в точке вращения на одном резьбовом штоке (см.
рисунок 1).
Масштаб: сторона квадрата соответствует 20 мм
1 - верх шаблона; 2 - задник шаблона; 3 - деталь спинки;
4 - точка приложения нагрузки к поверхности сиденья;
5 - точка приложения нагрузки к спинке; 6 - деталь
поверхности сиденья; 7 - перед шаблона; 8 - низ шаблона
Рисунок 1 - Контур поверхности нагрузочного шаблона
для спинки и сиденья
Контуры фасонных деталей должны быть изготовлены таким образом, чтобы они могли погружаться в мягкую набивку мебели. Масса нагрузочного шаблона с дополнительно приложенным грузом в точке нагружения поверхности сиденья должна составлять

.
Устройство маркируют, как показано на
рисунке 2.
Размеры в миллиметрах
1 - типовой профиль; 2 - отметка для отображения
угла 90°; 3 - прямая кромка для определения наклона сиденья
или спинки; A - точка приложения нагрузки к сиденьям
стульев; B - точка приложения нагрузки к спинке стульев;
C - точка приложения нагрузки к сиденью табуретов
Рисунок 2 - Нагрузочный шаблон
Чтобы можно было легко наложить нагрузочный шаблон с двумя фасонными деталями под углом 90° друг к другу, на детали спинки наносят линию.
4.2 Пол для проведения испытаний
Пол для проведения испытаний должен быть горизонтальным, плоским, с твердой гладкой поверхностью.
Для проведения испытания на удар спинки и подлокотника (
5.25 и
5.26), испытания на удар при падении
(5.27), а также испытания на опрокидывание назад
(5.28) пол должен быть покрыт слоем резины толщиной 2 +/- 1 мм с
твердостью по Шору A 50 -
80.
Упоры - это устройства, препятствующие смещению, но не опрокидыванию испытуемого образца. Упоры должны быть не выше 12 мм, за исключением случаев, когда конструкция испытуемого образца требует использования более высоких стопорных приспособлений (упоров). В таких случаях следует использовать наиболее низкие из имеющихся упоров, препятствующие смещению испытуемого образца.
4.4 Нагрузочная деталь-прокладка для сиденья
Нагрузочная деталь-прокладка для сиденья - это антропоморфно сформированная жесткая упорная деталь с твердой гладкой поверхностью и габаритными размерами, которые находятся в пределах размеров, приведенных на
рисунке 3.
Размеры в миллиметрах
1 - точка приложения нагрузки к поверхности сиденья
Рисунок 3 - Размеры нагрузочной детали-прокладки для сиденья
4.5 Малая нагрузочная деталь-прокладка для сиденья
Малая нагрузочная деталь-прокладка для сиденья - это жесткая деталь округлой формы диаметром 200 мм, рабочая поверхность которой представляет собой выпуклый полукруглый изгиб с радиусом 300 мм и радиусом внешнего края 12 мм (см.
рисунок 4).
Размер в миллиметрах
Рисунок 4 - Малая нагрузочная деталь-прокладка для сиденья
4.6 Нагрузочная деталь-прокладка для спинки
Нагрузочная деталь-прокладка для спинки - это жесткая прямоугольная деталь высотой 200 мм и шириной 250 мм, чья рабочая поверхность по всей ширине нагрузочной детали-прокладки представляет собой выпуклый цилиндрический изгиб с радиусом 450 мм, радиус его внешнего края составляет 12 мм (см.
рисунок 5).
Размеры в миллиметрах
Рисунок 5 - Нагрузочная деталь-прокладка для спинки
4.7 Нагрузочная деталь-прокладка для определенных точек
Нагрузочная деталь-прокладка для определенных точек - это жесткая цилиндрическая деталь толщиной от 5 до 30 мм и диаметром 100 мм, с ровной гладкой рабочей поверхностью и радиусом края 12 мм.
4.8 Вспененный пенополиуретан, используемый в нагрузочных деталях-прокладках
Вспененный пенополиуретан - это эластичный газонаполненный пластик толщиной 25 мм с плотностью от 27 до 30 кг/м3. Пенополиуретан должен быть прикреплен к нажимным деталям-прокладкам или размещен между деталью-прокладкой и испытуемым образцом.
4.9 Устройство для испытания на удар сиденья
Устройство для испытания на удар сиденья изображено на
рисунке 6. Это устройство состоит из нижеуказанных конструктивных элементов.
1 - крепление подъемного устройства, которое
не препятствует свободному падению
Рисунок 6 - Устройство для испытания на удар сиденья
4.9.1 Цилиндрическое тело
Цилиндрическое тело (груз) диаметром 200 +/- 5 мм должно быть отделено от ударной поверхности спирально сжатыми пружинами и свободно перемещаться относительно ударной поверхности по линии, перпендикулярной к центру ударной поверхности. Цилиндрическое тело и его части без пружин должны иметь массу (17 +/- 0,1) кг. Все устройство, включая цилиндрическое тело, пружины и ударную поверхность, должно иметь массу (25 +/- 0,1) кг.
4.9.2 Пружины
Пружины должны быть сконструированы таким образом, чтобы общая система пружин имела коэффициент упругости (7 +/- 2) Н/мм, а полное сопротивление трению движущихся частей было менее 1 Н.
Система пружин должна быть сжата до начальной нагрузки, равной (1040 +/- 5) Н (измеряется статически). Величина хода сжатой пружины от точки первоначального сжатия до точки, где пружины полностью сжаты, должна быть не менее 60 мм.
4.9.3 Ударная поверхность
Тело с ударной поверхностью должно быть выполнено в виде жесткого круглого предмета диаметром 200 мм. Ударная поверхность должна иметь выпуклую сферическую кривизну с радиусом 300 мм и радиус закругления кромки 12 мм.
Ударный молоток состоит из цилиндрической маятниковой головки массой 6,5 кг, которая соединена шарнирным подшипником с маятниковым рычагом, выполненным из стальной трубы диаметром 38 мм и толщиной стенки 2 мм.
Маятниковый рычаг должен быть оснащен шарнирным подшипником с низким коэффициентом трения (см.
рисунок 7).
Размеры в миллиметрах
1 - маятниковая головка массой 6,4 кг; 2 - слой древесины
твердых пород; 3 - слой резины с твердостью по Шору A
50 - 80; 4 - маятниковый рычаг длиной 950 мм
[стальная трубка диаметром 38 x 2, масса (2 +/- 0,2) кг];
5 - точка вращения
Общая масса собранного устройства
составляет 1 + 2 + 3 = (6,5 +/- 0,07) кг
Рисунок 7 - Ударный молоток
4.11 Устройство для испытания подлокотников на долговечность
Для испытания подлокотников на долговечность используют устройство, которое способно одновременно прикладывать циклическую нагрузку к обоим подлокотникам мебели для сидения.
Устройство для приложения нагрузки к подлокотникам показано на
рисунке 8.
Размер в миллиметрах
F - сила
Рисунок 8 - Устройство для испытания подлокотников
на долговечность
Устройство должно прикладывать нагрузки под разными углами по отношению к вертикали. Оно должно регулироваться как по вертикали, так и по горизонтали и закрепляться, как указано в
5.20. Устройство должно быть в состоянии без сопротивления повторять деформационные изменения подлокотников посредством приложения силы. Длина нагрузочной детали-прокладки должна составлять 100 мм, причем нагрузка должна действовать в центре ее длины.
Пример нагрузочной детали-прокладки для подлокотников приведен в приложении B.
4.12 Поверхность для испытания опор качения
Поверхность для испытания опор качения должна быть ровной, гладкой и жесткой. При необходимости ее покрывают слоем из стали.
Испытательные грузы для проведения испытания на удар при падении состоят из дисков массой по 10 кг каждый, диаметром 350 мм и толщиной 48 мм.
5 Методы испытаний мебели для сидения, кроме рабочих стульев
5.1 Общие положения
Если не указано иное, испытания проводят на той конфигурации конструктивных элементов, которая может быть повреждена с наибольшей степенью вероятности.
Если испытание не может быть выполнено в соответствии с требованиями настоящего стандарта, например, по той причине, что нагрузочная деталь-прокладка не может быть использована для приложения нагрузки из-за особенностей конструкции изделия, то оно должно быть выполнено по процедурам, соответствующим требованиям настоящего стандарта.
При испытаниях, кроме испытания, описанного в
5.13, между нагрузочной деталью-прокладкой и изделием мебели укладывают слой пенополиуретана
(4.8).
5.2 Определение точек приложения нагрузки к сиденью и спинке
5.2.1 Общие положения
Точки приложения нагрузки к сиденью и спинке определяют, используя нагрузочный шаблон
(4.1), как указано в
5.2.2 или
5.2.3.
В некоторых случаях точки приложения нагрузки с помощью шаблона не могут быть определены. В таких случаях точка приложения нагрузки к сиденью должна находиться на расстоянии 175 мм от места пересечения кромок сиденья и спинки или в точке, ближайшей к ней, которая может быть использована в качестве точки приложения нагрузки.
Если конструкция изделия мебели не позволяет прикладывать нагрузку к спинке в точке, определенной по вышеупомянутому методу, то нагрузку прикладывают в ближайшей возможной точке (вверху и внизу спинки). При этом момент изгиба (усилие, приложенное на спинку, N x на расстояние между точками приложения нагрузки к сиденью и спинке, в метрах) должен оставаться постоянным.
Если количество сидячих мест невозможно определить, то общую длину сиденья делят на 600 мм и округляют до ближайшего целого числа. Все сидячие места должны быть одинаковой длины.
5.2.2 Мебель для сидения со спинкой
В изделиях мебели для сидения с регулируемыми спинками спинка должна находиться в максимально вертикальном положении.
Нагрузочный шаблон
(4.1) располагают как можно ближе к задней части сиденья так, чтобы угол между деталями сиденья и спинки составлял 90°.
Для изделий мебели с мягкой обивкой или для гибкой мебели положение шаблона регулируют путем вдавливания в спинку таким образом, чтобы он полностью соприкасался со спинкой изделия, по возможности совмещая контур детали сиденья с формой сиденья [см.
рисунок 9a)].
Для жестких изделий мебели положение шаблона регулируют также путем вдавливая шаблона в спинку изделия мебели таким образом, чтобы он полностью соприкасался со спинкой изделия мебели, но при этом точка A шаблона находилась на поверхности сиденья [см.
рисунок 9b)].
a) Изделие мебели с мягкой обивкой/гибкая мебель со спинкой
b) Жесткое изделие мебели для сиденья со спинкой
c) Изделие мебели без спинки/табурет
A - точка приложения нагрузки к сиденью - мебель
для сидения со спинкой; B - точка приложения нагрузки
к спинке; C - точка приложения нагрузки
к сиденью - мебель для сидения без спинки
Рисунок 9 - Определение точки приложения нагрузки
к поверхности сиденья и спинке
В тех случаях, когда шаблон может размещаться в разных положениях, используют положение с наименьшим углом между деталями сиденья и спинки, но не менее 90°. Точки приложения нагрузки отмечают с помощью шаблона. Если мебель для сидения имеет несколько посадочных мест, эту процедуру повторяют для всех мест.
5.2.3 Мебель для сидения без спинки
Нагрузочный шаблон
(4.1) устанавливают в положение под углом в 90° с помощью точки C (см.
рисунок 2). Затем его располагают на сиденье [см.
рисунок 9c)].
Необходимые точки приложения нагрузки отмечают с помощью нагрузочного шаблона.
5.3 Определение угла наклона спинки
Измеряют угол наклона спинки по отношению к горизонтали

с помощью наклонного положения прямого края соответствующей детали шаблона, если она наложена в правильном положении (см.
рисунок 10), определяют точки приложения нагрузки к сиденью.
Рисунок 10 - Определение угла наклона спинки
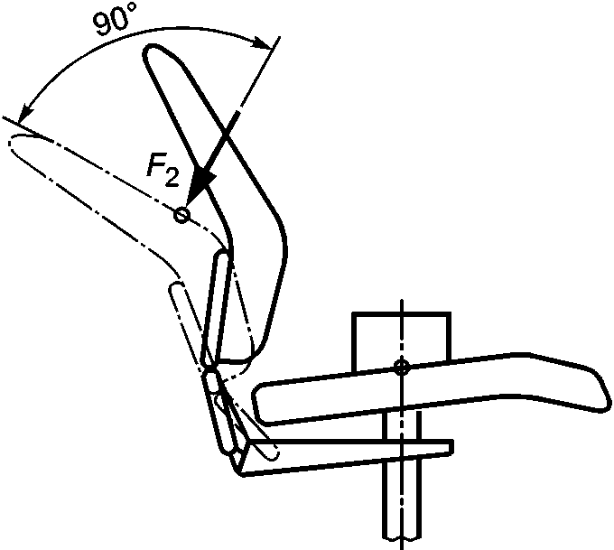
5.4 Испытание сиденья и спинки статической нагрузкой
К испытуемому образцу без спинки прикладывают только вертикальную статическую нагрузку к поверхности сиденья.
Испытание проводят:
a) на одном сиденье, если это сиденье для одного человека;
b) одновременно на двух сиденьях, если изделие мебели имеет два посадочных места;
c) одновременно на двух смежных сиденьях в самой неблагоприятной комбинации для мебели с тремя и большим количеством посадочных мест. Если неблагоприятная комбинация не может быть определена, испытание проводят как минимум в двух положениях.
Во время проведения испытания к сиденью(ям), не участвующему(им) в испытании, прикладывают заданную нагрузку для деталей, не подлежащих испытанию, в соответствующей точке приложения нагрузки к поверхности сиденья.
Мебель для сидения с жесткой спинкой и мебель для сидения с механизмом регулировки наклона без фиксатора испытывают в соответствии с установленным количеством циклов испытаний.
Для сидений с качающимся каркасом, снабженным пружинами, или механизмом качания с натяжным устройством натяжение должно быть отрегулировано на максимальное значение.
Сиденья с механизмами регулировки наклона, которые могут быть установлены в жестких или заблокированных положениях, испытывают в максимально приближенном к вертикали положении в первой половине циклов испытаний и в самой неблагоприятной наклонной комбинации во второй половине циклов испытаний.
Примечание - Самой неблагоприятной комбинацией обычно считается положение на 10° выше полностью наклонного положения с бесступенчатым регулированием или положение выше полностью наклонного положения для спинок, регулируемых поэтапно.
Смещение испытуемого образца назад предотвращают, устанавливая стопорные приспособления или упоры
(4.3) позади задних ножек или задних опор качения (см.
рисунок 11).
a) Стул
b) Табурет
Рисунок 11 - Испытание сиденья и спинки
статической нагрузкой
Нагрузочную деталь-прокладку для сиденья
(4.4) размещают в точке приложения нагрузки к сиденью(ям) с учетом точек приложения нагрузки, установленных с помощью нагрузочного шаблона
(4.1).
Если у испытуемого образца есть спинка, то центры нагрузочной детали-прокладки (деталей-прокладок) для спинки
(4.6) размещают либо в точке приложения нагрузки к спинке, определенной с помощью нагрузочного шаблона, или на расстоянии 100 мм ниже верхнего края спинки, в зависимости от того, какая точка расположена ниже.
Все регулируемые спинки должны быть приведены в неблагоприятную комбинацию.
Угол наклона спинки
(5.3) измеряют в градусах.
Направленное вниз усилие
F1 (определенное в соответствии с
таблицей 1) прикладывают к сиденью посредством нагрузочной детали-прокладки
(4.4) [см.
рисунок 9.a),
b),
c)].
Таблица 1
Определение усилий на сиденье и спинку
Угол наклона спинки  | Сила, прикладываемая к сиденью F1, Н | Сила, прикладываемая к спинке F2, Н |
Спинка с углом наклона по отношению к горизонтали 70° и более | Заданное значение усилия, прикладываемого к поверхности сиденья (Fзад СИД) | Заданное значение усилия, прикладываемого к спинке (Fзад СП) |
Спинка с углом наклона по отношению к горизонтали менее 70°, но не менее 55° | | |
Спинка с углом наклона по отношению к горизонтали менее 55° | 0,75·Fзад СИД | |
Продолжая прикладывать усилие к сиденью, прикладывают усилие к спинке
F2 (определенное в соответствии с
таблицей 1) с помощью нагрузочной детали-прокладки для спинки
(4.6). При нагрузках в
соответствии с таблицей 1 усилие, прикладываемое к спинке, должно воздействовать на поверхность спинки под углом (90 +/- 10)°.
Если испытуемый образец имеет тенденцию к опрокидыванию, то усилие F2 уменьшают до величины, достаточной для предотвращения опрокидывания изделия мебели. Усилие F2 нельзя уменьшить ниже величины установленного минимального усилия. Если испытуемый образец и при таком усилии имеет тенденцию к опрокидыванию, то усилие F1 увеличивают до тех пор, пока тенденция к опрокидыванию не будет проявляться.
Примечание - Началом опрокидывания изделия следует считать момент отрыва ножек (опор) от пола со стороны, противоположной приложению к нему нагрузки.
Приложенные усилия регистрируют в протоколе испытаний.
Рекомендуемая форма протокола испытаний приведена в приложении ДА.
Убирают усилие F2, а затем усилие F1. Эти действия составляют цикл.
Усилие F1 поддерживают все время, пока прикладывают усилие
F2 (см.
3.2).
При отсутствии возможности проведения вышеописанного порядка испытаний аналогичный результат можно получить, испытывая сначала сиденье, а затем спинку с размещенной на сиденье статической нагрузкой, равной F1.
5.5 Испытание переднего края сиденья статической нагрузкой
Заданное усилие прикладывают с помощью нагрузочной детали-прокладки для сиденья
(4.4) в точке на линии, проходящей через центр сиденья, на расстоянии 100 мм от переднего края конструкции.
Для мебели с несколькими посадочными местами испытание на статическую нагрузку переднего края сиденья проводят на тех же посадочных местах, которые подвергались испытаниям на статическую нагрузку сиденья и спинки
(5.4). Во время испытания сиденья, не участвующие в испытании, нагружают заданной нагрузкой для деталей, не подлежащих испытанию, в точке приложения нагрузки к поверхности сиденья.
Если мебель для сидения имеет тенденцию к опрокидыванию, то усилия, приложенные к переднему краю сиденья, снижают до величины, достаточной для предотвращения опрокидывания изделия мебели.
Приложенные усилия регистрируют в протоколе испытаний.
Рекомендуемая форма протокола испытаний приведена в приложении ДА.
5.6 Испытание спинки вертикальной нагрузкой
Заданное усилие прикладывают в точке приложения нагрузки к поверхности сиденья и сохраняют его на протяжении всего испытания.
Заданное направленное вниз статическое усилие прикладывают к верхнему краю спинки или к центральной линии спинки. Нагрузка должна быть приложена с помощью нагрузочной детали-прокладки для сиденья
(4.4). Если не представляется возможным использовать обычную нагрузочную деталь-прокладку для сиденья, то используют малую нагрузочную деталь-прокладку
(4.5).
Для мебели с несколькими посадочными местами статическую нагрузку, направленную вниз, прикладывают одновременно ко всем посадочным местам, которые подвергались испытаниям статической нагрузкой сиденья и спинки по
(5.4). Во время испытания к сиденьям, не участвующим в испытании, прикладывают заданную нагрузку для деталей, не подлежащих испытанию, в точке приложения нагрузки к поверхности сиденья.
Если мебель для сидения имеет тенденцию к опрокидыванию, статические нагрузки, приложенные к спинке, направленные вниз, снижают до величины, достаточной для предотвращения опрокидывания изделия мебели.
Приложенные усилия регистрируют в протоколе испытаний.
Рекомендуемая форма протокола испытаний приведена в приложении ДА.
5.7 Испытание спинки статической нагрузкой, направленной вперед
Данное испытание применяют только к мебели для сидения, прикрепленной к полу.
Заданное горизонтальное статическое усилие прикладывают к спинке в точке, расположенной на расстоянии 50 мм ниже центра верхнего края спинки. Усилие прикладывают с помощью малой нагрузочной детали-прокладки для сиденья
(4.5) (см.
рисунок 12).
Рисунок 12 - Испытание спинки
статической нагрузкой, направленной вперед
Для мебели для сидения с несколькими посадочными местами статическое усилие, направленное вперед, прикладывают одновременно ко всем посадочным местам, которые подвергались испытаниям статической нагрузкой сиденья
и спинки (5.4).
5.8 Испытание опоры для ног (подножки) статической нагрузкой
Заданное направленное вниз усилие прикладывают в точке приложения нагрузки к сиденью.
С помощью нагрузочной детали-прокладки для определенных точек
(4.7) прикладывают вертикальное усилие в точке, расположенной на расстоянии 80 мм от переднего края несущей конструкции, в которой вероятнее всего может произойти повреждение. Если опора для ног имеет форму отрезка кольца, то усилие прикладывают через центр отрезка кольца.
Если испытуемый образец имеет тенденцию к опрокидыванию, то нагрузку на сиденье увеличивают до величины, достаточной для предотвращения опрокидывания изделия мебели.
Примененную нагрузку регистрируют в протоколе испытаний.
Рекомендуемая форма протокола испытаний приведена в приложении ДА.
5.9 Испытание подставки для ног статической нагрузкой
Это испытание применимо только к подставкам для ног, предназначенным для поддержки общего веса пользователя.
Заданное направленное вниз усилие прикладывают в точке приложения нагрузки к сиденью.
С помощь нагрузочной детали-прокладки
(4.4) прикладывают заданное усилие установленной величины в точке, удаленной на расстояние 100 мм от края
несущей конструкции, в которой вероятнее всего может произойти повреждение.
Если испытуемый образец имеет тенденцию к опрокидыванию, нагрузку на сиденье увеличивают до величины, достаточной для предотвращения опрокидывания изделия мебели.
Примененную нагрузку регистрируют в протоколе испытаний.
Рекомендуемая форма протокола испытаний приведена в приложении ДА.
5.10 Испытание подлокотников статической нагрузкой, прикладываемой в боковом направлении
Если у мебели для сидения имеется один подлокотник, то заданное усилие прикладывают в боковом направлении к самой "слабой" точке подлокотника испытуемого образца, расположенной на расстоянии не менее чем 100 мм от любого края подлокотника. Усилие прикладывают с помощью нагрузочной детали-прокладки для определенных точек
(4.7).
Если испытуемый образец имеет тенденцию к опрокидыванию, то к стороне сиденья, не находящейся под статической нагрузкой, прикладывают достаточно большую компенсационную нагрузку, чтобы предотвратить опрокидывание испытуемого образца в случае прикладывания нагрузки на максимальную величину.
Если у мебели для сидения есть два подлокотника, то усилие, направленное в боковом направлении, прикладывают в самой "слабой" точке подлокотников испытуемого образца, расположенной на расстоянии не менее чем 100 мм от любого края подлокотника (см.
рисунок 13).
Статическая нагрузка на подлокотники, прикладываемая в боковом направлении, может прикладываться одновременно как к двум подлокотникам, так и поочередно, сначала к одному подлокотнику, затем к другому. Усилия прикладывают с помощью нагрузочной детали-прокладки для определенных точек
(4.7).
Рисунок 13 - Испытание подлокотников статической
нагрузкой, прикладываемой в боковом направлении
Если у мебели для сидения есть три или более подлокотников, испытание проводят соответственно на двух соседних подлокотниках. Испытывают все конструкции подлокотников.
5.11 Испытание подлокотников статической нагрузкой, направленной вниз
Если у мебели для сидения есть только один или два подлокотника, расстояние между центрами которых составляет более 1000 мм, то вертикальное усилие установленной величины прикладывают в самой "слабой" точке подлокотника (см.
рисунок 14), но на расстоянии не менее 100 мм от любого края подлокотников.
1 - компенсационная нагрузка
Рисунок 14 - Испытание подлокотников
статической нагрузкой, направленной вниз
Если испытуемый образец имеет тенденцию к опрокидыванию, то к стороне сиденья, не находящейся под статической нагрузкой, прикладывают достаточно большую компенсационную нагрузку, чтобы предотвратить опрокидывание испытуемого образца в случае прикладывания нагрузки максимальной величины.
Если у мебели для сидения есть два подлокотника, расстояние между центрами которых составляет 1000 мм или меньше, то направленное вниз усилие установленной величины прикладывают одновременно в самых "слабых" точках подлокотников, но на расстоянии не менее 100 мм от любого края подлокотников.
Если у мебели для сидения есть три или более подлокотников, испытание проводят соответственно на двух соседних подлокотниках. Испытывают все конструкции подлокотников.
К подлокотнику прикладывают усилие с помощью малой нагрузочной детали-прокладки
(4.5) или нагрузочной детали-прокладки для определенных точек
(4.7).
5.12 Испытание подголовника статической нагрузкой
Смещение испытуемого образца назад предотвращают, устанавливая стопорные приспособления или упоры позади задних ножек или задних опор качения.
Изделия мебели для сидения с механизмами для регулировки угла наклона, которые могут быть установлены в жестких или заблокированных положениях, должны быть приведены в максимально вертикальное положение.
Регулируемые подголовники устанавливают в самое высокое положение.
Заданное направленное назад усилие прикладывают в центральной точке подголовника. Усилие прикладывают с помощью нагрузочной детали-прокладки для определенных точек
(4.7). Усилие должно воздействовать под углом (90 +/- 10)° к плоскости подголовника.
Если мебель для сидения имеет тенденцию к опрокидыванию, то нагрузку на сиденье увеличивают до величины, достаточной для предотвращения опрокидывания изделия мебели.
Дополнительную нагрузку регистрируют в протоколе испытаний.
Рекомендуемая форма протокола испытаний приведена в приложении ДА.
5.13 Испытание подлокотников статической нагрузкой, направленной вертикально вверх
5.13.1 Мебель для сидения, которую можно приподнять в процессе использования
Испытанию подвергаются только те изделия мебели для сидения, которые можно перемещать путем поднятия за подлокотники в процессе использования.
Нагрузку на сиденье прикладывают в точке приложения усилия на сиденье.
По линии центра тяжести одновременно к двум подлокотникам плавно прикладывают усилие, направленное вертикально вверх. Величина усилия должна быть достаточной для того, чтобы приподнять изделие мебели для сидения с размещенным грузом. Затем изделие мебели для сидения плавно опускают на пол.
5.13.2 Штабелируемая мебель для сидения
Это испытание применимо только к таким изделиям мебели для сидения, которые, находясь в штабеле, приводятся в движение поднятием за подлокотники. Как правило, это испытание не применяется, если производитель предоставляет вспомогательное оборудование для приведения в движение изделий мебели для сидения или если инструкции по применению содержат указания по приведению в движение штабелированных изделий мебели для сидения, не приподнимая их за подлокотники.
Нагрузку на сиденье прикладывают в точке приложения усилия на сиденье.
По линии центра тяжести одновременно к двум подлокотникам плавно прикладывают усилие, направленное вертикально вверх. Величина усилия должна быть достаточной для того, чтобы приподнять изделие мебели для сидения с размещенным грузом. Затем изделие мебели для сидения плавно опускают на пол.
5.14 Испытание встроенной поверхности для письма вертикальной статической нагрузкой
Заданную нагрузку прикладывают в точке приложения усилия на сиденье.
Заданное усилие, направленное вниз, прикладывают с помощью нагрузочной детали-прокладки для определенных точек
(4.7) в точке, наиболее удаленной от опор, но на расстоянии не менее чем 100 мм от краев.
Если испытуемый образец имеет тенденцию к опрокидыванию, нагрузку на сиденье увеличивают до величины, достаточной для предотвращения опрокидывания изделия мебели.
Дополнительную нагрузку регистрируют в протоколе испытаний.
Рекомендуемая форма протокола испытаний приведена в приложении ДА.
5.15 Испытание ножек статической нагрузкой, направленной вперед
Смещение испытуемого образца предотвращают посредством упоров (стопорных устройств)
(4.3), прикрепленных к передним ножкам.
Заданную для сиденья нагрузку прикладывают к сиденью в точке, определенной с помощью нагрузочного шаблона
(4.1), в любом положении изделия, пригодном для сидения.
К изделиям мебели с одним сиденьем горизонтальное усилие прикладывают с помощью нагрузочной детали-прокладки для определенных точек
(4.7) по центру на задней стороне сиденья, воздействуя вперед и на высоте сиденья [см.
рисунок 15a)].
К изделиям мебели с несколькими сиденьями горизонтальное усилие прикладывают с помощью нагрузочной детали-прокладки для определенных точек
(4.7) по центру на задней стороне самого неудобного сиденья, воздействуя вперед и на высоте сиденья. При испытании изделия мебели на трех ножках одна ножка должна быть на центральной линии от передней и задней сторон, а еще одна ножка должна иметь упор (стопорное устройство) [см.
рисунок 15b)].
a) Стул с четырьмя ножками
Рисунок 15 - Пример испытания ножек
статической нагрузкой, направленной вперед
Если испытуемый образец имеет тенденцию к опрокидыванию до того момента, когда будет достигнуто заданное усилие, то усилие уменьшают до величины, достаточной для предотвращения опрокидывания изделия мебели вперед. Оно не должно быть менее установленного минимального усилия.
Приложенное усилие регистрируют в протоколе испытаний.
Рекомендуемая форма протокола испытаний приведена в приложении ДА.
5.16 Испытание ножек под действием боковой статической нагрузки
Во избежание смещения необходимо снабдить одну переднюю или одну заднюю ножку изделия мебели для сидения упорами (стопорными приспособлениями)
(4.3).
Заданную вертикальную нагрузку на поверхность сиденья прикладывают в определенном месте сиденья, но на расстоянии не более чем 150 мм от ненагруженного края испытуемого образца.
Горизонтальное усилие прикладывают в боковом направлении на высоте сиденья. Оно воздействует на стороне испытуемого образца, на которой ножки не зафиксированы, в направлении стороны, на которой ножки имеют упоры (см.
рисунок 16).
Рисунок 16 - Пример испытания ножек
под действием боковой статической нагрузки
Если у изделия мебели для сидения есть только три ножки, то одна ножка должна быть расположена на средней линии от передней и задней сторон, а еще одна ножка должна иметь упоры.
Если испытуемый образец имеет тенденцию к опрокидыванию, когда вертикальная нагрузка на поверхность сиденья прикладывается в самой дальней точке от ненагруженного края, то горизонтальную нагрузку уменьшают до величины, достаточной для предотвращения опрокидывания изделия вбок. Данная нагрузка не должна быть меньше установленного минимального усилия.
Приложенное усилие регистрируют в протоколе испытаний.
Рекомендуемая форма протокола испытаний приведена в приложении ДА.
5.17 Комбинированное испытание на долговечность сиденья и спинки
На испытуемых образцах без спинки вертикальное статическое усилие прикладывают только к сиденью.
Испытание проводят в тех же местах, что и при испытании сиденья статической нагрузкой
(5.4).
Во время испытания сиденья, не участвующие в испытании, нагружают заданной нагрузкой для деталей, не подлежащих испытанию, в точке приложения нагрузки к поверхности сиденья.
Мебель для сидения с жесткой спинкой и мебель для сидения с механизмом, не фиксирующим угол наклона, испытывают в соответствии с установленным количеством циклов.
Для сидений с качающимся каркасом, снабженным пружинами, или механизмом качания с натяжным устройством натяжение должно быть отрегулировано на максимальное значение.
Сиденья с механизмами регулировки наклона, которые могут быть установлены в жестких или заблокированных положениях, испытывают в первой половине циклов испытаний в максимально приближенном к вертикали положении и в самой неблагоприятной наклонной комбинации во второй половине циклов испытаний.
Примечание - Самой неблагоприятной комбинацией обычно считается положение на 10° выше полностью наклонного положения с бесступенчатым регулированием или положение выше полностью наклонного положения для спинок, регулируемых поэтапно.
Смещение испытуемого образца назад предотвращают, устанавливая стопорные приспособления или упоры
(4.3) позади задних ножек или задних опор качения (см.
рисунок 17).
a) Стул
b) Табурет
Рисунок 17 - Испытание сиденья и спинки на долговечность
Нагрузочную деталь-прокладку для сиденья
(4.4) размещают в точке(ах) приложения нагрузки к сиденью(ям), определенной(ых) с помощью нагрузочного шаблона
(4.1).
Если у испытуемого образца есть спинка, то центры нагрузочной детали-прокладки (деталей-прокладок) для спинки
(4.6) размещают либо в точке приложения нагрузки к спинке, определенной с помощью нагрузочного шаблона, или же на расстоянии 100 мм ниже верхнего края спинки, в зависимости от того, какая точка расположена ниже.
Все регулируемые спинки должны быть приведены в неблагоприятную комбинацию.
Угол наклона спинки
(5.3) измеряют в градусах.
Направленное вниз усилие
F3 (определенное в соответствии с
таблицей 2) прикладывают к сиденью
(4.4) посредством нагрузочной детали-прокладки в точках приложения нагрузки [см.
5.4,
рисунок 9a),
b),
c)].
Таблица 2
Определение усилия на сиденье и спинку
Угол наклона спинки  | Сила, прикладываемая к сиденью F3, Н | Сила, прикладываемая к спинке F4, Н |
Спинка с углом наклона по отношению к горизонтали 70° и более | Заданное значение усилия, прикладываемого к поверхности сиденья (Fзад СИД) | Заданное значение усилия, прикладываемого к спинке (Fзад СП) |
Спинка с углом наклона по отношению к горизонтали менее 70°, но не менее 55° | | |
Спинка с углом наклона по отношению к горизонтали менее 55° | 0,75·Fзад СИД | |
Продолжая прикладывать усилие к сиденью, прикладывают усилие к спинке
F4 (определенное в соответствии с
таблицей 2) с помощью нагрузочной детали-прокладки. При нагрузках, приложенных в полной мере, усилие, прикладываемое к спинке, должно воздействовать на поверхность спинки под углом (90 +/- 10)°.
Если испытуемый образец имеет тенденцию к опрокидыванию, усилие F4 уменьшают до величины, достаточной для предотвращения опрокидывания изделия мебели. Усилие F4 нельзя уменьшить ниже величины установленного минимального усилия. Если испытуемый образец и при таком усилии имеет тенденцию к опрокидыванию, то усилие F3 увеличивают до тех пор, пока тенденция к опрокидыванию не будет проявляться.
Приложенные усилия регистрируют в протоколе испытаний.
Рекомендуемая форма протокола испытаний приведена в приложении ДА.
Убирают усилие F4, а затем усилие F3. Эти действия составляют цикл.
Усилие
F3 поддерживают все время, пока прикладывают усилие
F4 (см.
3.2).
При отсутствии возможности проведения вышеописанного порядка испытаний, аналогичный результат можно получить, испытывая сначала сиденье, а затем спинку с размещенной на сиденье статической нагрузкой, равной F3.
5.18 Испытание на долговечность переднего края сиденья
Испытуемый образец фиксируют с помощью упоров (стопорных устройств)
(4.3).
Вертикальное усилие прикладывают с помощью малой нагрузочной детали-прокладки
(4.5) попеременно в двух точках, каждая из которых расположена на расстоянии 100 мм от переднего края конструкции сиденья и как можно ближе к соответствующей стороне испытуемого образца, но не менее чем 100 мм от краев. Приложение установленной нагрузки в каждой точке составляет цикл.
Примечание - В отдельных случаях может быть целесообразным приложение усилия с помощью нагрузочной детали-прокладки для определенных точек
(4.7).
Для изделий мебели для сидения, для которых невозможно приложить усилие в двух точках, прикладывают усилие на продольной оси в точке, находящейся на расстоянии 100 мм от переднего края. За один цикл прикладывают усилие 2 раза.
На
рисунке 18 представлен пример мебели для сидения с одной точкой приложения нагрузки.
Размер в миллиметрах
Рисунок 18 - Пример изделия мебели для сидения,
для которого достаточно одной точки приложения нагрузки
Для изделий мебели с несколькими сиденьями испытание на долговечность переднего края сиденья, как описано выше, проводят на крайнем сиденье. Испытание повторяют с одиночной вертикальной нагрузкой на среднее сиденье так же, как и при испытании статической нагрузкой.
Если испытуемый образец имеет тенденцию к опрокидыванию, то усилие уменьшают до величины, достаточной для предотвращения опрокидывания изделия мебели.
Приложенное усилие регистрируют в протоколе испытаний.
Рекомендуемая форма протокола испытаний приведена в приложении ДА.
5.19 Испытание на долговечность мебели для сидения с регулируемой спинкой
Испытание распространяется только на мебель для сидения с тремя или более регулируемыми вручную положениями спинки.
Мебель для сидения приводят в обычное положение, при этом спинка должна быть в наиболее неблагоприятной комбинации. Если наиболее неблагоприятная комбинация не может быть определена, испытание выполняют в средней комбинации. Смещение назад испытуемого образца предотвращают с помощью упоров (стопорных устройств), которые прикрепляют за задними ножками или опорами качения.
Установленную нагрузку прикладывают в точке приложения нагрузки на сиденье.
Высота точек приложения нагрузки к спинке должна находиться на 100 мм выше точки приложения нагрузки к спинке
(5.2). Они должны находиться на расстоянии 50 мм от правого и левого наружных краев спинки.
Усилие прикладывают попеременно в направлении вертикально назад.
Испытание проводят в соответствии с установленным количеством циклов.
1 цикл = 1 приложение усилия с правой стороны и 1 приложение усилия с левой стороны.
Примечание - Это испытание часто применяют для испытания шезлонгов, используемых на открытом воздухе.
5.20 Испытание на долговечность подлокотников
Мебель для сидения размещают на испытательную опорную поверхность и
фиксируют от перемещений во всех направлениях с помощью упоров (стопорных устройств) (4.3). Испытательные нагрузки создают одновременно на каждом подлокотнике в точке, где наиболее вероятно возникновение неисправности. Точка должна располагаться на расстоянии не менее чем 100 мм от переднего или заднего краев по длине подлокотника (см.
2.6) и по осевой линии ширины подлокотника, но не более чем 100 мм от внутреннего края подлокотника.
Устройство, приведенное в
4.11, регулируют таким образом, чтобы оно без нагрузки находилось по отношению к вертикали под углом (10 +/- 1)°, а расстояние между подшипником скольжения и горизонтальной поверхностью нагрузочной детали-прокладки для подлокотников составляло (600 +/- 10) мм. С помощью отрегулированного таким образом устройства прикладывают установленную нагрузку в ходе необходимого количества циклов испытаний - для объектов с одним сиденьем к обоим подлокотникам одновременно, а для объектов с несколькими сиденьями нагрузку прикладывают к одному подлокотнику.
5.21 Испытание на долговечность опоры для ног (подножки)
Заданную нагрузку, направленную вниз, прикладывают в точке приложения нагрузки к сиденью.
С помощью нагрузочной детали-прокладки для определенных точек
(4.7) прикладывают вертикальную нагрузку на расстоянии 80 мм от переднего края подножки в точках, которые наиболее вероятно могут стать причиной поломки. Если подножка имеет круглую, кольцеобразную форму, то нагрузку прикладывают через центр поперечного сечения.
Если изделие мебели для сидения имеет тенденцию к опрокидыванию, то нагрузку на сиденье увеличивают до величины, достаточной для предотвращения опрокидывания изделия назад.
Примененную нагрузку регистрируют в протоколе испытаний.
Рекомендуемая форма протокола испытаний приведена в приложении ДА.
5.22 Испытание на долговечность встроенной поверхности для письма
Заданную нагрузку, направленную вниз, прикладывают в точке приложения нагрузки к сиденью.
Вертикальную направленную вниз нагрузку прикладывают в точке, указанной в
5.14, с помощью нагрузочной детали-прокладки для определенных точек
(4.7) в соответствии с установленным количеством циклов испытаний.
Если изделие мебели для сидения имеет тенденцию к опрокидыванию, то нагрузку на мебель для сидения увеличивают до величины, достаточной для предотвращения опрокидывания изделия назад.
Примененную нагрузку регистрируют в протоколе испытаний.
Рекомендуемая форма протокола испытаний приведена в приложении ДА.
5.23 Испытание откидных сидений
Если мебель для сидения имеет в своем составе откидные сиденья, то одно сиденье испытывают в соответствии с установленным количеством циклов испытаний.
Циклом являются движения от полностью закрытого до полностью открытого состояния и обратно в закрытое состояние. Максимальный темп движения не должен превышать 10 циклов/мин.
Во время каждого цикла сиденье должно свободно открываться или закрываться под действием силы тяжести при условии, что это является предусмотренным режимом работы.
5.24 Испытание сиденья на удар
Слой вспененного пенополиуретана толщиной 25 мм
(4.8) размещают на сиденье. Высоту падения испытательного устройства определяют по его исходному положению на поверхности слоя вспененного пенополиуретана
(4.8).
Второй слой вспененного пенополиуретана толщиной 25 мм
(4.8) укладывают между ударной поверхностью и поверхностью сиденья испытуемого образца. Устройство для испытания на удар сиденья
(4.9) сбрасывают с установленной высоты на точки приложения нагрузки к сиденью, определенные с помощью нагрузочного шаблона
(4.1) (см.
рисунок 19). Это испытание повторяют в другой точке, там, где возможно возникновение неисправности. Данная точка находится на расстоянии не менее чем 100 мм от краев сиденья.
a) Стул
b) Табурет
1 - высота падения; 2 - точка приложения нагрузки
к поверхности сиденья в соответствии с нагрузочным шаблоном
Рисунок 19 - Испытание сиденья на удар
Если мебель для сидения имеет несколько посадочных мест, то испытание проводят на одном крайнем месте и на одном месте посередине.
5.25 Испытание спинки на удар
Это испытание предназначено для мебели для сидения, которая не была испытана в соответствии с
5.28.
Образец для испытаний устанавливают и закрепляют с помощью упоров (стопорных устройств)
(4.3) на передних ножках или опорах качения для предотвращения смещения вперед. По центру верхнего края спинки оказывают воздействие с помощью ударного молотка
(4.10) [см.
рисунок 20a)]. Ударный молоток сбрасывают с установленной высоты (или под установленным углом) на следующие точки на спинке:
a) по центру испытуемого образца с одним сиденьем;
b) на оба места для сидения в образцах мебели с двумя сиденьями;
c) на одно место с краю и на место посередине в испытуемых образцах с тремя или с более сиденьями.
Если испытуемый образец не имеет спинки, то воздействие оказывают на центр заднего края сиденья.
Если невозможно точно определить задний край табурета или скамьи для сидения, испытание проводят в направлении, где возможность появления неисправности особенно велика [см.
рисунок 20b)].
1 - вертикальная высота падения; 2 - угол падения
Рисунок 20 - Испытание спинки на удар
В процессе испытания должно происходить опрокидывание мебели для сидения и она должна падать на пол с резиновым покрытием
(4.2).
5.26 Испытание подлокотника на удар
Образец для испытаний устанавливают и закрепляют с помощью упоров на парных передних и задних ножках и опорах качения, предотвращающих от смещения вбок. По наружной части подлокотника ударяют ударным молотком
(4.10) (см.
рисунок 21). Подлокотник подвергают воздействию в том месте, где наиболее вероятна поломка, но на расстоянии не менее чем 50 мм от конца подлокотника.
1 - высота падения; 2 - угол падения; 3 - упоры
Рисунок 21 - Испытание подлокотника на удар
В процессе испытания должно происходить опрокидывание мебели для сидения и она должна падать на пол с резиновым покрытием
(4.2).
5.27 Испытание на удар при падении
5.27.1 Испытание на удар при падении мебели с несколькими сиденьями
Прикладывают вертикальное усилие для подъема правой и левой сторон мебели для сидения. Это усилие определяют как минимальное направленное вертикально вверх усилие, необходимое для того, чтобы поднять один край мебели или пару ножек на (10 +/- 5) мм от пола. Высоту падения определяют от установленной номинальной высоты падения по
таблице 3.
Масса одного края мебели с несколькими сиденьями, кг | Высота падения от установленной номинальной высоты падения, % |
От 0 до 10 | 100 |
От 10 до 65 | 100 - [90 x [масса края мебели для сиденья - 10]/55] |
Не менее 65 | 10 |
Испытуемый образец приподнимают с одной стороны, а затем сбрасывают с требуемой высоты таким образом, чтобы падающие ножки или опоры качения ударялись о пол
(4.2) (см.
рисунок 22).
1 - высота падения
Рисунок 22 - Испытание на удар при падении
мебели с несколькими сиденьями
Испытание повторяют с противоположной стороны испытуемого образца.
5.27.2 Испытание на удар при падении штабелируемой мебели для сидения
Два изделия мебели для сидения укладывают друг на друга и помещают на них нагрузочный диск весом 10 кг
(4.13), который располагают как можно дальше, в задней части сиденья, расположенного сверху. Если масса испытуемого штабеля с
нагрузочным диском превышает 20 кг, нагрузочный диск заменяют нагрузочными мешками (или чем-то подобным) и уменьшают исходный вес до тех пор, пока масса штабеля
с дополнительными грузами не составит 20 кг.
Если масса испытуемого штабеля (без дополнительных грузов) превышает 20 кг, то такой штабель испытывают без применения нагрузочных дисков или мешков.
Вес должен удерживаться ремнями вокруг поверхности сиденья, расположенного сверху, или вокруг поверхностей сидений обоих изделий мебели для сидения, если между ними нет достаточного места для ремней.
Допускаются альтернативные способы крепления нагрузочного диска. Изделие мебели, находящееся снизу, подпирают таким образом, чтобы при подъеме одной ножки до установленной высоты падения соединительная линия между этой ножкой и противоположной по диагонали ножкой имела уклон 10° к горизонтали (см.
рисунок 23). Две другие ножки удерживают на одной высоте.
1 - высота падения
Рисунок 23 - Испытание на удар при падении
штабелируемой мебели для сидения
Испытуемый образец (штабель) сбрасывают заданное количество повторений на пол с резиновым покрытием
(4.2). Испытание проводят с одной передней и одной задней ножками.
Испытание может быть проведено путем приподнимания изделий мебели для сидения с помощью трех шнуров, длина которых должна быть отрегулирована таким образом, чтобы образовался угол в 10°.
5.27.3 Испытание на удар при падении с высоты стола
Это испытание применимо только к изделиям мебели для сидения, которые могут быть подняты на высоту (например, на высоту стола во время уборки пола). Мебель для сидения подпирают таким образом, чтобы при подъеме одной ножки до установленной высоты падения соединительная линия между этой ножкой и противоположной по диагонали ножкой имела уклон 10° к горизонтали (см.
рисунок 24). Две другие ножки удерживают на одной высоте.
1 - высота падения
Рисунок 24 - Испытание на удар при падении с высоты стола
Испытуемый образец сбрасывают на пол с резиновым покрытием
(4.2). Испытание проводят с одной передней и одной задней ножками.
Испытание может быть проведено путем приподнимания изделий мебели для сидения с помощью трех шнуров, длина которых должна быть отрегулирована таким образом, чтобы образовался угол в 10°.
5.28 Испытание на опрокидывание в направлении назад
Изделие мебели для сидения без груза ставят в обычное рабочее положение на пол для проведения испытаний
(4.2).
Горизонтальное направленное назад усилие прикладывают в точке на 50 мм ниже верхнего края и в центре спинки. Измеряют усилие, необходимое для того, чтобы приподнять передние ножки от пола.
Если измеренное усилие меньше 30 Н, надавливают на верхний край спинки в направлении назад, пока не будет найдена точка равновесия (см.
рисунок 25). Дают мебели для сидения свободно упасть спинкой на пол с резиновым покрытием
(4.2) без приложения какого-либо исходного усилия или скорости.
Рисунок 25 - Испытание на опрокидывание в направлении назад
Испытание повторяют в соответствии с установленным количеством циклов.
5.29 Испытание на долговечность опор качения и каркаса стула
Это испытание применимо только для изделий мебели для сидения, которые можно передвигать.
Это испытание не распространяется на стулья с опорами качения, которые останавливаются, если стул нагружен.
Стул размещают на поворотный стол с поверхностью для испытания
(4.12) таким образом, чтобы ось вращения кресла совпадала с осью вращения стола. К сиденью прикладывают нагрузку установленной величины в точке приложения нагрузки. Каркас закрепляют таким образом, чтобы он не мог вращаться, но естественное движение опор качения в процессе испытания не было затруднено. Опоры качения должны свободно вращаться, а стол должен вращаться со скоростью 6 циклов/мин. Угол поворота изменяется от 0° до 180° и обратно. Один цикл состоит из вращения по часовой стрелке и обратного вращения.
В качестве альтернативного метода кресло устанавливают на устройстве, которое обеспечивает линейное перемещение в одном направлении на (1000 +/- 25) мм и имеет поверхность для испытания в соответствии с
4.12. К сиденью прикладывают нагрузку установленной величины в точке приложения нагрузки. Каркас закрепляют таким образом, чтобы он не мог вращаться, но естественное движение опор качения во время испытания не было затруднено. Опоры качения должны свободно вращаться, а устройство обеспечивать (6 +/- 2) цикла/мин.
Один цикл состоит из поворота по часовой стрелке и обратного поворота (прямого и обратного хода).
Для обоих вариантов рекомендуется проводить испытание с минимально возможной скоростью и с короткой паузой при изменении направления вращения.
5.30 Испытание на сопротивление качению ненагруженного стула
Стул устанавливают на поверхность для испытания
(4.12) и подтягивают или двигают на расстояние не менее 550 мм. На участке измерения соблюдают скорость, равную (50 +/- 5) мм/с. На высоте (200 +/- 50) мм над поверхностью для испытания прикладывают усилие.
Испытание на сопротивление качению - это приложение усилия, необходимого для подтягивания и передвижения стула на расстояние от 250 до 500 мм.
Примечание - Это испытание обычно выполняют на мебели для сидения с одним сиденьем для нежилых помещений.
6 Методы испытаний рабочих стульев
6.1 Общие положения
Испытуемый образец и его конструктивные элементы должны иметь конфигурацию, указанную в
таблице 4.
Если испытание не может быть выполнено в соответствии с требованиями настоящего стандарта, например, из-за того, что нагрузочная деталь-прокладка не может быть использована для приложения нагрузки из-за особенностей конструкции изделия, испытание должно быть выполнено по процедурам, максимально соответствующим требованиям настоящего стандарта.
Испытуемый образец и конструкции элементов стула располагают на полу для проведения испытаний
(4.2) в соответствии с
таблицей 4.
Таблица 4
Конфигурация элементов стула
Подраздел | Испытание | Высота сиденья | Сиденье | Спинка сиденья в высоту | Спинка сиденья в глубину | Регулировка угла наклона | Опоры качения и каркас | Подлокотник | Опора для ног |
| Статическая нагрузка на сиденье и спинку | Самое высокое положение | Наихудшее положение | Самое высокое положение | Положение при максимально возможном перемещении назад | Середина | Самая низкая вероятность опрокидывания | - | - |
| Статическая нагрузка на передний край сиденья | Самое высокое положение | Положение при максимально возможном перемещении вперед | - | - | - | Самая низкая вероятность опрокидывания | - | - |
| Испытание подлокотников под действием направленной вниз статической нагрузки - по центру подлокотников | Самое низкое положение | Горизонтальное положение | - | - | - | - | Наихудшее положение | - |
| Испытание подлокотников под действием статической нагрузки, направленной вниз, - в передней части подлокотников | Самое низкое положение | Горизонтальное положение | - | - | - | - | Положение при максимально возможных высоте, расстоянии между ними, перемещении в направлении к переднему краю сиденья | - |
| Испытание подлокотников под действием статической нагрузки, направленной наружу | Самое низкое положение | Горизонтальное положение | - | - | - | - | Положение при максимально возможных высоте и расстоянии между ними | - |
| Испытание опоры для ног под действием статической нагрузки | - | - | - | - | - | Самая низкая вероятность опрокидывания | - | Самое высокое положение |
| Испытание на долговечность сиденья и спинки | Самое высокое положение | Горизонтальное положение при максимально возможном перемещении вперед | Самое высокое положение | Наихудшее положение | Середина | Самая низкая вероятность опрокидывания | - | - |
| Испытание на долговечность подлокотников | Самое низкое положение | Горизонтальное положение | - | - | Максимальное напряжение | - | Положение при максимально возможных высоте и расстоянии между ними | - |
| Испытание на поворот вокруг вертикальной оси | Самое высокое положение | Горизонтальное положение при максимально возможном перемещении вперед | Самое высокое положение | Положение при максимально возможном перемещении назад | - | - | - | - |
| Испытание на долговечность опоры для ног | - | - | - | - | - | Самая низкая вероятность опрокидывания | - | Самое низкое положение |
| Испытание на долговечность опор качения и каркаса стула | Самое низкое положение | Горизонтальное положение | - | - | - | - | - | - |
6.2 Точки приложения усилия
6.2.1 Общие положения
Точки приложения усилия к рабочим креслам изображены на
рисунке 26.
A - точка приложения усилия A; B - точка приложения усилия
B; C - точка приложения усилия C; D - точка приложения
усилия D; E - точка приложения усилия E; F - точка
приложения усилия F; G - точка приложения усилия G;
H - точка приложения усилия H; J - точка приложения усилия J
Рисунок 26 - Точки приложения усилий
6.2.2 Точка приложения усилия A
Точка, расположенная на пересечении оси вращения стула с поверхностью сиденья, находится в положении, максимально приближенном к горизонтали.
6.2.3 Точка приложения усилия B
Точка, расположенная на осевой линии спинки, находится на расстоянии 300 мм выше точки приложения усилия A
(6.2.2), измеренного при нагруженном сиденье с помощью нагрузочной детали-прокладки с усилием 640 Н.
6.2.4 Точка приложения усилия C
Точка, расположенная перед точкой приложения усилия A
(6.2.2) на осевой линии поверхности сиденья, на расстоянии 100 мм от края несущей конструкции сиденья.
6.2.5 Точка приложения усилия D
Точка, расположенная на расстоянии 150 мм правее от точки приложения усилия A
(6.2.2), но на расстоянии не менее чем 100 мм от края конструкции сиденья.
6.2.6 Точка приложения усилия E
Точка, расположенная на расстоянии 50 мм правее от точки приложения усилия B
(6.2.3).
6.2.7 Точка приложения усилия F
Точка, расположенная перед точкой приложения усилия D
(6.2.5) на линии, проходящей параллельно осевой линии, на расстоянии 100 мм от края несущей конструкции сиденья.
Если расстояние от одного из краев составляет меньше 100 мм, то точку перемещают внутрь параллельно линии точек пересечения A, D и G, чтобы расстояние до края составляло 100 мм (см.
рисунок 27).
Рисунок 27 - Определение точек приложения усилия F и J
6.2.8 Точка приложения усилия G
Точка, расположенная на расстоянии 150 мм левее от точки приложения усилия A
(6.2.2), но на расстоянии не менее чем 100 мм от края конструкции сиденья.
6.2.9 Точка приложения усилия H
Точка, расположенная на расстоянии 50 мм левее от точки приложения усилия B
(6.2.3).
6.2.10 Точка приложения усилия J
Точка, расположенная перед точкой приложения усилия G
(6.2.8) на линии, проходящей параллельно осевой линии, на расстоянии 100 мм от края конструкции сиденья.
Если расстояние от одного из краев составляет менее 100 мм, то точку перемещают внутрь параллельно линии точек пересечения A, D и G, чтобы расстояние до края составляло 100 мм (см.
рисунок 27).
6.3 Комбинированное испытание статической нагрузкой сиденья и спинки
Движение стула назад предотвращают с помощью упоров
(4.3), которые прикрепляют позади обеих смежных опорных точек на оборотной стороне стула.
Для кресел, у которых есть фиксирующие устройства положения сиденья и/или угла наклона спинки, сначала проводят одну половину циклов испытания для устройств в зафиксированном положении, а затем еще одну половину циклов испытания для устройств в незафиксированном положении. В процессе первой половины циклов испытания спинка стула должна находиться в вертикальном положении.
Вертикальное усилие
F1 прикладывают с помощью нагрузочной детали-прокладки для сиденья
(4.4) в точке A
(6.2.2). Поверхность сиденья продолжают нагружать и прикладывают усилие
F2 через центр нагрузочной детали-прокладки для спинки
(4.6) в точке B
(6.2.3). При полной нагрузке усилие прикладывают под углом (90 +/- 10)° к поверхности спинки стула (см.
рисунок 28). Если появляется угроза опрокидывания стула, усилие, воздействующее на спинку стула, уменьшают и регистрируют фактически действующее усилие. Сначала уменьшают нагрузку на спинку, а затем на поверхность сиденья.
A - точка приложения усилия к поверхности
сиденья
(6.2.2); B - точка приложения усилия
к спинке кресла
(6.2.3);
F1,
F2 - вертикальные усилия
Рисунок 28 - Комбинированное испытание
статической нагрузкой сиденья и спинки
6.4 Испытание статической нагрузкой переднего края сиденья
Малую нагрузочную деталь-прокладку для сиденья
(4.5) располагают в точке приложения усилия
F (6.2.7) или
J (6.2.10). Силу, действующую вертикально вниз, прикладывают через центр нагрузочной детали-прокладки.
6.5 Испытание подлокотников под действием направленной вниз статической нагрузки - по центру подлокотников
Подлокотники нагружают вертикально с помощью нагрузочной детали-прокладки для определенных точек
(4.7). Точки приложения усилия должны находиться по центру длины подлокотников и по центру от обеих сторон. Если подлокотник не является горизонтальным или изогнутым, измеряют его длину в горизонтальной плоскости на расстоянии 20 мм ниже самой высокой точки подлокотника.
Усилие прикладывают к обоим подлокотникам одновременно (см.
рисунок 29).
F - вертикальное усилие
Рисунок 29 - Испытание подлокотников
под действием направленной вниз статической
нагрузки - по центру подлокотников
6.6 Испытание подлокотников под действием статической нагрузки, направленной вниз, - в передней части подлокотников
Подлокотники нагружают вертикально с помощью нагрузочной детали-прокладки для определенных точек
(4.7). Точки приложения усилия должны находиться на расстоянии 75 мм от переднего края подлокотников и по центру от обеих сторон.
Усилие прикладывают к обоим подлокотникам одновременно.
6.7 Испытание подлокотников под действием статической нагрузки, направленной наружу
Это испытание выполняют, как описано в
5.10 и в соответствии с
рисунком 30.
F - горизонтальное усилие
Рисунок 30 - Испытание подлокотников под действием
статической нагрузки, направленной наружу
6.8 Испытание опоры для ног под действием статической нагрузки
Это испытание выполняют, как описано в
5.8.
6.9 Испытание на долговечность сиденья и спинки
Верхнюю часть стула располагают таким образом, чтобы центр спинки находился по центру между двумя смежными точками опоры каркаса, при этом в данных точках опоры должны находиться упоры (стопорные устройства)
(4.3).
Нагружение сиденья производят вертикально в точках A и C с использованием нагрузочной детали-прокладки для сиденья
(4.4) и в точках D, F, G и J с использованием малой нагрузочной детали-прокладки для сиденья
(4.5). Нагрузку на спинку прикладывают под углом (90 +/- 10)° к спинке (см.
рисунок 31), когда она полностью нагружена с помощью нагрузочной детали-прокладки для спинки
(4.6).
F2 - вертикальное усилие
Рисунок 31 - Прикладывание нагрузки
к спинке - принцип действия
Все стулья испытывают в соответствии с
этапами 1 -
5 (см. таблицу 5).
Таблица 5
Испытание на долговечность сиденья и спинки
Этап | Точка приложения нагрузки |
| A |
| C - B |
| J - E |
| F - H |
| D - G |
Кресла с фиксирующим устройством(ами) для сиденья и/или способные изменять угол наклона спинки испытывают на
этапе 2. Первую половину циклов испытаний проводят с устройством(ами) в зафиксированной позиции, а вторую половину циклов - в незафиксированной позиции. В ходе первой половины циклов испытаний спинка должна находиться в вертикальном положении. На
этапах 3,
4 и
5 механизм должен быть установлен таким образом, чтобы обеспечить свободу движения.
Один цикл испытания состоит из приложения и снятия нагрузки(ок) в соответствующих точках приложения нагрузки.
Каждый этап испытания должен быть завершен до начала следующего этапа.
Нагрузку, воздействующую на сиденье, прикладывают первой и поддерживают во время приложения нагрузки к спинке.
Если спинка находится выше поверхности сиденья и двигается в вертикальной плоскости, то горизонтальную нагрузку прикладывают в точке поворота. Если высота спинки регулируется, то точку поворота устанавливают, как можно ближе, на расстоянии 300 мм над точкой A
(6.2.2). Если точка поворота не может быть установлена на расстоянии до 300 мм, то нагрузку следует отрегулировать таким образом, чтобы она создала тот же момент изгиба.
6.10 Испытание на долговечность подлокотников
Это испытание выполняют, как описано в
5.20.
6.11 Испытание на поворот вокруг вертикальной оси
Каркас стула закрепляют на поворотной платформе на полу для проведения испытания
(4.2) таким образом, чтобы ось поворота стула совпала с осью поворота платформы. Верхнюю часть стула закрепляют таким образом, чтобы обеспечить свободное движение каркаса при поворотах. Сиденье нагружают в точке приложения нагрузки A
(6.2.2) и в точке приложения нагрузки C
(6.2.4) установленным балластным грузом или любым равноценным грузом, который создает такую же, действующую вниз, нагрузку на стул и тот же момент изгиба. Угол поворота должен составлять 360° при частоте испытаний (10 +/- 5) циклов/мин. Направление изменяют после каждого поворота.
Один цикл испытания состоит из одного поворота на 360° по часовой стрелке либо против часовой стрелки.
6.12 Испытание на долговечность опоры для ног
Это испытание выполняют, как описано в
5.21.
6.13 Испытание на долговечность опор качения и каркаса стула
Данное испытание не распространяется на стулья, опоры качения которых останавливаются, если стулья нагружены.
Стул устанавливают на поворотной платформе с испытательной поверхностью
(4.12) таким образом, чтобы ось поворота стула совпала с осью поворота платформы. Сиденье нагружают в точке приложения нагрузки A установленным балластным грузом. Каркас закрепляют таким образом, чтобы он не мог поворачиваться, а естественным движениям опор качения во время испытания ничего не мешало. Опоры качения должны свободно вращаться, а платформа должна вращаться со скоростью (6 +/- 2) цикла/мин. Угол поворота изменяется от 0° до 180° и в обратную сторону.
Один цикл испытания состоит из поворота по часовой стрелке и обратного поворота.
В качестве альтернативного метода стул закрепляют на устройстве, которое обеспечивает линейное перемещение в одном направлении в диапазоне (1000 +/- 250) мм и его поверхность для испытания соответствует
4.12. Сиденье нагружают в точке приложения нагрузки A установленным балластным грузом. Каркас закрепляют таким образом, чтобы он не мог поворачиваться, а естественному движению опор качения во время испытания ничего не мешало. Опоры качения должны свободно вращаться, а устройство должно перемещаться со скоростью (6 +/- 2) цикла/мин.
Один цикл испытания состоит из одного перемещения вперед и одного вращения назад.
Для обоих методов рекомендуется проводить испытание на возможно низкой скорости и с коротким перерывом при изменении направления движения.
6.14 Испытание на сопротивление качению ненагруженного кресла
Это испытание выполняют, как описано в
5.30.
7 Методы испытаний шезлонгов
7.1 Общие положения
Испытания проводят с такими параметрами/конфигурацией, при которых вероятнее всего может произойти повреждение.
Если испытание не может быть выполнено в соответствии с требованиями настоящего стандарта, например, из-за того, что нагрузочная деталь-прокладка не может быть использована для приложения нагрузки из-за особенностей конструкции изделия, то оно должно быть выполнено по процедурам, максимально соответствующим требованиям настоящего стандарта.
7.2 Испытание сиденья и спинки статической нагрузкой
Это испытание выполняют, как описано в
5.4.
7.3 Дополнительное испытание сиденья и подставки для ног под действием статической нагрузки
К сиденью прикладывают усилие в точке приложения нагрузки к сиденью
(5.2) и сохраняют нагрузку в течение всего испытания.
С помощью нагрузочной детали-прокладки для сиденья
(4.4) прикладывают заданное усилие в наиболее неблагоприятной точке, между точкой D и точкой E в соответствии с
рисунком 32.
Нагрузочную деталь-прокладку (4.4) прикладывают перпендикулярно продольной оси сиденья.
Размеры в миллиметрах
a) Шезлонг с подлокотниками
b) Шезлонг без подлокотников
A - точка приложения нагрузки на сиденье; F - точка
приложения статической нагрузки
Рисунок 32 - Испытание под действием статической нагрузки
Если испытуемый образец имеет тенденцию к опрокидыванию, то нагрузку прикладывают на противоположную сторону в наиболее неблагоприятной точке по высоте, чтобы предотвратить его опрокидывание.
7.4 Испытание сиденья и спинки на долговечность
7.4.1 Основной метод испытания сиденья на долговечность
Это испытание выполняют, как описано в
5.17.
7.4.2 Альтернативный метод испытания сиденья на долговечность
Заданное направленное вниз усилие прикладывают с помощью малой нагрузочной детали-прокладки для сиденья
(4.5) попеременно к точкам G и H (см.
рисунок 33).
Размеры в миллиметрах
a) Шезлонг с регулирующим механизмом
b) Шезлонг без регулирующего механизма
G, H - точки приложения усилия
Рисунок 33 - Испытание сиденья на долговечность
7.5 Испытание на долговечность механизма регулировки спинки
Это испытание выполняют, как описано в
5.19.
7.6 Испытание подлокотника статической нагрузкой, направленной вниз
Это испытание выполняют, как описано в
5.11.
7.7 Испытание на долговечность подлокотника
Это испытание выполняют, как описано в
5.20.
7.8 Испытание сиденья и спинки на удар
Это испытание выполняют, как описано в
5.24 в нижеперечисленных точках приложения нагрузки:
- в самой неблагоприятной точке на отрезке сиденье/ножки;
- в точке, расположенной на расстоянии 150 мм от края шезлонга;
- в точке, расположенной непосредственно на концевой опоре, на расстоянии 150 мм от краев (см.
рисунок 34) на той же стороне шезлонга, что и первая точка приложения нагрузки.
Примечание - Самой неблагоприятной точкой обычно является точка, расположенная выше механизма регулировки или в центре между опорами на отрезке сиденье/ножки.
Размеры в миллиметрах
a) Шезлонг с регулирующим механизмом
b) Шезлонг без регулирующего механизма
1 - точка удара - самое слабое место; 2 - точка
удара - конечная опора
Рисунок 34 - Испытание на удар
7.9 Испытание на подъем шезлонгов на колесах
Это испытание применимо только для шезлонгов, планируемое использование которых предусматривает их перемещение вместе с пользователем.
К сиденью прикладывают заданное усилие в точке приложения нагрузки к сиденью
(5.2) и поддерживают нагрузку на протяжении всего испытания.
Изножье шезлонга приподнимают в соответствии с установленным количеством циклов таким образом, чтобы только колеса имели контакт с поверхностью пола (см.
рисунок 35).
1 - точка приложения нагрузки к поверхности
Рисунок 35 - Испытание на подъем
(обязательное)
ХАРАКТЕРИСТИКИ НАГРУЗОЧНОЙ ДЕТАЛИ-ПРОКЛАДКИ ДЛЯ СИДЕНЬЯ
В настоящее время существуют две модели нагрузочной детали-прокладки для сиденья (см.
4.4):
- фрезерованная нагрузочная деталь-прокладка для сиденья (см.
рисунок A.1);
- отлитая нагрузочная деталь-прокладка для сиденья (см.
рисунок A.2).
Размеры в миллиметрах
1 - среднее сечение (заштриховано); 2 - R105
(отрезок A-A, см. вид сверху); 3 - R183
(отрезок B-B, см. вид сверху); 4 - коническая ось
Все размеры приведены с допуском +/- 5 мм
Рисунок A.1 - Геометрия нагрузочной детали-прокладки
для сиденья - фрезерованная модель
Размеры в миллиметрах
1 - среднее сечение (заштриховано)
Все размеры приведены с допуском +/- 5 мм
Рисунок A.2 - Геометрия нагрузочной детали-прокладки
для сиденья - литая модель
(справочное)
ПРИМЕР НАГРУЗОЧНОЙ ДЕТАЛИ-ПРОКЛАДКИ ДЛЯ ПОДЛОКОТНИКОВ
На
рисунке B.1 показан пример нагрузочной детали-прокладки для подлокотников, которая может использоваться для проведения испытаний большинства форм подлокотников, применяемых в изделиях мебели.
Размеры в миллиметрах
1 - материал накладки - нейлон
Рисунок B.1 - Пример нагрузочной детали-прокладки
для подлокотников
(рекомендуемое)
РЕКОМЕНДУЕМАЯ ФОРМА ПРОТОКОЛА ИСПЫТАНИЙ
Наименование и адрес испытательной лаборатории
(центра), данные об аккредитации
УТВЕРЖДАЮ
_______________________________
(должность руководителя ИЦ (ИЛ),
личная подпись и ее расшифровка)
_______________________________
(дата утверждения)
М.П.
ПРОТОКОЛ ИСПЫТАНИЙ N
1. Наименование и обозначение изделия
2. Заявитель, фактический и юридический адреса
3. Изготовитель, фактический и юридический адреса
4. Основание для проведения испытаний
5. Обозначение нормативных документов на требования безопасности продукции
6. Обозначение нормативных документов на методы испытаний
7. Определяемые показатели
8. Перечень испытательного оборудования, сведения об его аттестации (поверке)
9. Краткая характеристика объекта испытаний
10. Параметры окружающей среды (температура и относительная влажность воздуха) при проведении испытаний и отклонения от установленных значений (при их наличии)
11. Результаты испытаний
12. Заключение (при необходимости)
Личные подписи
Расшифровка подписей
(справочное)
СОПОСТАВЛЕНИЕ СТРУКТУРЫ НАСТОЯЩЕГО СТАНДАРТА СО СТРУКТУРОЙ
ПРИМЕНЕННОГО В НЕМ ЕВРОПЕЙСКОГО СТАНДАРТА
Таблица ДБ.1
Структура настоящего стандарта | Структура европейского стандарта EN 1728:2012 |
| 1 Область применения |
- | 2 Нормативные ссылки |
| 3 Термины и определения |
3 Общие требования к проведению испытаний | 4 Общие требования к условиям испытаний |
4 Испытательное оборудование и приспособления для испытаний | 5 Оборудование и приспособление для испытаний |
5 Методы испытаний мебели для сидения, кроме рабочих стульев | 6 Методы испытаний мебели для сидения, кроме рабочих стульев |
6 Методы испытаний рабочих стульев | 7 Метод испытания - рабочие стулья |
7 Методы испытаний шезлонгов | 8 Метод испытания - Шезлонги |
Приложение A (обязательное) Характеристики нагрузочной детали-прокладки для сиденья | Приложение A (обязательное) Характеристики нагрузочной детали-прокладки для сиденья |
Приложение B (справочное) Пример нагрузочной детали-прокладки для подлокотников | Приложение B (справочное) Подробная информация о нагрузочной детали-прокладке для подлокотников |
Приложение ДА (рекомендуемое) Рекомендуемая форма протокола испытаний | - |
Приложение ДБ (справочное) Сопоставление структуры настоящего стандарта со структурой примененного в нем европейского стандарта | - |
| - |
| | О безопасности мебельной продукции |
УДК 645.41:006.354 | | MOD |
Ключевые слова: мебель бытовая, мебель для сидения, методы испытаний на прочность, методы испытаний на долговечность, статическая нагрузка, шезлонг, кресло |