Главная // Актуальные документы // ГОСТ (Государственный стандарт)СПРАВКА
Источник публикации
М.: ФГБУ "РСТ", 2022
Примечание к документу
Текст данного документа приведен с учетом
поправки, опубликованной в "ИУС", N 2, 2024.
Документ
введен в действие с 01.01.2023.
Название документа
"ГОСТ 19301.1-2022. Межгосударственный стандарт. Мебель детская дошкольная. Функциональные размеры столов"
(введен в действие Приказом Росстандарта от 08.07.2022 N 586-ст)
"ГОСТ 19301.1-2022. Межгосударственный стандарт. Мебель детская дошкольная. Функциональные размеры столов"
(введен в действие Приказом Росстандарта от 08.07.2022 N 586-ст)
Введен в действие
Приказом Федерального агентства
по техническому регулированию
и метрологии
от 8 июля 2022 г. N 586-ст
МЕЖГОСУДАРСТВЕННЫЙ СТАНДАРТ
МЕБЕЛЬ ДЕТСКАЯ ДОШКОЛЬНАЯ
ФУНКЦИОНАЛЬНЫЕ РАЗМЕРЫ СТОЛОВ
Furniture for children under school age.
Functional dimensions of tables
ГОСТ 19301.1-2022
Дата введения
1 января 2023 года
Цели, основные принципы и общие правила проведения работ по межгосударственной стандартизации установлены
ГОСТ 1.0 "Межгосударственная система стандартизации. Основные положения" и
ГОСТ 1.2 "Межгосударственная система стандартизации. Стандарты межгосударственные, правила и рекомендации по межгосударственной стандартизации. Правила разработки, принятия, обновления и отмены"
1 РАЗРАБОТАН Ассоциацией предприятий индустрии детских товаров "АИДТ" (Ассоциация "АИДТ")
2 ВНЕСЕН Межгосударственным техническим комитетом по стандартизации МТК 181 "Игрушки и товары для детства"
3 ПРИНЯТ Межгосударственным советом по стандартизации, метрологии и сертификации (протокол от 8 июня 2022 г. N 152-П)
За принятие проголосовали:
Краткое наименование страны по МК (ИСО 3166) 004-97 | Код страны по МК (ИСО 3166) 004-97 | Сокращенное наименование национального органа по стандартизации |
Армения | AM | ЗАО "Национальный орган по стандартизации и метрологии" Республики Армения |
Беларусь | BY | Госстандарт Республики Беларусь |
Казахстан | KZ | Госстандарт Республики Казахстан |
Киргизия | KG | Кыргызстандарт |
Россия | RU | Росстандарт |
Таджикистан | TJ | Таджикстандарт |
Узбекистан | UZ | Узстандарт |
4 Приказом Федерального агентства по техническому регулированию и метрологии от 8 июля 2022 г. N 586-ст межгосударственный стандарт ГОСТ 19301.1-2022 введен в действие в качестве национального стандарта Российской Федерации с 1 января 2023 г.
5 В настоящем стандарте учтены основные нормативные положения стандарта DIN EN 1730:2013 "Мебель. Столы. Методы испытания для определения устойчивости, прочности и долговечности" ("Furniture - Tables - Test methods for the determination of stability, strength and durability", NEQ)
Информация о введении в действие (прекращении действия) настоящего стандарта и изменений к нему на территории указанных выше государств публикуется в указателях национальных стандартов, издаваемых в этих государствах, а также в сети Интернет на сайтах соответствующих национальных органов по стандартизации.
В случае пересмотра, изменения или отмены настоящего стандарта соответствующая информация будет опубликована на официальном интернет-сайте Межгосударственного совета по стандартизации, метрологии и сертификации в каталоге "Межгосударственные стандарты"
Настоящий стандарт распространяется на детские столы, предназначенные для использования в дошкольных учреждениях и в быту, и устанавливает их функциональные размеры.
Стандарт не распространяется на игровые и трансформируемые столы.
В настоящем стандарте использована нормативная ссылка на следующий стандарт:
ГОСТ 20400 Продукция мебельного производства. Термины и определения
Примечание - При пользовании настоящим стандартом целесообразно проверить действие ссылочных стандартов и классификаторов на официальном интернет-сайте Межгосударственного совета по стандартизации, метрологии и сертификации (www.easc.by) или по указателям национальных стандартов, издаваемым в государствах, указанных в
предисловии, или на официальных сайтах соответствующих национальных органов по стандартизации. Если на документ дана недатированная ссылка, то следует использовать документ, действующий на текущий момент, с учетом всех внесенных в него изменений. Если заменен ссылочный документ, на который дана датированная ссылка, то следует использовать указанную версию этого документа. Если после принятия настоящего стандарта в ссылочный документ, на который дана датированная ссылка, внесено изменение, затрагивающее положение, на которое дана ссылка, то это положение применяется без учета данного изменения. Если ссылочный документ отменен без замены, то положение, в котором дана ссылка на него, применяется в части, не затрагивающей эту ссылку.
В настоящем стандарте применены термины по
ГОСТ 20400.
4.1 Детские столы разделяют на пять типов:
- I - стол четырехместный для детей от 1,5 до 5 лет;
- II - стол двухместный с ящиками для учебных пособий и без ящиков для детей от 5 до 7 лет;
- III - стол двухместный трапециевидной формы (дополнительный) для детей от 1,5 до 4 лет;
- IV - стол одноместный;
- V - стол с регулируемыми параметрами.
4.2 Детские столы разделяют на пять ростовых номеров в соответствии с
таблицей 1.
Таблица 1
Ростовые номера детских столов
В миллиметрах
Ростовой номер стола | Средний рост детей | Группа роста |
| 750 | До 850 включ. |
| 900 | Св. 850 до 1000 включ. |
| 1050 | Св. 1000 до 1150 включ. |
| 1200 | Св. 1150 до 1300 включ. |
| 1350 | Св. 1300 |
Детские столы
типа V изготовляют двух вариантов
- вариант 1 - с регулировками для ростовых
номеров 00 -
3 по таблице 1;
- вариант 2 - с регулировками для ростовых
номеров 1 -
3 по таблице 1.
5.1 Функциональные размеры детских столов должны соответствовать указанным на
рисунках 1,
2 и в
таблице 2.
L - длина крышки стола; B - ширина крышки стола;
H1 - расстояние от пола до нижней кромки выступающей
конструкции под крышкой стола; H - высота рабочей плоскости
Рисунок 1 - Функциональные размеры детских столов
L1 - длина широкой части крышки стола трапециевидной формы;
L2 - длина узкой части крышки стола трапециевидной формы;
B - ширина стола; H1 - расстояние от пола до нижней кромки
выступающей конструкции под крышкой стола;
H - высота рабочей плоскости
Примечание - Измерения размеров L1 и L2 проводят в точках пересечения линий продолжения сторон трапеции.
Рисунок 2 - Функциональные размеры детских столов
трапециевидной формы
Таблица 2
Функциональные размеры детских столов
Наименование показателя 00 | Значение показателя в зависимости от ростового номера стола |
| | | | |
Длина крышки L стола, не менее, мм: | | | | | |
четырехместного | 700 | 700 | 700 | Размер не нормируется | Размер не нормируется |
двухместного | Размер не нормируется | Размер не нормируется | 1200 | 1200 | 1200 |
одноместного | 600 | 600 | 600 | 600 | 600 |
Длина крышки стола трапециевидной формы, не менее, мм: |
L1 | 972 | 972 | 972 | 1100 | 1100 |
L2 | 450 | 450 | 450 | 520 | 520 |
Ширина крышки B стола, не менее, мм: |
четырехместного | 700 | 700 | 700 | Размер не нормируется | Размер не нормируется |
двухместного | Размер не нормируется | Размер не нормируется | 450 | 450 | 450 |
одноместного | 450 | 450 | 450 | 450 | 450 |
трапециевидной формы | 450 | 450 | 450 | 500 | 500 |
Высота рабочей плоскости H | 340 +/- 5 | 400 +/- 5 | 460 +/- 5 | 520 +/- 5 | 580 +/- 5 |
Расстояние от пола до нижней кромки выступающей конструкции под крышкой стола H1, не менее | 270 | 310 | 350 | 410 | 470 |
5.2 Крышка двухместного детского стола может иметь приспособление, позволяющее придавать ей наклонное положение под углом от 7° до 12°. Уменьшение высоты стола со стороны сидящего при переводе крышки из горизонтального положения в наклонное допускается не более чем на 10 мм.
5.3 Внутренние размеры ящиков для хранения учебных пособий должны соответствовать указанным на
рисунке 3.
Рисунок 3 - Внутренние размеры ящиков для хранения
учебных пособий
5.4 Высота рабочей плоскости
H и расстояние от пола до нижней кромки выступающей конструкции под крышкой стола
H1 должны соответствовать нормам, указанным в
таблице 2, в зависимости от выбранных вариантов для столов с регулируемыми параметрами.
Остальные функциональные размеры детских столов должны соответствовать размерам, указанным в таблице 2 для стола
номер 3.
5.5 В детских столах с крышками, устанавливаемыми в двух положениях - горизонтальном и наклонном, должны быть предусмотрены места для хранения ручек и карандашей: углубление - минимальными размерами 115 x 45 x 8 мм (длина x ширина x глубина) или отверстие под стаканчик диаметром не менее 55 мм.
5.6 Углы крышек детских столов должны быть закруглены (радиус закругления 10 - 80 мм).
5.7 В детских столах не должно быть выступающих частей, представляющих опасность. При наличии выступающих частей должны быть приняты меры для защиты; например, следует загнуть конец или предусмотреть защитный колпачок или крышку для эффективного увеличения площади, соприкасающейся с кожей.
5.8 Если при складывании/открытии изделие действует как ножницы, оно должно иметь:
- предохранительный стопор или автоматическое запорное устройство;
- минимальный зазор 12 мм между движущимися частями в зоне защемления (действие ножниц).
5.9 Горизонтальные подъемные и откидные крышки стола, расположенные на высоте не более 1000 мм от пола и/или массой более 0,25 кг, должны быть снабжены механизмом поддержки для предотвращения внезапного открытия или падения крышки.
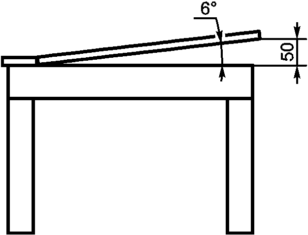
5.10 Крышка не должна самостоятельно перемещаться (падать) из любого положения, превышающего 50 мм, или если угол более 6° от полностью закрытого крышкой стола
(рисунок 4).
Рисунок 4 - Положение угла крышки
УДК 667.6.001.33:006.354 | |
Ключевые слова: мебель детская дошкольная, столы детские, функциональные размеры, типы |