Главная // Актуальные документы // ГОСТ (Государственный стандарт)
СПРАВКА
Источник публикации
М.: ФГБУ "Институт стандартизации", 2024
Примечание к документу
Документ введен в действие с 01.05.2024.
Название документа
"ГОСТ ISO 3377-1-2023. Межгосударственный стандарт. Кожа. Физические и механические испытания. Определение раздирающей нагрузки. Часть 1. Метод раздира по одной кромке"
(введен в действие Приказом Росстандарта от 19.12.2023 N 1587-ст)

"ГОСТ ISO 3377-1-2023. Межгосударственный стандарт. Кожа. Физические и механические испытания. Определение раздирающей нагрузки. Часть 1. Метод раздира по одной кромке"
(введен в действие Приказом Росстандарта от 19.12.2023 N 1587-ст)


Содержание


Введен в действие
Приказом Федерального агентства
по техническому регулированию
и метрологии
от 19 декабря 2023 г. N 1587-ст
МЕЖГОСУДАРСТВЕННЫЙ СТАНДАРТ
КОЖА
ФИЗИЧЕСКИЕ И МЕХАНИЧЕСКИЕ ИСПЫТАНИЯ.
ОПРЕДЕЛЕНИЕ РАЗДИРАЮЩЕЙ НАГРУЗКИ
ЧАСТЬ 1
МЕТОД РАЗДИРА ПО ОДНОЙ КРОМКЕ
Leather. Physical and mechanical tests. Determination
of tear load. Part 1. Method for single edge tear
(ISO 3377-1:2011, Leather - Physical and mechanical
tests - Determination of tear load - Part 1:
Single edge tear, IDT)
ГОСТ ISO 3377-1-2023
МКС 59.140.30
Дата введения
1 мая 2024 года
Предисловие
Цели, основные принципы и общие правила проведения работ по межгосударственной стандартизации установлены ГОСТ 1.0 "Межгосударственная система стандартизации. Основные положения" и ГОСТ 1.2 "Межгосударственная система стандартизации. Стандарты межгосударственные, правила и рекомендации по межгосударственной стандартизации. Правила разработки, принятия, обновления и отмены"
Сведения о стандарте
1 ПОДГОТОВЛЕН Производственно-внедренческим обществом с ограниченной ответственностью "Фирма "Техноавиа" (ПВ ООО "Фирма "Техноавиа") на основе собственного перевода на русский язык англоязычной версии стандарта, указанного в пункте 5
2 ВНЕСЕН Федеральным агентством по техническому регулированию и метрологии
3 ПРИНЯТ Межгосударственным советом по стандартизации, метрологии и сертификации (протокол от 17 ноября 2023 г. N 167-П)
За принятие проголосовали:
Краткое наименование страны по МК (ИСО 3166) 004-97
Код страны по МК (ИСО 3166) 004-97
Сокращенное наименование национального органа по стандартизации
Армения
AM
ЗАО "Национальный орган по стандартизации и метрологии" Республики Армения
Беларусь
BY
Госстандарт Республики Беларусь
Киргизия
KG
Кыргызстандарт
Россия
RU
Росстандарт
Узбекистан
UZ
Узстандарт
4 Приказом Федерального агентства по техническому регулированию и метрологии от 19 декабря 2023 г. N 1587-ст межгосударственный стандарт ГОСТ ISO 3377-1-2023 введен в действие в качестве национального стандарта Российской Федерации с 1 мая 2024 г.
5 Настоящий стандарт идентичен международному стандарту ISO 3377-1:2011 "Кожа. Физические и механические испытания. Определение нагрузки при раздире. Часть 1. Раздир по одной кромке" ("Leather - Physical and mechanical tests - Determination of tear load - Part 1: Single edge tear", IDT).
Международный стандарт разработан Комиссией по физическим испытаниям Международного союза обществ технологов кожи и химиков (Комиссия IUP, IULTCS) в сотрудничестве с Техническим комитетом CEN/TC 289 "Кожа" Европейского комитета по стандартизации (CEN).
Наименование настоящего стандарта изменено относительно наименования указанного международного стандарта в целях приведения в соответствие с ГОСТ 1.5 (подраздел 3.6).
При применении настоящего стандарта рекомендуется использовать вместо ссылочных международных стандартов соответствующие им межгосударственные стандарты, сведения о которых приведены в дополнительном приложении ДА.
Дополнительная сноска в тексте стандарта, выделенная курсивом, приведена для пояснения текста оригинала
6 ВВЕДЕН ВПЕРВЫЕ
7 Некоторые элементы настоящего стандарта могут являться объектами патентных прав
Информация о введении в действие (прекращении действия) настоящего стандарта и изменений к нему на территории указанных выше государств публикуется в указателях национальных стандартов, издаваемых в этих государствах, а также в сети Интернет на сайтах соответствующих национальных органов по стандартизации.
В случае пересмотра, изменения или отмены настоящего стандарта соответствующая информация будет опубликована на официальном интернет-сайте Межгосударственного совета по стандартизации, метрологии и сертификации в каталоге "Межгосударственные стандарты"
1 Область применения
Настоящий стандарт устанавливает метод определения прочности на раздир <1> кожи при использовании раздира по одной кромке. Данный метод иногда называют раздиром в форме брюк. Подходит для всех видов кожи.
--------------------------------
<1> В настоящем стандарте значение раздирающей нагрузки принимают в качестве значения прочности на раздир кожи.
2 Нормативные ссылки
В настоящем стандарте использованы нормативные ссылки на следующие стандарты [для датированных ссылок применяют только указанное издание ссылочного стандарта, для недатированных - последнее издание (включая все изменения)]:
ISO 2418, Leather - Chemical, physical and mechanical and fastness tests - Sampling location (Кожа. Химические, физические и механические испытания и испытания на устойчивость. Установление места отбора образцов)
ISO 2419, Leather - Physical and mechanical tests - Sample preparation and conditioning (Кожа. Физические и механические испытания. Подготовка и кондиционирование образцов)
ISO 2589, Leather - Physical and mechanical tests - Determination of thickness (Кожа. Физические и механические испытания. Определение толщины)
ISO 7500-1, Metallic materials - Calibration and verification of static uniaxial testing machines - Part 1: Tension/compression testing machines - Calibration and verification of the force-measuring system (Материалы металлические. Калибровка и верификация машин для статических испытаний в условиях одноосного нагружения. Часть 1. Машины для испытания на растяжение/сжатие. Калибровка и верификация силоизмерительной системы)
3 Сущность метода
Прямоугольную испытуемую пробу, частично надрезанную с одного короткого края, растягивают таким образом, чтобы раздир распространялся от конца надреза. Записывают среднее усилие, приложенное во время разделения испытуемой пробы.
4 Аппаратура
4.1 Разрывная машина:
- с диапазоном усилия, подходящим испытуемой пробе;
- со средством регистрации усилия с точностью до 2% в соответствии с классом 2 ISO 7500-1;
- с равномерной скоростью расхождения зажимов (100 +/- 20) мм/мин;
- со средствами регистрации усилия, например в виде кривой растяжения;
- с зажимами минимальной ширины (50 +/- 2) мм.
4.2 Толщиномер в соответствии с ISO 2589.
4.3 Резак, соответствующий ISO 2419, способный вырубать прямоугольные испытуемые пробы заданной формы, указанной на рисунке 1, за одну операцию. Все части резака должны лежать в одной плоскости.
Рисунок 1 - Испытуемая проба для раздира по одной кромке
Таблица 1
Измерения испытуемой пробы
Измерения в миллиметрах (допуск +/- 1 мм)
Обозначение
a
b
c
d
Стандартный
70
40
b/2
20
Большой
100
50
b/2
50
Если используют "большую" испытуемую пробу, то размеры данной испытуемой пробы отмечают в протоколе испытаний.
Примечание - Для оценки, проводимой вручную, предпочтительно использовать "большую" испытуемую пробу.
5 Отбор и подготовка образцов для испытаний
5.1 Отбор образцов проводят в соответствии с ISO 2418. Из образца вырубают шесть испытуемых проб в соответствии с ISO 2419, три испытуемые пробы с более длинными сторонами, параллельными хребтовой линии, и три испытуемые пробы с более длинными сторонами, перпендикулярными к хребтовой линии.
Если для проведения испытания требуется более двух кож из одной партии, то достаточно одной испытуемой пробы из каждой кожи при условии, что общее количество испытуемых проб составляет не менее трех в каждом направлении.
5.2 Кондиционируют испытуемые пробы в соответствии с ISO 2419.
5.3 Измеряют толщину испытуемых проб в соответствии с ISO 2589.
6 Процедура
6.1 Устанавливают зажимы разрывной машины (4.1) таким образом, чтобы они находились друг от друга на расстоянии, подходящем для надежного закрепления испытуемой пробы (например, 50 мм).
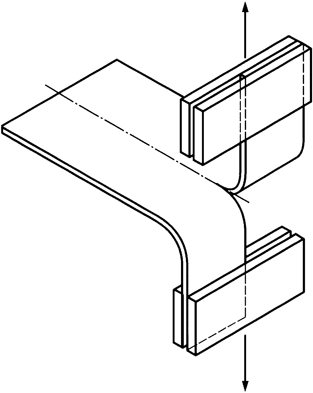
6.2 Закрепляют одну "ножку" испытуемой пробы в одном зажиме разрывной машины (см. рисунок 2). Отгибают другую "ножку" на 180° и закрепляют в другом зажиме. Убеждаются, что длинные края испытуемой пробы параллельны испытательному направлению машины.
Рисунок 2 - Метод крепления испытуемых проб
в зажимах разрывной машины
6.3 Запускают разрывную машину и регистрируют график зависимости усилия от растяжения до тех пор, пока не произойдет раздир испытуемой пробы на части.
6.4 Определяют раздирающую нагрузку испытуемой пробы как среднее арифметическое усилий на графике с пиками, рассчитывая следующим образом.
Разделяют график с пиками, начиная с первого пика и заканчивая последним, на четыре равные части. Первую и последнюю части не используют для расчета среднего значения. Определяют раздирающую нагрузку как среднее значение в ньютонах на двух оставшихся средних участках. При использовании метода электронной оценки принимают во внимание все сведения по усилию во всех точках средних участков графика.
Если используют метод ручного расчета, выбирают и отмечают два самых высоких пика (максимумы) и две самые глубокие впадины (минимумы) для каждого из средних участков (т.е. восемь значений). Пики и впадины, подходящие для расчета, определяют подъемом и падением усилия не менее чем на 10%. Раздирающую нагрузку определяют по среднему арифметическому данных значений. Использование данного метода оценки отмечают в протоколе испытаний.
В зависимости от выбранной процедуры оценки в основу вычислений закладывают различное количество значений. Следовательно, результаты данных двух методов расчета могут быть различными. Благодаря более высокой точности предпочтение следует отдавать электронному методу.
В некоторых случаях из-за отсутствия отчетливых пиков и впадин проведение оценки графика может оказаться затруднительным. Такие результаты отбрасывают и испытание повторяют.
В случае судебного спора раздирающую нагрузку следует определять только методом электронной оценки с использованием испытуемых проб стандартных измерений (4.3).
6.5 Повторяют 6.2 - 6.4 для других испытуемых проб.
7 Протокол испытаний
Протокол испытаний должен содержать следующее:
a) ссылку на настоящий стандарт;
b) полную информацию для идентификации образца и любых отклонений от ISO 2418 в отношении отбора образцов;
c) если не использовали испытуемую пробу стандартного размера, отмечают, что использовали испытуемую пробу большого размера;
d) если не использовали метод электронной оценки, отмечают, что использовали метод ручной оценки;
e) толщину кожи, в миллиметрах (мм);
f) среднюю раздирающую нагрузку в ньютонах (Н) до ближайшего 0,1 Н для испытуемых проб с более длинным краем, вырезанным параллельно хребтовой линии;
g) среднюю раздирающую нагрузку в ньютонах (Н) до ближайшего 0,1 Н для испытуемых проб с более длинным краем, вырезанным перпендикулярно к хребтовой линии;
h) среднюю раздирающую нагрузку до ближайшего 0,1 Н [т.е. среднее арифметическое из f) и g)], если этого требует заказчик или предусмотрено техническими условиями;
i) стандартные атмосферные условия, используемые для кондиционирования и испытания, как указано в ISO 2419;
j) любые отклонения от метода, указанного в настоящем стандарте.
Приложение ДА
(справочное)
СВЕДЕНИЯ О СООТВЕТСТВИИ ССЫЛОЧНЫХ МЕЖДУНАРОДНЫХ СТАНДАРТОВ
МЕЖГОСУДАРСТВЕННЫМ СТАНДАРТАМ
Таблица ДА.1
Обозначение ссылочного международного стандарта
Степень соответствия
Обозначение и наименование соответствующего межгосударственного стандарта
ISO 2418
IDT
ГОСТ ISO 2418-2013 "Кожа. Химические, физические и механические испытания и испытания на устойчивость. Установление места отбора проб"
ISO 2419
IDT
ГОСТ ISO 2419-2013 "Кожа. Физические и механические испытания. Подготовка и кондиционирование проб"
ISO 2589
IDT
ГОСТ ISO 2589-2023 "Кожа. Физические и механические испытания. Определение толщины"
ISO 7500-1
-
<*> Соответствующий межгосударственный стандарт отсутствует. До его принятия рекомендуется использовать перевод на русский язык данного международного стандарта. Официальный перевод данного международного стандарта находится в Федеральном информационном фонде стандартов.
Примечание - В настоящей таблице использовано следующее условное обозначение степени соответствия стандартов:
- IDT - идентичные стандарты.
УДК 675.017.43:006.354
МКС 59.140.30
IDT
Ключевые слова: кожа, физические и механические испытания, раздирающая нагрузка, метод раздира по одной кромке, усилие, испытуемая проба, разрывная машина, зажим, пик