Главная // Актуальные документы // ГОСТ (Государственный стандарт)СПРАВКА
Источник публикации
М.: ФГБУ "Институт стандартизации", 2024
Примечание к документу
Документ включен в
Перечень международных и региональных (межгосударственных) стандартов, а в случае их отсутствия - национальных (государственных) стандартов, в результате применения которых на добровольной основе обеспечивается соблюдение требований технического
регламента Таможенного союза "О безопасности низковольтного оборудования" (ТР ТС 004/2011) и в
Перечень международных и региональных (межгосударственных) стандартов, а в случае их отсутствия - национальных (государственных) стандартов, содержащих правила и методы исследований (испытаний) и измерений, в том числе правила отбора образцов, необходимые для применения и исполнения требований технического
регламента Таможенного союза "О безопасности низковольтного оборудования" (ТР ТС 004/2011) и осуществления оценки соответствия объектов технического регулирования (
Решение Коллегии Евразийской экономической комиссии от 11.05.2023 N 55).
Документ
вводится в действие с 01.03.2025 с правом досрочного применения.
Взамен ГОСТ IEC 61058-2-1-2012.
Название документа
"ГОСТ IEC 61058-2-1-2013. Межгосударственный стандарт. Выключатели для электрических приборов. Часть 2-1. Дополнительные требования к шнуровым выключателям"
(введен в действие Приказом Росстандарта от 23.01.2024 N 42-ст)
"ГОСТ IEC 61058-2-1-2013. Межгосударственный стандарт. Выключатели для электрических приборов. Часть 2-1. Дополнительные требования к шнуровым выключателям"
(введен в действие Приказом Росстандарта от 23.01.2024 N 42-ст)
агентства по техническому
регулированию и метрологии
от 23 января 2024 г. N 42-ст
МЕЖГОСУДАРСТВЕННЫЙ СТАНДАРТ
ВЫКЛЮЧАТЕЛИ ДЛЯ ЭЛЕКТРИЧЕСКИХ ПРИБОРОВ
ЧАСТЬ 2-1
ДОПОЛНИТЕЛЬНЫЕ ТРЕБОВАНИЯ К ШНУРОВЫМ ВЫКЛЮЧАТЕЛЯМ
Switches for appliances. Part 2-1.
Particular requirements for cord switches
(IEC 61058-2-1:2010, IDT)
ГОСТ IEC 61058-2-1-2013
Дата введения
1 марта 2025 года
с правом досрочного применения
Цели, основные принципы и общие правила проведения работ по межгосударственной стандартизации установлены
ГОСТ 1.0 "Межгосударственная система стандартизации. Основные положения" и
ГОСТ 1.2 "Межгосударственная система стандартизации. Стандарты межгосударственные, правила и рекомендации по межгосударственной стандартизации. Правила разработки, принятия, обновления и отмены"
1 ПОДГОТОВЛЕН ОАО "Всероссийский научно-исследовательский институт сертификации" (ОАО "ВНИИС") на основе собственного перевода на русский язык англоязычной версии стандарта, указанного в пункте 5
2 ВНЕСЕН Федеральным агентством по техническому регулированию и метрологии
3 ПРИНЯТ Межгосударственным советом по стандартизации, метрологии и сертификации (протокол от 27 декабря 2013 г. N 63-П)
За принятие проголосовали:
Краткое наименование страны по МК (ИСО 3166) 004-97 | Код страны по МК (ИСО 3166) 004-97 | Сокращенное наименование национального органа по стандартизации |
Азербайджан | AZ | Азстандарт |
Армения | AM | ЗАО "Национальный орган по стандартизации и метрологии" Республики Армения |
Беларусь | BY | Госстандарт Республики Беларусь |
Грузия | GE | Грузстандарт |
Казахстан | KZ | Госстандарт Республики Казахстан |
Киргизия | KG | Кыргызстандарт |
Молдова | MD | Институт стандартизации Молдовы |
Россия | RU | Росстандарт |
Таджикистан | TJ | Таджикстандарт |
Туркмения | TM | Главгосслужба "Туркменстандартлары" |
Узбекистан | UZ | Узстандарт |
4
Приказом Федерального агентства по техническому регулированию и метрологии от 23 января 2024 г. N 42-ст межгосударственный стандарт ГОСТ IEC 61058-2-1-2013 введен в действие в качестве национального стандарта Российской Федерации с 1 марта 2025 г. с правом досрочного применения
5 Настоящий стандарт идентичен международному стандарту IEC 61058-2-1:2010 "Выключатели для электрических бытовых приборов. Часть 2-1. Дополнительные требования к шнуровым выключателям" ("Switches for appliances - Part 2-1: Particular requirements for cord switches", IDT).
Международный стандарт разработан Подкомитетом SC 23J "Выключатели для приборов" Технического комитета по стандартизации IEC/TC 23 "Электрическое вспомогательное оборудование" Международной электротехнической комиссии (IEC).
При применении настоящего стандарта рекомендуется использовать вместо ссылочных международных стандартов соответствующие им межгосударственные стандарты, сведения о которых приведены в дополнительном
приложении ДА
6 ВЗАМЕН ГОСТ IEC 61058-2-1-2012
Информация о введении в действие (прекращении действия) настоящего стандарта и изменений к нему на территории указанных выше государств публикуется в указателях национальных стандартов, издаваемых в этих государствах, а также в сети Интернет на сайтах соответствующих национальных органов по стандартизации.
В случае пересмотра, изменения или отмены настоящего стандарта соответствующая информация будет опубликована на официальном интернет-сайте Межгосударственного совета по стандартизации, метрологии и сертификации в каталоге "Межгосударственные стандарты"
Настоящий стандарт представляет собой прямое применение международного стандарта IEC 61058-2-1:2010.
Настоящий стандарт применяют совместно с IEC 61058-1. Если в настоящем стандарте встречается ссылка на часть 1, то это соответствует IEC 61058-1.
Настоящий стандарт содержит требования к шнуровым выключателям и методы испытаний, которые дополняют, заменяют или исключают соответствующие разделы и (или) пункты части 1.
Если в настоящем стандарте нет ссылки на какой-либо пункт или приложение части 1, то этот пункт или приложение применяется полностью.
Нумерация пунктов, таблиц настоящего стандарта, которые дополняют разделы части 1, начинается с цифры 101.
В настоящем стандарте использованы следующие шрифтовые выделения:
- текст требований - светлый;
- методы испытаний - курсив;
- примечания - светлый петит.
Подразделы, примечания, таблицы и рисунки, пронумерованные начиная со 101, являются дополнительными к тем, что приведены в части 1.
Применяют соответствующий раздел части 1 со следующими изменениями и дополнениями:
1.1 Замена:
Настоящий стандарт распространяется на шнуровые выключатели (механические или электронные) для электрических приборов, приводимые в действие рукой, ногой или посредством любого действия человека и используемые для включения и управления электрическими приборами и другим оборудованием бытового или аналогичного назначения номинальным напряжением не более 250 В и номинальным током не более 16 А.
Эти выключатели предназначены для приведения в действие человеком посредством органа управления или датчика. Орган управления или датчик может быть встроен в выключатель или расположен отдельно от выключателя. Передача сигнала (например, электрического, оптического, акустического или теплового) между органом управления или датчиком и выключателем может быть осуществлена либо физическим, либо электрическим способом.
Выключатели с дополнительными возможностями по управлению функциями выключателя входят в область применения настоящего стандарта.
Настоящий стандарт распространяется также на выключатели, приводимые в действие косвенным способом, когда приведение в действие органа управления или датчика выполняется дистанционным управлением или частью прибора или оборудования, например дверцей.
Примечание 1 - Электронные выключатели могут объединяться с механическими выключателями, обеспечивающими полное отключение или микроотключение.
Примечание 2 - Электронные выключатели без механического выключателя в цепи питания обеспечивают только электронное отключение, поэтому цепь со стороны нагрузки считают всегда находящейся под напряжением.
Примечание 3 - К выключателям, предназначенным для применения в тропическом климате, могут быть установлены дополнительные требования.
Примечание 4 - Необходимо учитывать, что стандарты на электрические приборы могут содержать дополнительные или альтернативные требования к выключателям.
Примечание 5 - В настоящем стандарте под термином "электрический прибор" понимается электрический прибор или оборудование.
1.2 Замена:
Настоящий стандарт распространяется на выключатели, предназначенные для присоединения к гибким кабелям.
Примечание - В настоящем стандарте под термином "кабель" понимается "кабель или шнур".
1.3 Этот подраздел применяют.
1.4 Этот подраздел не применяют.
Применяют соответствующий раздел части 1 со следующим дополнением:
2.1 Дополнение:
IEC 60227 (all parts) Polyvinyl chloride insulated cables of rated voltages up to and including 450/750 V (Кабели с поливинилхлоридной изоляцией, рассчитанные на номинальные напряжения до 450/750 В включительно)
IEC 60227-5:1997
<1> Polyvinyl chloride insulated cables of rated voltages up to and including 450/750 V - Part 5: Flexible cables (cords) [Кабели с поливинилхлоридной изоляцией на номинальные напряжения до 450/750 В включительно. Часть 5. Гибкие кабели (шнуры)]
--------------------------------
<1> Заменен на IEC 60227-5:2003, включающий в себя редакцию IEC 60227-5:1997 с изменениями Amd.1:1997 и Amd.2:2003. Действует IEC 60227-5:2011. Однако для однозначного соблюдения требования настоящего стандарта, выраженного в датированной ссылке, рекомендуется использовать только указанное в этой ссылке издание.
Amendment 1 (1997)
Amendment 2 (2003)
IEC 60245 (all parts) Rubber insulated cables - Rated voltages up to and including 450/750 V (Кабели с резиновой изоляцией. Номинальные напряжения до 450/750 В включительно)
IEC 60335-2-17:2002
<2> Household and similar electrical appliances - Safety - Part 2-17: Particular requirements for blankets, pads, clothing and similar flexible heating appliances (Бытовые и аналогичные электрические приборы. Безопасность. Часть 2-17. Дополнительные требования к одеялам, подушкам, одежде и аналогичным гибким обогревательным приборам)
--------------------------------
<2> Заменен на IEC 60335-2-17:2009, включающий в себя редакцию IEC 60335-2-17:2002 с изменениями Amd.1:2006 и Amd.2:2008. Действует IEC 60335-2-17:2022. Однако для однозначного соблюдения требования настоящего стандарта, выраженного в датированной ссылке, рекомендуется использовать только указанное в этой ссылке издание.
Amendment 1 (2006)
Amendment 2 (2008)
Применяют соответствующий раздел части 1 со следующими дополнениями:
3.3 Термины и определения, относящиеся к различным типам выключателей.
Дополнение:
3.3.101 шнуровой выключатель (cord switch): Отдельно защищенный выключатель, предназначенный для подключения к сети и/или к прибору или оборудованию посредством гибкого(их) кабеля(ей).
Примечание - Гибкий(е) кабель(и) может (могут) быть введен(ы) в корпус выключателя с любого направления и может (могут) быть соединен(ы) с корпусом.
3.5 Термины и определения, относящиеся к способу присоединения к выключателю.
Дополнения:
3.5.101 разъемный выключатель (rewirable switch): Выключатель, отверстия в корпусе которого обеспечивают доступ к зажимам и позволяют проводить замену внешнего проводника.
3.5.102 неразъемный выключатель (non-rewirable switch): Выключатель, сконструированный таким образом, что при соединении с гибким кабелем после подключения и сборки он образует единое (нераздельное) соединение, не позволяющее заменить внешний проводник без разрушения выключателя.
Применяют соответствующий раздел части 1.
5 Общие условия проведения испытаний
Применяют соответствующий раздел части 1 со следующим дополнением:
Дополнение:
5.101 Для испытаний неразъемных выключателей согласно
разделам 16 и
17 могут быть предусмотрены специальные образцы для испытаний, а для соответствия требованиям
пунктов 12.3.101 и
12.3.102 используют по три дополнительных образца для испытаний.
Применяют соответствующий раздел части 1 со следующими изменениями:
Максимальное номинальное напряжение составляет 250 В.
Примечание - Предпочтительные значения - 50, 130 и 250 В. Допускаются номинальные напряжения, отличающиеся от предпочтительных значений.
Максимальный номинальный ток составляет 16 А.
Соответствие требованиям 6.1 -
6.3 проверяют осмотром маркировки и документации.
Примечание - Предпочтительные значения: 1, 2, 4, 6, 10, 16 А.
Применяют соответствующий раздел части 1 со следующими дополнениями:
7.1.15.2 Данный подраздел не применяют.
Дополнение:
7.1.101 В соответствии со способом присоединения к выключателю:
7.1.101.1 - разъемные выключатели;
7.1.101.2 - неразъемные выключатели.
7.1.102 В соответствии со средствами для крепления:
7.1.102.1 - со средствами для крепления;
7.1.102.2 - без средств для крепления.
7.1.103 В соответствии с типом шнуров, предназначенных для применения совместно с выключателем:
7.1.103.1 - выключатели, пригодные для присоединения шнуров с круглым поперечным сечением;
7.1.103.2 - выключатели, пригодные для присоединения только плоских шнуров;
7.1.103.3 - выключатели, пригодные для присоединения как шнуров с круглым поперечным сечением, так и плоских шнуров.
8 Маркировка и документация
Применяют соответствующий раздел части 1 со следующими дополнениями:
Таблица 3
Информация о выключателе
Дополнение:
N | Характеристика | Подпункт | Способ информации |
Общее обозначение типа | Уникальное обозначение типа |
5 | Клеммы/провода |
5.101 | Если шнуровой выключатель является неразъемным, это должно быть отражено в документации | | Д | Д |
5.102 | Если шнуровой выключатель пригоден для присоединения только плоских шнуров, это должно быть отражено в документации | | Д | Д |
101 | Категория или тип прибора, с которым может быть использован выключатель |
101.1 | Шнуровой выключатель, предназначенный только для управления источниками света | | Д | Д |
101.2 | Категория или тип прибора в соответствии с IEC 60335-2-17, с которым может быть использован выключатель | | Д | Д |
Дополнение:
8.101 Для выключателей, предназначенных только для управления источниками света, маркировка символом "Выкл." не требуется.
9 Защита от поражения электрическим током
Применяют соответствующий раздел части 1 со следующими дополнениями и изменениями:
9.1 Дополнение в конце подраздела:
Для шнуровых выключателей испытания проводят, когда к выключателю присоединяют шнур либо с минимальной, либо с максимальной номинальной площадью поперечного сечения, указанной в таблице 4, исходя из того, что для них более неблагоприятно.
9.1.2 Замена:
Если крышка, накладка или плавкий предохранитель могут быть удалены без применения инструмента, то защита от контакта с токоведущими частями должна быть обеспечена даже после удаления крышки или накладки.
Если на внешней стороне выключателя имеется маркировка, указывающая, что предохранитель находится внутри выключателя, а крышка или накладка должны быть удалены с помощью инструмента, то защита от контакта с токоведущими частями должна быть обеспечена даже после удаления крышки или накладки.
Если на внешней стороне выключателя отсутствует маркировка, но в руководстве по эксплуатации указано, что предохранитель находится внутри выключателя, крышка или накладка должна быть удалена с помощью инструмента, то защита от контакта с токоведущими частями должна быть обеспечена даже после удаления крышки или накладки либо в руководстве по эксплуатации должно быть указано, что перед удалением крышки выключатель должен быть отключен от источника питания.
Соответствие проверяют с помощью стандартного испытательного пальца, испытательного щупа B по IEC 61032.
Дополнение:
9.101 Неразъемные выключатели испытывают со шнурами, присоединенными к выключателям изготовителем.
Применяют соответствующий раздел части 1 со следующими дополнениями:
10.1 Дополнение в конце подраздела:
Клеммы для постоянного заземления допускается применять, если они отделены от токоведущих частей основной изоляцией, а от доступных частей - дополнительной изоляцией.
Примечание - Пример системы изоляции для постоянного заземления представлен в таблице 105.
10.3 Этот подраздел не применяют.
Дополнение:
10.101 Печатные проводники печатных плат могут быть использованы для постоянного заземления при соблюдении следующих условий:
- не менее двух дорожек на печатной плате должны быть с независимыми точками пайки, а выключатель должен соответствовать 10.4 для каждой дорожки;
- материал печатной платы должен состоять из слоистого листа эпоксидной стекловолокнистой ткани, фольгированной медью;
- печатные проводники должны выдерживать испытание на короткое замыкание в соответствии с 23.3.
Применяют соответствующий раздел части 1 со следующим изменением:
Замена:
Таблица 4
Активный ток, протекающий через зажим,
и соответствующая площадь поперечного сечения
зажимов для неподготовленных проводников
Активный ток, протекающий через зажим, А | Гибкие проводники |
Площадь поперечного сечения, мм2 | Размер зажима |
минимальная | средняя | максимальная |
От 0 до 3 включ. | - | 0,5 | 0,75 | - |
От 3 до 6 включ. | 0,5 | 0,75 | 1,0 | 0 |
От 6 до 16 включ. | 0,75 | 1,0 | 1,5 | 1 |
11.1.2 Не применяют к разъемным шнуровым выключателям.
Применяют соответствующий раздел части 1 со следующими дополнениями:
12.1.2 Дополнение:
- короткие жесткие провода считают неподверженными выпадению из зажима, если они сохраняют свое положение при ослаблении зажимного винта.
Дополнения:
12.1.101 Если устройства для электрического/механического соединения, используемые для присоединения отдельных проводов пайкой, классифицируют в соответствии с 7.2.12, для закрепления проводников должны быть предусмотрены дополнительные устройства.
12.3.101 Шнуровые выключатели должны иметь такое анкерное крепление, при котором проводники не подвергаются деформированию, включая скручивание проводников в местах их присоединения к зажимам, и при котором оболочка шнура защищена от абразивного истирания и изменения формы.
12.3.102 Должна быть предоставлена четкая информация о шнуре во избежание его деформирования и предотвращения скручивания.
12.3.103 Заменяющие способы, такие как завязывание шнура в узел или обвязка концов шпагатом, не должны применяться.
12.3.104 Анкерные крепления шнуровых выключателей должны быть выполнены из изоляционного материала, или если они выполнены из металла, то они должны быть изолированы от открытых металлических частей или открытых поверхностей изоляцией, которая соответствует требованиям, установленным для дополнительной изоляции.
12.3.105 Анкерные крепления для разъемных шнуровых выключателей должны быть сконструированы таким образом, чтобы их детали не выпадали при снятии крышки выключателя, даже если выключатели не снабжены шнурами.
12.3.106 Анкерные крепления должны быть сконструированы таким образом, чтобы:
- при любом способе присоединения шнур был зафиксирован так, чтобы его изоляция не была разрезана или значительно повреждена.
Примечание - Допускается незначительное деформирование изоляции в том случае, когда не нарушена целостность изоляции шнура;
- шнур не касался винтовых зажимов анкерного крепления, если эти зажимы открыты или электрически соединены с открытыми металлическими частями;
- шнур не был зажат винтом, который непосредственно касается шнура, кроме случаев, когда винт выполнен из изоляционного материала;
- для разъемных выключателей по крайней мере одна его часть была надежно прикреплена к корпусу выключателя;
- для разъемных выключателей замена шнура не требовала использования специального инструмента;
- для разъемных выключателей анкерные крепления соответствовали различным типам шнуров, которые могут быть присоединены.
12.3.107 Анкерные крепления для разъемных выключателей должны быть сконструированы и расположены таким образом, чтобы замена шнура могла осуществляться без затруднений.
Соответствие требованиям 12.3.101 - 12.3.107 проверяют осмотром и испытанием на растяжение в устройствах, аналогичных устройствам, приведенным на рисунке 101, а затем испытанием на кручение в устройствах, аналогичных устройствам, приведенным на рисунке 104:
- неразъемные выключатели испытывают со шнурами изготовителя и для испытания используют три новых дополнительных испытуемых образца;
- три новых разъемных выключателя испытывают со шнурами в ПВХ-оболочке, имеющими минимальную и максимальную номинальную площадь поперечного сечения, указанную в таблице 101. Перед испытанием свободную длину шнура обрезают до (150 +/- 5) мм;
- разъемные выключатели с проводкой, которая сконструирована для присоединения плоских шнуров с ПВХ-изоляцией (IEC 60227), испытывают только с плоскими шнурами.
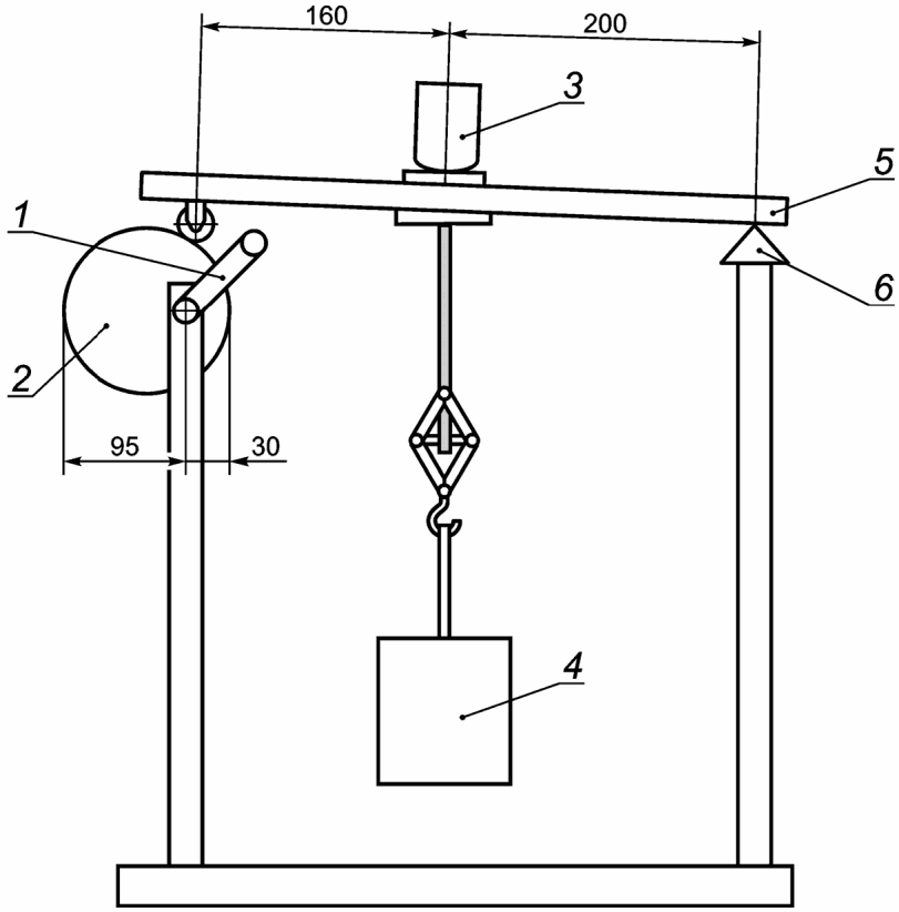
1 - коленчатый рычаг; 2 - эксцентрик; 3 - образец;
4 - груз; 5 - перекладина; 6 - ось шарнира
Рисунок 101 - Тяговое устройство для испытания
анкерного крепления шнура
Таблица 101
Номинальный ток нагрузки и тип шнуров
Номинальный ток нагрузки, А | Число жил | Площадь поперечного сечения, мм2 | Тип шнура в соответствии с IEC 60227, пл = плоский | Общий диаметр |
Минимум, мм | Максимум, мм |
От 0,2 до 3 включ. | 2 | 0,5 | 52 52 (пл) | 4,8 | 6,0 |
0,75 | 52 | 5,2 | 6,4 |
52 (пл) | 3,2 x 5,2 | 3,9 x 6,4 |
3 | 0,5 | 52 | 5,0 | 5,2 |
0,75 | 52 | 5,4 | 6,8 |
От 3 до 6 включ. | 2 | 0,75 | 52 | 52 | 6,4 |
52 (пл) | 3,2 x 5,2 | 3,9 x 6,4 |
53 | 6,0 | 7,6 |
53 (пл) | 3,8 x 6,0 | 5,2 x 7,6 |
2 | 1 | 53 | 5,9 | 7,5 |
53 (пл) | 3,9 x 6,2 | 4,7 x 7,5 |
3 | 0,75 | 52 | 5,4 | 6,8 |
53 | 6,4 | 8,0 |
4 | 0,75 | 53 | 7,6 | 9,4 |
1,0 | 53 | 7,6 | 9,4 |
От 6 до 16 включ. | 2 | 0,75 | 52 | 52 | 6,4 |
52 (пл) | 3,2 x 5,2 | 3,9 x 6,4 |
53 | 6,0 | 7,6 |
53 (пл) | 3,8 x 6,0 | 5,2 x 7,6 |
1,0 | 53 | 6,4 | 8,0 |
1,5 | 53 | 7,4 | 9,0 |
3 | 0,75 | 52 | 5,4 | 6,8 |
53 | 6,4 | 8,0 |
1,0 | 53 | 6,8 | 8,4 |
1,5 | 53 | 8,0 | 9,8 |
4 | 1,0 | 53 | 7,6 | 9,4 |
1,5 | 53 | 9,0 | 11,0 |
Токопроводящие жилы шнура вставляют в зажимы разъемного выключателя, а металлические винты зажимов затягивают настолько сильно, чтобы токопроводящие жилы оставались на своих местах без изменения положения.
Анкерные крепления используют следующим образом: винтовые зажимы, затянутые крутящим моментом, равным 2/3 значения крутящего момента, установленного в 19.2, фиксируют, а винты из изоляционного материала фиксируют при затягивании крутящим моментом, равным 2/3 крутящего момента, указанного в таблице 103. После повторной сборки выключателя его составные части должны плотно прилегать друг к другу и не должно наблюдаться продвижение шнура вовнутрь выключателя на любую заметную величину.
Сначала выключатель фиксируют в испытательном устройстве в соответствии с рисунком 101 таким образом, чтобы в том месте, где шнур входит в образец, ось шнура была вертикальна. Затем шнур подвергают 100-кратному растяжению при усилии 60 Н. Растяжение осуществляют без рывков, каждый раз в течение 1 с.
Непосредственно после этого испытания шнур подвергают воздействию крутящего момента с помощью испытательного устройства, приведенного на рисунке 104, в течение 1 мин:
- 0,15 Н·м для шнуров с площадью поперечного сечения не более 0,75 мм2;
- 0,25 Н·м для шнуров с площадью поперечного сечения 1 мм2 и 1,5 мм2.
Крутящий момент прикладывают, насколько это возможно, ближе к выключателю.
Для выключателей, применяемых для электрических одеял, подушек и аналогичных гибких нагревательных приборов в соответствии с IEC 60335-2-17, испытания на растяжение и воздействие крутящего момента проводят с усилием растяжения 100 Н и значением крутящего момента 0,15 Н·м.
Во время испытания шнур не должен быть поврежден. Во время испытания шнур не перемещают в продольном направлении более чем на 2 мм и не должно быть существенного напряжения в соединении. Пути утечки и воздушные зазоры не должны быть менее значений, установленных в разделе 20. Для неразъемных выключателей не должен наблюдаться разрыв в электрических соединениях.
Для измерения продольного смещения шнур помечают и подвергают первому растяжению. После испытания измеряют смещение по отношению к образцу при дополнительном растяжении.
12.3.108 Для неразъемных выключателей должны быть предоставлены шнуры, соответствующие либо IEC 60227-5, либо IEC 60245.
Соответствие проверяют осмотром.
12.3.109 Винты, если таковые имеются, которые используют при замене шнура, не должны применяться для крепления никаких других элементов, кроме случаев, когда выключатель является неисправным или явно некомплектным, если они изъяты или неправильно заменены, или элемент, предназначенный для фиксации, не может быть удален из выключателя без применения инструмента.
Примечание - Это не исключает, что крышка не может служить в качестве анкерного крепления или в качестве части анкерного крепления.
Соответствие проверяют осмотром.
12.3.110 Шнуровые выключатели должны быть сконструированы таким образом, чтобы шнуры могли выдерживать воздействие на изгиб, который может произойти при стандартном применении. Входное отверстие или втулка не должны иметь острых краев.
Если защитное устройство шнура удовлетворяет вышеуказанным требованиям, оно не должно составлять одно целое со шнуром, кроме выключателей с зажимами, классифицированными в соответствии с 7.2.3, где специальные шнуры, например с вмонтированным в шнур устройством защиты, могут быть несъемные, но только в случае, если невозможно присоединить стандартный шнур без защиты шнура во время технического обслуживания и текущего ремонта.
Соответствие проверяют, подвергая выключатель, присоединенный к шнуру или нескольким шнурам, для которых он сконструирован, следующим испытаниям.
Выключатель устанавливают в устройство для испытания на изгиб, приведенное на рисунке 102. Испытания проводят исходя из следующего:
a) испытание выполняют только один раз с присоединенным шнуром максимальной площади поперечного сечения;
b) для выключателей с номинальным током более 3 А используют шнур по IEC 60227-5;
c) если выключатель классифицируют в соответствии с 7.1.103.3, испытание следует проводить с двумя типами шнуров;
d) если выключатель классифицируют в соответствии с 7.1.103.2, используют плоский шнур;
e) для неразъемных выключателей используют дополнительные испытуемые образцы.
1 - приспособление для фиксации образца; 2 - шнур;
3 - образец; 4 - груз; 5 - ось колебания
Рисунок 102 - Устройство для испытания на изгиб
Ось колебания выбирают таким образом, чтобы груз, прикрепленный к шнуру, и сам шнур совершали минимальное поперечное перемещение во время испытания. Образцы с плоскими шнурами закрепляют таким образом, чтобы большая ось поперечного сечения была параллельна оси колебания.
К каждому шнуру, проходящему через входное отверстие, подвешивают груз массой 1 кг. Ток равен номинальному току, протекающему по каждой токопроводящей жиле, который при работающем при номинальном напряжении выключателе протекает по каждой жиле, а напряжение между токопроводящими жилами является максимальным номинальным напряжением. Колебательный элемент перемещают назад и вперед под углом 22,5° (с каждой стороны отвесной линии), число изгибов (которые являются одним перемещением на угол 45°) составляет 5000, а частота изгибов составляет 60 раз в минуту.
Для выключателей, применяемых для электрических одеял, подушек и аналогичных гибких нагревательных приборов в соответствии с IEC 60335-2-17, перемещение колебательного элемента должно проводиться на угол 45° (с каждой стороны отвесной линии) и при нагрузке на шнур 0,5 кг.
Разъемный выключатель подвергают 10 000 изгибов, а неразъемный - 20 000 изгибов.
Во время испытания не должно быть прерываний в подаче тока для испытания и коротких замыканий между проводниками.
После испытания образцы не должны быть повреждены в пределах требований настоящего стандарта.
12.3.111 В разъемных шнуровых выключателях должно быть достаточно пространства внутри выключателей для внутренних проводников, чтобы проводники могли быть легко вставлены и присоединены, а крышка, если таковая имеется, присоединена без риска повреждения проводников или их изоляции.
Должна быть предусмотрена возможность проверки правильности присоединения и расположения проводников перед тем, как будет установлена крышка.
Соответствие проверяют осмотром и посредством присоединения шнуров с максимальной площадью поперечного сечения в соответствии с таблицей 4.
12.3.112 Для разъемных однополюсных шнуровых выключателей должны быть предусмотрены дополнительный зажим или зажимы, которые позволяют присоединить некоммутируемый проводник или проводники.
К этому зажиму или зажимам должна быть предусмотрена возможность присоединения как входящего, так и выходящего концов некоммутируемого проводника или проводников.
12.3.113 Неразъемные выключатели должны иметь запаянные, сварные, обжимные или эквивалентные эффективные неразъемные соединения.
Конструкция выключателя должна быть такой, чтобы без приведения выключателя в неисправное состояние:
- шнур не мог быть отделен от выключателя;
- выключатель не мог открываться вручную или с помощью инструмента.
Выключатель считают вышедшим из строя, если при его повторной сборке использованы детали или материалы, отличающиеся от первично установленных.
Примечание - Первично установленными деталями считают детали, первоначально входящие в состав выключателя и не являющиеся его запасными частями.
Соответствие проверяют осмотром и испытанием вручную. Для безвинтовых зажимов применяют испытание на термостойкость по 11.1.3.4.
12.3.114 Для сборки предварительно смонтированных шнуровых выключателей номинальный ток шнура должен находиться в соответствии с номинальным током выключателя и должен соответствовать значениям, приведенным в
таблице 102.
Таблица 102
Номинальный активный ток выключателя, А | Площадь поперечного сечения проводника, мм2 |
От 0 до 3 включ. | 0,5 - 0,75 |
От 3 до 6 включ. | 0,75 - 1,0 |
От 6 до 10 включ. | 0,75 - 1,0 |
От 10 до 16 включ. | 0,75 - 1,0 - 1,5 |
12.3.115 Разъемные шнуровые выключатели с зажимами, предусмотренными для постоянного заземления, должны быть спроектированы с достаточным зазором для провода защитного заземления, таким образом, что если устройство защиты от натяжения и скручивания будет повреждено, то присоединение провода защитного заземления будет подвергаться воздействию нагрузки после присоединения токонесущих проводников и при избыточном натяжении провод защитного заземления будет поврежден после присоединения токонесущих проводников.
Соответствие проверяют следующим испытанием.
Шнур присоединяют к шнуровому выключателю таким образом, чтобы токоведущие проводники подводились от устройства защиты от натяжения и скручивания к соответствующим зажимам по наиболее короткому пути.
После их правильного присоединения жилу защитного провода заземления подводят к своему зажиму и обрезают на 8 мм длиннее, чем это необходимо для ее правильного присоединения.
Затем провод защитного заземления присоединяют к соответствующему зажиму. Если крышка выключателя установлена и зафиксирована правильно, тогда петля, образованная проводом защитного заземления, имеющим избыточную длину, должна свободно входить в место разводки без сдавливания или зажатия жилы.
12.3.116 Выключатели со средствами для крепления должны иметь соответствующую механическую прочность для того, чтобы выдерживать напряжение, возникающее во время использования.
Соответствие проверяют следующими испытаниями.
Прокладку между местом, предназначенным для крепления выключателя к стене посредством средств крепления, и токоведущими частями, которая, вероятнее всего, будет подвергнута механическому деформированию, когда выключатель будет крепиться к стене, испытывают следующим образом.
Цилиндрическим стальным стержнем, имеющим диаметр 3 мм и полусферический конец радиусом 1,5 мм, в направлении, перпендикулярном к поверхности несущей стены в наиболее неблагоприятном месте, надавливают в течение 10 с на прокладку с силой 75 Н. Стержень не должен продавливать прокладку.
Выключатель с вмонтированным гибким шнуром крепят к стене как при стандартном использовании при помощи цилиндрического стального стержня, имеющего такие же размеры, как и стержень, описанный выше, и длину, достаточную для того, чтобы контактировать с задней стороной прокладки.
Для наиболее неблагоприятного положения к гибкому шнуру питания прикладывают силу 60 Н в течение 10 с.
Во время испытания средства для крепления выключателя к стене не должны быть повреждены, или, если они повреждены, токоведущие части не должны быть доступны для стандартного испытательного пальца.
12.3.117 Выключатель крепят к стене как при обычном использовании, применяя винт с полукруглой головкой и с диаметром хвостовика 3 мм, и подвергают испытанию на отрыв, прикладывая без рывков силу 50 Н.
Усилие прикладывают в течение 10 с в направлении, при котором нагрузка на средства для крепления будет максимальной.
Во время испытания средства для крепления выключателя к стене не должны быть повреждены, или, если они повреждены, токоведущие части не должны быть доступны для стандартного испытательного пальца.
Примечание - Испытания проводят на каждом средстве для крепления, если имеется более одного средства для крепления.
Применяют соответствующий раздел части 1.
14 Защита от проникновения внешних твердых предметов, пыли и воды
Применяют соответствующий раздел части 1.
15 Сопротивление изоляции и электрическая прочность изоляции
Применяют соответствующий раздел части 1.
Применяют соответствующий раздел части 1.
Применяют соответствующий раздел части 1.
18 Механическая прочность
Применяют соответствующий раздел части 1 со следующим дополнением:
Для испытания по 18.2 шнуровые выключатели, кроме выключателей с ножным управлением, располагают на листе фанеры толщиной 15 мм.
Выключатели с ножным управлением размещают на твердом деревянном стенде толщиной 25 мм.
Дополнения:
18.101
Шнуровые выключатели, кроме выключателей с ножным управлением, испытывают в галтовочном барабане, как приведено на рисунке 103. Ширина барабана должна быть не менее 275 мм, но фактическая ширина должна быть такая, чтобы гарантировать свободное падение выключателя с указанным(и) присоединенным(и) проводом(ами). В барабане однократно испытывают только один образец.
--------------------------------
<*> При значении W = 275 мм.
1 - деревянный блок; 2 - сталь; 3 - резина; 4 - пластиковый
лист со слоистым покрытием; a - корпус вращающегося барабана
из стального листа толщиной 1,5 мм
Рисунок 103 - Галтовочный барабан
1 - образец; 2 - шнур; A - приспособление для фиксации
корпуса образца; B - приспособление для фиксации шнура
образца; C - конец шнура; D - вращающийся вал (вогнутый);
r - радиус шкива; F - груз; P - шкив
Рисунок 104 - Устройство для испытания крутящим моментом
анкерного крепления шнура
B - основная изоляция; D - двойная изоляция;
O - рабочая изоляция; R - усиленная изоляция;
S - дополнительная изоляция; C - доступная деталь
(однополюсный шнуровой выключатель)
Рисунок 105 - Пример для системы изоляции
В соответствии с таблицей 101 к разъемным выключателям присоединяют шнур или шнуры с минимальной площадью поперечного сечения и свободной длиной шнура приблизительно 50 мм.
Винтовые зажимы затягивают крутящим моментом, равным 2/3 значения крутящего момента, установленного в 19.2.
Неразъемные выключатели испытывают с поставляемым(и) шнуром(ами), обрезанным(и) таким образом, чтобы из выключателя выступал свободный конец шнура длиной приблизительно 50 мм.
Образец бросают с высоты 50 см на стальной лист толщиной 3 мм следующее количество раз:
- 1000 - если масса образца без шнура не более 100 г;
- 500 - если масса образца без шнура более 100 г, но не более 200 г;
- 100 - если масса образца без шнура более 200 г.
Барабан вращают со скоростью пять оборотов в минуту таким образом, чтобы происходило 10 падений в минуту.
После испытания образец не должен иметь повреждений, которые нарушили бы его соответствие требованиям настоящего стандарта.
После этого испытания особое внимание обращают на соединение выключателя со шнуром(ами).
Мелкие детали могут быть сломаны, а орган управления поврежден, но без отказа функционирования выключателя, при условии, что это не влияет на защиту от поражения электрическим током и любое отключение выключателя может быть осуществлено с помощью органа управления, даже если он поврежден. Соединения не должны быть ослаблены во время испытания.
18.102 Шнуровые выключатели с ножным управлением подвергают испытанию на сжатие:
- выключатель с присоединенным(и) соответствующим(и) шнуром(ами) устанавливают в стандартное рабочее положение на горизонтальном плоском стальном листе толщиной 15 мм, который устойчиво зафиксирован. Любое перемещение выключателя на листе не допускается;
- к выключателю прикладывают силу с помощью стального стержня диаметром 50 мм. Начальное значение силы (250 +/- 5) Н увеличивают до значения (750 +/- 5) Н в течение 1 мин. Действие этой силы поддерживают еще в течение 1 мин, а затем ее воздействие прекращают;
- испытание повторяют дважды с силой, приложенной в различных направлениях. Три направления выбирают таким образом, чтобы точки приложения силы были самыми неблагоприятными.
После испытаний на образце не должно быть никаких повреждений, которые нарушили бы его соответствие требованиям настоящего стандарта.
19 Винты, токоведущие части и соединения
Применяют соответствующий раздел части 1 со следующими дополнениями:
Дополнение:
19.101 Винты из изоляционного материала
Таблица 103
Значения крутящего момента для винтов
из изоляционного материала
Номинальный диаметр резьбы, мм | Крутящий момент, Н·м  |
До 2,8 включ. | 0,2 |
От 2,8 до 3 включ. | 0,25 |
От 3 до 3,2 включ. | 0,3 |
От 3,2 до 3,6 включ. | 0,4 |
От 3,6 до 4,1 включ. | 0,5 |
От 4,1 до 5,3 включ. | 0,6 |
От 5,3 | 0,7 |
19.102 Следует исключить возможность замены винтов из изоляционного материала металлическими винтами, если данная замена снизит безопасность, например уменьшит воздушные зазоры.
20 Зазоры, пути утечки, расстояния через изоляцию и защитные покрытия печатных плат в сборе
Применяют соответствующий раздел части 1.
Применяют соответствующий раздел части 1.
Применяют соответствующий раздел части 1.
23 Ненормальная работа и условия неисправности для электронных выключателей
Применяют соответствующий раздел части 1.
24 Компоненты для электронных выключателей
Применяют соответствующий раздел части 1.
25 Требования к электромагнитной совместимости
Применяют соответствующий раздел части 1.
Применяют соответствующие приложения части 1.
(справочное)
СВЕДЕНИЯ О СООТВЕТСТВИИ ССЫЛОЧНЫХ МЕЖДУНАРОДНЫХ СТАНДАРТОВ
МЕЖГОСУДАРСТВЕННЫМ СТАНДАРТАМ
Таблица ДА.1
Обозначение ссылочного международного стандарта | Степень соответствия | Обозначение и наименование соответствующего межгосударственного стандарта |
| | ИС МЕГАНОРМ: примечание. В официальном тексте документа, видимо, допущена опечатка: стандарт "Кабели с поливинилхлоридной изоляцией на номинальное напряжение до 450/750 В включительно. Лифтовые кабели и кабели для гибких соединений" имеет номер ГОСТ IEC 60227-6-2011, а не ГОСТ IEC 60227-6-2010. | |
|
IEC 60227 (all parts) | IDT | ГОСТ IEC 60227-1-2011 "Кабели с поливинилхлоридной изоляцией на номинальное напряжение до 450/750 В включительно. Часть 1. Общие требования" ГОСТ IEC 60227-2-2012 "Кабели с поливинилхлоридной изоляцией на номинальное напряжение до 450/750 В включительно. Часть 2. Методы испытаний" ГОСТ IEC 60227-3-2011 "Кабели с поливинилхлоридной изоляцией на номинальное напряжение до 450/750 В включительно. Кабели без оболочки для стационарной прокладки" ГОСТ IEC 60227-4-2011 "Кабели с поливинилхлоридной изоляцией на номинальное напряжение до 450/750 В включительно. Кабели в оболочке для стационарной прокладки" ГОСТ IEC 60227-5-2011 "Кабели с поливинилхлоридной изоляцией на номинальное напряжение до 450/750 В включительно. Часть 5. Гибкие кабели (шнуры)" ГОСТ IEC 60227-6-2010 "Кабели с поливинилхлоридной изоляцией на номинальное напряжение до 450/750 В включительно. Лифтовые кабели и кабели для гибких соединений" ГОСТ IEC 60227-7-2012 "Кабели с поливинилхлоридной изоляцией на номинальное напряжение до 450/750 В включительно. Часть 7. Кабели гибкие экранированные и неэкранированные с двумя или более токопроводящими жилами" |
IEC 60227-5:1997 | IDT | ГОСТ IEC 60227-5-2011 "Кабели с поливинилхлоридной изоляцией на номинальное напряжение до 450/750 В включительно. Часть 5. Гибкие кабели (шнуры)" |
IEC 60245 (all parts) | IDT | ГОСТ IEC 60245-1-2011 "Кабели с резиновой изоляцией на номинальное напряжение до 450/750 В включительно. Часть 1. Общие требования" ГОСТ IEC 60245-2-2011 "Кабели с резиновой изоляцией на номинальное напряжение до 450/750 В включительно. Методы испытаний" ГОСТ IEC 60245-3-2011 "Кабели с резиновой изоляцией на номинальное напряжение до 450/750 В включительно. Кабели с нагревостойкой кремнийорганической изоляцией" ГОСТ IEC 60245-4-2011 "Кабели с резиновой изоляцией на номинальное напряжение до 450/750 В включительно. Часть 4. Шнуры и гибкие кабели" ГОСТ IEC 60245-5-2011 "Кабели с резиновой изоляцией на номинальное напряжение до 450/750 В включительно. Лифтовые кабели" ГОСТ IEC 60245-6-2011 "Кабели с резиновой изоляцией на номинальное напряжение до 450/750 В включительно. Кабели для электродной дуговой сварки" ГОСТ IEC 60245-7-2011 "Кабели с резиновой изоляцией на номинальное напряжение до 450/750 В включительно. Кабели с нагревостойкой этиленвинилацетатной резиновой изоляцией" ГОСТ IEC 60245-8-2011 "Кабели с резиновой изоляцией на номинальное напряжение до 450/750 В включительно. Часть 8. Шнуры для областей применения, требующих высокой гибкости" |
IEC 60335-2-17:2002 | - | |
<*> Соответствующий межгосударственный стандарт отсутствует. До его принятия рекомендуется использовать перевод на русский язык данного международного стандарта. Примечание - В настоящей таблице использовано следующее условное обозначение степени соответствия стандартов: - IDT - идентичный стандарт. |
--------------------------------
<1> Действует
ГОСТ IEC 60335-2-17-2014 "Бытовые и аналогичные электрические приборы. Безопасность. Часть 2-17. Частные требования к одеялам, подушкам, одежде и аналогичным гибким нагревательным приборам", идентичный IEC 60335-2-17:2012.
УДК 621.316.542:006.354 | | IDT |
Ключевые слова: выключатели для электрических приборов, выключатели шнуровые, выключатели разъемные, выключатели неразъемные, крепления анкерные |