Главная // Актуальные документы // ГОСТ (Государственный стандарт)
СПРАВКА
Источник публикации
М.: ФГБУ "Институт стандартизации", 2024
Примечание к документу
Документ включен в Перечень международных и региональных (межгосударственных) стандартов, а в случае их отсутствия - национальных (государственных) стандартов, в результате применения которых на добровольной основе обеспечивается соблюдение требований технического регламента Таможенного союза "О безопасности низковольтного оборудования" (ТР ТС 004/2011) и в Перечень международных и региональных (межгосударственных) стандартов, а в случае их отсутствия - национальных (государственных) стандартов, содержащих правила и методы исследований (испытаний) и измерений, в том числе правила отбора образцов, необходимые для применения и исполнения требований технического регламента Таможенного союза "О безопасности низковольтного оборудования" (ТР ТС 004/2011) и осуществления оценки соответствия объектов технического регулирования (Решение Коллегии Евразийской экономической комиссии от 11.05.2023 N 55).

Документ вводится в действие с 01.01.2025 с правом досрочного применения.
Название документа
"ГОСТ IEC 60034-11-2014. Межгосударственный стандарт. Машины электрические вращающиеся. Часть 11. Тепловая защита"
(введен в действие Приказом Росстандарта от 15.02.2024 N 232-ст)

"ГОСТ IEC 60034-11-2014. Межгосударственный стандарт. Машины электрические вращающиеся. Часть 11. Тепловая защита"
(введен в действие Приказом Росстандарта от 15.02.2024 N 232-ст)


Содержание


Введен в действие
Приказом Федерального
агентства по техническому
регулированию и метрологии
от 15 февраля 2024 г. N 232-ст
МЕЖГОСУДАРСТВЕННЫЙ СТАНДАРТ
МАШИНЫ ЭЛЕКТРИЧЕСКИЕ ВРАЩАЮЩИЕСЯ
ЧАСТЬ 11
ТЕПЛОВАЯ ЗАЩИТА
Rotating electrical machines. Part 11. Thermal protection
(IEC 60034-11:2004, IDT)
ГОСТ IEC 60034-11-2014
МКС 29.160.30
Дата введения
1 января 2025 года
с правом досрочного применения
Предисловие
Цели, основные принципы и общие правила проведения работ по межгосударственной стандартизации установлены ГОСТ 1.0 "Межгосударственная система стандартизации. Основные положения" и ГОСТ 1.2 "Межгосударственная система стандартизации. Стандарты межгосударственные, правила и рекомендации по межгосударственной стандартизации. Правила разработки, принятия, обновления и отмены"
Сведения о стандарте
1 ПОДГОТОВЛЕН Республиканским государственным предприятием "Казахстанский институт стандартизации и сертификации" на основе собственного перевода на русский язык англоязычной версии стандарта, указанного в пункте 5
2 ВНЕСЕН Комитетом технического регулирования и метрологии Министерства по инвестициям и развитию Республики Казахстан
3 ПРИНЯТ Межгосударственным советом по стандартизации, метрологии и сертификации (протокол от 5 декабря 2014 г. N 46-2014)
За принятие проголосовали:
Краткое наименование страны по МК (ИСО 3166) 004-97
Код страны по МК (ИСО 3166) 004-97
Сокращенное наименование национального органа по стандартизации
Азербайджан
AZ
Азстандарт
Беларусь
BY
Госстандарт Республики Беларусь
Казахстан
KZ
Госстандарт Республики Казахстан
Киргизия
KG
Кыргызстандарт
Молдова
MD
Институт стандартизации Молдовы
Россия
RU
Росстандарт
Таджикистан
TJ
Таджикстандарт
Узбекистан
UZ
Узстандарт
4 Приказом Федерального агентства по техническому регулированию и метрологии от 15 февраля 2024 г. N 232-ст межгосударственный стандарт ГОСТ IEC 60034-11-2014 введен в действие в качестве национального стандарта Российской Федерации с 1 января 2025 г. с правом досрочного применения
5 Настоящий стандарт идентичен международному стандарту IEC 60034-11:2004 "Машины электрические вращающиеся - Часть 11. Тепловая защита" ("Rotating electrical machines - Part 11: Thermal protection", IDT).
Международный стандарт IEC 60034-11:2004 разработан техническим комитетом по стандартизации IEC 2 "Машины вращающиеся".
При применении настоящего стандарта рекомендуется использовать вместо ссылочных международных стандартов соответствующие им межгосударственные стандарты, сведения о которых приведены в дополнительном приложении ДА
6 ВВЕДЕН ВПЕРВЫЕ
Информация о введении в действие (прекращении действия) настоящего стандарта и изменений к нему на территории указанных выше государств публикуется в указателях национальных стандартов, издаваемых в этих государствах, а также в сети Интернет на сайтах соответствующих национальных органов по стандартизации.
В случае пересмотра, изменения или отмены настоящего стандарта соответствующая информация будет опубликована на официальном интернет-сайте Межгосударственного совета по стандартизации, метрологии и сертификации в каталоге "Межгосударственные стандарты"
1 Область применения
Настоящий стандарт устанавливает требования относительно применения устройств тепловой защиты и тепловых детекторов, встроенных в обмотки статора или расположенных в других подходящих положениях, в асинхронных машинах с целью защитить их от серьезного повреждения вследствие тепловых перегрузок. Стандарт применим к машинам, изготовленным в соответствии с IEC 60034-12 с пределами напряжения, указанными в IEC 60034-12. Защита подшипников и других механических частей не рассматривается.
Примечание 1 - Несмотря на то, что температурные значения, приведенные в настоящем стандарте, выше, чем указанные в IEC 60034-1, температурные значения не противоречат друг другу.
Примечание 2 - Могут быть применены дополнительные требования к определенному типу мотора, например на те, которые применяются в бытовой технике, или для моторов, применяемых во взрывоопасных средах.
2 Нормативные ссылки
В настоящем стандарте использованы нормативные ссылки на следующие стандарты [для датированных ссылок применяют только указанное издание ссылочного документа, для недатированных ссылок применяют последнее издание ссылочного документа]:
IEC 60034-1:2010 <1> Rotating electrical machines - Part 1: Rating and performance (Машины электрические вращающиеся. Часть 1. Номинальные значения параметров и эксплуатационные характеристики)
--------------------------------
<1> Заменен на IEC 60034-1:2022. Однако для однозначного соблюдения требования настоящего стандарта, выраженного в датированной ссылке, рекомендуется использовать только указанное в этой ссылке издание.
IEC 60034-12:2002 <2> Rotating electrical machines - Part 12: Starting performance of single-speed three-phase cage induction motors (Машины электрические вращающиеся. Часть 12. Пусковые характеристики односкоростных трехфазных двигателей с короткозамкнутым ротором)
--------------------------------
<2> Заменен на IEC 60034-12:2016. Однако для однозначного соблюдения требования настоящего стандарта, выраженного в датированной ссылке, рекомендуется использовать только указанное в этой ссылке издание.
3 Термины и определения
В настоящем стандарте применены следующие термины с соответствующими определениями:
3.1 тепловая защита (thermal protection): Защита обмоток машины от чрезмерной температуры, возникающей в условиях перегрузки или потери охлаждения.
3.2 система тепловой защиты (thermal protection system): Система для защиты обмотки машины от чрезмерной температуры, возникающей в условиях перегрузки или потери охлаждения с помощью устройства (устройств) тепловой защиты, или теплового(ых) детектора(ов).
3.3 тепловой детектор (thermal detector): Электрически изолированный прибор, чувствительный только к температуре, способный инициировать функцию переключения в системе защиты, когда ее температура достигает предварительно заданный уровень.
3.4 устройство тепловой защиты (thermal protector): Электрически изолированный прибор, чувствительный к температуре обмотки машины, который обтекается током машины, способный напрямую отключить машину, когда ее температура достигает предварительно заданного значения.
Примечание - Некоторые устройства тепловой защиты чувствительны и к температуре, и к току машины, комбинация которых активирует прямое отключение машины.
3.5 тепловая перегрузка с медленным изменением (thermal overload with slow variation): Условие перегрузки или потери охлаждения, которое производит достаточно медленное повышение температуры, так что температура устройства тепловой защиты или детектора следует за ней без ощутимой задержки.
3.6 тепловая перегрузка с быстрым изменением (thermal overload with rapid variation): Условие перегрузки или потери охлаждения, производящее повышение температуры, которое является слишком быстрым для устройства тепловой защиты или теплового детектора, который не может следовать за температурой этой части без отставания, в результате которого со значительной разницей температур термические устройства и детали защищены.
3.7 максимальная температура после выключения (maximum temperature after tripping): Максимальное значение температуры, которое достигает защищенная часть машины за период, который следует после выключения машины через систему тепловой защиты.
3.8 непосредственная тепловая защита (direct thermal protection): Тип защиты, когда часть машины, в которую встроен тепловой детектор(ы) или устройство(а) тепловой защиты, является критичной к тепловой перегрузке.
3.9 косвенная тепловая защита (indirect thermal protection): Тип защиты, когда часть машины, в которую встроен тепловой детектор(ы) или устройство(а) тепловой защиты, не является критичной к тепловой перегрузке.
4 Пределы тепловой защиты
Машины должны быть способны функционировать при номинальной выходной мощности и при всех условиях функционирования в соответствии с IEC 60034-1 без активации устройства тепловой защиты. Устройство тепловой защиты должно ограничивать температуру обмотки в соответствии с 5 или 6.
5 Защита от тепловых перегрузок с медленным изменением
В случае тепловой перегрузки или при другом условии неправильного использования, вызывающем перегрев с медленным изменением, система тепловой защиты должна функционировать для предотвращения превышения температуры обмотки машины значений, указанных в таблице 1.
Таблица 1
Максимальные температуры обмотки для перегрузок
с медленным изменением
Классификация нагревостойкости
130(B)
155(F)
180(H)
Максимальная температура изолированной обмотки, °C
145
170
195
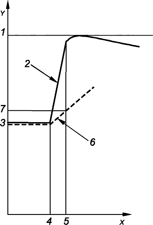
Примеры повышения температуры в зависимости от времени показаны на рисунках 1 и 2.
1 - температура обмотки вблизи устройства тепловой защиты
или детектора; 2 - температура устройства тепловой защиты
или детектора; 3 - температура во время функционирования
при нормальном режиме работы; 4 - время в начале тепловой
защиты; ось X - время; ось Y - температура
Рисунок 1 - Пример тепловой перегрузки
с медленным изменением и прямой тепловой защитой
1 - температура обмотки вблизи теплового детектора или
устройства тепловой защиты; 2 - температура теплового
детектора или устройства тепловой защиты; 3 - интервал
с нормальной циклической частотой; 4 - время в начале
тепловой перегрузки; ось X - время; ось Y - температура
Рисунок 2 - Пример тепловой перегрузки
с медленным изменением в случае слишком интенсивного
повторно-кратковременного режима работы с запуском
(режим работы S4) и прямой тепловой защитой
Температура обмотки должна быть определена с помощью метода сопротивления в соответствии с требованиями, указанными в 8.6.2 IEC 60034-1.
Примечание 1 - Если мотор функционирует в течение длительного периода времени при температуре, превышающей предельные значения по классификации нагревостойкости, указанные в таблице 1, то срок службы мотора снижается.
Примечание 2 - Некоторые условия, при которых может возникнуть тепловая перегрузка с медленным изменением, указаны далее:
- дефекты в вентиляции или системе вентиляции вследствие чрезмерной запыленности в вентиляционных трубах, грязи на обмотках или корпусных охлаждающих ребрах и т.д.;
- чрезмерное повышение окружающей температуры или температуры охлаждающей среды;
- постепенное возрастание механической перегрузки;
- продолжительный перепад напряжения, перенапряжение или несбалансированность при подаче напряжения на машину;
- непрерывная работа мотора, рассчитанного на работу с перерывами;
- отклонение частоты тока.
Примечание 3 - Максимальные пределы температуры основаны на практике с учетом факторов, таких как окружающая температура, изменения в подаче напряжения и нормальные требования для стартерных моторов.
6 Защита от тепловых перегрузок с быстрым изменением
Когда машина подвергается тепловой перегрузке с быстрым изменением, система тепловой защиты должна функционировать для предотвращения превышения температуры обмотки машины значений, указанных в таблице 2.
Таблица 2
Максимальные температуры обмотки для перегрузок
с быстрым изменением
Классификация нагревостойкости
130(B)
155(F)
180(H)
Максимальная температура изолированной обмотки, °C
225
240
260
Если реле максимального тока не обеспечивает нормальную защиту от повторяющихся перегрузок, следует рассмотреть применение устройства тепловой защиты.
Примеры повышения температуры в зависимости от времени показаны на рисунках 3 и 4.
1 - максимальная температура обмотки после отключения;
2 - температура обмотки вблизи устройства тепловой защиты
или детектора; 3 - температура во время функционирования
при нормальном режиме работы; 4 - время в начале тепловой
перегрузки; 5 - время, когда происходит отключение;
6 - температура устройства тепловой защиты или детектора;
7 - рабочая температура теплового детектора или устройства
тепловой защиты; ось X - время; ось Y - температура
Рисунок 3 - Пример тепловой перегрузки с быстрым изменением,
когда термически критическая часть имела
прямую тепловую защиту
1 - максимальная температура после отключения;
2 - температура части, являющейся термически критической
частью для тепловой перегрузки с быстрым изменением;
3 - температура во время функционирования при нормальном
режиме работы; 4 - начало тепловой перегрузки с быстрым
изменением; 5 - время отключения; 6 - температура теплового
детектора или устройства тепловой защиты, встроенного
в термически критическую часть для тепловой перегрузки
с медленным изменением; 7 - температура части, не являющейся
термически критической частью тепловой перегрузки с быстрым
изменением, но которая является термически критической
частью для тепловой перегрузки с медленным изменением;
ось X - время; ось Y - температура
Рисунок 4 - Пример тепловой перегрузки с быстрым изменением,
когда термически критическая часть имеет
косвенную тепловую защиту
Температура обмотки должна быть определена с помощью прямых измерений, например, с помощью термопар, в соответствии с требованиями 8.5.3 IEC 60034-1.
Примечание 1 - Некоторые условия, при которых может возникнуть тепловая перегрузка с быстрым изменением, указаны далее:
- остановка мотора;
- обрыв фазы;
- запуск при ненормальных условиях, например, при слишком большой инерции, слишком низком давлении, аномально высоком крутящем моменте нагрузки;
- внезапное и значительное увеличение нагрузки;
- многократный запуск за короткий период времени.
Примечание 2 - Максимальные пределы температуры основаны на практике с учетом факторов, таких как окружающая температура, изменения в подаче напряжения и нормальные требования для стартерных моторов.
Примечание 3 - Следует отличать температуры, указанные в таблице 2, от рабочих температур устройства тепловой защиты или теплового детектора, которые должны быть значительно ниже этих значений.
7 Перезапуск после остановки
Прежде чем перезапустить остановившуюся машину, необходимо провести исследование для попытки идентифицировать причину функционирования защиты машины. При попытке перезапустить машину необходимо обратить внимание на условия, указанные в 6.3 или 8.3 IEC 60034-12.
Методы защиты, включенные в этот стандарт, только косвенно защищают обмотки ротора. Для больших моторов (особенно для 2-полюсных моторов) и для моторов, запускающих большие инерционные нагрузки, особое внимание следует обратить на ротор, который нагревается, и при запуске и особенно после того, как произошла "остановка".
Примечание - Использование устройства для автоматического перезапуска машины после остановки требует специального согласования с учетом всех требований безопасности.
8 Типовые испытания
8.1 Общие положения
Типовые испытания предназначены для проверки соответствия системы тепловой защиты требованиям настоящего стандарта.
Испытания должны проводиться на машине, представляющей машину данного типа. Необходимо установить предложенную систему тепловой защиты.
Применяемые для испытания датчики температуры должны быть установлены в положении, представляющем расположение тепловых датчиков, используемых системой тепловой защиты.
8.2 Проверка температуры, вызванной тепловыми перегрузками с медленным изменением
При запуске машины при рабочей температуре нагрузку необходимо медленно увеличивать так, чтобы температура обмотки увеличивалась со скоростью не менее 1 К на 5 минут. Значения температуры необходимо регистрировать с промежутками минимум 10 минут.
Когда система тепловой защиты останавливается, машина должна быть отключена, если она не отключена напрямую устройством тепловой защиты. Значения температуры обмотки должны быть определены незамедлительно после остановки в соответствии с требованиями, указанными в 8.6.2 IEC 60034-1.
Значения температуры обмотки не должны превышать значения, указанные в таблице 1.
8.3 Проверка температуры, вызванной тепловыми перегрузками с быстрым изменением
При запуске машины при окружающей температуре, с ротором, заблокированным для предотвращения вращения, необходимо подать номинальное напряжение к обмоткам.
Системы защиты должны работать минимум в течение 10 циклов.
В конце включенного периода необходимо зарегистрировать максимальную температуру обмотки. Для систем ручной перенастройки устройство защиты должно быть повторно отключено как можно быстрее, и мощность восстановлена.
Наивысшая достигнутая температура не должна превышать значения, указанные в таблице 2.
9 Периодические испытания
Приборы, используемые для тепловой защиты, должны быть протестированы для гарантии целостности цепи, чтобы во время установки не произошли никакие повреждения.
Приложение ДА
(справочное)
СВЕДЕНИЯ О СООТВЕТСТВИИ ССЫЛОЧНОГО МЕЖДУНАРОДНОГО СТАНДАРТА
МЕЖГОСУДАРСТВЕННОМУ СТАНДАРТУ
Таблица ДА.1
Обозначение ссылочного международного стандарта
Степень соответствия
Обозначение и наименование соответствующего межгосударственного стандарта
IEC 60034-1:2010
IDT
ГОСТ IEC 60034-1-2014 "Машины электрические вращающиеся. Часть 1. Номинальные значения параметров и эксплуатационные характеристики"
IEC 60034-12:2002
IDT
ГОСТ IEC 60034-12-2021 "Машины электрические вращающиеся. Часть 12. Пусковые характеристики односкоростных трехфазных двигателей с короткозамкнутым ротором"
Примечание - В настоящей таблице использовано следующее условное обозначение степени соответствия стандартов:
- IDT - идентичные стандарты.
УДК 621.313.026.42
МКС 29.160.30
IDT
Ключевые слова: оборудование, тепловая защита, устройство тепловой защиты, тепловой детектор, электробезопасность