Главная // Актуальные документы // ГОСТ (Государственный стандарт)
СПРАВКА
Источник публикации
М.: Издательство стандартов, 1984
Примечание к документу
Документ утратил силу с 1 июля 2014 года в связи с изданием Приказа Росстандарта от 22.11.2013 N 1754-ст. Взамен введен в действие ГОСТ Р 55820-2013.

С 1 июля 2003 года до вступления в силу технических регламентов акты федеральных органов исполнительной власти в сфере технического регулирования носят рекомендательный характер и подлежат обязательному исполнению только в части, соответствующей целям, указанным в пункте 1 статьи 46 Федерального закона от 27.12.2002 N 184-ФЗ.

Ограничение срока действия снято по Протоколу N 5-94 Межгосударственного Совета по стандартизации, метрологии и сертификации ("ИУС", N 11 - 12, 1994).

Утрачивает силу с 1 января 1991 года.

Введен в действие с 1 января 1986 года, в части исполнения 1 - с 1 января 1988 года.
Название документа
"ГОСТ 26168-84. Рельсы остряковые ОР75. Размеры"
(утв. Постановлением Госстандарта СССР от 25.04.1984 N 1434)

"ГОСТ 26168-84. Рельсы остряковые ОР75. Размеры"
(утв. Постановлением Госстандарта СССР от 25.04.1984 N 1434)


Содержание


Утвержден и введен в действие
Постановлением Госстандарта СССР
от 25 апреля 1984 г. N 1434
ГОСУДАРСТВЕННЫЙ СТАНДАРТ СОЮЗА ССР
РЕЛЬСЫ ОСТРЯКОВЫЕ ОР75
РАЗМЕРЫ
Switch point rails OP75. Dimensions
ГОСТ 26168-84
Группа В42
ОКП 09 2100
Постановлением Государственного комитета СССР по стандартам от 13 июля 1984 г. N 2490 срок действия установлен с 01.01.1986 до 01.01.1991; в части исполнения 1 - с 01.01.1988.
Разработан Министерством путей сообщения.
Исполнители: Н.Н. Елсаков; Т.И. Кузнецова; Ю.Н. Петров; В.П. Демидов; С.О. Сурин; Т.А. Демидова; К.С. Исаев; В.Д. Черников; В.Г. Альбрехт; Н.Н. Путря; Б.Э. Глюзберг; В.Г. Донец; В.Д. Нестеров; Н.Ф. Левченко; В.Ф. Коваленко; Ю.М. Таптыгин; А.Н. Жученко; Л.И. Иванисенко.
Внесен Министерством путей сообщения - Зам. министра С.А. Пашинин;
Министерством черной металлургии СССР - Зам. министра А.Ф. Борисов.
Утвержден и введен в действие Постановлением Государственного комитета СССР по стандартам от 25 апреля 1984 г. N 1434.
1. Настоящий стандарт распространяется на остряковые рельсы ОР75 (далее - рельсы), применяемые в конструкциях верхнего строения железнодорожного пути.
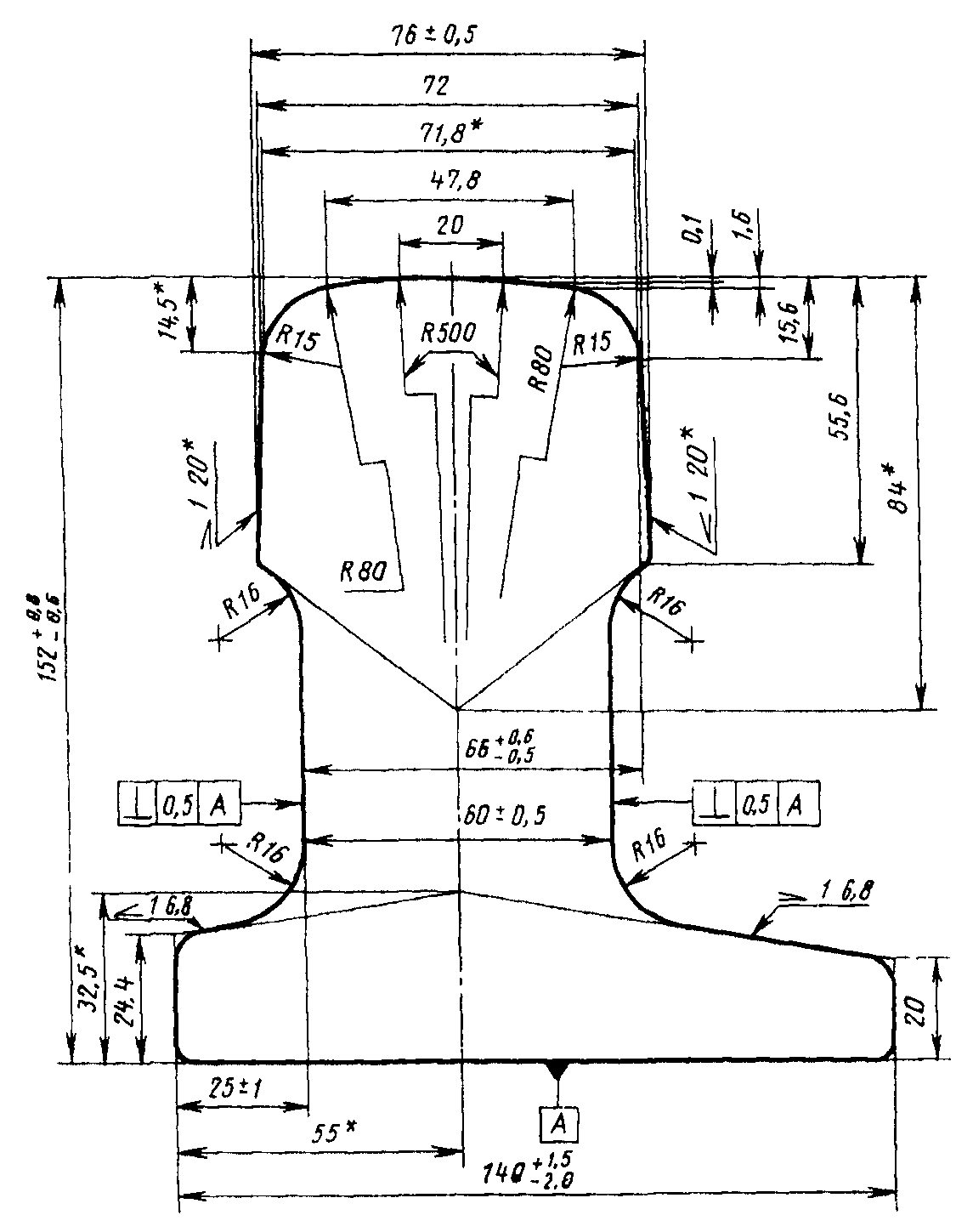
2. Исполнения и размеры поперечного сечения рельсов должны соответствовать указанным на черт. 1 или 2.
Исполнение 1
--------------------------------
<*> Размеры для справок.
Черт. 1
Исполнение 2
--------------------------------
<*> Размеры для справок.
Черт. 2
Расчетные данные рельсов приведены в справочном Приложении.
Условное обозначение острякового рельса ОР75 исполнения 1:
Рельс 1 ОР75 ГОСТ 26168-84
То же, исполнения 2:
Рельс 2 ОР75 ГОСТ 26168-84
3. Радиусы закруглений, не указанные на черт. 1 и 2, должны быть 2 - 6 мм.
4. Размеры с неуказанными предельными отклонениями обеспечивают инструментом и в готовых рельсах не контролируют.
5. Предельные отклонения выпуклости головки рельсов при измерении по оси симметрии не должны быть более +/- 0,5 мм.
6. Вогнутость подошвы рельсов не допускается.
Равномерная выпуклость подошвы по отношению к ее краям не должна быть более 0,5 мм.
7. Длина рельсов должна соответствовать указанной в заказе или быть кратной ей, но не должна превышать 25 м.
Предельные отклонения по длине рельсов с двумя фрезерованными торцами не должны превышать на каждый кратный отрезок рельса
+/- 4 мм - для рельсов длиной до 10 м;
+/- 6 мм - " " " свыше 10 м.
Для рельсов с нефрезерованными торцами предельное отклонение по длине не должно превышать плюс 0,8% номинального значения длины.
8. Соответствие профиля поперечного сечения рельсов размерам, установленным настоящим стандартом, должно определяться шаблонами, согласованными с инспекцией МПС.
Измерения следует проводить на расстоянии не менее 250 мм от торцов контролируемого рельса.
9. Технические требования - по ГОСТ 9960-74.
Приложение 1
Справочное
РАСЧЕТНЫЕ ДАННЫЕ РЕЛЬСОВ
──────────────────────────────────────────┬───────────────────────
Наименования параметров │ Норма для исполнений
├──────────┬────────────
│ 1 │ 2
──────────────────────────────────────────┼──────────┼────────────
Площадь поперечного сечения рельса, см2 │114,4 │117,7
Расстояние до центра тяжести, см: │ │
от низа подошвы │6,79 │6,68
от оси симметрии головки (в сторону │0,5 │0,38
большое плеча) │ │
Момент инерции относительно осей, см4: │ │
горизонтальный │2490 │2600
вертикальный │820 │910
Момент сопротивления, см3: │ │
по низу подошвы │367 │380
по верху головки │296 │305
по боковой грани подошвы, наиболее │103 │112
удаленной от центра тяжести │ │
Теоретическая масса 1 м рельса, кг <*> │89,58 │92,15
--------------------------------
<*> Теоретическая масса рельса определена исходя из номинальных размеров их поперечного сечения и плотности стали 7830 кг/м3.