Главная // Актуальные документы // ГОСТ (Государственный стандарт)СПРАВКА
Источник публикации
М.: Издательство стандартов, 1982
Примечание к документу
Документ утратил силу с 1 июля 2015 года в связи с изданием
Приказа Росстандарта от 12.12.2014 N 2038-ст. Взамен введен в действие
ГОСТ 24992-2014.
С 1 июля 2003 года до вступления в силу технических регламентов акты федеральных органов исполнительной власти в сфере технического регулирования носят рекомендательный характер и подлежат обязательному исполнению только в части, соответствующей целям, указанным в
пункте 1 статьи 46 Федерального закона от 27.12.2002 N 184-ФЗ.
Введен в действие с 1 июля 1982 года (
Постановление Госстроя СССР от 21.10.1981 N 177).
Название документа
"ГОСТ 24992-81. Конструкции каменные. Метод определения прочности сцепления в каменной кладке"
(введен Постановлением Госстроя СССР от 21.10.1981 N 177)
"ГОСТ 24992-81. Конструкции каменные. Метод определения прочности сцепления в каменной кладке"
(введен Постановлением Госстроя СССР от 21.10.1981 N 177)
Утвержден и введен в действие
от 21 октября 1981 г. N 177
ГОСУДАРСТВЕННЫЙ СТАНДАРТ СОЮЗА ССР
КОНСТРУКЦИИ КАМЕННЫЕ
МЕТОД ОПРЕДЕЛЕНИЯ ПРОЧНОСТИ СЦЕПЛЕНИЯ В КАМЕННОЙ КЛАДКЕ
Masonary Structures.
Method of Estimating Bonding Strength in Masonry
ГОСТ 24992-81
Срок введения
1 июля 1982 года
Разработан Центральным научно-исследовательским институтом строительных конструкций (ЦНИИСК им. В.А. Кучеренко) Госстроя СССР;
Институтом строительной механики и сейсмостойкости им. К.С. Завриева АН Грузинской ССР.
Исполнители: С.В. Поляков, д-р техн. наук, проф. (руководитель темы); В.А. Комейко, канд. техн. наук; И.Т. Котов, канд. техн. наук; А.В. Черкашин, канд. техн. наук; Ю.В. Измайлов, д-р техн. наук; Б.А. Новиков, канд. техн. наук; И.А. Цилосани, д-р техн. наук; Л.Н. Махатадзе, канд. техн. наук; Е.С. Сагателова, канд. техн. наук; В.С. Мартынова; И.С. Лифанов.
Внесен Центральным научно-исследовательским институтом строительных конструкций им. В.А. Кучеренко.
Директор А.Ф. Смирнов.
Настоящий стандарт распространяется на все виды каменной кладки, в том числе на панели и блоки из кирпича, природных и искусственных камней, стен зданий, строящихся в сейсмических районах, а также несейсмических районах, когда монолитность кладки определяется техническими требованиями по условиям эксплуатации.
Стандарт устанавливает метод определения прочности нормального сцепления (сопротивление кладки осевому растяжению по неперевязанным швам - далее прочности сцепления) раствора с кирпичом или камнем в кладке стен строящихся зданий или на специальных образцах в лабораторных условиях.
1.1. Определение прочности сцепления производят путем испытания на осевое растяжение элементов кладки стен в построечных условиях или на специальных образцах, изготовленных в лаборатории.
1.2. Испытания прочности сцепления в кладке стен строящихся зданий проводят строительные лаборатории с целью контроля соответствия требованиям проекта.
1.3. Лабораторные испытания по определению прочности сцепления на контрольных образцах проводят центральные лаборатории строительных трестов (управлений), научно-исследовательские институты, а при изготовлении виброкирпичных панелей и блоков - заводские лаборатории.
2. ОПРЕДЕЛЕНИЕ ПРОЧНОСТИ СЦЕПЛЕНИЯ В КЛАДКЕ СТЕН
СТРОЯЩИХСЯ ЗДАНИЙ
2.1. Для проведения контрольных испытаний на сцепление кладки из кирпича или камня на стройке следует выбирать участки стен по указанию представителя технического надзора.
Число таких участков в каждом здании должно быть не менее одного на этаж с отрывом по 5 кирпичей (камней) на каждом участке.
На участках стен, где были изменены применяемые материалы или резко менялись погодные условия, необходимо проводить дополнительные испытания.
2.2. Предельная прочность сцепления должна приниматься равной прочности сцепления раствора с кирпичом или камнем, достигаемой в кладке в возрасте 28 сут и при контрольном испытании - 3 мес.
Для предварительного прогнозирования предельной прочности сцепления в кладке стен зданий сейсмических районов испытания проводят через 7 или 14 сут после окончания кладки.
2.3. Испытания по определению прочности сцепления в кладке, выполняемой на растворах с противоморозными химическими добавками или способом замораживания, следует проводить только после оттаивания кладки в сроки, указанные в
п. 2.2.
2.4. При испытании кладки на сцепление необходимо определять прочность раствора на сжатие, взятого из шва кладки по методике, приведенной в обязательном
Приложении 1.
Для испытания кладки на сцепление применяют следующее оборудование.
Установка, указанная на черт. 1 -
3. Перечень приборов и приспособлений, необходимых для изготовления установки, приведен в справочном
Приложении 2.
Устройство для испытания каменной (кирпичной)
кладки на сцепление
1 - гидравлический домкрат; 2 - манометр; 3 - рама;
4 - перекладина; 5 - переходник; 6 - траверса; 7 - тяги;
8 - стойки; 9 - регулировочный болт; 10 - шарнир; 11 - тросовый
захват; 12 - испытуемый кирпич; 13 - узел троса.
Черт. 1
Детали устройства: рама, перекладина, траверса
Рама (поз. 3)
Перекладина (поз. 4)
Примечание. Размеры в скобках даны для перекладины, применяемой при испытании кладки из камней.
Траверса (поз. 6)
Черт. 2
Переходник (поз. 5)
Скребок (черт. 4).
Скребок угловой (поз. 13)
Скребок прямой (поз. 14)
Черт. 4
Тросовый захват диаметром 3 мм, длиной 370 - 400 мм для испытания кладки из кирпича;
Тросовый захват диаметром 5 мм, длиной 700 - 750 мм для испытания кладки из камней;
Гаечный ключ 10 х 12 мм, молоток, топорик, напильник.
2.6. Проведение испытания
2.6.1. Испытание кладки на сцепление проводят по схеме, указанной на черт. 5.
Схема испытания каменной кладки на сцепление
1 - гидравлический домкрат; 2 - манометр; 3 - рама;
4 - перекладина; 5 - переходник; 6 - траверса;
7 - тяги; 8 - стойки рамы; 9 - регулировочный болт;
10 - шарнир; 11 - тросовый захват; 12 - испытуемый кирпич
(камень); 13 - узел троса.
Черт. 5
2.6.2. При испытании соблюдают следующие требования.
Вертикальные швы расчищают вокруг испытываемого кирпича (камня) при помощи скребков, не допуская сильных толчков и ударов.
Испытываемый кирпич 12 охватывают петлей из тросика 11 по боковым граням, затем петлю подтягивают перекладиной 4 при помощи регулировочного болта 9. Схема захвата кирпича и камня, подготовленного к испытанию, показана на черт. 6 и
7.
Схема захвата природного камня,
подготовленного к испытанию
Черт. 6
подготовленного к испытанию
1 - камень; 2 - кирпич; 3 - перекладина;
4 - регулировочный болт; 5 - тросовый захват.
Черт. 7
Раму 3 устанавливают так, чтобы ее стойки 8 опирались на соседние кирпичи (камни). На раму устанавливают гидравлический домкрат 1 с манометром 2. На подвижную часть домкрата при помощи шарнира 10 монтируют траверсу 6 с тягами 7, которые зацепляют за концы перекладины.
Растягивающее усилие от домкрата передают на кирпич через траверсу, тяги и тросик.
2.6.3. При испытании нагрузка должна возрастать непрерывно с постоянной скоростью 0,006 МПа/с (0,06 кгс/см2 в секунду). За величину предельной нагрузки принимают максимальное усилие, достигнутое к моменту отрыва кирпича (камня).
2.6.4. При испытаниях следует фиксировать характер разрушения кладки (по поверхности контакта кирпича (камня) и раствора, по кирпичу (камню) или по раствору) и определить общую площадь контакта кирпича (камня) с раствором с погрешностью до 1 см2.
2.6.5. Прочность сцепления в каменной кладке оценивают пределом прочности элементов кладки при осевом растяжении.
Предел прочности при осевом растяжении вычисляют с погрешностью до 0,01 МПа (0,1 кгс/см2) как среднее арифметическое значение результатов 5 испытаний.
Результаты испытаний заносят в журнал по форме, приведенной в рекомендуемом
Приложении 3.
2.7. Обработка результатов
2.7.1. Предел прочности сцепления при осевом растяжении

вычисляют по формуле

,
где

- предел прочности сцепления при осевом растяжении элемента кладки в возрасте t сут;
F - величина отрывающей нагрузки на образец;
А - общая площадь отрыва (брутто).
2.7.2. Определение предельной прочности сцепления кладки, испытанной в ранние сроки,

производят по формуле

,
где

- предельная прочность сцепления раствора с кирпичом или камнем, достигаемая в кладке к возрасту 28 сут;

- поправочный коэффициент.
2.7.3. Поправочный коэффициент, учитывающий возраст кладки, принимают по табл. 1.
Таблица 1
────────────────────────────┬─────────────────────────────────────
Возраст кладки, сут │ Величина поправочного коэффициента
────────────────────────────┼─────────────────────────────────────
7 │ 1,6
14 │ 1,3
28 │ 1,0
2.7.4. Средняя предельная прочность сцепления в кладке стен, определяемая как среднеарифметическая по результатам всех испытаний в здании, должна составлять не менее 90% прочности, требуемой по проекту.
3. ОПРЕДЕЛЕНИЕ ПРОЧНОСТИ СЦЕПЛЕНИЯ НА ОБРАЗЦАХ
В ЛАБОРАТОРНЫХ УСЛОВИЯХ
3.1. Изготовление образцов
3.1.1. Образцы изготавливают одновременно на растворе одного замеса в количестве 5 шт. Одновременно с изготовлением образцов готовят не менее 3 контрольных кубов из того же раствора для определения его марки.
Марку раствора по прочности на сжатие определяют по ГОСТ 5802-78.
3.1.2. Образцы следует изготавливать из двух целых кирпичей (камней) или из двух равных их половинок, уложенных постелями один на другой и соединенных между собой раствором (черт. 8).
Контрольные образцы для испытания на сцепление
а
б
в
а - из половинок кирпича; б - из пустотелого целого
кирпича; в - из природного камня.
Черт. 8
Кирпич распиливают на половинки, не допуская разрушения граней. При распиливании допускается увлажнение кирпича с последующим выдерживанием половинок кирпича в помещении не менее суток.
Поверхности разреза в образце располагают в противоположные стороны.
Пустотелый кирпич и камни делить на половинки не разрешается.
3.1.3. Прочность сцепления в панелях и блоках из кирпича и камня определяют на образцах, указанных в
п. 3.1.2.
Образцы готовят с соблюдением технологии, применяемой при изготовлении панелей и блоков.
3.1.4. Для изготовления образцов следует применять существующие металлические формы с использованием передвижных перегородок или специально изготовленные формы на необходимое число образцов.
Схема раскладки кирпича в формы показана на черт. 9.
Схема раскладки кирпича в формы
1 - образец; 2 - металлическая форма; 3 - коврик
из резины; 4 - прокладка из плотной резины; 5 - швы,
заполненные раствором; 6 - швы, не заполненные раствором.
Черт. 9
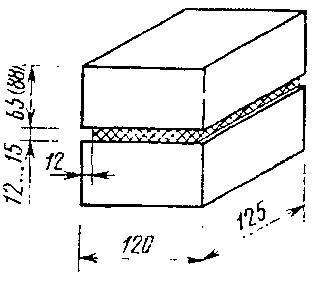
3.1.5. Толщина растворных швов в образцах должна быть равна толщине, принятой в кладке (10 - 15 см).
При изготовлении образцов в швах выбирают пазы по ложковой стороне глубиной 12 мм для установки захватов.
3.1.6. На подготовленные к испытанию образцы должна быть составлена ведомость по форме, приведенной в
Приложении 4. Образцы, а также растворные кубы следует маркировать несмываемой краской с указанием даты изготовления и номера.
3.1.7. Изготовленные образцы следует хранить в помещении температурой (20 +/- 2) °С и относительной влажностью воздуха (65 +/- 10)% или в натурных условиях.
3.1.8. Для определения прочности сцепления в зимней кладке изготовление образцов на обычных растворах и на растворах с химическими добавками производят на открытом воздухе и выдерживают их на морозе в течение 3 сут. После этого образцы и растворные кубы переносят в помещение, где их хранят в условиях, указанных в
п. 3.1.7, до испытания.
3.1.9. Для оценки величины потери прочности сцепления в образцах, изготовленных в зимних условиях, изготавливают контрольные образцы в помещении и хранят их до испытания в соответствии с требованиями
п. 3.1.7.
3.2. Оборудование
3.2.1. Для испытания на сцепление образцов из кирпича следует применять разрывную машину по ГОСТ 7855-77 и захватные приспособления, указанные на черт. 10.
Схема испытания образцов из кирпича
на осевое растяжение
1 - образец; 2 - металлический захват; 3 - уголки
60 х 60 х 6 мм; 4 - металлическая пластина 20 х 90 х 6 мм;
5 - шарнир; 6 - шпилька.
Черт. 10.
3.2.2. Для испытания образцов из камня следует применять установку, приведенную в
п. 2.5 настоящего стандарта.
Для закрепления образцов используют зажимное устройство, показанное на черт. 11.
Зажимное устройство для закрепления
образцов из камня
Примечания. 1. Материал - ВСт3пс6.
3. Все швы h = 4 мм.
4. Гайки приварить к уголку.
5. В месте пропуска болта в уголке дать отверстие диаметром 20 мм.
Черт. 11
3.2.3. Допускается испытывать образцы из кирпича по
п. 2.5.
Зажимное устройство для закрепления образцов из кирпича показано на черт. 12.
Зажимное устройство для закрепления
образцов из кирпича
Примечания. 1. Материал - ВСт3пс6.
3. Все швы h = 4 мм.
4. Гайки приварить к уголку.
5. В месте пропуска болта в уголке дать отверстие диаметром 20 мм.
Черт. 12.
3.3. Подготовка и проведение испытаний
3.3.1. Образцы, подготовленные к испытанию, не должны иметь повреждений в швах, трещин и околов.
3.3.2. Перед испытанием образцы устанавливают в зажимное устройство и закрепляют их при помощи болтов.
3.3.3. Испытание образцов и обработку результатов проводят в соответствии с
пп. 2,6 и
2,7 настоящего стандарта.
3.3.4. Результаты испытаний заносят в ведомость по форме, приведенной в рекомендуемом
Приложении 4.
Обязательное
ОПРЕДЕЛЕНИЕ ПРОЧНОСТИ РАСТВОРА,
ВЗЯТОГО ИЗ ШВОВ КЛАДКИ, НА СЖАТИЕ
1. Прочность раствора определяют путем испытания на сжатие кубов с ребрами 3 - 4 см, изготовленных из двух пластинок, взятых из горизонтальных швов кладки.
Пластинки изготавливают в виде квадрата, сторона которого в 1,5 раза должна превышать толщину пластинки, равную толщине шва. Склеивание пластинок раствора для получения кубов с ребрами 3 - 4 см и выравнивание их поверхностей производят при помощи тонкого слоя гипсового теста (1 - 2 мм). Прочность раствора должна определяться как среднее арифметическое результатов испытаний пяти образцов.
Для определения прочности раствора в кубах с ребрами 7,07 см следует результаты испытаний кубов летних растворов с ребрами 3 - 4 см умножить на коэффициент 0,8, а результаты испытаний зимних растворов, отвердевших после оттаивания, - на коэффициент 0,65.
Справочное
ПЕРЕЧЕНЬ ПРИБОРОВ И ПРИСПОСОБЛЕНИЙ, НЕОБХОДИМЫХ
ДЛЯ ИЗГОТОВЛЕНИЯ УСТРОЙСТВА
──────────────────────────────────┬──────────┬────────────────────
Наименование │Количество│ Примечание
──────────────────────────────────┼──────────┼────────────────────
1. Гидравлический домкрат грузо-│ 1 │ Шадринского авто-
подъемностью 5 т по ГОСТ 20860-75 │ │агрегатного завода
2. Манометр на 10 МПа │ 2 │
(100 кгс/см2) для кирпича, на │ │
20 МПа (200 кгс/см2) для камня │ │
3. Рама │ 1 │ Материал ВСт3пс6
4. Перекладина │ 1 │ То же
5. Переходник │ 1 │ "
6. Траверса │ 1 │ "
7. Тяги l = 380 мм │ 2 │ Арматурная прово-
│ │лока класса ВI по
8. Стойки-болты М8х70 по │ 3 │
9. Регулировочный болт М8х40 по │ 1 │
10. Шарнир d = 12 мм, l = 40 мм │ 1 │ Арматурная сталь
│ │класса АI по
11. Трос d = 3 мм, l = 370 - │ 1 │
400 мм │ │
12. Трос d = 5 мм, l = 700 - │ 1 │
750 мм │ │
13. Скребок угловой d = 5 мм, │ 1 │
l = 250 мм │ │
14. Скребок прямой d = 5 мм, │ 3 │ Из высокопрочной
l = 250 мм │ │арматурной проволоки
│ │класса ВII по
Рекомендуемое
ФОРМА
ЖУРНАЛ КОНТРОЛЬНЫХ ИСПЫТАНИЙ КЛАДКИ НА СЦЕПЛЕНИЕ
В ПОСТРОЕЧНЫХ УСЛОВИЯХ
Объект _______________________________________________________
(наименование и адрес)
─────────┬─────┬───────┬─────┬─────┬─────────────┬─────┬────────────────┬──────
Дата воз-│Этаж,│Вид и │Воз- │Вели-│ Прочность │Проч-│ Характеристика │Приме-
ведения │номер│марка │раст │чина │ сцепления, │ность│площади отрыва, │чание
испыты- │стены│кирпича│клад-│отры-│МПа (кгс/см2)│сцеп-│ % │
ваемого │ │(камня)│ки, │ваю- ├─────┬───────┤ления├────┬─────┬─────┤
участка │ │и раст-│сут │щей │Част-│Среднее│по │по │по │по │
кладки │ │вора по│ │наг- │ное │значе- │про- │кон-│раст-│кир- │
│ │проекту│ │рузки│зна- │ние для│екту,│так-│вору │пичу │
│ │ │ │ │чение│участка│МПа │ту │ │(кам-│
│ │ │ │ │ │ │ │ │ │ню) │
─────────┼─────┼───────┼─────┼─────┼─────┼───────┼─────┼────┼─────┼─────┼──────
│ │ │ │ │ │ │ │ │ │ │
│ │ │ │ │ │ │ │ │ │ │
Подписи: Представитель технического надзора
Представитель лаборатории
Производитель работ
Рекомендуемое
ФОРМА
ВЕДОМОСТЬ ИСПЫТАНИЯ ОБРАЗЦОВ НА СЦЕПЛЕНИЕ
В ЛАБОРАТОРНЫХ УСЛОВИЯХ
Характеристика кирпича (камня), вид, марка
──────────┬───────┬───────┬─────────┬────────┬──────┬───────────────┬────────────────
Номера │Состав,│Возраст│Прочность│Величина│Пло- │Прочность сцеп-│ Характеристика
│консис-│образца│раствор- │отрываю-│щадь │ления, МПа │площади отрыва,
───┬──────┤тенция │при │ных кубов│щей наг-│отрыва├───────┬───────┤ %
се-│образ-│и марка│испыта-│на сжа- │рузки │(брут-│Частное│Среднее│
рий│цов в │раство-│нии, │тие, МПа │для об- │то), │значе- │значе- │
│серии │ра │сут │(кгс/см2)│разца, │см2 │ние │ние │
│ │ │ │ │Н (кгс) │ ├───────┼───────┼────┬─────┬─────
│ │ │ │ │ │ │ │ │по │по │по
│ │ │ │ │ │ │ │ │кон-│раст-│кир-
│ │ │ │ │ │ │ │ │так-│вору │пичу
│ │ │ │ │ │ │ │ │ту │ │(кам-
│ │ │ │ │ │ │ │ │ │ │ню)
───┼──────┼───────┼───────┼─────────┼────────┼──────┼───────┼───────┼────┴─────┴─────
1 │ 2 │ 3 │ 4 │ 5 │ 6 │ 7 │ 8 │ 9 │ 10
───┼──────┼───────┼───────┼─────────┼────────┼──────┼───────┼───────┼────┬─────┬─────
│ │ │ │ │ │ │ │ │ │ │
│ │ │ │ │ │ │ │ │ │ │