Главная // Актуальные документы // ГОСТ (Государственный стандарт)СПРАВКА
Источник публикации
М.: Издательство стандартов, 1976
Примечание к документу
Документ утратил силу с 31 января 1983 года в связи с изданием Постановления Госстроя СССР от 10.01.1983 N 5. Взамен введен в действие
ГОСТ 21992-83.
Документ
введен в действие с 1 января 1978 года.
Название документа
"ГОСТ 21992-76. Государственный стандарт Союза ССР. Стекло строительное профильное. Технические условия"
(утв. и введен в действие Постановлением Госстроя СССР от 22.06.1976 N 93)
"ГОСТ 21992-76. Государственный стандарт Союза ССР. Стекло строительное профильное. Технические условия"
(утв. и введен в действие Постановлением Госстроя СССР от 22.06.1976 N 93)
Утвержден и введен в действие
Постановлением Государственного
комитета Совета Министров СССР
по делам строительства
от 22 июня 1976 г. N 93
ГОСУДАРСТВЕННЫЙ СТАНДАРТ СОЮЗА ССР
СТЕКЛО СТРОИТЕЛЬНОЕ ПРОФИЛЬНОЕ
ТЕХНИЧЕСКИЕ УСЛОВИЯ
Profile building glass. Technical requirements
ГОСТ 21992-76
Постановлением Государственного комитета Совета Министров СССР по делам строительства от 22 июня 1976 г. N 93 срок введения установлен
с 1 января 1978 года
РАЗРАБОТАН ВНИИтехстройстекло Министерства промышленности строительных материалов СССР
Зам. директора И.В. Тимошенко
Руководители темы: Г.Ф. Повитков, Л.С. Марина
Исполнитель М.Ф. Афонина
Центральным научно-исследовательским и проектно-экспериментальным институтом промышленных зданий и сооружений (ЦНИИпромзданий) Госстроя СССР
Директор Ю.Н. Хромец
Руководитель темы С.М. Гликин
Исполнитель Ф.Л. Шехтер
Научно-исследовательским институтом строительной физики (НИИСФ) Госстроя СССР
Директор В.А. Дроздов
Руководитель темы и исполнитель Т.А. Гавазова
ВНЕСЕН Министерством промышленности строительных материалов СССР
Зам. министра Н.П. Кабанов
ПОДГОТОВЛЕН К УТВЕРЖДЕНИЮ Отделом технического нормирования и стандартизации Госстроя СССР
Начальник отдела В.И. Сычев
Начальник подотдела стандартизации в строительстве М.М. Новиков
Ст. инженер Л.В. Дробинина
УТВЕРЖДЕН И ВВЕДЕН В ДЕЙСТВИЕ Постановлением Государственного комитета Совета Министров СССР по делам строительства от 22 июня 1976 г. N 93
Настоящий стандарт распространяется на стекло строительное профильное, предназначенное для устройства светопрозрачных ограждающих конструкций в зданиях и сооружениях различного назначения.
1. ТИПЫ И ОСНОВНЫЕ РАЗМЕРЫ
1.1. Типы, марки, размеры и форма стекла должны соответствовать указанным в табл. 1 и на
черт. 1.
Таблица 1
Размеры в мм
Тип | Марка | Ширина b | Высота h | Толщина S | Длина, не более | Ширина шва b1 | Наружный радиус углов R | Ширина основания среднего ребра b2 |
Швеллерное | ШП-300 | 294 | 50 | 5,5 | 3600 | - | 9 | - |
ШП-300 | 294 | 35 | 5,5 | 3600 | - | 9 | - |
ШП-250 | 244 | 35 | 5,5 | 3600 | - | 9 | - |
Коробчатое: | | | | | | | | |
а) с одним швом | КП-1-300 | 394 | 50 | 5,5 | 4200 | 20 | 8 | - |
КП-1-250 | 244 | 50 | 5,5 | 4200 | 20 | 8 | - |
б) с двумя швами | КП-2-300 | 294 | 55 | 5,5 | 4200 | 22 | 8 | - |
КП-2-250 | 244 | 55 | 5,5 | 4200 | 22 | 8 | - |
Ребристое | РП-600 | 594 | 50 | 5,5 | 3600 | - | 9 | 35 |
Примечания:
1. Длина стекла должна быть кратной 5.
2. Допускается по соглашению изготовителя с потребителем изготавливать стекло марок КП-1-300 и КП-2-300 длиной до 6000 мм, а марок ШП-300 и РП-600 длиной до 4200 мм.
Черт. 1
1.2. Допускаемые отклонения размеров стекла не должны превышать, мм:
по длине и ширине ...................... +/- 5
по высоте .............................. +/- 3
по толщине ............................. +/- 0,5
по ширине шва коробчатого стекла:
с одним швом ........................ +/- 5
с двумя швами ....................... +/- 3
радиуса наружных углов ................. +/- 1
по ширине основания среднего ребра ..... +/- 5
для стекла, которому в установленном порядке присвоен государственный Знак качества:
по длине ............................... +/- 3
по ширине .............................. +/- 2
по высоте .............................. +/- 2.
1.3. Стекло может изготавливаться бесцветным и цветным, армированным и неармированным, с гладкой (кованой), рифленой или узорчатой поверхностью.
Примечание. Рифленой считают поверхность с рифлениями высотой менее 0,3 мм, а узорчатой - с рифлениями высотой более 0,3 мм.
1.4. Условное обозначение стекла должно состоять из марки, длины, наличия цвета (Ц) и армирования (А), характеристики поверхности (рифленая - Р, узорчатая - Уз) и обозначения настоящего стандарта.
Пример условного обозначения швеллерного стекла марки ШП-300 длиной 3600 мм, бесцветного, неармированного, с гладкой поверхностью:
ШП-300-3600 ГОСТ 21992-76
То же, цветного, армированного, с рифленой поверхностью:
ШП-300-3600-Ц-А-Р ГОСТ 21992-76
2. ТЕХНИЧЕСКИЕ ТРЕБОВАНИЯ
2.1. Бесцветное стекло может иметь желтоватый, голубоватый или зеленоватый оттенок, не снижающий коэффициент светопропускания.
2.2. Цвет и рисунок рифленой или узорчатой поверхности стекла должны соответствовать эталонам, утвержденным в установленном порядке.
2.3. Для армирования стекла должна применяться стальная проволока диаметром 0,5 или 0,6 мм с защитным алюминиевым покрытием или сетки из нее: сварная N 12,5 и N 25 или крученая N 20 и N 25 по техническим условиям, утвержденным в установленном порядке.
Примечание. Допускается по соглашению изготовителя с потребителем применять для армирования стекла 1-й категории стальную проволоку и сетки из нее без алюминиевого покрытия.
2.4. Проволочная арматура должна быть размещена параллельно боковым поверхностям стекла. Расстояние между проволоками должно быть 30 +/- 5 мм.
2.5. Отклонение от прямого угла, образуемого лицевыми и боковыми поверхностями стекла, не должно превышать +/- 2 мм.
2.6. Отклонение от прямого угла, образуемого плоскостью торцов стекла с его боковыми поверхностями, не должно превышать +/- 2 мм, с лицевыми поверхностями +/- 3 мм.
2.7. Лицевая поверхность стекла должна быть плоской. Отклонение от плоскостности (выпуклость или вогнутость) по ширине лицевой поверхности не должно превышать 2 мм, по длине 4 мм и не должно превышать соответственно 1 и 2 мм для стекла, которому в установленном порядке присвоен государственный Знак качества.
2.8. По показателям внешнего вида стекло должно соответствовать требованиям, указанным в табл. 2.
Таблица 2
Наименование показателей | Нормы на 1 м длины стекла |
с государственным Знаком качества | 1-й категории |
Открытые пузыри | Не допускаются |
Закрытые пузыри: | | |
а) на лицевой поверхности размером по наибольшему измерению: | Не допускаются более: | |
от 1 до 3 мм | 4 шт. | Не регламентируются |
" 3 " 8 мм | 1 шт. | Не допускаются более 20 шт. |
б) на боковой поверхности | Не регламентируются |
Инородные разрушающие включения (непроваренные частицы огнеупорных материалов) | Не допускаются |
Инородные неразрушающие включения (непроваренные частицы шихты, закристаллизовавшееся стекло "рух") размером по наибольшему измерению от 1 до 2 мм: | Не допускаются более: |
2 шт. | 6 шт. |
Нитевидные пузыри, свиль, мошка | Не регламентируются |
Трещины и посечки | Не допускаются |
Выступы на торцах | Не допускаются |
Отбитые углы и сколы | Не допускаются глубиной более: |
5 мм | 10 мм |
Окраска окислившейся арматурой | Не допускается | Не допускается, снижающая коэффициент светопропускания |
Разрыв проволок в арматуре | Не допускается | Не допускается более одного |
Соединение проволок в арматуре | Не допускается | Не допускается более одного |
Выход арматуры на поверхность | Не допускается |
2.9. Сварной шов коробчатого стекла должен быть герметичным, сплошным (не иметь пустот), прямым и расположен посередине лицевой или боковых поверхностей.
2.10. Стекло должно быть отожжено. Величина растягивающих напряжений при просмотре в поляризованном свете торцов бесцветного стекла не должна превышать 100 нм на 1 см хода луча (100 ммк на 1 см хода луча).
2.11. Коэффициенты светопропускания бесцветного стекла в зависимости от характеристики поверхности должны соответствовать указанным в табл. 3.
Таблица 3
Тип стекла | Характеристика поверхности стекла | Коэффициент светопропускания, не менее |
Швеллерное и ребристое неармированное | Гладкая | 0,65 |
Рифленая | 0,55 |
Швеллерное и ребристое армированное | Гладкая | 0,55 |
Коробчатое неармированное | Гладкая | 0,55 |
Рифленая | 0,50 |
Коробчатое армированное | Гладкая | 0,50 |
2.12. Неармированное стекло с рифлеными или гладкими поверхностями при испытании на изгиб должно выдерживать кратковременную нагрузку не менее указанной в табл. 4.
Таблица 4
Марка стекла | Кратковременная нагрузка, кПа (кгс/см2) |
ШП-300 | 1,2 (0,012) |
ШП-250 | 1,0 (0,010) |
КП-1-300 | 7,0 (0,070) |
КП-1-250 | 7,0 (0,070) |
КП-2-300 | 7,0 (0,070) |
КП-2-250 | 7,0 (0,070) |
3.1. Стекло должно поставляться по спецификации потребителя в комплекте с уплотнителями и герметиками.
Форма, размеры, материал и назначение уплотнителей, а также марки герметиков указаны в рекомендуемом
приложении 2.
Примечание. Условия поставки уплотнителей и герметиков определяются соглашением между изготовителем и потребителем.
4.1. Стекло должно быть принято техническим контролем предприятия-изготовителя в соответствии с требованиями настоящего стандарта.
4.2. Приемку стекла производят партиями. Партией считают количество стекла одной марки, цвета, узора или рифления, с одинаковой арматурой, изготовленное за одну смену.
4.3. Для проверки стекла по показателям внешнего вида и размерам от партии отбирают 3% образцов.
Образцы, признанные годными по показателям внешнего вида и размерам, испытывают на изгиб, а коробчатое стекло также на герметичность сварного шва.
Испытание на изгиб и герметичность сварного шва производят на трех образцах длиной 2800 мм, отобранных от партии из числа проверенных по внешнему виду и размерам, или специально изготовленных в случае, когда длина стекла менее 2800 мм. Испытание на изгиб следует производить после испытания на герметичность сварного шва.
Из образцов бесцветного стекла, прошедших испытание на герметичность сварного шва и изгиб, нарезают три образца для определения качества отжига и три образца для определения коэффициента светопропускания.
Определение коэффициента светопропускания проводят не реже одного раза в квартал.
4.4. Если при проверке отобранных образцов окажется свыше 4% образцов, не удовлетворяющих требованиям, приведенным в
п. 2.8, а также в случае неудовлетворительных результатов испытаний, предусмотренных
пп. 2.3 -
2.7 и
2.9 -
2.12 настоящего стандарта, производят повторную проверку удвоенного количества образцов от той же партии по показателю, не соответствующему указанному в настоящем стандарте.
При неудовлетворительных результатах повторной проверки партия стекла приемке не подлежит.
Если при проверке образцов стекла, которому в установленном порядке присвоен государственный Знак качества, окажется свыше 4% образцов, не удовлетворяющих требованиям, приведенным в
п. 2.8, а также в случае неудовлетворительных результатов испытаний, предусмотренных
пп. 2.3 -
2.7 и
2.9 -
2.12 настоящего стандарта, стекло приемке по высшей категории качества не подлежит.
4.5. Потребитель имеет право производить контрольную проверку соответствия стекла требованиям настоящего стандарта, соблюдая при этом приведенный порядок отбора образцов и применяя указанные методы испытаний.
5.1. Размеры стекла, ширину шва коробчатого стекла, расстояние между проволоками в армированном стекле определяют металлическим измерительным инструментом с погрешностью до 1 мм.
Радиусы наружных углов стекла проверяют шаблоном.
5.2. Толщину стекла определяют штангенциркулем по ГОСТ 166-73 или микрометром по ГОСТ 6507-60 в трех точках торца. За толщину стекла принимают среднее арифметическое значение результатов трех измерений.
5.3. Отклонение от прямого угла, образуемого лицевыми и боковыми поверхностями стекла, определяют угольником по ГОСТ 3749-65 путем наложения его на лицевую поверхность стекла перпендикулярно длине стекла и измерения щупом по ГОСТ 882-75 максимального зазора между боковой поверхностью стекла и другой стороной угольника.
5.4. Отклонение от прямого угла, образуемого плоскостью торцов стекла с его боковыми и лицевыми поверхностями, определяют угольником по ГОСТ 3749-65 путем приложения одной из его сторон к лицевой (боковой) поверхности стекла и измерения щупом по ГОСТ 882-75 максимального зазора между другой стороной угольника и торцом боковой (лицевой) поверхности.
5.5. Отклонение от плоскостности (выпуклость или вогнутость) лицевой поверхности стекла определяют измерением щупом по ГОСТ 882-75 максимального зазора, образующегося при наложении линейки по
ГОСТ 427-75 на эту поверхность.
Отклонение от плоскостности поверхности стекла по ширине определяют в середине и по краям стекла, а по длине - последовательно прикладывая к стеклу линейку длиной 1 м.
За отклонение от плоскостности лицевой поверхности стекла по ширине и длине принимают среднее арифметическое значение результатов соответствующих измерений.
5.6. Показатели внешнего вида стекла проверяют путем его осмотра в проходящем свете при рассеянном освещении на расстоянии 1 м от наблюдателя.
5.7. Герметичность сварного шва коробчатого стекла определяют следующим образом.
Стекло устанавливают в горизонтальном положении швом вверх.
Впадину около шва закрывают с торцов и заполняют окрашенной водой.
Шов считают герметичным, если внутри его по истечении 30 мин не обнаруживают затеков воды.
5.8. Определение отжига бесцветного стекла
Качество отжига бесцветного стекла определяют поляризационно-оптическим методом с помощью поляриметров ПКС-56, ПКС-125 или ПКС-250 на образцах длиной 100 мм с полированными торцами.
Определение производят не менее чем в двух точках по ширине швеллерного и не менее чем в четырех точках коробчатого (на каждой лицевой поверхности в двух точках) и ребристого стекла.
5.9. Определение коэффициента светопропускания бесцветного стекла
5.9.1. Сущность метода заключается в определении коэффициента светопропускания бесцветного стекла в шаровом диффузометре.
5.9.2. Аппаратура и принадлежности
Шаровой диффузометр диаметром 2 м с диафрагмой толщиной не более 8 мм. Схема диффузометра указана на
черт. 2.
В центре диафрагмы должно быть квадратное отверстие размерами 600 x 600 мм и откидная полочка длиной 800 мм и шириной, соответствующей высоте образца.
Вставки в диафрагму размерами 600 x 150 x 8 мм и 600 x 175 x 8 мм по 2 шт.
Источники света - лампы накаливания мощностью 60 - 75 Вт, равномерно расположенные по периметру диафрагмы.
1 - люксметр; 2 - фотоэлемент; 3 - вставки;
4 - диафрагма; 5 - полусферы диффузометра; 6 - рефлектор;
7 - источники света; 8 - образец; 9 - светонепропускающие
экраны; 10 - откидная полочка; 11 - экран, предохраняющий
фотоэлемент от попадания прямых лучей источников света;
12 - кронштейн экрана; 13 - крепления вставок
Черт. 2
Светонепропускающие экраны для боковых поверхностей образца.
Рефлектор.
Люксметр 10 - 16.
Стабилизатор напряжения.
Внутренняя поверхность диффузометра и поверхности всех приспособлений, находящихся в нем (диафрагма, вставки, откидная полочка, экраны и рефлектор), должны быть окрашены белой диффузно отражающей краской в соответствии с ГОСТ 17616-72.
Светонепропускающие экраны, плотно прилегающие к боковым поверхностям образца, должны иметь диффузно отражающую отделку:
с внутренних сторон - из упругого материала с коэффициентом отражения 0,5 - 0,6;
с наружных сторон, обращенных в диффузометр, - белой краской с коэффициентом отражения 0,6 - 0,7.
Вся установка должна быть центрирована.
5.9.3. Подготовка образцов и проведение испытания
Боковые поверхности образца стекла 8 длиной 800 мм закрывают светонепропускающими экранами 9.
В зависимости от ширины образца подбирают и устанавливают в отверстие диафрагмы 4 соответствующие вставки 3.
Полусферы диффузометра 5 раздвигают. Образец 8 устанавливают на откидную полочку 10 в отверстии диафрагмы 4. Наружная поверхность образца 8 должна находиться в одной плоскости со вставками 3. Устанавливают фотоэлемент 2 люксметра 1 в рабочее положение. Источники света 7 включают в сеть и диффузометр закрывают.
Производят отсчет по шкале люксметра, который показывает величину

.
Диффузометр открывают, образец вынимают и опускают откидную полочку. Диффузометр закрывают.
Производят отсчет по шкале люксметра, который показывает величину

.
Каждый образец подвергают не менее чем трехкратным повторным испытаниям и коэффициент светопропускания каждого образца определяют как среднее арифметическое значение результатов трех измерений по формуле
где

- коэффициент светопропускания каждого испытываемого образца;

,

,

- показания по шкале люксметра при наличии образца в отверстии диафрагмы соответственно при первом, втором и третьем измерениях;

,

,

- показания по шкале люксметра при открытом отверстии в диафрагме соответственно при первом, втором и третьем измерениях.
За величину коэффициента светопропускания партии стекла принимают среднее арифметическое значение результатов испытаний трех образцов.
5.10. Испытание стекла на изгиб
5.10.1. Сущность метода заключается в проверке способности стекла выдерживать соответствующую нагрузку без разрушения.
5.10.2. Аппаратура
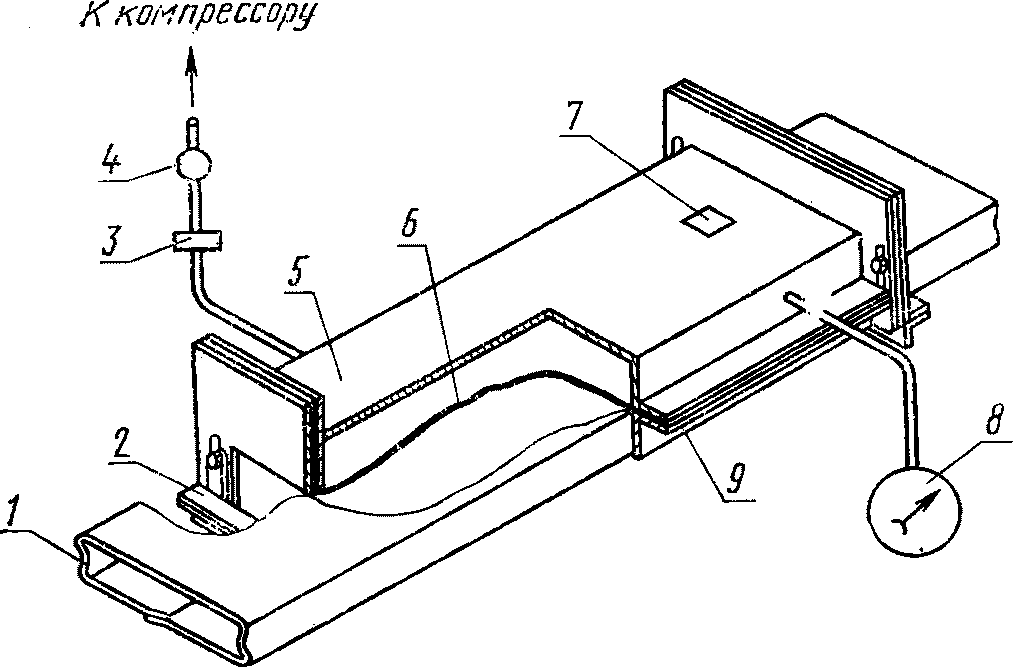
Испытательный стенд. Схема стенда указана на
черт. 3.
Манометр по ГОСТ 6521-72 или напоромер по ГОСТ 2648-69 с пределом измерений 40 - 60 кПа (0,4 - 0,6 кгс/см2).
5.10.3. Проведение испытания
Образец 1 укладывают на опоры 2, имеющие резиновые прокладки толщиной не менее 10 мм, вплотную к мембране 6. Швеллерное или ребристое стекло укладывают ребрами вниз, а коробчатое швом вниз. Открывают вентиль 4 для подачи воздуха и создания избыточного давления в полости короба 5.
Схема испытательного стенда
1 - образец; 2 - опора; 3 - трехходовой кран; 4 - вентиль;
5 - короб; 6 - резиновая мембрана; 7 - предохранительный
клапан; 8 - манометр; 9 - крепежные уголки
Черт. 3
Скорость нагружения образца коробчатого стекла не должна превышать 2 кПа (0,02 кгс/см2) в минуту, а швеллерного или ребристого - 0,2 кПа (0,002 кгс/см2) в минуту.
Каждый образец выдерживают под соответствующей нагрузкой, измеряемой манометром 8, не менее 30 с, после чего нагрузку снимают с помощью трехходового крана 3.
Во избежание выхода из строя мембраны 6 предусматривают предохранительный клапан 7, срабатывающий при деформации мембраны в случае разрушения образца 1, и прокладку из ткани между мембраной и образцом.
Примечание. Испытание на изгиб ребристого стекла, а также узорчатого и армированного стекла всех типов производится при каждом заказе для накопления данных.
6. МАРКИРОВКА, УПАКОВКА, ТРАНСПОРТИРОВАНИЕ И ХРАНЕНИЕ
6.1. На каждое стекло, которому в установленном порядке присвоен государственный Знак качества, наклеивают этикетку с указанием товарного знака предприятия-изготовителя или его краткого наименования и изображения государственного Знака качества по ГОСТ 1.9-67.
6.2. Стекло, которому в установленном порядке присвоен государственный Знак качества, должно быть упаковано в транспортные пакеты или специализированные контейнеры.
6.3. Предприятие-изготовитель должно гарантировать соответствие стекла требованиям настоящего стандарта при соблюдении потребителем условий транспортирования и хранения, установленных настоящим стандартом, и сопровождать каждую партию стекла паспортом, в котором указывают:
а) наименование организации, в системе которой находится предприятие-изготовитель;
б) наименование и адрес предприятия-изготовителя;
в) наименование, цвет и условное обозначение стекла;
г) количество стекла, м2;
д) результаты физико-механических испытаний;
е) номер партии и дату изготовления;
ж) наименование уплотнителей и герметиков;
з) обозначение настоящего стандарта;
и) изображение государственного Знака качества по ГОСТ 1.9-67 для стекла, которому он присвоен.
6.4. Транспортирование стекла производят любым видом транспорта.
| | ИС МЕГАНОРМ: примечание. Взамен ГОСТ 5244-73 Постановлением Госстандарта СССР от 28.08.1979 N 3237 с 1 января 1981 года введен в действие ГОСТ 5244-79. | |
При транспортировании швеллерное и коробчатое стекло должно быть уложено на боковые поверхности, а ребристое плашмя торцами по направлению движения с расшивкой деревянными планками и заполнением свободного пространства древесной стружкой, соответствующей ГОСТ 5244-73, или другими уплотняющими материалами.
При транспортировании в железнодорожных вагонах высота загрузки швеллерного и коробчатого стекла не должна превышать 4 рядов, а ребристого - 10 рядов.
При транспортировании, погрузке и выгрузке стекла должны быть приняты меры, обеспечивающие его сохранность от механических повреждений.
6.5. Стекло должно храниться в закрытых помещениях или под навесом стопами.
Количество рядов в стопе не должно превышать четырех для коробчатого и швеллерного стекла и десяти - для ребристого.
Коробчатое и швеллерное стекло должно храниться уложенным на боковую поверхность, а ребристое - плашмя с перекладкой каждого ряда деревянными планками, расположенными на расстоянии 1/4 длины стекла от его торцов и дополнительно одной планкой посередине при длине стекла свыше 4200 мм.
Справочное
Марка | Справочная масса 1 пог. м, кг |
ШП-300 | 5,3 |
ШП-250 | 4,2 |
КП-1-300 | 9,5 |
КП-1-250 | 8,1 |
КП-2-300 | 10,0 |
КП-2-250 | 8,6 |
РП-600 | 10,6 |
Рекомендуемое
ФОРМА, РАЗМЕРЫ, МАТЕРИАЛ И НАЗНАЧЕНИЕ УПЛОТНИТЕЛЕЙ
Размеры в мм
Форма и размеры | Материал | Назначение |
| Морозостойкая резина средней твердости по техническим условиям, утвержденным в установленном порядке | Насадка для уплотнения и защиты торцов коробчатого стекла |
| То же | То же, для швеллерного стекла |
| Резина губчатая плотностью не более 500 кг/м3 или "Бутэпрол" по техническим условиям, утвержденным в установленном порядке | Прокладка для уплотнения стыков между элементами коробчатого, швеллерного и ребристого стекла |
| Резина губчатая плотностью не более 500 кг/м3 или "Бутэпрол" по техническим условиям, утвержденным в установленном порядке | Прокладка для уплотнения стыков между элементами коробчатого стекла |
| Резина губчатая плотностью не более 500 кг/м3 по техническим условиям, утвержденным в установленном порядке | Прокладка для опирания стекла в зенитных фонарях |
| Резина светоозоно- и морозостойкая по техническим условиям, утвержденным в установленном порядке | Прокладка для уплотнения стыков между элементами швеллерного и ребристого стекла в зенитных фонарях |
| Гернит по ГОСТ 5.1011-71 или техническим условиям, утвержденным в установленном порядке | Прокладка для уплотнения стыков между стеной и простенками (или рамой в стеклопанелях) |
Для герметизации стыков с уплотнителями из резины применяются тиоколовые мастики УТ-32, АМ-0,5 или ТМ-0,5 по техническим условиям, утвержденным в установленном порядке.