Главная // Актуальные документы // ГОСТ (Государственный стандарт)
СПРАВКА
Источник публикации
В данном виде документ опубликован не был.
Первоначальный текст документа опубликован в издании
М.: Издательство стандартов, 1984.
Информацию о публикации документов, создающих данную редакцию, см. в справке к этим документам.
Примечание к документу
Документ утратил силу на территории Российской Федерации с 1 июня 2017 года в связи с изданием Приказа Росстандарта от 31.05.2017 N 464-ст.

Отдельные положения данного документа включены в Перечень стандартов, содержащих правила и методы исследований (испытаний) и измерений, в том числе правила отбора образцов, необходимые для применения и исполнения требований технического регламента Таможенного союза "О безопасности машин и оборудования" (ТР ТС 010/2011) и осуществления оценки (подтверждения) соответствия продукции (Решение комиссии Таможенного союза от 18.10.2011 N 823).

Документ включен в Перечень документов в области стандартизации, содержащих правила и методы исследований (испытаний) и измерений, в том числе правила отбора образцов, необходимые для применения и исполнения технического регламента о безопасности машин и оборудования, а также для осуществления оценки соответствия (Распоряжение Правительства РФ от 05.08.2010 N 1328-р).

С 1 июля 2003 года до вступления в силу технических регламентов акты федеральных органов исполнительной власти в сфере технического регулирования носят рекомендательный характер и подлежат обязательному исполнению только в части, соответствующей целям, указанным в пункте 1 статьи 46 Федерального закона от 27.12.2002 г. N 184-ФЗ.

Ограничение срока действия снято по Протоколу N 5-94 Межгосударственного совета по стандартизации, метрологии и сертификации ("ИУС", N 11 - 12, 1994).

Изменение N 1, утв. Постановлением Госстандарта СССР от 08.08.1988 N 2862, введено в действие с 1 января 1989 года.

Взамен ГОСТ 4867-57.
Название документа
"ГОСТ 8467-83. Трубы стальные бурильные ниппельного соединения для геологоразведочного бурения. Технические условия"
(утв. Постановлением Госстандарта СССР от 10.10.1983 N 4832)
(ред. от 08.08.1988)


"ГОСТ 8467-83. Трубы стальные бурильные ниппельного соединения для геологоразведочного бурения. Технические условия"
(утв. Постановлением Госстандарта СССР от 10.10.1983 N 4832)
(ред. от 08.08.1988)


Содержание


Утвержден и введен в действие
Постановлением Госстандарта СССР
от 10 октября 1983 г. N 4832
ГОСУДАРСТВЕННЫЙ СТАНДАРТ СОЮЗА ССР
ТРУБЫ СТАЛЬНЫЕ БУРИЛЬНЫЕ НИППЕЛЬНОГО СОЕДИНЕНИЯ
ДЛЯ ГЕОЛОГОРАЗВЕДОЧНОГО БУРЕНИЯ
ТЕХНИЧЕСКИЕ УСЛОВИЯ
Steel drill pipes for core drilling.
Specifications
ГОСТ 8467-83
Список изменяющих документов
(в ред. Изменения N 1, утв. Постановлением
Госстандарта СССР от 08.08.1988 N 2862)
Группа В62
ОКП 13 4400
Взамен ГОСТ 8467-57
Срок действия
с 1 января 1986 года
до 1 января 1991 года
Разработан Министерством черной металлургии СССР, Министерством геологии СССР.
Исполнители: В.И. Стрижак, канд. техн. наук; В.П. Сокуренко, канд. техн. наук; Г.А. Карпов, канд. техн. наук; А.И. Постолова; Б.Ф. Кравцов, канд. техн. наук; Ю.В. Бакланов, канд. техн. наук; А.И. Буданов; В.Г. Чернова.
Внесен Министерством черной металлургии СССР.
Член Коллегии В.Г. Антипин.
Утвержден и введен в действие Постановлением Государственного комитета СССР по стандартам от 10.10.1983 N 4832.
Настоящий стандарт распространяется на стальные бесшовные бурильные трубы ниппельного соединения, предназначенные для бурения геологоразведочных скважин на твердые полезные ископаемые, на резьбу этих труб и взаимосвязанных с ними изделий.
Абзац исключен с 1 января 1989 года. - Изменение N 1, утв. Постановлением Госстандарта СССР от 08.08.1988 N 2862.
Применение на добровольной основе раздела 1 обеспечивает соблюдение требований технического регламента "О безопасности машин и оборудования", утв. Постановлением Правительства Российской Федерации от 15.09.2009 N 753 (Приказ Росстандарта от 20.08.2010 N 3108).
1. ОСНОВНЫЕ ПАРАМЕТРЫ И РАЗМЕРЫ
1.1. Трубы изготовляют по размерам и массе, приведенным в табл. 1 и на черт. 1.
------------------------------------
<*> Размеры для справок.
Черт. 1
Таблица 1
мм
────────────────┬──────────────┬─────────────┬────────────┬────────────┬──────┬─────┬────────┬────────────┬──────┬────────┬─────────┬───────
Наружный диаметр│Толщина стенки│Длина трубы L│ Диаметр │ Диаметр │Длина │Длина│ Длина │ Длина │Длина │Длина │Теорети- │Увели-
гладкой части │гладкой части │ │ наружной │расточки D │резьбы│рас- │наружной│ заходной │внут- │пере- │ческая │чение
трубы D │ трубы s │ │ проточки │ 2 │с пол-│точки│проточки│расточки l │ренней│ходной │масса 1 м│массы
│ │ │ высаженной │ │ным │под │высажен-│ 4 │высад-│части l │гладкой │1 м
│ │ │части трубы │ │профи-│резь-│ного │ │ки l │ 6│части │трубы
│ │ │ D │ │лем l │бу l │конца l │ │ 5 │ │трубы, кг│вслед-
│ │ │ 1 │ │ 1│ 2│ 3│ │ │ │ │ствие
│ │ │ │ │ │ │ │ │ │ │ │высадки
───────┬────────┼───────┬──────┼──────┬──────┼──────┬─────┼──────┬─────┼──────┴─────┴────────┼──────┬─────┼──────┴────────┤ │кг
Номин. │Пред. │Номин. │Пред. │Номин.│Пред. │Номин.│Пред.│Номин.│Пред.│ Не менее │Номин.│Пред.│ Не менее │ │
│откл. │ │откл. │ │откл. │ │откл.│ │откл.│ │ │откл.│ │ │
───────┼────────┼───────┼──────┼──────┼──────┼──────┼─────┼──────┼─────┼──────┬─────┬────────┼──────┼─────┼──────┬────────┼─────────┼───────
42 │+/- 0,20│4,5 │+0,75 │3000 │+100 │42,5 │-0,39│33,3 │+0,39│50 │60 │65 │10 │+1,2 │65 │25 │4,16 │0,48
│ │ │ │4500 │-50 │ │ │ │ │ │ │ │ │ │ │ │ │
(в ред. Изменения N 1, утв. Постановлением Госстандарта СССР от
08.08.1988 N 2862)
54 │+/- 0,25│4,5 │+0,75 │3000 │+100 │54,5 │-0,46│42,3 │+0,46│55 │65 │70 │10 │+1,2 │90 │20 │5,49 │0,90
│ │ │ │4500 │-50 │ │ │ │ │ │ │ │ │ │ │ │ │
│ │ │ │6000 │ │ │ │ │ │ │ │ │ │ │ │ │ │
(в ред. Изменения N 1, утв. Постановлением Госстандарта СССР от
08.08.1988 N 2862)
68 │+/- 0,30│4,5 │+0,75 │3000 │+100 │68,5 │-0,46│57,4 │+0,46│60 │70 │80 │10 │+1,2 │100 │40 │7,05 │1,40
│ │ │ │4500 │-50 │ │ │ │ │ │ │ │ │ │ │ │ │
│ │ │ │6000 │ │ │ │ │ │ │ │ │ │ │ │ │ │
(в ред. Изменения N 1, утв. Постановлением Госстандарта СССР от
08.08.1988 N 2862)
Примечания. 1. На участке труб длиной не более 300 мм от торца за проточенной частью допускается местное увеличение наружного номинального диаметра на 1,45 мм или уменьшение его на 0,95 мм.
2. По требованию потребителя допускается изготовление труб диаметрами 54 и 68 мм длиной 9000 мм.
3. В партии допускается до 5% труб с предельными отклонениями по длине минус 200 мм.
1.2. Овальность и разностенность труб не должны выводить размеры труб за предельные отклонения соответственно по наружному диаметру и толщине стенки.
1.3. Непрямолинейность на любом участке труб не должна превышать 0,5 мм на 1 м длины.
1.4. Размеры резьбы (наружной и внутренней) приведены на черт. 2 и в табл. 2.
------------------------------------
<*> Размеры для справок.
1 - внутренняя резьба; 2 - наружная резьба
Черт. 2
(в ред. Изменения N 1, утв. Постановлением
Госстандарта СССР от 08.08.1988 N 2862)
Таблица 2
мм
──────┬─────────────────────────────────────────┬─────────────────────────────────────────┬──────┬───────┬─────┬────────
Наруж-│ Наружная резьба │ Внутренняя резьба │Ширина│Рабочая│Шаг │Наимень-
ный ├─────────────┬─────────────┬─────────────┼─────────────┬─────────────┬─────────────┤впадин│высота │резь-│ший за-
диа- │ Наружный │ Внутренний │Ширина витка │ Наружный │ Внутренний │Ширина витка │m │витка t│бы р │зор по
метр │ диаметр d │ диаметр d │у вершины m │ диаметр d' │ диаметр d' │ у вершины m │ 3 │ │ │ширине
труб D│ 0 │ 1 │ 2 │ 0 │ 1 │ 1│ │ │ │витка а
├──────┬──────┼──────┬──────┼──────┬──────┼──────┬──────┼──────┬──────┼──────┬──────┤ │ │ │
│Номин.│Пред. │Номин.│Пред. │Номин.│Пред. │Номин.│Пред. │Номин.│Пред. │Номин.│Пред. │ │ │ │
│ │откл. │ │откл. │ │откл. │ │откл. │ │откл. │ │откл. │ │ │ │
──────┼──────┼──────┼──────┼──────┼──────┼──────┼──────┼──────┼──────┼──────┼──────┼──────┼──────┼───────┼─────┼────────
42 │33,0 │-0,100│30,0 │-0,130│3,863 │-0,120│33,032│+0,160│30 │+0,160│3,860 │-0,120│3,875 │1,50 │8 │0,015
(в ред. Изменения N 1, утв. Постановлением Госстандарта СССР от
08.08.1988 N 2862)
54 │42,0 │-0,100│38,0 │-0,160│3,819 │-0,120│42,032│+0,160│38 │+0,160│3,816 │-0,120│3,831 │2,00 │8 │0,015
68 │57,0 │-0,120│52,5 │-0,190│3,797 │-0,120│57,040│+0,190│52,5 │+0,190│3,794 │-0,120│3,809 │2,25 │8 │0,015
Примечания. 1. Величины углов наклона профиля наружной и внутренней резьбы, ширина витка у вершины и радиусов закругления являются справочными для проектирования резьбонарезного инструмента и на трубах не контролируются.
2. Допускается отклонения по шагу резьбы компенсировать соответствующим уменьшением ширины витка (увеличением ширины впадины) в пределах допуска.
1.5. Трубы изготовляют с правой или левой резьбой. Направление резьбы оговаривается в заказе.
Примеры условных обозначений
Труба бурильная диаметром 54 мм, длиной 4500 мм, с правой резьбой, из стали группы прочности К:
Труба бурильная 54 х 4500 - К ГОСТ 8467-83
То же, с левой резьбой:
Труба бурильная Л54 х 4500 - К ГОСТ 8467-83
Применение на добровольной основе раздела 2 обеспечивает соблюдение требований технического регламента Таможенного союза "О безопасности машин и оборудования" (ТР ТС 010/2011) и осуществления оценки (подтверждения) соответствия продукции (Решение комиссии Таможенного союза от 18.10.2011 N 823).
2. ТЕХНИЧЕСКИЕ ТРЕБОВАНИЯ
2.1. Трубы изготовляют в соответствии с требованиями настоящего стандарта по технологическим регламентам, утвержденным в установленном порядке.
2.2. Трубы изготовляют из стали группы прочности К, Е, М. Массовая доля серы и фосфора в стали не должна превышать 0,045% каждого.
2.3. Трубы должны быть термически обработанными. Механические свойства стали должны соответствовать приведенным в табл. 3.
Таблица 3
───────────────────────────────────┬──────────────────────────────
Наименование показателей │Норма механических свойств для
│ стали группы прочности, не
│ менее
├─────────┬──────────┬─────────
│ К │ Е │ М
───────────────────────────────────┼─────────┼──────────┼─────────
Временное сопротивление, дельта , │ 687 │ 735 │ 862
в │ (70) │ (75) │ (87,9)
МПа (кгс/мм2) │ │ │
Предел текучести дельта , МПа │ 490 │ 539 │ 758
т │ (50) │ (55) │ (77,3)
(кгс/мм2) │ │ │
Относительное удлинение, дельта , %│ 12 │ 12 │ 12
5 │ │ │
2.4. На поверхности труб не допускаются рванины, трещины, плены, раковины-вдавы и закаты.
Допускаются отдельные вмятины, риски и другие дефекты, обусловленные способом производства, и следы зачистки дефектов, если они не выводят толщину стенки за минимальные размеры, а также слой окалины, не препятствующий осмотру.
2.5. Биение поверхности резьбы (поверхности В) относительно наружной необработанной поверхности трубы (поверхности А вне зоны высадки на расстоянии 300 мм от торца трубы) не должно превышать 1,15 мм у торца трубы.
Биение поверхности резьбы (поверхности В) относительно наружной проточенной поверхности трубы (поверхности Б) не должно превышать 0,4 мм на длине 200 мм.
2.6. Шероховатость поверхности наружной проточки высаженного конца трубы не должна превышать Rz 80 мкм по ГОСТ 2789-73.
2.7. Шероховатость поверхности резьбы и упорных торцов (поверхности Г) не должна превышать Rz 40 мкм по ГОСТ 2789-73.
2.8. Биение поверхности конуса упорных торцов резьбы (поверхности Г) относительно поверхности резьбы (поверхность B) в направлении, перпендикулярном поверхности Г, не должно превышать 0,08 мм.
3. ПРАВИЛА ПРИЕМКИ
3.1. Трубы принимают партиями. Партия должна состоять из труб одного размера, одной группы прочности стали и сопровождаться одним документом о качестве в соответствии с ГОСТ 10692-80 с дополнением: содержание серы и фосфора в стали принимают по документу о качестве металла.
Количество труб в партии не более 300 шт.
3.2. Контролю поверхности, геометрических размеров труб и правильности исполнения резьбы подвергают каждую трубу.
3.3. Для контроля качества от партии отбирают:
одну трубу - для контроля механических свойств металла;
5% - для контроля соосности резьбы и наружной (гладкой и проточенной) поверхности труб;
10% - для контроля биения поверхности конуса упорных торцов.
При возникновении разногласий в оценке содержания серы и фосфора в стали для проверки отбирают одну трубу.
3.4. При получении неудовлетворительных результатов испытания хотя бы по одному из показателей по нему проводят повторные испытания на удвоенном количестве труб, отобранных от той же партии. Результаты повторных испытаний распространяются на всю партию.
4. МЕТОДЫ ИСПЫТАНИЙ
4.1. От каждой отобранной трубы вырезают по одному образцу для каждого вида испытаний.
ИС МЕГАНОРМ: примечание.
Постановлением Госстандарта РФ от 28.08.2001 N 356-ст с 1 марта 2002 года введен в действие ГОСТ 12345-2001.
Содержание серы и фосфора в стали определяют по ГОСТ 12347-77 и ГОСТ 12345-80. Пробы отбирают по ГОСТ 7565-81.
4.2. Испытание на растяжение проводят по ГОСТ 10006-80 на продольном коротком образце, вырезанном из высаженной части трубы. Скорость перемещения подвижного захвата до предела текучести - не более 10 мм/мин, за пределом текучести - не более 40 мм/мин.
4.3. Контроль поверхности проводят визуально. Проверку глубины допускаемых дефектов проводят надпиловкой или другим способом.
ИС МЕГАНОРМ: примечание.
Взамен ГОСТ 8026-75 Постановлением Госстандарта РФ от 23.03.1992 N 233 с 1 января 1993 года введен в действие ГОСТ 8026-92.
ИС МЕГАНОРМ: примечание.
ГОСТ 882-75 утратил силу с 1 января 1989 года (ИУС "Государственные стандарты", N 8, 1988).
4.4. Непрямолинейность труб на 1 м длины проверяют поверочной линейкой 1 м по ГОСТ 8026-75 и набором щупов по ГОСТ 882-75. Непрямолинейность труб на концевых участках длиной 300 мм от торца не контролируется.
ИС МЕГАНОРМ: примечание.
Взамен ГОСТ 6507-78 Постановлением Госстандарта СССР от 25.01.1990 N 86 с 1 января 1991 года введен в действие ГОСТ 6507-90.
4.5. Контроль наружного диаметра и овальности проводят гладкими микрометрами по ГОСТ 6507-78 или предельными калибрами-скобами по ГОСТ 18362-73.
Контроль внутреннего диаметра проводят калибрами-пробками по ГОСТ 14810-69, ГОСТ 14812-69 и ГОСТ 21401-75.
Контроль толщины стенки проводят трубными микрометрами по ГОСТ 6507-78.
ИС МЕГАНОРМ: примечание.
Постановлением Госстандарта РФ от 27.07.1999 N 220-ст с 1 июля 2000 года введен в действие ГОСТ 7502-98.
Контроль длины проводят рулеткой длиной 10 м по ГОСТ 7502-80.
4.6. Контроль правильности исполнения резьб проводят калибрами по ТУ 41-13-45-88, ТУ 41-13-46-88.
(п. 4.6 в ред. Изменения N 1, утв. Постановлением Госстандарта СССР от 08.08.1988 N 2862)
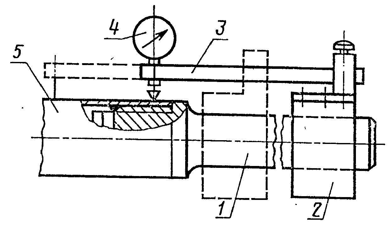
4.7. Для контроля биения поверхности В относительно поверхности А в резьбу трубы ввинчивают специальную оправку, цилиндрическая часть которой должна иметь наружный диаметр не более наружного диаметра резьбы трубы и быть соосной с ее резьбовой частью. Резьба оправки должна иметь размеры резьбы ниппеля.
На гладкую поверхность ввинченной оправки насаживают (по скользящей посадке) специальную втулку, на которой закреплена державка с индикаторной головкой часового типа (черт. 3).
1 - оправка; 2 - втулка; 3 - державка; 4 - индикаторная
головка; 5 - труба
Черт. 3
Втулку размещают у торца трубы, а ножку индикаторной головки - на расстоянии 300 мм от торца трубы.
Вращая трубу и удерживая индикаторную головку на поверхности А, измеряют биение этой поверхности относительно поверхности В.
4.8. Биение поверхности В относительно поверхности Б контролируют по п. 4.7. Втулку располагают на оправке на расстоянии 200 мм от торца, ножку индикаторной головки - на проточенной поверхности Б.
Вращая трубу и удерживая индикаторную головку на проточенной части трубы, измеряют биение поверхности Б относительно поверхности В.
5. Маркировка, упаковка, транспортирование и хранение
5.1. Упаковку, транспортирование и хранение проводят по ГОСТ 10692-80 с дополнениями.
5.1.1. На каждой трубе на расстоянии не более 100 мм от торца проставляют четкую маркировку клеймами: товарный знак предприятия-изготовителя, размер наружного диаметра, группу прочности стали и клеймо отдела технического контроля.
На трубах с левой резьбой дополнительно наносится надпись "лев".
5.1.2. Для предохранения резьбы от повреждений в концы труб ввинчивают или вставляют предохранительные пробки.