Главная // Актуальные документы // ГОСТ (Государственный стандарт)СПРАВКА
Источник публикации
М.: Издательство стандартов, 1985
Примечание к документу
Документ утратил силу на территории Российской Федерации с 01.01.2021 в связи с изданием
Приказа Росстандарта от 06.09.2019 N 647-ст. Взамен введен в действие
ГОСТ Р 58527-2019.
С 1 июля 2003 года до вступления в силу технических регламентов акты федеральных органов исполнительной власти в сфере технического регулирования носят рекомендательный характер и подлежат обязательному исполнению только в части, соответствующей целям, указанным в
пункте 1 статьи 46 Федерального закона от 27.12.2002 N 184-ФЗ.
Введен в действие с 1 июля 1985 года.
Взамен ГОСТ 8462-75.
Название документа
"ГОСТ 8462-85. Материалы стеновые. Методы определения пределов прочности при сжатии и изгибе"
(утв. Постановлением Госстроя СССР от 18.01.1985 N 11)
"ГОСТ 8462-85. Материалы стеновые. Методы определения пределов прочности при сжатии и изгибе"
(утв. Постановлением Госстроя СССР от 18.01.1985 N 11)
Утвержден и введен в действие
Постановлением Госстроя СССР
от 18 января 1985 г. N 11
ГОСУДАРСТВЕННЫЙ СТАНДАРТ СОЮЗА ССР
МАТЕРИАЛЫ СТЕНОВЫЕ
МЕТОДЫ ОПРЕДЕЛЕНИЯ ПРЕДЕЛОВ
ПРОЧНОСТИ ПРИ СЖАТИИ И ИЗГИБЕ
Wall materials. Methods for determination of
ultimate compressive and bending strength
ГОСТ 8462-85
Взамен
ГОСТ 8462-75
Срок введения
1 июля 1985 года
Разработан Министерством промышленности строительных материалов СССР, Центральным научно-исследовательским институтом строительных конструкций им. В.А. Кучеренко (ЦНИИСК им. Кучеренко) Госстроя СССР.
Исполнители: А.С. Бычков, канд. техн. наук (руководитель темы); В.А. Елин, канд. техн. наук; Г.Н. Бабикова; Н.И. Ярославский; В.К. Мухина; В.А. Камейко, канд. техн. наук; Л.В. Дробинина.
Внесен Министерством промышленности строительных материалов СССР.
Зам. министра В.И. Чирков.
Настоящий стандарт распространяется на стеновые материалы и устанавливает методы определения предела прочности при сжатии керамического, силикатного кирпича и камней, стеновых камней бетонных и из горных пород, стеновых блоков из природного камня и предела прочности при изгибе керамического и силикатного кирпича.
1. АППАРАТУРА И МАТЕРИАЛЫ
| | ИС МЕГАНОРМ: примечание. Взамен ГОСТ 8905-82 Постановлением Госстандарта СССР от 29.12.1990 N 3530 с 1 января 1993 года введен в действие ГОСТ 28840-90. | |
1.1. Пресс гидравлический по ГОСТ 8905-82.
1.2. Линейка измерительная металлическая по
ГОСТ 427-75.
| | ИС МЕГАНОРМ: примечание. Взамен ГОСТ 8026-75 Постановлением Госстандарта РФ от 23.03.1992 N 233 с 1 января 1993 года введен в действие ГОСТ 8026-92. | |
1.3. Линейка поверочная по ГОСТ 8026-75.
1.4. Штангенциркуль по ГОСТ 166-80.
1.5. Щуп по ГОСТ 882-75.
1.6. Сито с сеткой 1,25К по ГОСТ 3584-73.
1.7. Пластина металлическая или стеклянная размерами 270 х 150 х 5 мм. Отклонение от плоскостности пластин не должно превышать 0,1 мм.
1.8. Войлок технический толщиной 5 - 10 мм по
ГОСТ 288-72.
| | ИС МЕГАНОРМ: примечание. Взамен ГОСТ 7338-77 Постановлением Госстандарта СССР от 13.06.1990 N 1528 с 1 июля 1991 года введен в действие ГОСТ 7338-90. | |
1.9. Пластина резинотканевая толщиной 5 - 10 мм по ГОСТ 7338-77.
1.10. Картон толщиной 3 - 5 мм по нормативно-технической документации, утвержденной в установленном порядке.
1.13. Песок кварцевый по ГОСТ 8736-77.
| | ИС МЕГАНОРМ: примечание. Взамен ГОСТ 10178-76 Постановлением Госстроя СССР от 10.07.1985 N 116 с 1 января 1987 года введен в действие ГОСТ 10178-85. | |
1.14. Портландцемент, портландцемент с минеральными добавками, шлакопортландцемент марки 400 по ГОСТ 10178-76.
2. ПОДГОТОВКА К ИСПЫТАНИЮ
2.1. Образцы для испытания отбирают от партии. Размер партии и число образцов, подлежащих испытанию для определения пределов прочности при сжатии и изгибе, устанавливают нормативно-технической документацией на соответствующие виды стеновых материалов, утвержденной в установленном порядке.
2.2. Образцы, отобранные во влажном состоянии, перед испытанием выдерживают не менее 3 сут в закрытом помещении при температуре (20 + 5) °С или подсушивают в течение 4 ч при температуре (105 +/- 5) °С. Образцы, содержащие гипс, сушат в течение 8 ч при температуре, не превышающей 50 °С.
2.3. Кирпич, камни и блоки, отобранные для испытания, по внешнему виду и размерам должны удовлетворять требованиям нормативно-технической документации на эти материалы, утвержденной в установленном порядке.
2.4. Предел прочности при сжатии кирпича определяют на образцах, состоящих из двух целых кирпичей или из двух его половинок, а предел прочности при сжатии камней определяют на целом камне. Кирпич делят на половинки распиливанием или раскалыванием в соответствии со схемой, приведенной в рекомендуемом
Приложении 1.
Допускается определять предел прочности при сжатии на половинках кирпича, полученных после испытания его на изгиб.
Кирпичи или его половинки укладывают постелями друг на друга. Половинки размещают поверхностями раздела в противоположные стороны.
2.5. При подготовке образцов выравниванию подлежат поверхности, которые в конструкции располагаются перпендикулярно направлению сжимающей нагрузки.
2.6. Образцы из керамического кирпича и камня пластического формования изготавливают, соединяя части образца и выравнивая их опорные поверхности цементным раствором в соответствии с обязательным
Приложением 2.
Образцы из силикатного кирпича и камня и керамического кирпича полусухого прессования испытывают насухо, не производя выравнивания их поверхностей цементным раствором.
2.7. Предел прочности при сжатии бетонных камней определяют на целом камне. Опорные поверхности образцов выравнивают цементным раствором, если их отклонение от плоскостности превышает 0,3 мм.
2.8. Предел прочности при сжатии камней из горных пород и блоков из природного камня определяют на образцах, размеры которых указаны в нормативно-технической документации на эти виды стеновых материалов, утвержденной в установленном порядке. Опорные поверхности образцов выравнивают шлифованием или цементным раствором. Отклонение от плоскостности шлифованных поверхностей образцов не должно превышать 0,1 мм.
2.9. Допускается при определении предела прочности при сжатии керамического кирпича и камней пластического формования изготавливать образцы, выравнивая их опорные поверхности шлифованием, гипсовым раствором или применяя прокладки из технического войлока, резинотканевых пластин, картона и других материалов.
Образцы, изготовленные с применением гипсового раствора, испытывают не ранее чем через 2 ч после начала схватывания. Толщина слоя раствора должна быть не более 5 мм, водогипсовое отношение 0,32 - 0,35.
В случае проверки потребителем, а также при арбитражных проверках образцы для определения предела прочности при сжатии кирпича и камней пластического формования изготовляют в соответствии с
п. 2.6.
2.10. Предел прочности при изгибе керамического и силикатного кирпича определяют на целом кирпиче.
В местах опирания и приложения нагрузки поверхность кирпича пластического формования выравнивают цементным или гипсовым раствором, шлифованием или применяют прокладки по
п. 2.9. Кирпич с несквозными пустотами устанавливают на опорах так, чтобы пустоты располагались в растянутой зоне образца.
Силикатный кирпич и керамический кирпич полусухого прессования испытывают на изгиб без применения растворов и прокладок.
3.1. Образцы измеряют с погрешностью до 1 мм. Каждый линейный размер образца вычисляют как среднее арифметическое значение результатов измерений двух средних линий противолежащих поверхностей образца.
Диаметр цилиндра вычисляют как среднее арифметическое значение результатов четырех измерений: в каждом торце по двум взаимно перпендикулярным направлениям.
3.2. Испытание образцов на сжатие
На боковые поверхности образца наносят вертикальные осевые линии. Образец устанавливают в центре плиты пресса, совмещая геометрические оси образца и плиты, и прижимают верхней плитой пресса.
Нагрузка на образец должна возрастать непрерывно и равномерно со скоростью, обеспечивающей его разрушение через 20 - 60 с после начала испытания.
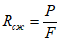
3.2.1. Предел прочности при сжатии

, МПа (кгс/см2), образца вычисляют по формуле

, (1)
где Р - наибольшая нагрузка, установленная при испытании образца, МН (кгс);
F - площадь поперечного сечения образца, вычисляемая как среднее арифметическое значение площадей верхней и нижней его поверхностей, м2 (см2).
При вычислении предела прочности при сжатии образцов из двух целых кирпичей толщиной 88 мм или из двух их половинок результаты испытаний умножают на коэффициент 1,2.
При вычислении пределов прочности при сжатии образцов-кубов и образцов-цилиндров из природного камня результаты испытаний умножают на коэффициент, указанный в таблице.
───────────────────────────────┬──────────────────────────────────
Размер ребра куба или │ Коэффициент для
диаметра d и высоты h ├───────────────┬──────────────────
цилиндра (d = h), мм │ кубов │ цилиндров
───────────────────────────────┼───────────────┼──────────────────
200 │ 1,05 │ -
150 │ 1,00 │ 1,05
100 │ 0,95 │ 1,02
70 │ 0,85 │ 0,91
От 40 до 50 │ 0,75 │ 0,81
При вычислении предела прочности при сжатии образцов из керамического кирпича и камней пластического формования, изготовленных по
п. 2.9, результаты испытаний умножают на коэффициент, вычисленный в соответствии с обязательным
Приложением 3.
Предел прочности при сжатии образцов в партии вычисляют с точностью до 0,1 МПа (1 кгс/см2) как среднее арифметическое значение результатов испытаний установленного числа образцов.
3.3. Испытание образцов на изгиб
Образец устанавливают на двух опорах пресса. Нагрузку прикладывают в середине пролета и равномерно распределяют по ширине образца согласно чертежу. Нагрузка на образец должна возрастать непрерывно со скоростью, обеспечивающей его разрушение через 20 - 60 с после начала испытаний.
Схема испытания кирпича на изгиб
3.3.1. Предел прочности при изгибе

, МПа (кгс/см2), образца вычисляют по формуле

, (2)
где Р - наибольшая нагрузка, установленная при испытании образца, МН (кгс);
l - расстояние между осями опор, м (см);
b - ширина образца, м (см);
h - высота образца посередине пролета без выравнивающего слоя, м (см).
Предел прочности при изгибе образцов в партии вычисляют с точностью до 0,05 МПа (0,5 кгс/см2) как среднее арифметическое значение результатов испытаний установленного числа образцов.
При вычислении предела прочности при изгибе образцов в партии не учитывают образцы, пределы прочности которых имеют отклонение от среднего значения предела прочности всех образцов более чем на 50% и не более чем по одному образцу в каждую сторону.
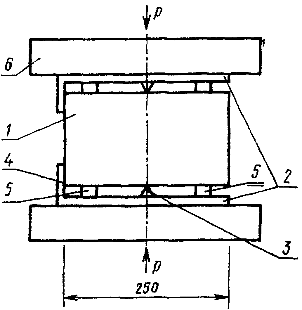
Рекомендуемое
СХЕМА РАСКАЛЫВАНИЯ КИРПИЧА В ПРЕССЕ
1 - образец; 2 - основание; 3 - металлический нож;
4 - упор; 5 - резиновые прокладки; 6 - плита пресса
Обязательное
ИЗГОТОВЛЕНИЕ ОБРАЗЦОВ ИЗ КЕРАМИЧЕСКОГО КИРПИЧА
И КАМНЯ ПЛАСТИЧЕСКОГО ФОРМОВАНИЯ ДЛЯ ОПРЕДЕЛЕНИЯ
ПРЕДЕЛА ПРОЧНОСТИ ПРИ СЖАТИИ
Образцы из двух кирпичей или двух половинок кирпича изготавливают в следующей последовательности.
Приготавливают раствор из равных по массе частей цемента марки 400 и песка, просеянного через сито с сеткой N 1,25 (В/Ц = = 0,40 - 0,42). Кирпичи или его половинки полностью погружают в воду на 1 мин. Затем на горизонтально установленную пластину укладывают лист бумаги, слой раствора толщиной не более 5 мм и первый кирпич или его половинку, затем опять слой раствора и второй кирпич или его половинку.
Излишки раствора удаляют, а края бумаги загибают на боковые поверхности образца. В таком положении образец выдерживают 30 мин.
Затем образец переворачивают и в таком же порядке выравнивают другую опорную поверхность образца.
Отклонение от параллельности выравненных опорных поверхностей образца, определяемое по максимальной разности любых двух его высот, не должно превышать 2 мм.
Образец из камня изготавливают в той же последовательности, выравнивая опорные поверхности.
Образец выдерживают 3 сут в помещении при температуре (20 +/- 5) °С и относительной влажности воздуха 60 - 80%.
Обязательное
ОПРЕДЕЛЕНИЕ КОЭФФИЦИЕНТА ПЕРЕХОДА ОТ ПРЕДЕЛА ПРОЧНОСТИ
ПРИ СЖАТИИ ОБРАЗЦОВ, ИЗГОТОВЛЕННЫХ В СООТВЕТСТВИИ
С
П. 2.9 НАСТОЯЩЕГО СТАНДАРТА, К ПРЕДЕЛУ ПРОЧНОСТИ
ПРИ СЖАТИИ ОБРАЗЦОВ, ИЗГОТОВЛЕННЫХ В СООТВЕТСТВИИ
Для определения коэффициента испытывают образцы, отобранные от десяти партий кирпича или камней пластического формирования. От каждой партии испытывают 5 образцов, изготовленных в соответствии с
п. 2.6, и столько же образцов, изготовленных в соответствии с
п. 2.9.
Коэффициент К вычисляют по формуле

,
где

- предел прочности при сжатии образцов, отобранных от десяти партий кирпича или камней и изготовленных в соответствии с
п. 2.6, вычисленный как среднее арифметическое значение результатов испытаний 50 образцов, МПа (кгс/см2);

- предел прочности при сжатии образцов, отобранных от десяти партий кирпича или камней и изготовленных в соответствии с
п. 2.9, вычисленный как среднее арифметическое значение результатов испытаний 50 образцов, МПа (кгс/см2).
Коэффициент определяют при изменении технологии, но не реже одного раза в год.