Главная // Актуальные документы // ГОСТ (Государственный стандарт)
СПРАВКА
Источник публикации
В данном виде документ опубликован не был.
Первоначальный текст документа опубликован в издании
М.: Издательство стандартов, 1988.
Информацию о публикации документов, создающих данную редакцию, см. в справке к этим документам.
Примечание к документу
Документ утратил силу с 01.06.2021 в связи с изданием Приказа Росстандарта от 22.10.2020 N 915-ст. Взамен введен в действие ГОСТ 34680-2020.

С 1 июля 2003 года до вступления в силу технических регламентов акты федеральных органов исполнительной власти в сфере технического регулирования носят рекомендательный характер и подлежат обязательному исполнению только в части, соответствующей целям, указанным в пункте 1 статьи 46 Федерального закона от 27.12.2002 N 184-ФЗ.

Изменение N 1, утв. Постановлением Госстандарта СССР от 25.12.1991 N 2123, введено в действие с 1 июня 1992 года.

Взамен ГОСТ 6628-63.
Название документа
"ГОСТ 6628-73. Государственный стандарт Союза ССР. Крюки двурогие. Заготовки. Типы. Конструкция и размеры"
(введен в действие Постановлением Госстандарт СССР от 11.11.1973 N 2435)
(ред. от 25.12.1991)

"ГОСТ 6628-73. Государственный стандарт Союза ССР. Крюки двурогие. Заготовки. Типы. Конструкция и размеры"
(введен в действие Постановлением Госстандарт СССР от 11.11.1973 N 2435)
(ред. от 25.12.1991)


Содержание


Введен в действие
Постановлением Государственного
комитета стандартов
Совета Министров СССР
от 11 ноября 1973 г. N 2435
ГОСУДАРСТВЕННЫЙ СТАНДАРТ СОЮЗА ССР
КРЮКИ ДВУРОГИЕ. ЗАГОТОВКИ
ТИПЫ. КОНСТРУКЦИЯ И РАЗМЕРЫ
Ramshorn hooks. Blanks. Type. Construction and dimensions
ГОСТ 6628-73
Список изменяющих документов
(в ред. Изменения N 1, утв. Постановлением
Госстандарта СССР от 25.12.1991 N 2123)
Группа Г86
Взамен
ГОСТ 6628-63
Постановлением Государственного комитета стандартов Совета Министров СССР от 11 ноября 1973 г. N 2435 срок введения установлен
с 1 января 1975 года
Проверен в 1979 г. Постановлением Госстандарта от 08.06.1984 N 1879 срок действия продлен
до 1 января 1995 года
Переиздание. Июнь 1988 г.
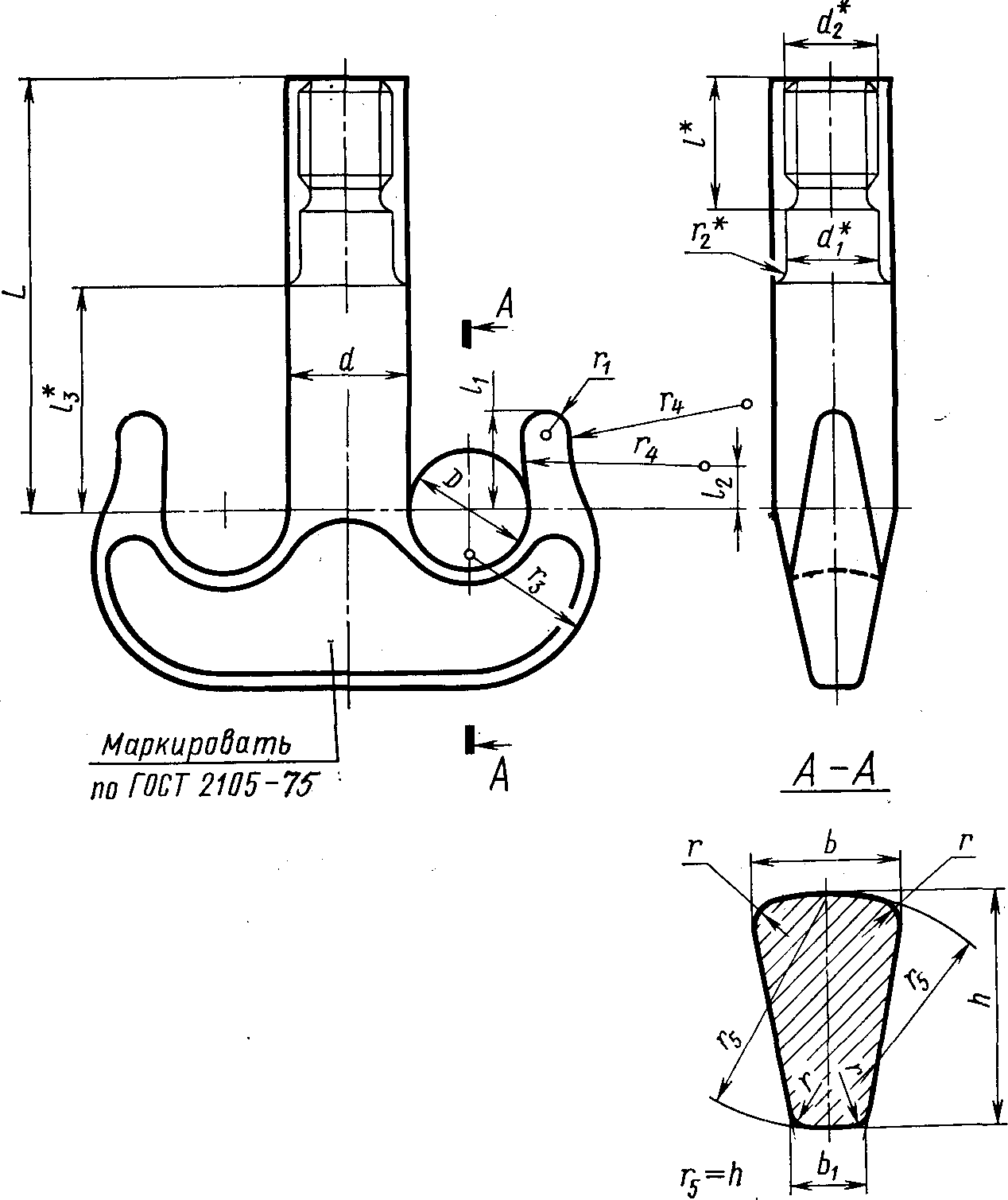
Настоящий стандарт распространяется на заготовки двурогих кованых и штампованных крюков с цилиндрическим хвостовиком, применяемых в грузоподъемных машинах.
Требования настоящего стандарта являются обязательными.
(абзац введен Изменением N 1, утв. Постановлением Госстандарта СССР от 25.12.1991 N 2123)
1. ТИПЫ
1.1. Заготовки крюков должны изготовляться следующих типов:
А - с коротким хвостовиком;
Б - с удлиненным хвостовиком.
1.2. Заготовки крюков должны изготовляться методом горячей объемной штамповки (I) и методом свободной ковки (II).
2. КОНСТРУКЦИЯ И РАЗМЕРЫ
2.1. Конструкция и размеры заготовок крюков должны соответствовать указанным на чертеже и в таблице.
--------------------------------
<*> Размеры для справок.
Размеры в мм
─────┬────────────────┬────────────────┬───┬──────┬────────────────┬────────────────
Номер│ D │ d │ d │ d │ b │ b
заго-│ │ │ 1│ 2 │ │ 1
товки├────┬───────────┼────┬───────────┤ │ ├────┬───────────┼────┬───────────
крюка│Но- │Пред. откл.│Но- │Пред. откл.│ │ │Но- │Пред. откл.│Но- │Пред. откл.
│мин.│для метода │мин.│для метода │ │ │мин.│для метода │мин.│для метода
│ ├─────┬─────┤ ├─────┬─────┤ │ │ ├─────┬─────┤ ├─────┬─────
│ │ I │ II │ │ I │ II │ │ │ │ I │ II │ │ I │ II
─────┼────┼─────┼─────┼────┼─────┼─────┼───┼──────┼────┼─────┼─────┼────┼─────┼─────
1 │ 60 │+3,9 │ +8 │ 56 │+3,9 │ +8 │50 │ М48 │ 35 │+3,7 │ +7 │ 18 │+3,7 │ +7
│ │-2,3 │ -2 │ │-2,3 │ -2 │ │ │ │-2,1 │ -2 │ │-2,1 │ -2
─────┼────┼─────┤ ├────┼─────┼─────┼───┼──────┼────┼─────┼─────┼────┼─────┼─────
2 │ 70 │+4,1 │ │ 62 │+4,1 │ +9 │55 │ М52 │ 40 │+3,9 │ +8 │ 20 │+3,9 │ +8
─────┼────┤-2,4 ├─────┼────┤-2,4 │ -2 ├───┼──────┼────┤-2,2 │ -2 ├────┤-2,2 │ -2
3 │ 80 │ │ +9 │ 68 │ │ │60 │ М56 │ 45 │ │ │ 22 │ │
─────┼────┼─────┤ -2 ├────┼─────┼─────┼───┼──────┼────┼─────┤ ├────┼─────┤
4 │ 90 │+4,4 │ │ 80 │+4,4 │ +10 │70 │ М64 │ 50 │+4,2 │ │ 25 │+4,2 │
│ │-2,6 │ │ │-2,6 │ -2 │ │ │ │-2,4 │ │ │-2,4 │
─────┼────┼─────┼─────┼────┼─────┤ ├───┼──────┼────┼─────┼─────┼────┼─────┼─────
5 │100 │+5,4 │ +10 │ 85 │+5,4 │ │75 │Трап. │ 60 │+5,4 │ +9 │ 30 │+5,2 │ +9
│ │-2,9 │ -2 │ │-2,9 │ │ │70x10 │ │-2,9 │ -2 │ │-2,7 │ -2
─────┼────┼─────┤ ├────┼─────┼─────┼───┼──────┼────┼─────┤ ├────┼─────┤
6 │115 │+6,4 │ │ 95 │+6,4 │ +11 │85 │Трап. │ 65 │+6,4 │ │ 32 │+6,2 │
│ │-3,2 │ │ │-3,2 │ -3 │ │80x10 │ │-3,2 │ │ │-3,0 │
─────┼────┼─────┼─────┼────┤ │ ├───┼──────┼────┤ ├─────┼────┤ ├─────
7 │125 │+6,5 │ +11 │110 │ │ │100│Трап. │ 75 │ │ +12 │ 38 │ │ +12
│ │-3,3 │ -3 │ │ │ │ │90x12 │ │ │ -3 │ │ │ -3
─────┼────┼─────┼─────┼────┼─────┼─────┼───┼──────┼────┼─────┤ ├────┼─────┤
8 │145 │+8,5 │ +14 │125 │+8,5 │ +14 │110│Трап. │ 85 │+8,4 │ │ 42 │+8,2 │
│ │-3,9 │ -3 │ │-3,9 │ -3 │ │100x12│ │-3,8 │ │ │-3,6 │
─────┼────┼─────┤ ├────┼─────┤ ├───┼──────┼────┼─────┼─────┼────┼─────┤
9 │160 │+11,5│ │135 │+11,5│ │120│Трап. │ 95 │+11,4│ +17 │ 48 │+11,2│
│ │-4,8 │ │ │-4,8 │ │ │110x12│ │-4,7 │ -3 │ │-4,5 │
─────┼────┤ ├─────┼────┤ ├─────┼───┼──────┼────┤ │ ├────┼─────┼─────
10 │180 │ │ +18 │160 │ │ +18 │140│Трап. │105 │ │ │ 52 │+11,4│ +14
│ │ │ -4 │ │ │ -3 │ │120x16│ │ │ │ │-4,7 │ -3
─────┼────┼─────┤ ├────┼─────┤ ├───┼──────┼────┼─────┼─────┼────┼─────┼─────
11 │200 │+13,8│ │170 │+13,5│ │150│Трап. │115 │+13,4│ +18 │ 58 │+13,4│ +16
│ │-5,7 │ │ │-5,4 │ │ │140x16│ │-5,3 │ -3 │ │-5,3 │ -3
─────┼────┤ ├─────┼────┼─────┼─────┼───┼──────┼────┼─────┼─────┼────┼─────┤
12 │220 │ │ +22 │190 │+13,8│ +22 │170│Трап. │130 │+13,5│ +20 │ 65 │+13,4│
│ │ │ -4 │ │-5,7 │ -4 │ │160x16│ │-5,4 │ -4 │ │-5,4 │
─────┼────┤ ├─────┼────┤ │ ├───┼──────┼────┤ │ ├────┼─────┤
13 │250 │ │ +24 │200 │ │ │180│Трап. │150 │ │ │ 75 │+13,4│
│ │ │ -4 │ │ │ │ │170x16│ │ │ │ │-5,3 │
─────┼────┼─────┤ ├────┤ │ ├───┼──────┼────┤ ├─────┼────┤ │
14 │280 │+14,0│ │220 │ │ │200│Трап. │165 │ │ +22 │ 85 │ │
│ │-5,9 │ │ │ │ │ │180x20│ │ │ -4 │ │ │
Продолжение
─────┬────────────────┬────────┬───┬───┬───┬───┬───┬───┬───┬───┬───┬───────
Номер│ h │ L │ l │l │l │l │ r │r │ r │r │r │Масса,
заго-├────┬───────────┼───┬────┤ │ 1 │ 2 │ 3 │ │ 1 │ 2│ 3 │ 4 │ кг
товки│Но- │Пред. откл.│Тип│Тип │ │ │ │ │ │ │ │ │ │
крюка│мин.│для метода │ А │ Б │ │ │ │ │ │ │ │ │ ├───┬───
│ ├─────┬─────┤ │ │ │ │ │ │ │ │ │ │ │Тип│Тип
│ │ I │ II │ │ │ │ │ │ │ │ │ │ │ │ А │ Б
─────┼────┼─────┼─────┼───┼────┼───┼───┼───┼───┼───┼───┼───┼───┼───┼───┼───
1 │ 60 │+3,9 │ +8 │230│475 │70 │50 │22 │70 │10 │10 │ 3 │65 │100│ 8 │12
│ │-2,3 │ -2 │ │ │ │ │ │ │ │ │ │ │ │ │
─────┼────┼─────┼─────┼───┼────┼───┼───┼───┼───┤ ├───┤ ├───┼───┼───┼───
2 │ 70 │+4,1 │ +9 │260│520 │75 │55 │25 │80 │ │12 │ │80 │115│11 │17
│ │-2,4 │ -2 │ │ │ │ │ │ │ │ │ │ │ │ │
─────┼────┤ ├─────┼───┼────┼───┼───┼───┼───┤ │ ├───┼───┼───┼───┼───
3 │ 75 │ │ +10 │280│580 │80 │60 │28 │85 │ │ │ 4 │90 │125│14 │21
─────┼────┼─────┤ -2 ├───┼────┼───┼───┼───┼───┼───┼───┤ ├───┼───┼───┼───
4 │ 85 │+4,4 │ │325│640 │90 │70 │30 │100│15 │15 │ │100│135│20 │30
│ │-2,6 │ │ │ │ │ │ │ │ │ │ │ │ │ │
─────┼────┼─────┼─────┼───┼────┼───┼───┼───┼───┤ ├───┤ ├───┼───┼───┼───
5 │ 95 │+5,4 │ +12 │360│700 │95 │80 │35 │110│ │16 │ │115│145│28 │39
│ │-2,9 │ -3 │ │ │ │ │ │ │ │ │ │ │ │ │
─────┼────┼─────┤ ├───┼────┼───┼───┼───┼───┤ ├───┼───┼───┼───┼───┼───
6 │110 │+6,4 │ │420│760 │100│85 │40 │120│ │20 │ 5 │125│165│41 │55
─────┼────┤-3,2 │ ├───┼────┼───┼───┼───┼───┼───┼───┤ ├───┼───┼───┼───
7 │120 │ │ │470│820 │115│95 │45 │130│18 │22 │ │135│180│60 │78
─────┼────┼─────┼─────┼───┼────┼───┼───┼───┼───┼───┼───┤ ├───┼───┼───┼───
8 │140 │+8,5 │ +14 │525│875 │130│115│50 │150│20 │25 │ │160│200│90 │112
│ │-3,9 │ -3 │ │ │ │ │ │ │ │ │ │ │ │ │
─────┼────┼─────┤ ├───┼────┼───┼───┼───┼───┼───┼───┤ ├───┼───┼───┼───
9 │150 │+11,5│ │590│940 │140│130│55 │170│22 │26 │ │175│230│126│155
─────┼────┤-4,8 ├─────┼───┼────┼───┼───┼───┼───┤ ├───┼───┼───┼───┼───┼───
10 │170 │ │ +16 │660│1000│150│140│65 │180│ │30 │ 6 │200│260│159│206
─────┼────┼─────┤ -3 ├───┼────┼───┼───┼───┼───┼───┤ │ ├───┼───┼───┼───
11 │180 │+13,5│ │725│1050│175│165│70 │205│25 │ │ │220│280│228│265
│ │-5,4 │ │ │ │ │ │ │ │ │ │ │ │ │ │
─────┼────┼─────┼─────┼───┼────┼───┼───┼───┼───┤ ├───┼───┼───┼───┼───┼───
12 │210 │+13,8│ +23 │800│1150│190│180│80 │220│ │35 │ 8 │240│310│302│357
─────┼────┤-5,7 │ -4 ├───┼────┼───┼───┼───┼───┼───┤ │ ├───┼───┼───┼───
13 │235 │ │ │860│1175│205│200│95 │250│30 │ │ │265│330│400│471
─────┼────┼─────┤ ├───┼────┼───┼───┼───┼───┼───┼───┼───┼───┼───┼───┼───
14 │270 │+14,0│ │900│1200│230│210│100│260│35 │40 │10 │300│360│530│620
│ │-5,7 │ │ │ │ │ │ │ │ │ │ │ │ │ │
Примечания:
1. Длина L заготовки крюка указана без припуска на испытания.
2. Длину L для заготовок крюков типа Б разрешается увеличивать не более чем на 100 мм для машин, у которых группа режима работы механизма подъема 6М.
(в ред. Изменения N 1, утв. Постановлением Госстандарта СССР от 25.12.1991 N 2123)
3. В заготовках крюков, изготовляемых методом свободной ковки, несоосность зевов относительно общей оси для заготовок крюков с номера 1 по 5 - не более 8, с 6 по 10 - не более 14, с 11 по 14 - не более 20 мм.
4. В заготовках крюков, изготовляемых методом свободной ковки, допускается в нижней части сечения А-А радиус r не выполнять.
Пример условного обозначения заготовки крюка 4 типа А:
Заготовка крюка 4А ГОСТ 6628-73.
ИС МЕГАНОРМ: примечание.
Взамен ГОСТ 16093-81 Приказом Ростехрегулирования от 02.03.2005 N 39-ст с 1 июля 2005 года введен в действие ГОСТ 16093-2004.
2.2. Метрическая резьба - по ГОСТ 16093-81 с полем допусков 6g, трапецеидальная - по ГОСТ 9562-81.
2.3. Технические требования, методы испытаний, маркировка и транспортирование - по ГОСТ 2105-75.
2.4. Грузоподъемность крюков должна соответствовать величинам, указанным в Приложении.
Приложение
Обязательное
(в ред. Изменения N 1, утв. Постановлением
Госстандарта СССР от 25.12.1991 N 2123)
НАИБОЛЬШАЯ ГРУЗОПОДЪЕМНОСТЬ КРЮКОВ, т
Номер заготовки крюка
Для машин и механизмов с ручным приводом
Для механизмов групп режима работы по ГОСТ 25835-83
до 4М
5М и 6М
1
8,0
6,3
5,0
2
10,0
8,0
6,3
3
12,5
10,0
8,0
4
16,0
12,5
10,0
5
20,0
16,0
12,5
6
-
20,0
16,0
7
-
25,0
20,0
8
-
32,0
25,0
9
-
40,0
32,0
10
-
50,0
40,0
11
-
63,0
50,0
12
-
80,0
63,0
13
-
100,0
80,0
14
-
-
100,0
(в ред. Изменения N 1, утв. Постановлением Госстандарта СССР от 25.12.1991 N 2123)