Главная // Актуальные документы // ГОСТ (Государственный стандарт)
СПРАВКА
Источник публикации
М.: Стандартинформ, 2013
Примечание к документу
Документ утратил силу с 01.06.2020 в связи с изданием Приказа Росстандарта от 30.01.2020 N 21-ст. Взамен введен в действие ГОСТ IEC 60598-2-3-2017.

Документ включен в Перечень стандартов, в результате применения которых на добровольной основе обеспечивается соблюдение требований технического регламента Таможенного союза "О безопасности низковольтного оборудования" (ТР ТС 004/2011), и в Перечень стандартов, содержащих правила и методы исследований (испытаний) и измерений, в том числе правила отбора образцов, необходимые для применения и исполнения требований технического регламента Таможенного союза "О безопасности низковольтного оборудования" (ТР ТС 004/2011) и осуществления оценки (подтверждения) соответствия продукции (Решение Комиссии Таможенного союза от 16.08.2011 N 768).

Документ введен в действие с 01.01.2015.
Название документа
"ГОСТ IEC 60598-2-3-2012. Межгосударственный стандарт. Светильники. Часть 2. Частные требования. Раздел 3. Светильники для освещения улиц и дорог"
(введен в действие Приказом Росстандарта от 21.12.2012 N 1955-ст)

"ГОСТ IEC 60598-2-3-2012. Межгосударственный стандарт. Светильники. Часть 2. Частные требования. Раздел 3. Светильники для освещения улиц и дорог"
(введен в действие Приказом Росстандарта от 21.12.2012 N 1955-ст)


Содержание


Введен в действие
Приказом Федерального
агентства по техническому
регулированию и метрологии
от 21 декабря 2012 г. N 1955-ст
МЕЖГОСУДАРСТВЕННЫЙ СТАНДАРТ
СВЕТИЛЬНИКИ
ЧАСТЬ 2
ЧАСТНЫЕ ТРЕБОВАНИЯ
РАЗДЕЛ 3
СВЕТИЛЬНИКИ ДЛЯ ОСВЕЩЕНИЯ УЛИЦ И ДОРОГ
Luminaires. Part 2. Particular requirements.
Section 3. Luminaires for street and road lighting
(IEC 60598-2-3:1997, IDT)
ГОСТ IEC 60598-2-3-2012
Группа Е83
МКС 29.140.40
Дата введения
1 января 2015 года
Предисловие
Цели, основные принципы и порядок проведения работ по межгосударственной стандартизации установлены ГОСТ 1.0-92 "Межгосударственная система стандартизации. Основные положения" и ГОСТ 1.2-2009 "Межгосударственная система стандартизации. Стандарты межгосударственные, правила и рекомендации по межгосударственной стандартизации. Правила разработки, принятия, применения, обновления и отмены".
Сведения о стандарте
1. Подготовлен Федеральным государственным унитарным предприятием "Всероссийский научно-исследовательский институт стандартизации и сертификации в машиностроении" (ВНИИНМАШ).
2. Внесен Федеральным агентством по техническому регулированию и метрологии.
3. Принят Межгосударственным советом по стандартизации, метрологии и сертификации (Протокол N 41-2012 от 24 мая 2012 г.).
За принятие стандарта проголосовали:
Краткое наименование страны по МК (ИСО 3166) 004-97
Код страны по МК (ИСО 3166) 004-97
Сокращенное наименование национального органа по стандартизации
Азербайджан
AZ
Азстандарт
Армения
AM
Минэкономики Республики Армения
Беларусь
BY
Госстандарт Республики Беларусь
Грузия
GE
Грузстандарт
Казахстан
KZ
Госстандарт Республики Казахстан
Кыргызстан
KG
Кыргызстандарт
Молдова
MD
Молдова-Стандарт
Российская Федерация
RU
Росстандарт
Таджикистан
TJ
Таджикстандарт
Туркменистан
TM
Главгосслужба "Туркменстандартлары"
Узбекистан
UZ
Узстандарт
Украина
UA
Госпотребстандарт Украины
4. Приказом Федерального агентства по техническому регулированию и метрологии от 21.12.2012 N 1955-ст межгосударственный стандарт ГОСТ IEC 60598-2-3:2012 введен в действие в качестве национального стандарта Российской Федерации с 1 января 2015 г.
5. Настоящий стандарт идентичен международному стандарту IEC 60598-2-3:1997 Luminaires - Part 2: Particular requirements - Section 3: Luminaires for street and road lighting (Светильники. Часть 2. Частные требования. Раздел 3. Светильники для освещения улиц и дорог).
Перевод с английского языка (en).
Степень соответствия - идентичная (IDT).
Сведения о соответствии межгосударственных стандартов ссылочным международным стандартам приведены в дополнительном Приложении ДА.
Стандарт подготовлен на основе применения ГОСТ Р МЭК 60598-2-3-99.
ИС МЕГАНОРМ: примечание.
Нумерация пунктов дана в соответствии с официальным текстом документа.
5. Введен впервые.
Информация о введении в действие (прекращении действия) настоящего стандарта публикуется в указателе "Национальные стандарты".
Информация об изменениях к настоящему стандарту публикуется в указателе "Национальные стандарты", а текст изменений - в информационных указателях "Национальные стандарты". В случае пересмотра или отмены настоящего стандарта соответствующая информация будет опубликована в информационном указателе "Национальные стандарты".
3.1. Область применения
Настоящий стандарт устанавливает требования к светильникам для освещения улиц и дорог с лампами накаливания, трубчатыми люминесцентными и другими разрядными лампами, напряжение питания которых не превышает 1000 В.
Стандарт следует применять совместно с соответствующими разделами IEC 60598-1, на которые имеются ссылки.
3.2. Общие требования к испытаниям
Применяют положения раздела 0 IEC 60598-1.
Испытания, приведенные в соответствующем разделе IEC 60598-1, проводят в последовательности, указанной в настоящем стандарте.
3.3. Определения
В настоящем стандарте применяют определения раздела 1 IEC 60598-1, а также следующие определения.
3.3.1. Несущий трос: трос между основными опорами, воспринимающий массу всей установки.
Примечание. Установка может содержать несколько светильников, сетевые кабели и растяжку.
3.3.2. Трос подвески: трос, прикрепляемый к несущему тросу и воспринимающий массу светильника.
3.3.3. Растяжка: трос, натянутый между основными опорами, для ограничения бокового и вращательного перемещения подвесных светильников.
3.4. Классификация
Светильники должны классифицироваться в соответствии с положениями раздела 2 IEC 60598-1.
Примечание. Светильники обычно предназначены для одного или нескольких способов установки:
1) на трубу (консоль) или аналогичным способом;
2) на кронштейн мачты (опоры);
3) на венец столба;
4) на несущий трос или трос подвески;
5) на стену.
3.5. Маркировка
Применяют положения раздела 3 IEC 60598-1.
Дополнительно следующая информация должна быть указана в инструкции, поставляемой со светильником:
1) проектная позиция (нормальное рабочее положение);
2) масса, включая аппаратуру управления при ее наличии;
3) габаритные размеры;
4) максимальная площадь проекции светильника, подвергаемая воздействию ветра (см. 3.6.3.1) при монтаже светильника на высоте более 8 м над уровнем земли;
5) диапазон площадей поперечных сечений тросов подвески светильников, если это необходимо;
6) пригодность для использования внутри помещений. При этом не учитывают поправку на естественную циркуляцию воздуха (см. 3.12.1).
3.6. Конструкция
Применяют положения раздела 4 IEC 60598-1 совместно с требованиями 3.6.1 - 3.6.5 настоящего стандарта.
3.6.1. Светильники должны иметь степень защиты от проникновения воды не ниже IPX3.
3.6.2. Светильники для подвески на несущие тросы должны иметь зажимные устройства.
Диапазон сечений тросов, для которых предназначены зажимные устройства, должен указываться в инструкции, прикладываемой к светильнику. Устройство должно зажиматься на тросе для предотвращения перемещения по нему светильника.
Устройства подвески не должны повреждать несущий трос в процессе установки и нормальной эксплуатации светильника.
Проверку проводят внешним осмотром после зарядки светильника несущим тросом наименьшего и наибольшего сечений из диапазона, указанного изготовителем светильника.
Примечание. Следует соблюдать соответствующие меры предосторожности для предотвращения электролитической коррозии между зажимным устройством и несущим тросом.
3.6.3. Устройство для крепления светильника к опоре должно соответствовать массе светильника. Соединение должно выдерживать без заметной деформации воздействие ветра со скоростью 150 км/ч на площадь проекции светильника.
Детали крепления, испытывающие воздействие силы тяжести светильника и внутренней арматуры, должны иметь приспособления, предотвращающие смещение любой части светильника под действием вибрации в процессе эксплуатации и при техническом обслуживании.
Части светильников, закрепленные при помощи двух или менее приспособлений, например винтами или аналогичными средствами достаточной прочности, должны иметь дополнительную защиту, которая в случае повреждения одного из приспособлений при нормальной эксплуатации предотвращает падение указанных частей.
Проверку проводят внешним осмотром, а для светильников, установленных на кронштейн мачты и венец столба, - испытанием по 3.6.3.1.
Примечание. Для учета возможных последствий вибрации светильник необходимо испытывать смонтированным на соответствующей опоре в комплекте с лампой.
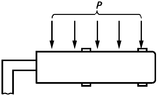
3.6.3.1. Испытание на ветровую нагрузку светильников, установленных на кронштейн мачты или венец столба
Светильник устанавливают так, чтобы максимальная площадь его проекции находилась в горизонтальной плоскости, и закрепляют в соответствии с рекомендациями изготовителя.
К светильнику в течение 10 мин прикладывают равномерно распределенную нагрузку, создаваемую мешками с песком, равную 1,5 кН на 1 м2 площади проекции светильника, предназначенного для подвеса на высоте до 8 м; 2,0 кН на 1 м2 - для подвеса на высоте от 8 до 15 мм 2,4 кН на 1 м2 - для подвеса на высоте 15 м и более. Затем светильник поворачивают на 180° в вертикальной плоскости относительно точки его крепления и повторяют испытание.
Во время испытания светильник не должен смещаться относительно точки крепления, а после испытания не должно быть остаточной деформации более 1°. Пример схемы испытания приведен на рисунке 1.
a) Типовой консольный светильник на мачте
b) Первоначальное положение светильника
Наибольшая площадь проекции светильника в данном примере - это вид сбоку.
Светильник поворачивают вокруг оси x-x на 180° в течение 10 мин.
c) Положение светильника после поворота его на 180° вокруг оси x-x
P - испытательная нагрузка
Рисунок 1. Пример испытания светильника на ветровую нагрузку
3.6.4. Если используют отдельный патрон для лампы, не обеспечивающий ее правильное положение, то должно быть предусмотрено соответствующее крепление лампы.
Регулируемые патроны или оптические элементы должны иметь соответствующие отметки.
Проверку проводят внешним осмотром.
3.6.5. Оболочки должны изготовляться или из стекла, рассыпающегося при повреждении на мелкие осколки, или снабжаться предохранительной мелкоячеистой сеткой, или покрываться пленкой, способной удерживать осколки.
Для плоских стеклянных оболочек проверку проводят внешним осмотром, а для оболочек, не содержащих сетку, - следующим испытанием.
Стеклянный рассеиватель или защитное стекло закрепляют над плоской поверхностью так, чтобы гарантировать, что после разрушения стекла осколки не будут рассеяны, а также смещены. Стекло (рассеиватель) разбивают прямым ударом, который наносят в точку, отстоящую на 30 мм от одной из длинных сторон стекла по направлению к центру. Через 5 мин подсчитывают осколки внутри квадрата со стороной 50 мм, размещенного приблизительно в центре области разрушения, исключая области, отстоящие на 30 мм от любого края, отверстия или места механической обработки стекла.
Стекло считают выдержавшим испытание, если число осколков в квадрате более 60.
Альтернативный метод подсчета осколков стекла заключается в следующем: на стекло накладывают квадрат из прозрачного материала со стороной 50 мм, метят чернилами каждый осколок внутри квадрата и подсчитывают их.
Для подсчета осколков на краях квадрата выбирают две любые смежные его стороны и подсчитывают все осколки, пересекаемые этими сторонами, исключая осколки, пересекаемые другими сторонами.
Испытание стеклянных оболочек, изготовленных прессованием плоского листа, - в стадии разработки.
3.7. Пути утечки и воздушные зазоры
Применяют положения раздела 11 IEC 60598-1.
3.8. Заземление
Применяют положения раздела 7 IEC 60598-1.
3.9. Контактные зажимы
Применяют положения разделов 14 и 15 IEC 60598-1.
Контактные зажимы должны обеспечивать возможность присоединения к сети проводов, номинальные площади поперечных сечений которых соответствуют указанным в таблице 14.1 IEC 60598-1. При этом не допускается применение проводов площадью поперечного сечения менее 1 мм2.
Проверку проводят присоединением проводов минимальной и максимальной нормируемой площади поперечных сечений.
3.10. Внешние провода и провода внутреннего монтажа
Применяют положения раздела 5 IEC 60598-1 совместно с требованиями 3.10.1 настоящего стандарта.
3.10.1. Светильник должен иметь устройство защиты присоединенных к контактным зажимам проводов сетевых кабелей от натяжения, если при его отсутствии масса кабелей может привести к натяжению проводов.
Проверку проводят испытанием по разделу 5 IEC 60598-1, но с силой 60 Н и вращающим моментом 0,25 Н · м.
Значения силы и вращающего момента зависят от массы сетевых кабелей.
Обычно указанные значения оказываются достаточными, но для светильников, предназначенных для подвеса на высоте более 20 м и с нагрузкой на устройство для защиты проводов от натяжения, превышающей 4 кг, прикладывают силу 100 Н и вращающий момент 0,35 Н · м.
3.11. Защита от поражения электрическим током
Применяют положения раздела 8 IEC 60598-1.
3.12. Испытание на старение и тепловые испытания
Применяют положения раздела 12 IEC 60598-1 совместно со следующими требованиями.
3.12.1. При проведении тепловых испытаний светильников в испытательной камере из полученных значений температур вычитают поправку на естественную циркуляцию воздуха в рабочей среде светильника при эксплуатации, равную 10 °C, и сравнивают их с предельными значениями температур, указанными в таблицах раздела 12 IEC 60598-1.
3.12.2. Светильники степени защиты свыше IP20 должны подвергаться соответствующим испытаниям по 12.4 - 12.6 IEC 60598-1 после испытаний по 9.2, но до испытаний по 9.3 IEC 60598-1, указанных в 3.13 настоящего стандарта.
3.13. Защита от попадания пыли и влаги
Применяют положения раздела 9 IEC 60598-1 совместно с требованием 3.13.1 настоящего стандарта.
3.13.1. Для светильников степени защиты свыше IP20 порядок испытаний, указанный в разделе 9 IEC 60598-1, должен быть таким, как указано в 3.12 настоящего стандарта.
3.14. Сопротивление и электрическая прочность изоляции
Применяют положения раздела 10 IEC 60598-1.
3.15. Теплостойкость, огнестойкость и устойчивость к токам
поверхностного разряда
Применяют положения раздела 13 IEC 60598-1.
Приложение ДА
(справочное)
СВЕДЕНИЯ О СООТВЕТСТВИИ МЕЖГОСУДАРСТВЕННЫХ СТАНДАРТОВ
ССЫЛОЧНЫМ МЕЖДУНАРОДНЫМ СТАНДАРТАМ
Обозначение и наименование ссылочного международного стандарта
Степень соответствия
Обозначение и наименование ссылочного межгосударственного стандарта
IEC 60598-1:2003 Светильники. Часть 1. Общие требования и методы испытаний
IDT
ГОСТ МЭК 60598-1-2002 Светильники. Часть 1. Общие требования и методы испытаний