Главная // Актуальные документы // ГОСТ (Государственный стандарт)СПРАВКА
Источник публикации
М.: Стандартинформ, 2017
Примечание к документу
Текст данного документа приведен с учетом
поправки, опубликованной в "ИУС", N 4, 2020.
Документ
введен в действие с 01.07.2018.
Название документа
"ГОСТ ISO 18650-1-2017. Межгосударственный стандарт. Машины и оборудование строительные. Бетоносмесители. Часть 1. Словарь и общие технические условия"
(введен в действие Приказом Росстандарта от 25.07.2017 N 742-ст)
"ГОСТ ISO 18650-1-2017. Межгосударственный стандарт. Машины и оборудование строительные. Бетоносмесители. Часть 1. Словарь и общие технические условия"
(введен в действие Приказом Росстандарта от 25.07.2017 N 742-ст)
агентства по техническому
регулированию и метрологии
от 25 июля 2017 г. N 742-ст
МЕЖГОСУДАРСТВЕННЫЙ СТАНДАРТ
МАШИНЫ И ОБОРУДОВАНИЕ СТРОИТЕЛЬНЫЕ
БЕТОНОСМЕСИТЕЛИ
ЧАСТЬ 1
СЛОВАРЬ И ОБЩИЕ ТЕХНИЧЕСКИЕ УСЛОВИЯ
Building construction machinery and equipment. Concrete
mixers. Part 1: Vocabulary and general specifications
(ISO 18650-1:2004, IDT)
ГОСТ ISO 18650-1-2017
Дата введения
1 июля 2018 года
Цели, основные принципы и основной порядок проведения работ по межгосударственной стандартизации установлены в
ГОСТ 1.0-2015 "Межгосударственная система стандартизации. Основные положения" и
ГОСТ 1.2-2015 "Межгосударственная система стандартизации. Стандарты межгосударственные, правила и рекомендации по межгосударственной стандартизации. Правила разработки, принятия, обновления и отмены".
1 ПОДГОТОВЛЕН Обществом с ограниченной ответственностью "ИЦ "ЦНИП СДМ" (ООО "ИЦ "ЦНИП СДМ") на основе собственного перевода на русский язык англоязычной версии международного стандарта, указанного в
пункте 5
2 ВНЕСЕН Межгосударственным техническим комитетом по стандартизации МТК 267 "Строительно-дорожные машины и оборудование"
3 ПРИНЯТ Межгосударственным советом по стандартизации, метрологии и сертификации (протокол от 1 июня 2017 г. N 51)
За принятие проголосовали:
Краткое наименование страны по МК (ИСО 3166) 004-97 | Код страны по МК (ИСО 3166) 004-97 | Сокращенное наименование национального органа по стандартизации |
Армения | AM | Минэкономики Республики Армения |
Беларусь | BY | Госстандарт Республики Беларусь |
Казахстан | KZ | Госстандарт Республики Казахстан |
Киргизия | KG | Кыргызстандарт |
Россия | RU | Росстандарт |
Узбекистан | UZ | Узстандарт |
4
Приказом Федерального агентства по техническому регулированию и метрологии от 25 июля 2017 г. N 742-ст межгосударственный стандарт ГОСТ ISO 18650-1-2017 введен в действие в качестве национального стандарта Российской Федерации с 1 июля 2018 г.
5 Настоящий стандарт идентичен международному стандарту ISO 18650-1:2004 "Машины и оборудование строительные. Бетоносмесители. Часть 1. Словарь и общие технические условия" ("Building construction machinery and equipment - Concrete mixers - Part 1: Vocabulary and general specifications", IDT).
При применении настоящего стандарта рекомендуется использовать вместо ссылочных международных стандартов соответствующие им межгосударственные стандарты, сведения о которых приведены в дополнительном
приложении ДА
6 Настоящий стандарт может быть использован при ежегодной актуализации перечня стандартов, содержащих правила и методы исследований (испытаний), а также стандартов, в результате применения которых на добровольной основе обеспечивается соблюдение требований технического
регламента Таможенного союза ТР ТС 010/2011 "О безопасности машин и оборудования"
7 ВВЕДЕН ВПЕРВЫЕ
Информация об изменениях к настоящему стандарту публикуется в ежегодном информационном указателе "Национальные стандарты" (по состоянию на 1 января текущего года), а текст изменений и поправок - в ежемесячном информационном указателе "Национальные стандарты". В случае пересмотра (замены) или отмены настоящего стандарта соответствующее уведомление будет опубликовано в ежемесячном информационном указателе "Национальные стандарты". Соответствующая информация, уведомление и тексты размещаются также в информационной системе общего пользования - на официальном сайте Федерального агентства по техническому регулированию и метрологии в сети Интернет (www.gost.ru).
Настоящий стандарт устанавливает термины и определения, описывающие принцип работы различных типов бетоносмесителей и общие технические условия для этих типов машин.
Настоящий стандарт распространяется на бетоносмесители в соответствии с ISO 11375, за исключением бетоносмесителей на автомобильных шасси.
В настоящем стандарте использована нормативная ссылка на следующий международный стандарт:
ISO 11375:1998 Building construction machinery and equipment - Terms and definitions (Машины и оборудование строительные. Термины и определения)
В настоящем стандарте используют термины с соответствующими определениями в соответствии с ISO 11375 и
[2].
3.1 бетоносмеситель с чашеобразным исполнением смесительного пространства (pan-tape concrete mixer): Бетоносмеситель принудительного действия с лопастями, вращающимися вокруг вертикальных осей неподвижной или вращающейся чаши.
3.2 время загрузки (charging time): t1 - время загрузки - продолжительность загрузки компонентов бетонной смеси при приготовлении одного замеса.
Примечание 1 - Относится к бетоносмесителям цикличного действия.
Примечание 2 - Время загрузки t1, измеряется в с.
3.3 время перемешивания (mixing time): t2 - время перемешивания - время от окончания загрузки компонентов бетонной смеси до окончания их перемешивания (бетоносмесители цикличного действия).
Примечание - Время загрузки t2, измеряется в с.
3.4 время перемешивания (mixing time): t2 - время перемешивания - время, в течение которого компоненты бетонной смеси находятся в смесительной камере (бетоносмесители непрерывного действия).
Примечание 1 - Время перемешивания для бетоносмесителя непрерывного действия определяется по формуле:
t2 = mc/qm,
где mc - масса компонентов бетонной смеси в смесительной камере, кг;
qm - коэффициент выхода бетонной смеси, кг/с.
Примечание 2 - Время перемешивания t2, измеряется в с.
3.5 время выгрузки (discharging time): t3 - время выгрузки - время от начала выгрузки до ее завершения.
Примечание 1 - Остаток бетонной смеси в смесительной камере не должен превышать 3%.
Примечание 2 - Время выгрузки t3, измеряется в с.
3.6 время возврата бетоносмесителя в исходное положение (reset time): t4 - время возврата бетоносмесителя в исходное положение - время от окончания выгрузки готовой бетонной смеси до начала загрузки компонентов для следующего замеса.
Примечание - Время возврата бетоносмесителя в исходное положение t4, измеряется в с.
3.7 полный цикл (cycle time): tc - полный цикл - время от начала загрузки компонентов для следующего замеса, включая время возврата бетоносмесителя в исходное положение.
Примечание 1 - Полный цикл определяется по формуле:
tc = t1 + t2 + t3 + t4.
Примечание 2 - Полный цикл tc, измеряется в с.
3.8 количество замесов (number of batches): n - количество замесов - количество замесов, произведенных за один час.
Примечание - Количество замесов за один час определяется по формуле:
n = 3600/tc,
где tc - полный цикл, с.
3.9 производительность по сухой смеси (dry-components capacity): Vc - производительность по сухой смеси - объем сухих компонентов (цемент + заполнитель) необходимых для производства одного замеса.
Примечание - Производительность по сухой смеси Vc, измеряется в дм3.
3.10 производительность по готовой бетонной смеси (ready-concrete capacity): Vu - производительность по готовой бетонной смеси - объем готовой бетонной смеси, произведенный в процессе одного замеса.
Примечание 1 - Расчетная производительность по готовой бетонной смеси для одного замеса может быть определен по формуле:

,
где Vu - производительность по готовой бетонной смеси, дм3;
Vc - производительность по сухой смеси, дм3;

- коэффициент выхода бетоносмесителя, равный отношению
Vu/
Vc, для обычного бетона (см.
примечание к п. 3.11) равен 0,7.
Примечание 2 - Производительность по готовой бетонной смеси, Vu, измеряется в дм3.
3.11 приведенная производительность (rated capacity): Приведенная производительность - параметр, равный отношению производительности по готовой бетонной смеси Vc к производительности по сухой смеси, Vu.
Примечание - Оценка приведенной производительности бетоносмесителя производится для обычного бетона, используемого в гражданском строительстве плотностью от 1,8 кг/м
3 до 2,5 кг/м
3, состоящего из цемента, воды, крупного и мелкого заполнителя, минеральных и химических добавок. В случае производства специальных бетонных смесей (например, с тяжелым заполнителем) необходимо согласовывать ее характеристики с производителем и заказчиком.
Пример - Если производительность бетоносмесителя по сухой смеси 500 дм3, а производительность по готовой бетонной смеси 350 дм3, то приведенная производительность будет составлять 500/350.
3.12 расчетная производительность (theoretical output capacity): Q - расчетная производительность - объем готовой бетонной смеси, произведенной в течение часа, измеряется в м3/ч.
Примечание 1 - Расчетная производительность бетоносмесителя цикличного действия определяется по формуле:
Q = n·Vu/1000,
где n - количество замесов, произведенных за один час, 1/ч;
Vu - производительность по готовой бетонной смеси, дм3.
Примечание 2 - Расчетная производительность на выходе для бетоносмесителя непрерывного действия определяется по формуле:

,
где qm - расход загружаемых компонентов бетонной смеси, кг/с;

- удельная плотность готовой бетонной смеси, кг/дм
3.
Примечание 3 - Расчетная производительность на выходе, Q измеряется в м3/ч.
4. Описание конструкций основных типов бетоносмесителей
4.1 Гравитационные бетоносмесители
Гравитационные бетоносмесители (см.
рисунки А.1 -
А.5) состоят из следующих основных частей: электродвигателя или двигателя внутреннего сгорания, смесительного барабана, редуктора привода смесительного барабана, опрокидывающего механизма и несущей рамы, которая может быть снабжена колесами для перемещения бетоносмесителя. Большие машины (объемом более 350 дм
3), могут иметь скиповый подъемник или загрузочный ковш, дозатор воды и сцепное устройство (см.
рисунки А.3,
А.4 и
А.5).
4.2 Бетоносмесители принудительного действия
Бетоносмесители принудительного действия (см.
рисунки А.6 -
А.14) состоят из следующих основных частей: корпуса в виде чаши или желоба, смесительных лопастей, электродвигателя и редуктора привода смесительных лопастей, разгрузочного лотка и его привода. Бетоносмесители (объемом более 350 дм
3) могут быть оснащены скиповым подъемником, крышкой чаши или желоба и водораспределительной установкой (см.
рисунки А.7,
А.8,
А.10 и
А.14). Для облегчения передвижения бетоносмесители могут быть оснащены колесами.
5. Основные технические условия
5.1. Основные характеристики бетоносмесителей
Указываются следующие технические характеристики в указанных ниже единицах измерения:
a) тип: опрокидывающийся барабанный бетоносмеситель, реверсивный барабанный бетоносмеситель, барабанный смеситель с разгрузкой через лоток, бетоносмеситель роторного типа, планетарный бетоносмеситель, планетарный бетоносмеситель с активатором и вращающимися лопастями, высокоскоростной бетоносмеситель с турбулентным принципом смешивания с движением лопастей в противотоке, либо попутно; |
b) приведенная производительность |
c) производительность в час для определенного количества циклов, n <1> | м3/ч |
--------------------------------
<1> Этот параметр обозначает техническую характеристику бетоносмесителя и, как правило, относится к производству обычного бетона (см.
примечание к п. 3.11). Некоторые бетонные смеси (например, с низким водоцементным отношением, которые используются при производстве сборного железобетона) могут потребовать более длительного времени перемешивания. В этом случае необходимо согласовывать вышеуказанный параметр с поставщиком и потребителем.
d) максимальный размер заполнителя: | |
- гравий | мм |
- щебень | мм |
e) установленная мощность | кВт |
f) масса базовой машины | кг |
g) масса незагруженной машины в рабочем состоянии | кг |
h) габаритные размеры в рабочем состоянии: | |
- длина | мм |
- ширина | мм |
- высота | мм |
5.1.2. Характеристики основных частей бетоносмесителя
5.1.2.1 Двигатели для привода механизмов перемешивания
Указывается тип привода (электрический или двигатель внутреннего сгорания), а также следующая информация:
a) электродвигатель: | |
- количество фаз | |
- напряжение | В |
- мощность | кВт |
- частота | Гц |
- обороты | об·мин-1 |
b) двигатель внутреннего сгорания: | |
- тип: | |
i) 4-тактный бензиновый; | |
ii) 2-тактный бензиновый; | |
iii) дизельный; | |
- мощность | кВт |
- обороты | об·мин-1 |
5.1.2.2 Скиповый подъемник или ковш для загрузки компонентов бетонной смеси. Факультативные характеристики
Указываются следующие характеристики:
a) объем скипового подъемника или ковша | дм3 |
b) скорость подъема и опускания | м/мин |
c) время подъема и опускания (для загрузочного ковша) | с |
d) масса скипового подъемника или ковша в сборе | кг |
5.1.2.3 Гидравлическая или пневматическая система механизма опрокидывания
Указываются следующие характеристики:
a) производительность гидравлического насоса или воздушного компрессора | л/мин |
b) максимальное давление (монометрическое) | МПа |
c) объем гидравлического бака или воздушного ресивера | дм3 |
5.1.2.4 Дозирования воды. Факультативные данные
Указываются следующие характеристики:
a) давление подачи воды | МПа |
b) производительность водяного насоса | л/мин |
c) внутренний диаметр трубопровода подачи воды | мм |
d) тип дозатора воды: | |
- по расходу с расходомером | |
- по объему | |
- по массе | |
e) рабочий объем устройства подачи воды | л |
5.2. Геометрические характеристики бетоносмесителей
Указываются следующие размеры и характеристики, необходимые для монтажа и эксплуатации бетоносмесителя
[1]:
a) габариты (длина, ширина и высота) бетоносмесителя в рабочем и транспортном положении ("транспортное положение" относится к смесителю, установленному на колесах);
b) максимальный угол наклона смесительного барабана в рабочем состоянии (относится к опрокидывающемуся барабану бетоносмесителя);
c) размеры и расположение загрузочного и разгрузочного отверстий, включая угол поворота,

, для разгрузочного лотка;
d) размеры скипового подъемника или ковша для загрузки компонентов бетонной смеси в сборе;
- ширина и длина направляющих скипового подъемника;
- габаритные размеры скипового подъемника или ковша для загрузки компонентов бетонной смеси;
e) расположение скипового подъемника или ковша для загрузки компонентов бетонной смеси относительно барабана или чаши бетоносмесителя;
f) размеры чаши и ее крышки (диаметр, высота);
g) расположение монтажных отверстий (в отношении стационарных бетоносмесителей).
5.3. Прочие характеристики для специальных типов бетоносмесителей
Примечание - Данные характеристики приводятся в дополнение к указанным в
п. 5.1.
5.3.1. Гравитационный бетоносмеситель с опрокидывающимся барабаном
Указываются следующие характеристики:
a) частота вращения барабана | об·мин-1 |
b) способ защиты от поражения электрическим током (изоляция второго класса, устройство защитного отключения (УЗО), трансформатор с разделенными обмотками и т.д.) |
c) максимально допустимая скорость транспортирования, | км/ч |
d) тип опрокидывающего механизма: | |
- ручной: | |
i) рычаг, фиксирующий положение барабана | |
ii) ручной маховик с непосредственной блокировкой барабана, дисковым тормозом или педалью управляющей положением блокировки барабана: |
- пневматический; | |
- гидравлический; | |
e) тип и размеры колес: | |
- металлические; | |
- с эластичным покрытием; | |
- цельнолитые резиновые шины; | |
- пневматические шины; | |
| |
f) опционально: | |
- сцепное устройство, брызговики, освещение номерного знака, подрессоренная ось для буксировки со скоростью до 80 км/ч; |
- крышка барабана для горизонтального перемешивания; |
- устройство для мытья крышки барабана. |
5.3.2. Бетоносмеситель с реверсивным барабаном
Указываются следующие характеристики:
a) частота вращения барабана | об·мин-1 |
b) максимально допустимая скорость транспортировки | км/ч |
| |
d) дополнительные устройства: | |
- скребок (очищающая лопатка); |
- оборудование для подачи воды (расходомер или объемный дозатор, обеспечивающий подачу воды в необходимом количестве); |
- система взвешивания скипового подъемника. |
5.3.3. Бетоносмесители с чашеобразным исполнением смесительного пространства
5.3.3.1 Основные сведения
Указываются следующие характеристики:
a) метод разгрузки бетоносмесителя:
- поворотный или открывающийся люк, приводимый в действие вручную, электромеханическим, гидравлическим или пневматическим приводом;
- разгрузочное отверстие, расположенное в центре дна чаши;
- опрокидывание смесителя;
b) метод подвески смесительных лопастей:
- жесткий;
- эластичный;
c) управление:
- кнопочное с пульта управления;
- дополнительно для узла скипового подъемника, опорной конструкции для монтажа бетоносмесителя, расходомера воды, включая фильтр и запорную арматуру, объемного дозатора воды, и весовых дозаторов цемента и заполнителей.
--------------------------------
<2> В связи с разнообразием модификаций бетоносмесителей чашеобразного типа приведены только два примера геометрических параметров, наиболее распространенных роторного и планетарного бетоносмесителей.
5.3.3.2 Бетоносмеситель роторного типа
Указываются следующие характеристики:
a) конструкция смесительных лопастей: | |
- частота вращения ротора | об·мин-1 |
- количество смесительных лопастей | шт. |
- количество очищающих лопастей | шт. |
| мм |
5.3.3.3 Планетарные бетоносмесители и турбопланетарные бетоносмесители (с несколькими планетарными активаторами)
Указываются следующие характеристики:
a) конструкция смесительных лопастей: | |
- частота вращения планетарного активатора | об·мин-1 |
- частота вращения групп лопастей | об·мин-1 |
- количество групп лопастей | шт. |
- количество лопастей в каждой группе | шт. |
- количество очищающих лопастей для поверхности чаши | шт. |
- количество рабочих лопастей в планетарном активаторе | шт. |
|
5.3.3.4 Противоточные и прямоточные бетоносмесители
Указываются следующие характеристики:
a) конструкция смесительных лопастей: | |
- частота вращения чаши | об·мин-1 |
- частота вращения смесительных лопастей | об·мин-1 |
- количество смесительных лопастей | шт. |
- количество очищающих лопастей для поверхности чаши | шт. |
b) геометрические технические характеристики, см. п. 5.2 |
5.3.3.5 Высокоскоростной бетоносмеситель
Указываются следующие характеристики:
a) устройство смесительных лопастей: | |
- количество лопастей; | |
- частота вращения лопастей | об·мин-1 |
b) геометрические технические характеристики, см. п. 5.2 | |
5.3.4. Лопастной бетоносмеситель
Указываются следующие характеристики:
a) тип смесителя: | |
- одновальный; | |
- двухвальный; | |
- частота вращения вала | об·мин-1 |
b) метод разгрузки: | |
- открытие части дна чаши; | |
- опрокидывание; | |
- размеры разгрузочного отверстия; | |
|
d) опции для загрузочного скипового подъемника и блока подачи воды, состоящего из дозатора и запорного клапана. |
5.3.5. Бетоносмесители непрерывного действия
Указываются следующие характеристики:
a) тип смесителя: | |
- гравитационного действия | |
- принудительного действия (одновальный или двухвальный) | |
b) производительность | м3/ч |
c) максимальный размер заполнителя: | |
- гравий | мм |
- щебень | мм |
d) установленная мощность | кВт |
e) характеристики электромотора или двигателя внутреннего сгорания (в соответствии с п. 5.1.2.1) |
f) масса | кг |
|
(справочное)
ПРИМЕРЫ КОНСТРУКЦИЙ БЕТОНОСМЕСИТЕЛЕЙ
И ИХ ГЕОМЕТРИЧЕСКИЕ ХАРАКТЕРИСТИКИ
1 - смесительный барабан; 2 - опрокидывающий механизм
с зубчатым колесом внутреннего зацепления и блокировкой
барабана; 3 - рама на колесах; 4 - электромотор с ременной
передачей и электрооборудованием; 5 - коническая зубчатая
пара; 6 - сцепное устройство; D - диаметр смесительного
барабана; D1 - диаметр загрузочного отверстия;
H - габаритная высота;
H1 - высота разгрузки;

- угол
наклона смесительного барабана в рабочем состоянии,
в градусах; L - габаритная длина; L1 - габаритная длина
в транспортном положении; W - габаритная ширина;
a - положение при загрузке и перемешивании;
b - положение при разгрузке
Рисунок А.1 - Малогабаритный бетоносмеситель
с опрокидывающимся барабаном на колесном ходу
1 - смесительный барабан; 2 - опрокидывающий механизм;
3 - опрокидывающаяся рама (траверса); 4 - привод;
5 - опорная рама; D1 - диаметр загрузочного отверстия;

- угол наклона смесительного барабана в рабочем
положении;

- угол разгрузки;
L - габаритная длина;
W - габаритная ширина; H - габаритная высота
Рисунок А.2 - Бетоносмеситель стационарный
с опрокидывающимся барабаном
1 - загрузочный ковш; 2 - шасси; 3 - передняя и задняя
опоры; 4 - электроустановка; 5 - ось; 6 - боковая опора;
7 - смесительный барабан; 8 - сцепное устройство;
9 - дозатор воды; 10 - опрокидывающий механизм;
11 - гидравлический привод; 12 - рычаги управления;
13 - кожух; 14 - опора смесительного барабана;
H0 - габаритная высота в рабочем положении;
L0 - габаритная длина в транспортном положении;
L1 - габаритная длина при транспортировке;
W0 - габаритная ширина в рабочем положении
Рисунок А.3 - Бетоносмеситель с опрокидывающимся барабаном,
гидравлическим приводом барабана и загрузочного ковша
1 - рама; 2 - смесительный барабан; 3 - кожух зубчатой
передачи; 4 - загрузочный ковш; 5 - гидравлический привод;
6 - дозатор воды; 7 - панель электроуправления; 8 - ось;
9 - сцепное устройство с опорным приспособлением;
Hm - максимальная высота; H1 - высота разгрузки; H2 - высота
в транспортном положении; L0 - габаритная длина в рабочем
положении; L1 - габаритная длина в транспортном положении
Рисунок А.4 - Реверсивный барабанный бетоносмеситель
с гидравлическим приводом барабана и загрузочного ковша
L0 - длина в рабочем положении; L2 - длина загрузочного
отверстия скипового подъемника; L3 - длина направляющих
скипового подъемника; L4 - габаритная длина бетоносмесителя
без скипового подъемника; L5 - длина приямка для загрузки
скипового подъемника; W1 - ширина направляющих скипового
подъемника; W2 - ширина загрузочного отверстия скипового
подъемника; H1 - высота разгрузки; H2 - габаритная высота
бетоносмесителя; H3 - глубина приямка для загрузки скипового
подъемника; h - расстояние от транспортной оси до уровня
земли в рабочем положении;

- угол наклона направляющих;
L - габаритная длина со скиповым подъемником; W - габаритная
ширина бетоносмесителя; H - габаритная высота
Рисунок А.5 - Реверсивный барабанный бетоносмеситель
с механическим приводом и скиповым подъемником
1 - чаша; 2 - футеровка; 3 - привод; 4 - смесительные
лопасти; 5 - разгрузочный люк; 6 - крышка чаши;
L - габаритная длина; W - габаритная ширина;
H - габаритная высота
Рисунок А.6 - Бетоносмеситель роторного типа
1 - чаша; 2 - футеровка; 3 - привод; 4 - смесительные
лопасти; 5 - разгрузочный люк; 6 - устройство
гидравлического привода разгрузочного люка; 7 - крышка чаши;
8 - кожух разгрузочного люка; 9 - концевые выключатели
разгрузочного люка; 10 - предохранительные выключатели
открытия крышки чаши; 11 - водяные форсунки; 12 - впускной
патрубок для заливки масла; 13 - направляющие;
14 - подъемная лебедка; 15 - загрузочный скиповый подъемник
Рисунок А.7 - Конструкция бетоносмесителя
роторного типа с загрузочным скиповым подъемником
H - габаритная высота; H4 - высота устройства разгрузки;
H5 - высота чаши; H6 - высота крышки; H7 - глубина приямка
для загрузки скипового подъемника; H8 - расстояние
между точкой крепления направляющих к бетоносмесителю
и основанием; H9 - высота корпуса привода смесительного
блока; H10 - расстояние между чашей и основанием;
D2 - диаметр чаши; R - радиус поворота шибера разгрузочного
люка; L - габаритная длина; L2 - длина загрузочного
отверстия скипового подъемника; L6 - расстояние между осью
симметрии смесителя и осью скипового подъемника
при разгрузке; L7 - расстояние между осью симметрии
смесителя и точкой крепления направляющих скипового
подъемника; L8 - расстояние между направляющими и нулевой
точкой входа в приямок скипового подъемника; L9 - расстояние
между нулевой точкой входа в приямок скипового подъемника
и его задней стенкой; L10 - длина нижней части приямка
скипового подъемника; L11 - длина корпуса привода
бетоносмесителя; L12 - расстояние между осью шибера
разгрузочного люка и осью симметрии бетоносмесителя;
L13 - длина нижней части направляющих до точки крепления
к бетоносмесителю; W1 - ширина направляющих скипового
подъемника; W2 - ширина скипового подъемника; W3 - ширина
корпуса привода бетоносмесителя;

- угол наклона
направляющих скипового подъемника
Рисунок А.8 - Размеры бетоносмесителя роторного типа
1 - чаша; 2 - очистительная лопасть; 3 - гидравлический
привод шибера; 4 - смесительные лопасти с планетарным
движением; 5 - привод смесительных лопастей;
6 - электрическая система управления;
7 - крышка чаши; 8 - водяные форсунки
Рисунок А.9 - Конструкция планетарного бетоносмесителя
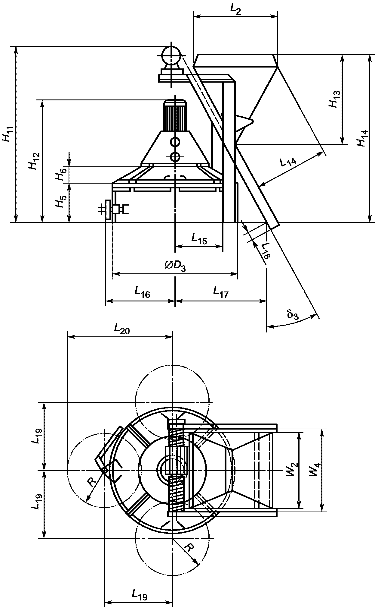
H5 - высота чаши; H6 - высота крышки чаши; H11 - высота
от основания чаши до лебедки скипового подъемника;
H12 - высота смесителя; H13 - высота скипового подъемника;
H14 - расстояние между основанием смесителя и верхним краем
скипового подъемника; D3 - наружный диаметр чаши; L2 - длина
скипового подъемника; L14 - расстояние от наружного края
скипового подъемника до направляющих; L15 - расстояние
от опорной конструкции направляющих до оси симметрии
смесителя; L16 - расстояние от привода шибера до оси
смесителя; L17 - расстояние от направляющих скипового
подъемника до оси симметрии миксера в плоскости основания
смесителя; L18 - заглубление направляющих по отношению
к основанию смесителя; L19 - расстояние между осью симметрии
смесителя и осью шибера; L20 - максимальное расстояние
между шибером в открытом положении и осью симметрии
смесителя; R - радиус поворота шибера; W2 - ширина
скипового подъемника; W4 - внутренняя ширина направляющих;

- угол наклона направляющих скипового подъемника
Рисунок А.10 - Размеры планетарного бетоносмесителя
с загрузкой скиповым подъемником и тремя возможными
положениями шибера для разгрузки бетонной смеси
1 - загрузочное отверстие; 2 - разгрузочный лоток;
3 - смесительная камера с двумя спиралями и лопастями;
4 - электромотор и цепная передача привода бетоносмесителя;
L - габаритная длина; W - габаритная ширина; H - габаритная
высота; H15 - высота смесительного вала от основания
бетоносмесителя; L21 - длина барабана; W5 - ширина барабана
Рисунок А.11 - Одновальный лопастной бетоносмеситель
1 - смесительная камера; 2 - футеровка; 3 - привод; 4 - вал
с консолями; 5 - смесительные лопасти; 6 - разгрузочный
лоток; L - габаритная длина; W - габаритная ширина;
H - габаритная высота
Рисунок А.12 - Двухвальный лопастной бетоносмеситель
L - габаритная длина; L21 - длина смесительной камеры;
L22, W6 - расстояние между монтажными отверстиями;
L23 - требуемое расстояние для разгрузки; W - габаритная
ширина; W7 - ширина верхнего края смесительной камеры;
H - габаритная высота смесителя; H16 - высота смесителя
в положении разгрузки; D4 - диаметр монтажных отверстий
Рисунок А.13 - Лопастной бетоносмеситель (размеры)
H17 - высота технологического углубления для загрузки
скипового подъемника; H18 - высота нижней опоры
направляющих; H19 - высота смесительной камеры
бетоносмесителя и опорной рамы; H20 - высота от опоры рамы
до верхней части скипового подъемника; H21 - высота опоры
направляющих; L13 - длина нижней части направляющих;
L24 - длина промежуточной секции направляющих, зависящая
от высоты опорной конструкции бетоносмесителя;
L25 - расстояние от края рамы до ее оси; L26 - длина рамы
крепления бетоносмесителя; L27 - расстояние
между направляющими и верхним краем скипового подъемника;
L28 - длина разгрузочного отверстия в опорной раме;
L29 - длина упора для направляющих;

- угол наклона направляющих
Рисунок А.14 - Лопастной бетоносмеситель со скиповым
подъемником, расположенным на опорной конструкции
L - габаритная длина; W - габаритная ширина; H - габаритная
высота; H22 - высота от основания рамы до верхнего края
смесительной камеры; L30 - длина основания рамы; L31 - длина
рабочей части смесительной камеры; W8 - ширина смесительной
камеры; a - загрузка компонентов бетонной смеси;
b - разгрузка бетонной смеси
Рисунок А.15 - Бетоносмеситель непрерывного действия
1 - смесительная камера; 2 - футеровка; 3 - привод; 4 - вал
с консолями; 5 - смесительные лопасти; 6 - разгрузочная
воронка; 7 - разгрузочный лоток; L - габаритная длина;
W - габаритная высота; H - габаритная длина
Рисунок А.16 - Двухвальный бетоносмеситель
непрерывного действия
(справочное)
СВЕДЕНИЯ О СООТВЕТСТВИИ ССЫЛОЧНЫХ МЕЖДУНАРОДНЫХ
СТАНДАРТОВ МЕЖГОСУДАРСТВЕННЫМ СТАНДАРТАМ
Таблица ДА.1
Обозначение ссылочного международного стандарта | Степень соответствия | Обозначение и наименование соответствующего межгосударственного стандарта |
ISO 11375:1998 | - | |
<*> Соответствующий межгосударственный стандарт отсутствует. |
| EN 12151 | Machinery and plants for the preparation of concrete and mortar - Safety requirements (Машины и заводы по производству бетона и раствора. Требования безопасности) |
| DIN 459-1 | Building material machines - Mixers for concrete and mortar - Part 1: Terms, determination of performance, sizes (Бетономешалки. Термины, определение мощности, размеры) |