Главная // Актуальные документы // ГОСТ (Государственный стандарт)
СПРАВКА
Источник публикации
М.: Стандартинформ, 2017
Примечание к документу
Документ введен в действие с 1 июля 2018 года.
Название документа
"ГОСТ ISO 15689-2017. Межгосударственный стандарт. Оборудование для сооружения и содержания дорог. Разбрасыватели для порошкообразных связующих. Терминология и коммерческие технические условия"
(введен в действие Приказом Росстандарта от 26.04.2017 N 323-ст)

"ГОСТ ISO 15689-2017. Межгосударственный стандарт. Оборудование для сооружения и содержания дорог. Разбрасыватели для порошкообразных связующих. Терминология и коммерческие технические условия"
(введен в действие Приказом Росстандарта от 26.04.2017 N 323-ст)


Содержание


Введен в действие
Приказом Федерального
агентства по техническому
регулированию и метрологии
от 26 апреля 2017 г. N 323-ст
МЕЖГОСУДАРСТВЕННЫЙ СТАНДАРТ
ОБОРУДОВАНИЕ ДЛЯ СООРУЖЕНИЯ И СОДЕРЖАНИЯ ДОРОГ
РАЗБРАСЫВАТЕЛИ ДЛЯ ПОРОШКООБРАЗНЫХ СВЯЗУЮЩИХ
ТЕРМИНОЛОГИЯ И КОММЕРЧЕСКИЕ ТЕХНИЧЕСКИЕ УСЛОВИЯ
Road construction and maintenance equipment. Powder binder
spreaders. Terminology and commercial specifications
(ISO 15689:2003, IDT)
ГОСТ ISO 15689-2017
МКС 01.040.91
91.220
Дата введения
1 июля 2018 года
Предисловие
Цели, основные принципы и основной порядок проведения работ по межгосударственной стандартизации установлены в ГОСТ 1.0-2015 "Межгосударственная система стандартизации. Основные положения" и ГОСТ 1.2-2015 "Межгосударственная система стандартизации. Стандарты межгосударственные, правила и рекомендации по межгосударственной стандартизации. Правила разработки, принятия, обновления и отмены"
Сведения о стандарте
1 ПОДГОТОВЛЕН Обществом с ограниченной ответственностью "ИЦ "ЦНИП СДМ" (ООО "ИЦ "ЦНИП СДМ") на основе собственного перевода на русский язык международного стандарта, указанного в пункте 5
2 ВНЕСЕН Межгосударственным техническим комитетом по стандартизации МТК 267 "Строительно-дорожные машины и оборудование"
3 ПРИНЯТ Межгосударственным советом по стандартизации, метрологии и сертификации (протокол от 28 февраля 2017 г. N 96-П)
За принятие проголосовали:
Краткое наименование страны по МК (ИСО 3166) 004-97
Код страны по МК (ИСО 3166) 004-97
Сокращенное наименование национального органа по стандартизации
Армения
AM
Минэкономики Республики Армения
Беларусь
BY
Госстандарт Республики Беларусь
Казахстан
KZ
Госстандарт Республики Казахстан
Киргизия
KG
Кыргызстандарт
Россия
RU
Росстандарт
4 Приказом Федерального агентства по техническому регулированию и метрологии от 26 апреля 2017 г. N 323-ст межгосударственный стандарт ГОСТ ISO 15689-2017 введен в действие в качестве национального стандарта Российской Федерации с 1 июля 2018 г.
5 Настоящий стандарт идентичен международному стандарту ISO 15689:2003 "Оборудование для сооружения и содержания дорог. Разбрасыватели для порошкообразных связующих. Терминология и коммерческие технические условия" ("Road construction and maintenance equipment - Powder binder spreaders - Terminology and commercial specifications", IDT).
При применении настоящего стандарта рекомендуется использовать вместо ссылочных международных стандартов соответствующие им межгосударственные стандарты, сведения о которых приведены в дополнительном приложении ДА
6 Настоящий стандарт может быть использован при ежегодной актуализации перечня стандартов, содержащих правила и методы исследований (испытаний), а также стандартов, в результате применения которых на добровольной основе обеспечивается соблюдение требований технического регламента Таможенного союза ТР ТС 010/2011 "О безопасности машин и оборудования".
7 ВВЕДЕН ВПЕРВЫЕ
Информация об изменениях к настоящему стандарту публикуется в ежегодном информационном указателе "Национальные стандарты" (по состоянию на 1 января текущего года), а текст изменений и поправок - в ежемесячном информационном указателе "Национальные стандарты". В случае пересмотра (замены) или отмены настоящего стандарта соответствующее уведомление будет опубликовано в ежемесячном информационном указателе "Национальные стандарты". Соответствующая информация, уведомление и тексты размещаются также в информационной системе общего пользования - на официальном сайте Федерального агентства по техническому регулированию и метрологии в сети Интернет (www.gost.ru).
1. Область применения
Настоящий стандарт устанавливает основные термины и определения, а также технические условия для разбрасывателей порошкообразных связующих, используемых при строительстве и обслуживании дорог.
2. Нормативные ссылки
В настоящем стандарте использована нормативная ссылка на следующий международный стандарт:
ISO 3911:1998 Wheels and rims for pneumatic tyres. Vocabulary, designation and marking (Колеса и ободья для пневматических шин. Словарь, обозначения и маркировка).
3. Термины и определения
В настоящем стандарте применены следующие термины и определения:
3.1. разбрасыватели для порошкообразных связующих (powder binder spreader): Передвижное оборудование, предназначенное для стабилизации, обеспечения фиксации или предотвращения деформации материалов дорожного покрытия, а также грунта перед укладкой дорожного покрытия или основания под него.
Примечание - Конструкция разбрасывателя должна обеспечивать заданный расход материала, контролируемый скоростью передвижения и дозирующими устройствами.
3.2. разбрасыватель с дозированием материала по объему (spreader with proportioning by volume): Разбрасыватель, оснащенный питателем для разбрасываемого материала, основанном на принципе объемного дозирования, например вращающийся лопастной разбрасыватель или конвейер.
Примечание 1 - Разбрасыватель может быть оснащен аппаратурой, регистрирующей расход материала, время работы и площадь покрытия.
Примечание 2 - См. рисунки А.3 и А.4.
3.3. разбрасыватель с дозированием материала по массе (spreader with proportioning by mass): Разбрасыватель, оснащенный системой дозирования, контролирующей расход разбрасываемого материала по массе.
4. Классификация разбрасывателей
для порошкообразных связующих
4.1. Основные типы разбрасывателей
Разбрасыватели для порошкообразных связующих классифицируются по следующим критериям:
- способ транспортирования при работе;
- способ доставки материала из расходного бункера через рабочий орган на рабочую поверхность;
- способ дозирования.
4.2. По способу транспортирования при работе
По способу транспортирования при работе разбрасыватели классифицируются следующим образом:
a) установленный на транспортном средстве: транспортный разбрасыватель (рисунки А.1 и А.2);
b) движущийся самостоятельно: самоходный разбрасыватель (рисунки А.5, А.6 и А.7);
c) буксируемый трактором: прицепной разбрасыватель (рисунок А.3).
4.3. По способу доставки материала из расходного бункера через рабочий орган на рабочую поверхность
По способу доставки материала на рабочую поверхность разбрасыватели подразделяются следующим образом:
a) по гравитационному принципу;
- с аэрацией разбрасываемого материала (рисунки А.1 и А.5);
- без аэрации разбрасываемого материала;
b) по принципу механической подачи материала:
- с помощью конвейера с металлической или резиновой лентой (рисунок А.3);
- с помощью шнекового питателя (рисунок А.2) или разбрасывающего устройства (рисунок А.7);
c) с помощью пневмотранспорта;
d) комбинированными способами:
- с разделением или без разделения потока материала перед подачей в дозатор;
- с аэрацией или без аэрации материала в бункере перед подачей в дозатор.
4.4. По типу дозатора
Для разбрасывателей порошкообразных связующих используются следующие типы дозаторов:
a) вращающийся лопастной разбрасыватель (рисунки А.1 и А.4);
b) конвейер (рисунок А.3);
c) дозатор по массе, с распределением или без распределения потока материала после дозирования;
d) другие типы дозаторов.
5. Спецификация
5.1. Основные сборочные единицы разбрасывателей для порошкообразных связующих
(См. рисунки А.1, А.2, А.3, А.4, А.6 и А.7)
Установка разбрасывателя для порошкообразных связующих состоит из следующих сборочных единиц:
- двигатель и трансмиссия;
- шасси;
- неприводная ось;
- приводная ось;
- расходный бункер для материала;
- приемный бункер с аэрацией;
- раздаточный конвейер;
- регулирующая заслонка;
- шнековый питатель;
- разбрасывающее устройство;
- компрессор и транспортирующие трубопроводы;
- вращающийся лопастной разбрасыватель;
- защитная юбка;
- пульт управления.
5.2. Основное измерительное оборудование и органы управления
В состав основного оборудования входят:
- пульт управления расходом материала, расположенный в кабине оператора;
- индикатор "бункер заполнен";
- индикатор "бункер пуст";
- индикатор уровня материала в бункере;
- расходомер разбрасываемого материала:
- по массе;
- по объему;
- измеритель поверхности, покрываемой разбрасывателем;
- устройство, рассчитывающее средний расход материала (с учетом данных расходомера разбрасываемого материала и измерителя поверхности, покрываемой разбрасывателем);
- автоматическое устройство дозирования подачи материала (с учетом данных устройства, рассчитывающего средний расход материала);
- система регистрации параметров работы разбрасывателя;
- система индикации параметров работы разбрасывателя с возможностью вывода на печать итоговых данных или без таковой;
- аварийная сигнализация.
5.3. Дополнительное оборудование разбрасывателей для порошкообразных связующих
Разбрасыватели также могут комплектоваться:
- пылезащитным устройством для пневматической загрузки:
- для предотвращения пылевыделения при загрузке;
- для предотвращения пылевыделения при аэрации материала в расходном бункере;
- системой орошения водой для пылеподавления (с емкостью для воды);
- устройством для разбрасывания материала по специфической ширине;
- сигнальными маячками.
5.4. Основные технические характеристики разбрасывателей для порошкообразных связующих
5.4.1. Геометрические характеристики
В спецификации должны быть указаны следующие характеристики (см. рисунок А.5):
- Габаритные размеры в рабочем положении:
- длина, l1, мм;
- ширина, b1, мм;
- высота, h1, мм;
- колесная база, l2, мм;
- задний свес, l3, мм;
- ширина разбрасывателя, b2, мм;
- расстояние от уровня грунта до питателя, h2, мм;
- дорожный просвет, h3, мм;
- габаритная высота в транспортном положении, h4, м;
- диаметр передних колес, d1, мм;
- диаметр задних колес, d2, мм;
- внешний радиус поворота по колее, r1, мм;
- внешний радиус поворота по габариту, r2, мм;
- внутренний радиус поворота по колее, r3, мм;
- внутренний радиус поворота по габариту, r4, мм.
- Размеры в транспортном положении:
- длина, мм;
- ширина, мм;
- высота, мм.
5.4.2. Массовые характеристики
Указываются следующие характеристики:
- масса в снаряженном состоянии.
Включает в себя:
- массу основной машины со стандартным инструментом и навесным оборудованием, кг;
- вес водителя 75 кг;
- массу топливного бака, заполненного на 50%;
- массу разбрызгивающего или распыляющего оборудования, заполненного на 50%;
- массу бака для гидравлической жидкости, заполненного полностью;
- масса в транспортном положении:
- масса загруженной машины в рабочем состоянии, кг.
5.4.3. Нагрузки
Указываются следующие характеристики:
- Нагрузка на переднюю ось:
- в незагруженном состоянии, Н;
- в загруженном состоянии, Н.
- Нагрузка на заднюю ось (оси):
- в незагруженном состоянии, Н;
- в загруженном состоянии, Н.
- Нагрузка на сцепное устройство:
- в незагруженном состоянии, Н;
- в загруженном состоянии, Н.
5.4.4. Давление на грунт (для разбрасывателей на гусеничном ходу)
Указываются следующие характеристики:
- Давление на грунт:
- в незагруженном состоянии, кПа;
- в загруженном состоянии, кПа.
5.4.5. Характеристики двигателя
Указываются следующие характеристики:
- производитель и модель;
- мощность (в соответствии со стандартом), кВт;
- тип системы охлаждения;
- рекомендованная мощность для прицепного разбрасывателя, кВт.
5.4.6. Характеристики трансмиссии
Указываются следующие характеристики:
- Количество осей.
- Количество приводных осей.
- Тип трансмиссии:
- гидростатическая;
- механическая;
- другой тип трансмиссии.
- Диапазон рабочих скоростей, км/ч.
- Максимальная транспортная скорость, км/ч.
5.4.7. Характеристики рулевого управления
Указываются следующие характеристики:
- Тип рулевого управления:
- управляемая ось;
- шарнирно-сочлененная рама;
- стопорение гусеницы;
- независимые гусеницы.
5.4.8. Характеристики шин и гусеничных траков
Указываются следующие характеристики:
- Шины передней оси (маркировка, давление по ИСО 3911), МПа.
- Шины задней оси (маркировка, давление по ИСО 3911), МПа.
- Шаг траков гусеницы, мм.
5.4.9. Технические характеристики оборудования для разбрасывания порошкообразных связующих
Указываются следующие характеристики:
- Объем бункера для разбрасываемого материала, м3.
- Ширина разбрасывания b2 (рисунок А.5), мм.
- Выход материала:
- максимальный, дм32 или кг/м2;
- минимальный, дм32 или кг/м2;
- для разбрасывателей с дозированием по объему, дм32;
- для разбрасывателей с дозированием по массе, кг/м2;
- расход материала по объему за один оборот вращающегося лопастного разбрасывателя, дм3;
- количество секций вращающегося лопастного разбрасывателя;
- высота падения разбрасываемого материала на рабочую поверхность, h2 (рисунок А.5), мм.
- Максимальный продольный уклон, преодолеваемый без потери устойчивости и точности дозирования разбрасываемого материала:
- при движении вверх, %;
- при движении вниз, %.
- Максимальный поперечный уклон, преодолеваемый без потери устойчивости и точности дозирования материала по всей ширине разбрасывания, %.
- Высота центра масс загруженной машины в процессе разбрасывания/движения, мм.
Приложение А
(информативное)
ПРИМЕРЫ КОНСТРУКЦИЙ И ГЕОМЕТРИЧЕСКИЕ ХАРАКТЕРИСТИКИ
РАЗБРАСЫВАТЕЛЕЙ ДЛЯ ПОРОШКООБРАЗНЫХ СВЯЗУЮЩИХ
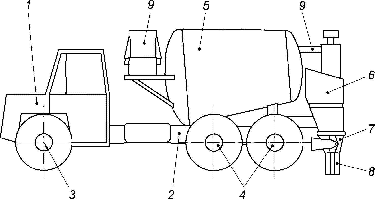
1 - двигатель и трансмиссия; 2 - шасси; 3 - неприводная ось
(также может быть приводной); 4 - приводная ось; 5 - бункер
для разбрасываемого материала; 6 - подготовительный бункер;
7 - лопастной роторный питатель; 8 - защитная юбка;
9 - компрессор и система пневмотранспорта
Рисунок А.1 - Транспортный разбрасыватель
для порошкообразных связующих с пневмотранспортировкой
материала и вращающимся лопастным разбрасывателем
1 - двигатель и трансмиссия; 2 - приводные оси;
3 - бункер для разбрасываемого материала; 4 - шнековый
питатель; 5 - разбрасывающее устройство; 6 - защитная юбка
Рисунок А.2 - Транспортный разбрасыватель
для порошкообразных связующих со шнековым питателем
и вращающимся лопастным разбрасывателем
1 - шасси; 2 - бункер для разбрасываемого материала;
3 - конвейер подачи материала; 4 - ограничительная
заслонка; 5 - защитная юбка
Рисунок А.3 - Прицепной разбрасыватель для порошкообразных
связующих с подачей материала ленточным питателем
и контролем расхода материала с помощью передвижения
ограничительной заслонки или регулировки скорости
движения конвейера
1 - емкость для разбрасываемого материала (может быть
установлен подготовительный бункер); 2 - вращающийся
лопастной разбрасыватель; 3 - направляющая часть
разбрасывателя (статор); 4 - ротор
Рисунок А.4 - Схема вращающегося лопастного разбрасывателя
Габаритные размеры в рабочем состоянии:
l1 - длина
b1 - ширина
h1 - высота
l2 - колесная база
l3 - задний свес
b2 - ширина разбрасывания
h2 - расстояние от рабочей поверхности до механизма разбрасывателя (питателя)
h3 - дорожный просвет
h4 - высота в транспортном положении
d1 - диаметр переднего колеса
d2 - диаметр заднего колеса
r1 - внешний радиус поворота по колее
r2 - внешний радиус поворота по габариту
r3 - внутренний радиус поворота по колее
r4 - внутренний радиус поворота по габариту
Рисунок А.5 - Самоходный разбрасыватель для порошкообразных
связующих с подачей материала по гравитационному принципу
с аэрацией материала и вращающимся лопастным разбрасывателем
1 - двигатель и трансмиссия; 2 - шасси; 3 - приводная ось;
4 - бункер для распыляемого материала; 5 - конвейер
подачи материала; 6 - защитная юбка
Рисунок А.6 - Самоходный разбрасыватель для порошкообразных
связующих на гусеничном ходу
1 - двигатель и трансмиссия; 2 - приводная ось;
3 - бункер для разбрасываемого материала;
4 - разбрасывающее устройство; 5 - кабина оператора
Рисунок А.7 - Самоходный разбрасыватель для порошкообразных
связующих с подачей материала по гравитационному принципу
Приложение ДА
(справочное)
СВЕДЕНИЯ О СООТВЕТСТВИИ ССЫЛОЧНЫХ МЕЖДУНАРОДНЫХ
СТАНДАРТОВ МЕЖГОСУДАРСТВЕННЫМ СТАНДАРТАМ
Таблица ДА.1
Обозначение ссылочного международного стандарта
Степень соответствия
Обозначение и наименование соответствующего межгосударственного стандарта
ISO 3911:1998
-
<*>
<*> Соответствующий межгосударственный стандарт отсутствует.