Главная // Актуальные документы // ГОСТ (Государственный стандарт)СПРАВКА
Источник публикации
М.: Стандартинформ, 2019
Примечание к документу
Документ
введен в действие с 01.07.2020.
Название документа
"ГОСТ IEC 62841-3-14-2019. Межгосударственный стандарт. Машины ручные, переносные и садово-огородные электрические. Безопасность и методы испытаний. Часть 3-14. Частные требования к переносным машинам для прочистки труб"
(введен в действие Приказом Росстандарта от 30.10.2019 N 1118-ст)
"ГОСТ IEC 62841-3-14-2019. Межгосударственный стандарт. Машины ручные, переносные и садово-огородные электрические. Безопасность и методы испытаний. Часть 3-14. Частные требования к переносным машинам для прочистки труб"
(введен в действие Приказом Росстандарта от 30.10.2019 N 1118-ст)
агентства по техническому
регулированию и метрологии
от 30 октября 2019 г. N 1118-ст
МЕЖГОСУДАРСТВЕННЫЙ СТАНДАРТ
МАШИНЫ РУЧНЫЕ, ПЕРЕНОСНЫЕ И САДОВО-ОГОРОДНЫЕ ЭЛЕКТРИЧЕСКИЕ
БЕЗОПАСНОСТЬ И МЕТОДЫ ИСПЫТАНИЙ
ЧАСТЬ 3-14
ЧАСТНЫЕ ТРЕБОВАНИЯ К ПЕРЕНОСНЫМ МАШИНАМ ДЛЯ ПРОЧИСТКИ ТРУБ
Electric motor-operated hand-held tools, transportable tools
and lawn and garden machinery. Safety and test methods.
Part 3-14. Particular requirements for transportable
drain cleaners
(IEC 62841-3-14:2017,
Electric motor-operated hand-held tools, transportable tools
and lawn and garden machinery - Safety - Part 3-14:
Particular requirements for transportable drain
cleaners, IDT)
ГОСТ IEC 62841-3-14-2019
Дата введения
1 июля 2020 года
Цели, основные принципы и общие правила проведения работ по межгосударственной стандартизации установлены
ГОСТ 1.0 "Межгосударственная система стандартизации. Основные положения" и
ГОСТ 1.2 "Межгосударственная система стандартизации. Стандарты межгосударственные, правила и рекомендации по межгосударственной стандартизации. Правила разработки, принятия, обновления и отмены"
1 ПОДГОТОВЛЕН Акционерным обществом "ИНТЕРСКОЛ" (АО "ИНТЕРСКОЛ") и на основе собственного перевода на русский язык англоязычной версии стандарта, указанного в
пункте 5
2 ВНЕСЕН Межгосударственным техническим комитетом по стандартизации МТК 262 "Инструмент механизированный и ручной"
3 ПРИНЯТ Межгосударственным советом по стандартизации, метрологии и сертификации (протокол от 30 октября 2019 г. N 123-П)
За принятие проголосовали:
Краткое наименование страны по МК (ИСО 3166) 004-97 | Код страны по МК (ИСО 3166) 004-97 | Сокращенное наименование национального органа по стандартизации |
Беларусь | BY | Госстандарт Республики Беларусь |
Киргизия | KG | Кыргызстандарт |
Россия | RU | Росстандарт |
Узбекистан | UZ | Узстандарт |
4
Приказом Федерального агентства по техническому регулированию и метрологии от 30 октября 2019 г. N 1118-ст межгосударственный стандарт ГОСТ IEC 62841-3-14-2019 введен в действие в качестве национального стандарта Российской Федерации с 1 июля 2020 г.
5 Настоящий стандарт идентичен международному стандарту IEC 62841-3-14:2017 "Машины ручные, переносные и садово-огородные электрические. Безопасность. Часть 3-14. Частные требования к переносным машинам для прочистки труб" ("Electric motor-operated hand-held tools, transportable tools and lawn and garden machinery - Safety - Part 3-14: Particular requirements for transportable drain cleaners", IDT).
Международный стандарт разработан Техническим комитетом IEC/TC 116 "Безопасность ручного электрического механизированного инструмента" Международной электротехнической комиссии (МЭК).
Официальные экземпляры международного стандарта, на основе которого подготовлен настоящий стандарт, имеются в Федеральном информационном фонде стандартов.
Наименование настоящего стандарта изменено относительно наименования указанного международного стандарта для приведения в соответствие с ГОСТ 1.5
(подраздел 3.6).
При применении настоящего стандарта рекомендуется использовать вместо ссылочных международных стандартов соответствующие им межгосударственные стандарты, сведения о которых приведены в дополнительном
приложении ДА
6 Настоящий стандарт взаимосвязан с техническими регламентами Таможенного союза
ТР ТС 010/2011 "О безопасности машин и оборудования",
ТР ТС 004/2011 "О безопасности низковольтного оборудования" и реализует их требования безопасности
7 ВВЕДЕН ВПЕРВЫЕ
Информация о введении в действие (прекращении действия) настоящего стандарта и изменений к нему на территории указанных выше государств публикуется в указателях национальных стандартов, издаваемых в этих государствах, а также в сети Интернет на сайтах соответствующих национальных органов по стандартизации.
В случае пересмотра, изменения или отмены настоящего стандарта соответствующая информация будет опубликована на официальном интернет-сайте Межгосударственного совета по стандартизации, метрологии и сертификации в каталоге "Межгосударственные стандарты"
Настоящий стандарт входит в комплекс стандартов, устанавливающих требования безопасности и методы испытаний ручных, переносных и садово-огородных электрических машин.
Настоящий стандарт применяют совместно с IEC 62841-1-2014.
Настоящий стандарт устанавливает частные требования безопасности и методы испытаний ручных сверлильных и ударных сверлильных машин, которые дополняют, изменяют или заменяют соответствующие разделы, подразделы, пункты, таблицы и рисунки IEC 62841-1:2014. Пункты, дополняющие IEC 62841-1:2014, имеют нумерацию начиная со 101.
Номера разделов, пунктов, таблиц и рисунков настоящего стандарта соответствуют приведенным в IEC 62841-2-1.
В настоящем стандарте методы испытаний переносных машин для прочистки труб выделены курсивом.
Примечание - По рекомендации МЭК внимание национальных комитетов обращается на тот факт, что производителям машин и испытательным лабораториям потребуется переходный период после принятия данного международного стандарта, для изготовления продукции в соответствии с новыми требованиями и переоснащения оборудованием (приборами) для проведения новых или пересмотренных испытаний, поэтому настоящий стандарт рекомендуется ввести в действие в качестве национального стандарта не ранее чем через 36 мес с даты его публикации.
Применяют соответствующий раздел IEC 62841-1 со следующим дополнением.
Дополнение:
Настоящий стандарт распространяется на переносные машины для прочистки труб (далее - машины).
Примечание 1 - Машина для прочистки труб также известна как прочистная машина.
Настоящий стандарт не распространяется на ручные машины для прочистки труб.
Примечание 2 - На ручные машины для прочистки труб распространяется IEC 62841-2-21
[1].
Настоящий стандарт не распространяется на очистители высокого давления.
Примечание 3 - На очистители высокого давления распространяется IEC 60335-2-79
[2].
Настоящий стандарт не распространяется на машины со сплошными стержнями для прочистки труб.
Применяют соответствующий раздел IEC 62841-1.
Применяют соответствующий раздел IEC 62841-1 со следующими дополнениями.
Дополнение:
3.101 резак (cutter): Инструмент (принадлежность), который(ая) закрепляется на конце троса для прочистки труб или представляет собой специально сформированную секцию троса для прочистки труб.
3.102 машина для прочистки труб (drain cleaner): Машина, предназначенная для очистки дренажа и труб с помощью троса для прочистки труб и установленная во время работы на земле, полу или верстаке.
3.103 трос для прочистки труб (drain cleaner cable): Гибкая принадлежность машины для прочистки труб, которая вставляется в трубу или дренаж.
3.104 барабан (drum): Вращающаяся цилиндрическая емкость, в которой находится трос для прочистки труб.
3.105 машина с барабаном (drum machine): Машина для прочистки труб, которая использует трос для прочистки труб, находящийся во вращающемся барабане.
3.106 направляющая труба (guide tube): Вращающаяся труба, которая направляет трос для прочистки труб от барабана к переднему выходу машины с барабаном.
3.107 задний направляющий шланг (rear guide hose): Устройство, подсоединенное к задней части секционной машины и охватывающее часть троса для прочистки труб, выходящего из машины сзади.
3.108 секционная машина (sectional machine): Машина для прочистки труб, использующая соединенные вместе отдельные секции троса для прочистки труб для увеличения его общей длины.
Применяют соответствующий раздел IEC 62841-1.
5 Общие условия испытаний
Применяют соответствующий раздел IEC 62841-1 со следующим дополнением.
5.17 Дополнение:
Массу машины определяют без учета троса для прочистки труб и принадлежностей.
6 Опасность излучения, токсичность и прочие опасности
Применяют соответствующий раздел IEC 62841-1.
Применяют соответствующий раздел IEC 62841-1.
8 Маркировка и инструкции
Применяют соответствующий раздел IEC 62841-1 со следующими дополнениями.
8.14.1 Дополнение:
Машины для прочистки труб должны содержать дополнительные указания, приведенные в
8.14.1.101. Эта часть может быть напечатана отдельно от раздела "Общие предупреждения по безопасности электрической машины".
8.14.1.1 Дополнение:
Пункт 2) перечисление b) не применяется.
8.14.1.101 Дополнительные указания мер безопасности при работе с переносными машинами для прочистки труб
Примечание - По усмотрению изготовителя в приведенных ниже указаниях термин "дренаж" допустимо заменять термином "труба".
a) Перед использованием машины проверяют устройство защитного отключения (УЗО), интегрированное в шнур питания, для того чтобы убедиться в его правильной работе. Правильно работающее устройство защитного отключения (УЗО) снижает опасность поражения электрическим током.
Примечание - Термин "устройство защитного отключения" (УЗО) можно заменить на ELCB - выключатель тока утечки на землю; GFCI - размыкатель тока утечки на землю.
b) Используют удлинители только с устройствами защитного отключения (УЗО). Устройство защитного отключения (УЗО), интегрированное в шнуре питания машины, не предотвратит поражение электрическим током, вызванное использованием удлинителя.
Примечание - Термин "устройство защитного отключения" (УЗО) можно заменить на ELCB - выключатель тока утечки на землю; GFCI - размыкатель тока утечки на землю.
c) Удерживаются за вращающийся трос только с помощью перчаток, рекомендованных изготовителем. Перчатки из латекса, необлегающие перчатки или ветошь могут быть захвачены вращающимся тросом и привести к тяжелым телесным повреждениям.
d) Не допускается заклинивание резака во время вращения троса. Это может вызвать перенапряжение троса и привести к скручиванию, образованию петель, разрыву троса или получению тяжелых телесных повреждений.
e) Оператор должен контролировать как трос, так и выключатель питания. Если резак перестает вращаться, оператор должен иметь возможность выключить машину, для предотвращения скручивания, перегиба и разрыва троса.
f) Пользуются средствами защиты органов зрения, органов дыхания, защитными масками, защитной одеждой и перчатками из латекса или резины под перчатками, рекомендованными изготовителем, если в сточной системе предположительно находятся химические вещества, микроорганизмы и другие вредные или инфекционные вещества. Сточные системы могут содержать микроорганизмы, химические и другие вещества, которые могут быть вредными, зараженными или привести к получению ожогов или тяжких телесных повреждений.
g) Соблюдают требования гигиены. Не едят и не курят во время обслуживания или работы с машиной. После обслуживания или работы с машиной используют горячую мыльную воду для мытья рук и других частей тела, подверженных контакту с дренажем. Это поможет снизить риск нанесения вреда здоровью из-за воздействия вредных и зараженных веществ.
h) Используют машину только для прочистки труб рекомендуемых размеров. Использование машины для прочистки труб других размеров может вызвать скручивание, образование петель, повреждение троса или привести к получению тяжких телесных повреждений.
i) Всегда используют задний направляющий шланг во время работы машины и убеждаются в том, что трос не выходит за него. Это предотвращает повреждение троса, которое может привести к запутыванию и травме.
Примечание - Данное предупреждение распространяется только на секционные машины.
8.14.2 a) Дополнение:
101) информация о допустимой(ых) длине(ах) и диаметре(ах) троса для прочистки труб;
102) инструкция по установке троса для прочистки труб;
103) инструкция по установке заднего направляющего шланга для секционных машин;
104) информация о рекомендуемых диаметрах тросов для прочистки труб в зависимости от диаметров труб.
8.14.2 b) Дополнение:
101) информация о перчатках, используемых во время работы;
102) информация о расстоянии, на которое должна быть удалена машина от отверстия для дренажа или трубы;
103) инструкция по подаче и вращению троса для прочистки труб.
8.14.2 c) Дополнение:
101) инструкция по проверке и обслуживанию троса для прочистки труб.
9 Защита от контакта с токоведущими частями
Применяют соответствующий раздел IEC 62841-1.
Применяют соответствующий раздел IEC 62841-1.
11 Потребляемая мощность и ток
Применяют соответствующий раздел IEC 62841-1.
Применяют соответствующий раздел IEC 62841-1.
13 Теплостойкость и огнестойкость
Применяют соответствующий раздел IEC 62841-1.
Применяют соответствующий раздел IEC 62841-1 со следующим изменением.
Устройство защитного отключения (УЗО), служащее для защиты от поражения электрическим током от влаги, должно соответствовать IEC 61540:1999 и отвечать следующим требованиям:
1) УЗО должно отсоединить оба сетевых проводника, но не прерывать заземляющий проводник, при его наличии, когда ток утечки превысит 10 мА с максимальным временем отключения 300 мс.
Соответствие проверяют путем осмотра и проведением испытания по 9.9.2 IEC 61540:1997. Кроме того, во время испытания заземляющий проводник не должен отсоединяться.
2) УЗО должно быть надежным для применения по назначению.
Соответствие требованию проверяют при номинальном напряжении, при включенном УЗО путем имитации тока утечки по 14.4.1 и при защемленном роторе машины в течение 50 циклов. УЗО должно правильно срабатывать во всех циклах.
3) УЗО должно быть установлено таким образом, чтобы его невозможно было удалить во время применения или обслуживания.
Это требование считается выполненным, если УЗО закреплено на машине или шнуре питания, подключенном к машине.
Если УЗО закреплено на шнуре питания или соединительном шнуре, то оно должно быть подключено с помощью ввода типа Y или Z.
Соответствие проверяют путем осмотра.
Применяют соответствующий раздел IEC 62841-1.
16 Защита от перегрузки трансформаторов и соединенных с ними цепей
Применяют соответствующий раздел IEC 62841-1.
Применяют соответствующий раздел IEC 62841-1 со следующим дополнением.
17.101 Устройство для секционных машин в соответствии с
21.18.2.1 должно иметь достаточную надежность для безопасной работы.
Соответствие проверяют проведением следующего испытания.
Секционную машину оснащают самой длинной секцией троса для прочистки труб наибольшего диаметра, указанной в соответствии с перечислением a) 101) 8.14.2. Машину включают.
Для испытания на надежность устройство приводят в действие с минимальным требуемым усилием для поворота секции троса для прочистки труб, а затем отпускают до тех пор, пока полностью не прекратится вращение троса. Это срабатывание и разблокировку повторяют в течение 10 000 циклов или до тех пор, пока устройство не сможет вращать секцию троса для прочистки труб, в зависимости от того, что произойдет ранее. Во время испытания допускается любое обслуживание пользователя для обеспечения правильной работы устройства.
Во время испытания секция троса для прочистки труб должна всегда останавливаться в тот момент, когда устройство отпускают.
18 Ненормальный режим работы
Применяют соответствующий раздел IEC 62841-1 со следующими изменениями.
18.8 Замена таблицы 4.
Таблица 4
Требуемые уровни эффективности
Тип и назначение важной для безопасности функции | Требуемый уровень эффективности |
Выключатель питания предотвращает нежелательное включение машины для прочистки труб оснащенной муфтой сцепления, отлучающей выходной шпиндель от двигателя | Не является важной для безопасности функцией |
Выключатель питания предотвращает нежелательное включение прочих машин для прочистки труб | a |
Выключатель питания обеспечивает требуемое выключение | a |
Обеспечение требуемого направления вращения | Не является важной для безопасности функцией |
Любое электронное устройство управления, необходимое для прохождения испытания по 18.3 | a |
Любое устройство ограничения частоты вращения | Не является важной для безопасности функцией |
Предотвращает превышения пределов перегрева по разделу 18 | a |
19 Механическая безопасность
Применяют соответствующий раздел IEC 62841-1 со следующими изменениями.
19.1 Замена первого абзаца.
Движущиеся и другие опасные части машины, кроме троса для прочистки труб, барабана и направляющего шланга, которые ограждаются по
19.101 и
19.102, должны быть расположены таким образом, чтобы обеспечивать достаточную защиту от телесных повреждений.
Трос для прочистки труб должен быть гладким и свободным от острых краев, за исключением резака.
19.6 Этот пункт не применяют.
19.8 Этот пункт не применяют для машин с колесами.
19.101 Частные требования к машинам с барабаном
19.101.1 Для обеспечения надлежащей защиты от телесных повреждений приводной ремень должен быть огражден.
Соответствие проверяют путем осмотра и проведением испытания вручную. Не допускается прикосновения внутренней поверхности приводного ремня (см. рисунок 103) испытательным щупом "A", показанным на рисунке 104.
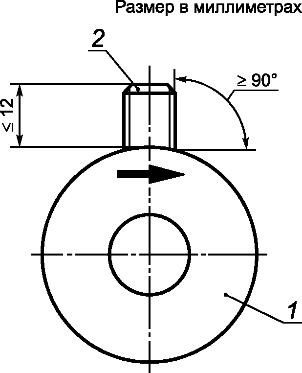
19.101.2 Любая часть направляющей трубы или узла направляющей трубы, при наличии, находящаяся вне барабана, должна быть гладкой, без заусенцев и не должна иметь отверстий диаметром более 12,5 мм.
Соответствие проверяют путем осмотра и проведением испытания вручную с помощью испытательного щупа 2 по IEC 61032:1997 (сфера диаметром 12,5 мм). Не допускается прохождения испытательного щупа через отверстие в направляющей трубе или узле направляющей трубы, которая находится снаружи барабана или защитного кожуха.
19.101.3 Либо барабан не должен быть доступным, либо должны быть выполнены следующие условия (см.
рисунок 105):
- внешняя окружность барабана должна иметь гладкую непрерывную поверхность без отверстий; однако допускаются отверстия в передней части барабана;
- расстояние между барабаном и любым неподвижным элементом машины, кроме кожуха, указанного в
19.101.1, должно составлять не менее 12,5 мм;
- если задняя часть барабана является доступной, то расстояние между ней или любым компонентом, выступающим за нее, и любым неподвижным элементом машины должно составлять не менее 12,5 мм;
- любые выступы или углубления в передней или задней плоскости барабана должны быть гладкими, без заусенцев;
- любые выступы или углубления в передней или задней плоскости барабана не должны иметь острых углов в прямом направлении вращения, указанном в соответствии с
перечислением b) 103) 8.14.2.
Соответствие проверяют путем осмотра, измерения и проведением испытания вручную. Доступность проверяют с помощью испытательного щупа "A", показанного на рисунке 104. Расстояние 12,5 мм проверяют с помощью испытательного щупа 2 по IEC 61032:1997, который должен свободно проходить между барабаном и любым неподвижным элементом.
19.102 Частные требования для секционных машин
19.102.1 Секционная машина должна быть снабжена задним направляющим шлангом. Допускается удаление заднего направляющего шланга без помощи инструмента.
Соответствие проверяют путем осмотра.
19.102.2 Задний направляющий шланг должен быть достаточно длинным для того, чтобы защитить ту часть троса для прочистки труб, которая находится за машиной.
Соответствие проверяют проведением следующего испытания.
Испытание проводят с самой длинной в соответствии с перечислением a) 101) 8.14.2 одинарной секцией троса для прочистки труб, выпущенной в передней части машины на рекомендуемое по перечислению b) 102) 8.14.2 расстояние. Конец секции троса для прочистки труб не должен выходить из заднего направляющего шланга.
20 Механическая прочность
Применяют соответствующий раздел IEC 62841-1 со следующим изменением.
20.5 Этот пункт не применяют.
Применяют соответствующий раздел IEC 62841-1 со следующим дополнением.
21.15 Замена:
Машина должна защищать оператора от повышенного риска поражения электрическим током из-за наличия влаги.
Машина должна:
- иметь конструкцию класса III; или
- иметь устройство защитного отключения и соответствовать
14.5, если применяется конструкция класса I или конструкция класса II; или
- быть предназначена для использования в сочетании с изолирующим трансформатором, если применяется конструкция класса I или конструкция класса II.
Соответствие проверяется путем осмотра.
Машины должны быть оснащены выключателем питания, который не является выключателем питания с самовозвратом. Приводной элемент этого выключателя должен быть легкодоступен. Допускается использовать выключатель питания с самовозвратом для управления вращением троса для прочистки труб в обратном направлении в соответствии с
перечислением b) 103) 8.14.2.
Соответствие проверяют путем осмотра.
В дополнение к выключателю питания, требуемому по
21.17, машины с барабаном должны иметь педальный выключатель питания, который является выключателем питания с самовозвратом без блокировки в положение "Включено". Для использования машины необходимо, чтобы выключатель питания и педальный выключатель питания находились в положении "Включено".
В дополнение к выключателю питания, требуемому по
21.17, секционные машины должны быть оснащены устройством для вращения троса для прочистки труб, которое требует постоянного воздействия оператора.
Примечание - Требования к надежности устройства указаны в
17.101.
Соответствие проверяют путем осмотра.
21.18.2.3 Замена
Машина должна иметь конструкцию, предотвращающую непреднамеренное перемещение троса для прочистки труб.
Не допускается одновременное приведение в действие одним захватом или прямолинейным движением педального выключателя/механического устройства по
21.18.2.1, и выключателя питания по
21.17.
Соответствие проверяют путем осмотра и проведением испытания вручную.
21.30 Этот пункт не применяют.
21.101 Запирающий механизм троса для прочистки труб, который вращается вместе с тросом для прочистки труб, должен быть гладким и без заусенцев. Для предотвращения запутывания выступы:
- должны быть не более 12 мм в радиальном направлении, и
- не должны иметь острого угла в передней части.
Соответствие проверяют путем осмотра и измерения с помощью запирающего механизма, полностью затянутого самым большим тросом для прочистки труб, установленным в соответствии с перечислением b) 102) 8.14.2 (см. рисунок 106).
Применяют соответствующий раздел IEC 62841-1.
Применяют соответствующий раздел IEC 62841-1.
24 Присоединение к источнику питания и внешние гибкие шнуры
Применяют соответствующий раздел IEC 62841-1.
25 Зажимы для внешних проводов
Применяют соответствующий раздел IEC 62841-1.
Применяют соответствующий раздел IEC 62841-1.
Применяют соответствующий раздел IEC 62841-1.
28 Пути утечки тока, воздушные зазоры и расстояние по изоляции
Применяют соответствующий раздел IEC 62841-1.
1 - механизм подачи троса для прочистки труб вперед/назад;
2 - барабан; 3 - направляющий шланг; 4 - трос для прочистки
труб; 5 - резак; 6 - педальный выключатель питания
Рисунок 101 - Машина для прочистки труб
1 - трос для очистки труб; 2 - ручки сцепления; 3 - задний
направляющий шланг; 4 - резак; 5 - выключатель питания
Рисунок 102 - Секционная машина для прочистки труб
1 - защитный кожух; 2 - приводной ремень; 3 - барабан
Рисунок 103 - Защитный кожух - машины для прочистки труб
1 - рукоятка; 2 - испытательная секция; 3 - фланец
Рисунок 104 - Испытательный щуп "A"
1 - передняя часть барабана (от точки A до точки B);
2 - внешняя окружность барабана (от точки B до точки C);
3 - задняя часть барабана; 4 - неподвижная часть;

- прямое направление вращения
Рисунок 105 - Пример конструкции машины для прочистки труб
1 - запирающее устройство; 2 - механизм блокировки троса
для прочистки труб;

- направление вращения
Рисунок 106 - Пример механизма блокировки троса
для прочистки труб
Применяют соответствующий раздел IEC 62841-1 со следующими изменениями.
(справочное)
ИЗМЕРЕНИЕ ШУМА И ВИБРАЦИИ
I.2 Определение шумовых характеристик (тест код, класс 2)
Применяют соответствующий раздел IEC 62841-1 со следующими изменениями.
I.2.4 Условия установки и монтажа электрических машин при испытании на шум
Дополнение:
Машины испытывают без троса для прочистки труб.
I.2.5 Условия работы
Дополнение:
Машины испытывают на холостом ходу без присутствия оператора. Настройки частоты вращения устанавливают на максимальное значение.
Требования к температуре по 5.6 не применимы.
I.3 Вибрация
Настоящий раздел IEC 62841-1 не применяют.
(обязательное)
АККУМУЛЯТОРНЫЕ МАШИНЫ И АККУМУЛЯТОРНЫЕ БАТАРЕИ
K.1 Дополнение:
При отсутствии иных указаний в данном приложении применимы все пункты настоящего стандарта.
K.8.14.1.101 Перечисления a) и b) не применяют.
K.14.5 Этот пункт не применяют.
K.21.15 Этот пункт не применяют.
(справочное)
СВЕДЕНИЯ О СООТВЕТСТВИИ ССЫЛОЧНЫХ МЕЖДУНАРОДНЫХ СТАНДАРТОВ
МЕЖГОСУДАРСТВЕННЫМ СТАНДАРТАМ
Таблица ДА.1
Обозначение ссылочного международного стандарта | Степень соответствия | Обозначение и наименование соответствующего межгосударственного стандарта |
IEC 62841-1:2014 | IDT | ГОСТ IEC 62841-1-2014 "Машины ручные, переносные и садово-огородные электрические. Безопасность и методы испытаний. Часть 1. Общие требования" |
Примечание - В настоящей таблице использовано следующее условное обозначение степени соответствия стандартов: - IDT - идентичный стандарт. |
Применяют соответствующий раздел IEC 62841-1.
| IEC 62841-2-21, | Electric motor-operated hand-held tools, transportable tools and lawn and garden machinery - Safety - Part 2-21: Particular requirements for hand-held drain cleaners (Машины ручные, переносные и садово-огородные электрические. Безопасность. Часть 2-21. Частные требования к ручным машинам для прочистки труб) |
| IEC 60335-2-79, | Household and similar electrical appliances - Safety - Part 2-79: Particular requirements for high pressure cleaners and steam cleaners (Приборы электрические бытового и аналогичного назначения. Безопасность. Часть 2-79. Частные требования к очистителям высокого давления и пароочистителям) |
УДК 621.313.36:006.354 | | IDT |
Ключевые слова: машины ручные, переносные и садово-огородные электрические, машины для прочистки труб, безопасность, испытания |