Главная // Актуальные документы // ГОСТ (Государственный стандарт)СПРАВКА
Источник публикации
М.: Стандартинформ, 2019
Примечание к документу
Документ включен в
Перечень международных и региональных (межгосударственных) стандартов, а в случае их отсутствия - национальных (государственных) стандартов, в результате применения которых на добровольной основе обеспечивается соблюдение требований технического
регламента Таможенного союза "О безопасности низковольтного оборудования" (ТР ТС 004/2011) и в
Перечень международных и региональных (межгосударственных) стандартов, а в случае их отсутствия - национальных (государственных) стандартов, содержащих правила и методы исследований (испытаний) и измерений, в том числе правила отбора образцов, необходимые для применения и исполнения требований технического
регламента Таможенного союза "О безопасности низковольтного оборудования" (ТР ТС 004/2011) и осуществления оценки соответствия объектов технического регулирования (
Решение Коллегии Евразийской экономической комиссии от 11.05.2023 N 55).
Текст данного документа приведен с учетом
поправки, опубликованной в "ИУС", N 8, 2020;
поправки, опубликованной в "ИУС", N 9, 2020.
Документ
введен в действие с 01.05.2020.
Взамен ГОСТ IEC 60598-2-13-2011.
Название документа
"ГОСТ IEC 60598-2-13-2019. Межгосударственный стандарт. Светильники. Часть 2-13. Частные требования. Светильники, углубляемые в грунт"
(введен в действие Приказом Росстандарта от 30.10.2019 N 1200-ст)
"ГОСТ IEC 60598-2-13-2019. Межгосударственный стандарт. Светильники. Часть 2-13. Частные требования. Светильники, углубляемые в грунт"
(введен в действие Приказом Росстандарта от 30.10.2019 N 1200-ст)
агентства по техническому
регулированию и метрологии
от 30 октября 2019 г. N 1200-ст
МЕЖГОСУДАРСТВЕННЫЙ СТАНДАРТ
СВЕТИЛЬНИКИ
ЧАСТЬ 2-13
ЧАСТНЫЕ ТРЕБОВАНИЯ
СВЕТИЛЬНИКИ, УГЛУБЛЯЕМЫЕ В ГРУНТ
Luminaires. Part 2-13. Particular requirements.
Ground recessed luminaires
(IEC 60598-2-13:2016, IDT)
ГОСТ IEC 60598-2-13-2019
Дата введения
1 мая 2020 года
Цели, основные принципы и общие правила проведения работ по межгосударственной стандартизации установлены
ГОСТ 1.0 "Межгосударственная система стандартизации. Основные положения" и
ГОСТ 1.2 "Межгосударственная система стандартизации. Стандарты межгосударственные, правила и рекомендации по межгосударственной стандартизации. Правила разработки, принятия, обновления и отмены"
1 ПОДГОТОВЛЕН Обществом с ограниченной ответственностью "Всесоюзный научно-исследовательский светотехнический институт имени С.И. Вавилова" (ООО "ВНИСИ") на основе собственного перевода на русский язык англоязычной версии стандарта, указанного в
пункте 5
2 ВНЕСЕН Межгосударственным техническим комитетом по стандартизации МТК 332 "Светотехнические изделия, освещение искусственное"
3 ПРИНЯТ Межгосударственным советом по стандартизации, метрологии и сертификации (протокол от 30 октября 2019 г. N 123-П)
За принятие проголосовали:
Краткое наименование страны по МК (ИСО 3166) 004-97 | Код страны по МК (ИСО 3166) 004-97 | Сокращенное наименование национального органа по стандартизации |
Армения | AM | Минэкономики Республики Армения |
Казахстан | KZ | Госстандарт Республики Казахстан |
Киргизия | KG | Кыргызстандарт |
Россия | RU | Росстандарт |
Узбекистан | UZ | Узстандарт |
4
Приказом Федерального агентства по техническому регулированию и метрологии от 30 октября 2019 г. N 1200-ст межгосударственный стандарт ГОСТ IEC 60598-2-13-2019 введен в действие в качестве национального стандарта Российской Федерации с 1 мая 2020 г.
5 Настоящий стандарт идентичен международному стандарту IEC 60598-2-13:2016 "Светильники. Часть 2-13. Частные требования. Светильники, углубляемые в грунт" ("Luminaires - Part 2-13: Particular requirements - Ground recessed luminaires", IDT).
Международный стандарт разработан подкомитетом 34Д "Светильники" технического комитета по стандартизации IEC/TC 34 "Лампы и связанное с ними оборудование" Международной электротехнической комиссии (IEC).
В тексте настоящего стандарта применено шрифтовое выделение курсивом при описании методов испытаний.
При применении настоящего стандарта рекомендуется использовать вместо ссылочных международных стандартов соответствующие им межгосударственные стандарты, сведения о которых приведены в дополнительном
приложении ДА
6 ВЗАМЕН ГОСТ IEC 60598-2-13-2011
Информация о введении в действие (прекращении действия) настоящего стандарта и изменений к нему на территории указанных выше государств публикуется в указателях национальных стандартов, издаваемых в этих государствах, а также в сети Интернет на сайтах соответствующих национальных органов по стандартизации.
В случае пересмотра, изменения или отмены настоящего стандарта соответствующая информация будет опубликована на официальном интернет-сайте Межгосударственного совета по стандартизации, метрологии и сертификации в каталоге "Межгосударственные стандарты"
Настоящий стандарт устанавливает требования к светильникам, углубляемым в грунт (далее - светильники), предназначенным для внутреннего и наружного применения, например в садах, дворах, на дорожках для тележек, в парках, на велодорожках, пешеходных дорожках, переходах, плавательных бассейнах вне зон безопасного сверхнизкого напряжения (БСНН), питомниках и т.п., питаемым от электрических источников питания напряжением, не превышающим 1000 В.
Настоящий стандарт не распространяется на светильники, предназначенные для применения на моторизованных дорожках и аэродромах, требования к которым установлены в IEC 61827 <1>.
--------------------------------
<1> Действует IEC/TS 61827:2004 "Electrical installation and beaconing of aerodromes - Characteristics of inset and elevated luminaires used in aerodromes" (Электрическая установка и установка маяков аэродромов. Характеристики закрытых и надземных светильников, используемых в аэродромах).
13.1.1 Нормативные ссылки
Применяют раздел 0 IEC 60598-1.
13.2 Общие требования к испытаниям
Применяют раздел 0 IEC 60598-1.
13.3 Термины и определения
В настоящем стандарте применены термины по IEC 60598-1, а также следующие термины с соответствующими определениями:
13.3.1 светильник, углубляемый в грунт (ground recessed luminary): Светильник, пригодный для установки в грунт, имеющий элементы присоединения к источнику питания и электрические компоненты, расположенные ниже уровня земли.
13.3.2
нормируемая максимальная температура поверхности T (rated maximum surface temperature
T): Максимальная температура на доступной внешней поверхности при нормальных рабочих условиях по
13.12.
Применяют раздел 2 IEC 60598-1.
Применяют раздел 3 IEC 60598-1 совместно с требованиями 13.5.1 -
13.5.3.
13.5.1 Нормируемая нагрузка в ньютонах (Н) - в соответствии с
13.6.1 (приведена в инструкциях изготовителя).
13.5.2 Нормируемая максимальная температура на поверхности в градусах Цельсия (°C).
На светильнике должно быть указано значение T в соответствии со второй колонкой (В) таблицы 3.1 IEC 60598-1 и/или инструкциями изготовителя и каталогами.
13.5.3 Информация в инструкциях изготовителя относительно наружной распределительной коробки - при необходимости.
Проверку проводят внешним осмотром.
Применяют раздел 4 IEC 60598-1 совместно с требованиями
13.6.1 -
13.6.5.
Примечание - Для проведения всех испытаний может потребоваться большее число образцов вследствие разрушения некоторых из них.
13.6.1 Стойкость к статической нагрузке
Светильники должны выдерживать минимальную статическую нагрузку в соответствии с инструкциями изготовителя.
Проверку проводят следующим испытанием.
Образец устанавливают как для нормальной эксплуатации в соответствии с инструкциями изготовителя.
Испытательная нагрузка с допуском +/- 3% должна быть приложена к верхней части светильника стальным цилиндром, имеющим резиновую прокладку в месте контакта со светильником.
Диаметр цилиндра должен быть 50 мм или, если он менее 50 мм, соответствовать диаметру D светильника, приведенного на рисунке 1.
1 - светильник; 2 - вершина
Толщина стального цилиндра должна быть 50 мм.
Резиновая прокладка должна иметь следующие характеристики:
- плотность (65 +/- 5) г/см3;
- толщина 10 мм.
При испытании вертикальная ось стального цилиндра должна быть перпендикулярна к испытательной опоре и совпадать с геометрическим центром защитной светопропускающей оболочки (см. рисунок 2).
1 - стальной цилиндр; 2 - резиновая прокладка;
3 - светильник; 4 - испытательная опора
Рисунок 2 - Испытание на статическую нагрузку
Затем должна быть равномерно приложена нагрузка стальным цилиндром не более 5000 Н в течение 1 мин.
После испытания образец должен соответствовать требованиям 4.13.1 IEC 60598-1 (т.е. как при испытании на механический удар).
13.6.2 Устойчивость к скручиванию и сдвигу
Светильники, предназначенные для применения в зонах, где могут проезжать моторные транспортные средства, например таких как дорожки для тележек, парковые зоны и т.д. (см.
пункты 3 и
4 таблицы А.1), должны выдерживать усилия, вызываемые поворотом, торможением или ускорением шин.
Проверку проводят испытаниями по 13.6.2.1 и 13.6.2.2.
13.6.2.1 Испытание на устойчивость к скручиванию
Части светильника, которые могут быть подвергнуты воздействию скручивания, должны иметь достаточную механическую прочность. Соединительные узлы между этими частями должны выдерживать в течение 1 мин приложение усилия, равного 50 Н (см.
рисунок 3). Каждый соединительный узел должен быть испытан отдельно.
Пример - Сила давления, приложенная к брусу, составляет 50 Н и действует в течение 60 с.
Рисунок 3 - Иллюстрация испытания на устойчивость
к скручиванию
После испытания образец должен удовлетворять требованиям 4.13.1 IEC 60598-1, т.е. как при испытании на механический удар.
Примечание - Целью испытания является проверка крепления компонентов и крепления светильника в грунт.
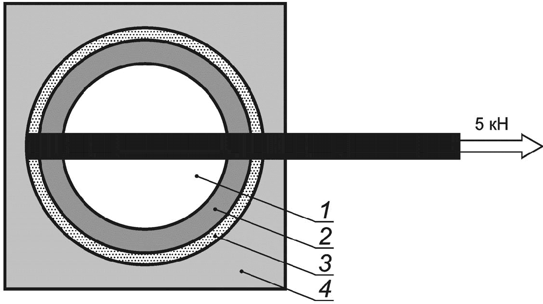
13.6.2.2 Испытание на устойчивость к сдвигу
При такой же установке, как и в
13.6.2.1, прилагают возрастающее сдвигающее усилие силой 5 кН к тем же частям в течение не менее 5 с и не более 10 с к концу бруса, затем это усилие снимают, и такие действия повторяют 20 раз (см.
рисунок 4) в направлении оси проезжей части, предназначенной для установки светильника, если имеется.
1 - стекло; 2 - кольцо; 3 - основная часть; 4 - земля
Рисунок 4 - Иллюстрация испытания на устойчивость к сдвигу
Сила, прилагаемая к брусу, составляет 5 кН, испытание повторяют 20 раз.
После испытания образец должен соответствовать требованиям 4.13.1 IEC 60598-1, т.е. как при испытании на механический удар.
13.6.3 Стойкость к тепловому удару
Стеклянные оболочки должны выдерживать тепловой удар.
Проверку проводят следующим испытанием.
Светильник и стеклянную оболочку приводят в надлежащее состояние тепловым испытанием на старение по 13.12.
Светильник должен быть расположен таким образом, чтобы его стеклянная оболочка лицевой поверхностью была направлена горизонтально вверх. Светильник должен работать до достижения поверхностью стеклянной оболочки максимальной температуры, измеряемой в течение теплового испытания. Затем светильник выключают и отсоединяют от источника питания. Сразу после отсоединения на стеклянную оболочку с высоты около 1 м выливают 1 л воды температурой не более 5 °C. Время, в течение которого выливают воду, не должно превышать 5 с.
Примечание - При испытании может возникнуть сильное растрескивание стекла, в связи с чем должны быть приняты соответствующие меры безопасности для защиты людей, проводящих это испытание, и окружающей среды. Например, следует надеть защитную одежду и закрыть лицо защитной прозрачной маской, установить экраны вокруг испытуемого светильника для защиты окружающей зоны и персонала, использовать фляжку с длинной ручкой для выливания воды на расстоянии.
Проверку проводят внешним осмотром. Стекло не должно быть разрушено.
13.6.4 Кромки
Все доступные кромки должны быть скруглены диаметром не менее 1,5 мм или эквивалентной фаской.
Поверхности верхней сборки должны быть гладкими и не иметь заусенцев и т.п.
Проверку проводят внешним осмотром.
13.6.5 Механическая прочность
Применяют пункт 4.13 IEC 60598-1 с энергией удара 5 Н·м.
13.7 Пути утечки и воздушные зазоры
Применяют раздел 11 IEC 60598-1.
Применяют раздел 7 IEC 60598-1.
Применяют разделы 14 и 15 IEC 60598-1.
Примечание - В Дании допускается прокладывать в землю только гибкие кабели во временных установках и на строительных площадках.
13.10 Внешние провода и провода внутреннего монтажа
Применяют раздел 5 IEC 60598-1 и следующие требования.
Кабели для присоединения к источнику питания светильников наружного применения, поставляемые изготовителями светильников, по своим механическим и электрическим характеристикам должны быть, по крайней мере, эквивалентны кабелям следующих типов:
- 60245 IEC 57 или 60245 IEC 66 - гибкие кабели с резиновой изоляцией на напряжение не более 750 В;
- другие резиновые кабели на напряжение 450/750 В - в соответствии с региональными правилами проводки (например, кабели H07 RN8-F и др.).
Проверку проводят внешним осмотром и креплением кабеля в светильнике.
13.11 Защита от поражения электрическим током
Применяют раздел 8 IEC 60598-1.
13.12 Испытание на старение и тепловое испытание
Применяют раздел 12 и приложение D IEC 60598-1, а также следующие требования.
До проведения испытаний по 9.3 IEC 60598-1 (см.
13.13 настоящего стандарта) светильники, испытанные по 9.2 IEC 60598-1, подвергают испытаниям по 12.4, 12.5, 12.6 и 12.7 IEC 60598-1.
Для испытаний по 12.3, 12.4, 12.5, 12.6 и 12.7 IEC 60598-1 светильник устанавливают в нормальное рабочее положение, но, в отличие от IEC 60598-1, в испытательное углубленное основание, в соответствии с приложением D IEC 60598-1 для всех применений или по инструкциям изготовителя - для ограниченных применений.
Для испытаний по 12.4 и 12.5 IEC 60598-1 применяют следующее.
Если светопропускающая поверхность защищена металлическими ребрами или решеткой, то температуру измеряют на светопропускающих участках оболочек стандартным испытательным щупом, если доступно. Если доступа к ним нет - то на внешних покрывающих частях.
Измеренные значения температуры поверхности светопропускающих оболочек и доступных металлических деталей не должны превышать значений, маркированных в соответствии с 13.5.2.
13.13 Защита от проникновения пыли, твердых частиц и влаги
Применяют раздел 9 IEC 60598-1 и следующие требования.
Порядок испытаний по разделу 9 IEC 60598-1 должен быть заменен на порядок по
13.12 настоящего стандарта.
Светильники должны соответствовать, по крайней мере, требованиям степеней защиты IP65 и IP67.
При испытаниях светильник располагают в открытом пространстве или в соответствии с инструкциями изготовителя.
Светильник степени защиты IPX5 помещают в установку для испытания на брызги со всеми монтажными аксессуарами (например, с внешней коробкой) или по инструкциям изготовителя в соответствии с 9.2.6 IEC 60598-1.
Светильник степени защиты IPX7 монтируют как для нормальной эксплуатации. В этом положении он должен работать до достижения наибольшей температуры, измеренной на стеклянном покрытии во время теплового испытания, затем светильник отключают и немедленно погружают в воду в соответствии с 9.2.8 IEC 60598-1. Это испытание не проводят, если изготовитель конкретно указывает, что светильник монтируют с дренажом. В этом случае светильник должен удовлетворять требованиям только по степени защиты IP65.
Светильник степени защиты IP6X помещают в испытательную камеру пыли с монтажными аксессуарами и кабелем в соответствии с 9.2.2 IEC 60598-1.
Примечание - Допускается применять средства для предотвращения чрезмерного внутреннего давления, при этом светильник должен удовлетворять требованиям по степени защиты IP67.
Проверку проводят внешним осмотром.
13.14 Сопротивление и электрическая прочность изоляции
Применяют раздел 10 IEC 60598-1.
13.15 Теплостойкость, огнестойкость и устойчивость к токам поверхностного разряда
Применяют раздел 13 IEC 60598-1.
(справочное)
РУКОВОДСТВО ПО НАДЕЖНОЙ ПРАКТИЧЕСКОЙ УСТАНОВКЕ
Настоящее приложение представляет собой руководство для разработчиков осветительных систем по конкретному применению светильников, в частности относительно пределов температур, размеров и стойкости к статическим нагрузкам.
При выборе вида установки светильников предпочтение должно быть отдано национальным правилам монтажа проводки.
При выборе светильника следует учитывать требования по фотобиологической безопасности, приведенные в IEC 60598-1 для опасности синего света. Что касается светильников прямого света, предназначенных для областей применения, приведенных в
перечислениях 2),
3),
4) и
5) таблицы А.1, то на расстоянии 200 мм они должны быть отнесены к группе риска не выше чем RG1 или маркированы в соответствии с разделом 3 IEC 60598-1. Информация о минимальном расстоянии наблюдения, которое следует обеспечивать при использовании светильника, должна быть приведена в каталоге изготовителя.
Таблица А.1
Конкретные применения светильников и пределы температуры,
размеры и стойкость к статическим нагрузкам
Предусмотренное применение | | | Статическая нагрузка, кН <c> |
1) Нормально недоступные зоны (в соответствии с правилами проводки) | X |
2) Ограниченно доступные зоны (например, на переходах и только на велодорожках) | 100 | | 5 |
3) Все другие доступные зоны (например, на дорожках для тележек, в парках и т.д.) | | 75 | 20 |
4) Аналогично пункту 3, но в зонах для снегоочистителей и/или средств против снега | | | 20 |
5) Частные зоны (где рабочие температуры могут вызвать повреждения, например, в питомниках, плавательных бассейнах и т.д.) | 40 | | 5 |
<b> Наибольшее значение, см. рисунок 1. От 0 до 75 мм выступающая над землей часть должна быть с уклоном  и вершиной, расположенной в 3 мм от кромки (для удобного скашивания). <c> Наименьшее значение, см. 13.6.1. <d> До 5 мм в этих зонах и до 25 мм при установке в труднодоступных местах, например вблизи стен, зданий и т.д. <e> 65 °C для незащищенного металла и 80 °C для стекла. В зависимости от конкретного вида установки (в частности, для рискованных случаев). Примечание - Необходимо учитывать совместимость конкретной конструкции светильника и окружающей среды, например наличие средств против снега, соляные испарения и т.д. |
(справочное)
СВЕДЕНИЯ О СООТВЕТСТВИИ ССЫЛОЧНЫХ МЕЖДУНАРОДНЫХ СТАНДАРТОВ
МЕЖГОСУДАРСТВЕННЫМ СТАНДАРТАМ
Таблица ДА.1
Обозначение ссылочного международного стандарта | Степень соответствия | Обозначение и наименование соответствующего межгосударственного стандарта |
IEC 60598-1 | IDT | |
Примечание - В настоящей таблице использовано следующее условное обозначение степени соответствия стандартов: - IDT - идентичный стандарт. |
| | ИС МЕГАНОРМ: примечание. В официальном тексте документа, видимо, допущена опечатка: стандарт "Светильники. Часть 1. Общие требования и методы испытаний" имеет номер ГОСТ Р МЭК 60598-1-2011, а не ГОСТ Р МЭК 60598-2011. | |
--------------------------------
<1> В Российской Федерации действует
ГОСТ Р МЭК 60598-2011 "Светильники. Часть 1. Общие требования и методы испытаний".
УДК 628.94:006.354 | | IDT |
Ключевые слова: частные требования; светильники, углубляемые в грунт; статическая нагрузка |