Главная // Актуальные документы // ГОСТ (Государственный стандарт)СПРАВКА
Источник публикации
М.: Стандартинформ, 2018
Примечание к документу
Документ включен в
Перечень международных и региональных (межгосударственных) стандартов, а в случае их отсутствия - национальных (государственных) стандартов, в результате применения которых на добровольной основе обеспечивается соблюдение требований технического
регламента Таможенного союза "О безопасности низковольтного оборудования" (ТР ТС 004/2011) и в
Перечень международных и региональных (межгосударственных) стандартов, а в случае их отсутствия - национальных (государственных) стандартов, содержащих правила и методы исследований (испытаний) и измерений, в том числе правила отбора образцов, необходимые для применения и исполнения требований технического
регламента Таможенного союза "О безопасности низковольтного оборудования" (ТР ТС 004/2011) и осуществления оценки соответствия объектов технического регулирования (
Решение Коллегии Евразийской экономической комиссии от 11.05.2023 N 55).
Текст данного документа приведен с учетом
поправки, опубликованной в "ИУС", N 4, 2020.
Документ
введен в действие с 01.07.2019.
Название документа
"ГОСТ IEC 60335-2-103-2017. Межгосударственный стандарт. Бытовые и аналогичные электрические приборы. Безопасность. Часть 2-103. Частные требования к приводам для ворот, дверей и окон"
(введен в действие Приказом Росстандарта от 11.09.2018 N 584-ст)
"ГОСТ IEC 60335-2-103-2017. Межгосударственный стандарт. Бытовые и аналогичные электрические приборы. Безопасность. Часть 2-103. Частные требования к приводам для ворот, дверей и окон"
(введен в действие Приказом Росстандарта от 11.09.2018 N 584-ст)
агентства по техническому
регулированию и метрологии
от 11 сентября 2018 г. N 584-ст
МЕЖГОСУДАРСТВЕННЫЙ СТАНДАРТ
БЫТОВЫЕ И АНАЛОГИЧНЫЕ ЭЛЕКТРИЧЕСКИЕ ПРИБОРЫ. БЕЗОПАСНОСТЬ
ЧАСТЬ 2-103
ЧАСТНЫЕ ТРЕБОВАНИЯ К ПРИВОДАМ ДЛЯ ВОРОТ, ДВЕРЕЙ И ОКОН
Household and similar electrical appliances. Safety.
Part 2-103. Particular requirements for drives
for gates, doors and windows
(IEC 60335-2-103:2015, IDT)
ГОСТ IEC 60335-2-103-2017
97.060.50
Дата введения
1 июля 2019 года
Цели, основные принципы и основной порядок проведения работ по межгосударственной стандартизации установлены в
ГОСТ 1.0-2015 "Межгосударственная система стандартизации. Основные положения" и
ГОСТ 1.2-2015 "Межгосударственная система стандартизации. Стандарты межгосударственные, правила и рекомендации по межгосударственной стандартизации. Правила разработки, принятия, обновления и отмены"
1 ПОДГОТОВЛЕН Обществом с ограниченной ответственностью "МП Сертификационная лаборатория бытовой электротехники ТЕСТБЭТ" (ООО "ТЕСТБЭТ") в рамках Технического комитета по стандартизации ТК 19 "Электрические приборы бытового назначения" на основе собственного перевода на русский язык англоязычной версии стандарта, указанного в
пункте 5
2 ВНЕСЕН Федеральным агентством по техническому регулированию и метрологии
3 ПРИНЯТ Межгосударственным советом по стандартизации, метрологии и сертификации (протокол от 30 ноября 2017 г. N 52)
За принятие проголосовали:
Краткое наименование страны по МК (ИСО 3166) 004-97 | Код страны по МК (ИСО 3166) 004-97 | Сокращенное наименование национального органа по стандартизации |
Армения | AM | Минэкономики Республики Армения |
Беларусь | BY | Госстандарт Республики Беларусь |
Казахстан | KZ | Госстандарт Республики Казахстан |
Киргизия | KG | Кыргызстандарт |
Россия | RU | Росстандарт |
4
Приказом Федерального агентства по техническому регулированию и метрологии от 11 сентября 2018 г. N 584-ст межгосударственный стандарт ГОСТ IEC 60335-2-103-2017 введен в действие в качестве национального стандарта Российской Федерации с 1 июля 2019 г.
5 Настоящий стандарт идентичен международному стандарту IEC 60335-2-103:2015 "Бытовые и аналогичные электрические приборы. Безопасность. Часть 2-103. Частные требования к приводам для ворот, дверей и окон", издание 3.0 ("Household and similar electrical appliances - Safety - Part 2-103: Particular requirements for drives for gates, doors and windows", IDT).
Международный стандарт разработан Международной электротехнической комиссией (IEC).
Официальные экземпляры международного стандарта, на основе которого подготовлен настоящий межгосударственный стандарт, имеются в Федеральном агентстве по техническому регулированию и метрологии.
При применении настоящего стандарта рекомендуется использовать вместо ссылочных международных стандартов соответствующие им межгосударственные стандарты, сведения о которых приведены в дополнительном
приложении ДА
Информация об изменениях к настоящему стандарту публикуется в ежегодном информационном указателе "Национальные стандарты" (по состоянию на 1 января текущего года), а текст изменений и поправок - в ежемесячном информационном указателе "Национальные стандарты". В случае пересмотра (замены) или отмены настоящего стандарта соответствующее уведомление будет опубликовано в ежемесячном информационном указателе "Национальные стандарты". Соответствующая информация, уведомление и тексты размещаются также в информационной системе общего пользования - на официальном сайте Федерального агентства по техническому регулированию и метрологии в сети Интернет (www.gost.ru)
В соответствии с Соглашением по техническим барьерам в торговле Всемирной торговой организации (Соглашение по ТБТ ВТО) применение международных стандартов - это одно из важных условий, обеспечивающих устранение технических барьеров в торговле.
Применение международных стандартов осуществляется путем принятия международных стандартов в качестве региональных или национальных стандартов.
С целью обеспечения взаимопонимания национальных органов по стандартизации в части применения международного стандарта Международной электротехнической комиссии (IEC) подготовлен ГОСТ IEC 60335-2-103-2017 "Бытовые и аналогичные электрические приборы. Безопасность. Часть 2-103. Частные требования к приводам для ворот, дверей и окон".
Настоящий стандарт относится к группе стандартов, регламентирующих требования безопасности бытовых и аналогичных электрических приборов, состоящей из части 1 (
ГОСТ IEC 60335-1-2015 - общие требования безопасности приборов), а также частей, устанавливающих частные требования к конкретным видам приборов.
Номера пунктов настоящего стандарта, которые дополняют разделы
ГОСТ IEC 60335-1-2015, начинаются с цифры 101.
Требования к методам испытаний выделены курсивом.
Термины, применяемые в настоящем стандарте, выделены полужирным шрифтом.
Этот
раздел части 1 заменен следующим.
Настоящий стандарт устанавливает требования безопасности электрических приводов для горизонтально и вертикально движущихся ворот, дверей, гаражных дверей и окон, предназначенных для бытового и аналогичного применения, номинальным напряжением не более 250 В для однофазных приводов и 480 В - для прочих приводов. Он также охватывает опасности, связанные с движением ведомой части.
Приводы, работающие от батареи, и прочие приводы постоянного тока входят в область распространения настоящего стандарта. Приводы с двойным питанием, питающиеся и от сети и от батареи, рассматривают как приводы, работающие от батареи, при работе в режиме питания от батареи.
Приводы, не предназначенные для обычного бытового использования, но которые, тем не менее, могут быть источником опасности для людей, в частности приводы, предназначенные для использования неспециалистами в магазинах, офисах, гостиницах, ресторанах, больницах, в промышленности и на фермах, входят в область распространения настоящего стандарта.
Требования к
приводам для дверей, которые могут быть использованы в аварийных проходах и выходах, приведены в
приложении AA.
Примечания
101 Примерами приводов в области распространения настоящего стандарта являются приводы:
- для складывающихся дверей;
- вращающихся дверей;
- скатывающихся дверей;
- мансардных окон;
- секционных подъемно-поворотных дверей;
- открывающихся в обе стороны и раздвижных ворот или дверей.
102 Приводы могут быть снабжены ведомой частью.
Насколько это возможно, настоящий стандарт устанавливает основные виды опасностей приводов, с которыми люди сталкиваются внутри и вне дома. Стандарт не учитывает опасности, возникающие:
- при использовании приборов без надзора и инструкций людьми (включая детей) с физическими, нервными или психическими отклонениями или без специальных знаний и квалификации;
- при использовании приборов детьми для игр.
Примечания
103 Следует обратить внимание на тот факт, что во многих странах дополнительные требования определяются национальными органами, отвечающими за охрану труда, и подобными органами.
104 Настоящий стандарт не применяют к приводам:
- для вертикально движущихся гаражных ворот для использования в жилых зонах (IEC 60335-2-95);
- для ставен, закрывающих двери и окна (в том числе, при расположении двери позади ставен), тентов, жалюзи и аналогичных устройств (IEC 60335-2-97);
- предназначенным исключительно для использования квалифицированным персоналом в коммерческих и промышленных помещениях;
- для специальных назначений, например противопожарных дверей;
- для вентиляционных проемов удаления дыма, не используемых в качестве окон (ISO 21927-2);
- предназначенным для использования в местах, где преобладают особые условия, такие, как коррозионная или взрывоопасная атмосфера (пыль, пар или газ).
105 Настоящий стандарт не применяют к передвижению дверей для пешеходов, если такое движение использует исключительно накопленную энергию.
Этот
раздел части 1 применяют, за исключением следующего.
Дополнение
IEC 60068-2-52, Environmental testing - Part 2: Tests - Test Kb: Salt mist, cyclic (sodium chloride solution) [Испытания на воздействие внешних факторов. Часть 2. Испытания. Испытание Kb: Соляной туман, циклическое испытание (раствор хлорида натрия)]
IEC 60825-1:2014 Safety of laser products - Part 1: Equipment classification and requirements (Безопасность лазерных устройств. Часть 1. Классификация и требования к аппаратуре)
IEC 61496-3:2008 Safety of machinery - Electro-sensitive protective equipment - Part 3: Particular requirements for Active Opto-electronic Protective Devices responsive to Diffuse Reflection (AOPDDR) [Безопасность механизмов. Электрочувствительные средства защиты. Часть 3. Частные требования к средствам защиты, использующим активные оптоэлектронные защитные приборы, чувствительные к рассеянному отражению (AOPDDR)]
Этот
раздел части 1 применяют, за исключением следующего.
нормальная работа (normal operation): Работа привода при следующих условиях.
Приводы, поставляемые без ведомой части, должны работать со своей номинальной нагрузкой.
Приводы, снабженные ведомой частью, работают с ведомой частью, установленной в соответствии с инструкциями.
3.101 привод (drive): Мотор и другие компоненты, которые управляют движением ведомой части.
Примечание 1 - Примерами компонентов могут быть механизмы передачи, управляющие устройства, тормоза, компоненты для передачи мощности от привода к ведомой части и системы защиты от защемления.
3.102 ведомая часть (driven part): Часть ворот, двери, гаражной двери или окна, которая предназначена для перемещения приводом.
3.103 окно (window): Часть в здании, которая открывается и закрывается для того, чтобы регулировать поступление воздуха и света, и которая не предназначена для прохода.
3.104 номинальная нагрузка (rated load): Усилие или крутящий момент, установленный для привода изготовителем.
3.105 номинальное время работы (rated operating time): Продолжительность непрерывной работы, установленная для привода изготовителем.
Примечание 1 - При непрерывной работе, привод может менять направление на противоположное.
3.106 номинальное количество циклов работы (rated number of operating cycles): Количество непрерываемых циклов, установленное для привода изготовителем.
3.107 цикл (cycle): Полное открывающее и закрывающее движение ведомой части.
Примечание 1 - Для вращающихся дверей цикл означает необходимый поворот, позволяющий человеку пройти через двери.
3.108 система защиты от защемления (entrapment protection system): Часть привода, которая защищает от придавливания.
Примечания
1 Система защиты от защемления может состоять из одного или более устройств - таких, как чувствительных к давлению края, пассивных инфракрасных и активных светочувствительных устройств, выключателей с самовозвратом или устройств контроля тока двигателя.
2 Система защиты от защемления может быть встроена в устройство двигателя или установлена отдельно.
3.109 выключатель с самовозвратом (biased-off switch): Устройство с автоматическим возвратом в исходное положение, которое приводит в действие и поддерживает движение привода, только когда ручное управляющее устройство приведено в действие.
3.110 автоматический привод (automatic drive): Привод, который приводит в движение ведомую часть как минимум в одном направлении без активации пользователем.
3.111 горизонтально движущаяся дверь для пешеходов (horizontally moving pedestrian door): Качающаяся, выдвигающаяся или вращающаяся дверь, предназначенная для пешеходов.
3.112 реверсивный привод (reversible drive): Привод, который может быть запущен вручную с использованием электрической энергии или без нее в обоих направлениях путем ручного воздействия на ведомую часть.
Этот
раздел части 1 применяют.
5 Общие условия испытаний
Этот
раздел части 1 применяют, за исключением следующего.
Если испытание должно быть проведено с ведомой частью, используют ведомую часть, указанную для использования с приводом, которая создаст самые неблагоприятные условия для испытания. Привод настраивают в соответствии с инструкциями.
Ведомая часть может быть сымитирована с помощью искусственной нагрузки.
Калитку в двери устанавливают в полностью закрытое положение или в полностью открытое положение, если при испытании она перемещается вместе с дверью, или в полностью удаленное положение, если при испытании она не перемещается вместе с дверью.
Если привод имеет маркировку температуры окружающей среды, выходящей за диапазон от 5 °C до 40 °C, испытания по разделам 11, 13, BB.20.101, BB.20.105, BB.20.106, BB.20.107, BB.20.109, CC.20.103, CC.20.104, CC.20.105, CC.20.106, DD.20.105, DD.20.106, DD.20.107, DD.20.108 и 21 проводят при самой неблагоприятной маркированной температуре.
5.101 Для обеспечения соответствия настоящему стандарту приводы следует испытывать при следующих режимах работы, как предписано изготовителем:
- автоматическое срабатывание (срабатывание как минимум в одном направлении без активации пользователем);
- импульсная активация (срабатывание в одном или другом направлении при намеренной активации пользователем);
- работа с самовозвратом (с автоматическим возвратом в исходное положение).
Если требуется инструкцией, компоненты должны быть добавлены или заменены для проведения испытаний.
Этот
раздел части 1 применяют, за исключением следующего.
Приводы должны быть классов I, II или III защиты от поражения электрическим током.
Приводы или части приводов, предназначенные для нахождения под воздействием внешней среды, должны иметь степень защиты не ниже IPX4.
7 Маркировка и инструкции
Этот
раздел части 1 применяют, за исключением следующего.
Приводы должны быть маркированы диапазоном температуры окружающей среды.
Приводы, поставляемые без ведомой части, должны быть маркированы
- номинальной нагрузкой, в ньютонах (Н) или в ньютон-метрах (Н·м);
- номинальным временем работы, в минутах, если только привод не предназначен для непрерывной работы.
Приводы, снабженные ведомой частью, должны быть маркированы номинальным числом циклов работы или количеством циклов в час, если только привод не предназначен для непрерывной работы.
| [символ ISO 7000-0533 (2004-01)] | верхний предел температуры |
| [символ ISO 7000-0534 (2004-01)] | нижний предел температуры |
Инструкции должны включать указания следующего содержания:
ПРЕДУПРЕЖДЕНИЕ: Важные инструкции по безопасности. В целях безопасности человека важно следовать этим инструкциям. Сохраните эти инструкции.
Инструкции должны включать информацию следующего содержания:
- не позволяйте детям играть с закрепленными управляющими устройствами. Держите дистанционные управляющие устройства подальше от детей;
- разъяснения относительно индикаторов режима работы;
- подробную информацию о том, как использовать ручное расцепление или реверсивный привод, используемый как ручное расцепление, и, если применимо, указывать, что приведение в действие ручного расцепления может вызвать неконтролируемое движение приводной части из-за механических отказов или разбалансировки;
- при приведении в действие выключателя с самовозвратом убедиться, что другие люди находятся на удалении;
- при закрытии окна, которое было открыто системой дымоудаления, убедиться, что другие люди находятся на удалении;
- подробные сведения о том, как перенастроить управляющие устройства, если применимо;
- регулярно проверять установку на разбалансировку, если применимо, следы износа или повреждения кабелей, пружин и креплений. Не использовать, если требуется ремонт или настройка;
- отключить питание при проведении очистки или другого обслуживания.
Инструкции по установке должны включать указания следующего содержания:
ПРЕДУПРЕЖДЕНИЕ: Важные инструкции по безопасности. Следовать всем инструкциям, поскольку неправильная установка может привести к серьезным увечьям.
В инструкциях по установке следует указывать тип, размер и массу ведомой части, место, где привод может быть установлен, и они должны включать подробные сведения, если привод подходит только для сбалансированных ведомых вертикальных частей.
Они должны указывать, что монтажник обязан убедиться, что маркированный на приводе температурный диапазон, соответствует месту установки.
Они должны указывать, что привод
- не может быть использован, если дверная калитка открыта (для приводов, которые сконструированы так, что привод может работать, только когда дверная калитка закрыта); или
- не может быть использован, если дверная калитка закрыта (для приводов, которые сконструированы так, что привод может работать, только когда дверная калитка открыта или удалена).
Инструкции должны включать информацию следующего содержания:
- необходимую информацию для безопасного обращения с приводом весом более 20 кг. Эта информация должна описывать, как использовать средства перемещения, такие, как крюки и тросы;
- для вертикальных дверей и ворот необходима возможность или приспособление для защиты от падения;
- перед монтажом привода нужно убедиться, что ведомая часть находится в хорошем механическом состоянии, открывается и закрывается надлежащим образом и правильно сбалансирована, где применимо;
- информацию о том, что опасная часть привода предназначена для установки на минимальной высоте 2,5 м над уровнем пола или другим уровнем доступа;
- кроме горизонтально движущихся дверей для пешеходов, необходимо обеспечить, чтобы защемления между движущейся частью и окружающими неподвижными частями при движении открывания ведомых частей можно было бы избежать;
- для горизонтально движущихся дверей для пешеходов необходимо обеспечить, чтобы защемление между ведомой частью и окружающими неподвижными частями при движении ведомых частей можно было бы избежать. Этого можно достичь, если соответствующее расстояние не превышает 8 мм. Однако следующие расстояния считаются достаточными для избегания защемлений указанных частей тела:
- для пальцев - расстояние больше 25 мм;
- для нижней части ног - расстояние больше 50 мм;
- для головы - расстояние больше 200 мм; и
- для тела в целом - расстояние больше 500 мм.
Если эти расстояния не могут быть обеспечены, должны быть предусмотрены защитные устройства;
- подробные сведения о максимально допустимом расстоянии от стены, параллельной выдвижению наружу горизонтально выдвигающихся приводных частей;
- подробные сведения по установке привода и связанных с ним компонентов, включая подробные сведения о соответствующих вспомогательных принадлежностях, требующихся для альтернативных режимов работы;
- что приводной элемент выключателя с самовозвратом должен быть расположен в пределах прямой видимости от ведомой части, но в отдалении от движущихся частей. Если он не приводится в движение ключом, то должен быть установлен на минимальной высоте в 1,5 м и не быть общедоступным;
- подробную информацию о том, как устанавливать управляющие устройства;
- после установки убедиться в том, что механизм надлежаще отрегулирован, и что система защиты и любое ручное расцепление функционируют правильно;
- закрепить на постоянной основе этикетки, касающиеся ручного расцепления, рядом с элементом привода.
7.101 Приводы с ручным расцеплением должны быть снабжены этикеткой, описывающей, как использовать расцепление, если только информация не нанесена на прибор.
Соответствие проверяют осмотром.
8 Защита от доступа к токоведущим частям
Этот
раздел части 1 применяют, за исключением следующего.
Основная изоляция и части, отделенные от токоведущих частей основной изоляцией, могут быть доступны прикосновению при регулировке, если требуется инструмент для получения доступа к средствам регулировки.
9 Пуск электромеханических приборов
Этот
раздел части 1 не применяют.
10 Потребляемая мощность и ток
Этот
раздел части 1 применяют, за исключением следующего.
Вместо определения среднего значения, определяют максимальное значение потребляемой мощности, влияние пусковых токов игнорируют.
Этот
раздел части 1 применяют, за исключением следующего.
Приводы для непрерывной работы работают последовательными циклами до установившегося состояния.
Приводы не для непрерывной работы работают следующим образом.
Приводы для ворот для одного домовладения и горизонтально движущиеся двери для одного домовладения работают без периода покоя в течение трех циклов или в течение номинального числа циклов работы, в зависимости от того, что дольше.
Приводы для приводов окон работают без периодов покоя в течение номинального числа циклов работы.
Прочие приводы работают без периодов покоя в течение номинального числа циклов работы, но не менее пяти циклов работы.
13 Ток утечки и электрическая прочность при рабочей температуре
Этот
раздел части 1 применяют.
14 Динамические перегрузки по напряжению
Этот
раздел части 1 применяют.
Этот
раздел части 1 применяют, за исключением следующего.
Внутривальные приводы устанавливают в трубу наибольшего диаметра, указанного в инструкциях, открытую с обоих концов. Трубу длиной в два раза больше, чем двигатель, монтируют на основание, как при нормальной эксплуатации. Основание вращают со скоростью 1 об/мин.
16 Ток утечки и электрическая прочность
Этот
раздел части 1 применяют.
17 Защита от перегрузки трансформаторов и соединенных с ними цепей
Этот
раздел части 1 применяют.
Этот
раздел части 1 не применяют.
Этот
раздел части 1 применяют, за исключением следующего.
Соответствие проверяют также испытанием по 19.101.
Привод должен оставаться соответствующим требованиям, или, после работы в течение одного цикла максимально, он должен остановиться с ведомой частью в безопасном положении, или привод должен сменить режим работы на режим выключателя с самовозвратом.
Привод включают на номинальное напряжение, и он работает при условиях нормальной работы. После приблизительно 60 с напряжение питания снижают до такого уровня, чтобы привод перестал реагировать на входящие команды пользователя, или части, управляемые программируемым устройством, перестали срабатывать, в зависимости от того, что наступит раньше. Это значение напряжения питания фиксируют. Привод включают на номинальное напряжение, и он работает при условиях нормальной работы. Затем напряжение снижают до значения, которое приблизительно на 10% меньше зафиксированного напряжения. Напряжение удерживают на этом значении приблизительно 60 с и затем увеличивают до номинального напряжения. Скорость снижения и увеличения напряжения питания должна быть приблизительно 10 В/с.
Привод должен продолжать двигаться в том же направлении движения по своему рабочему циклу, при котором произошло падение напряжения, или должно потребоваться ручное действие для его перезапуска.
При испытании по 19.101 температура обмоток не должна превысить значений, указанных в 19.9.
19.101
Приводы, кроме приводов для непрерывной работы, включают на номинальное напряжение, и они работают непрерывно при условиях нормальной работы.
20 Устойчивость и механические опасности
Этот
раздел части 1 заменен следующими приложениями.
Приложение DD. Приводы для горизонтально и вертикально движущихся дверей, горизонтально движущихся гаражных дверей и ворот.
21 Механическая прочность
Этот
раздел части 1 применяют.
Этот
раздел части 1 применяют, за исключением следующего.
Если соответствие требованиям
раздела 20 зависит от работы программируемой
электронной цепи, то программное обеспечение должно содержать средства по контролю за условиями отказа/ошибки, указанными в таблице R.1.
22.101 Приводы весом более 20 кг должны иметь подходящие средства для перемещения, такие, как крюки.
Соответствие проверяют осмотром.
22.102 Все управляющие устройства, поставляемые с приводом, должны быть маркированы для указания функций единым способом.
Если привод оборудован специальной кнопкой останова, то такая кнопка останова должна быть явно опознаваема.
Соответствие проверяют осмотром.
22.103 Если несколько режимов работы могут быть выбраны пользователем, то выбранный режим должен быть ясно обозначен.
Соответствие проверяют осмотром.
22.104 Настройки, которые могут повлиять на соответствие настоящему стандарту, должно быть возможно выполнить только с использованием инструмента или при использовании кода.
Соответствие проверяют осмотром.
22.105 Привод для двери или ворот, имеющих дверную калитку, должен быть сконструирован так, чтобы привод
- не мог быть приведен в движение, когда дверная калитка открыта (для приводов, которые сконструированы так, что привод может работать только при закрытой дверной калитке); или
- не мог быть приведен в движение, когда дверная калитка закрыта (для приводов, которые сконструированы так, что привод может работать только при открытой или удаленной калитке).
Соответствие проверяют осмотром.
22.106 Приводы следует поставлять со всеми связанными компонентами, необходимыми для обеспечения соответствия настоящему стандарту для определенного режима работы. Компоненты, требуемые для альтернативных режимов работы, могут быть поставлены отдельно при условии, что они перечислены в инструкциях.
Соответствие проверяют осмотром.
22.107 Управляющие устройства не должны иметь возможности обходить систему защиты от защемления, если только они не могут привести в действие привод при нахождении ведомой части в поле зрения.
Соответствие проверяют испытанием.
Этот
раздел части 1 применяют.
Этот
раздел части 1 применяют, за исключением следующего.
Если для отключения привода при работе ручного расцепления используют выключатель, то выключатель испытывают на 300 циклов работы.
25 Присоединение к источнику питания и внешние гибкие шнуры
Этот
раздел части 1 применяют, за исключением следующего.
Крепление типа Z допускается для выносных блоков питания, используемых внутри помещений, для приводов с номинальной потребляемой мощностью не более 100 Вт.
Шнур питания приводов для использования вне помещений должен быть шнуром в полихлоропреновой оболочке и должен быть не легче, чем обычный гибкий шнур в полихлоропреновой оболочке (кодовое обозначение 60245 IEC 57).
26 Зажимы для внешних проводов
Этот
раздел части 1 применяют.
Этот
раздел части 1 применяют.
Этот
раздел части 1 применяют.
29 Воздушные зазоры, пути утечки и непрерывная изоляция
Этот
раздел части 1 применяют.
30 Теплостойкость и огнестойкость
Этот
раздел части 1 применяют, за исключением следующего.
Для приводов, управляемых выключателем с самовозвратом, применяют требования 30.2.2.
Для прочих приводов применяют требования 30.2.3.
Этот
раздел части 1 применяют, за исключением следующего.
Дополнение
Для частей, предназначенных для установки вне помещения, соответствие проверяют испытанием на воздействие соляного тумана по IEC 60068-2-52, используют степень жесткости 2.
Перед испытанием покрытия царапают с помощью закаленного стального штыря, конец которого имеет форму конуса с углом 40°. Конец закруглен радиусом (0,25 +/- 0,02) мм. Штырь нагружают так, чтобы сила, прилагаемая вдоль оси, составляла (10 +/- 0,5) Н. Царапины наносят проведением штыря вдоль поверхностей покрытия со скоростью приблизительно 20 мм/с. Делают пять царапин на расстоянии не менее 5 мм друг от друга и не менее 5 мм от краев.
После испытания привод не должен быть поврежден до такой степени, что соответствие настоящему стандарту, в частности разделами 8 и 27, будет нарушено. Покрытие не должно быть повреждено и не должно отслаиваться от металлической поверхности.
32 Радиация, токсичность и подобные опасности
Этот
раздел части 1 применяют, за исключением следующего.
32.101 Приводы, использующие лазер, должны быть сконструированы таким образом, чтобы обеспечить надлежащую защиту от лазерного излучения.
Соответствие проверяют следующим испытанием.
Съемные части удаляют. Любые доступные управляющие устройства регулируют для получения максимального лазерного излучения, даже если потребуется инструмент для выполнения такой регулировки. Если управляющее устройство недоступно, его также регулируют для получения максимального лазерного излучения, если только приводной элемент не заблокирован надежно в определенном положении.
Примечание - Припой или заливочную массу рассматривают как обеспечивающие надлежащую блокировку.
Привод включают на номинальное напряжение, и он работает в условиях нормальной работы. Лазерное излучение измеряют в соответствии с 5.2 IEC 60825-1:2014, уровень допустимой эмиссии не должен превышать ограничений для лазерных устройств класса I, как указано в таблице 1 этого стандарта для излучения длительностью 100 с.
Испытание повторяют, но при условиях, указанных в разделе 19, и лазерное излучение измеряют еще раз. Уровень допустимой эмиссии не должен превышать в пять раз ограничения, указанные для класса I для длин волн от 400 до 700 нм. Для других длин волн он не должен превышать ограничений для лазерных устройств класса 3R, как указано в таблице 6 IEC 60825-1:2014.
Если соответствие IEC 60825-1 зависит от работы блокировки, эта блокировка должна быть отказоустойчивого типа или ее испытывают в течение 30000 циклов работы при условиях по 24.1.4.
A - скатывающаяся дверь; B - горизонтальная распашная дверь;
C - горизонтальная раздвижная дверь; D - вращающаяся дверь;
E - вертикальное откидное окно (горизонтальное движение);
F - горизонтальное откидное окно (вертикальное движение);
G - горизонтально раздвижные ворота
Рисунок 101 - Примеры ведомых частей
Обозначения:

- порог;

- неактивная зона;

- стена
Рисунок 102 - Неактивные области пола
с чувствительными к давлению сенсорами
Приложения части 1 применяют, за исключением следующего.
(обязательное)
ОЦЕНКА ПРОГРАММНОГО ОБЕСПЕЧЕНИЯ
Данное
приложение части 1 применяют, за исключением следующего.
Для других программируемых
электронных схем с функциями, требующими встроенных средств программного обеспечения для контроля за условиями отказа/ошибки, указанными в таблице R.1, определение отказа/ошибки должно произойти в пределах одного цикла работы, если соответствие
разделу 20 нарушается.
Для других программируемых электронных схем программное обеспечение и находящееся под его управлением аппаратное обеспечение, относящееся к безопасности, должно быть запущено и должно осуществить выключение в пределах одного цикла работы, если соответствие
разделу 20 нарушается.
(обязательное)
ПРИВОДЫ ДЛЯ ЭЛЕКТРИЧЕСКИХ ДВЕРЕЙ ДЛЯ ПЕШЕХОДОВ,
ИСПОЛЬЗУЕМЫХ НА ЭВАКУАЦИОННЫХ ПУТЯХ И АВАРИЙНЫХ ВЫХОДАХ
Следующие дополнения к настоящему стандарту применяют для приводов для дверей, используемых на эвакуационных путях и аварийных выходах.
Примечание - Во многих странах дополнительные требования устанавливают национальные органы власти.
7 Маркировка и инструкции
7.7 Если предусмотрены зажимы для присоединения к системе пожарной сигнализации, они должны быть обозначены.
7.12 Инструкции должны включать информацию следующего содержания:
Убедитесь, что управляющие устройства, которые могут включать положение блокировки, активируются, только если в помещении нет других людей.
7.12.1 Инструкции должны включать информацию следующего содержания:
Если система не допускает взлома в направлении эвакуации, приводы должны быть присоединены так, чтобы двери открывались в направлении эвакуации или обеспечивали свободный проход для эвакуации.
Примечание - Раздвижные двери рассматриваются как обеспечивающие свободной проход для эвакуации.
20 Устойчивость и механические опасности
Этот раздел части 1 заменен требованиями и испытаниями, указанными в
приложении CC.
22 Конструкция
22.108 Приводы должны быть сконструированы таким образом, чтобы они не могли быть переведены в режим блокировки, который не даст возможности открыть дверь изнутри, если положение ночной охраны не выбрано при помощи ключа, кодовой системы или аналогичных средств.
Соответствие проверяют осмотром.
22.109 Приводы должны быть сконструированы так, чтобы они приводили в действие аварийные двери или автоматически открывающиеся двери.
Соответствие проверяют осмотром.
22.110 Приводы аварийных дверей должны быть сконструированы так, чтобы расцеплять дверь в случае чрезвычайной ситуации.
Соответствие проверяют следующим испытанием.
Привод устанавливают с дверью и подключают к номинальному напряжению. Усилие 220 Н прикладывают на высоте 1 м +/- 10 мм к переднему краю двери в направлении эвакуации. Дверь должна расцепиться от привода.
22.111 Приводы для автоматически открывающихся дверей должны быть сконструированы так, чтобы двери открывались автоматически, если прерывается подача питания, а система не была преднамеренно приведена в положение охраны.
22.111.1
Привод устанавливают с дверью и подключают к номинальному напряжению, аккумулятор должен быть полностью заряжен. Питание отключают, и дверь должна начать открываться незамедлительно со скоростью не менее 200 мм/с. После этого она должна оставаться открытой.
22.111.2
Привод устанавливают с дверью и подключают к номинальному напряжению, аккумулятор должен быть полностью заряжен. Аккумулятор разряжают со скоростью приблизительно 25% от номинальной емкости в час. Дверь должна начать открываться в течение 4 ч, скорость открывания должна быть не менее 200 мм/с. После этого она должна оставаться открытой.
22.111.3
Привод устанавливают с дверью и подключают к номинальному напряжению. Аккумулятор отсоединяют. Дверь должна начать открываться в течение 30 мин, скорость открывания должна быть не менее 200 мм/с. После этого она должна оставаться открытой.
(обязательное)
20 Устойчивость и механические опасности
Этот
раздел части 1 применяют, за исключением следующего.
Движущиеся части приводов, предназначенные для установки на высоте не менее 2,5 м над землей или другим уровнем доступа, считают расположенными так, что обеспечивается соответствующая защита от травмирования пользователя при нормальной эксплуатации.
Примечание 101 - Ступени и террасы являются примерами уровней доступа. Поверхности, обычно не используемые для стояния на них, такие как подоконники и движущееся оборудование, в частности приставные лестницы, не рассматривают как уровни доступа.
BB.20.101
Приводы для
окон должны работать так, что движение
окна маловероятно могло бы стать причиной травмы.
Соответствие проверяют следующим образом:
- приводы, управляемые выключателем с самовозвратом, - требованием и испытанием по BB.20.104;
- приводы с системой защиты от защемления - требованием и испытаниями по BB.20.107 и BB.20.109.
Другие приводы подлежат следующему испытанию.
Привод устанавливают с окном и включают на самое неблагоприятное напряжение между 0,94 и 1,06 номинального напряжения. Привод настраивают на самую высокую силу открывания и закрывания, если настройка указана в инструкциях.
Привод работает на открытие окна. Скорость переднего края не должна превышать 50 мм/с.
В полностью открытом состоянии зазор между противоположными краями не должен превышать 200 мм, если только движение открытия не управляется системой дымоудаления. Затем привод работает на закрытие окна, и скорость движения переднего края не должна превышать 15 мм/с.
Если привод управляется программируемой электронной схемой, программное обеспечение должно содержать меры по контролю условий отказа/ошибки, указанных в таблице R.1, и оцениваться в соответствии с требованиями приложения R.
BB.20.102 Ручное расцепление или реверсивный привод должны быть легкими в управлении. Работа расцепления не должна привести к возникновению опасности, например отката или неожиданного срабатывания привода.
Привод не должен создавать опасности, когда активировано ручное расцепление.
Работа реверсивного привода, используемого как средство ручного расцепления, не должна привести к возникновению опасности.
Соответствие проверяют следующим испытанием.
Автоматическое действие автоматических приводов отключают.
Привод устанавливают с окном и включают на самое неблагоприятное напряжение между 0,94 и 1,06 номинального напряжения. Привод настраивают на самые высокие усилия открывания и закрывания, если такая регулировка упомянута в инструкциях. Ручное расцепление запускают, когда окно останавливается в каждом крайнем положении, поочередно. Расцепление или реверсивный привод должны иметь возможность сработать с усилием, не превышающим 220 Н, или крутящим моментом, не превышающим 1,6 Нм. Усилие прикладывают, как указано в инструкциях.
Испытание повторяют с отключенным питанием.
Во время активации ручного расцепления подачу питания восстанавливают и привод запускают. Привод не должен двигаться, или, если привод движется, все требования настоящего стандарта должны выполняться.
BB.20.103 Механический отказ привода не должен привести к опасной работе.
Соответствие проверяют осмотром и, если необходимо, испытанием.
При осмотре оценивают, какие части могут влиять на безопасность работы и склонны ли они к поломке или ослаблению. Такими частями могут быть части привода или части, используемые для подсоединения привода к окну.
Примечание - Примерами частей, которые оценивают, являются болты, шпильки, штоки, колеса, цепи и несущие элементы.
Если при осмотре не удается определить, продолжит ли привод работать нормально или остановит движение при поломке детали, проводят следующее испытание.
Привод устанавливают с окном, прилагаемое к приводу усилие настраивают на самое высокое значение в соответствии с инструкциями. Привод включают на самое неблагоприятное напряжение между 0,94 и 1,06 номинального напряжения.
Отказы воспроизводят по одному, привод работает, как при нормальном использовании.
Если привод и окно не продолжают работать нормально, то должны выполняться все следующие условия:
- привод должен остановить работу как минимум в конце цикла движения;
- дальнейшая работа должна быть невозможна;
- скорость окна не должна увеличиться более чем на 20%.
BB.20.104
Приводы, управляемые
выключателем с самовозвратом, должны остановиться, если его приводной элемент расцеплен.
Соответствие проверяют следующим испытанием.
Привод устанавливают с окном и включают на самое неблагоприятное напряжение между 0,94 и 1,06 номинального напряжения. Он работает на закрытие окна.
После расцепления приводного элемента передний край окна должен остановиться в пределах 20 мм.
Испытание повторяют при движении на открытие окна.
Требование к окну остановиться в пределах указанного расстояния применяют, если усилие закрытия, прилагаемое к окну, измеренное по BB.20.107.2, превышает 150 Н.
Если привод управляется программируемой электронной схемой, программное обеспечение должно содержать меры по контролю условия отказа/ошибки, указанные в таблице R.1, и оцениваться в соответствии с требованиями приложения R.
BB.20.105 Во время движения
привода в любом направлении приведение в действие ручного управляющего устройства должно остановить движение, если отсутствует отдельная кнопка для функции останова.
Если привод имеет одну кнопку для управления движением, следующее приведение в действие должно привести к движению в обратном направлении.
Если привод имеет три кнопки для управления движением, то одна кнопка должна быть кнопкой останова.
Эти требования не применяют к управляющим устройствам, влияющим на автоматические режимы работы.
Любая кнопка, которая имеет функцию останова, не должна требовать ключа для остановки привода.
Соответствие проверяют испытанием вручную.
Примечание - Испытание можно проводить без окна.
BB.20.106
Приводы не должны перезапускаться автоматически после того, как движение непреднамеренно остановлено.
Примечание 1 - Непреднамеренная остановка может быть вызвана прерыванием в подаче питания или срабатыванием термовыключателя.
Соответствие проверяют следующими испытаниями.
Привод включают на номинальное напряжение, и он работает в условиях нормальной работы. После этого питание прерывают. После восстановления подачи питания привод не должен перезапуститься автоматически. Однако автоматические приводы могут перезапуститься при условии, что это соответствует работе при нормальной эксплуатации.
Привод запускают снова и имитируют срабатывание термовыключателя. После того как условие отказа удалено, привод не должен перезапуститься автоматически. Однако автоматические приводы могут перезапуститься при условии, что это соответствует работе при нормальной эксплуатации.
Примечание 2 - Испытание можно проводить без окна.
Если привод управляется программируемой электронной схемой, программное обеспечение должно содержать меры контроля условий отказа/ошибки, указанных в таблице R.1, и оцениваться в соответствии с требованиями приложения R.
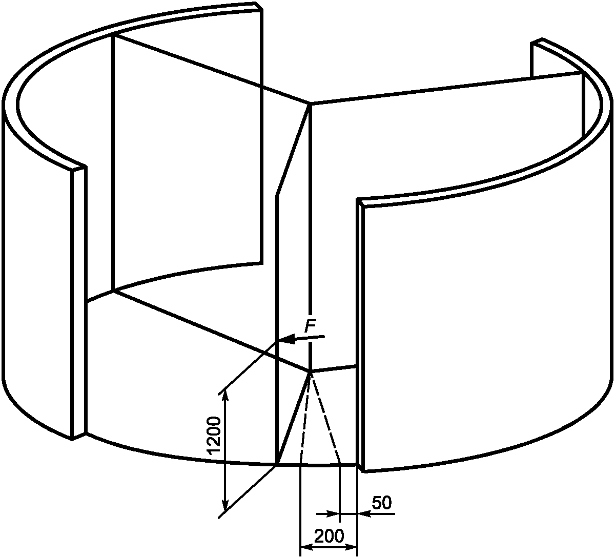
BB.20.107
Система защиты от защемления в приводе для
окон должна снижать вероятность получения пользователем травмы.
Для приводов с системой защиты от защемления с чувствительными элементами, которые препятствуют вхождению окна в контакт с человеком, соответствие проверяют испытанием по BB.20.107.1.
Препятствия, используемые для испытаний, должны быть изготовлены из материалов и окрашены в цвета, обеспечивающие имитацию самых неблагоприятных условий. В случае сомнения препятствия должны быть изготовлены из нестроганой древесины и окрашены в белый цвет.
Для приводов с системой защиты от защемления, которая позволяет окну входить в контакт с человеком, соответствие проверяют испытаниями, указанными в BB.20.107.2.
Примечание 3 - Требования
BB.20.107.1 можно выполнять при одном направлении перемещения окна, а требования
BB.20.107.2 можно выполнять при перемещении в противоположном направлении.
Если привод управляется программируемой электронной схемой, программное обеспечение должно содержать меры по контролю условий отказа/ошибки, указанные в таблице R.1, и оцениваться в соответствии с требованиями приложения R.
BB.20.107.1
Привод устанавливают с окном, усилие, прилагаемое к приводу, настраивают на самое высокое значение в соответствии с инструкциями. Привод включают на самое неблагоприятное напряжение между 0,94 и 1,06 номинального напряжения.
Для горизонтально движущихся окон проводят испытание по BB.20.107.1.1.
Для вертикально движущихся окон проводят испытание по BB.20.107.1.2.
BB.20.107.1.1
Препятствие размерами приблизительно 25 x
100 x
300 мм на трех гранях (по одной в каждом измерении), имеющее отражающие поверхности, полученные с использованием зеркал, шлифованной нержавеющей стали или белой глянцевой краски, и с трех других сторон имеющее неотражающие поверхности, окрашенные черной матовой краской, располагают в любом месте прохода переднего края и в плоскости окна в самом неблагоприятном измерении. Испытания с препятствием проводят с использованием неотражающих и отражающих сторон поочередно.
Привод работает на закрытие окна из полностью открытого положения и из положения с зазором 300 мм. Если окно двигается, оно должно остановиться или начать обратное движение, не контактируя с препятствием.
BB.20.107.1.2
Препятствие размерами приблизительно 25 x
100 x
300 мм располагают на пути движения переднего края стороной 300 мм поперек проема окна.
Привод работает на закрытие окна с высоты 100 мм, 1000 мм и полностью открытого положения окна. Окно не должно двигаться или должно двигаться только в направлении открытия.
BB.20.107.2
Привод устанавливают с окном. Усилие, прилагаемое к приводу, настраивают на самое высокое значение, если оно может настраиваться пользователем при использовании или обслуживании пользователем. В противном случае усилие настраивают в соответствии с инструкциями по установке. Привод включают на самое неблагоприятное напряжение между 0,94 и 1,06 номинального напряжения.
Привод работает на закрытие окна из полностью открытого положения. Усилие между передним краем и противоположной стойкой не должно превышать:
- 150 Н в течение первых 5 с после того, как усилие превысило 25 Н;
- 25 Н в дальнейшем; или
- 400 Н в течение первых 0,75 с после того, как усилие превысило 150 Н;
- 150 Н в ходе дальнейшего периода 4,25 с;
- 25 Н в дальнейшем;
Однако после 0,75 с пики ниже 400 Н допускаются, если:
- они уменьшаются друг за другом, и
- период колебания <= 1 с, и
- среднее усилие, вычисленное за оставшийся период, 4,25 с, <= 150 Н.
Усилие измеряют при помощи инструмента с жесткой пластиной диаметром 80 мм и пружиной с коэффициентом упругости (500 +/- 50) Н/мм. Пружина воздействует на чувствительный элемент, который присоединен к усилителю со временем нарастания и спада не более 5 мс.
Для вертикально движущихся окон усилие измеряют на переднем крае окна, когда размер зазора равен:
- 50 мм;
- 300 мм;
- 500 мм.
Усилие измеряют в следующих местах:
- по центру переднего края;
- 200 мм от каждого конца переднего края, если этот край длиннее, чем 800 мм.
Для горизонтально движущихся окон усилие измеряют на переднем крае окна, когда размер зазора составляет 50 мм и 500 мм, на следующих высотах:
- 50 мм;
- 300 мм от верхней части, для окон высотой от 1,2 до 2,5 м;
- 2500 мм для окон высотой более 2,8 м;
- по центру для окон высотой не более 2,8 м.
BB.20.108 Приводы должны предотвращать неожиданное закрывание вертикально движущихся окон.
Соответствие проверяют следующим испытанием.
Привод включают на самое неблагоприятное напряжение между 0,94 и 1,06 номинального напряжения, но не приводят в движение. Автоматическую работу автоматических приводов отключают. Привод нагружают 1,2-кратной номинальной нагрузкой в течение 30 мин. Если привод поставляется с окном, нагрузку, равную наибольшему усилию, создаваемому окном, прикладывают к нему.
Не должно быть движения, за исключением первоначального удаления люфтов в системе. Если происходит ползущее перемещение в приводе, окно не должно двигаться быстрее 1 мм/с.
Примечания
1 Максимальное усилие определяется с окном, находящимся в самом неблагоприятном положении, питание привода не подключают.
2 Следует отметить, что соответствие 20.108 не снимает все риски, связанные с работой окна. Могут быть необходимы предохранительные устройства от падения или равноценные предохранительные устройства.
Испытание повторяют с отключенным питанием.
Если привод управляется программируемой электронной схемой, программное обеспечение должно содержать меры по контролю условий отказа/ошибки, указанных в таблице R.1, и оцениваться в соответствии с требованиями приложения R.
BB.20.109
Системы защиты от защемления должны обеспечивать надлежащий уровень защиты в случае отказа в проводке сети питания.
Привод устанавливают с окном и включают на номинальное напряжение. Привод работает на закрытие окна. При движении имитируют короткое замыкание или обрыв в проводке сети питания.
Если система не продолжает работать нормально, окно должно прекратить движение в пределах одного цикла работы или движение окна к моменту, когда оно выполнило свое движение, должно управляться только выключателем с самовозвратом.
(обязательное)
ПРИВОДЫ ДЛЯ ДВЕРЕЙ ДЛЯ ПЕШЕХОДОВ
20 Устойчивость и механические опасности
Данный
раздел части 1 применяют, за исключением следующего.
Движущиеся части приводов, предназначенные для установки на высоте не менее 2,5 м над землей или другим уровнем доступа, считаются расположенными так, что обеспечивается надлежащая защита от травмирования пользователя при нормальной эксплуатации.
Примечание 101 - Ступени и веранды служат примерами уровней доступа. Поверхности, обычно не используемые для стояния на них, такие как подоконники, движущееся оборудование, например приставные лестницы, не рассматривают как уровни доступа.
Для горизонтально движущихся дверей для пешеходов движущиеся части, включая соединительные части их приводов, не требуют защиты, если зазор между неподвижными и движущимися частями менее 8 мм или более 25 мм или он находится на высоте не менее 2 м над землей. Это также относится к зазору между частями, которые могут двигаться с различными скоростями.
CC.20.101 Ручное расцепление или реверсивный привод должны быть легкими в управлении. Работа расцепления не должна привести к возникновению опасности, в частности, откату или неожиданному срабатыванию привода.
Привод не должен создавать опасностей, если активировано ручное расцепление.
Работа реверсивного привода, используемого как средство ручного расцепления, не должна привести к возникновению опасности.
Соответствие проверяют следующим испытанием.
Автоматическую работу автоматических приводов отключают.
Привод устанавливают с дверью для пешеходов и включают на самое неблагоприятное напряжение между 0,94 и 1,06 номинального напряжения. Привод регулируют на самые высокие усилия открывания и закрывания, если такая регулировка упомянута в инструкциях. Ручное расцепление запускают, когда дверь для пешеходов останавливается в каждом крайнем положении, поочередно. Расцепление или реверсивный привод должны иметь возможность сработать с усилием, не превышающим 220 Н, или крутящим моментом, не превышающим 1,6 Нм. Усилие прикладывают, как указано в инструкциях.
Испытание повторяют с отсоединенным электропитанием.
Во время активации ручного расцепления подачу питания восстанавливают и привод запускают. Привод не должен двигаться, или, если привод двигается, все требования настоящего стандарта должны выполняться.
CC.20.102 Механический отказ привода не должен привести к опасной работе.
Соответствие проверяют осмотром и, если необходимо, испытанием.
При осмотре оценивают, какие части могут влиять на безопасность работы и склонны ли они к поломке или ослаблению. Такими частями могут быть части привода или части, используемые для присоединения привода к двери для пешеходов.
Примечание - Примерами частей, которые оценивают, являются болты, шпильки, штоки, колеса, цепи и несущие элементы.
Если при осмотре не удается определить, продолжит ли привод работать нормально или остановит движение при поломке детали, проводят следующее испытание.
Привод устанавливают с дверью для пешеходов, прилагаемое к приводу усилие настраивают на самое высокое значение в соответствии с инструкциями. Привод включают на самое неблагоприятное напряжение между 0,94 и 1,06 номинального напряжения.
Отказы воспроизводят по одному, привод работает, как при нормальной эксплуатации.
Если привод и дверь для пешеходов не продолжают работать нормально, все следующие условия должны выполняться:
- привод должен остановить работу как минимум в конце цикла движения;
- дальнейшая работа должна быть невозможна;
- скорость двери для пешеходов не должна увеличиться более чем на 20%.
CC.20.103 Во время движения
привода в любом направлении приведение в действие ручного управляющего устройства должно остановить движение, если отсутствует отдельная кнопка для функции останова.
Если привод имеет одну кнопку для управления движением, следующее приведение в действие должно привести к движению в обратном направлении.
Если привод имеет три кнопки для управления движением, одна кнопка должна быть кнопкой останова.
Эти требования не применяют к управляющим устройствам, влияющим на автоматические режимы работы.
Любая кнопка, которая имеет функцию останова, не должна требовать ключа для остановки привода.
Соответствие проверяют испытанием вручную.
CC.20.104
Приводы не должны перезапускаться автоматически после того, как движение непреднамеренно остановлено.
Примечание 1 - Непреднамеренная остановка может быть вызвана прерыванием в подаче питания или срабатыванием термовыключателя.
Соответствие проверяют следующими испытаниями.
Привод включают на номинальное напряжение, и он работает в условиях нормальной работы. После этого питание прерывают. После восстановления подачи питания привод не должен перезапуститься автоматически. Однако автоматические приводы могут перезапуститься при условии, что это соответствует работе при нормальной эксплуатации.
Привод запускают снова и имитируют срабатывание термовыключателя. После того как условие отказа удалено, привод не должен перезапуститься автоматически. Однако автоматические приводы могут перезапуститься при условии, что это соответствует работе при нормальной эксплуатации.
Примечание 2 - Испытание можно проводить без двери для пешеходов.
Если привод управляется программируемой электронной схемой, программное обеспечение должно содержать меры контроля условий отказа/ошибки, указанных в таблице R.1, и оцениваться в соответствии с соответствующими требованиями приложения R.
CC.20.105
Приводы должны иметь
систему защиты от защемления, которая снижает риск травмирования во время движется двери для пешеходов, или должны иметь регулировку энергии движения двери для пешеходов.
Примечание - Требования
CC.20.105.1 можно выполнять при одном направлении перемещения двери для пешеходов, а требования
CC.20.105.2 можно выполнять при перемещении в противоположном направлении.
Для приводов с системой защиты от защемления, которая позволяет окну входить в контакт с человеком, соответствие проверяют испытаниями, указанными в CC.20.105.2.
Если привод управляется программируемой электронной схемой, программное обеспечение должно содержать меры по контролю условий отказа/ошибки, указанных в таблице R.1, и оцениваться в соответствии с требованиями приложения R.
CC.20.105.1
Для приводов с системой защиты от защемления с чувствительными элементами, которые предотвращают контакт двери для пешеходов с человеком, соответствие проверяют следующими испытаниями.
Привод устанавливают с дверью для пешеходов, усилие, прилагаемое к приводу, настраивают на самое высокое значение в соответствии с инструкциями. Привод включают на самое неблагоприятное напряжение между 0,94 и 1,06 номинального напряжения.
Для чувствительных элементов, кроме чувствительных к давлению контактных зон, применяют испытание, указанное в CC.20.105.1.1.
Для чувствительных элементов с чувствительными к давлению контактными зонами применяют испытание, указанное в CC.20.105.1.2.
Двери для пешеходов с системой защиты от защемления с чувствительными элементами, непрерывно адаптирующимися к окружающим изменениям, должны обнаруживать стационарное препятствие в течение как минимум 30 с.
CC.20.105.1.1
Эталонные тела для испытаний должны соответствовать приведенным в приложении FF.
Для горизонтально движущихся дверей для пешеходов привод работает на открытие или закрытие двери. Для приводов для горизонтально движущихся дверей для пешеходов, кроме вращающихся дверей, испытания проводят с использованием эталонного тела, расположенного в плоскости движения двери для пешеходов, как изображено на рисунках с EE.1 по EE.5 приложения EE.
Эталонное тело CA должно обнаруживаться во всех положениях по площади перемещения полотен дверного блока.
Для приводов для вращающихся дверей испытания проводят в соответствии с приложением GG с использованием эталонного тела, расположенного, как изображено на рисунках с EE.6 по EE.8 приложения EE.
CC.20.105.1.2
Если система защиты от защемления имеет чувствительные к давлению контактные зоны на полу, используют груз массой (15 +/- 0,5) кг диаметром приблизительно 60 мм.
Следующие неактивные поверхности контактных зон на полу исключены из данного требования:
- крайние 38 мм по каждой стороне ширины проема двери для пешеходов;
- 60 мм вдоль соединений контактных зон на полу, вплотную соединенных друг с другом, с наибольшим измерением, перпендикулярным проему двери для пешеходов;
- 90 мм вдоль соединений контактных зон на полу, вплотную соединенных друг с другом, с наибольшим измерением, параллельным проему двери для пешеходов;
- 150 мм поперек соединений контактных зон на полу, примыкающих к порогу.
Примечание - Неактивные зоны пола с чувствительными к давлению контактными зонами показаны на
рисунке 102.
CC.20.105.2
Системы защиты от защемления, которые допускают контакт двери для пешеходов с человеком, следует использовать только для снижения риска травмирования для:
- движения открытия раздвижной двери с полотном(ами), движущейся вдоль плоской части, с расстоянием между передней поверхностью полотна и закрепленного бокового экрана или стены более 100 мм и менее или равным 150 мм;
- движения открытия и закрытия сбалансированной двери;
- движения открытия складывающейся двери;
- движения закрытия складывающейся двери только в комбинации с системой защиты от защемления с чувствительными элементами, которые не дают двери для пешеходов войти в контакт с человеком, установленными на наружной стороне двери;
- для движения вращающихся дверей с окружной скоростью, не превышающей 1000 мм/с для двери диаметром до 3000 мм и не превышающей 750 мм/с для двери диаметром более 3000 мм.
Для приводов с системой защиты от защемления, которая позволяет двери для пешеходов войти в контакт с человеком, соответствие проверяют следующими испытаниями.
Привод устанавливают с дверью для пешеходов. Усилие, прилагаемое к приводу, настраивают на самое высокое значение, если усилие может настраиваться пользователем при использовании или обслуживании пользователем. В противном случае усилие настраивают в соответствии с инструкциями по установке. Привод включают на самое неблагоприятное напряжение между 0,94 и 1,06 номинального напряжения.
Привод работает на закрытие и открытие двери для пешеходов с полностью открытого и полностью закрытого положений. Усилия между передним краем и стойкой, противоположной краям, не должны превышать значений, указанных в приложении HH, при измерении в точках (F) в соответствии с приложением II.
Усилие измеряют при помощи инструмента с жесткой пластиной диаметром 80 мм и пружиной с коэффициентом упругости (500 +/- 50) Н/мм. Пружина воздействует на чувствительный элемент, который присоединен к усилителю со временем нарастания и спада не более 5 мс.
CC.20.105.3
Приводы с настройкой управления энергией движения двери для пешеходов должны соответствовать приложению JJ или приложению LL.
Приводы с настройкой управления энергией движения двери для пешеходов следует использовать только для снижения риска травмирования для:
- движения открытия и закрытия раздвижной двери, если движение соответствует приложению JJ;
- движения открытия и закрытия распашной двери, если движение соответствует приложению JJ;
- движения открытия и закрытия вращающейся двери, если движение соответствует приложению JJ;
- движения открытия распашной двери, если движение соответствует приложению LL и предусмотрены достаточные безопасные расстояния (см. рисунок CC.1);
- движения закрытия распашной двери, если движение соответствует приложению LL.
S - безопасное расстояние
Рисунок CC.1 - Безопасные расстояния
для движения открытия распашной двери
CC.20.106
Системы защиты от защемления должны обеспечивать надлежащий уровень защиты в случае отказа в проводке сети питания.
Соответствие проверяют следующим испытанием.
Привод устанавливают с дверью для пешеходов и включают на номинальное напряжение. Привод работает на закрытие двери для пешеходов. При движении имитируют короткое замыкание или обрыв в проводке сети питания.
Если система не продолжает работать нормально, дверь для пешеходов должна прекратить движение в пределах одного цикла работы или движение двери для пешеходов к моменту, когда она выполнила свое движение, должно управляться только выключателем с самовозвратом.
Испытание повторяют при движении открытия двери для пешеходов.
Если привод управляется программируемой электронной схемой, программное обеспечение должно содержать меры по контролю условий отказа/ошибки, указанных в таблице R.1, и оцениваться в соответствии с требованиями приложения R.
(обязательное)
ПРИВОДЫ ДЛЯ ГОРИЗОНТАЛЬНО И ВЕРТИКАЛЬНО
ДВИГАЮЩИХСЯ ДВЕРЕЙ И ВОРОТ
20 Устойчивость и механические опасности
Данный
раздел части 1 применяют, за исключением следующего.
Движущиеся части приводов, предназначенные для установки на высоте не менее 2,5 м над землей или другим уровнем доступа, считаются расположенными так, что обеспечивается надлежащая защита от травмирования пользователя при нормальной эксплуатации.
Примечание 101 - Ступени и веранды служат примерами уровней доступа. Поверхности, обычно не используемые для стояния на них, такие как подоконники, движущееся оборудование, например приставные лестницы, не рассматривают как уровни доступа.
DD.20.101 Приводы должны предотвращать неожиданное закрывание вертикально движущихся ведомых частей.
Соответствие проверяют следующим испытанием.
Привод включают на самое неблагоприятное напряжение между 0,94 и 1,06 номинального напряжения, но не приводят в движение. Автоматическую работу автоматических приводов отключают. Нагрузку, равную 1,2 номинальной нагрузки, прилагают в течение 30 мин. Если привод снабжен ведомой частью, нагрузку, равную самому большому усилию, оказываемому на него, прилагают к ведомой части.
Не должно быть движения, за исключением первоначального удаления люфтов в системе.
Примечание 1 - Максимальное усилие определяют с ведомой частью, находящейся в самом неблагоприятном положении, питание привода не подключают.
Испытание повторяют с отключенным питанием.
Если привод управляется программируемой электронной схемой, программное обеспечение должно содержать меры по контролю условий отказа/ошибки, указанных в таблице R.1, и оцениваться в соответствии с требованиями приложения R.
DD.20.102 Ручное расцепление или реверсивный привод должны быть легкими в управлении. Работа расцепления не должна привести к возникновению опасности, например, отката или неожиданного срабатывания привода.
Привод не должен создавать опасности, когда активировано ручное расцепление.
Работа реверсивного привода, используемого как средство ручного расцепления, не должна привести к возникновению опасности.
Соответствие проверяют следующим испытанием.
Автоматическое действие автоматических приводов отключают.
Привод устанавливают с ведомой частью и включают на самое неблагоприятное напряжение между 0,94 и 1,06 номинального напряжения. Привод настраивают на самые высокие усилия открывания и закрывания, если такая регулировка упомянута в инструкциях. Ручное расцепление запускают, когда окно останавливается в каждом крайнем положении, поочередно. Расцепление или реверсивный привод должны иметь возможность сработать с усилием, не превышающим 220 Н, или крутящим моментом, не превышающим 1,6 Нм. Усилие прикладывают, как указано в инструкциях.
Испытание повторяют с отключенным питанием.
Во время активации ручного расцепления подачу питания восстанавливают и привод запускают. Привод не должен двигаться, или, если привод двигается, все требования настоящего стандарта должны выполняться.
DD.20.103 Механический отказ привода не должен привести к опасной работе.
Соответствие проверяют осмотром и, если необходимо, испытанием.
Приводы для вертикально сбалансированных ведомых частей не испытывают.
Примечание 1 - Вертикально сбалансированные ведомые части могут использовать пружины, противовесы или прочие средства для удержания массы ведомой части.
При осмотре оценивают, какие части могут влиять на безопасность работы и склонны ли они к поломке или ослаблению. Такими частями могут быть части привода или части, используемые для присоединения привода к ведомой части.
Примечание 2 - Примерами частей, которые оценивают, являются болты, шпильки, штоки, колеса, цепи и несущие элементы.
Если при осмотре не удается определить, продолжит ли привод работать нормально или остановит движение при поломке детали, проводят следующее испытание.
Привод устанавливают с ведомой частью, прилагаемое к приводу усилие настраивают на самое высокое значение в соответствии с инструкциями. Привод включают на самое неблагоприятное напряжение между 0,94 и 1,06 номинального напряжения.
Отказы воспроизводят по одному, привод работает, как при нормальной эксплуатации.
Если привод и ведомая часть не продолжают работать нормально, все следующие условия должны выполняться:
- привод должен остановить работу как минимум в конце цикла движения;
- дальнейшая работа должна быть невозможна;
- скорость двери для пешеходов не должна увеличиться более чем на 20% или она должна остановиться в пределах 300 мм.
Примечание 3 - Для вертикально движущихся дверей предохранительные устройства от падения или равноценные предохранительные устройства могут быть необходимы.
DD.20.104
Приводы, управляемые
выключателем с самовозвратом, должны остановиться, если приводной элемент расцеплен.
Соответствие проверяют следующим испытанием.
Привод устанавливают с ведомой частью и включают на самое неблагоприятное напряжение между 0,94 и 1,06 номинального напряжения. Он работает на закрытие ведомой части.
После расцепления приводного элемента передний край ведомой части должен остановиться в пределах расстояния:
- для двери или ворот, кроме распашных, 50 мм, если просвет открытия не превышает 500 мм, за исключением горизонтально распашных ведомых частей, которые должны остановиться в пределах 100 мм;
- для распашных двери или ворот 100 мм, если просвет открытия не превышает 500 мм;
- для двери или ворот любого типа 100 мм, если просвет открытия превышает 500 мм. Испытание повторяют при движении открытия приводной части.
Требование для приводной части остановиться в пределах указанного расстояния применяется, только если усилие закрытия, оказываемое на приводную часть, измеренное по DD.20.107.2.1, превышает 150 Н.
Если привод управляется программируемой электронной схемой, программное обеспечение должно содержать меры по контролю условий отказа/ошибки, указанных в таблице R.1, и оцениваться в соответствии с требованиями приложения R.
DD.20.105 Во время движения
привода в любом направлении приведение в действие ручного управляющего устройства должно остановить движение, если отсутствует отдельная кнопка для функции останова.
Если привод имеет одну кнопку для управления движением, следующее приведение в действие должно привести к движению в обратном направлении.
Если привод имеет три кнопки для управления движением, одна кнопка должна быть кнопкой останова.
Эти требования не применяют к управляющим устройствам, влияющим на автоматические режимы работы.
Любая кнопка, которая имеет функцию останова, не должна требовать ключа для остановки привода.
Соответствие проверяют испытанием вручную.
Примечание - Испытание можно проводить без ведомой части.
Если привод управляется программируемой электронной схемой, программное обеспечение должно содержать меры по контролю условий отказа/ошибки, указанных в таблице R.1, и оцениваться в соответствии с требованиями приложения R.
DD.20.106
Приводы не должны перезапускаться автоматически после того, как движение непреднамеренно остановлено.
Примечание 1 - Непреднамеренная остановка может быть вызвана прерыванием в подаче питания или срабатыванием термовыключателя.
Соответствие проверяют следующими испытаниями.
Привод включают на номинальное напряжение, и он работает в условиях нормальной работы. После этого питание прерывают. После восстановления подачи питания привод не должен перезапуститься автоматически. Однако автоматические приводы могут перезапуститься при условии, что это соответствует работе при нормальной эксплуатации.
Привод запускают снова и имитируют срабатывание термовыключателя. После того как условие отказа удалено, привод не должен перезапуститься автоматически. Однако автоматические приводы могут перезапуститься при условии, что это соответствует работе при нормальной эксплуатации.
Примечание 2 - Испытание можно проводить без ведомой части.
DD.20.107
Приводы без управления
выключателем с самовозвратом должны иметь
систему защиты от защемления, которая снижает риск травмирования при движении
ведомой части.
Если привод управляется программируемой электронной схемой, программное обеспечение должно содержать меры по контролю условий отказа/ошибки, указанных в таблице R.1, и оцениваться в соответствии с требованиями приложения R.
Для приводов с системой защиты от защемления, которая препятствует вхождению ведомой части в контакт с человеком, соответствие проверяют испытаниями, указанными в DD.20.107.1.
Для приводов с системой защиты от защемления, которая позволяет ведомой части входить в контакт с человеком, соответствие проверяют испытаниями, указанными в DD.20.107.2.
Для приводов с системой защиты от защемления с бесконтактным сенсорным устройством, которое движется вместе с передним краем ведомой части, соответствие проверяют испытаниями, указанными в DD.20.107.2.
Примечание - Требования
DD.20.107.1 можно выполнять при одном направлении перемещения
ведомой части, а требования
DD.20.107.2 можно выполнять при перемещении в противоположном направлении.
DD.20.107.1
Привод устанавливают с ведомой частью, усилие, прилагаемое к приводу, настраивают на самое высокое значение в соответствии с инструкциями. Привод включают на самое неблагоприятное напряжение между 0,94 и 1,06 номинального напряжения.
Если чувствительные элементы не являются чувствительными к давлению контактными зонами, применяют испытания, указанные в DD.20.107.1.1 - DD.20.107.1.3.
Если чувствительные элементы являются чувствительными к давлению контактными зонами, применяется испытание, указанное в DD.20.107.1.4.
DD.20.107.1.1
Препятствие размерами приблизительно 200 мм x
300 мм x
700 мм на трех гранях (по одной в каждом измерении), имеющее отражающие поверхности, полученные с использованием зеркал, шлифованной нержавеющей стали или белой глянцевой краски, и с трех других сторон имеющее неотражающие поверхности, окрашенные черной матовой краской, располагают на земле в любом месте прохода переднего края и в плоскости ведомой части в самом неблагоприятном измерении. Испытания с препятствием проводят с использованием неотражающих и отражающих сторон поочередно.
Примечание - Передний край - это край ведомой части в направлении перемещения, как открывания, так и закрывания.
Для горизонтально движущихся ведомых частей привод работает на открытие или закрытие ведомой части. Если ведомая часть двигается, она должна остановиться или сменить направление движения, не входя в контакт с препятствием.
Затем препятствие размещают с измерением 700 мм, расположенным вертикально и приподнятым над землей в наихудшее положение между землей и высотой, на 300 мм ниже высоты ведомой части или 2500 мм, в зависимости от того, что ниже.
Привод работает на закрытие ведомой части. Если ведомая часть двигается, она должна остановиться или изменить направление движения, не входя в контакт с препятствием.
DD.20.107.1.2
Для вертикально движущихся ведомых частей препятствие, использованное в DD.20.107.1.1, располагают на земле в любом месте прохода переднего края стороной 300 мм поперек просвета открытия ведомой части.
Для вертикально движущихся ведомых частей привод работает на закрытие ведомой части с высот 100 мм, 1000 мм и полностью открытого положения ведомой части. Ведомая часть не должна двигаться или должна двигаться только в направлении открытия.
DD.20.107.1.3
Для горизонтально и вертикально движущихся ведомых частей препятствие, использованное в DD.20.107.1.1, располагают стороной 700 мм вертикально и перемещают со скоростью (3 +/- 0,6) м/с.
Для и горизонтально, и вертикально движущихся ведомых частей препятствие перемещают по прямой линии в плоскости открытия ведомой части под самым неблагоприятным углом.
Привод работает на закрытие ведомой части. Ведомая часть должна остановиться или сменить направление движения, не входя в контакт с препятствием.
DD.20.107.1.4
Если система защиты от защемления имеет чувствительные к давлению контактные зоны на полу, вместо деревянного препятствия используют груз массой (15 +/- 0,5) кг, диаметром приблизительно 60 мм.
Груз располагают на пути ведомой части, привод приводят в движение, ведомая часть должна остановиться или сменить направление движения до контакта с грузом.
Следующие неактивные поверхности контактных зон на полу исключены из настоящего требования:
- крайние 38 мм по каждой стороне ширины проема ведомой части;
- 60 мм вдоль соединений контактных зон на полу, вплотную соединенных друг с другом с наибольшим измерением, перпендикулярным проему ведомой части;
- 90 мм вдоль соединений контактных зон на полу, вплотную соединенных друг с другом с наибольшим измерением, параллельным проему ведомой части;
- 150 мм поперек соединений контактных зон на полу, примыкающих к порогу.
Примечание - Неактивные зоны пола с чувствительными к давлению контактными зонами показаны на
рисунке 102.
DD.20.107.2
Привод устанавливают с ведомой частью. Усилие, прилагаемое к приводу, настраивают на самое высокое значение, если усилие может настраиваться пользователем при использовании или обслуживании пользователем. В противном случае усилие настраивают в соответствии с инструкциями по установке. Привод включают на самое неблагоприятное напряжение между 0,94 и 1,06 номинального напряжения.
| | ИС МЕГАНОРМ: примечание. В официальном тексте документа, видимо, допущена опечатка: имеется в виду пункт DD.20.107.2.2, а не пункт BB.20.107.2.2. | |
- если привод предназначен для использования с вертикально движущимися ведомыми частями, с отверстиями, в которые можно вставить цилиндр диаметром 50 мм, применяют испытание по BB.20.107.2.2 для движения открытия;
- для автоматических приводов применяют испытание по DD.20.107.2.3.
DD.20.107.2.1
Привод работает на закрытие и открытие ведомой части из полностью открытого и полностью закрытого положений. Усилие между передним краем и стойкой, противоположной краям, не должно превышать:
- 150 Н в течение первых 5 с после того, как усилие превысило 25 Н;
- 25 Н в дальнейшем;
или
- 400 Н в течение первых 0,75 с после того, как усилие превысило 150 Н;
- 150 Н в течение дальнейшего периода 4,25 с;
- 25 Н в дальнейшем;
или для вертикально движущихся ведомых частей, используемых как ворота;
- 600 Н в течение первых 2 с после того, как усилие превысило 150 Н для ведомых частей, которые не отклоняются наружу и соответствуют DD.20.107.2.3;
- 400 Н в течение первых 2 с после того, как усилие превысило 150 Н для ведомых частей, которые распахиваются наружу,
- 150 Н в течение дальнейшего периода 3 с;
- 25 Н в дальнейшем.
Однако после 0,75 с пики менее 400 Н допускаются, если
- они уменьшаются друг за другом, и
- период колебания <= 1 с, и
- среднее усилие, рассчитанное за оставшийся период 4,25 с, <= 150 Н.
Усилие измеряют при помощи инструмента с жесткой пластиной диаметром 80 мм и пружиной с коэффициентом упругости (500 +/- 50) Н/мм. Пружина воздействует на чувствительный элемент, который присоединен к усилителю со временем нарастания и спада не более 5 мс.
Для вертикально движущихся ведомых частей значения применяют к вертикальной составляющей усилий закрытия и открытия и между стойкой, противоположной краю движущихся частей.
Для вертикально движущихся ведомых частей усилие измеряют по переднему краю ведомой части, когда размер зазора составляет
- 50 мм;
- 300 мм;
- 500 мм;
- 2500 мм или на 300 мм ниже максимального значения, если это меньше.
Для вертикально движущихся ведомых частей усилие измеряют в следующих местах:
- по центру переднего края;
- 200 мм от каждого конца переднего края, если длина края больше 800 мм.
Для горизонтально движущихся ведомых частей усилие измеряют на переднем крае ведомой части, на следующих высотах, когда размер зазора составляет 50 мм и 500 мм:
- 50 мм;
- 300 мм от верхней части, для ведомых частей высотой между 1,2 м и 2,5 м;
- 2500 мм для ведомых частей высотой более 2,8 м;
- по центру для ведомых частей высотой не более 2,8 м.
DD.20.107.2.2
Приводы, предназначенные для использования с вертикально движущимися ведомыми частями, имеющими отверстия, в которые можно вставить цилиндр диаметром 50 мм, испытывают на открытие с ведомой частью, нагруженной массой (20 +/- 0,5) кг. Груз, имеющий размеры приблизительно 200 x
200 x
200 мм, крепят к ведомой части в самом неблагоприятном месте одним краем, примыкающим к нижнему краю ведомой части.
Привод работает на открытие ведомой части. Если нижний край ведомой части передвигается более чем на 500 мм, движение ведомой части должно остановиться перед тем, как испытательная деталь войдет в контакт с рамой.
DD.20.107.2.3 Препятствие, описанное в DD.20.107.1.1, за исключением размеров, которые составляют приблизительно 80 x
300 мм, высотой 100 мм, располагают на земле по центру, стороной 300 мм поперек плоскости проема ведомой части. Привод работает на закрытие ведомой части с просветов открытия 100 мм, 1000 мм и полностью открытого положения ведомой части. Ведомая часть не должна двигаться или должна двигаться только в направлении открытия. Испытания с этим препятствием выполняют с использованием неотражающих и отражающих сторон по очереди.
Испытание повторяют из положения полного открытия с препятствием, расположенным в 100 мм от каждого конца проема ведомой части, по очереди.
Цилиндрическое препятствие, имеющее диаметр 50 мм и длину 850 мм, подвешивают за один конец на высоте 900 мм над землей и по центру проема ведомой части.
Привод работает на закрытие ведомой части, и цилиндр качают поперек проема ведомой части от угла 45°. Система защиты от защемления должна заставить ведомую часть изменить направление движения на противоположное.
DD.20.108
Системы защиты от защемления должны обеспечивать надлежащий уровень защиты в случае отказа в проводке сети питания.
Соответствие проверяют следующим испытанием, если система защиты от защемления не является выключателем с самовозвратом.
Привод устанавливают с окном и включают на номинальное напряжение. Привод работает на закрытие окна. При движении имитируют короткое замыкание или обрыв в проводке сети питания.
Если система не продолжает работать нормально, окно должно прекратить движение в пределах одного цикла работы, или движение окна к моменту, когда оно выполнило свое движение, должно управляться только выключателем с самовозвратом.
Испытание повторяется в ходе движения открытия приводной части.
Если привод управляется программируемой электронной схемой, программное обеспечение должно содержать меры по контролю условий отказа/ошибки, указанных в таблице R.1, и оцениваться в соответствии с требованиями приложения R.
(обязательное)
ТОЧКА ИЗМЕРЕНИЯ ДЛЯ УСТРОЙСТВ ЗАЩИТЫ
ГОРИЗОНТАЛЬНО ДВИЖУЩИХСЯ ДВЕРЕЙ ДЛЯ ПЕШЕХОДОВ
Рисунок EE.1 - Одностворчатый раздвижной дверной блок
Рисунок EE.2 - Двустворчатый раздвижной дверной блок
Рисунок EE.3 - Одностворчатый распашной дверной блок
Рисунок EE.4 - Двустворчатый распашной дверной блок
Рисунок EE.5 - Складывающийся дверной блок
a - осевая точка для дверных блоков с секционной системой;
b - испытание 1 (с CA) для диаметров дверных блоков более
чем 3000 мм; c - испытание 2 (с CA) для всех диаметров
дверных блоков (см. также
раздел GG.1 в приложении GG);
X - защищаемая зона
a) Положения эталонного тела для испытания 1 и испытания 2
d - испытание 3 (с CB) по центру полотна дверного блока
b) Положение эталонного тела для испытания 3
e - испытание 4 (в комбинации с CB и CA) для всех диаметров
дверных блоков, по центру полотна дверного блока
c) Положение эталонного тела для испытания 4
f - испытание 5 (с CB) для всех диаметров дверных блоков
d) Положение эталонного тела для испытания 5
Рисунок EE.6 - Вращающиеся дверные блоки, два полотна
a - осевая точка для дверных блоков с секционной системой;
b - испытание 1 (с CA) для диаметров дверных блоков более
c - испытание 2 (с CA) для всех диаметров дверных блоков
(см. также
раздел GG.1 в приложении GG);
X - защищаемая зона
a) Положения эталонного тела для испытания 1 и испытания 2
d - испытание 3 (с CB) по центру полотна дверного блока
b) Положение эталонного тела для испытания 3
e - испытание 4 (в комбинации с CB и CA) для всех диаметров
дверных блоков, по центру полотна дверного блока
c) Положение эталонного тела для испытания 4
f - испытание 5 (с CB) для всех диаметров дверных блоков
d) Положение эталонного тела для испытания 5
Рисунок EE.7 - Вращающиеся дверные блоки, три полотна
a - осевая точка для дверных блоков с секционной системой;
b - испытание 1 (с CA) для диаметров дверных блоков более
чем 3000 мм; c - испытание 2 (с CA) для всех диаметров
дверных блоков (см. также
раздел GG.1 в приложении GG);
X - защищаемая зона
a) Положения эталонного тела для испытания 1 и испытания 2
d - испытание 3 (с CB) по центру полотна дверного блока
b) Положение эталонного тела для испытания 3
e - испытание 4 (в комбинации с CB и CA) для всех диаметров
дверных блоков, по центру полотна дверного блока
c) Положение эталонного тела для испытания 4
f - испытание 5 (с CB) для всех диаметров дверных блоков
d) Положение эталонного тела для испытания 5
Рисунок EE.8 - Вращающиеся дверные блоки, четыре полотна
(обязательное)
Приложение FF применяют к чувствительным элементам системы защиты от защемления, основанным на активных оптоэлектронных защитных приборах, чувствительных к рассеянному отражению (АОЗПРО), использующих длину волны излучения в диапазоне от 820 до 946 нм. Для чувствительных элементов, использующих другие технологии, настоящее приложение может быть использовано как руководство.
Система защиты от защемления всегда испытывают на полной мощности, которая приводит в движение сборку дверного блока.
Эталонным телом CA (см.
рисунок FF.1a) является ящик размерами 0,7 x 0,3 x 0,2 м. Верхняя сторона, и две смежные стороны изготавливают из материала со значением рассеянного отражения в диапазоне от 2% до 5% от длины волны трансмиттера
система защиты от защемления (например, антистатический пенопласт IC; см. рисунок 3 IEC 61496-3:2008 в качестве дополнительных материалов), в то время как остальные две стороны изготавливают из материала со значением рассеянного отражения в диапазоне от 80% до 90% длины волны трансмиттера
системы защиты от защемления (например, белая бумага). Основание эталонного тела не определено, поскольку оно не служит целям испытания.
Эталонное тело CB (см. рисунок FF.1b) изготавливают из черного матового эластомера с твердостью по Шору A (70 +/- 5) и значением рассеянного отражения в диапазоне от 10% до 90% от длины волны трансмиттера системы защиты от защемления.
Рисунок FF.1 - Эталонные тела
Эталонное тело должно быть обнаружено, и затем дверной блок должен или остановиться перед тем, как он коснется эталонного тела, или дать обратный ход, или переключиться на движение на малой скорости, как описано в документации на изделие.
Системы защиты от защемления, которые не перемещаются вместе с полотном(ами) дверного блока, следует испытывать с использованием всех сторон эталонного тела CA.
(обязательное)
МЕТОД ИСПЫТАНИЯ ПРИВОДОВ СИСТЕМЫ
ЗАЩИТЫ ОТ ЗАЩЕМЛЕНИЯ ВРАЩАЮЩИХСЯ ДВЕРЕЙ
GG.1 Основной закрывающий край/противоположный закрывающий край - нет защиты от контакта
Если источник опасности между основным закрывающим краем и противоположным закрывающим краем защищен
системой защиты от защемления, не допускающей контакта с дверным блоком, ее испытывают с использованием эталонного тела CA (см.
приложение FF). Эталонное тело CA должно быть расположено рядом с противоположным закрывающим краем и не должно касаться полотна дверного блока (см. испытание 2 на
рисунках EE.6a,
EE.7a и
EE.8a).
Для дверных блоков с диаметрами более чем 3000 мм эталонное тело CA должно быть дополнительно расположено рядом с краем движущегося полотна дверного блока и не должно касаться самого полотна дверного блока (см. испытание 1 на
рисунках EE.6a,
EE.7a и
EE.8a).
GG.2 Основной закрывающий край/противоположный закрывающий край - есть защита от контакта
Если источник опасности между основным закрывающим краем и противоположным закрывающим краем защищен устройством или комбинацией устройств, допускающих контакт с дверным блоком, их испытывают путем измерения усилия в соответствии с
приложением HH при ширине открытия, указанной на
рисунках II.4 или
II.5, или
II.6. Если электрочувствительное защитное оборудование (ЭЧЗО) используется для снижения скорости, испытание выполняют на скорости, полученной после активации ЭЧЗО.
GG.3 Дополнительный закрывающий край/пол
Систему защиты от защемления, защищающую от опасности между дополнительным закрывающим краем и полом испытывают с использованием эталонного тела CB.
Эталонное тело CB располагают на полу так, чтобы оно не могло быть сдвинуто. Дверной блок должен остановиться до полного прохождения над эталонным телом или касания эталонного тела полотном дверного блока в наклонной части. Контакт с гибкими частями защитного оборудования допускается (см. испытание 3 на
рисунках EE.6c,
EE.7c и
EE.8c). Если
систему защиты от защемления используют для снижения скорости, испытание выполняют с комбинацией эталонных объектов CB и CA (см. испытание 4 на
рисунках EE.6d,
EE.7d и
EE.8d).
Испытание не требуется проводить, если безопасность обеспечивается безопасными расстояниями.
GG.4 Основной закрывающий край/внутренняя стена
Система защиты от защемления, защищая от источника опасности между основным закрывающим краем и внутренней стеной должна быть испытана с эталонным телом CB.
Эталонное тело располагают на высоте 1200 мм над полом на цилиндрической стене как показано для испытания 5 на
рисунках EE.6d,
EE.7d и
EE.8d. Во время испытания эталонный объект не должен войти в контакт с полотном дверного блока. Контакт с гибкими частями защитного оборудования допускается.
(обязательное)
ОГРАНИЧЕНИЕ СИЛ УДАРА ДВЕРЕЙ ДЛЯ ПЕШЕХОДОВ
HH.1 Допустимые динамические силы
Значения динамической силы, создаваемой полотном дверного блока при воздействии на человека или препятствие, следует рассматривать как безопасные, если ограничения, указанные в таблице HH.1, не превышены, при измерении в соответствии с
приложением II измерительными приборами, соответствующими
разделу HH.3 или
HH.4.
Таблица HH.1
Допустимые динамические силы
Тип дверного блока | Допустимые динамические силы | Точки измерения |
Между закрывающими краями и противоположными закрывающими краями с зазорами <a> |
< 200 мм | от 200 мм до 500 мм | > 500 мм |
Раздвижной дверной блок и раздвижной/распашной (сбалансированный) дверной блок | 400 Н | 700 Н | 1 400 Н | |
Складывающийся дверной блок | 400 Н | 700 Н | 1 400 Н | |
Вращающийся дверной блок | 400 Н | 700 Н | 1 400 Н | |
Плоские поверхности - это поверхности, кроме закрывающих краев, > 0,1 м2, и не имеющие сторон < 100 мм. Вышеуказанные значения должны быть максимально допустимыми с максимальным периодом времени 0,75 с (Td < 0,75 с). |
<a> Противоположный закрывающий край может также быть вторым основным закрывающим краем или плоскими поверхностями вокруг открывающегося дверного блока. |
Измеренные усилия полотна не должны превышать параметров, показанных на рисунке HH.1.
Fd - максимальное усилие, измеренное во время динамического
периода
Td (динамическое усилие) - см. в
таблице 1
допустимые значения; Td - период времени макс. 0,75 с,
начиная от первого измеренного усилия, превышающего 150 Н;
Fs - максимальное усилие, измеренное вне динамического
периода Td (статическое усилие); Tt - период 5 с,
начиная с первого измеренного усилия,
превышающего 80 Н, и включая Td
Рисунок HH.1 - Сила в зависимости от времени
HH.2 Допустимые статические силы
По истечении Td, не допускается статическое усилие > 150 Н. Это статическое усилие должно снизиться до < 80 Н после общего времени Tt из максимальных 5 с.
Однако после
Td, пики свыше 150 Н, но ниже, чем допустимые динамические усилия, показанные в
таблице 1 допустимы, если:
- они уменьшаются друг за другом; и
- период колебания составляет <= 1 с; и
- среднее усилие, вычисленное за период Tt - Td, составляет <= 150 Н.
HH.3 Оборудование для измерения сил воздействия
Испытательное оборудование для измерения сил должно состоять из следующих частей:
a) две контактные области диаметром 80 мм. Контактные области изготавливают из твердого материала с достаточной прочностью, например сталь;
b) пружина, которая передает контактной области коэффициент жесткости (500 +/- 50) Н/мм;
c) датчик нагрузки;
d) устройство измерения времени;
e) дисплей измеренного значения/устройство вывода измеренного значения.
Измерительное оборудование должно соответствовать следующим спецификациям:
- время нарастания/спада усилителя датчика нагрузки < 5 мс;
- оборудование должно быть в состоянии выдавать измеренные значения с точностью не менее +/- 5% или +/- 10 Н, в зависимости от того, что больше;
- измерения следует выдавать в графическом виде или на дисплей.
HH.4 Передвижное измерительное оборудование сил воздействия
От передвижного измерительного оборудования не требуется демонстрация значений на дисплее, его точность должна быть не менее +/- 10% или +/- 20 Н от измеренных значений, в зависимости от того, что больше. Калибровку следует выполнять не реже, чем один раз в год.
(обязательное)
ТОЧКИ ИЗМЕРЕНИЯ ДЛЯ ОГРАНИЧЕНИЯ
ВОЗДЕЙСТВУЮЩИХ СИЛ ДВЕРЕЙ ДЛЯ ПЕШЕХОДОВ
Рисунок II.1 - Одностворчатый раздвижной дверной блок
Рисунок II.2 - Двустворчатый раздвижной дверной блок
Рисунок II.3 - Складывающийся дверной блок
Рисунок II.4 - Вращающиеся дверные блоки, 2 полотна
Рисунок II.5 - Вращающиеся дверные блоки, 3 полотна
Рисунок II.6 - Вращающиеся дверные блоки, 4 полотна
(обязательное)
НИЗКОЭНЕРГЕТИЧЕСКОЕ ДВИЖЕНИЕ ДВЕРЕЙ ДЛЯ ПЕШЕХОДОВ
JJ.1 Низкоэнергетическое движение
JJ.1.1 Общее
Усилие, требуемое для предотвращения дальнейшего открывания или закрывания остановленного дверного блока, измеренное на основном закрывающем крае в направлении движения, не должно превышать 67 Н в любой точке цикла открывания или закрывания.
Кинетическая энергия дверного блока в движении не должна превышать 1,69 Дж.
Приложение KK устанавливает настройки скорости для различных значений ширины и массы дверных блоков, необходимых для получения результатов в соответствии с данным требованием.
В случае прерывания в сети питания или отказа привода, не должно быть возможно открыть дверной блок ручным усилием менее 67 Н для освобождения затвора и 90 Н для открытия дверного блока, если усилие прикладывают к основному закрывающему краю в направлении движения.
Низкоэнергетическое движение дверного блока обычно не защищают дополнительными защитными устройствами, поскольку уровни кинетической энергии не рассматриваются как опасные. Однако использование низкоэнергетического движения дверного блока следует рассматривать с учетом оценки риска для пожилых, ослабленных и недееспособных пользователей, и это указывает, чтобы убедиться, что риск для этих пользователей является низким.
Статическое усилие закрытия до 150 Н допустимо:
- если зазор между основным закрывающим краем и противоположным закрывающим краем <= 8 мм для распашных дверных блоков; или
- на последних 50 мм для любого типа раздвижных и складывающихся дверных блоков.
JJ.1.2 Дополнительные требования для низкоэнергетического движения дверных блоков с петлями и распашных дверных блоков
JJ.1.2.1 Время открывания
Дверные блоки должны открываться из закрытого состояния до торможения открывания, или на 80°, в зависимости от того, что наступит раньше, за 3 с или больше, как указано в
таблице KK1. Торможение открывания не должно наступать до открывания на 60°. Если дверной блок открывается более чем на 90°, он должен продолжать движение на той же скорости, что и скорость торможения открывания.
Примечание - Торможение открывания (back check) - это состояние торможения или снижения скорости открывания дверного блока перед тем, как он будет полностью открыт.
JJ.1.2.2 Время закрывания
Должна быть возможна настройка на месте установки дверного блока времени закрывания не менее 3 с от 90° до 10°, и не менее 1,5 с от 10° до полного закрытия, как указано в
таблице KK.1.
(обязательное)
УСТАВКА СКОРОСТИ ДЛЯ НИЗКОЭНЕРГЕТИЧЕСКОГО
ДВИЖЕНИЯ ДВЕРЕЙ ДЛЯ ПЕШЕХОДОВ
KK.1 Уставки скорости для распашных дверных блоков, приводимых в движение энергией низкой мощности
В таблице KK.1 показано минимальное время открывания (в секундах) до торможения открывания или 80°, или минимальное время закрывания (в секундах) от открытия на 90° до открытия на 10° для большинства обычных ширин и масс дверных блоков.
Таблица KK.1
Ширина полотна дверного блока, м | Масса полотна дверного блока, кг |
50 | 60 | 70 | 80 | 90 |
Время, с |
0,75 | 3,0 | 3,0 | 3,0 | 3,0 | 3,2 |
0,85 | 3,0 | 3,0 | 3,2 | 3,4 | 3,6 |
1,00 | 3,2 | 3,4 | 3,7 | 4,0 | 4,2 |
1,20 | 3,8 | 4,1 | 4,5 | 4,8 | 5,0 |
Примечание - Вычислено с помощью энергии в 1,69 Дж и значений для времени, округленных до ближайшего десятичного знака. |
Минимальное время открывания дверных блоков других ширин и/или масс вычисляют по следующей формуле:

,
где t - время, с;
D - ширина дверного полотна, м;
m - масса полотна дверного блока, кг;
2,26 - коэффициент перевода (единицы измерения мКг1/2с-1).
KK.2 Уставки скорости для низкоэнергетических раздвижных дверных блоков
В таблице KK.2 показано минимальное время перемещения для полотна дверного блока в зависимости от массы дверного блока и дистанции перемещения полотна дверного блока.
Таблица KK.2
Минимальное время перемещения полотна дверного блока
в зависимости от массы дверного блока
90% дистанции перемещения полотна D, м | Масса полотна дверного блока m, кг |
150 | 140 | 130 | 120 | 110 | 100 | 90 | 80 | 70 | 60 | 50 | 40 | 30 | 20 | 10 |
Максимальная скорость перемещения v, м/с |
0,15 | 0,16 | 0,16 | 0,17 | 0,18 | 0,18 | 0,19 | 0,21 | 0,22 | 0,24 | 0,26 | 0,29 | 0,34 | 0,41 | 0,58 |
Минимальное время перемещения t, с |
0,7 | 4,7 | 4,6 | 4,4 | 4,2 | 4,0 | 3,9 | 3,7 | 3,5 | 3,2 | 3,0 | 2,7 | 2,5 | 2,1 | 1,8 | 1,3 |
0,8 | 5,4 | 5,2 | 5,0 | 4,8 | 4,6 | 4,4 | 4,2 | 3,9 | 3,7 | 3,4 | 3,1 | 2,8 | 2,4 | 2,0 | 1,4 |
0,9 | 6,0 | 5,8 | 5,6 | 5,4 | 5,2 | 4,9 | 4,7 | 4,4 | 4,1 | 3,8 | 3,5 | 3,1 | 2,7 | 2,2 | 1,6 |
1,0 | 6,7 | 6,5 | 6,3 | 6,0 | 5,8 | 5,5 | 5,2 | 4,9 | 4,6 | 4,3 | 3,9 | 3,5 | 3,0 | 2,5 | 1,8 |
1,1 | 7,4 | 7,1 | 6,9 | 6,6 | 6,3 | 6,0 | 5,7 | 5,4 | 5,1 | 4,7 | 4,3 | 3,8 | 3,3 | 2,7 | 1,9 |
1,2 | 8,0 | 7,8 | 7,5 | 7,2 | 6,9 | 6,6 | 6,2 | 5,9 | 5,5 | 5,1 | 4,7 | 4,2 | 3,6 | 3,0 | 2,1 |
1,3 | 8,7 | 8,4 | 8,1 | 7,8 | 7,5 | 7,1 | 6,8 | 6,4 | 6,0 | 5,5 | 5,0 | 4,5 | 3,9 | 3,2 | 2,3 |
1,4 | 9,4 | 9,1 | 8,7 | 8,4 | 8,0 | 7,7 | 7,3 | 6,9 | 6,4 | 5,9 | 5,4 | 4,9 | 4,2 | 3,5 | 2,5 |
1,5 | 10,0 | 9,7 | 9,4 | 9,0 | 8,6 | 8,2 | 7,8 | 7,3 | 6,9 | 6,4 | 5,8 | 5,2 | 4,5 | 3,7 | 2,6 |
Примечание - Для телескопических раздвижных дверных блоков, дистанцию перемещения применяют к максимально быстро движущимся полотнам.
Максимальная скорость для дверных блоков других масс вычисляют по формуле кинетической энергии, учитывающей максимально допустимую энергию 1,69 Дж:

.
Зная вес полотна, можно вычислить максимально допустимую скорость следующим образом:

,
где v - скорость, м/с;
Ec - кинетическая энергия, Дж (всегда 1,69 Дж);
m - масса полотна дверного блока, кг.
Уставки времени для прочих расстояний перемещения полотна и масс следует вычислять с использованием следующей формулы:

,
где t - время перемещения открывания или закрывания, с;
D - 90% расстояния перемещения полотна, м;
v - скорость полотна, м/с.
(обязательное)
ОБЕСПЕЧЕНИЕ БЕЗОПАСНОСТИ РАСПАШНЫХ ДВЕРЕЙ ДЛЯ ПЕШЕХОДОВ
1 - защитное устройство; 2 - область быстрого движения,
требующая защиты; 3 - область медленного движения;
4 - радиус области медленного движения (rмедленная область);
5 - радиус двери (rдверной блок); 6 - радиус защищенной
области (dзащищено)
Рисунок LL.1 - Площади вылета двери
Таблица LL.1 показывает минимальное расстояние от переднего края, которое требуется защитить.
Таблица LL.1
Минимальная ширина дверного полотна для защиты и радиус
дверного блока, и время перемещения дверного блока
rдверной блок, м | Время, с |
1 | 1,5 | 2 | 2,5 | 3 | 3,5 | 4 | 4,5 | 5 | 5,5 | 6 |
rмедленная область, м |
0,16 | 0,24 | 0,32 | 0,4 | 0,48 | 0,56 | 0,64 | 0,72 | 0,8 | 0,88 | 0,95 |
dзащищено, м |
0,7 | 0,54 | 0,46 | 0,38 | 0,30 | 0,22 | 0,14 | 0,06 | - | - | - | - |
0,8 | 0,64 | 0,56 | 0,48 | 0,40 | 0,32 | 0,24 | 0,16 | 0,08 | - | - | - |
0,9 | 0,74 | 0,66 | 0,58 | 0,50 | 0,42 | 0,34 | 0,26 | 0,18 | 0,10 | 0,02 | - |
1,0 | 0,84 | 0,76 | 0,68 | 0,60 | 0,52 | 0,44 | 0,36 | 0,28 | 0,20 | 0,12 | 0,05 |
1,1 | 0,94 | 0,86 | 0,78 | 0,70 | 0,62 | 0,54 | 0,46 | 0,38 | 0,30 | 0,22 | 0,15 |
1,2 | 1,04 | 0,96 | 0,88 | 0,80 | 0,72 | 0,64 | 0,56 | 0,48 | 0,40 | 0,32 | 0,25 |
1,3 | 1,14 | 1,06 | 0,98 | 0,90 | 0,82 | 0,74 | 0,66 | 0,58 | 0,50 | 0,42 | 0,35 |
1,4 | 1,24 | 1,16 | 1,08 | 1,00 | 0,92 | 0,84 | 0,76 | 0,68 | 0,60 | 0,52 | 0,45 |
1,5 | 1,34 | 1,26 | 1,18 | 1,10 | 1,02 | 0,94 | 0,86 | 0,78 | 0,70 | 0,62 | 0,55 |
1,6 | 1,44 | 1,36 | 1,28 | 1,20 | 1,12 | 1,04 | 0,96 | 0,88 | 0,80 | 0,72 | 0,65 |
1,7 | 1,54 | 1,46 | 1,38 | 1,30 | 1,22 | 1,14 | 1,06 | 0,98 | 0,90 | 0,82 | 0,75 |
1,8 | 1,64 | 1,56 | 1,48 | 1,40 | 1,32 | 1,24 | 1,16 | 1,08 | 1,00 | 0,92 | 0,85 |
Время открывания измеряют от 0° до 80°, и время закрывания - от 90° до 10°.
rмедленная область и ширину дверного блока, которую защищают (dзащищено) защитными устройствами для дверных блоков с другим временем открывания и закрывания, вычисляют по следующим формулам:

,
dзащищено = rдверной блок - rмедленная область,
где t - время, с;
rмедленная область - радиус медленной области, м;
v - максимально допустимая встречная скорость 0,25 м/с;
0,16 - коэффициент пересчета, м/с;
dзащищено - ширина дверного проема, которую необходимо защитить.
(справочное)
СВЕДЕНИЯ О СООТВЕТСТВИИ ССЫЛОЧНЫХ МЕЖДУНАРОДНЫХ
СТАНДАРТОВ МЕЖГОСУДАРСТВЕННЫМ СТАНДАРТАМ
Таблица ДА.1
Обозначение ссылочного международного стандарта | Степень соответствия | Обозначение и наименование соответствующего межгосударственного стандарта |
IEC 60068-2-52 | NEQ | ГОСТ 30630.2.5-2013 "Методы испытаний на стойкость к климатическим внешним воздействующим факторам машин, приборов и других технических изделий. Испытания на воздействие соляного тумана" |
IEC 60825-1:2014 | NEQ | ГОСТ IEC 60825-1-2013 "Безопасность лазерной аппаратуры. Часть 1. Классификация оборудования, требования и руководство для пользователей" |
IEC 61496-3:2008 | - | |
<*> Соответствующий национальный стандарт отсутствует. До его утверждения рекомендуется использовать перевод на русский язык данного международного стандарта. Примечание - В настоящей таблице использовано следующее условное обозначение степени соответствия стандартов: - NEQ - неэквивалентные стандарты. |
Дополнение
IEC 60335-2-95 | Household and similar electrical appliances - Safety - Part 2-95: Particular requirements for drives for vertically moving garage doors for residential use (Приборы электрические бытового и аналогичного назначения. Безопасность. Часть 2-95. Частные требования к приводам для вертикально движущихся гаражных дверей, используемых в жилых зонах) |
IEC 60335-2-97 | Household and similar electrical appliances - Safety - Part 2-97: Particular requirements for drives for rolling shutters, awnings, blinds and similar equipment (Приборы электрические бытового и аналогичного назначения. Безопасность. Часть 2-97. Частные требования к приводам для скатывающихся ставней, тентов и жалюзи и аналогичных устройств) |
ISO 21927-2 | Smoke and heat control systems - Part 2: Specification for natural smoke and heat exhaust ventilators (Системы контроля дыма и тепла. Часть 2. Технические требования к вытяжным дефлекторам дыма и тепла) |