Главная // Актуальные документы // ГОСТ (Государственный стандарт)СПРАВКА
Источник публикации
М.: Стандартинформ, 2018
Примечание к документу
Документ
введен в действие с 1 марта 2019 года.
Название документа
"ГОСТ EN 15683-1-2017. Межгосударственный стандарт. Стекло закаленное профильное. Технические требования"
(введен в действие Приказом Росстандарта от 27.03.2018 N 151-ст)
"ГОСТ EN 15683-1-2017. Межгосударственный стандарт. Стекло закаленное профильное. Технические требования"
(введен в действие Приказом Росстандарта от 27.03.2018 N 151-ст)
агентства по техническому
регулированию и метрологии
от 27 марта 2018 г. N 151-ст
МЕЖГОСУДАРСТВЕННЫЙ СТАНДАРТ
СТЕКЛО ЗАКАЛЕННОЕ ПРОФИЛЬНОЕ
ТЕХНИЧЕСКИЕ ТРЕБОВАНИЯ
Thermally toughened channel shaped glass.
Technical requirements
(EN 15683-1:2013,
Glass in building - Thermally toughened
soda lime silicate channel shaped safety glass - Part 1:
Definition and description,
IDT)
ГОСТ EN 15683-1-2017
Дата введения
1 марта 2019 года
Цели, основные принципы и основной порядок проведения работ по межгосударственной стандартизации установлены в
ГОСТ 1.0-2015 "Межгосударственная система стандартизации. Основные положения" и
ГОСТ 1.2-2015 "Межгосударственная система стандартизации. Стандарты межгосударственные, правила и рекомендации по межгосударственной стандартизации. Правила разработки, принятия, обновления и отмены"
1 ПОДГОТОВЛЕН Открытым акционерным обществом "Институт стекла", Техническим комитетом по стандартизации ТК 41 "Стекло" на основе собственного перевода на русский язык немецкоязычной версии стандарта, указанного в
пункте 5
2 ВНЕСЕН Федеральным агентством по техническому регулированию и метрологии
3 ПРИНЯТ Межгосударственным советом по стандартизации, метрологии и сертификации (протокол от 30 ноября 2017 г. N 52)
За принятие проголосовали:
Краткое наименование страны по МК (ИСО 3166) 004-97 | Код страны по МК (ИСО 3166) 004-97 | Сокращенное наименование национального органа по стандартизации |
Беларусь | BY | Госстандарт Республики Беларусь |
Молдова | MD | Институт стандартизации Молдовы |
Россия | RU | Росстандарт |
4
Приказом Федерального агентства по техническому регулированию и метрологии от 27 марта 2018 г. N 151-ст межгосударственный стандарт ГОСТ EN 15683-1-2017 введен в действие в качестве национального стандарта Российской Федерации с 1 марта 2019 г.
5 Настоящий стандарт идентичен европейскому стандарту EN 15683-1:2013 "Стекло в строительстве. Закаленное натрий-кальций-силикатное профильное безопасное стекло. Часть 1. Определение и описание" ("Glas im Bauwesen - Thermisch vorgespanntes Kalknatron-Profilbau-Sicherheitsglas - Teil 1: Definition und Beschreibung", IDT).
Европейский стандарт разработан техническим комитетом CEN/TC 129 "Стекло в строительстве" Европейского комитета по стандартизации (CEN).
В настоящий стандарт включено дополнительное
приложение ДА, в котором приведены рекомендации по применению настоящего стандарта.
Наименование настоящего стандарта изменено относительно наименования указанного европейского стандарта для приведения в соответствие с ГОСТ 1.5
(подраздел 3.6).
При применении настоящего стандарта рекомендуется использовать вместо ссылочных европейских стандартов соответствующие им межгосударственные стандарты, сведения о которых приведены в дополнительном
приложении ДБ
6 ВВЕДЕН ВПЕРВЫЕ
7 Некоторые положения европейского стандарта, указанного в
пункте 5, могут являться объектом патентных прав. Европейский комитет по стандартизации (CEN) не несет ответственности за идентификацию подобных патентных прав
Информация об изменениях к настоящему стандарту публикуется в ежегодном информационном указателе "Национальные стандарты", а текст изменений и поправок - в ежемесячном информационном указателе "Национальные стандарты". В случае пересмотра (замены) или отмены настоящего стандарта соответствующее уведомление будет опубликовано в ежемесячном информационном указателе "Национальные стандарты". Соответствующая информация, уведомление и тексты размещаются также в информационной системе общего пользования - на официальном сайте Федерального агентства по техническому регулированию и метрологии в сети Интернет (www.gost.ru)
Закаленное натрий-кальций-силикатное профильное безопасное стекло имеет более безопасный характер разрушения по сравнению с отожженным стеклом.
Настоящий стандарт устанавливает требования к предельным отклонениям размеров, отклонению от плоскостности лицевой и боковых сторон, наклону боковой стороны, обработке кромок, характеру разрушения, а также физические и механические характеристики закаленного натрий-кальций-силикатного профильного безопасного стекла, предназначенного для использования в строительстве.
К закаленному натрий-кальций-силикатному профильному безопасному стеклу, которое подвергается дополнительной обработке, например нанесению покрытия, могут применяться иные требования, не установленные настоящим стандартом. Эти дополнительные требования указаны в EN 15683-2. При этом механические или тепловые характеристики закаленного натрий-кальций-силикатного профильного безопасного стекла не ухудшаются.
Для применения настоящего стандарта необходимы следующие ссылочные документы. Для датированных ссылок применяют только указанное издание ссылочного документа. Для недатированных ссылок применяют последнее издание ссылочного документа (включая все его изменения).
EN 572-1 Glas im Bauwesen - Basiserzeugnisse aus Kalk-Natronsilicatglas - Teil 1: Definitionen und generelle physikalische und mechanische Eigenschaften (Glass in building - Basic soda lime silicate glass products - Part 1: Definitions and general physical and mechanical properties) (Стекло в строительстве. Базовые изделия из натрий-кальций-силикатного стекла. Часть 1. Определения и основные физические и механические свойства)
EN 572-7:2012 Glas im Bauwesen - Basiserzeugnisse aus Kalk-Natronsilicatglas - Teil 7: Profilbau-glas mit oder ohne Drahteinlage (Glass in building - Basic soda lime silicate glass products - Part 7: Wired or unwired channel shaped glass) (Стекло в строительстве. Базовые изделия из натрий-кальций-силикатного стекла. Часть 7. Армированное или неармированное профильное стекло)
EN 1288-4 Glas im Bauwesen - Bestimmung der Biegefestigkeit von Glas - Teil 4:

von Profilbauglas (Glass in building - Determination of the bending strength of glass - Part 4: Testing of channel shaped glass) (Стекло в строительстве. Определение прочности стекла на изгиб. Испытание профильного стекла)
В настоящем стандарте применены следующие термины с соответствующими определениями:
3.1 закаленное натрий-кальций-силикатное профильное безопасное стекло (thermally toughened soda lime silicate channel shaped safety glass
<*>; thermisch vorgespanntes Kalknatron-Profilbau-Sicherheitsglas
<**>): Стекло, в поверхностном слое которого при помощи специального процесса нагревания и охлаждения созданы напряжения сжатия, придающие ему повышенную стойкость к механическим и термическим воздействиям и безопасный характер разрушения.
Примечание 1 - Такие свойства стекла, как повышенные термостойкость и прочность на изгиб, а также безопасный характер разрушения, обусловлены наличием напряжений сжатия в поверхностном слое стекла. Эти свойства не зависят от размеров профильного стекла.
--------------------------------
3.2 эмалированное закаленное натрий-кальций-силикатное профильное безопасное стекло (enamelled thermally toughened soda lime silicate channel shaped safety glass
<*>; emailliertes thermisch vorgespanntes Kalknatron-Profilbau-Sicherheitsglas
<**>): Закаленное натрий-кальций-силикатное профильное безопасное стекло, на поверхность которого в процессе закалки наплавлена керамическая краска, которая после закалки становится неотъемлемой частью стекла.
3.3 горизонтальная закалка (horizontal toughening <*>; horizontales Herstellungsverfahren <*>): Процесс закалки, при котором стекло поддерживается на горизонтальных валках.
--------------------------------
Для изготовления закаленного натрий-кальций-силикатного профильного безопасного стекла используют изделия из стекла, соответствующие следующим стандартам:
- неармированное профильное стекло по EN 572-1, EN 572-7;
- профильное стекло с покрытием по EN 1096-1.
При разрушении закаленного натрий-кальций-силикатного профильного безопасного стекла образуется множество мелких осколков, обычно имеющих неострые края.
Примечание - Характер разрушения стекла в процессе эксплуатации не всегда соответствует указанному в
разделе 8.
Размеры закаленного натрий-кальций-силикатного профильного безопасного стекла показаны на
рисунке 1, на котором обозначены толщина
c, ширина
B, длина
H и высота боковой стороны
d стекла.
6.2 Размеры и предельные отклонения размеров
6.2.1 Номинальная толщина и предельные отклонения по толщине
Номинальная толщина и предельные отклонения по толщине должны соответствовать требованиям, приведенным в
таблице 1.
Примечание - Требования к ширине, высоте боковой стороны и толщине соответствуют таблице 1 EN 572-7:2012. Таблица 1 EN 15683-1:2013 дополнена требованиями к длине H.
Толщина соответствует толщине базового стекла.
6.2.2 Ширина, высота боковой стороны и длина
6.2.2.1 Общие положения
Размеры закаленного натрий-кальций-силикатного профильного безопасного стекла указывают следующим образом:
- типоразмер - ширина B, высота боковой стороны d, толщина c;
- длина H.
Пример - 232/41/6 - 4000.
Типоразмер не отражает полных сведений о продукции и может использоваться только в качестве цифрового кода конструкции профиля.
H - длина; B - ширина; d - высота боковой стороны;
c - толщина
Рисунок 1 - Размеры закаленного натрий-кальций-силикатного
профильного безопасного стекла
6.2.2.2 Максимальные и минимальные размеры
Диапазон ширины стекла - от 232 до 498 мм, максимальная длина стекла - 7000 мм.
Доступная максимальная длина определяется оборудованием, применяемым для закалки стекла, и устанавливается изготовителем.
6.2.2.3 Предельные отклонения
Предельные отклонения размеров должны соответствовать требованиям, указанным в таблице 1.
Примечание - Требования к ширине, высоте боковой стороны и толщине соответствуют таблице 1 EN 572-7:2012. Таблица 1 EN 15683-1:2013 дополнена требованиями к длине H.
Таблица 1
Номинальные размеры и предельные отклонения
В миллиметрах
Ширина B | Высота боковой стороны d | Толщина c | Длина H |
Номинальное значение | Пред. откл. | Номинальное значение | Пред. откл. | Номинальное значение | Пред. откл. | Номинальное значение | Пред. откл. |
От 232 до 498 включ. | +/- 2,0 | 41 | +/- 1,0 | 6 | +/- 0,2 | До 7000 включ. | +/- 3,0 |
От 232 до 331 включ. | +/- 2,0 | 60 | +/- 1,0 | 7 | +/- 0,2 | +/- 3,0 |
6.3.1 Наклон боковой стороны
Наклон боковой стороны z от перпендикуляра, проведенного к лицевой стороне, определяют с помощью угольника в соответствии с рисунком 2.
z - наклон боковой стороны
Рисунок 2 - Определение наклона боковой стороны
6.3.2 Перпендикулярность реза
Перпендикулярность реза лицевой и боковых сторон контролируют по обоим отрезанным краям стекла. Отклонение от перпендикулярности определяют относительно плоскости, перпендикулярной направлению вытягивания стекла и проходящей через точку пересечения центральной оси лицевой стороны и отрезанного края (см. рисунок 3). Измеряют отклонение плоскости торца боковой стороны.
q - отклонение реза от перпендикулярности
Рисунок 3 - Контроль перпендикулярности реза
6.3.3 Предельные отклонения формы
Наклон боковой стороны z не должен быть более 1,0 мм.
Отклонение реза от перпендикулярности q не должно быть более 3,0 мм.
6.4 Отклонение от плоскостности
6.4.1 Общие положения
Из-за особенностей процесса закалки невозможно получить изделие с такими же плоскими поверхностями, как у отожженного стекла. Отклонение от плоскостности зависит от номинальной толщины, размеров лицевой и боковых сторон и длины стекла. Общее отклонение от плоскостности показано на рисунке 4.
Примечание - Общее отклонение от плоскостности, как правило, компенсируется рамочной конструкцией.
1 - общее отклонение от плоскостности; 2 - длина H
Рисунок 4 - Общее отклонение от плоскостности
6.4.2 Определение общего отклонения от плоскостности
Стекло устанавливают боковой стороной на два опорных блока, расположенных на расстоянии от краев стекла, равном одной четвертой его длины (см.
рисунок 5).
Измеряют максимальное расстояние между ребром металлической линейки или натянутой проволокой, расположенными вдоль осевой линии лицевой стороны между отрезанными краями профильного стекла, и вогнутой поверхностью профильного стекла (см.
рисунок 4).
Измеренное значение прогиба, мм, делят на измеренное значение длины профильного стекла, мм.
Измерения проводят при комнатной температуре.
H - длина, мм
Рисунок 5 - Условия измерения общего отклонения
от плоскостности
6.4.3 Предельное отклонение от плоскостности
Общее отклонение от плоскостности, определенное в соответствии с
6.4.2, не должно быть более 4 мм/м.
7 Обработка кромок профильного стекла до закалки
ПРЕДУПРЕЖДЕНИЕ! Закаленное натрий-кальций-силикатное профильное безопасное стекло не допускается подвергать механической обработке (резка, сверление, обработка кромки).
Отрезанные края стекла должны быть обработаны до его закалки.
Наиболее простым видом обработанной кромки является притупленная кромка (см. рисунок 6).
Рисунок 6 - Притупленная кромка
(есть необработанные участки)
8 Испытание на характер разрушения
Испытание на характер разрушения предназначено для оценки соответствия стекла требованиям безопасности при разрушении, установленным для закаленного натрий-кальций-силикатного профильного безопасного стекла.
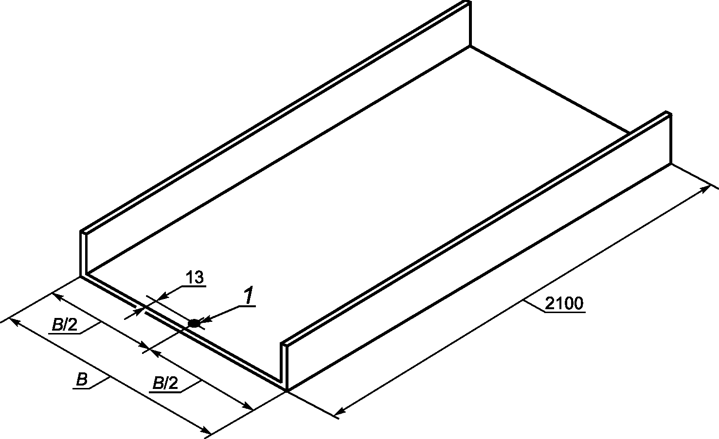
8.2 Размеры и количество образцов
Длина образца - 2100 мм. Ширина образца - в соответствии с типоразмером стекла. Для предотвращения разлета осколков при разрушении стекла наружную поверхность образца оклеивают клейкой лентой.
Всего должно быть испытано пять образцов.
Образец размещают на плоской горизонтальной поверхности лицевой стороной вниз. По каждому образцу острым стальным инструментом наносят удары в точке, расположенной в середине лицевой стороны образца на расстоянии 13 мм от края, до тех пор, пока образец не разрушится (см.
рисунок 7).
Примечание - Характер разрушения стекла не меняется при температуре от минус 50 °C до 100 °C.
Примеры стальных инструментов: молоток массой около 75 г, пружинный кернер или подобный инструмент с твердым заостренным бойком. Радиус скругления острой части бойка примерно 0,2 мм.
При испытании образец должен лежать на плоской горизонтальной поверхности без закрепления. Для предотвращения разлета осколков края образца фиксируют тонкой рамкой, скотчем и т.п. так, чтобы после разрушения образца осколки оставались на месте.
1 - точка удара; B - ширина, мм
Рисунок 7 - Положение точки удара
8.4 Оценка характера разрушения
Подсчет количества осколков и измерение размеров самого длинного осколка проводят в течение 4 - 5 мин после разрушения образца. При оценке характера разрушения не учитывают область радиусом 100 мм с центром в точке удара и область шириной 25 мм по краям образца (см.
рисунок 8).
Для подсчета осколков выбирают участок с наиболее крупными осколками (чтобы получить минимальное количество). Подсчет осколков производят с использованием шаблона размером [(50 +/- 1) x (50 +/- 1)] мм, который размещают на образце (см.
приложение А). Подсчитывают количество целых осколков в выделенном квадрате. Осколок считается "целым", если он не содержит трещин, пересекающих его от края до края (см.
рисунок 9).
1 - неучитываемая область; B - ширина
Рисунок 8 - Область, не учитываемая при подсчете осколков
и измерении размеров самого длинного осколка
1, 3 - количество целых осколков
Рисунок 9 - Примеры целых осколков и их количество
При подсчете каждый осколок, находящийся внутри выделенного квадрата, учитывают как один осколок, каждый осколок, частично выходящий за пределы выделенного квадрата, учитывают как половину осколка (см.
приложение А).
8.5 Минимальное количество осколков
Чтобы классифицировать стекло как закаленное натрий-кальций-силикатное профильное безопасное, количество подсчитанных осколков для каждого образца должно быть не менее 40.
8.6 Выбор самого длинного осколка
Самый длинный осколок выбирают из любой части образца, за исключением неучитываемой области (см.
8.4).
8.7 Максимальная длина самого длинного осколка
Чтобы классифицировать стекло как закаленное натрий-кальций-силикатное профильное безопасное, длина самого длинного осколка не должна превышать 100 мм.
9 Другие физические характеристики
9.1 Деформация поверхности
Контакт горячего стекла с валками в процессе закалки может вызвать небольшие искривления поверхности стекла ("волна"). "Волна" обычно заметна в отраженном свете. На поверхности лицевой стороны могут быть заметны небольшие следы от валков ("отпечатки валков").
9.2 Оптическая анизотропия (радужность)
В процессе закалки в стекле создаются внутренние напряжения, не однородные по толщине стекла. Зоны напряжений вызывают в стекле эффект двойного лучепреломления, видимого в поляризованном свете.
При осмотре закаленного натрий-кальций-силикатного профильного безопасного стекла в поляризованном свете зоны напряжений выглядят как окрашенные участки ("радужные пятна").
Поляризованный свет присутствует в естественном дневном свете, степень поляризации которого зависит от погодных условий и угла падения солнечных лучей. Эффект двойного лучепреломления можно заметить при осмотре стекла под определенным углом либо через поляризационные очки.
9.3 Тепловые характеристики
Механические свойства закаленного натрий-кальций-силикатного профильного безопасного стекла не меняются при его эксплуатации при температуре до 250 °C и отрицательных температурах. Закаленное натрий-кальций-силикатное профильное безопасное стекло является термостойким и выдерживает перепад температур не менее 200 °C.
Прочность на изгиб может быть представлена только как статистическая величина, связанная с определенной вероятностью разрушения и определенным видом нагрузки. Испытания проводят в соответствии с EN 1288-4.
Значение прочности на изгиб справедливо для кратковременной квазистатической нагрузки (например, ветровой нагрузки) с 5%-ной вероятностью разрушения на нижней границе 95%-ного доверительного интервала.
Таблица 2
Минимальные значения прочности на изгиб закаленного
натрий-кальций-силикатного профильного безопасного стекла
Приложение нагрузки | Минимальное значение прочности на изгиб, Н/мм2 |
Нагрузка приложена к боковой стороне | 120 |
Нагрузка приложена к лицевой стороне | 66 |
Примечание - В таблице 2 приведены значения прочности закаленного натрий-кальций-силикатного профильного безопасного стекла, соответствующего требованиям
8.5.
9.5 Допустимое напряжение
Рекомендуемые значения допустимого напряжения fg,d для расчета максимальной длины закаленного натрий-кальций-силикатного профильного безопасного стекла, при которой оно будет устойчиво к ветровым нагрузкам, полученные в соответствии с EN 1288-4, приведены в таблице 3.
Таблица 3
Рекомендуемые значения допустимого напряжения закаленного
натрий-кальций-силикатного профильного безопасного стекла
Приложение нагрузки | Допустимое напряжение, Н/мм2 |
Нагрузка приложена к боковой стороне | 50 |
Нагрузка приложена к лицевой стороне | 27,5 |
Примечание - В случае применения других расчетных формул или методики расчета распределения напряжений в закаленном натрий-кальций-силикатном профильном безопасном стекле могут использоваться другие значения допустимого напряжения. Для других нагрузок, отличных от ветровых, применяют другие значения допустимого напряжения.
К прогибам стекла, возникающим под действием нагрузки, особые требования не предъявляются. Для специальных применений стекла требования к ограничению величины прогиба могут быть установлены в других стандартах или правилах.
Если установлены специальные требования, допустимый прогиб wd должен соответствовать соответствующему стандарту или правилу.
Стекло не должно слишком сильно прогибаться под действием нагрузки, чтобы не вызывать дискомфорт у находящихся рядом людей. Если специальные требования не установлены, прогиб не должен превышать 1/65 длины стекла.
Закаленное натрий-кальций-силикатное профильное безопасное стекло, соответствующее требованиям настоящего стандарта, должно иметь маркировку. Маркировка должна содержать следующую информацию:
- наименование или товарный знак изготовителя;
- обозначение настоящего стандарта.
(справочное)
Рисунок А.1 - Пример выбора участка стекла
с наиболее крупными осколками
На образце выбирают участок с наиболее крупными осколками, размещают на нем шаблон и выделяют квадрат.
Количество осколков по периметру квадрата: 32/2 = 16
Рисунок А.2 - Пример учета осколков по периметру квадрата
Отмечают и подсчитывают осколки по периметру выделенного квадрата, считая каждый осколок, пересекаемый границей квадрата, половиной осколка.
Количество осколков внутри квадрата: 53
Общее количество осколков: 16 + 53 = 69
Рисунок А.3 - Пример учета общего количества осколков
Чтобы определить общее количество осколков для образца, отмечают и подсчитывают осколки внутри выделенного квадрата и суммируют их с осколками по периметру квадрата.
(рекомендуемое)
РЕКОМЕНДАЦИИ ПО ПРИМЕНЕНИЮ СТАНДАРТА
ДА.1 Для обеспечения безопасности при обращении с закаленным профильным стеклом и предотвращения его повреждения при транспортировании, хранении, монтаже и эксплуатации рекомендуется соблюдать требования
ГОСТ 33560,
ГОСТ 33561.
(справочное)
СВЕДЕНИЯ О СООТВЕТСТВИИ ССЫЛОЧНЫХ ЕВРОПЕЙСКИХ СТАНДАРТОВ
МЕЖГОСУДАРСТВЕННЫМ СТАНДАРТАМ
Таблица ДБ.1
Обозначение ссылочного европейского стандарта | Степень соответствия | Обозначение и наименование соответствующего межгосударственного стандарта |
EN 572-1:2012 | IDT | |
EN 572-7:2012 | IDT | |
EN 1288-4 | - | <*> |
<*> Соответствующий межгосударственный стандарт отсутствует. До его принятия рекомендуется использовать перевод на русский язык данного европейского стандарта. Примечание - В настоящей таблице использовано следующее условное обозначение степени соответствия стандартов: - IDT - идентичные стандарты. |
[1] | EN 1096-1 | Glas im Bauwesen - Beschichtetes Glas - Teil 1: Definitionen und Klasseneinteilung |
[2] | EN 12150-1:2000 | Glas im Bauwesen - Thermisch vorgespanntes Kalknatron-Einscheibensicherheitsglas - Teil 1: Definition und Beschreibung |
[3] | EN 15683-2:2013 | Glas im Bauwesen - Thermisch vorgespanntes Kalknatron-Profilbau-Sicherheitsglas - Teil 2:  /Produktnorm |