Главная // Актуальные документы // ГОСТ (Государственный стандарт)СПРАВКА
Источник публикации
М.: Стандартинформ, 2017
Примечание к документу
Документ
введен в действие с 1 января 2018 года.
Название документа
"ГОСТ 34227-2017. Межгосударственный стандарт. Соединения арматуры механические для железобетонных конструкций. Методы испытаний"
(введен в действие Приказом Росстандарта от 12.10.2017 N 1406-ст)
"ГОСТ 34227-2017. Межгосударственный стандарт. Соединения арматуры механические для железобетонных конструкций. Методы испытаний"
(введен в действие Приказом Росстандарта от 12.10.2017 N 1406-ст)
агентства по техническому
регулированию и метрологии
от 12 октября 2017 г. N 1406-ст
МЕЖГОСУДАРСТВЕННЫЙ СТАНДАРТ
СОЕДИНЕНИЯ АРМАТУРЫ МЕХАНИЧЕСКИЕ
ДЛЯ ЖЕЛЕЗОБЕТОННЫХ КОНСТРУКЦИЙ
МЕТОДЫ ИСПЫТАНИЙ
Mechanical reinforcement couplers for reinforced
concrete structures. Test methods
(ISO 15835-2:2009, NEQ)
ГОСТ 34227-2017
Дата введения
1 января 2018 года
Цели, основные принципы и основной порядок проведения работ по межгосударственной стандартизации установлены в
ГОСТ 1.0-2015 "Межгосударственная система стандартизации. Основные положения" и
ГОСТ 1.2-2015 "Межгосударственная система стандартизации. Стандарты межгосударственные, правила и рекомендации по межгосударственной стандартизации. Правила разработки, принятия, обновления и отмены"
1 РАЗРАБОТАН Научно-исследовательским, проектно-конструкторским и технологическим институтом бетона и железобетона "НИИЖБ им. А.А. Гвоздева", АО "НИЦ "Строительство"
2 ВНЕСЕН Техническим комитетом по стандартизации ТК 465 "Строительство"
3 ПРИНЯТ Межгосударственным советом по стандартизации, метрологии и сертификации (протокол от 25 сентября 2017 г. N 103-П)
За принятие проголосовали:
Краткое наименование страны по МК (ИСО 3166) 004-97 | Код страны по МК (ИСО 3166) 004-97 | Сокращенное наименование национального органа по стандартизации |
Армения | AM | Минэкономики Республики Армения |
Казахстан | KZ | Госстандарт Республики Казахстан |
Киргизия | KG | Кыргызстандарт |
Россия | RU | Росстандарт |
Украина | UA | Минэкономразвития Украины |
4
Приказом Федерального агентства по техническому регулированию и метрологии от 12 октября 2017 г. N 1406-ст межгосударственный стандарт ГОСТ 34227-2017 введен в действие в качестве национального стандарта Российской Федерации с 1 января 2018 г.
5 Настоящий стандарт разработан с учетом основных нормативных положений международного стандарта ISO 15835-2:2009 "Стали для армирования бетона - Арматурные муфты для механического соединения стержней - Часть 2. Методы испытания" ("Steels for reinforcement of concrete - Reinforcement couplers for mechanical splices of bars - Part 2: Test methods", NEQ)
6 ВВЕДЕН ВПЕРВЫЕ
Информация об изменениях к настоящему стандарту публикуется в ежегодном информационном указателе "Национальные стандарты", а текст изменений и поправок - в ежемесячном информационном указателе "Национальные стандарты". В случае пересмотра (замены) или отмены настоящего стандарта соответствующее уведомление будет опубликовано в ежемесячном информационном указателе "Национальные стандарты". Соответствующая информация, уведомление и тексты размещаются также в информационной системе общего пользования - на официальном сайте Федерального агентства по техническому регулированию и метрологии в сети Интернет (www.gost.ru)
1.1 Настоящий стандарт устанавливает методы испытаний механических соединений арматурных стержней, выполняемых при изготовлении и монтаже сборных и возведении монолитных железобетонных конструкций.
1.2 Настоящий стандарт устанавливает следующие методы испытаний:
- испытание на растяжение механических соединений;
- испытание на многоцикловую нагрузку (выносливость) механических соединений;
- испытание на малоцикловую нагрузку механических соединений.
В настоящем стандарте использованы нормативные ссылки на следующие стандарты:
| | ИС МЕГАНОРМ: примечание. В официальном тексте документа, видимо, допущена опечатка: стандарт "Соединения арматуры механические для железобетонных конструкций. Технические условия" имеет номер ГОСТ 34278-2017, а не ГОСТ 34028-2017. | |
ГОСТ 34028-2017 Соединения арматуры механические для железобетонных конструкций. Технические условия
Примечание - При пользовании настоящим стандартом целесообразно проверить действие ссылочных стандартов в информационной системе общего пользования - на официальном сайте Федерального агентства по техническому регулированию и метрологии в сети Интернет или по ежегодному информационному указателю "Национальные стандарты", который опубликован по состоянию на 1 января текущего года, и по выпускам ежемесячного информационного указателя "Национальные стандарты" за текущий год. Если ссылочный стандарт заменен (изменен), то при пользовании настоящим стандартом следует руководствоваться заменяющим (измененным) стандартом. Если ссылочный стандарт отменен без замены, то положение, в котором дана ссылка на него, применяется в части, не затрагивающей эту ссылку.
В настоящем стандарте применены следующие обозначения:
As - номинальная площадь соединяемых арматурных стержней, мм2;
dн - номинальный диаметр арматурного стержня, мм;
Es - номинальный модуль упругости арматурного стержня, Н/мм2;
Lм - длина соединительной муфты, мм;
P - усилие, кН;

- деформативность механического соединения, мм;

- полные деформации механического соединения, мм;

- упругие деформации арматурного стержня, мм;

- интервал изменения напряжений при испытании на многоцикловую нагрузку (выносливость), Н/мм
2;

- равномерное относительное удлинение арматуры после разрушения соединения, %;

- деформации, соответствующие нормативному значению предела текучести соединяемых арматурных стержней, %;

- нормативное значение физического или условного предела текучести соединяемой арматуры, Н/мм
2;

- максимальные напряжения при испытаниях на выносливость, Н/мм
2;

- минимальные напряжения при испытаниях на выносливость, Н/мм
2.
5. Испытательное оборудование
5.1 Условия испытаний, применяемые испытательные машины и измерительные приборы должны соответствовать требованиям
ГОСТ 12004.
5.1.1 Опора измерительных приборов должна быть достаточно надежной, чтобы деформативность механического соединения могла быть измерена с точностью не ниже 0,01 мм.
5.2 Испытания на многоцикловое нагружение (выносливость) должны выполняться в пульсаторах с контролем нагрузки.
| | ИС МЕГАНОРМ: примечание. В официальном тексте документа, видимо, допущена опечатка: имеется в виду ГОСТ 34278, а не ГОСТ 34028. | |
5.3 Испытания на малоцикловое нагружение должны выполняться для механических соединений категории S1 по
ГОСТ 34028 в пульсаторах с контролем нагрузки, для механических соединений категории S2 по
ГОСТ 34028 - с контролем нагрузки и деформаций.
5.3.1 Не допускается определение деформаций по перемещению траверсы испытательной машины.
6. Подготовка образцов для испытаний
6.1 Образцы механических соединений для испытаний следует подготавливать в соответствии с требованиями настоящего стандарта,
ГОСТ 34028, технических условий и инструкций по установке изготовителя (поставщика).
6.2 Муфты должны располагаться посредине испытательных образцов.
Полная длина образца механического соединения для испытаний назначается в зависимости от рабочей длины образца и конструкции захвата испытательной машины.
Рабочая длина образца должна составлять:
- для образца номинальным диаметром до 25 мм включительно - не менее 250 мм + длина соединительной муфты;
- для образца номинальным диаметром свыше 25 мм - не менее 200 мм + 2dн + длина соединительной муфты.
7. Проведение испытаний и обработка результатов
7.1 Испытание на растяжение
7.1.1 При испытании на растяжение до разрыва определяются временное сопротивление и деформативность механических соединений, а также относительное удлинение соединяемых арматурных стержней.
7.1.2 Временное сопротивление определяется в соответствии с
ГОСТ 12004. Для вычисления напряжений должна использоваться номинальная площадь поперечного сечения соединяемых арматурных стержней по действующим нормативным документам и технической документации.
7.1.3 Относительное удлинение определяется в соответствии с
ГОСТ 12004 на арматурных стержнях с обеих сторон механического соединения. Оба значения должны регистрироваться, а наибольшее значение относительного удлинения - использоваться для оценки соответствия требованиям
ГОСТ 34028.
7.1.4 Характер разрушения образцов механических соединений арматурных стержней должен фиксироваться и отражаться в протоколе испытаний. Если разрушение образца происходит в захватах испытательной машины, то результаты испытания принимаются, если удовлетворяют требованиям
ГОСТ 34028.
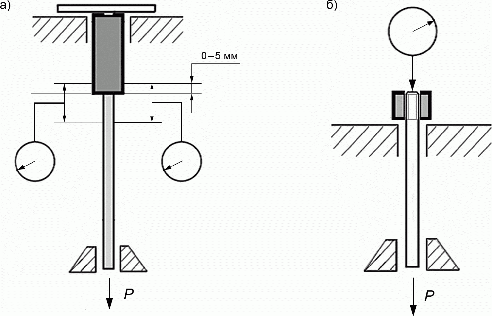
7.1.5 Для измерения деформативности механических соединений арматурных стержней положение измерительных приборов должно соответствовать рисунку 1.
Рисунок 1 - Схема установки измерительных приборов
при испытаниях образцов механических соединений
арматурных стержней на растяжение
7.1.6 База измерения деформаций L при испытании образцов механических соединений должна быть равна длине соединительной муфты Lм плюс расстояние, равное не менее одного диаметра dн и не более 3dн соединяемых арматурных стержней, отложенных с каждой стороны муфты (рисунок 2).
Рисунок 2 - База измерения деформаций
7.1.7 Положение измерительных приборов и схема испытаний образцов механических соединений арматурных стержней с металлоконструкциями и с концевыми анкерами должны соответствовать рисунку 3.
Рисунок 3 - Схема установки измерительных приборов
при испытаниях образцов механического соединения
арматурного стержня с металлоконструкциями (а)
и с концевым анкером на растяжение (б)
7.1.8 При измерении деформаций напряжения в соединяемых стержнях механического соединения от предварительной нагрузки не должны превышать 4 Н/мм2.
7.1.9 Фактические приложенные напряжения при измерении деформаций не должны иметь отклонения больше, чем +/- 3%.
7.1.10 Деформативность соединения

при растяжении допускается определять двумя способами.
7.1.10.1 Первый способ предназначен для определения деформативности механических соединений, длина муфты которых не более 5dн соединяемых арматурных стержней.
Вычисляется усилие

, соответствующее напряжениям в арматурных стержнях, равным

формуле

(1)
По результатам испытаний определяются полные деформации соединения

на фактической базе измерения
L при усилии

. Вычисляются упругие деформации

на фактической базе измерения
L при усилии

по формуле

(2)
где Es = 2·105 МПа.
Деформативность соединения

определяется как разность между полными деформациями соединения

и упругими деформациями

по формуле

(3)
7.1.10.2 Второй способ предназначен для определения деформативности механических соединений с муфтой любой длины, а также механических соединений арматурных стержней с металлоконструкциями и концевыми анкерами.
Образец соединения нагружается до усилия

, после чего проводится его разгрузка до нулевого усилия. Деформативность соединения

определяется как остаточная деформация соединения на базе измерения
L.
7.1.11 По результатам испытаний оформляется протокол в соответствии с
приложением А.
7.2 Испытания на многоцикловую нагрузку (выносливость)
7.2.1 Целью испытаний механических соединений на выносливость является определение их усталостной прочности при многоцикловом нагружении.
7.2.2 Испытания на выносливость образцов механических соединений проводят при нормальной температуре и влажности при осевом растяжении на действие повторяющейся (пульсирующей) нагрузки, характеризуемой следующими параметрами в соответствии с
рисунком 4:
- максимальное усилие цикла

(4)
- минимальное усилие цикла

(5)
- интервал изменения усилий

(6)
| | ИС МЕГАНОРМ: примечание. В официальном тексте документа, видимо, допущена опечатка: имеется в виду ГОСТ 34278, а не ГОСТ 34028. | |
Значения

и

принимаются согласно
пункту 4.4 ГОСТ 34028.
7.2.3 Испытания проводят на испытательном оборудовании (пульсаторах) с контролем усилий при частоте приложения нагрузки f от 1 до 200 Гц.
7.2.4 Температура образца во время проведения испытания не должна превышать 40 °C. Для обеспечения данного требования рекомендуется принимать частоту испытания не более 60 Гц.
7.2.5 Длина испытуемого образца должна быть достаточной, чтобы обеспечивать отсутствие какого-либо изгибающего момента на всем опытном образце в процессе проведения испытания.
7.2.6 Испытания каждого образца продолжаются до установленного количества циклов нагрузки или до обрыва образца, который должен располагаться по длине образца на расстоянии не менее 2dн соединяемых арматурных стержней от захватных приспособлений испытательной машины.
Если опытный образец разрушается в зоне захватов и механическое соединение еще не повреждено, то испытания могут быть продолжены после перезахвата опытного образца, если оставшаяся длина образца это позволяет.
Рисунок 4 - Характеристика цикла нагрузки
при испытаниях на выносливость
7.2.7 По результатам испытаний оформляется протокол в соответствии с
приложением Б.
7.3 Испытания на малоцикловую выносливость при переменном растяжении и сжатии при высоком уровне напряжений в механических соединениях
7.3.1 Целью данного испытания является оценка характеристик механических соединений категории S1 путем переменного (растяжение-сжатие) нагружения в зоне упругой работы соединяемых арматурных стержней.
7.3.2 Измерение деформаций механических соединений проводят с помощью приборов, устанавливаемых на образец в соответствии с требованиями
7.1.5.
7.3.3 Испытания должны выполняться по следующей программе нагружения
(рисунок 5):
- начиная от напряжения не более 4 Н/мм
2, образец нагружают до растягивающего напряжения, равного 0,9 номинального предела текучести соединяемых арматурных стержней

, затем разгружают и нагружают до сжимающего напряжения, равного

. Количество указанных циклов приложения нагрузки (растяжение-сжатие) - 20;
- после прохождения 20 циклов нагружения опытный образец испытывается на растяжение до разрушения с определением усилия разрушения механического соединения Pв.
7.3.4 Остаточное удлинение u20, как максимальная деформация механического соединения при нулевой нагрузке, определяется по показаниям измерительных приборов или диаграмме деформирования механического соединения, полученной в процессе испытания.
Рисунок 5 - Испытание при переменном растяжении и сжатии
при высоком уровне напряжений в механических соединениях
7.3.5 По результатам испытаний оформляется протокол в соответствии с
приложением В.
7.4 Испытания на малоцикловую выносливость при переменном растяжении и сжатии при высоком уровне пластических деформаций в механических соединениях
7.4.1 Целью данного испытания является оценка характеристик механических соединений категории S2 путем переменного (растяжение-сжатие) упруго-пластического нагружения соединяемых арматурных стержней.
7.4.2 Измерение деформаций механических соединений производят с помощью приборов, устанавливаемых на образец в соответствии с требованиями
7.1.5 настоящего стандарта.
7.4.3 Испытания должны выполняться по следующей программе нагружения
(рисунок 6):
- начиная от нулевых деформаций, образец нагружают до удвоенного значения деформаций при растяжении

, соответствующего номинальному пределу текучести соединяемых арматурных стержней. Затем следуют разгрузка и нагрузка до сжимающего напряжения, равного 0,5 номинального предела текучести арматурного проката

, повторяя весь цикл четыре раза;
- после этого образец нагружают от нулевых напряжений до пятикратного значения деформаций при растяжении

, соответствующего номинальному пределу текучести соединяемого арматурного проката, с последующей разгрузкой и нагрузкой до сжимающего напряжения, равного 0,5 номинального предела текучести арматурного проката

, повторяя цикл четыре раза.
После прохождения указанных восьми циклов опытный образец испытывается на растяжение до разрушения с определением усилия разрушения механического соединения Pв.
Рисунок 6 - Испытание при переменном растяжении
и сжатии при высоком уровне пластических
деформаций в механических соединениях
Остаточные удлинения после четырех циклов u4 и после восьми - u8 вычисляются по формулам:

(7)

(8)
где

- значение деформации, представляющее собой расстояние между двумя точками пересечения горизонтальной оси диаграммы с линиями, параллельными прямой
S, проведенными от уровня растягивающих напряжений во время нагружения образца, соответствующих

, и от уровня сжимающих напряжений во время разгружения образца, соответствующих

последнего, 4-го, цикла нагружения до

;

- значение деформации, представляющее собой расстояние между двумя точками пересечения горизонтальной оси диаграммы с линиями, параллельными прямой
S, проведенными от уровня растягивающих напряжений во время разгружения образца, соответствующих

, и от уровня сжимающих напряжений во время нагружения образца, соответствующих

последнего, 4-го, цикла нагружения до

;

и

- значения деформаций, получаемые тем же самым методом, что и

и

после четырех циклов нагружения до

.
Значения

определяются в соответствии с
рисунком 6.
Уравнение прямой S определяется по формуле
S = EsAs/Lм, (9)
где Es = 2·105 МПа.
7.4.4 По результатам испытаний оформляется протокол в соответствии с
приложением В.
(рекомендуемое)
ФОРМА ПРОТОКОЛА ИСПЫТАНИЙ
НА РАСТЯЖЕНИЕ МЕХАНИЧЕСКИХ СОЕДИНЕНИЙ
Форма протокола испытаний
на растяжение механических соединений
___________________________________________________________________________
Наименование и аккредитация ПРОТОКОЛ N ______________
контролирующей испытаний на растяжение по ГОСТ ........
организации _________________ механических соединений
"__" _______________ 20__ г.
___________________________________________________________________________
Данные о месте выполнения соединений ______________________________________
Тип соединений, маркировка, N партии, документ на производство ____________
Наименование организации/Ф.И.О. монтажника ________________________________
Условия сборки, дата ______________________________________________________
Объем партии, шт., изделий ________________________________________________
Диаметр(ы) и класс соединяемой арматуры, документ на производство арматуры
___________________________________________________________________________
Номинальная площадь поперечного сечения арматурных стержней

_______
Усилие для определения деформативности

____________________________
Результаты испытаний
Номер образца | Разрывное усилие Pв, кН | Деформативность  , мм | Равномерное относительное удлинение арматуры  после разрушения соединения, % | Характер разрушения |
1 | | | | |
2 | | | | |
3 | | | | |
ЗАКЛЮЧЕНИЕ
Испытанные ___________________ механические соединения ____________________
___________________________________________________________________________
требованиям _______________________________________________________________
Начальник контролирующего подразделения ___________________________________
(подпись, инициалы, фамилия)
Испытания проводил ________________________________________________________
(подпись, инициалы, фамилия)
___________________________________________________________________________
(подпись, инициалы, фамилия)
(рекомендуемое)
ФОРМА ПРОТОКОЛА ИСПЫТАНИЙ МЕХАНИЧЕСКИХ СОЕДИНЕНИЙ
НА МНОГОЦИКЛОВОЕ НАГРУЖЕНИЕ (ВЫНОСЛИВОСТЬ)
Форма протокола испытаний механических соединений
на многоцикловое нагружение (выносливость)
___________________________________________________________________________
Наименование и аккредитация ПРОТОКОЛ N ______________
контролирующей испытаний на выносливость по ГОСТ ........
организации _________________ механических соединений
"__" _______________ 20__ г.
___________________________________________________________________________
Данные о месте выполнения соединений ______________________________________
Тип соединений, маркировка, N партии, документ на производство ____________
Наименование организации/Ф.И.О. монтажника ________________________________
Условия сборки, дата ______________________________________________________
Объем партии, шт., изделий ________________________________________________
Диаметр(ы) и класс соединяемой арматуры, документ на производство арматуры
___________________________________________________________________________
Номинальная площадь поперечного сечения арматурных стержней

_______
Размах цикла

, кН __________________ в соответствии с __________________
Частота приложения нагрузки, Гц ___________________________________________
Результаты испытаний
Номер образца | Максимальное усилие цикла Pmax, кН | Минимальное усилие цикла Pmin, кН | Пройденное количество циклов | Отметка о разрушении/характер разрушения |
1 | | | | |
2 | | | | |
3 | | | | |
ЗАКЛЮЧЕНИЕ
Испытанные ___________________ механические соединения ____________________
___________________________________________________________________________
требованиям _______________________________________________________________
Начальник контролирующего подразделения ___________________________________
(подпись, инициалы, фамилия)
Испытания проводил ________________________________________________________
(подпись, инициалы, фамилия)
___________________________________________________________________________
(подпись, инициалы, фамилия)
(рекомендуемое)
ФОРМА ПРОТОКОЛА ИСПЫТАНИЙ МЕХАНИЧЕСКИХ СОЕДИНЕНИЙ
НА МАЛОЦИКЛОВОЕ НАГРУЖЕНИЕ
Форма протокола испытаний механических соединений
на малоцикловое нагружение
___________________________________________________________________________
Наименование и аккредитация ПРОТОКОЛ N ______________
контролирующей испытаний на малоцикловое нагружение
организации по ГОСТ ........
_______________ механических соединений
"__" _______________ 20__ г.
___________________________________________________________________________
Данные о месте выполнения соединений ______________________________________
Тип соединений, маркировка, N партии, документ на производство ____________
Наименование организации/Ф.И.О. монтажника ________________________________
Условия сборки, дата ______________________________________________________
Объем партии, шт., изделий ________________________________________________
Диаметр(ы) и класс соединяемой арматуры, документ на производство арматуры
___________________________________________________________________________
Номинальная площадь поперечного сечения арматурных стержней

_______
Частота приложения нагрузки, Гц ___________________________________________
Заявляемая категория механического соединения _____________________________
Количество циклов _________________________________________________________
Результаты испытаний для механических соединений
на категорию S1
Номер образца | Максимальное усилие цикла Pmax, кН | Минимальное усилие цикла Pmin, кН | Остаточное удлинение после 20 циклов u20, мм | Разрывное усилие Pв, кН | Характер разрушения |
1 | | | | | |
2 | | | | | |
3 | | | | | |
Значение

, мм __________________________________________________________
Значение

, мм __________________________________________________________
Сжимающее усилие цикла

, кН _________________________________________
Значение S, МПа ___________________________________________________________
Результаты испытаний для механических соединений
на категорию S2
Номер образца | Деформации, мм | Остаточное удлинение после 4 циклов u4, мм | Остаточное удлинение после 8 циклов u8, мм | Разрывное усилие Pв, кН | Характер разрушения |
| | | |
1 | | | | | | | | |
2 | | | | | | | | |
3 | | | | | | | | |
ЗАКЛЮЧЕНИЕ
Испытанные ___________________ механические соединения ____________________
___________________________________________________________________________
требованиям _______________________________________________________________
Начальник контролирующего подразделения ___________________________________
(подпись, инициалы, фамилия)
Испытания проводил ________________________________________________________
(подпись, инициалы, фамилия)
___________________________________________________________________________
(подпись, инициалы, фамилия)