Главная // Актуальные документы // ГОСТ (Государственный стандарт)СПРАВКА
Источник публикации
М.: Стандартинформ, 2018
Примечание к документу
Текст данного документа приведен с учетом
поправки, опубликованной в "ИУС", N 12, 2021.
Документ
введен в действие с 01.05.2019.
Название документа
"ГОСТ 22688-2018. Межгосударственный стандарт. Известь строительная. Методы испытаний"
(введен в действие Приказом Росстандарта от 05.10.2018 N 712-ст)
"ГОСТ 22688-2018. Межгосударственный стандарт. Известь строительная. Методы испытаний"
(введен в действие Приказом Росстандарта от 05.10.2018 N 712-ст)
агентства по техническому
регулированию и метрологии
от 5 октября 2018 г. N 712-ст
МЕЖГОСУДАРСТВЕННЫЙ СТАНДАРТ
ИЗВЕСТЬ СТРОИТЕЛЬНАЯ
МЕТОДЫ ИСПЫТАНИЙ
Lime for building purposes. Test methods
(EN 459-2:2010, NEQ)
ГОСТ 22688-2018
Дата введения
1 мая 2019 года
Цели, основные принципы и основной порядок работ по межгосударственной стандартизации установлены в
ГОСТ 1.0-2015 "Межгосударственная система стандартизации. Основные положения" и
ГОСТ 1.2-2015 "Межгосударственная система стандартизации. Стандарты межгосударственные, правила и рекомендации по межгосударственной стандартизации. Правила разработки, принятия, обновления и отмены"
1 РАЗРАБОТАН Федеральным государственным бюджетным образовательным учреждением высшего образования "Национальный исследовательский Московский государственный строительный университет" (НИУ МГСУ) при участии Управляющей компании "РОСИЗВЕСТЬ" (УК "РОСИЗВЕСТЬ"), Общества с ограниченной ответственностью "Специализированные промышленные технологии - изготовление деталей трубопроводов" (ООО "Спецпромтех-ИДТ"), Общества с ограниченной ответственностью "Придонхимстрой известь" (ООО "Придонхимстрой известь"), Общества с ограниченной ответственностью "Эльдако", Акционерного общества "Стройматериалы" (АО "Стройматериалы"), Закрытого акционерного общества "Известняк" Джегонасский карьер (ЗАО "Известняк" Джегонасский карьер)
2 ВНЕСЕН Техническим комитетом по стандартизации ТК 465 "Строительство"
3 ПРИНЯТ Межгосударственным советом по стандартизации, метрологии и сертификации (протокол от 27 июня 2018 г. N 53)
За принятие проголосовали:
Краткое наименование страны по МК (ИСО 3166) 004-97 | Код страны по МК (ИСО 3166) 004-97 | Сокращенное наименование национального органа по стандартизации |
Армения | AM | Минэкономики Республики Армения |
Казахстан | KZ | Госстандарт Республики Казахстан |
Киргизия | KG | Кыргызстандарт |
Россия | RU | Росстандарт |
Туркмения | TM | Главгосслужба "Туркменстандартлары" |
4
Приказом Федерального агентства по техническому регулированию и метрологии от 5 октября 2018 г. N 712-ст межгосударственный стандарт ГОСТ 22688-2018 введен в действие в качестве национального стандарта Российской Федерации с 1 мая 2019 г.
5 Настоящий стандарт разработан с учетом основных нормативных положений европейского стандарта EN 459-2:2010 "Известь строительная. Часть 2. Методы испытаний" ("Building lime - Part 2: Test methods", NEQ)
Информация об изменениях к настоящему стандарту публикуется в ежегодном информационном указателе "Национальные стандарты", а текст изменений и поправок - в ежемесячном информационном указателе "Национальные стандарты". В случае пересмотра (замены) или отмены настоящего стандарта соответствующее уведомление будет опубликовано в ежемесячном информационном указателе "Национальные стандарты". Соответствующая информация, уведомление и тексты размещаются также в информационной системе общего пользования - на официальном сайте Федерального агентства по техническому регулированию и метрологии в сети Интернет (www.gost.ru)
Настоящий стандарт распространяется на строительную известь и устанавливает методы ее испытаний.
Применение указанных методов испытаний предусматривается в стандартах и технических условиях, устанавливающих технические требования на строительную известь.
В настоящем стандарте использованы нормативные ссылки на следующие межгосударственные стандарты:
ГОСТ 83-79 Реактивы. Натрий углекислый. Технические условия
ГОСТ 310.3-76 Цементы. Методы определения нормальной густоты, сроков схватывания и равномерности изменения объема
ГОСТ 310.4-81 Цементы. Методы определения предела прочности при изгибе и сжатии
ГОСТ 3773-72 Реактивы. Аммоний хлористый. Технические условия
ГОСТ 4233-77 Реактивы. Натрий хлористый. Технические условия
ГОСТ 6613-86 Сетки проволочные тканые с квадратными ячейками. Технические условия
ГОСТ 10178-85 Портландцемент и шлакопортландцемент. Технические условия
ГОСТ 10652-73 Реактивы. Соль динатриевая этилендиамин-N,N,N',N'-тетрауксусной кислоты 2-водная (трилон Б). Технические условия
Примечание - При пользовании настоящим стандартом целесообразно проверить действие ссылочных стандартов в информационной системе общего пользования - на официальном сайте Федерального агентства по техническому регулированию и метрологии в сети Интернет или по ежегодному информационному указателю "Национальные стандарты", который опубликован по состоянию на 1 января текущего года, и по выпускам ежемесячного информационного указателя "Национальные стандарты" за текущий год. Если ссылочный стандарт заменен (изменен), то при пользовании настоящим стандартом следует руководствоваться заменяющим (измененным) стандартом. Если ссылочный стандарт отменен без замены, то положение, в котором дана ссылка на него, применяется в части, не затрагивающей эту ссылку.
3.1 При химическом анализе строительной извести следует применять реактивы химически чистые и чистые для анализа (квалификации х.ч. и ч.д.а.), соответствующие действующим стандартам на них, дистиллированную воду и беззольные фильтры.
3.2 Подготовка пробы комовой извести
Из пробы извести, отобранной в соответствии с
ГОСТ 9179 и измельченной до размеров кусков не более 10 мм, квартованием отбирают 1 кг для определения содержания непогасившихся зерен и пробу массой около 500 г. Эту пробу измельчают до полного прохождения через сито с номером сетки 09 по
ГОСТ 6613, тщательно перемешивают, затем квартованием отбирают около 150 г, растирают до полного прохождения через сито с номером сетки 009 по
ГОСТ 6613, помещают в герметически закрытый сосуд и используют для проведения испытаний, предусмотренных настоящим стандартом.
3.3 Подготовка пробы порошкообразной извести
Для проведения химического анализа пробы, отобранной по
ГОСТ 9179, последовательным квартованием отбирают пробу массой 40 г, растирают в ступке до полного прохождения через сито с номером сетки 009 по
ГОСТ 6613 и помещают в герметически закрытый сосуд.
Степень дисперсности, влажность, температуру и время гашения, прочность и равномерность изменения объема извести определяют непосредственно из пробы, отобранной по
ГОСТ 9179.
3.4 Взвешивание навесок следует проводить:
- для химического анализа - на аналитических весах с точностью до +/- 0,001 г;
- прочих определений - на технических весах с точностью до +/- 0,01 г.
3.5 Титр раствора устанавливают по трем параллельным пробам и вычисляют как среднее арифметическое полученных результатов.
3.6 Допускаемые отклонения в результатах параллельных определений должны быть следующих значений, %, не более:
- активная окись кальция ........................ +/- 0,4;
- активная окись магния ......................... +/- 0,3;
-

(весовой метод) ........................... +/- 0,2.
Подсчет результатов анализа проводят с точностью до 0,01%.
3.7 Концентрацию разбавленных кислот в ряде случаев выражают как отношение объема кислоты к объему воды. Например, раствор соляной кислоты 1:3 означает, что один объем соляной кислоты плотностью 1,19 разбавлен тремя объемами воды.
4.1 Определение суммарного содержания активных окисей кальция и магния в кальциевой извести
4.1.1 Применяемые реактивы и растворы
Соляная кислота по
ГОСТ 3118, 1 н раствор; готовят следующим образом: 85 мл соляной кислоты плотностью 1,19 разбавляют дистиллированной водой до 1 л и тщательно перемешивают.
Титр 1 н раствора соляной кислоты устанавливают по углекислому безводному натрию по
ГОСТ 83, предварительно высушенному при температуре от 250 °C до 270 °C до постоянной массы в течение 1 - 1,5 ч.
Массу навески 1 г углекислого натрия помещают в коническую колбу вместимостью 250 мл и растворяют дистиллированной водой до 80 - 100 мл. Полученный раствор титруют устанавливаемым 1 н раствором соляной кислоты в присутствии метилового оранжевого индикатора (0,1%-ный раствор) до перехода желтой окраски раствора в оранжево-розовую.
Титр 1 н раствора соляной кислоты, выраженный в граммах CaO (TCaO), вычисляют по формуле

(1)
где Q - масса навески углекислого натрия, г;
0,02804 - количество окиси кальция, соответствующее 1 мл точно 1 н раствора соляной кислоты, г;
V - объем 1 н раствора соляной кислоты, пошедший на титрование, мл;
0,053 - количество натрия углекислого, соответствующее 1 мл точно 1 н раствора соляной кислоты, г.
Фенолфталеин (индикатор), 1%-ный спиртовой раствор.
4.1.2 Проведение анализа
Навеску массой 1 г помещают в коническую колбу вместимостью 250 мл, наливают 150 мл дистиллированной воды, добавляют три-пять стеклянных бус или оплавленных стеклянных палочек длиной от 5 до 7 мм, закрывают стеклянной воронкой или часовым стеклом и нагревают от 5 до 7 мин до температуры кипения. Раствор охлаждают до температуры от 20 °C до 30 °C, промывают стенки колбы и стеклянную воронку (или часовое стекло) кипяченой дистиллированной водой, добавляют две-три капли 1%-ного спиртового раствора фенолфталеина и титруют при постоянном взбалтывании 1 н раствором соляной кислоты до полного обесцвечивания раствора. Титрование считают законченным, если в течение 8 мин при периодическом взбалтывании раствор останется бесцветным.
Титрование следует проводить медленно, добавляя кислоту по каплям.
Содержание активных окисей кальция и магния A, %, для негашеной извести вычисляют по формуле

(2)
где V - объем раствора 1 н соляной кислоты, пошедший на титрование, мл;
TCaO - титр 1 н раствора соляной кислоты, выраженный в граммах CaO;
Q - масса навески извести, г.
Содержание активных окисей кальция и магния A, %, для гидратной извести вычисляют по формуле

(3)
где
W - влажность гидратной извести, определяемая по
4.6, %.
4.2 Определение суммарного содержания активных окисей кальция и магния в магнезиальной, доломитовой и гидравлической извести
4.2.1 Применяемые реактивы и растворы
Аммиачный буферный раствор; готовят следующим образом: 67,5 г хлористого аммония по
ГОСТ 3773 растворяют в 200 мл дистиллированной воды, фильтруют, прибавляют 570 мл 25%-ного раствора аммиака по
ГОСТ 3760, доливают до 1 л водой и хорошо перемешивают.
Кислотный хром темно-синий (индикатор), 0,5%-ный раствор; готовят следующим образом: 0,5 г индикатора хром темно-синего растворяют в 10 мл аммиачного буферного раствора и разбавляют до 100 мл синтетическим этиловым спиртом или техническим этиловым спиртом по
ГОСТ 17299.
Трилон Б по
ГОСТ 10652, 0,1 н раствор (двунатриевая соль этилендиаминтетрауксусной кислоты); готовят следующим образом: 19 г трилона Б растворяют в мерной колбе в 300 - 400 мл дистиллированной воды при незначительном нагревании. Если раствор получится мутным, то его фильтруют, затем доливают до 1 л водой и хорошо перемешивают. Для установки титра трилона Б приливают из бюретки 20 мл 0,1 н титрованного раствора сернокислого магния, приготовленного из фиксанала, в коническую колбу вместимостью 250 - 300 мл, разбавляют раствор до 100 мл водой, нагревают до температуры от 60 °C до 70 °C, приливают 15 мл аммиачного буферного раствора и пять-семь капель кислотного хром темно-синего индикатора и титруют 0,1 н раствором трилона Б при интенсивном помешивании до перехода красной окраски раствора в устойчивую сине-сиреневую или синюю с зеленоватым оттенком.
Титр 0,1 н раствора трилона Б TMgO, выраженный в граммах MgO, вычисляют по формуле

(4)
где V - объем 0,1 н раствора трилона Б, пошедший на титрование 20 мл 0,1 н раствора сернокислого магния, мл;
0,002016 - количество окиси магния, соответствующее 1 мл точно 0,1 н раствора трилона Б, г.
Гидрат окиси калия, 20%-ный раствор, хранят в полиэтиленовой посуде.
Флуорексон (индикатор), сухая смесь; готовят следующим образом: 1 г флуорексона тщательно растирают в ступке с 99 г безводного хлористого калия по
ГОСТ 4234. Индикаторную смесь хранят в посуде с притертой крышкой в темном месте.
Триэтаноламин по действующим нормативным документам, водный раствор 1:4.
Фенолфталеин (индикатор), 1%-ный спиртовой раствор.
Соляная кислота по
ГОСТ 3118, 1 н титрованный раствор.
4.2.2 Проведение анализа
4.2.2.1 Определение содержания активной окиси кальция сахаратным способом
0,25 г извести помещают в коническую колбу вместимостью 500 мл, добавляют 50 мл раствора сахарозы и энергично взбалтывают в течение 15 мин.
Для улучшения перемешивания в колбу предварительно помещают три-пять стеклянных бус или оплавленных стеклянных палочек длиной от 5 до 7 мм. Затем прибавляют две-три капли фенолфталеина и титруют 1 н раствором соляной кислоты. Титрование проводят по каплям до первого исчезновения розовой окраски. Количество активной окиси кальция A1, %, вычисляют по формуле

(5)
где V - объем 1 н раствора соляной кислоты, пошедший на титрование, мл;
TCaO - титр 1 н раствора соляной кислоты, выраженный в граммах CaO;
m - масса навески извести, г.
4.2.2.2 Определение содержания активной окиси магния трилонометрическим методом
Массу навески извести 0,5 г помещают в стакан вместимостью 200 - 250 мл, смачивают ее водой и прибавляют 30 мл 1 н соляной кислоты. Стакан закрывают часовым стеклом и нагревают в течение 8 - 10 мин до температуры кипения, затем часовое стекло ополаскивают дистиллированной водой и после охлаждения раствор переливают в мерную колбу вместимостью 250 мл, доливают дистиллированной водой до метки и тщательно перемешивают. После отстаивания раствора отбирают пипеткой 50 мл, переносят в коническую колбу вместимостью 250 мл и добавляют 50 мл дистиллированной воды, 5 - 10 мл аммиачного буферного раствора, пять-семь капель кислотного хром темно-синего индикатора и титруют при сильном взбалтывании 0,1 н раствором трилона Б до перехода красной окраски раствора в сине-зеленую или синюю.
По окончании титрования отмечают объем V1 израсходованного трилона Б, мл.
Из этой же мерной колбы отбирают 50 мл раствора в коническую колбу вместимостью 250 мл, приливают 100 мл дистиллированной воды и перемешивают. Затем добавляют 3 мл триэтаноламина, 25 мл 20%-ного раствора едкого калия и вновь перемешивают. Через 1 - 2 мин добавляют на кончике шпателя флуорексон и титруют раствором трилона Б до перехода флуоресцирующей розово-зеленой окраски раствора в устойчивую розовую при наблюдении на черном фоне. Отмечают объем V2 израсходованного раствора трилона Б, мл.
Содержание активной окиси магния A2, %, вычисляют по формуле

(6)
где V1 - объем 0,1 н раствора трилона Б, пошедший на титрование CaO + MgO, мл;
V2 - объем 0,1 н раствора трилона Б, пошедший на титрование CaO, мл;
TMgO - титр 0,1 н раствора трилона Б, выраженный в граммах MgO;
5 - коэффициент, учитывающий определение MgO в аликвотной части раствора;
m - масса навески извести, г.
Содержание активных окисей кальция и магния A, %, определено суммой величин A1 и A2.
4.3 Определение содержания гидратной воды и CO2 в извести весовым методом
4.3.1 Определение содержания гидратной воды
В предварительно прокаленный и взвешенный платиновый или фарфоровый тигель отвешивают около 1 г извести и помещают на 2 ч в муфельную печь, нагретую до температуры (520 +/- 10) °C. Тигель с навеской охлаждают в герметически закрытом эксикаторе в присутствии влагопоглощающего вещества, а затем взвешивают.
Пробу гидратной извести предварительно высушивают при температуре от 105 °C до 110 °C.
Содержание гидратной воды W, %, вычисляют по формуле

(7)
где m1 - разность в массе тигля с навеской до и после прокаливания, г;
m - масса навески извести, г.
4.3.2 Определение содержания CO2
Тигель с навеской извести, прокаленной при температуре (520 +/- 10) °C (4.3.1), помещают на 1 ч в муфельную печь, нагретую до температуры (975 +/- 25) °C. После охлаждения тигля с навеской в эксикаторе проводят взвешивание.
Содержание CO2, %, вычисляют по формуле

(8)
где m2 - масса навески после прокаливания при температуре 520 °C, г;
m3 - масса навески после прокаливания при температуре 975 °C, г;
m - масса навески извести, г.
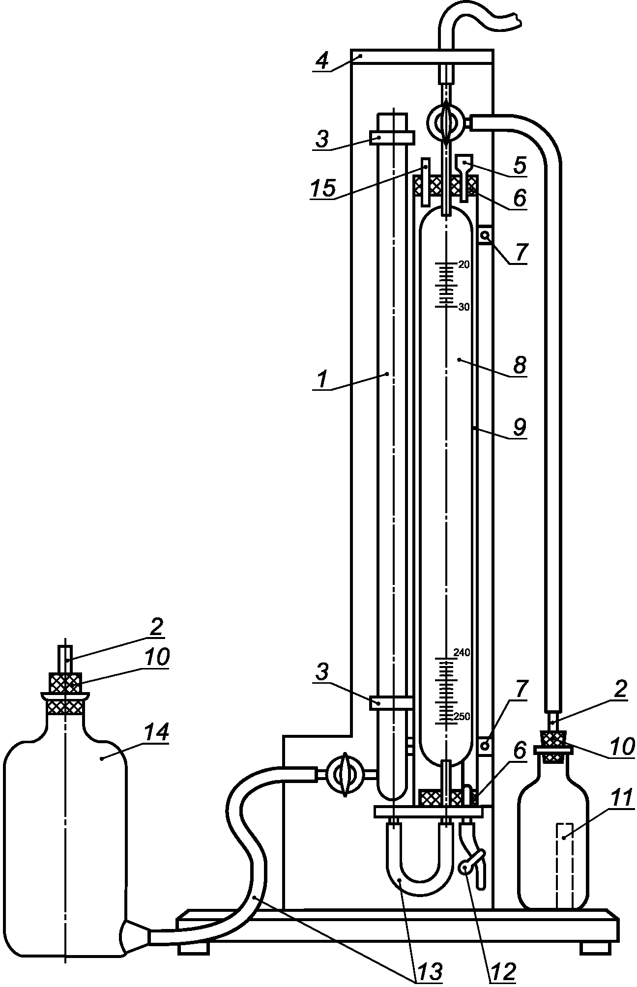
4.4 Определение содержания CO2 в извести на кальциметре газообъемным методом (экспресс-метод)
4.4.1 Газообъемный метод основан на измерении выделившегося углекислого газа в результате воздействия соляной кислоты на карбонаты кальция и магния.
4.4.2 Кальциметр изготовляют в соответствии с требованиями действующих нормативных документов (рисунок 1).
1 - цилиндр с краном; 2 - отводная трубка;
3 - клеммы для цилиндра; 4 - подставка; 5 - воронка;
6 - резиновая пробка к мантии; 7 - клемма для мантии;
8 - бюретка с краном; 9 - мантия; 10 - резиновая пробка
N 20 - 22; 11 - склянка с пробиркой; 12 - пружинный зажим;
13 - соединительная резиновая трубка; 14 - склянка
с тубусом; 15 - отверстие для термометра
Рисунок 1 - Кальциметр
4.4.3 Применяемые реактивы и растворы
Раствор 1:1 соляной кислоты по
ГОСТ 3118 плотностью 1,19.
Хлористый натрий по
ГОСТ 4233, насыщенный водный раствор; готовят следующим образом: 400 г хлористого натрия растворяют в 1 л дистиллированной воды.
4.4.4 Определение герметичности прибора
Проверку прибора на герметичность проводят следующим образом. Склянку с пробиркой 11 закрывают пробкой 10, соединенной резиновой трубкой с бюреткой 8. Кран цилиндра 1 открывают, а кран бюретки 8 переводят в вертикальное положение, соединяя бюретку и склянку с пробиркой с атмосферой. В мантию 9 бюретки наливают воду, а в склянку с тубусом 14 - подкрашенный насыщенный водный раствор хлористого натрия. Путем вертикального перемещения склянки с тубусом доводят уровень жидкости в бюретке до нулевой отметки, кран бюретки устанавливают в горизонтальном положении, перекрывая выход в атмосферу и соединяя бюретку и склянку с пробиркой. Затем уровень жидкости в цилиндре с помощью склянки с тубусом доводят до отметки 120 - 130 мл (по шкале бюретки), закрывают кран цилиндра и оставляют прибор в таком состоянии на несколько часов. Если уровень жидкости в бюретке изменяется, то необходимо проверить на герметичность все соединительные части: трубки, краны, пробки.
4.4.5 Проведение анализа
Массу навески около 1 г помещают в склянку с пробиркой, добавляют три-пять стеклянных бус или оплавленных стеклянных палочек длиной от 5 до 7 мм и с помощью воронки в пробирку наливают около 10 мл раствора соляной кислоты 1:1. Склянку с пробиркой закрывают пробкой, соединенной резиновой трубкой с бюреткой. Во время проведения опыта склянку с пробиркой необходимо брать только за горлышко. Кран бюретки устанавливают в вертикальное положение, соединяя бюретку и склянку с пробиркой с атмосферой. Открывают кран цилиндра и, изменяя высоту положения склянки с тубусом, уровень жидкости в цилиндре и бюретке устанавливают на отметке 20 мл. После этого кран цилиндра закрывают, а кран бюретки переводят в горизонтальное положение, перекрывая атмосферу от склянки с пробиркой и бюретки. Для соединения навески с кислотой склянку с пробиркой при открытом кране цилиндра наклоняют и встряхивают. В результате взаимодействия карбонатной составляющей пробы с соляной кислотой выделившийся CO2 попадает в бюретку, вытесняя из нее жидкость в цилиндр и склянку с тубусом. Для охлаждения склянку с содержимым помещают в сосуд с водой, имеющей температуру воды в мантии бюретки. После стабилизации столба жидкости в бюретке, т.е. прекращения выделения CO2, кран цилиндра открывают и уравнивают жидкость в бюретке и цилиндре. При получении одинаковых уровней жидкости по разности уровней до и после реакции по шкале бюретки проводят отсчет объема выделившегося CO2. Одновременно замеряют температуру воды в мантии бюретки (температура опыта) и атмосферное давление по барометру.
Содержание CO2, %, вычисляют по формуле

(9)
где V - объем выделившегося CO2, мл;

- атмосферное давление по барометру, мм рт. ст.;
B - давление водяных паров при температуре опыта над насыщенным раствором NaCl, мм рт. ст.
(приложение А);
m - масса навески извести, г;
C - масса 1 мл CO
2 при температуре и атмосферном давлении опыта, мг
(приложение Б).
4.5 Определение содержания непогасившихся зерен
В металлический сосуд цилиндрической формы вместимостью от 8 до 10 л наливают от 3,5 до 4 л нагретой до температуры от 85 °C до 90 °C воды и всыпают 1 кг извести, непрерывно перемешивая содержимое до окончания интенсивного выделения пара (кипения). Полученное тесто закрывают крышкой и выдерживают в течение 2 ч, затем разбавляют холодной водой до консистенции известкового молока и промывают на сите с номером сетки 063 по
ГОСТ 6613 слабой непрерывной струей, слегка растирая мягкие кусочки стеклянной палочкой с резиновым наконечником. Остаток на сите высушивают при температуре от 140 °C до 150 °C до постоянной массы. Содержание непогасившихся зерен (НЗ), %, вычисляют по формуле

(10)
где m - остаток на сите после высушивания, г.
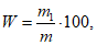
4.6 Определение влажности гидратной извести
Массу навески 10 г помещают в предварительно высушенный до постоянной массы и взвешенный бюкс с крышкой и сушат в сушильном шкафу при температуре от 105 °C до 110 °C. В сушильном шкафу должен быть бюкс с натронной известью для улавливания CO2 воздуха. Во время сушки крышку бюкса приоткрывают. Через 2 ч бюкс плотно закрывают крышкой, извлекают из сушильного шкафа, охлаждают в эксикаторе и взвешивают. Высушивание повторяют до постоянной массы. Время контрольного высушивания - 30 мин.
Влажность извести W, %, вычисляют по формуле

(11)
где m - масса навески извести, г;
m1 - масса навески извести после высушивания, г.
4.7 Определение ситовых остатков порошкообразной извести
Массу навески 50 г, предварительно высушенную при температуре от 105 °C до 110 °C до постоянной массы, просеивают через сита с номерами сетки 02 и 009 по
ГОСТ 6613. Просеивание считают законченным, если при контрольном просеивании в течение 1 мин через указанные сита проходит не более 0,1 г извести. Степень дисперсности (СД), %, вычисляют по формуле

(12)
где m - остаток на сите, г.
4.8 Определение предела прочности при сжатии образцов из гидравлической извести
Предел прочности при сжатии определяют на образцах-балочках по
ГОСТ 310.4 со следующими изменениями. Одну часть гидравлической извести смешивают с тремя частями нормального песка, вливают воду в количестве около половины общего объема, необходимого для получения раствора с расплывом конуса от 110 до 115 мм. Перемешанную массу охлаждают до температуры от 25 °C до 30 °C, добавляют остальное количество воды до достижения раствором указанной консистенции, перемешивают в течение 2 мин и переносят в мешалку.
В ванне с гидравлическим затвором образцы, освобожденные от форм, выдерживают на протяжении 5 - 6 сут над водой и 21 сут в воде.
4.9 Определение температуры и времени гашения извести
Для определения температуры и времени гашения извести используют бытовой термос вместимостью 500 мл.
Массу навески извести m, г, вычисляют по формуле

(13)
где A - содержание активных окисей кальция и магния в извести, %.
Массу навески m помещают в термосную колбу, вливают 25 мл воды, имеющей температуру 20 °C, и быстро перемешивают деревянной отполированной палочкой. Колбу закрывают пробкой с плотно вставленным термометром на температуру 100 °C и оставляют в покое. Ртутный шарик термометра или электронный термометр должны быть полностью погружены в реагирующую смесь. Отсчет температуры реагирующей смеси ведут через каждую минуту начиная с момента добавления воды. Определение считают законченным, если в течение 4 мин температура не повышается более чем на 1 °C.
За время гашения принимают время с момента добавления воды до начала периода, когда рост температуры не превышает 0,25 °C в минуту.
4.10 Определение равномерности изменения объема извести
Равномерность изменения объема извести определяют по
ГОСТ 310.3 со следующими изменениями.
Образцы-лепешки готовят из смеси извести и портландцемента по
ГОСТ 10178.
Массу навески извести от 30 до 40 г затворяют водой до консистенции теста и охлаждают до температуры от 25 °C до 30 °C, затем добавляют от 30 до 40 г цемента, доливают водой и перемешивают до образования теста нормальной густоты. За нормальную густоту теста принимают такую его консистенцию, при которой пестик прибора Вика, погруженный в кольцо, заполненное тестом, не доходит до пластины 7 - 11 мм. Форма и размеры кольца должны соответствовать указанным на
рисунке 2. Полученное тесто делят на две равные части для приготовления лепешек толщиной от 0,7 до 0,8 см и диаметром от 6 до 7 см.
Лепешки выдерживают в ванне с гидравлическим затвором в течение (24 +/- 2) ч. Затем вместе с пластиной переносят в бачок на решетку для пропаривания, расположенную на расстоянии не менее 3 см над уровнем воды.
Воду в бачке доводят до кипения, которое поддерживают в течение 2 ч.
Через 1 ч проводят осмотр образцов. Если обнаруживают признаки неравномерности изменения объема, то испытание прекращают.
Известь считают соответствующей требованию равномерности изменения объема, если на поверхности лепешек не обнаружится радиальных трещин, доходящих до краев, или сетки мелких трещин, а также каких-либо искривлений, увеличения объема и образования непрочной рыхлой структуры лепешек.
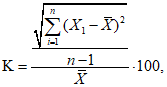
4.11 Коэффициент вариации K, %, вычисляют по результатам испытаний извести, произведенной за квартал, по формуле

(14)
где X1 - содержание активных CaO + MgO в извести отдельной i-й партии, %;

- среднее содержание активных CaO + MgO в извести за квартал, %;
n - число партий извести, произведенной за квартал.
(обязательное)
ДАВЛЕНИЕ ВОДЯНЫХ ПАРОВ НАД НАСЫЩЕННЫМ РАСТВОРОМ NaCl
В ЗАВИСИМОСТИ ОТ ТЕМПЕРАТУРЫ
Таблица А.1
Температура опыта, °C | Давление водяных паров над насыщенным раствором NaCl, мм рт. ст. | Температура опыта, °C | Давление водяных паров над насыщенным раствором NaCl, мм рт. ст. |
10 | 6,9 | 20 | 13,2 |
11 | 7,4 | 21 | 14,1 |
12 | 7,9 | 22 | 15,0 |
13 | 8,5 | 23 | 15,9 |
14 | 9,1 | 24 | 16,9 |
15 | 9,7 | 25 | 17,9 |
16 | 10,3 | 26 | 19,0 |
17 | 11,0 | 27 | 20,2 |
18 | 11,7 | 28 | 21,4 |
19 | 12,4 | - | - |
(обязательное)
МАССА 1 мл CO2 В ЗАВИСИМОСТИ ОТ ТЕМПЕРАТУРЫ
И АТМОСФЕРНОГО ДАВЛЕНИЯ
Температура опыта, °C | Масса 1 мл CO2, мг |
Показатель барометра, мм рт. ст. |
742 | 744,5 | 747 | 749 | 751 | 753,5 | 756 | 758 | 760 | 762,5 | 765 | 767 | 769 | 771 |
28 | 1,778 | 1,784 | 1,791 | 1,797 | 1,804 | 1,810 | 1,817 | 1,823 | 1,828 | 1,833 | 1,837 | 1,842 | 1,847 | 1,852 |
27 | 1,784 | 1,790 | 1,797 | 1,803 | 1,810 | 1,816 | 1,823 | 1,829 | 1,834 | 1,839 | 1,843 | 1,848 | 1,853 | 1,858 |
26 | 1,791 | 1,797 | 1,803 | 1,809 | 1,816 | 1,822 | 1,829 | 1,835 | 1,840 | 1,845 | 1,849 | 1,854 | 1,859 | 1,864 |
25 | 1,797 | 1,803 | 1,810 | 1,816 | 1,823 | 1,829 | 1,836 | 1,842 | 1,847 | 1,852 | 1,856 | 1,861 | 1,866 | 1,871 |
24 | 1,803 | 1,809 | 1,816 | 1,822 | 1,829 | 1,835 | 1,842 | 1,848 | 1,853 | 1,858 | 1,862 | 1,867 | 1,872 | 1,877 |
23 | 1,809 | 1,815 | 1,822 | 1,828 | 1,835 | 1,841 | 1,848 | 1,854 | 1,859 | 1,864 | 1,868 | 1,873 | 1,878 | 1,883 |
22 | 1,815 | 1,821 | 1,828 | 1,834 | 1,841 | 1,847 | 1,854 | 1,860 | 1,865 | 1,870 | 1,875 | 1,880 | 1,885 | 1,890 |
21 | 1,822 | 1,828 | 1,835 | 1,841 | 1,848 | 1,854 | 1,861 | 1,867 | 1,872 | 1,877 | 1,882 | 1,887 | 1,892 | 1,897 |
20 | 1,828 | 1,834 | 1,841 | 1,847 | 1,854 | 1,860 | 1,867 | 1,873 | 1,878 | 1,883 | 1,888 | 1,893 | 1,898 | 1,903 |
19 | 1,834 | 1,840 | 1,847 | 1,853 | 1,860 | 1,866 | 1,873 | 1,879 | 1,884 | 1,889 | 1,894 | 1,899 | 1,904 | 1,909 |
18 | 1,840 | 1,846 | 1,853 | 1,859 | 1,866 | 1,872 | 1,879 | 1,885 | 1,890 | 1,895 | 1,900 | 1,905 | 1,910 | 1,915 |
17 | 1,846 | 1,853 | 1,860 | 1,866 | 1,873 | 1,879 | 1,886 | 1,892 | 1,897 | 1,902 | 1,907 | 1,912 | 1,917 | 1,922 |
16 | 1,853 | 1,860 | 1,866 | 1,873 | 1,879 | 1,886 | 1,892 | 1,898 | 1,903 | 1,908 | 1,913 | 1,918 | 1,923 | 1,928 |
15 | 1,859 | 1,866 | 1,872 | 1,879 | 1,886 | 1,892 | 1,899 | 1,905 | 1,910 | 1,915 | 1, 920 | 1,925 | 1,930 | 1,935 |
14 | 1,865 | 1,872 | 1,878 | 1,885 | 1,892 | 1,899 | 1,906 | 1,912 | 1,917 | 1,922 | 1,927 | 1,932 | 1,937 | 1,942 |
13 | 1,872 | 1,878 | 1,885 | 1,892 | 1,899 | 1,906 | 1,913 | 1,919 | 1,924 | 1,929 | 1,934 | 1,939 | 1,944 | 1,949 |
12 | 1,878 | 1,885 | 1,892 | 1,899 | 1,906 | 1,912 | 1,919 | 1,925 | 1,930 | 1,935 | 1,940 | 1,945 | 1,950 | 1,955 |
11 | 1,885 | 1,892 | 1,899 | 1,906 | 1,913 | 1,919 | 1,926 | 1,932 | 1,937 | 1,942 | 1,947 | 1,952 | 1,957 | 1,962 |
10 | 1,892 | 1,899 | 1,906 | 1,913 | 1,920 | 1,926 | 1,933 | 1,939 | 1,944 | 1,949 | 1,954 | 1,959 | 1,964 | 1,969 |