Главная // Актуальные документы // ГОСТ (Государственный стандарт)СПРАВКА
Источник публикации
М.: Стандартинформ, 2017
Примечание к документу
Текст данного документа приведен с учетом
поправки, опубликованной в "ИУС", N 12, 2019.
Документ
введен в действие с 1 июля 2018 года.
Название документа
"ГОСТ 20870-2017 (ISO 1663:2007). Межгосударственный стандарт. Пластмассы ячеистые жесткие. Метод определения скорости прохождения паров воды"
(введен в действие Приказом Росстандарта от 21.09.2017 N 1201-ст)
"ГОСТ 20870-2017 (ISO 1663:2007). Межгосударственный стандарт. Пластмассы ячеистые жесткие. Метод определения скорости прохождения паров воды"
(введен в действие Приказом Росстандарта от 21.09.2017 N 1201-ст)
агентства по техническому
регулированию и метрологии
от 21 сентября 2017 г. N 1201-ст
МЕЖГОСУДАРСТВЕННЫЙ СТАНДАРТ
ПЛАСТМАССЫ ЯЧЕИСТЫЕ ЖЕСТКИЕ
МЕТОД ОПРЕДЕЛЕНИЯ СКОРОСТИ ПРОХОЖДЕНИЯ ПАРОВ ВОДЫ
Rigid cellular plastics. Method for determination
of the rate of passage of water vapour
(ISO 1663:2007, Rigid cellular plastics - Determination
of water vapour transmission properties, MOD)
ГОСТ 20870-2017
(ISO 1663:2007)
Дата введения
1 июля 2018 года
Цели, основные принципы и основной порядок проведения работ по межгосударственной стандартизации установлены в
ГОСТ 1.0-2015 "Межгосударственная система стандартизации. Основные положения" и
ГОСТ 1.2-2015 "Межгосударственная система стандартизации. Стандарты межгосударственные, правила, рекомендации по межгосударственной стандартизации. Правила разработки, принятия, обновления и отмены"
1 ПОДГОТОВЛЕН Автономной некоммерческой организацией "Центр нормирования, стандартизации и классификации композитов" (АНО "Стандарткомпозит") при участии Объединения юридических лиц "Союз производителей композитов" (Союзкомпозит) на основе собственного перевода на русский язык англоязычной версии международного стандарта, указанного в
пункте 5
2 ВНЕСЕН Техническим комитетом по стандартизации ТК 230 "Пластмассы, полимерные материалы, методы их испытаний"
3 ПРИНЯТ Межгосударственным советом по стандартизации, метрологии и сертификации (протокол от 30 августа 2017 г. N 102-П)
За принятие проголосовали:
Краткое наименование страны по МК (ИСО 3166) 004-97 | Код страны по МК (ИСО 3166) 004-97 | Сокращенное наименование национального органа по стандартизации |
Беларусь | BY | Госстандарт Республики Беларусь |
Киргизия | KG | Кыргызстандарт |
Россия | RU | Росстандарт |
Таджикистан | TJ | Таджикстандарт |
4
Приказом Федерального агентства по техническому регулированию и метрологии от 21 сентября 2017 г. N 1201-ст межгосударственный стандарт ГОСТ 20870-2017 (ISO 1663:2007) введен в действие в качестве национального стандарта Российской Федерации с 1 июля 2018 г.
5 Настоящий стандарт является модифицированным по отношению к международному стандарту ISO 1663:2007 "Поропласты жесткие. Определение свойств проницаемости водяных паров" ("Rigid cellular plastics - Determination of water vapour transmission properties", MOD).
Дополнительные слова (фразы, показатели, ссылки), включенные в текст стандарта для учета особенностей российской национальной стандартизации и/или особенностей межгосударственной стандартизации стран, указанных выше, выделены в тексте курсивом.
В стандарт внесен дополнительный
рисунок 3 для учета особенностей российской национальной стандартизации.
Ссылки на международные стандарты, которые не приняты в качестве межгосударственных стандартов, заменены на соответствующие межгосударственные стандарты.
Наименование настоящего стандарта изменено относительно наименования указанного международного стандарта для приведения в соответствие с ГОСТ 1.5
(подраздел 3.6).
Сведения о соответствии ссылочных межгосударственных стандартов международным стандартам, использованным в качестве ссылочных в примененном международном стандарте, приведены в дополнительном
приложении ДА
Информация об изменениях к настоящему стандарту публикуется в ежегодном информационном указателе "Национальные стандарты", а текст изменений и поправок - в ежемесячном информационном указателе "Национальные стандарты". В случае пересмотра (замены) или отмены настоящего стандарта соответствующее уведомление будет опубликовано в ежемесячном информационном указателе "Национальные стандарты". Соответствующая информация, уведомление и тексты размещаются также в информационной системе общего пользования - на официальном сайте Федерального агентства по техническому регулированию и метрологии в сети Интернет (www.gost.ru)
Настоящий стандарт распространяется на жесткие ячеистые пластмассы и устанавливает метод определения скорости прохождения паров воды, относительной паропроницаемости, паропроницаемости и коэффициента устойчивости к диффузии жестких ячеистых пластмасс (поропластов) при прохождении паров воды.
Настоящий метод предусматривает проведение испытаний жестких ячеистых пластмасс толщиной 10 мм и более, которые могут в качестве составной части содержать поверхностные пленки, образовавшиеся при формовании, или приклеенные защитные слои.
Метод испытания предусматривает три варианта условий испытания с различной температурой и относительной влажностью:
- температура 38 °C и градиент относительной влажности по толщине образца для испытаний от 0% до 88% или до 88,5%;
- температура 23 °C и градиент относительной влажности по толщине образца для испытаний от 0% до 85%;
- температура 23 °C и градиент относительной влажности по толщине образца для испытаний от 0% до 50%.
Результаты, полученные этим методом, применяют при проектировании, производственном контроле, а также включают в технические условия на материалы и изделия.
Этот метод применяют для материалов, скорость прохождения паров воды через которые составляет от 3 до 200 нг/(м2·с).
В настоящем стандарте использованы нормативные ссылки на следующие межгосударственные стандарты:
ГОСТ 4217-77 Реактивы. Калий азотнокислый. Технические условия
ГОСТ 12423-2013 (ISO 291:2008) Пластмассы. Условия кондиционирования и испытания образцов (проб)
ГОСТ 25015-81 Пластмассы ячеистые и пенорезины. Метод измерения линейных размеров
ГОСТ 25336-82 Посуда и оборудование лабораторные стеклянные. Типы, основные параметры и размеры
ГОСТ 29244-91 (ИСО 483-88) Пластмассы. Небольшие контейнеры для кондиционирования и испытания с использованием водных растворов для поддержания постоянного значения относительной влажности
Примечание - При пользовании настоящим стандартом целесообразно проверить действие ссылочных стандартов в информационной системе общего пользования - на официальном сайте Федерального агентства по техническому регулированию и метрологии в сети Интернет или по ежегодному информационному указателю "Национальные стандарты", который опубликован по состоянию на 1 января текущего года, и по выпускам ежемесячного информационного указателя "Национальные стандарты" за текущий год. Если ссылочный стандарт заменен (изменен), то при пользовании настоящим стандартом следует руководствоваться заменяющим (измененным) стандартом. Если ссылочный стандарт отменен без замены, то положение, в котором дана ссылка на него, применяется в части, не затрагивающей эту ссылку.
В настоящем стандарте применены следующие термины с соответствующими определениями:
3.1 скорость прохождения паров воды (water vapour transmission rate), мкг·м-2·с-1: Количество водяного пара, прошедшего через единицу площади испытуемого образца за единицу времени при заданных температуре, влажности и толщине образца.
Примечания
1 Допускается определять скорость прохождения паров воды в граммах на квадратный метр за сутки.
2 Значения скорости прохождения паров воды характерны для конкретной толщины испытуемого образца.
3.2 относительная паропроницаемость (water vapour permeance), нг·м-2·с-1·Па-1: Отношение скорости прохождения паров воды через испытуемый образец к разности давлений паров воды между двумя поверхностями образца во время испытания.
Примечание - Значения относительной паропроницаемости характеризуют конкретную толщину испытуемого образца.
3.3 устойчивость к парам воды (water vapour resistance): Величина, обратная относительной паропроницаемости.
3.4 паропроницаемость (water vapour permeability), нг·м-1·с-1·Па-1: Численное значение произведения относительной паропроницаемости и толщины.
Примечания
1 Паропроницаемость - это количество паров воды, прошедшее через единицу площади материала, толщина которого равна единице площади в единицу времени при разности давления паров воды между двумя сторонами материала, равной единице давления.
2 Для гомогенных материалов полученные значения паропроницаемости характеризуют свойства материалов.
3.5 коэффициент устойчивости к диффузии паров воды (water vapour diffusion resistance index): Отношение паропроницаемости воздуха к паропроницаемости испытуемого материала.
Примечания
1 Этот коэффициент показывает, насколько испытуемый материал является менее проницаемым для паров воды, чем слой неподвижного воздуха такой же толщины при той же температуре.
2 Для гомогенных материалов полученные значения коэффициента устойчивости к диффузии паров воды характеризуют свойства материалов.
Образец для испытаний помещают в стакан с осушителем таким образом, чтобы образец плотно входил в стакан. Затем собранный узел помещают в атмосферу с контролируемой температурой и влажностью. Периодически взвешивают собранный узел для определения скорости прохождения паров воды через образец в осушитель.
5.1 Открытые емкости цилиндрической формы, изготовленные из материала, непроницаемого для паров воды, например стекла или металла, диаметром не менее 65 мм, в верхней части слегка расширенные для заливки воском или
парафином (см.
приложение A, в котором приводится пример узла в сборе (см.
рисунок A.1), и
5.3, в котором описаны узлы в сборе, для которых необходим шаблон).
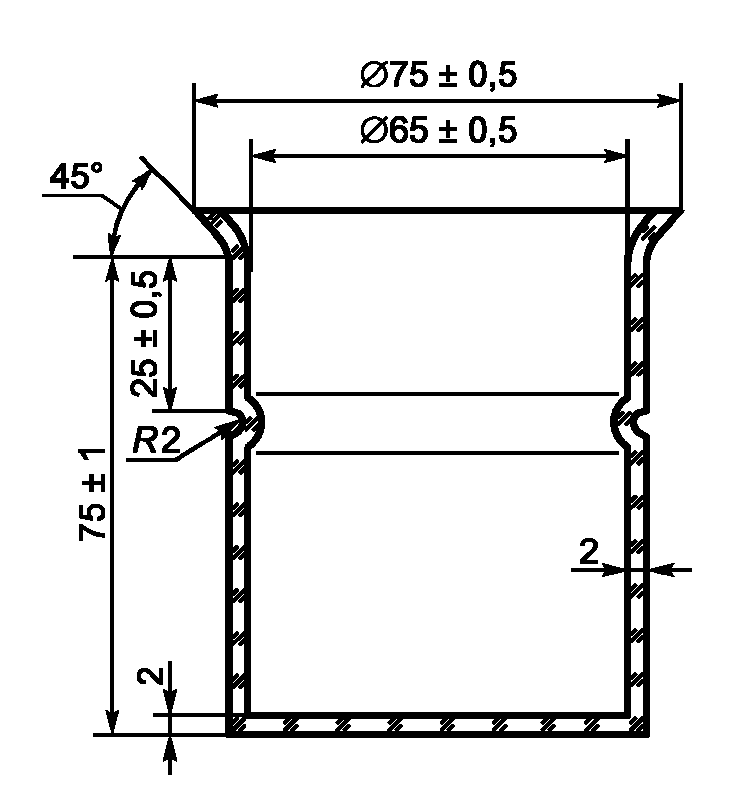
Допускается применять стеклянные стаканы вместимостью 250 см3 внутренним диаметром примерно 65 мм. Верхняя часть стаканов должна быть расширена для обеспечения возможности заливки воском или парафином, с внутренней стороны стакана на расстоянии примерно 25 мм от верхнего края стакана должен быть сделан кольцевой выступ шириной не менее 2 мм для фиксирования положения образца (см. рисунки A.2 и A.3, приложение A) или металлические стаканы указанной формы и размеров и устойчивые к действию хлористого кальция.
5.2 Средства измерения для определения линейных размеров по ГОСТ 25015.
5.3 Круговой шаблон (с кромкой конической формы для облегчения удаления после использования) для точного повторения подвергающейся воздействию паров воды площади образца до ближайшей площади 0,1 см
2. Площадь шаблона должна составлять не менее 90% поверхности образца для испытания, чтобы снизить краевой эффект из-за нелинейности пароизоляции.
Допускается использовать металлический или стеклянный шаблон диаметром от 64 до 65 мм, толщиной не более 4 мм.
5.4 Емкость для расплавления герметизирующего воска или
парафина (см.
5.8).
5.5 Весы, обеспечивающие взвешивание в граммах с точностью до третьего десятичного знака.
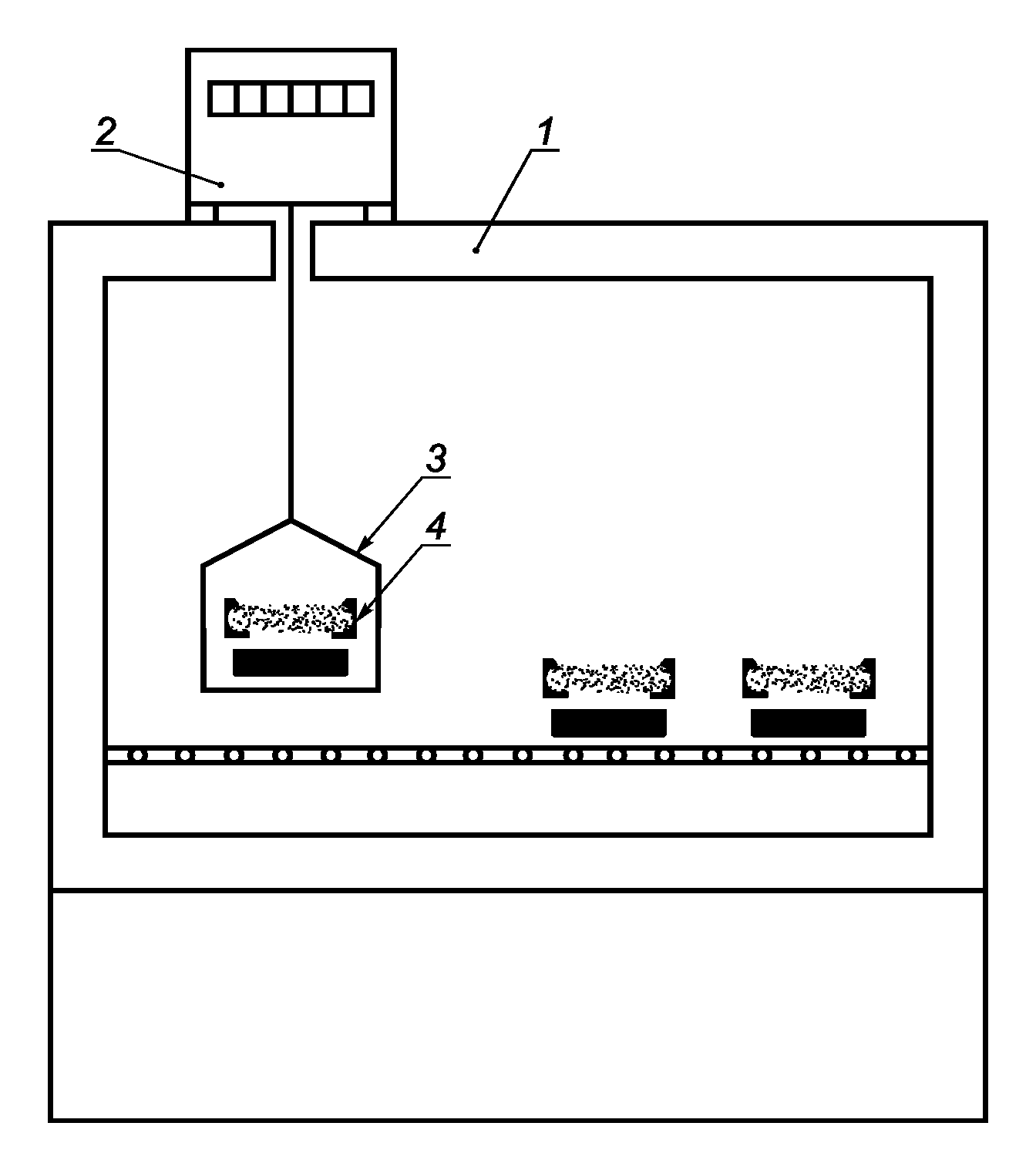
5.6 Испытательная камера, обеспечивающая поддержание заданной относительной влажности в пределах +/- 5% и заданной температуры в пределах +/- 1 °C и постоянный контроль температуры и влажности в течение всего времени испытания,
а также позволяющая поместить эксикатор. Кроме того, если камера соответствует изображенной на
рисунке 1, должна быть предусмотрена возможность отключения циркуляции воздуха для обеспечения точного взвешивания.
В качестве камеры можно использовать воздушный термостат, обеспечивающий заданную температуру с указанной точностью.
Примечание - Если испытания проводят в комнате с кондиционированием воздуха, в использовании камеры, приведенной на
рисунке 1, нет необходимости.
5.7 В неинжекционных камерах для создания заданной влажности используют следующие растворы:
5.7.1 Калий азотнокислый
по ГОСТ 4217 для испытаний при температуре 38 °C и относительной влажности 88% или 88,5%, насыщенный раствор, содержащий большое избыточное количество нерастворенной соли при температуре 38 °C.
5.7.2 Калий хлористый
по ГОСТ 4234 для испытаний при температуре 23 °C и относительной влажности 85%, насыщенный раствор, содержащий большое избыточное количество нерастворенной соли при температуре 23 °C.
Примечания
1 Для испытаний при температуре 23 °C и относительной влажности 50% соль, которая соответствовала бы требованиям
8.1, отсутствует.
2 Для лабораторий, которые не имеют соответствующей камеры влажности, можно предложить следующие варианты:
a) насыщенный водный раствор гексагидрата нитрата магния, содержащий большой избыток нерастворенной соли при температуре 23 °C;
b) насыщенный водный раствор дигидрата дихромата натрия, содержащий большой избыток нерастворенной соли при температуре 23 °C.
Растворы для поддержания постоянной влажности по
ГОСТ 29244.
5.8 Герметизирующий воск
или парафин в соответствии с нормативным документом или технической документацией, на который не влияют условия испытаний, например:
5.8.1 Смесь, состоящая из 90% микрокристаллического воска и 10% пластификатора (например, полиизобутилен с низкой молекулярной массой).
5.8.2 Смесь, состоящая из 60% микрокристаллического воска и 40% очищенного кристаллического парафина.
5.9 Осушитель -
рекомендуется кальций хлористый технический в соответствии с нормативным документом или технической документацией, предварительно прокаленный при температуре от 200 °C до 250 °C в течение 6 ч.
5.10 Кольцо-ограничитель для тонких образцов (см.
рисунок A.1, приложение A).
1 - испытательная камера с легко открывающейся
дверцей; 2 - весы; 3 - подвесная чаша весов;
4 - узел для испытаний в сборе
Рисунок 1 - Рекомендуемая схема испытательной камеры
Проба должна быть представительной для данного материала. Она может в качестве составной части материала содержать поверхностные пленки, образовавшиеся при формовании, или приклеенные защитные слои.
У некоторых ячеистых пластмасс плотность поверхностных пленок существенно отличается от плотности основного материала. Если определяют паропроницаемость такого материала, образец должен быть гомогенным, его испытывают без поверхностной пленки и защитного слоя.
7.1 Размеры
7.1.1 Форма и размеры
Образцы вырезают таким образом, чтобы их размеры соответствовали размерам используемых собранных узлов для испытания (см.
приложение A).
Форма образцов - цилиндрическая. Образцы вырезают из испытуемого материала, не нарушая его структуры. Способ изготовления образцов указывают в нормативных документах или технической документации на материал.
На поверхности образцов не должно быть видимых дефектов ячеистой структуры и механической обработки, а также, если нет других указаний, поверхностной пленки.
7.1.2 Толщина
Толщина образцов - не менее 10 мм, рекомендуемая толщина - 25 мм.
Материалы толщиной менее 10 мм следует испытывать при толщине их изготовления.
7.1.3 Площадь воздействия паров воды
Диаметр образцов должен быть не менее чем в четыре раза больше толщины образца. Допускается использовать образцы диаметром, равным внутреннему диаметру стакана.
Минимальная площадь воздействия паров воды - 50 см2.
7.2 Количество образцов
Испытывают не менее пяти образцов.
Если предполагается, что испытуемый материал является анизотропным, то образцы вырезают так, чтобы параллельные поверхности образцов были перпендикулярны к направлению потока паров воды, проходящего через изделие при его предполагаемом применении.
Если материал покрыт поверхностной пленкой, образовавшейся при формовании, или приклеенными защитными слоями и две стороны материала отличаются друг от друга, образцы испытывают так, чтобы поток паров воды проходил в том же направлении, в котором он будет проходить через материал при его предусмотренном применении.
Если направление потока паров воды при предполагаемом применении материала неизвестно, готовят двойной набор образцов, чтобы можно было провести испытания и описать результаты для каждого направления потока паров воды.
Для обеспечения получения корректных результатов испытания образцы для испытания кондиционируют в одной из атмосфер, установленных по
ГОСТ 12423.
Рекомендуется перед испытанием кондиционировать образцы в воздушном термостате при температуре (23,0 +/- 1,0) °C или (38,0 +/- 1,0) °C в течение 3 ч.
8.1 Выбирают вариант условий испытания:
- температура - (38,0 +/- 1,0) °C, относительная влажность - 0% с одной стороны образца и (88,0 +/- 5,0)% - с другой стороны;
- температура - (23,0 +/- 1,0) °C, относительная влажность - 0% с одной стороны образца и (85,0 +/- 5,0)% - с другой стороны;
- температура - (23,0 +/- 1,0) °C, относительная влажность - 0% с одной стороны образца и (50,0 +/- 5,0)% - с другой стороны.
Примечание - Если относительная влажность равна 0%, допускаемые отклонения не приводятся, так как это условие создается при помощи осушителя.
Результаты испытания, полученные при разных вариантах условий испытания, различны, поэтому вариант условий испытания следует выбирать так, чтобы он был наиболее близок к условиям использования материала.
8.2 Условия испытания в испытательной камере следует непрерывно контролировать (см.
5.6).
8.3 Выбирают узел для испытания в сборе из приведенных на
рисунке A.1, приложение A.
8.4 Готовят образцы для испытания, размеры которых соответствуют размеру выбранного узла для испытания в сборе.
8.5 Измеряют толщину и диаметр образцов для испытания по ГОСТ 25015 с точностью до 0,1 мм или 5%, выбирая более точный вариант.
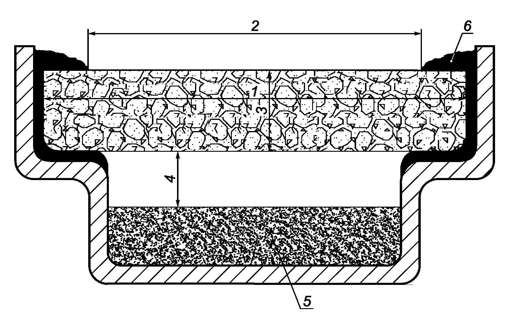
8.6 На дно каждого стакана помещают осушитель
(5.9) слоем толщиной (20,0 +/- 5,0) мм.
Нагревают герметизирующий воск
или парафин (5.8) в емкости
(5.4) до жидкого состояния. Затем помещают образец в стакан и герметизируют его согласно соответствующей методике, приведенной в
приложении A. Зазор между осушителем и образцом - (15,0 +/- 5,0) мм.
Диаметр площади образца, подвергающейся воздействию паров воды, - не менее 90% диаметра образца.
На рисунке 2 приведена схема рекомендуемого узла для испытаний в сборе.
8.7 Если определяют коэффициент устойчивости к диффузии паров воды, следует ежедневно измерять и записывать значение атмосферного давления.
1 - диаметр образца d; 2 - диаметр площади, подвергающейся
воздействию паров воды (не менее 0,9d); 3 - толщина
образца (более 10 мм); 4 - зазор шириной (15,0 +/- 5,0) мм;
5 - слой осушителя глубиной (20,0 +/- 5,0) мм;
6 - герметизирующий воск или парафин
Рисунок 2 - Схема рекомендуемого узла для испытаний в сборе
8.8 Кондиционируют каждый узел для испытаний в сборе в выбранной атмосфере (см.
7.3) в течение 24 ч, затем взвешивают его, записывая результат взвешивания в граммах с точностью до третьего десятичного знака,
и помещают в испытательную камеру с условиями, соответствующими выбранному варианту испытания.
8.9 Через каждые 24 ч каждый узел для испытаний в сборе взвешивают. Если для взвешивания узел для испытаний в сборе извлекают из испытательной среды, его следует взвесить как можно быстрее и вернуть в испытательную среду.
8.10 Взвешивания продолжают через каждые 24 ч, пока пять последовательных изменений массы в единицу времени не станут практически постоянными (отклонение значений

двух последовательных определений не будет более 2%), см.
9.1.
Строят график зависимости изменения массы от времени, который покажет, когда будет достигнута постоянная скорость изменения массы (см. рисунок 3).

- изменение массы за 24 часа
Рисунок 3 - График зависимости изменения массы от времени
8.11 При проведении испытания с использованием эксикатора (5.11) в испытательной камере устанавливают температуру (38,0 +/- 1,0) °C или (23,0 +/- 1,0) °C.
Измеряют диаметр и высоту образца, записывая результат измерения в миллиметрах с точностью до 0,5 мм, и вычисляют площадь образца.
В стеклянный стакан (5.1) помещают (50,0 +/- 0,5) г безводного хлористого кальция, а затем плотно входящий в стакан образец. Расстояние от поверхностного слоя хлористого кальция до нижней поверхности образца - от 10 до 15 мм. Сразу же после помещения образца в стакан на него по центру помещают шаблон и заливают по окружности расплавленный воск или парафин для обеспечения герметичности между образцом и стенками стакана и получения точной площади воздействия паров воды на поверхности образца. После отверждения воска или парафина шаблон осторожно удаляют.
Внимательно следят за тем, чтобы воск или парафин не попал под шаблон. Затем стакан взвешивают и помещают в эксикатор с пересыщенным раствором хлористого калия или азотнокислого калия в зависимости от условий определения.
При испытании при температуре (23,0 +/- 1,0) °C и градиенте относительной влажности 0% - 85% в эксикатор помещают пересыщенный раствор хлористого калия.
При испытании при (38 +/- 1) °C и градиенте относительной влажности 0% - 88,5% в эксикатор помещают пересыщенный раствор азотнокислого калия. Расстояние от поверхности раствора до дна стакана - (50,0 +/- 5,0) мм.
В эксикатор помещают не менее пяти стаканов и переносят его в камеру с температурой (23,0 +/- 1,0) °C или (38,0 +/- 1,0) °C на 24 ч. По истечении этого времени стаканы быстро вынимают из эксикатора, взвешивают, записывают результат взвешивания в граммах с точностью до третьего десятичного знака и снова помещают в эксикатор, а эксикатор - в камеру еще на 24 ч, а затем снова взвешивают.
Примечание - В тех случаях, когда определяют кинетику абсорбции влаги материалом в первые сутки, взвешивания следует проводить через каждые 6 ч экспозиции.
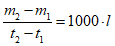
9.1 Вычисление постоянной скорости изменения массы
Постоянную скорость изменения массы G12, мкг/ч, вычисляют по формуле

(1)
где m2 - m1 - разность масс двух последовательных взвешиваний узла для испытаний в сборе, мкг;
t2 - t1 - промежуток времени между двумя последовательными взвешиваниями узла для испытаний в сборе, ч.
Если G - среднеарифметическое значение пяти последовательных значений G12, мкг/ч, то испытание завершают, когда каждое из пяти последовательных значений G12 находится в диапазоне от 0,980G до 1,020G.
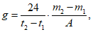
9.2 Вычисление скорости прохождения паров воды
Скорость прохождения паров воды g, мкг/(м2·с), вычисляют по формуле

(2)
где G - средняя скорость изменения массы, мкг/ч;
A - площадь образца, подвергаемая воздействию паров воды, см2.
9.3 Вычисление относительной паропроницаемости
Относительную паропроницаемость Wp, нг/(м2·с·Па), вычисляют по формуле

(3)
где G - средняя скорость изменения массы, мкг/ч;
A - площадь образца, подвергаемая воздействию паров воды, см2;
P - разность давлений паров воды, Па.
P имеет одно из следующих значений:
- 5860 Па при температуре 38 °C и относительной влажности от 0% до 88%;
- 2390 Па при температуре 23 °C и относительной влажности от 0% до 85%;
- 1400 Па при температуре 23 °C и относительной влажности от 0% до 50%.
9.4 Вычисление паропроницаемости
Паропроницаемость

, нг/(м·с·Па), вычисляют по формуле

(4)
где Wp - относительная паропроницаемость, нг/(м2·с·Па);
s - толщина образца, мм.
9.5 Вычисление коэффициента устойчивости к диффузии паров воды
9.5.1 Вычисляют среднее дневное атмосферное давление для каждого промежутка времени между взвешиваниями. Эти значения используют для интерполяции значений для

с использованием таблицы 1.
Таблица 1
Значения

для вычисления коэффициента
устойчивости к диффузии паров воды
Условия испытания | Атмосферное давление, кПа | |
Температура, °C | Относительная влажность, % |
23 | От 0 до 50 | 90 | 26,7 |
95 | 25,3 |
100 | 24,0 |
105 | 22,9 |
110 | 21,8 |
23 | От 0 до 85 | 90 | 45,3 |
95 | 43,0 |
100 | 40,8 |
105 | 38,9 |
110 | 37,1 |
38 | От 0 до 88 | 90 | 115,8 |
95 | 109,7 |
100 | 104,3 |
105 | 99,3 |
110 | 94,8 |
9.5.2 Вычисляют коэффициент устойчивости к диффузии паров воды

по формуле

(5)
где

- численное значение произведения

(см.
приложение B) для конкретного варианта условий испытания и атмосферного давления из
таблицы 1;
g - скорость прохождения паров воды (см.
9.2), мкг/·м
2·с;
s - толщина образца, мм.
9.6 Вычисление скорости прохождения паров воды за сутки
Скорость прохождения паров воды за сутки W, г/см2, вычисляют по формуле

(6)
где
- постоянная разность в массе стакана за 24 ч, определяемая по графику (см. рисунок 3), г;
S - площадь образца, подвергаемая воздействию паров воды, м2.
За результат испытания принимают среднеарифметическое значение результатов пяти параллельных определений.
Результаты, полученные при испытании различных жестких ячеистых пластмасс, являются сравнимыми только в том случае, если они получены для образцов одинаковой толщины в одинаковых условиях (температура и влажность).
Прецизионность данного метода испытания неизвестна в связи с отсутствием данных межлабораторных испытаний. Как только будут получены эти данные, в стандарт будет внесено соответствующее изменение.
Протокол испытания должен содержать:
a) ссылку на настоящий стандарт;
b) полное описание испытуемого материала, включая его толщину, сведения о поверхностях, плотность материала, направление вспенивания, место и дату производства и/или идентификацию производственной партии;
c) температуру и градиент относительной влажности, используемые при испытании;
d) использованный вариант испытания;
e) условия кондиционирования и способ получения условий испытаний;
f) подробные результаты испытания;
g) индивидуальные результаты испытания каждого образца;
h) среднеарифметическое значение результатов испытаний;
i) сведения о любом отклонении от настоящего стандарта и о любых случайностях, которые могли повлиять на результаты;
j) место, где проводилось испытание, и дату окончания испытания.
(обязательное)
ПОДГОТОВКА УЗЛОВ ДЛЯ ИСПЫТАНИЙ В СБОРЕ
A.1 Методика A. Подготовка узла для испытания в сборе
A, приведенного на
рисунке A.1
Наносят тонкую пленку жидкого герметизирующего воска
или парафина (5.8) на внутреннюю поверхность верхнего кольца емкости
(5.1) в том месте, где будет находиться образец для испытания. Образец помещают таким образом, чтобы он находился по центру емкости. Шаблон
(5.3) помещают посередине образца так, чтобы он опирался на образец. Постепенно заполняют пространство между стенками емкости и образцом с шаблоном на нем жидким воском
или парафином так, чтобы это пространство было заполнено до ободка емкости без пузырьков воздуха, а воск
или парафин равномерно касался края образца. Когда воск
или парафин остынут до температуры окружающей среды, осторожно удаляют шаблон.
На рисунке A.1 показан узел для испытаний в сборе A непосредственно перед удалением шаблона.
1 - осушитель; 2 - образец; 3 - герметизирующий материал
(воск или парафин); 4 - лента с липким слоем;
5 - шаблон; 6 - кольцо-ограничитель
Рисунок A.1 - Примеры узлов для испытаний в сборе
A.2 Методика B. Подготовка узла для испытаний в сборе B, приведенного на рисунке A.1
Образец для испытания подрезают так, чтобы его края были скошены, а поверхность большего размера плотно входила в емкость. Стенки емкости в области, в которую будет помещен образец, нагревают до температуры размягчения воска или парафина. Обильно и равномерно наносят покрытие из расплавленного воска или парафина на края образца. Нагретые внутренние стенки емкости также можно покрыть тонкой пленкой жидкого воска или парафина. Быстро помещают образец в верхнюю часть емкости и посередине образца устанавливают шаблон так, чтобы он опирался на образец. Сразу же равномерно нажимают на образец, пока он не займет нужное горизонтальное положение. Заполняют жидким воском или парафином пространство между стенками емкости и шаблоном до ободка емкости так, чтобы исключить образование пузырьков воздуха, а воск или парафин равномерно касался края образца. Когда воск или парафин остынут до температуры окружающей среды, осторожно удаляют шаблон.
На
рисунке A.1 показан узел для испытаний в сборе
B непосредственно перед удалением шаблона.
A.3 Методика C. Подготовка узла для испытания в сборе
C, приведенного на
рисунке A.1
Нагревают ободок емкости до температуры размягчения воска или парафина. На ободок емкости равномерно наносят пленку жидкого воска или парафина и сразу же помещают образец внутрь ободка. Затем, пока воск или парафин еще теплый, наклеивают ленту с липким слоем по всей поверхности стыка так, чтобы воск или парафин равномерно без пузырьков воздуха прилегал как к образцу, так и к емкости.
Обильно и равномерно наносят покрытие из расплавленного воска или парафина на ленту с липким слоем и ее стыки с образцом и емкостью. Край образца должен быть герметизирован так же, как стыки и лента. Дают воску или парафину остыть до температуры окружающей среды.
A.4 Методика D. Подготовка узла для испытания в сборе
D, приведенного на
рисунке A.1 и пригодного для тонких образцов
Наносят равномерную пленку жидкого воска или парафина на внутреннюю поверхность верхнего кольца емкости в том месте, где будет находиться образец для испытания.
Пока воск
или парафин еще мягкий, помещают образец таким образом, чтобы он находился по центру емкости. Кольцо-ограничитель
(5.10) помещают посередине образца так, чтобы оно опиралось на образец.
Внутренний диаметр кольца-ограничителя должен быть таким же, как внутренний диаметр емкости. Постепенно, исключая образование пузырьков воздуха, заполняют пространство между стенками емкости и кольцом-ограничителем жидким воском или парафином до ободка емкости. Дают воску или парафину остыть. Кольцо-ограничитель оставляют для проведения испытаний.
1 - эксикатор; 2 - стакан; 3 - хлористый кальций;
4 - пересыщенный раствор хлористого калия
или азотнокислого калия; 5 - образец; 6 - парафин
Рисунок A.2 - Эксикатор, приготовленный к испытанию
Рисунок A.3 - Пример стакана для испытания
(справочное)
ВЫВОД УРАВНЕНИЯ ДЛЯ РАСЧЕТА КОЭФФИЦИЕНТА
УСТОЙЧИВОСТИ К ДИФФУЗИИ ПАРОВ ВОДЫ
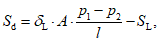
B.1 Общие сведения
Эквивалентная толщина воздушного слоя Sd для диффузии паров воды указывает, какой толщины должен быть слой неподвижного воздуха, чтобы иметь такую же устойчивость к диффузии паров воды, что и у образца толщиной s.
Эквивалентная толщина воздушного слоя Sd, м, определена уравнением

(B.1)
где

- коэффициент устойчивости к диффузии паров воды;
s - толщина образца, м.
Эквивалентную толщину воздушного слоя Sd, м, вычисляют по формуле

(B.2)
где

- паропроницаемость в воздухе, кг/(м·ч·Па);
A - площадь образца, подвергаемая воздействию паров воды, м2;
p1, p2 - парциальные давления паров воды на поверхностях образца, Па;
l - скорость диффузии паров воды, кг/ч;
SL - средняя толщина слоя воздуха в емкости
(5.1) под образцом, м.
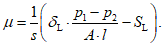
Для гомогенных материалов, которые используют и при толщинах, отличных от применяемых для испытания, коэффициент устойчивости к диффузии паров воды

вычисляют по формуле

(B.3)
Для образцов с эквивалентной толщиной воздушного слоя Sd более 1,0 м величиной SL можно пренебречь.
Паропроницаемость в воздухе

зависит от атмосферного давления и температуры воздуха во время испытания, ее значение можно получить, используя
рисунок B.1, или вычислить по формуле

(B.4)
где D - коэффициент диффузии паров воды, м2/ч;
RD - газовая постоянная для паров воды, равная 462 Дж/(кг·К);
T - температура в испытательной камере, К;
p0 - атмосферное давление при стандартных условиях, равное 101325 кПа;
p - среднее атмосферное давление в испытательной камере
(5.6), кПа.
Если полученное значение Sd более 1500 м, материал можно описать как "практически непроницаемый для паров воды" при данной толщине.
B.2 Упрощенная методика оценки
Для определения паропроницаемости определяют скорость прохождения паров воды g, г/(м2·сут), по формуле

(B.5)
где (m2 - m1) - разность масс двух взвешиваний, г;
(t2 - t1) - промежуток времени между двумя взвешиваниями, ч;
A - площадь образца, подвергаемая воздействию паров воды, м2.

(B.6)
Если значением SL пренебречь, получается следующее упрощенное уравнение

(B.7)
Для облегчения вычисления коэффициента устойчивости к диффузии паров воды

с помощью формулы (B.7) численные значения произведения

обозначают символом

. Значения

для пяти разных значений атмосферного давления для всех вариантов условий испытаний приведены в
таблице 1.
| | ИС МЕГАНОРМ: примечание. В официальном тексте документа, видимо, допущена опечатка: формула (Б.5) отсутствует. Возможно, имеется в виду формула (B.5). | |
В
9.2 настоящего стандарта скорость прохождения паров воды
g приведена в мкг·м
-2·с
-1, а в
формуле (Б.5) - в г·м
-2·сут
-1.
Учитывая эту разницу и применяя обозначение

, получаем формулу

(B.8)
X - атмосферное давление, кПа; Y - паропроницаемость
в воздухе [кг/(м·ч·Па)]
Рисунок B.1 - Зависимость паропроницаемости в воздухе
при температурах 23 °C (296 К) и 38 °C (311 К)
(справочное)
СВЕДЕНИЯ О СООТВЕТСТВИИ ССЫЛОЧНЫХ МЕЖГОСУДАРСТВЕННЫХ
СТАНДАРТОВ МЕЖДУНАРОДНЫМ СТАНДАРТАМ, ИСПОЛЬЗОВАННЫМ
В КАЧЕСТВЕ ССЫЛОЧНЫХ В ПРИМЕНЕННОМ
МЕЖДУНАРОДНОМ СТАНДАРТЕ
Таблица ДА.1
Обозначение ссылочного межгосударственного стандарта | Степень соответствия | Обозначение и наименование ссылочного международного стандарта |
| MOD | ISO 291 "Пластмассы. Стандартные атмосферы для кондиционирования и испытания" |
ГОСТ 25015-81 | NEQ | ISO 1923 "Пластмассы ячеистые и пенорезина. Определение линейных размеров" |
| IDT | ISO 483 "Пластмассы. Небольшие камеры для кондиционирования и испытаний с применением водных растворов для поддержания относительной влажности на постоянном уровне" |
Примечание - В настоящей таблице использованы следующие условные обозначения степени соответствия стандартов: - IDT - идентичные стандарты; - MOD - модифицированные стандарты; - NEQ - неэквивалентные стандарты. |