Главная // Актуальные документы // ГОСТ (Государственный стандарт)СПРАВКА
Источник публикации
М.: Стандартинформ, 2019
Примечание к документу
Документ
введен в действие с 1 сентября 2019 года.
Название документа
"ГОСТ 13087-2018. Межгосударственный стандарт. Бетоны. Методы определения истираемости"
(введен в действие Приказом Росстандарта от 12.04.2019 N 129-ст)
"ГОСТ 13087-2018. Межгосударственный стандарт. Бетоны. Методы определения истираемости"
(введен в действие Приказом Росстандарта от 12.04.2019 N 129-ст)
агентства по техническому
регулированию и метрологии
от 12 апреля 2019 г. N 129-ст
МЕЖГОСУДАРСТВЕННЫЙ СТАНДАРТ
БЕТОНЫ
МЕТОДЫ ОПРЕДЕЛЕНИЯ ИСТИРАЕМОСТИ
Concretes. Methods of abrasion test
ГОСТ 13087-2018
Дата введения
1 сентября 2019 года
Цели, основные принципы и основной порядок проведения работ по межгосударственной стандартизации установлены в
ГОСТ 1.0-2015 "Межгосударственная система стандартизации. Основные положения" и
ГОСТ 1.2-2015 "Межгосударственная система стандартизации. Стандарты межгосударственные, правила и рекомендации по межгосударственной стандартизации. Правила разработки, принятия, обновления и отмены"
1 РАЗРАБОТАН Научно-исследовательским, проектно-конструкторским и технологическим институтом бетона и железобетона им. А.А. Гвоздева (НИИЖБ им. А.А. Гвоздева) Акционерного общества "Научно-исследовательский центр "Строительство" (АО "НИЦ "Строительство")
2 ВНЕСЕН Техническим комитетом по стандартизации ТК 465 "Строительство"
3 ПРИНЯТ Межгосударственным советом по стандартизации, метрологии и сертификации (протокол от 29 ноября 2018 г. N 54)
За принятие стандарта проголосовали:
Краткое наименование страны по МК (ИСО 3166) 004-97 | Код страны по МК (ИСО 3166) 004-97 | Сокращенное наименование национального органа по стандартизации |
Армения | AM | Минэкономики Республики Армения |
Беларусь | BY | Госстандарт Республики Беларусь |
Киргизия | KG | Кыргызстандарт |
Россия | RU | Росстандарт |
Таджикистан | TJ | Таджикстандарт |
4
Приказом Федерального агентства по техническому регулированию и метрологии от 12 апреля 2019 г. N 129-ст межгосударственный стандарт ГОСТ 13087-2018 введен в действие в качестве национального стандарта Российской Федерации с 1 сентября 2019 г.
Информация об изменениях к настоящему стандарту публикуется в ежегодном информационном указателе "Национальные стандарты", а текст изменений и поправок - в ежемесячном информационном указателе "Национальные стандарты". В случае пересмотра (замены) или отмены настоящего стандарта соответствующее уведомление будет опубликовано в ежемесячном информационном указателе "Национальные стандарты". Соответствующая информация, уведомление и тексты размещаются также в информационной системе общего пользования - на официальном сайте Федерального агентства по техническому регулированию и метрологии в сети Интернет (www.gost.ru)
Настоящий стандарт распространяется на бетоны всех видов по
ГОСТ 25192, применяемые во всех областях строительства.
Стандарт определяет методы определения истираемости:
- при испытании на круге истирания для бетонов дорожных конструкций, полов, лестниц и других конструкций по потере массы, отнесенной к единице площади образца, подвергнутой испытанию, и по уменьшению высоты образца, подвергнутого испытанию;
- при испытании в барабане истирания для бетонов конструкций, предназначенных для транспортирования жидкостей, содержащих взвешенные абразивные материалы, в виде коэффициента истирания по потере массы, отнесенной к единице площади внутренней поверхности барабана в единицу времени.
В настоящем стандарте использованы нормативные ссылки на следующие межгосударственные стандарты:
ГОСТ 166-89 (ИСО 3599-76) Штангенциркули. Технические условия
ГОСТ 427-75 Линейки измерительные металлические. Технические условия
ГОСТ 10180-2012 Бетоны. Методы определения прочности по контрольным образцам
ГОСТ 23732-2011 Вода для бетонов и строительных растворов. Технические условия
--------------------------------
<*> В Российской Федерации действует
ГОСТ Р 53228-2008 "Весы неавтоматического действия. Часть 1. Метрологические и технические требования. Испытания".
| | ИС МЕГАНОРМ: примечание. В официальном тексте документа, видимо, допущена опечатка: стандарт имеет номер ГОСТ 28570-2019, а не ГОСТ 28570-2018. | |
ГОСТ 28570-2018 Бетоны. Методы определения прочности по образцам, отобранным из конструкций
Примечание - При пользовании настоящим стандартом целесообразно проверить действие ссылочных стандартов в информационной системе общего пользования - на официальном сайте Федерального агентства по техническому регулированию и метрологии в сети Интернет или по ежегодному информационному указателю "Национальные стандарты", который опубликован по состоянию на 1 января текущего года, и по выпускам соответствующего ежемесячного информационного указателя "Национальные стандарты", за текущий год. Если ссылочный стандарт заменен (изменен), то при пользовании настоящим стандартом следует руководствоваться заменяющим (измененным) стандартом. Если ссылочный стандарт отменен без замены, то положение, в котором дана ссылка на него, применяется в части, не затрагивающей эту ссылку.
В настоящем стандарте применены следующие термины с соответствующими определениями:
3.1
абразив: Природный или искусственный материал, способный осуществлять абразивную обработку. |
3.2 зернистость: Условная числовая характеристика зернового состава шлифовальных порошков.
3.3 истираемость: Свойство материала изменяться по массе под действием истирающих воздействий.
3.4 методика (метод) измерений: Описание совокупности и очередности операций, выполнение которых обеспечивает получение результатов измерений с установленными нормативными документами показателями точности.
3.5 шлифовальный порошок: Абразивный материал, размеры зерен которого находятся в пределах 4750 - 45 мкм.
4 Общие требования и методы отбора проб
4.1 Испытание на истираемость проводят в лабораториях соответствующих
ГОСТ ИСО/МЭК 17025. В помещении, где проводят испытания образцов, следует поддерживать температуру воздуха (20 +/- 5) °C и относительную влажность воздуха не менее 55%.
4.2 Для испытания бетона на истираемость контрольные образцы по
ГОСТ 10180 следует изготовлять из бетонной смеси по
ГОСТ 7473. Для испытания бетона на истираемость в готовых изделиях и конструкциях контрольные образцы следует изготовлять из проб бетона (кернов, вырубок), отобранных из конструкций в соответствии с
ГОСТ 28570.
4.3 Испытание образцов на истираемость проводят в воздушно-сухом или водонасыщенном состоянии в соответствии с условиями эксплуатации конструкции или изделия, установленными в проектной документации
4.4 Истираемость бетона следует определять в проектном возрасте. Норма и метод испытания бетона на истираемость устанавливаются в проекте.
4.5 Образцы для испытаний на круге истирания должны иметь форму куба с ребром 70 мм или цилиндра диаметром и высотой 70 мм и соответствовать
ГОСТ 10180 и
ГОСТ 28570.
4.6 При определении истираемости бетона с заполнителем крупностью до 20 мм образцы изготовляют в формах по
ГОСТ 10180 или отбирают по
ГОСТ 28570.
4.7 При определении истираемости бетонов с заполнителем крупностью свыше 20 мм образцы для испытаний следует выпиливать или выбуривать из изделий, конструкций, пробы бетона или бетонных образцов с сечением размера, большего, чем по
4.5.
4.8 Образцы для испытаний в барабане истирания должны иметь трубчатую форму наружным диаметром 300 мм, внутренним диаметром 180 мм и длиной 150 мм. Требования к методам формования образцов, а также к допустимым отклонениям - по
ГОСТ 10180.
4.9 Изготовление трубчатых образцов указанных в
4.7 и
4.8 размеров допускается для бетонов с заполнителем крупностью до 20 мм. При определении истираемости бетонов с заполнителем крупностью свыше 20 мм следует изготовлять трубчатые образцы, для которых толщина стенки должна превышать максимальный номинальный размер крупного заполнителя, используемого для изготовления бетонной конструкции, не менее чем в два раза.
4.10 Образцы испытывают сериями. Число образцов в серии должно быть не менее трех.
4.11 Массу образцов определяют при испытании бетона на истираемость с помощью установки типа "круга истирания" с погрешностью не более 0,1 г, с помощью установки типа "барабана истирания" - не более 1,0 г. Линейные размеры образцов измеряют с погрешностью не более 0,1 мм и 1,0 мм соответственно.
5 Определение истираемости бетона на установках типа "круг истирания"
5.1 Оборудование и материалы
5.1.1 Применяют следующие оборудование и материалы.
Круги истирания типов ЛКИ-2, ЛКИ-3 (рисунок 1) или Беме
(рисунок 2).
1 - истирающий диск; 2 - испытуемые образцы;
3 - нагружающее устройство; 4 - счетчик оборотов
Рисунок 1 - Круг истирания типа ЛКИ-3
1 - истирающий диск; 2 - двуплечий рычаг;
3 - образец; 4 - противовес; 5 - зубчатая передача;
6 - шкив; 7 - держатель; 8 - счетчик оборотов
Рисунок 2 - Круг истирания типа Беме
Шлифовальный порошок необходимой зернистости по нормативному документу <*>, действующему на территории государства - участника Соглашения, принявшего настоящий стандарт.
--------------------------------
<*> В Российской Федерации принимают зернистость шлифовальных порошков F80 по
ГОСТ Р 52381-2005 "Материалы абразивные. Зернистость и зерновой состав шлифовальных порошков. Контроль зернового состава".
5.1.2 Круги истирания должны иметь съемный вращающийся в горизонтальной плоскости истирающий диск, толщиной не менее 10 мм, изготовленный из серого чугуна твердостью по Бринеллю 180 - 200. Частота вращения истирающего диска под нагрузкой должна быть (30 +/- 1) мин-1.
Круг истирания должен быть оборудован приспособлениями для свободной (в вертикальной плоскости) установки образцов и их загружения вертикальной нагрузкой, а также счетчиком оборотов с автоматическим выключением истирающего диска через каждые 30 м пути истирания.
5.1.3 Допускается применение вместо шлифовального порошка зернистостью F80 других абразивов. В этом случае следует использовать переводные коэффициенты по
приложению А.
5.2 Подготовка к испытанию
5.2.1 Выбор метода испытаний бетона на истираемость указывается в требованиях, установленных в проекте.
Испытание бетона на истираемость проводят на воздушно-сухих образцах, предварительно выдержанных в помещении с температурно-влажностными условиями по
4.1, сут, не менее:
3 - для бетона класса B25 и более;
6 - для бетона класса менее B25.
При испытаниях образцов в насыщенном водой состоянии образцы предварительно выдерживают в воде температурой (20 +/- 5) °C не менее 48 ч, а после извлечения их из воды и промокания влажной тканью испытывают.
5.2.2 Истиранию подвергают нижнюю грань образца. В образцах, отобранных из конструкций, испытанию подвергают грань, воспринимающую эксплуатационную нагрузку. Перед испытанием образцы взвешивают с точностью 0,1 г, измеряют высоту каждой грани образца куба или высоту цилиндра по взаимно перпендикулярным диаметрам основания в четырех точках с точностью 0,1 мм, а также его диаметр, определяют плотность бетона образца по
ГОСТ 12730.1, определяют площадь истираемой грани измерением по
ГОСТ 10180. Результаты измерений регистрируют в журнале испытаний.
5.2.3 Боковые грани образцов-кубов или участки поверхности образцов-цилиндров, перпендикулярные к истираемой грани, перед испытанием нумеруют 1, 2, 3, 4 и в последовательности этой нумерации образец поворачивают при проведении испытаний, предусмотренных
5.3.1.
5.2.4 Образцы устанавливают в специальные гнезда круга истирания. После установки проверяют возможность свободного перемещения образцов в гнездах в вертикальной плоскости.
5.2.5 К каждому образцу-кубу с ребром 70 мм (по центру) прикладывают сосредоточенное вертикальное усилие (300 +/- 5) Н, что соответствует давлению (60 +/- 1) кПа.
5.2.6 К каждому образцу-цилиндру высотой 70 мм (по центру) прикладывают сосредоточенное вертикальное усилие (235 +/- 5) Н, что соответствует давлению (60 +/- 1) кПа.
5.2.7 На истирающий диск равномерным слоем насыпают первую порцию (20 +/- 1) г шлифовального порошка зернистостью F80 (на первые 30 м пути истирания каждого образца).
5.2.8 При испытании на круге истирания водонасыщенных образцов истирающий диск перед нанесением на него первой порции абразива протирают влажной тканью, а каждые 20 г абразива равномерно увлажняют 15 мл воды.
5.3.1 Одновременно на круге истирания типа Беме или ЛКИ-2 испытывают один образец, а на круге истирания типа ЛКИ-3 - два образца.
После установки образца(ов) и нанесения на истирающий диск абразива включают привод круга и проводят истирание.
Через каждые 30 м пути истирания, пройденного образцами (22 оборота на истирающем круге типа Беме или 28 оборотов на истирающем круге типа ЛКИ-3 или ЛКИ-2), истирающий диск останавливают. С поверхности удаляют остатки абразивного материала и истертого в порошок бетона, насыпают новую порцию абразива по
5.1 и снова включают привод истирающего круга. Указанную операцию повторяют пять раз, что составляет один цикл испытаний (150 м пути испытания).
5.3.2 После каждого цикла испытаний образец (образцы) вынимают из гнезда, поворачивают на 90° в горизонтальной плоскости (вокруг вертикальной оси) и проводят следующие циклы испытаний по
5.3.1. Всего проводят четыре цикла испытаний для каждого образца (общий путь истирания равен 600 м).
5.3.3 После четырех циклов испытания образцы вынимают из гнезд. Воздушно-сухие образцы обтирают сухой тканью, измеряют высоту образца с точностью до 0,1 мм и взвешивают с точностью до 0,1 г. Водонасыщенные образцы помещают на 30 мин в воду, затем протирают влажной тканью и взвешивают.
5.4 Обработка результатов испытаний
5.4.1 Истираемость бетона Gi, г/см2, на круге истирания, характеризуемую потерей массы образца, вычисляют с точностью до 0,1 г/см2 для отдельного образца по формуле

, (1)
где m1 - масса образца до испытания, г;
m2 - масса образца после четырех циклов испытания, г;
F - площадь истираемой грани образца, см2.
5.4.2 Истираемость бетона серии образцов Gc вычисляют как среднее арифметическое значение результатов определения истираемости отдельных образцов серии по формуле

, (2)
где n - число образцов в серии.
При вычислении средней истираемости серии образцов следует проводить проверку выпадающих результатов по
приложению Б.
5.4.3 В журнале испытаний должны быть предусмотрены следующие графы:
- вид испытания (на круге или в барабане);
- условное обозначение образца;
- масса образца;
- высота граней образца;
- проектный класс бетона по прочности;
- возраст бетона и дата испытаний;
- влажностное состояние испытанных образцов;
- вид абразива и переводной коэффициент;
- истираемость бетона отдельных образцов;
- истираемость бетона серии образцов.
5.5 Оценка истираемости по изменению массы образца
Марки истираемости бетона по изменению массы на круге истирания должны соответствовать требованиям, представленным в таблице 1.
Таблица 1
Величина истираемости по изменению массы, г/см2, не более | 0,7 | 0,8 | 0,9 |
Марки истираемости по изменению массы G | G1 | G2 | G3 |
5.6 Определение истираемости по изменению высоты образца
5.6.1 Обработка результатов испытаний
5.6.1.1 Марку истираемости бетона по изменению высоты A, мм, характеризуемую изменением высоты образца в процессе испытания на круге истирания, определяют с точностью до 0,1 мм для отдельного образца.
5.6.1.2 Для определения марки истираемости по изменению высоты находят среднее значение

по всем испытанным образцам в серии по формуле

, (3)
где

- среднее уменьшение высоты образца, мм;
l0 - средний показатель измерений до начала испытаний, мм, вычисляемый по формуле

, (4)
здесь

- сумма результатов измерений высот граней куба или высот цилиндра до проведения испытаний в соответствии с
5.2.2;
m - число измерений;
l - средний показатель измерений после окончания испытания, мм, вычисляемый по формуле

, (5)
здесь

- сумма результатов измерений высот граней куба или высот цилиндра после проведения испытания в соответствии с
5.2.2.
Для определения марки истираемости по изменению объема находят среднее значение

по всем испытанным образцам в серии.
5.6.2 Оценка истираемости по изменению высоты образца
Марки истираемости бетона по изменению высоты A должны соответствовать требованиям, представленным в таблице 2.
Таблица 2
Величина истираемости по изменению высоты  , мм | От 4,4 до 3,0 | От 3,0 до 2,4 | От 2,4 до 1,8 | От 1,8 до 1,2 | От 1,2 до 0,6 | От 0,6 до 0,3 | Менее 0,3 |
Марка истираемости по изменению высоты A | A22 | A15 | A12 | A9 | A6 | A3 | A1,5 |
6 Определение истираемости бетона на установке "барабан истирания"
6.1 Оборудование и материалы
6.1.1 Применяют следующие оборудование и материалы.
Шлифовальный порошок необходимой зернистости по нормативному документу <*>, действующему на территории государства - участника Соглашения, принявшего настоящий стандарт.
--------------------------------
<*> В Российской Федерации принимают зернистость шлифовальных порошков F80 по
ГОСТ Р 52381-2005 "Материалы абразивные. Зернистость и зерновой состав шлифовальных порошков. Контроль зернового состава".
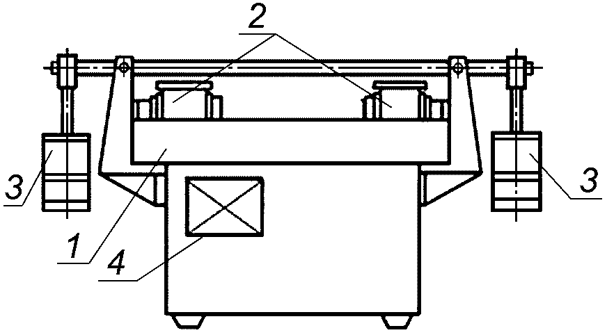
6.1.2 Барабан истирания состоит из полого герметичного цилиндра 1 с внутренним диаметром (312 +/- 2) мм, длиной (600 +/- 50) мм, в котором вращается вал 2 диаметром (40 +/- 1) мм с насажденной на него крыльчаткой 3 диаметром (120 +/- 2) мм, состоящей из четырех лопастей. Через патрубок 4 в барабан подают воду, а через патрубок 5, снабженный сеткой с ячейками размером 0,05 мм, вода и мелкие фракции истертого бетона и абразива вытекают.
Через съемную крышку 6 барабана проводят загрузку и выгрузку образцов и абразива.
6.2 Подготовка к испытанию
6.2.1 Испытание бетона в барабане истирания проводят на образцах, предварительно насыщенных водой по
ГОСТ 12730.3.
Перед испытанием образцы взвешивают по
4.11.
6.2.2 Загрузку барабана истирания абразивом проводят из расчета содержания абразива 10% массы воды, вмещающейся в барабане с образцами.
6.3.1 Загружают барабан тремя образцами одной серии и абразивом через съемную крышку таким образом, чтобы торцы соседних образцов вплотную примыкали друг к другу. Затем заполняют барабан водой через патрубок
4 и включают привод вала с крыльчаткой
3. Скорость вращения крыльчатки
3 должна составлять (1100 +/- 50) мин
-1. Продолжительность одного цикла испытаний составляет 3 ч.
1 - полый цилиндр; 2 - вал; 3 - крыльчатка; 4 - патрубок
подачи воды; 5 - патрубок слива; 6 - съемная крышка
Рисунок 3 - Барабан истирания
6.3.2 Через каждые 3 ч образцы вынимают из барабана и промывают водой, после чего проводят полную замену абразива в барабане в соответствии с требованиями
6.2.2, образцы загружают в барабан и снова включают привод.
6.3.3 Указанную операцию повторяют десять раз. После десяти циклов испытаний образцы извлекают из барабана, обтирают влажной тканью, измеряют размеры образца с точностью до 1,0 мм и взвешивают с точностью до 1,0 г.
6.4 Обработка результатов
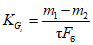
6.4.1 Истираемость бетона в барабане истирания характеризуют коэффициентом истирания

, кг/(м
2·ч), и вычисляют для отдельного образца с точностью до 0,1 кг/(м
2·ч) по формуле

, (6)
где m1 - масса образца до испытания, кг;
m2 - масса образца после десяти циклов испытаний, кг;

- время истирания образцов в барабане, ч;
Fб - площадь истирания внутренней поверхности образца, м2.
6.4.2 Истираемость бетона серии образцов

, кг/(м
2·ч), вычисляют с точностью 0,1 кг/(м
2·ч) как среднее арифметическое значение результатов определения истираемости отдельных образцов серии по формуле

, (7)
где n - число образцов в серии.
6.4.3 Проверку выпадающих результатов проводят по
приложению Б.
6.4.4 Допускается определение коэффициента истирания при концентрациях абразива в воде и скоростях вращения крыльчатки, отличающихся от требований
6.2.2 и
6.3.1. При определении истираемости бетона с заполнителем крупностью больше 20 мм необходимо предусмотреть размеры барабана истирания и крыльчатки в соответствии с
4.9. В этих случаях необходимо экспериментально определить переводные коэффициенты по
приложению А.
6.4.5 Результаты испытаний заносят в журнал испытаний в соответствии с требованиями
5.4.3.
(обязательное)
ЭКСПЕРИМЕНТАЛЬНОЕ ОПРЕДЕЛЕНИЕ ПЕРЕВОДНЫХ
КОЭФФИЦИЕНТОВ АБРАЗИВНЫХ МАТЕРИАЛОВ И МЕТОДОВ ИСПЫТАНИЙ
А.1 Экспериментальные переводные коэффициенты устанавливают отдельно для испытательной установки каждого типа и абразивного материала каждого вида, а также при изменении номинального состава бетона, но не реже одного раза в пять лет.
А.2 Для установления переводных коэффициентов изготовляют и испытывают восемь парных серий образцов.
А.3 Каждая парная серия образцов состоит из двух серий образцов, изготовленных по
ГОСТ 10180, из одной пробы бетонной смеси или отобранных из изделий и конструкций по
ГОСТ 28570 и испытанных в одном возрасте после твердения в одинаковых условиях.
А.4 Для каждой парной серии образцов вычисляют частное значение переводных коэффициентов Kj по формуле

, (А.1)
где

- истираемость в качестве абразива шлифовального порошка зернистостью F80, основная серия;

- истираемость бетона серии образцов, определенная на круге истирания при использовании в качестве абразива других материалов и оборудования, контрольная серия.
А.5 По всем восьми парным сериям вычисляют среднее значение переводного коэффициента K по формуле

. (А.2)
А.6 Значения переводных коэффициентов устанавливаются лабораторией предприятия (организации) и утверждаются руководителем предприятия (организации).
(обязательное)
ПРАВИЛА ОТБРАКОВКИ ВЫПАДАЮЩИХ РЕЗУЛЬТАТОВ
Результат испытания признают выпадающим и исключают при вычислении средней истираемости серии образцов, если величина

превышает критическое значение
Tk, приведенное в таблице Б.1.
Таблица Б.1
Число образцов в серии n | 3 | 4 | 5 | 6 |
Tk | 1,15 | 1,48 | 1,72 | 1,89 |
Среднее квадратическое отклонение истираемости бетона S в серии рассчитывают по формуле

, (Б.1)
где Gc - истираемость серии образцов;
Gi - истираемость i-го образца.
Среднеквадратическое отклонение S для восьми парных серий допускается рассчитывать по формуле
S = W/2,84, (Б.2)
где W - размах величин Gi в восьми сериях, разность между максимальным и минимальным значениями.
При исключении выпадающего результата пересчитывают по оставшимся результатам среднюю истираемость бетона в серии образцов.