Главная // Актуальные документы // ГОСТ (Государственный стандарт)СПРАВКА
Источник публикации
М.: ФГБУ "Институт стандартизации", 2024
Примечание к документу
Документ включен в
Перечень международных и региональных (межгосударственных) стандартов, а в случае их отсутствия - национальных (государственных) стандартов, в результате применения которых на добровольной основе обеспечивается соблюдение требований технического
регламента Таможенного союза "О безопасности машин и оборудования" (ТР ТС 010/2011) (
Решение Коллегии Евразийской экономической комиссии от 09.03.2021 N 28).
Документ
вводится в действие с 01.01.2025.
Название документа
"ГОСТ ISO 8812-2014. Межгосударственный стандарт. Машины землеройные. Экскаваторы-погрузчики. Термины и определения и технические характеристики для коммерческой документации"
(введен в действие Приказом Росстандарта от 26.12.2023 N 1649-ст)
"ГОСТ ISO 8812-2014. Межгосударственный стандарт. Машины землеройные. Экскаваторы-погрузчики. Термины и определения и технические характеристики для коммерческой документации"
(введен в действие Приказом Росстандарта от 26.12.2023 N 1649-ст)
агентства по техническому
регулированию и метрологии
от 26 декабря 2023 г. N 1649-ст
МЕЖГОСУДАРСТВЕННЫЙ СТАНДАРТ
МАШИНЫ ЗЕМЛЕРОЙНЫЕ
ЭКСКАВАТОРЫ-ПОГРУЗЧИКИ
ТЕРМИНЫ И ОПРЕДЕЛЕНИЯ И ТЕХНИЧЕСКИЕ ХАРАКТЕРИСТИКИ
ДЛЯ КОММЕРЧЕСКОЙ ДОКУМЕНТАЦИИ
Earth-moving machinery. Backhoe loaders.
Definitions and commercial specifications
(ISO 8812:1999, IDT)
ГОСТ ISO 8812-2014
Дата введения
1 января 2025 года
Цели, основные принципы и общие правила проведения работ по межгосударственной стандартизации установлены
ГОСТ 1.0 "Межгосударственная система стандартизации. Основные положения" и
ГОСТ 1.2 "Межгосударственная система стандартизации. Стандарты межгосударственные, правила и рекомендации по межгосударственной стандартизации. Правила разработки, принятия, обновления и отмены"
1 ПОДГОТОВЛЕН Научно-производственным республиканским унитарным предприятием "Белорусский государственный институт стандартизации и сертификации" (БелГИСС) на основе собственного перевода на русский язык англоязычной версии стандарта, указанного в
пункте 5
2 ВНЕСЕН Государственным комитетом по стандартизации Республики Беларусь
3 ПРИНЯТ Межгосударственным советом по стандартизации, метрологии и сертификации (протокол от 20 октября 2014 г. N 71-П)
За принятие проголосовали:
Краткое наименование страны по МК (ИСО 3166) 004-97 | Код страны по МК (ИСО 3166) 004-97 | Сокращенное наименование национального органа по стандартизации |
Армения | AM | ЗАО "Национальный орган по стандартизации и метрологии" Республики Армения |
Беларусь | BY | Госстандарт Республики Беларусь |
Казахстан | KZ | Госстандарт Республики Казахстан |
Киргизия | KG | Кыргызстандарт |
Россия | RU | Росстандарт |
Таджикистан | TJ | Таджикстандарт |
Украина | UA | Минэкономразвития Украины |
4
Приказом Федерального агентства по техническому регулированию и метрологии от 26 декабря 2023 г. N 1649-ст межгосударственный стандарт ГОСТ ISO 8812-2014 введен в действие в качестве национального стандарта Российской Федерации с 1 января 2025 г.
5 Настоящий стандарт идентичен международному стандарту ISO 8812:1999 "Машины землеройные. Экскаваторы-погрузчики. Определения и технические характеристики для коммерческой документации" ("Earth-moving machinery - Backhoe loaders - Definitions and commercial specifications", IDT).
Международный стандарт разработан подкомитетом SC 4 "Классификация и технические характеристики для коммерческой документации" технического комитета по стандартизации ISO/TC 127 "Машины землеройные" Международной организации по стандартизации (ISO).
Сведения о соответствии ссылочных международных стандартов межгосударственным стандартам приведены в дополнительном
приложении ДА
6 ВВЕДЕН ВПЕРВЫЕ
Информация о введении в действие (прекращении действия) настоящего стандарта и изменений к нему на территории указанных выше государств публикуется в указателях национальных стандартов, издаваемых в этих государствах, а также в сети Интернет на сайтах соответствующих национальных органов по стандартизации.
В случае пересмотра, изменения или отмены настоящего стандарта соответствующая информация будет опубликована на официальном интернет-сайте Межгосударственного совета по стандартизации, метрологии и сертификации в каталоге "Межгосударственные стандарты"
Настоящий стандарт устанавливает термины с соответствующими определениями и технические характеристики для коммерческой документации на самоходные гусеничные или колесные экскаваторы-погрузчики и их оборудование.
Настоящий стандарт распространяется на экскаваторы-погрузчики по
3.1 и не распространяется на погрузчики с навесной обратной лопатой по ISO 7131:1997 (пункт 3.3.1).
В настоящем стандарте использованы нормативные ссылки на следующие стандарты [для датированных ссылок применяют только указанное издание ссылочного стандарта, для недатированных - последнее издание (включая все изменения)]:
ISO 3450:2011, Earth-moving machinery - Wheeled or high-speed rubber-tracked machines - Performance requirements and test procedures for brake systems (Машины землеройные. Колесные машины или скоростные машины на резиновых гусеницах. Требования к эффективности и методы испытаний тормозных систем)
ISO 4250-1:2014, Earth-mover tyres and rims - Part 1: Tyre designation and dimensions (Шины и ободья для землеройных машин. Часть 1. Обозначение и размеры шин)
ISO 4250-2:2014, Earth-mover tyres and rims - Part 2: Loads and inflation pressures (Шины и ободья для землеройных машин. Часть 2. Нагрузки и внутреннее давление в шине)
ISO 4250-3:2011, Earth-mover tyres and rims - Part 3: Rims (Шины и ободья для землеройных машин. Часть 3. Ободья)
ISO 5010:2007, Earth-moving machinery - Rubber-tyred machines - Steering requirements (Машины землеройные. Машины на резиновых шинах. Требования к системам рулевого управления)
ISO 6014:1986, Earth-moving machinery - Determination of ground speed (Машины землеройные. Определение скорости движения)
ISO 6015:2006, Earth-moving machinery - Hydraulic excavators and backhoe loaders - Methods of determining tool forces (Машины землеройные. Экскаваторы. Методы измерений усилий на рабочих органах)
ISO 6016:2008, Earth-moving machinery - Methods of measuring the masses of whole machines, their attachments and components (Машины землеройные. Методы измерений масс машин в целом, рабочего оборудования и составных частей)
ISO 6016:1998 <1>, Earth-moving machinery - Methods of measuring the masses of whole machines, their equipment and components (Машины землеройные. Методы измерений масс машин в целом, рабочего оборудования и составных частей)
--------------------------------
<1> Действует только для датированной ссылки.
ISO 6165:2012, Earth-moving machinery - Basic types - Identification and terms and definitions (Машины землеройные. Основные типы. Идентификация, термины и определения)
ISO 6746-1:2003, Earth-moving machinery - Definitions of dimensions and codes - Part 1: Base machine (Машины землеройные. Определение и условные обозначения размерных характеристик. Часть 1. Базовая машина)
ISO 6746-2:2003, Earth-moving machinery - Definitions of dimensions and codes - Part 2: Equipment and attachments (Машины землеройные. Определение и условные обозначения размерных характеристик. Часть 2. Оборудование и приспособления)
ISO 7131:2009, Earth-moving machinery - Loaders - Terminology and commercial specifications (Машины землеройные. Погрузчики. Терминология и технические характеристики для коммерческой документации)
ISO 7131:1997 <2>, Earth-moving machinery - Loaders - Terminology and commercial specifications (Машины землеройные. Погрузчики. Терминология и технические характеристики для коммерческой документации)
--------------------------------
<2> Действует только для датированной ссылки.
ISO 7135:2009, Earth-moving machinery - Hydraulic excavators - Terminology and commercial specifications (Машины землеройные. Гидравлические экскаваторы. Терминология и технические характеристики для коммерческой документации)
ISO 7451:2007, Earth-moving machinery - Volumetric ratings for hoe-type and grab-type buckets of hydraulic excavators and backhoe loaders (Машины землеройные. Расчет вместимости ковшей типа "обратная лопата" и грейферных ковшей гидравлических экскаваторов и погрузчиков с обратной лопатой)
ISO 7457:1997, Earth-moving machinery - Determination of turning dimensions of wheeled machines (Машины землеройные. Определение параметров поворота колесных машин)
ISO 7546:1983, Earth-moving machinery - Loader and front loading excavator buckets - Volumetric ratings (Машины землеройные. Ковши погрузчиков и погрузочные ковши экскаваторов. Расчет вместимости)
ISO 14397-1:2007, Earth-moving machinery - Loaders and backhoe loaders - Part 1: Calculation of rated operating capacity and test method for verifying calculated tipping load (Машины землеройные. Погрузчики и экскаваторы-погрузчики. Часть 1. Расчет номинальной грузоподъемности и метод испытаний по проверке опрокидывающей нагрузки)
3 Общие термины и определения
В настоящем стандарте применены термины, установленные в ISO 6165, а также следующие термины с соответствующими определениями:
3.1
экскаватор-погрузчик (backhoe loader): Самоходная колесная или гусеничная машина с главной рамой, предназначенной для навески рабочего оборудования спереди и обратной лопаты сзади (обычно с аутригерами); при работе в режиме экскаватора машина неподвижна и обычно копает ниже уровня земли; при работе в режиме погрузчика (использование ковша) загрузка осуществляется при движении машины вперед.
Примечание 1 - Рабочий цикл в режиме экскаватора, как правило, включает в себя следующие операции: копание, подъем, перемещение с поворотом и разгрузку материала. Рабочий цикл в режиме погрузчика включает в себя следующие операции: наполнение, подъем, транспортирование и разгрузку материала.
Примечание 2 - Основные направления движения экскаватора-погрузчика: термины "вправо", "влево", "вперед" и "назад" определяются относительно положения оператора, сидящего по направлению движения, указанному изготовителем.
3.2 базовая машина (base machine): Машина с кабиной или навесом, защитной конструкцией оператора, если они необходимы, без рабочего или сменного оборудования, но с элементами крепления для установки такого оборудования.
Примечание - В целях настоящего стандарта базовая машина экскаватора-погрузчика включает в себя рабочее и сменное оборудование.
3.3 рабочее оборудование (equipment): Комплект составных частей, монтируемых на базовую машину для обеспечения выполнения сменным оборудованием ее основной функции в соответствии с назначением.
3.4 рабочее оборудование по выбору (optional equipment): Рабочее оборудование по выбору потребителя, устанавливаемое на базовую машину, для увеличения, например, производительности, переналаживаемости или обеспечения удобства и безопасности.
3.5 сменное оборудование (рабочий орган) (attachment (tool): Сборочные узлы, которые могут быть установлены на базовую машину или рабочее оборудование для специального применения.
3.6 составная часть (component): Часть или узел, составляющие базовую машину, рабочее или сменное оборудование.
4.1 Типы экскаваторов-погрузчиков
4.1.1 Экскаватор-погрузчик с боковым перемещением стрелы обратной лопаты
4.1.2 Экскаватор-погрузчик с центральным поворотом стрелы обратной лопаты
4.1.3 Система привода и рулевого управления
4.1.3.1 С жесткой рамой, управляемыми передними колесами и с приводом на задние колеса
4.1.3.2 С жесткой рамой, управляемыми передними/всеми колесами и с приводом на все колеса
4.1.3.3 С шарнирно-сочлененной рамой и приводом на задние колеса
4.1.3.4 С шарнирно-сочлененной рамой и приводом на все колеса
Рисунок 1 - Экскаватор-погрузчик с боковым перемещением
стрелы обратной лопаты
| | ИС МЕГАНОРМ: примечание. Текст абзаца дан в соответствии с официальным текстом документа. | |
Рисунок 2 - Экскаватор-погрузчик с центральным поворотом
перемещением стрелы обратной лопаты
Рисунок 3 - С жесткой рамой, управляемыми
передними колесами и с приводом на задние колеса
Рисунок 4 - С жесткой рамой, управляемыми
передними/всеми колесами и с приводом на все колеса
Рисунок 5 - С шарнирно-сочлененной рамой
и приводом на задние колеса
Рисунок 6 - С шарнирно-сочлененной рамой
и приводом на все колеса
4.2 Размерные характеристики
Определение размерных характеристик см. в ISO 6746-1.
Определение размерных характеристик, касающихся только экскаваторов-погрузчиков, см. в
приложении A.
1 - ось поворота
Рисунок 7 a) - Размерные характеристики
экскаватора-погрузчика
Рисунок 7 b) - Обратная лопата
с центральным поворотом стрелы
1 - ось поворота
Рисунок 7 c) - Обратная лопата с боковым перемещением стрелы
Рисунок 8 - Размерные характеристики копания
4.2.1 Рабочие положения обратной лопаты
Размерные характеристики, указанные на рисунках 9,
10 и
11, определяют с выносными опорами, опирающимися поверхностью подушки на грунт, и со всеми шинами, касающимися грунта при рекомендуемом давлении воздуха в них.
Рисунок 9 - Ось поворота обратной лопаты
Рисунок 10 - Угол выравнивания
4.2.2 Рабочее положение выносных опор
4.2.2.1 Общая длина
Выносные опоры опущены и показаны в своих рабочих положениях (см. рисунки 11 и
12).
Рисунок 11 - Обратная лопата с центральным поворотом стрелы
Рисунок 12 - Обратная лопата с боковым перемещением стрелы
4.2.3 Размерные характеристики при маневрировании
Рисунок 13 - Размерные характеристики при маневрировании
(с жесткой рамой)
Рисунок 14 - Размерные характеристики при маневрировании
(с шарнирно-сочлененной рамой)
Примечание - Ковш в положении транспортировки и обратная лопата в транспортном положении.
4.3.1 эксплуатационная масса (operating mass): Масса базовой машины с рабочим оборудованием и порожним сменным оборудованием, указанным изготовителем, оператором (75 кг), с полной заправкой топливного бака и заправкой емкостей всех гидросистем до уровней, указанных изготовителем.
[ISO 6016:1998, терминологическая статья 3.2.1]
4.3.2 отгрузочная масса (shipping mass): Масса без оператора базовой машины с 10%-ной заправкой топливного бака, заправкой всех гидросистем до уровней, указанных изготовителем, и либо с рабочим оборудованием, с кабиной, навесом, устройствами ROPS <1> и/или FOPS <2>, колесами и противовесами, предусмотренными изготовителем, либо без них.
--------------------------------
<1> ROPS - устройство защиты при опрокидывании.
<2> FOPS - устройство защиты от падающих предметов.
Примечание - При необходимости разборки машины для ее транспортирования массы этих снятых составных частей рекомендуется указывать изготовителем.
4.3.3 масса кабины, навеса, устройства ROPS и/или FOPS (cab, canopy, ROPS and/or FOPS): Масса кабины, навеса, устройства ROPS и FOPS со всеми их составными частями и элементами крепления к базовой машине.
4.4 Наименования составных частей (см. номера позиций на схемах)
4.4.1 Наименования составных частей, относящихся только к погрузчику, приведены в ISO 7131.
4.4.2 Наименования рабочего оборудования обратной лопаты см. на
рисунках 15,
16 и
17 и в ISO 7135.
| |
12 - поворотная рама; 13 - ось шарнира поворота; 14 - привод механизма/цилиндр поворота; 15 - главная рама; 16 - выносная опора (правая или левая); 17 - цилиндр выносной опоры (правой или левой); 18 - площадка выносной опоры (правой или левой); 19 - рама поперечного перемещения (скользящая рама) |
Рисунок 15 - Обратная лопата с боковым перемещением стрелы | Рисунок 16 - Обратная лопата с центральным поворотом стрелы |
1 - ковш; 2 - соединение ковша; 3 - направляющий рычаг;
4 - ось шарнира ковша; 5 - рукоять (выдвижная); 6 - цилиндр
ковша; 7 - ось рукояти; 8 - стрела; 9 - цилиндр рычага;
10 - ось шарнира стрелы; 11 - цилиндр стрелы;
21 - цилиндр бокового отклонения; 22 - цилиндр выдвижения
рукояти; 23 - кронштейн рабочего органа
Рисунок 17 - Обратная лопата с боковым перемещением стрелы
и выдвижной рукоятью
5 Наименования сменного оборудования (рабочего органа)
5.1 Ковш погрузчика
5.2 Ковш экскаватора
6 Термины и определения по рабочим характеристикам
6.1 Общие термины
6.1.1 полезная мощность (двигателя) по ISO (ISO net power (engine)):
См. ISO 9249.
6.1.2 максимальные скорости движения (maximum travel speeds):
См. ISO 6014.
6.1.3 эффективность торможения (braking performance):
См. ISO 3450.
6.1.4 эффективность рулевого управления (steering capability):
См. ISO 5010.
6.1.5 радиус поворота (turning radius):
См. ISO 7457.
6.2 Работа в режиме погрузчика
6.2.1 номинальная грузоподъемность (rated operating load):
См. ISO 14397-1.
6.2.2 вырывное усилие (breakout force):
См. ISO 14397-1.
6.2.3 опрокидывающая нагрузка (tipping load):
См. ISO 14397-1.
6.2.4 опрокидывающая нагрузка на заданной высоте (tipping load at specified height):
См. ISO 14397-1.
6.2.5 время подъема (raising time):
См. ISO 7131.
6.2.6 время опускания (lowering time):
См. ISO 7131.
6.2.7 время разгрузки (dump time):
См. ISO 7131.
6.3 Работа в режиме экскаватора
6.3.1 максимальное усилие на рабочем органе обратной лопаты, развиваемое гидроцилиндром (гидроцилиндрами) ковша (maximum hoe tool force using bucket cylinder(s)):
См. ISO 6015.
6.3.2 максимальное усилие на рабочем органе обратной лопаты, развиваемое гидроцилиндром (гидроцилиндрами) рукояти (maximum hoe tool force using arm cylinder(s))
См. ISO 6015.
7 Технические характеристики в единицах Международной системы единиц (СИ) для коммерческой документации (рекомендации по применению)
7.1 Двигатель (необходимо указать характеристики)
Изготовитель и модель
С воспламенением от сжатия или с искровым зажиганием
Тактность (двух- или четырехтактный)
С естественным всасыванием, механическим наддувом или турбонаддувом
Число цилиндров
Рабочий объем цилиндра
Диаметр цилиндра
Ход поршня
Система охлаждения (воздушная или жидкостная)
Тип топлива
Полезная мощность на маховике.......... при .... об./мин
Максимальный крутящий момент........... при .... об./мин (если применимо)
Тип стартера: электрический............ пневматический .... другого типа
Напряжение в системе электрооборудования.... В
7.2 Трансмиссия (необходимо указать тип)
С ручным переключением передач и сцеплением на маховике
С ручным переключением передач и гидротрансформатором
С переключением передач под нагрузкой и гидротрансформатором
Гидростатическая
Электрическая
Число передач (переднего и заднего хода)
Скорость движения (вперед, назад)
7.3 Ведущий мост (мосты) (необходимо указать тип)
Жестко закрепленный или балансирный
Коническая главная передача
Дифференциал
Двухскоростной
Гидростатический
Конечная передача (планетарная в колесной ступице или в корпусе дифференциала)
Двухколесный или четырехколесный привод (2WD, 4WD)
7.4 Рулевое управление (необходимо указать тип; см. ISO 5010)
С шарнирно-сочлененной рамой
С передними управляемыми колесами
С задними управляемыми колесами
Со всеми управляемыми колесами
Ручное управление, гидростатическое (с усилителем, с объемным гидроприводом)
Способ аварийного управления
7.4.1 Эксплуатационные характеристики
Диаметр поворота влево и вправо (см. ISO 7457)
Угол складывания шарнирно-сочлененной рамы
Габаритный диаметр поворота машины
Диаметр поворота по шинам
7.5 Тормоза (необходимо указать тип)
7.5.1 Рабочий тормоз
Тип (барабанный, дисковый, мокрый или сухой)
Система привода (полностью пневматическая, полностью гидравлическая, пневмогидравлическая, механическая и др.)
7.5.2 Стояночный тормоз
Тип
Система привода
7.5.3 Резервный тормоз
Тип
Система привода
7.5.4 Эффективность торможения (необходимо указать)
См. ISO 3450.
7.6 Шины и ободья (см. ISO 4250-1, ISO 4250-2 и ISO 4250-3)
Размер и тип
Протектор
Норма слойности
Размер обода
7.7 Гидравлическая система
Цилиндры (количество, тип и размеры):
- подъема;
- поворота;
- ковша.
Тип(ы) насоса
Количество насосов
Система регулирования
Подача насоса при заданном давлении и при номинальной частоте вращения двигателя
Давления открытия главного предохранительного клапана
7.8 Заправочные емкости систем
Топливного бака
Картера двигателя
Системы охлаждения
Трансмиссии
Раздаточной коробки
Гидравлической системы
Мостов
Конечной(ых) передачи
7.9 Массы
7.9.1 Эксплуатационная масса
7.9.2 Отгрузочная масса
7.10 Система фильтрации (тип)
Двигателя
Трансмиссии
Рулевого управления и тормозной системы
Гидросистемы
7.11 Характеристики, на которые может повлиять выбор ковша (машина оборудована нестандартными шинами)
См. ISO 7131:1997 (подраздел 7.8).
(справочное)
БАЗОВАЯ МАШИНА. РАЗМЕРНЫЕ ХАРАКТЕРИСТИКИ.
УСЛОВНЫЕ ОБОЗНАЧЕНИЯ, ТЕРМИНЫ И ОПРЕДЕЛЕНИЯ
Размерные характеристики погрузчика и экскаватора см. в ISO 7131 и ISO 7135 соответственно.
Условное обозначение | Термин | Определение | Рисунок |
A7 | Угол заднего свеса | Максимальный угол между опорной плоскостью отсчета GRP <1> и плоскостью, касательной к задним шинам или гусеницам машины и проходящей через самую нижнюю точку конструкции или составной части позади шин или гусениц, которые ограничивают величину угла | |
A8 | Угол поворота обратной лопаты | Максимальный угол непрерывного вращения в плоскости Z, описанной стрелой обратной лопаты при ее движении вокруг оси поворота обратной лопаты | |
A9 | Угол выравнивания | Максимальный боковой наклон в градусах, при котором обратная лопата может вскопать вертикальную траншею за счет регулировки выносных опор | |
H11 | Транспортная высота | Расстояние по координате Z между плоскостью GRP и самой высшей точкой обратной лопаты, установленной в транспортное положение | |
L7 | Габаритная длина в транспортном положении | Расстояние по координате X между двумя плоскостями X, проходящими через самые удаленные точки передней и задней частей машины с рабочим/сменным оборудованием, установленным в транспортное положение | |
R3 | Минимальный радиус поворота с ковшом в транспортном положении | Расстояние по координате Z от центра поворота до наиболее удаленной точки боковой поверхности ковша при выполнении машиной самого меньшего практически возможного поворота | |
R4 | Радиус поворота обратной лопаты | Расстояние по координате Z от центра поворота до наиболее удаленной точки обратной лопаты при выполнении машиной самого меньшего практически возможного поворота | |
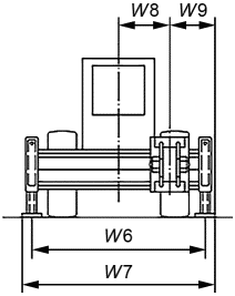
W5 | Ширина ковша | Расстояние по координате Y между двумя плоскостями Y, проходящими через наиболее удаленные точки боковых поверхностей ковша | |
W6 | Размах выносных опор | Расстояние по координате Y между двумя плоскостями Y, проходящими через центры опорных площадок выносных опор, когда они установлены в показанном положении | |
W7 | Габаритная ширина выносных опор | Расстояние по координате Y между двумя плоскостями Y, проходящими через наиболее удаленные точки выносных опор (в опущенном положении) с обеих сторон | |
W8 | Максимальное боковое перемещение скользящей рамы | Расстояние по координате Y между двумя плоскостями Y, проходящими через осевую линию машины и осевую линию поворота при максимальном смещенном положении | |
W9 | Расстояние от стенки | Расстояние по координате Y между двумя плоскостями Y, проходящими через центр поворота при полностью смещенном положении и внешнюю точку обратной лопаты или машины | |
--------------------------------
<1> Определения терминов плоскость GRP и координаты X, Y и Z установлены в ISO 6746-1.
Условное обозначение | Термин | Ссылка |
A1 | Угол складывания | См. ISO 6746-1 |
A2 | Угол разгрузки | См. ISO 7131 |
A3 | Максимальный угол запрокидывания полностью поднятого ковша | См. ISO 7131 |
A4 | Максимальный угол запрокидывания ковша на уровне стоянки | См. ISO 7131 |
A5 | Максимальный угол запрокидывания ковша в транспортном положении | См. ISO 7131 |
A6 | Максимальный угол копания | См. ISO 7131 |
A7 | Угол заднего свеса | |
A8 | Угол поворота обратной лопаты | |
A9 | Угол выравнивания | |
H1 | Максимальная габаритная высота | См. ISO 6746-1 |
H2 | Максимальная высота (без кабины или ROPS) | См. ISO 6746-1 |
H3 | Отгрузочная высота | См. ISO 6746-1 |
H4 | Дорожный просвет | См. ISO 6746-1 |
H6 | Глубина копания | См. ISO 7131 |
H7 | Высота подъема в транспортном положении | См. ISO 7131 |
H8 | Высота разгрузки | См. ISO 7131 |
H9 | Высота шарнира максимально поднятого ковша | См. ISO 7131 |
H10 | Габаритная рабочая высота с максимально поднятым ковшом | См. ISO 7131 |
H11 | Транспортная высота | |
HH1 | Максимальная высота режущей кромки (HH20) | См. ISO 7135 (приложение B) |
HH2 | Максимальная высота шарнира ковша (HH21) | См. ISO 7135 (приложение B) |
HH3 | Максимальная высота ковша в груженом состоянии (HH22) | См. ISO 7135 (приложение B) |
HH4 | Максимальная высота разгрузки (HH23) | См. ISO 7135 (приложение B) |
HH5 | Максимальная глубина копания (HH24) | См. ISO 7135 (приложение B) |
HH6 | Максимальная глубина копания по вертикали (HH25) | См. ISO 7135 (приложение B) |
HH7 | Максимальная глубина копания при длине горизонтальной площадки 2,5 м (HH26) | См. ISO 7135 (приложение B) |
L1 | Максимальная длина | См. ISO 6746-1 |
L3 | База колесной машины | См. ISO 6746-1 |
L4 | Задний свес | См. ISO 6746-1 |
L5 | Расстояние от заднего моста до шарнира сочлененной рамы | См. ISO 6746-1 |
L7 | Габаритная длина | |
L9 | Габаритная длина кабины (L19) | См. ISO 7135 |
R1 | Радиус поворота | См. ISO 6746-1 |
R2 | Габаритный радиус машины | См. ISO 6746-1 |
R3 | Минимальный радиус поворота с ковшом в транспортном положении | |
R4 | Радиус поворота обратной лопаты | |
RR1 | Максимальный вылет | См. ISO 7135 |
RR2 | Максимальный вылет на опорной плоскости отсчета (GRP) | См. ISO 7135 |
RR3 | Вылет при максимальной глубине копания | См. ISO 7135 |
RR4 | Минимальный вылет на GRP | См. ISO 7135 |
W1 | Максимальная ширина | См. ISO 6746-1 |
W3 | Колея (колесного погрузчика) | См. ISO 6746-1 |
W5 | Ширина ковша | |
W6 | Размах выносных опор | |
W7 | Габаритная ширина выносных опор | |
W8 | Максимальное боковое перемещение скользящей рамы | |
W9 | Расстояние от стенки | |
W19 | Габаритная ширина кабины | См. ISO 7135 |
(справочное)
СВЕДЕНИЯ О СООТВЕТСТВИИ ССЫЛОЧНЫХ МЕЖДУНАРОДНЫХ СТАНДАРТОВ
МЕЖГОСУДАРСТВЕННЫМ СТАНДАРТАМ
Таблица ДА.1
Обозначение международного стандарта | Степень соответствия | Обозначение и наименование межгосударственного стандарта |
ISO 3450:2011 | - | |
ISO 4250-1:2014 | - | |
ISO 4250-2:2014 | - | |
ISO 4250-3:2011 | - | |
ISO 5010:2007 | IDT | |
ISO 6014:1986 | MOD | ГОСТ 27927-88 (ИСО 6014-86) "Машины землеройные. Определение скорости движения" |
ISO 6015:2006 | - | |
ISO 6016:2008 | - | |
ISO 6016:1998 | - | |
ISO 6165:2012 | - | |
ISO 6746-1:2003 | - | |
ISO 6746-2:2003 | - | |
ISO 7131:2009 | - | |
ISO 7135:2009 | - | |
ISO 7451:2007 | - | |
ISO 7457:1997 | IDT | ГОСТ ISO 7457-2017 "Машины землеройные. Определение размеров поворота колесных машин" |
ISO 7546:1983 | MOD | ГОСТ 29290-92* (ИСО 7546-83) "Машины землеройные. Ковши погрузчиков и погрузочные ковши экскаваторов. Расчет вместимости" |
ISO 14397-1:2007 | - | |
<*> Соответствующий межгосударственный стандарт отсутствует. Примечание - В настоящей таблице использовано следующее условное обозначение степени соответствия стандартов: - IDT - идентичные стандарты; - MOD - модифицированные стандарты. |
УДК 621.879.017:001.4(083.74)(476) | | IDT |
Ключевые слова: машины землеройные, экскаваторы-погрузчики, технические характеристики, коммерческая документация, термины, определения |