Главная // Актуальные документы // ГОСТ (Государственный стандарт)СПРАВКА
Источник публикации
М.: ФГБУ "Институт стандартизации", 2023
Примечание к документу
Документ
введен в действие с 01.10.2023.
Название документа
"ГОСТ ISO 10893-1-2023. Межгосударственный стандарт. Трубы стальные бесшовные и сварные. Часть 1. Автоматизированный контроль герметичности электромагнитным методом"
(введен в действие Приказом Росстандарта от 18.04.2023 N 249-ст)
"ГОСТ ISO 10893-1-2023. Межгосударственный стандарт. Трубы стальные бесшовные и сварные. Часть 1. Автоматизированный контроль герметичности электромагнитным методом"
(введен в действие Приказом Росстандарта от 18.04.2023 N 249-ст)
агентства по техническому
регулированию и метрологии
от 18 апреля 2023 г. N 249-ст
МЕЖГОСУДАРСТВЕННЫЙ СТАНДАРТ
ТРУБЫ СТАЛЬНЫЕ БЕСШОВНЫЕ И СВАРНЫЕ
ЧАСТЬ 1
АВТОМАТИЗИРОВАННЫЙ КОНТРОЛЬ ГЕРМЕТИЧНОСТИ
ЭЛЕКТРОМАГНИТНЫМ МЕТОДОМ
Seamless and welded steel tubes. Part 1.
Automated electromagnetic testing for the verification
of hydraulic leak tightness
(ISO 10893-1:2011, Non-destructive testing of steel
tubes - Part 1: Automated electromagnetic testing
of seamless and welded (except submerged arc-welded) steel
tubes for the verification of hydraulic leaktightness, IDT)
ГОСТ ISO 10893-1-2023
Дата введения
1 октября 2023 года
Цели, основные принципы и общие правила проведения работ по межгосударственной стандартизации установлены
ГОСТ 1.0 "Межгосударственная система стандартизации. Основные положения" и
ГОСТ 1.2 "Межгосударственная система стандартизации. Стандарты межгосударственные, правила и рекомендации по межгосударственной стандартизации. Правила разработки, принятия, обновления и отмены"
1 ПОДГОТОВЛЕН Техническим комитетом по стандартизации ТК 357 "Стальные и чугунные трубы и баллоны", Негосударственным образовательным учреждением дополнительного профессионального образования "Научно-учебный центр "Контроль и диагностика" ("НУЦ "Контроль и диагностика") и Акционерным обществом "Русский научно-исследовательский институт трубной промышленности" (АО "РусНИТИ") на основе собственного перевода на русский язык англоязычной версии стандарта, указанного в
пункте 5
2 ВНЕСЕН Техническим комитетом по стандартизации ТК 357 "Стальные и чугунные трубы и баллоны"
3 ПРИНЯТ Межгосударственным советом по стандартизации, метрологии и сертификации (протокол от 31 марта 2023 г. N 160-П)
За принятие проголосовали:
Краткое наименование страны по МК (ИСО 3166) 004-97 | Код страны по МК (ИСО 3166) 004-97 | Сокращенное наименование национального органа по стандартизации |
Армения | AM | ЗАО "Национальный орган по стандартизации и метрологии" Республики Армения |
Беларусь | BY | Госстандарт Республики Беларусь |
Казахстан | KZ | Госстандарт Республики Казахстан |
Киргизия | KG | Кыргызстандарт |
Россия | RU | Росстандарт |
Узбекистан | UZ | Узстандарт |
4
Приказом Федерального агентства по техническому регулированию и метрологии от 18 апреля 2023 г. N 249-ст межгосударственный стандарт ГОСТ ISO 10893-1-2023 введен в действие в качестве национального стандарта Российской Федерации с 1 октября 2023 г.
5 Настоящий стандарт идентичен международному стандарту ISO 10893-1:2011 "Неразрушающий контроль стальных труб. Часть 1. Автоматизированный контроль герметичности стальных бесшовных и сварных труб (кроме труб, полученных дуговой сваркой под флюсом) электромагнитным методом" ("Non-destructive testing of steel tubes - Part 1: Automated electromagnetic testing of seamless and welded (except submerged arc-welded) steel tubes for the verification of hydraulic leaktightness", IDT).
Изменения и технические поправки к указанному международному стандарту, принятые после его официальной публикации, внесены в текст настоящего стандарта и выделены двойной вертикальной линией, расположенной на полях напротив соответствующего текста, а обозначение и год принятия изменения (технической поправки) приведены в скобках после соответствующего текста (в примечании к тексту).
Международный стандарт разработан Техническим комитетом по стандартизации ISO/TC 17 "Сталь", подкомитетом SC 19 "Технические условия поставки труб, работающих под давлением" Международной организации по стандартизации (ISO).
Наименование настоящего стандарта изменено относительно наименования указанного международного стандарта для увязки с наименованиями, принятыми в существующем комплексе межгосударственных стандартов.
При применении настоящего стандарта рекомендуется использовать вместо ссылочных международных стандартов соответствующие им межгосударственные стандарты, сведения о которых приведены в дополнительном
приложении ДА
6 ВВЕДЕН ВПЕРВЫЕ
--------------------------------
<*>
Приказом Федерального агентства по техническому регулированию и метрологии от 18 апреля 2023 г. N 249-ст
ГОСТ Р ИСО 10893-1-2016 отменен с 1 октября 2023 г.
Информация о введении в действие (прекращении действия) настоящего стандарта и изменений к нему на территории указанных выше государств публикуется в указателях национальных стандартов, издаваемых в этих государствах, а также в сети Интернет на сайтах соответствующих национальных органов по стандартизации.
В случае пересмотра, изменения или отмены настоящего стандарта соответствующая информация будет опубликована на официальном интернет-сайте Межгосударственного совета по стандартизации, метрологии и сертификации в каталоге "Межгосударственные стандарты"
Международный стандарт ISO 10893-1 аннулирует и заменяет технически пересмотренный ISO 9302:1994.
В комплекс стандартов ISO 10893 под общим наименованием "Неразрушающий контроль стальных труб" входят:
- часть 1. Автоматизированный контроль герметичности стальных бесшовных и сварных труб (кроме труб, полученных дуговой сваркой под флюсом) электромагнитным методом;
- часть 2. Автоматизированный контроль вихретоковым методом стальных бесшовных и сварных труб (кроме труб, полученных дуговой сваркой под флюсом) для обнаружения дефектов;
- часть 3. Автоматизированный контроль методом рассеяния магнитного потока по всей поверхности труб из ферромагнитной стали (кроме труб, полученных дуговой сваркой под флюсом) для обнаружения продольных и (или) поперечных дефектов;
- часть 4. Контроль методом проникающих жидкостей стальных бесшовных и сварных труб для обнаружения поверхностных дефектов;
- часть 5. Метод магнитопорошкового контроля бесшовных и сварных труб из ферромагнитной стали для обнаружения поверхностных дефектов;
- часть 6. Радиографический контроль сварных швов для обнаружения дефектов;
- часть 7. Цифровой радиографический контроль сварных швов для обнаружения дефектов;
- часть 8. Ультразвуковой метод автоматизированного контроля бесшовных и сварных стальных труб для обнаружения расслоений;
- часть 9. Ультразвуковой метод автоматизированного контроля расслоений в рулонах/листах для производства сварных труб;
- часть 10. Ультразвуковой метод автоматизированного контроля бесшовных и сварных труб (кроме труб, полученных дуговой сваркой под флюсом) для обнаружения продольных и/или поперечных дефектов по всей поверхности;
- часть 11. Ультразвуковой метод автоматизированного контроля сварных швов стальных труб для обнаружения продольных и (или) поперечных дефектов;
- часть 12. Ультразвуковой метод автоматизированного контроля толщины стенки по всей окружности бесшовных и сварных стальных труб (кроме труб, полученных дуговой сваркой под флюсом).
Настоящий стандарт устанавливает требования к автоматизированному электромагнитному контролю бесшовных и сварных стальных труб (кроме труб, сваренных дуговой сваркой под флюсом) для контроля герметичности.
Настоящий стандарт применяется для контроля вихретоковым методом труб наружным диаметром 4 мм и более, методом рассеяния магнитного потока - труб наружным диаметром более 10 мм.
Настоящий стандарт может быть применен для контроля других полых профилей.
Примечание - Электромагнитный контроль с использованием метода рассеяния магнитного потока не применяется для труб из нержавеющей аустенитной стали.
В настоящем стандарте использованы нормативные ссылки на следующие стандарты [для датированных ссылок применяют только указанное издание ссылочного стандарта, для недатированных - последнее издание (включая все изменения)]:
ISO 9712, Non-destructive testing - Qualification and certification of personnel (Неразрушающий контроль. Квалификация и аттестация персонала)
ISO 11484, Steel products - Employer's qualification system for non-destructive testing (NDT) personnel (Изделия стальные. Система оценки работодателем квалификации персонала, осуществляющего неразрушающий контроль)
В настоящем стандарте применены термины по ISO 11484, а также следующие термины с соответствующими определениями:
3.1 искусственный дефект (reference standard): Дефект для настройки оборудования неразрушающего контроля (например, отверстия, пазы и т.п.).
3.2 настроечный образец-труба (reference tube): Труба или часть трубы, используемая для целей настройки.
3.3 настроечный образец (reference sample): Образец (например, сегмент трубы, рулона или листа), используемый для настройки.
Примечание - Термин "настроечный образец-труба", используемый только в настоящем стандарте, охватывает термин "настроечный образец".
3.4 труба (tube): Полое длинное изделие, открытое с обоих концов, любой формы поперечного сечения.
3.5 бесшовная труба (seamless tube): Труба, полость которой изготовлена путем прошивания сплошной заготовки, подвергаемая дальнейшей обработке (горячим или холодным способом) для получения окончательных размеров.
3.6 сварная труба (welded tube): Труба, полость которой изготовлена путем формования и сварки смежных кромок плоского проката, подвергаемая дальнейшей обработке (горячим или холодным способом) для получения окончательных размеров.
3.7 изготовитель (manufacturer): Организация, которая изготавливает изделия согласно соответствующему стандарту и заявляет соответствие поставленных изделий всем действующим положениям соответствующего стандарта.
3.8 соглашение (agreement): Контрактные отношения между изготовителем и заказчиком в момент запроса и заказа.
4.1 Если спецификация на продукцию или соглашение между заказчиком и изготовителем не оговаривают иное, то электромагнитный контроль труб должен проводиться на трубах после завершения всех первичных технологических операций производства (прокатки, термической обработки, холодной и горячей деформации, обработки в размер, предварительной правки и т.п.).
4.2 Трубы должны быть достаточно прямыми, чтобы обеспечить возможность проведения контроля. Поверхность трубы должна быть свободна от посторонних веществ, которые могут повлиять на результаты контроля.
4.3 Контроль проводят только подготовленные операторы, квалифицированные в соответствии с ISO 9712, ISO 11484 или эквивалентными документами, и под руководством компетентного персонала, назначенного изготовителем (заводом-изготовителем). В случае инспекции третьей стороной это должно быть согласовано между заказчиком и изготовителем.
Допуск к проведению контроля должен быть выдан работодателем в соответствии с письменной процедурой. Процедура неразрушающего контроля должна быть согласована специалистом уровня 3, который был одобрен работодателем.
Примечание - Определение уровней 1, 2 и 3 можно найти в соответствующих международных стандартах, например в ISO 9712 и ISO 11484.
5.1 Способы контроля
5.1.1 В зависимости от вида изделия, геометрических размеров, марки стали и магнитных свойств стали, трубы на герметичность следует контролировать вихретоковым методом или методом рассеяния магнитного потока, с использованием одного из нижеперечисленных автоматизированных или полуавтоматизированных способов:
a) концентрической катушки (вихретоковый метод) (см.
рисунок 1);
b) сегментной катушки (вихретоковый метод) (см.
рисунок 2);
c) неподвижного или вращающегося преобразователя/дисковой катушки (вихретоковый метод) (см.
рисунок 3);
d) неподвижного или вращающегося магнитного преобразователя (метод рассеяния магнитного потока) (см.
рисунок 4);
e) множественных концентрических магнитных преобразователей (метод рассеяния магнитного потока) (см.
рисунок 5).
Для всех способов в ходе контроля скорость перемещения катушек/преобразователей относительно трубы не должна изменяться более чем на +/- 10%.
Примечание 1 - Общепризнано, что на обоих концах трубы может быть короткий участок, не поддающийся контролю, как в случае гидравлического испытания при нормальных производственных условиях.
Примечание 2 - Ограничения для применения вихретокового метода контроля и метода рассеяния магнитного потока приведены в
приложениях A и
B.
1 - вторичная катушка 1; 2 - первичная катушка;
3 - вторичная катушка 2; 4 - труба; ~ - переменный
возбуждающий ток;

- выходной сигнал
Примечание - Рисунок является упрощенной схемой многокатушечного преобразователя, которая может содержать, например, разделенные первичные катушки, парные дифференциальные катушки и измерительную катушку.
Рисунок 1 - Упрощенная схема вихретокового метода контроля
с концентрической катушкой
| |
a) 2 x 180° сегментные катушки | b) 4 x 100° сегментные катушки |
1 - сегментная катушка; 2 - труба
Рисунок 2 - Упрощенная схема вихретокового метода контроля
с сегментными катушками
5.1.2 При вихретоковом методе контроля бесшовных или сварных труб с использованием концентрической катушки, наружный диаметр трубы - не более 250 мм.
Данным способом с использованием катушек соответствующей формы также возможно проконтролировать квадратные или прямоугольные трубы с максимальным размером диагонали 250 мм.
5.1.3 При контроле труб с использованием сегментной катушки наружный диаметр трубы должен быть не более:
- 219,1 мм - для схемы с использованием катушек 2 x 180°;
- 508,0 мм - для схемы с использованием катушек 4 x 100°.
5.1.4 При контроле бесшовных или сварных труб с использованием неподвижного или вращающегося преобразователя/дисковой катушки вихретоковым методом или неподвижного или вращающегося магнитного преобразователя методом рассеяния магнитного потока, труба и преобразователь/дисковая катушка/магнитный преобразователь должны двигаться относительно друг друга, или движение должно симулироваться при помощи электронной коммутации отдельных преобразователей, составляющих диск, так чтобы вся поверхность трубы сканировалась с перекрытием, вычисляемым на основе линейных размеров преобразователя/дисковой катушки/магнитных преобразователей. При использовании данных способов нет ограничений по максимальному наружному диаметру труб.
| |
a) Способ вращающегося преобразователя/дисковой катушки - продольное перемещение трубы | b) Способ неподвижного преобразователя/дисковой катушки - вращательно-поступательное движение трубы |
1 - положение преобразователя/дисковой катушки;
2 - труба; 3 - положение неподвижного
преобразователя/дисковой катушки; 4 - ролики;
a - направление вращения преобразователя/дисковой катушки;
b - направление вращения трубы
Примечание - Дисковые катушки в
a) и
b) могут иметь различные формы, например, однокатушечные, многокатушечные различной конфигурации, в зависимости от используемого оборудования и прочих факторов.
Рисунок 3 - Упрощенная схема вихретокового
метода контроля с неподвижным или вращающимся
преобразователем/дисковой катушкой
| |
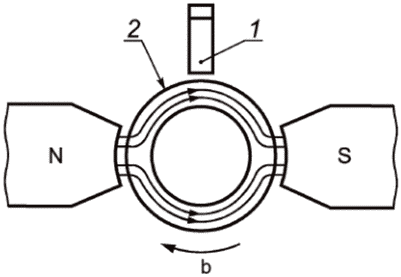
a) Способ вращающегося магнитного преобразователя - продольное перемещение трубы | b) Способ неподвижного магнитного преобразователя - вращательно-поступательное движение трубы |
1 - магнитный преобразователь; 2 - труба;
N - северный полюс; S - южный полюс;
a - направление вращения магнитного преобразователя;
b - направление вращения трубы
Рисунок 4 - Упрощенная схема контроля методом рассеяния
магнитного потока с неподвижным или вращающимся
магнитным преобразователем
1 - массив преобразователей, расположенных в шахматном
порядке; 2 - катушка, создающая постоянное магнитное поле
Примечание - Магнитные преобразователи могут иметь различные формы, например абсолютные и дифференциальные, в зависимости от используемого оборудования и других факторов. Методы введения магнитного потока в направлении, параллельном главной оси трубы, могут быть достигнуты методами, отличными от указанных на этом рисунке.
Рисунок 5 - Упрощенная схема контроля методом рассеяния
магнитного потока с множественными концентрическими
магнитными преобразователями
5.1.5 При контроле бесшовных или сварных труб с использованием множественных концентрических магнитных преобразователей, труба и блок преобразователей должны двигаться линейно относительно друг друга, так чтобы поверхность трубы была просканирована с перекрытием, вычисляемым на основе линейных размеров преобразователя/дисковой катушки и магнитных преобразователей. При использовании данного способа нет ограничений по максимальному наружному диаметру труб.
5.2 Оборудование для проведения контроля
Оборудование должно классифицировать трубы как годные или сомнительные при помощи автоматической системы сигнализации о превышении уровня в сочетании с системой маркировки и (или) регистрации и (или) сортировки.
6 Настроечный образец-труба
6.1 Общие положения
6.1.1 Настоящий стандарт определяет искусственные дефекты, подходящие для настройки оборудования неразрушающего контроля. Размеры этих искусственных дефектов не допускается истолковывать как минимальный размер дефектов, обнаруживаемых этим оборудованием.
6.1.2 Настроечный образец-труба должен иметь такие же номинальные диаметр и толщину стенки, обработку поверхности, состояние поставки (например, после прокатки, нормализации, закалки и отпуска) и должен быть из стали с аналогичными свойствами, что и контролируемые трубы. Для труб номинальной толщиной стенки более 10 мм, толщина стенки настроечного образца-трубы может быть больше, чем номинальная толщина стенки контролируемых труб, при условии, что глубина паза имеет значение, соответствующее номинальной толщине стенки контролируемых труб. По требованию заказчика изготовитель должен продемонстрировать эффективность принятого решения.
6.1.3 Для различных способов контроля необходимо использовать следующие искусственные дефекты:
a) настроечное отверстие или отверстия, указанные в
6.2 и
6.6.1 для вихретокового метода при использовании способа концентрической катушки и указанные в
6.3 и
6.6.1 при использовании способа сегментной катушки;
b) продольный настроечный паз, указанный в
6.4 и
6.6.2, при использовании одного из следующих способов:
1) контроль вихретоковым методом с неподвижным или вращающимся преобразователем/дисковой катушкой;
2) контроль методом рассеяния магнитного потока с неподвижным или вращающимся преобразователем;
c) поперечный настроечный паз, указанный в
6.5 и
6.6.2, при использовании метода рассеяния магнитного потока с множественными концентрическими магнитными преобразователями;
d) по согласованию между изготовителем и заказчиком для контроля методом рассеяния магнитного потока могут использоваться настроечные отверстия, указанные в
таблице 1.
Примечание 1 - При контроле вихретоковым методом с использованием концентрической, сегментной катушки, неподвижного или вращающегося преобразователя/дисковой катушки, по согласованию между заказчиком и изготовителем могут использоваться другие типы искусственных дефектов, имеющие аналогичные характеристики.
Примечание 2 - В особых случаях, например при контроле горячих труб или при непрерывном процессе проката труб, по согласованию допускается применять измененную процедуру настройки и проверки настройки. Также по согласованию, при контроле методом рассеяния магнитного потока труб, имеющих толщину стенки менее 12,7 мм, могут дополнительно использоваться внутренние продольные или поперечные пазы.
6.1.4 Искусственные дефекты (см.
6.2 -
6.5) должны быть достаточно удалены друг от друга в продольном направлении (для настроечных отверстий) и достаточно удалены от концов настроечного образца-трубы, чтобы полученные от них сигналы были четко различимы.
6.2 Вихретоковый метод контроля с использованием концентрической катушки
6.2.1 При применении вихретокового метода контроля с использованием концентрической катушки, настроечный образец-труба должен содержать три или четыре отверстия, просверленных радиально сквозь всю толщину стенки настроечного образца-трубы. Отверстия должны располагаться друг от друга по окружности на 120° или 90°.
6.2.2 Допускается просверлить только одно отверстие сквозь всю толщину стенки настроечного образца-трубы, и в ходе настройки и проверки настройки необходимо осуществить прогон настроечного образца-трубы через оборудование с ориентацией отверстия в положениях 0°, 90°, 180° и 270°.
6.3 Вихретоковый метод контроля с использованием сегментной катушки
6.3.1 При применении вихретокового метода контроля с использованием сегментной катушки в настроечном образце-трубе должно быть просверлено три отверстия радиально, сквозь всю толщину стенки настроечного образца-трубы. Каждую сегментную катушку следует проверить при помощи настроечного образца-трубы, при этом три отверстия должны располагаться следующим образом:
- 180° сегментная катушка: 0°, плюс 90° и минус 90° от центра катушки;
- 100° сегментная катушка: 0°, плюс 45° и минус 45° от центра катушки.
6.3.2 Допускается просверлить только одно отверстие сквозь всю толщину стенки настроечного образца-трубы, при этом в ходе настройки и проверки настройки должен быть осуществлен прогон настроечного образца-трубы через оборудование с ориентацией отверстия в положениях 0°, плюс 90° и минус 90° относительно центра 180° сегментной катушки и в положениях 0°, плюс 45° и минус 45° относительно центра 100° сегментной катушки. Эти операции должны быть проведены для каждой сегментной катушки.
6.4 Вихретоковый метод и метод рассеяния магнитного потока с использованием неподвижного или вращающегося преобразователя/дисковой катушки
6.4.1 При применении вихретокового метода контроля с неподвижным или вращающимся преобразователем/дисковой катушкой настроечный образец-труба должен содержать продольный настроечный паз на наружной поверхности.
6.4.2 При применении метода рассеяния магнитного потока с неподвижным или вращающимся преобразователем настроечный образец-труба должен содержать продольный настроечный паз на наружной поверхности или, по согласованию, настроечное отверстие, указанное в
таблице 1. В этом случае изготовитель должен продемонстрировать, что чувствительность контроля с использованием настроечного отверстия и установленных настроек оборудования, например, фильтрации скорости передачи сигнала, эквивалентна той, которая получается при использовании настроечного паза.
6.5 Метод рассеяния магнитного потока с использованием множественных концентрических магнитных преобразователей
При применении метода рассеяния магнитного потока с множественными преобразователями настроечный образец-труба должен содержать поперечный настроечный паз на наружной поверхности настроечной трубы, или, по согласованию, настроечное отверстие, указанное в
таблице 2.
6.6 Размеры искусственных дефектов
6.6.1 Настроечное отверстие
Максимальные диаметры настроечных отверстий в зависимости от наружного диаметра трубы указаны в таблице 1; отверстия должны быть изготовлены путем механической или электроэрозионной обработки или другим подходящим способом.
Таблица 1
Максимальный диаметр настроечных отверстий
в зависимости от наружного диаметра трубы
В миллиметрах
Наружный диаметр трубы D | Максимальный диаметр отверстия |
4,0 <= D <= 15,8 | 1,20 |
15,8 < D <= 26,9 | 1,40 |
26,9 < D <= 48,3 | 1,70 |
48,3 < D <= 63,5 | 2,20 |
63,5 < D <= 114,3 | 2,70 |
114,3 < D <= 139,7 | 3,20 |
139,7 < D | 3,70 |
Для изделий, требующих более жесткого контроля, например, для труб из нержавеющей стали, по согласованию между заказчиком и изготовителем могут быть приняты требования, указанные в таблице 2.
Таблица 2
Максимальный диаметр настроечных отверстий
в зависимости от наружного диаметра трубы
В миллиметрах
Наружный диаметр трубы D | Максимальный диаметр отверстия |
4,0 <= D <= 15,8 | 1,00 |
15,8 < D <= 26,9 | 1,20 |
26,9 < D <= 48,3 | 1,40 |
48,3 < D <= 63,5 | 1,70 |
63,5 < D <= 114,3 | 2,20 |
114,3 < D <= 139,7 | 2,70 |
139,7 < D | 3,20 |
6.6.2.1 Общие положения
a) Настроечный паз должен быть "N"-типа (см.
рисунок 6) и быть:
Боковые поверхности должны быть параллельными, а дно - перпендикулярным боковым сторонам.
b) Настроечный паз следует изготавливать путем механической или электроэрозионной обработки или другим подходящим способом.
Примечание - Дно или придонные углы дна паза могут быть скруглены.
w - ширина паза; d - глубина паза
6.6.2.2 Размеры настроечного паза
Ширина настроечного паза должна быть не более 1,0 мм.
Примечание - Второе предложение перечисления a) пункта 6.6.2.2 изложено в новой редакции в соответствии с ISO 10893-1:2011/AMD.1:2020.
Глубина настроечного паза должна составлять 12,5% от номинальной толщины стенки изделия со следующими ограничениями:
1) минимальная глубина паза - 0,5 мм;
2) максимальная глубина паза - 1,5 мм.
Предельные отклонения глубины настроечного паза должны составлять +/- 15% от номинального значения глубины настроечного паза.
c) Длина.
Если иное не указано в спецификации на продукцию или не согласовано между заказчиком и изготовителем, длина настроечного паза (пазов) должна быть больше, чем удвоенная ширина каждой отдельной дисковой катушки или преобразователя, но не более 50 мм.
| |
a) Наружный поперечный паз | b) Хордовый паз (только наружный) |
d - глубина паза
Рисунок 7 - Возможные формы поперечного паза
6.6.3 Проверка искусственного дефекта
6.6.3.1 Диаметр настроечного отверстия (отверстий) (см.
таблицу 1) должен проверяться и быть не более значений, указанных в
таблице 1.
6.6.3.2 Размеры и форму настроечного паза следует проверить соответствующим способом.
7 Настройка и проверка настройки оборудования
7.1 В начале каждого цикла контроля оборудование необходимо настроить для стабильного получения (например, путем трех прогонов настроечного образца-трубы) четко идентифицируемых сигналов от искусственных дефектов. Система сигнализации должна срабатывать по уровню этих сигналов.
7.2 При использовании нескольких настроечных отверстий в настроечном образце-трубе (вихретоковый метод контроля с концентрическими катушками или сегментными катушками) полная амплитуда, полученная от настроечного отверстия, дающего наименьший сигнал, должна быть использована для настройки срабатывания системы сигнализации. При использовании одного настроечного отверстия проход (прогон) настроечного образца-трубы через установку контроля должен осуществляться в соответствии с
6.2.2 или
6.3.2. Полная амплитуда наименьшего сигнала, полученного от настроечного отверстия, должна быть использована для настройки уровня срабатывания системы сигнализации.
7.3 При использовании настроечного паза (вихретоковый метод контроля с неподвижным или вращающимся преобразователем/дисковой катушкой или метод рассеяния магнитного потока с неподвижным или вращающимся преобразователем) полную амплитуду сигнала используют для настройки уровня срабатывания системы сигнализации.
7.4 При использовании частичного поперечного паза, хордового паза или настроечного отверстия (метод рассеяния магнитного потока с множественными преобразователями), проход (прогон) настроечного образца-трубы через установку контроля должен осуществляться таким образом, чтобы настроечный паз или отверстие располагались так, чтобы центр настроечного паза или отверстия проходил последовательно через центральную ось каждого преобразователя и был максимально удален от соседних магнитных преобразователей. Полная амплитуда сигнала, полученного от каждого преобразователя, должна использоваться для настройки уровня срабатывания системы сигнализации.
7.5 В процессе динамической проверки настройки относительная скорость перемещения настроечного образца-трубы и измерительной катушки должна быть такой же, как и во время проведения производственного контроля (см.
5.1.2,
5.1.4,
5.1.5). Следует использовать те же настройки оборудования, например частоту, чувствительность, фазовую дискриминацию, фильтрацию и магнитное насыщение.
7.6 Настройку оборудования следует проверять через регулярные промежутки времени при контроле в процессе изготовления труб одного и того же номинального наружного диаметра, толщины стенки и марки стали путем прохода (прогона) настроечного образца-трубы через установку.
Проверка настройки оборудования должна проводиться не реже чем каждые 4 ч, а также при смене оператора и в начале и в конце производственного цикла.
7.7 Оборудование настраивают повторно, если изменился любой из параметров настройки, использованный во время первоначальной настройки.
7.8 Если при проведении проверки в процессе производства требования настройки не выполняются, все прошедшие контроль трубы с предыдущей проверки настройки подвергают повторному контролю после того, как оборудование будет перенастроено.
8.1 Труба, не вызвавшая срабатывание автоматической системы сигнализации, считается годной.
8.2 Труба, вызвавшая срабатывание автоматической системы сигнализации, считается сомнительной или по усмотрению изготовителя может быть проконтролирована повторно. Если после одной операции повторного контроля все сигналы ниже, чем уровень срабатывания автоматической системы сигнализации, труба считается годной; в противном случае труба считается сомнительной.
Примечание - Второе предложение пункта 8.2 изложено в новой редакции в соответствии с ISO 10893-1:2011/AMD.1:2020.
8.3 Для сомнительной трубы с учетом требований спецификации на продукцию необходимо предпринять одно из следующих действий:
a) сомнительный участок должен быть зачищен или проконтролирован повторно другим подходящим методом. Если оставшаяся толщина стенки находится в пределах допуска, трубу следует повторно проконтролировать. Если после повторного контроля все сигналы ниже, чем уровень срабатывания автоматической системы сигнализации, труба считается годной.
По согласованию между заказчиком и изготовителем сомнительный участок допускается подвергать повторному контролю при помощи других методов испытания на соответствие принятым уровням приемки;
b) если иное не согласовано между заказчиком и изготовителем, каждая сомнительная труба должна быть испытана на герметичность гидравлическим способом в соответствии со спецификацией на продукцию;
c) сомнительный участок должен быть отрезан;
d) труба считается негодной.
Если согласовано, то изготовитель предоставляет заказчику протокол контроля, который должен включать как минимум следующую информацию:
a) ссылку на настоящий стандарт;
b) заключение о годности;
c) любое отклонение от соглашения или согласованных процедур;
d) обозначение марки стали и размера изделия;
e) описание технологии контроля;
f) использованный способ настройки оборудования;
g) описание настроечного образца и уровня приемки;
h) дату испытания;
i) данные оператора контроля.
(справочное)
ОГРАНИЧЕНИЕ ПРИМЕНЕНИЯ ВИХРЕТОКОВОГО МЕТОДА КОНТРОЛЯ
A.1 Глубина проникновения вихревых токов
В процессе вихретокового контроля труб чувствительность контроля максимальна на поверхности трубы, прилегающей к измерительной катушке, и снижается с увеличением расстояния от измерительной катушки. Сигнал от подповерхностных или расположенных на внутренней поверхности дефектов, таким образом, меньше, чем от аналогичных по размеру на наружной поверхности. Способность оборудования для контроля выявлять подповерхностные или находящиеся на внутренней поверхности дефекты определяется различными факторами, но, главным образом, толщиной стенки контролируемой трубы и частотой возбуждения вихревых токов.
Частота вихревых токов определяет глубину их проникновения в стенку трубы. Чем выше частота возбуждения, тем меньше проникновение, и наоборот, чем ниже частота возбуждения, тем больше проникновение. В частности, нужно принимать во внимание физические параметры трубы (проводимость, магнитная проницаемость, и др.).
A.2 Способы контроля с использованием концентрической или сегментной катушки
Эти способы контроля являются предпочтительными, поскольку позволяют выявить короткие продольные и поперечные дефекты, выходящие или не выходящие на поверхность, прилегающую к измерительной катушке.
Минимальная длина обнаруживаемого продольного дефекта определяется схемой расположения катушек и скоростью смены секций вдоль длины дефекта.
При использовании данного способа на ферромагнитной стали, контролируемые объекты должны быть в состоянии магнитного насыщения, что достигается путем введения их во внешнее сильное магнитное поле. Целью этого насыщения является нормализация и снижение магнитной проницаемости материала для повышения проникающей способности вихревых токов и снижения возможных магнитных шумов самого материала.
A.3 Способ контроля с использованием неподвижного или вращающегося преобразователя/дисковой катушки
В данном способе контроля используется один или более преобразователь/катушка для описания винтовой траектории вдоль поверхности трубы. При этом указанный способ выявляет продольные дефекты с минимальной длиной, зависящей от ширины измерительной катушки и шага винтовой траектории. Обычно поперечные дефекты не обнаруживаются.
Поскольку частота возбуждения значительно выше, чем используемая в концентрической/сегментной катушке, выявляются только те дефекты, которые имеют выход на поверхность, прилегающую к катушке.
(обязательное)
ОГРАНИЧЕНИЕ ПРИМЕНЕНИЯ МЕТОДА РАССЕЯНИЯ МАГНИТНОГО ПОТОКА
B.1 Основные положения
При использовании данного метода изделия, подлежащие контролю, следует подвергнуть магнитному насыщению путем помещения их в сильное внешнее магнитное поле; цель данного насыщения - вызвать отклонение магнитного потока от дефектов.
В процессе контроля труб методом рассеяния магнитного потока, наибольшая чувствительность достигается на поверхности трубы рядом с магнитным преобразователем и уменьшается с увеличением глубины по причине уменьшения эффекта отклонения рассеянного магнитного потока от дефекта на внутренней поверхности по отношению к наружной поверхности. Сигнал, полученный от дефекта на внутренней поверхности, может быть меньше, чем от дефекта такого же размера на наружной поверхности.
B.2 Способ контроля с использованием неподвижного или вращающегося магнитного преобразователя
При контроле с помощью неподвижного или вращающегося магнитного преобразователя используют один или более магнитных преобразователей, перемещающихся по винтовой траектории относительно поверхности трубы. При этом указанные способы выявляют продольные дефекты с минимальной длиной, зависящей от ширины преобразователя и шага спиральной траектории. Обычно поперечные дефекты не выявляются.
B.3 Способ контроля с использованием множества преобразователей
В этом способе контроля используют множество неподвижных магнитных преобразователей, окружающих трубу, которая при этом перемещается линейно. Таким образом, обнаруживаются преимущественно поперечные дефекты с минимальной длиной, зависящей от размера преобразователя вдоль окружности. Обычно продольные дефекты не обнаруживаются, за исключением случаев, когда они имеют существенную поперечную составляющую (являются наклонными).
(справочное)
СВЕДЕНИЯ О СООТВЕТСТВИИ ССЫЛОЧНЫХ МЕЖДУНАРОДНЫХ СТАНДАРТОВ
МЕЖГОСУДАРСТВЕННЫМ СТАНДАРТАМ
Таблица ДА.1
Обозначение ссылочного международного стандарта | Степень соответствия | Обозначение и наименование соответствующего межгосударственного стандарта |
ISO 9712 | - | |
ISO 11484 | IDT | ГОСТ ISO 11484-2022 "Изделия стальные. Система оценки работодателем квалификации персонала, осуществляющего неразрушающий контроль" |
<*> Соответствующий межгосударственный стандарт отсутствует. До его принятия рекомендуется использовать перевод на русский язык данного международного стандарта. Примечание - В настоящей таблице использовано следующее условное обозначение степени соответствия стандарта: - IDT - идентичный стандарт. |
УДК 621.774.08:620.179:006.354 | | IDT |
Ключевые слова: трубы стальные, неразрушающий контроль, вихретоковый метод, метод рассеяния магнитного потока, продольные дефекты, поперечные дефекты |